JP2005291482A - 新規なトルク伝達・停止装置 - Google Patents
新規なトルク伝達・停止装置 Download PDFInfo
- Publication number
- JP2005291482A JP2005291482A JP2004134836A JP2004134836A JP2005291482A JP 2005291482 A JP2005291482 A JP 2005291482A JP 2004134836 A JP2004134836 A JP 2004134836A JP 2004134836 A JP2004134836 A JP 2004134836A JP 2005291482 A JP2005291482 A JP 2005291482A
- Authority
- JP
- Japan
- Prior art keywords
- disk
- torque
- fluid
- cylinder
- thickness
- Prior art date
- Legal status (The legal status is an assumption and is not a legal conclusion. Google has not performed a legal analysis and makes no representation as to the accuracy of the status listed.)
- Pending
Links
- 239000012530 fluid Substances 0.000 claims abstract description 40
- 230000005540 biological transmission Effects 0.000 claims description 23
- 230000000052 comparative effect Effects 0.000 description 14
- 125000006850 spacer group Chemical group 0.000 description 9
- 230000004044 response Effects 0.000 description 4
- 229920002545 silicone oil Polymers 0.000 description 3
- 238000012360 testing method Methods 0.000 description 3
- 239000006185 dispersion Substances 0.000 description 2
- 230000000694 effects Effects 0.000 description 2
- 239000007788 liquid Substances 0.000 description 2
- 239000000463 material Substances 0.000 description 2
- 238000000034 method Methods 0.000 description 2
- 239000011347 resin Substances 0.000 description 2
- 229920005989 resin Polymers 0.000 description 2
- 230000000630 rising effect Effects 0.000 description 2
- 229910001220 stainless steel Inorganic materials 0.000 description 2
- 239000010935 stainless steel Substances 0.000 description 2
- 239000000498 cooling water Substances 0.000 description 1
- 230000008878 coupling Effects 0.000 description 1
- 238000010168 coupling process Methods 0.000 description 1
- 238000005859 coupling reaction Methods 0.000 description 1
- 230000007423 decrease Effects 0.000 description 1
- 235000012489 doughnuts Nutrition 0.000 description 1
- 230000005684 electric field Effects 0.000 description 1
- 238000002474 experimental method Methods 0.000 description 1
- 230000005484 gravity Effects 0.000 description 1
- 238000009434 installation Methods 0.000 description 1
- 238000003475 lamination Methods 0.000 description 1
- 239000010721 machine oil Substances 0.000 description 1
- 238000004519 manufacturing process Methods 0.000 description 1
- 239000000203 mixture Substances 0.000 description 1
- 239000002245 particle Substances 0.000 description 1
- 230000002093 peripheral effect Effects 0.000 description 1
- 238000011160 research Methods 0.000 description 1
- 230000004043 responsiveness Effects 0.000 description 1
- 229920006395 saturated elastomer Polymers 0.000 description 1
- 239000007787 solid Substances 0.000 description 1
- 239000000725 suspension Substances 0.000 description 1
- 238000012546 transfer Methods 0.000 description 1
Images
Landscapes
- Braking Arrangements (AREA)
Abstract
【目的】流体を用いた回転トルクを伝達あるいは停止する装置の、回転慣性の低減やコンパクト化を計る。
【構成】トルク発生部を構成する対向ディスクあるいは対向シリンダーの断面形状が、互いに把持部から離れるほど肉薄である構造とする。
【効果】ディスクやシリンダーをより多重に積層可能となりコンパクトで大トルク化できるだけでなく、回転慣性を低減し除熱性も向上する。
【選択図】図8
【構成】トルク発生部を構成する対向ディスクあるいは対向シリンダーの断面形状が、互いに把持部から離れるほど肉薄である構造とする。
【効果】ディスクやシリンダーをより多重に積層可能となりコンパクトで大トルク化できるだけでなく、回転慣性を低減し除熱性も向上する。
【選択図】図8
Description
本発明は流体を用いた回転トルクの伝達あるいは停止のための装置に関するものであり、回転慣性が小さく熱伝導性(除熱性)の良い軽量かつ薄型のトルク伝達あるいは停止装置に関するものである。
回転トルクの伝達あるいは停止装置はディスク型とシリンダー型に大別される。共に対向するディスクあるいはシリンダー間の摩擦力をトルク伝達や停止に利用するものであるが、流体を摩擦媒体とする方式においては流体の粘性や剪断応力が利用される。流体を用いたトルクの伝達あるいは停止装置は、粘性カップリング装置などとして4輪駆動の自動車などにも使用されている。
中でも機能性流体を用いたものは特開平9−14300号公報や特公平8−6763号公報、あるいは産業安全研究所研究報告NIIS−RR−96(1990)などに報告されており、ディスク同士の固体摩擦によるものに比べて伝達力や停止力は一般に小さいが、伝達トルクの無段階調整が可能であり騒音が少なく、またマイルドな伝達や停止が得られ易い。
あらゆる用途で小型・高性能化が求められているが、トルク伝達あるいは停止の装置においても同様である。ディスク型やシリンダー型においては小型化にはディスクやシリンダーの多重化が一般的であり、それらの厚みを薄くしてより数多い多重化が望まれるが、ディスクやシリンダーの材質強度や除熱(発熱)などの問題があり多重化には限界があった。
本発明者らは長年人間対応型のロボットに使用する回転慣性が小さくコンパクトで大きなトルクの伝達あるいは停止が可能な装置の開発を行ってきた。回転慣性を小さくするにはディスクやシリンダーに比重の小さな材料や強度が強くて肉薄化できる材料を使用してきたが、肉薄化で特に問題になるのがディスクやシリンダーを固定する固定部の変形や破損であることに気付き、ディスクやシリンダーの固定部を厚くして先端部に行くほど薄くすることを試みた。
従来の考えでは回転中心から離れれば離れる程その部分にかかる回転応力が大きくなり、強度的に耐えられず変形を起こし破損を生じるとされ、ディスクやシリンダーの先端を肉薄にするなどもっての他と考えられてきた。本発明者らは敢えてこれに挑戦し実験を重ねた結果、現実には機械的にも充分耐え、先端が肉薄のため、均一な厚みのものより数多い多重化が可能であり、より大きなトルクの伝達や停止が可能となった。また同じ枚数の多重ディスクや多重シリンダーを使用した場合でも、従来の厚み均一なディスクやシリンダーを使用したものに比べて、トルク発生部の容積を70%近くにまで小さくでき、更に回転慣性を低減できるばかりか除熱にも望ましいことがわかった。
すなわち、本発明は流体を用いた回転トルクの伝達あるいは停止装置において、トルク発生部を構成する対向ディスク(AとB)あるいは対向シリンダー(AとB)のAとBの少なくとも一方の断面形状が、互いに固定部から離れるほど肉薄になることを特徴とする回転トルクの伝達あるいは停止装置にある。
本発明に言う流体を用いた回転トルクの伝達あるいは停止装置とは、対向するディスク(AとB)あるいはシリンダー(AとB)の間に介在させた流体の粘性や剪断力をトルク伝達や停止に利用する装置であり、ディスクあるいはシリンダーがそれぞれ一対(AとB、一重)である基本的な装置の断面構造をモデル的に図1の(a)および(b)に示す。斜線は液体を示す。図2の(a)はディスクを多重にしたものを(b)はシリンダーを多重にしたものをモデル的に示す。媒体の液体(斜線で示す)はディスクAとBあるいはシリンダーAとBの間に充填されている。トルク伝達の場合、AおよびBはいずれかの一方が入力回転軸に、他方が出力回転軸に繋がっており、またトルク停止の場合、AあるいはBのいずれか一方は停止して用いられる。トルクの発生はディスクあるいはシリンダーのAとBの流体の充填された対向面であり、対向面を構成する部分をトルク発生部と呼ぶ。
本発明に言う固定部から離れるほど肉薄になるディスクあるいはシリンダーの断面形状を図3にモデル的に示したものであり、(a)はディスク型の場合を、(b)はシリンダー型の場合を示す。斜線部は流体を示す。図3の(a)および(b)のそれぞれのディスクおよびシリンダーの断面は図4の(a)、(b)、(c)などに示すような変形形状をとることができる。(a)は一方の面が面方向に平行で他方が斜めに、(b)は両方の面が斜めに、(c)は一方の面が曲線的勾配面に他方が平行になったものを示す。ディスクやシリンダーの固定部とは反対側の先端部は点線で示すように尖ったものであっても良い。
図2(a)の多重ディスク型や(b)の多重シリンダー型の場合も同様に、図4の(a)、(b)、(c)などに示すような断面形状を取ることができる。一枚のディスクやシリンダーの場合、あるいは多重の両端部のディスクやシリンダーの場合、最も外側のディスクやシリンダーのAあるいはBのいずれか一方の断面形状は図4のような形状でなくともよい。なお多重ディスク型の場合、ディスク形状は一般に中央部が抜けたドーナツ型で使用される。
固定部とは対向ディスクあるいは対向シリンダーを回転軸あるいは回転筒に取り付け固定する部分である。ディスク型の場合、固定部の上下または左右の2面がディスク面に対して平行なものは重ね合わせて使用するのに都合が良い。ディスクやシリンダーを多重にした多重型の場合、重ねあうディスクあるいはシリンダーの固定部の間には一定間隔を保つためにドーナツ状のスペーサーが挟まれる。ディスクやシリンダーの固定部の厚さをこのスペーサー分の厚さ分だけ予め厚くし一体物としてディスクやシリンダーを製作するのも組み立て精度の点で望ましい。
回転軸や回転筒への固定には一般に位置合わせのピンやボルトの使用や、はめ込みなどの方法が用いられる。
回転軸や回転筒への固定には一般に位置合わせのピンやボルトの使用や、はめ込みなどの方法が用いられる。
対向ディスクあるいは対向シリンダーの断面の厚さが固定部から離れるほど肉薄になる程度に関しては、ディスクやシリンダーの先端部の厚さ(T1)と固定部の厚さ(T2)の比(T1/T2)が大きい(1に近い)と本発明の効果は少なく、この比は1/2以下、できれば1/3以下であることが望ましい。
ディスクやシリンダーの内部には、図5の(a)や(b)のような溝を部分的に設けて空洞にして表面積を増やし空気や冷却水で効率よく冷却することも可能である。ディスクやシリンダーの対向面間の間隔は一般に一定値であることが望ましく、またディスクやシリンダーの製作時や取り付け時の寸法精度を上げることは安定したトルク伝達や停止の性能を長期間持続して発現させる上で重要である。
本発明に用いられる流体としては比較的粘度の高い機械油や電場や磁場により粘性が変化するエレクトロレオロジー(ER)流体やマグネトロレオロジー(MR)流体、あるいは所定の剪断速度以上になると急激な粘度を伴うダイラタンシー流体などが使用される。ER流体を使用する場合は、対向ディスクや対向シリンダーの対向面には正負の電極が形成され、ER流体に印加される高電圧にも耐えられように対向ディスクや対向シリンダーの間は完全に絶縁されていることが必要である。
MR流体の場合は対向面に磁場がかけられるように電磁石が設置される。ER流体を用いたトルク伝達や停止装置は一般に応答性やトルク慣性比に優れセールスポイントになっているが、本発明のディスクやシリンダーの構造はこれらの性能を一層向上させるものとして好都合である。
厚さ均一なディスクやシリンダーを多重に積層した同じ大きさのトルクを伝達あるいは停止する同一直径(外周径)の従来の装置に比較して、本発明の装置は積層部の厚みを実質的に薄くすることが可能でコンパクト化できるとともに、回転慣性を大幅に低減でき、更に熱伝導性(除熱)も向上できる。
以下、実施例をもって本発明の内容を補足する。
(実施例1)底辺(ディスク直径)が100.0mm、上辺(軸心と固定部)が50.0mm、高さ(固定部の厚さ)が1.00mm、先端部の厚さが0.30mmの2枚のSS400製(表面はニッケルメッキ加工)のディスク1および2を用意した。
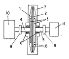
軸端部に固定用円板3を形成した直径10.0mmの2個の回転軸4および5にボルトでこれらのディスクを軸に垂直に固定して、ディスク間隔1.00mmで対向させた構造の図6のトルク伝達装置を製作した。左右のディスクの軸受け部6は、Oリングシール(図示せず)でシールされ、また樹脂製のベアリングガイド(図示せず)で絶縁された軸受けベアリング(図示せず)が取り付けられている。
ディスク間隙には電圧(0−2000V)が印加できるように左右の回転軸にそれぞれ電極ブラシ(図示せず)が取り付けられている。ディスク間隙およびハウジング7の空洞部には分散系ER流体(株式会社ERテック製、ED2520)8が充填されている。左右の回転軸には絶縁カプラー9を介して一方にはモータ10が、他方にはトルク計11が取り付けられている。トルク計11はER流体に印加する電圧を制御するパソコン(図示せず)に接続され印加電圧、回転トルクが時間とともに記録される。
一方、比較例1として、上記形状のディスクの代わりに厚さのみが1.00mm均一で他は同一の従来型ディスクを取り付け、性能の比較試験を行った。
その結果、実施例1と比較例では下記の通り、回転初期の慣性トルク(空回転時)、トルク/慣性比、電圧印加(1000V)時のトルクの立ち上がり応答速度、電圧切断時の立下り応答速度に明確な差がみられた。
その結果、実施例1と比較例では下記の通り、回転初期の慣性トルク(空回転時)、トルク/慣性比、電圧印加(1000V)時のトルクの立ち上がり応答速度、電圧切断時の立下り応答速度に明確な差がみられた。
(実施例2)外径120.0mm、内径60.0mm、外周部(幅10.0mm)を固定部(厚さ1.00mm、幅10.0mm)としてディスク中心部に進むほど直線的に薄くなったドーナツ状のSS400製(表面はニッケルメッキ加工)のディスク(内端部の厚さ:0.30mm)12を10枚と、外径120.0mm、内径106.0mm、厚さ2.00mmのステンレス製のスペーサー13を9枚用意した。
また実施例1で用いたディスク1と同一寸法ではあるが中央部に回転軸(軸径:両端部10.0mm、中央部40.0mm)14を貫通させる直径40.0mmの穴を空けたディスク15を9枚、更に外径55.0mm、内径40.0mm、厚さ2.00mmのステンレス製のドーナツ状のスペーサー16を8枚用意した。外径126mm、内径120mmのステンレス製ハウジング17の内部に、これを貫通する直径10.0mmの回転軸14を中心にして、図7に示すようにディスク12スペーサー13、ディスク15、スペーサー16の順に交互に上記全てのディスク類とスペーサー類を積層した。図8はディスクとスペーサーの配列状態を拡大して示す。
ハウジング17の側面は回転軸14を中心にしてハウジング17自体も回転するように駆動ギア18が取り付けられている。ディスク12はハウジング17に固定されハウジング17と一体となって回転する。一方、ディスク15は回転軸14に固定され回転軸14一体となって回転する。ディスク12とディスク14の間隙はハウジング17の軸受け部19に取り付けられたボルト(図示せず、回転軸14を締め付ける方式)で調整できる構造になっている。
回転軸14の軸受け部とハウジング17は実施例1と同様、左右の軸受け部6がOリングシール(図示せず)でシールされ、また樹脂製のベアリングガイド(図示せず)で絶縁された軸受けベアリング(図示せず)が取り付けられている。ディスク12とディスク15の間隙には電圧(0−3000V)がかけられるように回転軸14には電極ブラシ(図示せず、陽極)およびハウジング17にはアース(負極)が取り付けられている。ディスク間隙およびハウジング7の空洞部には実施例1と同様に粒子分散系のER流体(株式会社ERテック製、ED2520)8が充填されている。
比較例2として、実施例2に厚さが1.00mmで均一な点以外は同一寸法のディスク12代替を7枚と15代替を7枚、および厚さが3.00mmである以外は同一寸法のスペーサー13代替を7枚と16代替を6枚、製作して実施例2と同様にこれらを交互に積層して組み立て、同様にER流体を充填した。
実施例1と同様に回転軸に絶縁カプラーを介して、一方にはモータを、他方にはトルク計11を取り付け、パソコンからER流体に電圧を印加して、回転トルクの状況を測定した。
一方、比較例2として、上記形状のディスクの代わりに厚さのみが1.00mm均一で他は同一の従来型ディスクを取り付け、性能の比較試験を行った。
実施例2と比較例2では、回転初期の慣性トルク(空回転時)、トルク/慣性比、電圧印加(1000V)時のトルクの立ち上がり応答速度、電圧切断時の立下り応答速度には下記の通り明確な差がみられた。
実施例2と比較例2では、回転初期の慣性トルク(空回転時)、トルク/慣性比、電圧印加(1000V)時のトルクの立ち上がり応答速度、電圧切断時の立下り応答速度には下記の通り明確な差がみられた。
またER流体に1000Vの電圧を印加したまま、モータを60rpmで30分間回転し続けたところ、実施例2の発生トルクは比較例2と比べて約120%と高いにもかかわらず、ハウジングの表面温度は、比較例では48℃まで上がったが、実施例2では43℃で飽和した。
(実施例3)
実施例2で用いた装置にER流体の代わりに1000ポイズのシリコーンオイルを充填して、1800rpmの回転速度で30分間連続回転させた。比較例3として比較例2と同一の従来型のディスクと上記シリコーンオイルに交換して、実施例3と同様に1800rpmで30分間連続回転させた。その結果、実施例3の発生トルクは比較例3と比べて約130%と高く、表面温度も実施例3は65℃まで、比較例3は60℃まで上昇した。表面温度が比較例3より実施例3が高かったが、同じ発生トルクとなるように比較例3の回転速度を下げた試験ではやはり実施例3の方が3℃程度低かった。
実施例2で用いた装置にER流体の代わりに1000ポイズのシリコーンオイルを充填して、1800rpmの回転速度で30分間連続回転させた。比較例3として比較例2と同一の従来型のディスクと上記シリコーンオイルに交換して、実施例3と同様に1800rpmで30分間連続回転させた。その結果、実施例3の発生トルクは比較例3と比べて約130%と高く、表面温度も実施例3は65℃まで、比較例3は60℃まで上昇した。表面温度が比較例3より実施例3が高かったが、同じ発生トルクとなるように比較例3の回転速度を下げた試験ではやはり実施例3の方が3℃程度低かった。
なお、初期回転トルクやトルク/慣性比は高粘度のシリコーンオイルを用いた場合、実施例3と比較例3では特徴は見られず、これらの特性に関しては、粘性が外部的に制御できるER流体やMR流体に特徴的であり、本発明の効果はER流体やMR流体に特に優れると言える。
本発明は、慣性が小さく熱伝達性(除熱性)の良い軽量かつ薄型の流体を用いたトルク伝達あるいは停止装置として、各種の産業機器や車両、電気製品などに幅広く利用される。
1 ディスクA
2 ディスクB
3 ディスク固定円板
4 回転軸
5 回転軸
6 軸受け部
7 ハウジング
8 ER流体
9 絶縁性カプラー
10 モータ
11 トルク計
12 ディスク(多重、外周側)
13 スペーサー(外周側)
14 回転軸
15 ディスク(内周側)
16 スペーサー(内周側)
17 ハウジング側面板
18 回転ギア
19 ハウジング軸受け部
2 ディスクB
3 ディスク固定円板
4 回転軸
5 回転軸
6 軸受け部
7 ハウジング
8 ER流体
9 絶縁性カプラー
10 モータ
11 トルク計
12 ディスク(多重、外周側)
13 スペーサー(外周側)
14 回転軸
15 ディスク(内周側)
16 スペーサー(内周側)
17 ハウジング側面板
18 回転ギア
19 ハウジング軸受け部
Claims (3)
- 流体を用いた回転トルクの伝達あるいは停止装置において、トルク発生部を構成する対向ディスクあるいは対向シリンダーの断面形状が、互いに固定部から離れるほど肉薄になることを特徴とする回転トルクの伝達あるいは停止装置。
- 対向ディスクあるいは対向シリンダーの断面形状が、先端部の厚み(T1)と固定部の厚み(T2)の比(T1/T2)が1/2以下であることを特徴とする請求項1記載の回転トルクの伝達あるいは停止装置。
- 流体が電気粘性(ER)流体あるいは磁気粘性(MR)流体であることを特徴とする請求項1記載の回転トルクの伝達あるいは停止装置。
Priority Applications (1)
| Application Number | Priority Date | Filing Date | Title |
|---|---|---|---|
| JP2004134836A JP2005291482A (ja) | 2004-03-31 | 2004-03-31 | 新規なトルク伝達・停止装置 |
Applications Claiming Priority (1)
| Application Number | Priority Date | Filing Date | Title |
|---|---|---|---|
| JP2004134836A JP2005291482A (ja) | 2004-03-31 | 2004-03-31 | 新規なトルク伝達・停止装置 |
Publications (1)
| Publication Number | Publication Date |
|---|---|
| JP2005291482A true JP2005291482A (ja) | 2005-10-20 |
Family
ID=35324624
Family Applications (1)
| Application Number | Title | Priority Date | Filing Date |
|---|---|---|---|
| JP2004134836A Pending JP2005291482A (ja) | 2004-03-31 | 2004-03-31 | 新規なトルク伝達・停止装置 |
Country Status (1)
| Country | Link |
|---|---|
| JP (1) | JP2005291482A (ja) |
Cited By (6)
| Publication number | Priority date | Publication date | Assignee | Title |
|---|---|---|---|---|
| JP2009540379A (ja) * | 2006-06-14 | 2009-11-19 | コミッサリア タ レネルジー アトミーク | 触覚又は皮膚感覚シミュレーション装置と、少なくとも1つの同様のシミュレーション装置を含む演奏用キーボード |
| JP2010537922A (ja) * | 2007-09-07 | 2010-12-09 | オーチス エレベータ カンパニー | 磁性流体を利用するエレベータブレーキ |
| JP2011007087A (ja) * | 2009-06-24 | 2011-01-13 | Denso Corp | バルブタイミング調整装置 |
| JP2013542384A (ja) * | 2010-10-20 | 2013-11-21 | ドレッサー ランド カンパニー | 可変速磁性軸継手 |
| CN105545789A (zh) * | 2016-02-25 | 2016-05-04 | 太仓钰丰机械工程有限公司 | 一种低阻力硅油风扇离合器 |
| JP2019032050A (ja) * | 2017-08-09 | 2019-02-28 | 株式会社栗本鐵工所 | 回転制動装置 |
Citations (6)
| Publication number | Priority date | Publication date | Assignee | Title |
|---|---|---|---|---|
| JPH06185545A (ja) * | 1992-12-16 | 1994-07-05 | Bridgestone Corp | 軸継手およびその使用方法 |
| JPH07248033A (ja) * | 1994-03-11 | 1995-09-26 | Nissan Motor Co Ltd | 電気制御運動伝達方法および運動伝達装置 |
| JPH086763B2 (ja) * | 1989-05-15 | 1996-01-29 | 東海ゴム工業株式会社 | 電気粘性流体を用いたトルク伝達装置 |
| JPH0914300A (ja) * | 1995-06-30 | 1997-01-14 | Shinko Electric Co Ltd | 電気粘性流体を利用したトルク伝達装置 |
| JPH1182556A (ja) * | 1997-09-17 | 1999-03-26 | Komatsu Ltd | 電気粘性流体を用いた機器 |
| JPH11132259A (ja) * | 1997-08-19 | 1999-05-18 | Bayer Ag | クラツチ |
-
2004
- 2004-03-31 JP JP2004134836A patent/JP2005291482A/ja active Pending
Patent Citations (6)
| Publication number | Priority date | Publication date | Assignee | Title |
|---|---|---|---|---|
| JPH086763B2 (ja) * | 1989-05-15 | 1996-01-29 | 東海ゴム工業株式会社 | 電気粘性流体を用いたトルク伝達装置 |
| JPH06185545A (ja) * | 1992-12-16 | 1994-07-05 | Bridgestone Corp | 軸継手およびその使用方法 |
| JPH07248033A (ja) * | 1994-03-11 | 1995-09-26 | Nissan Motor Co Ltd | 電気制御運動伝達方法および運動伝達装置 |
| JPH0914300A (ja) * | 1995-06-30 | 1997-01-14 | Shinko Electric Co Ltd | 電気粘性流体を利用したトルク伝達装置 |
| JPH11132259A (ja) * | 1997-08-19 | 1999-05-18 | Bayer Ag | クラツチ |
| JPH1182556A (ja) * | 1997-09-17 | 1999-03-26 | Komatsu Ltd | 電気粘性流体を用いた機器 |
Cited By (8)
| Publication number | Priority date | Publication date | Assignee | Title |
|---|---|---|---|---|
| JP2009540379A (ja) * | 2006-06-14 | 2009-11-19 | コミッサリア タ レネルジー アトミーク | 触覚又は皮膚感覚シミュレーション装置と、少なくとも1つの同様のシミュレーション装置を含む演奏用キーボード |
| JP2010537922A (ja) * | 2007-09-07 | 2010-12-09 | オーチス エレベータ カンパニー | 磁性流体を利用するエレベータブレーキ |
| US8631917B2 (en) | 2007-09-07 | 2014-01-21 | Otis Elavator Company | Elevator brake with magneto-rheological fluid |
| JP2011007087A (ja) * | 2009-06-24 | 2011-01-13 | Denso Corp | バルブタイミング調整装置 |
| JP2013542384A (ja) * | 2010-10-20 | 2013-11-21 | ドレッサー ランド カンパニー | 可変速磁性軸継手 |
| CN105545789A (zh) * | 2016-02-25 | 2016-05-04 | 太仓钰丰机械工程有限公司 | 一种低阻力硅油风扇离合器 |
| JP2019032050A (ja) * | 2017-08-09 | 2019-02-28 | 株式会社栗本鐵工所 | 回転制動装置 |
| JP7161844B2 (ja) | 2017-08-09 | 2022-10-27 | 株式会社栗本鐵工所 | 回転制動装置 |
Similar Documents
| Publication | Publication Date | Title |
|---|---|---|
| CN100460701C (zh) | 磁流变液软启动装置 | |
| US10012273B2 (en) | Magnetorheological fluid clutch apparatus and control systems | |
| US8869653B2 (en) | Drive apparatus for hybrid vehicle | |
| CN108119603B (zh) | 一种基于压电堆叠的减振环装置 | |
| CN102506094A (zh) | 多盘式微间距磁流变离合器 | |
| CN101793312A (zh) | 磁流变无级变速器 | |
| CN101535672A (zh) | 离合器 | |
| CN101319695B (zh) | 磁流变液软启动装置 | |
| JP2005291482A (ja) | 新規なトルク伝達・停止装置 | |
| CN102359513A (zh) | 一种水冷式磁流变软启动装置 | |
| CN102494047A (zh) | 离合器 | |
| CN112840139A (zh) | 具有低渗透鼓的磁流变液离合器装置 | |
| CN105952810A (zh) | 电磁挤压锥形式磁流变液自加压离合器 | |
| CN202073954U (zh) | 汽车用电流变自动离合器 | |
| CN103453049A (zh) | 一种盘内冷却式大功率磁流变离合器 | |
| CN106555827A (zh) | 汽车及其湿式双离合变速箱、湿式双离合器 | |
| CN102312939B (zh) | 一种磁流变液风扇离合器 | |
| CN201037517Y (zh) | 磁流变液软启动装置 | |
| CN104565120B (zh) | 一种磁流变液变扭矩装置 | |
| CN114033808A (zh) | 一种整体式螺旋迷宫阻尼联轴器 | |
| CN204371988U (zh) | 磁流变液变扭矩装置 | |
| WO2023028799A1 (zh) | 定子芯、定子组件和电机 | |
| CN203308964U (zh) | 一种滚柱式电磁离合器 | |
| CN102278446A (zh) | 一种磁流变液软启动装置 | |
| CN212509274U (zh) | 一种基于半球体离心挤压的磁流变软启动器 |
Legal Events
| Date | Code | Title | Description |
|---|---|---|---|
| A621 | Written request for application examination |
Free format text: JAPANESE INTERMEDIATE CODE: A621 Effective date: 20070301 |
|
| A977 | Report on retrieval |
Effective date: 20100531 Free format text: JAPANESE INTERMEDIATE CODE: A971007 |
|
| A131 | Notification of reasons for refusal |
Free format text: JAPANESE INTERMEDIATE CODE: A131 Effective date: 20100608 |
|
| A02 | Decision of refusal |
Effective date: 20101109 Free format text: JAPANESE INTERMEDIATE CODE: A02 |
