JP2005291180A - ポンプ装置 - Google Patents

ポンプ装置 Download PDF

Info

Publication number
JP2005291180A
JP2005291180A JP2004111354A JP2004111354A JP2005291180A JP 2005291180 A JP2005291180 A JP 2005291180A JP 2004111354 A JP2004111354 A JP 2004111354A JP 2004111354 A JP2004111354 A JP 2004111354A JP 2005291180 A JP2005291180 A JP 2005291180A
Authority
JP
Japan
Prior art keywords
pump
temperature
water
pressure
controller
Prior art date
Legal status (The legal status is an assumption and is not a legal conclusion. Google has not performed a legal analysis and makes no representation as to the accuracy of the status listed.)
Pending
Application number
JP2004111354A
Other languages
English (en)
Inventor
Hitoshi Kawaguchi
均 川口
Goji Isobe
剛司 磯辺
Tsutomu Makino
力 牧野
Ryota Miki
亮太 三木
Current Assignee (The listed assignees may be inaccurate. Google has not performed a legal analysis and makes no representation or warranty as to the accuracy of the list.)
Ebara Corp
Original Assignee
Ebara Corp
Priority date (The priority date is an assumption and is not a legal conclusion. Google has not performed a legal analysis and makes no representation as to the accuracy of the date listed.)
Filing date
Publication date
Application filed by Ebara Corp filed Critical Ebara Corp
Priority to JP2004111354A priority Critical patent/JP2005291180A/ja
Publication of JP2005291180A publication Critical patent/JP2005291180A/ja
Pending legal-status Critical Current

Links

Images

Landscapes

  • Control Of Non-Positive-Displacement Pumps (AREA)
  • Control Of Positive-Displacement Pumps (AREA)

Abstract

【課題】 維持管理の手間を抑えたポンプ装置を提供する。
【解決手段】 流体を吐出するポンプ310と、ポンプ310中の水の温度を検出する温度検出器であって、温度上昇で抵抗値が低下し、温度低下で抵抗値が上昇する特性の温度検出器329と、温度検出器329で検出された温度が第1の所定の閾値を越えたらポンプ310の運転を停止する制御器230とを備え、制御器230は、温度検出器329で検出された温度が前記第1の所定の閾値よりも低い第2の所定の閾値を下回ったら、警報信号を出力するように構成されるポンプ装置。
【選択図】 図6

Description

本発明は、ポンプ装置に関し、特に、維持管理の手間を抑えたポンプ装置に関する。
従来から、家庭に給水を行うために、受水槽に蓄えた水や井戸水を供給するのにポンプを使用して、供給水量や吐出圧力を検出して、それらに基づいて自動的にポンプを発停する自動給水装置が多く用いられている。また、このような従来の自動給水装置はインバータ装置を搭載しており、これを電源として誘導電動機を駆動し、吐出圧力一定制御を行っている(例えば特許文献1参照)。このようなポンプ装置には各種の異常停止条件が設定されている。その条件の一つにポンプ過熱がある。すなわちポンプケーシング中の水温が異常に上昇したときポンプを停止するものである。
特開昭60−142097号公報
従来のポンプ装置では、ポンプ過熱は、その他の異常、例えば流量低下等に準ずる補助的な条件であり、流量が低下したにも拘わらずポンプが運転され続けるのを防止するダブルチェック的な使い方をされることが多い。一方、軽微な異常等による警告で点検作業を強いられたくないとの要請もある。すなわち、ポンプ過熱を検出する温度センサの脱落等の度に、ポンプを停止し点検をすることは避けたい。しかしながら警告が出れば点検作業をしなければならず、維持管理の手間を抑えることができなかった。
そこで本発明は、維持管理の手間を抑えたポンプ装置を提供することを目的とする。
上記目的を達成するため、請求項1にかかる発明によるポンプ装置は、例えば、図1、図2に示すように、流体を吐出するポンプ310と;ポンプ310中の水の温度を検出する温度検出器であって、温度上昇で抵抗値が低下し、温度低下で抵抗値が上昇する特性(図5参照)の温度検出器329と;温度検出器329で検出された温度が第1の所定の閾値(図5の例では65℃)を越えたらポンプ310の運転を停止する制御器230とを備え;制御器230は、温度検出器329で検出された温度が前記第1の所定の閾値よりも低い第2の所定の閾値(図5の例では−40℃)を下回ったら、警報信号を出力するように構成される。
このように構成すると、温度上昇で抵抗値が低下し、温度低下で抵抗値が上昇する特性の温度検出器を備えるので、温度検出器の脱落を温度の上昇として検出することがない。また温度検出器で検出された温度が第1の所定の閾値を越えたらポンプの運転を停止する制御器を備えるので、温度上昇停止が可能である。また制御器は、温度検出器で検出された温度が前記第1の所定の閾値よりも低い第2の所定の閾値を下回ったら、警報信号を出力するように構成されるので、温度検出器に何らかの問題が生じた可能性を警報することができる。
温度検出器としては、典型的には温度が低いとき抵抗値が高く、温度が高くなると抵抗値が低くなるサーミスタを用いる。このように構成すると、サーミスタの断線等ではポンプは停止しない。したがって運転を取り敢えず継続することができる。
ポンプ中の水の温度を検出するとは、直接水の温度を検出する他、間接的に水の温度を検出する場合であってもよい。例えば、ポンプケーシングの温度で検出してもよい。
また請求項2に記載のように、請求項1に記載のポンプ装置では、制御器230は、温度検出器329で検出された温度が前記第2の所定の閾値を下回ったら、ポンプ310を所定の時間間隔(例えば5分)で強制的に停止するように構成してもよい。
ポンプを所定の時間間隔で強制的に停止するように構成されるので、温度異常が生じたままポンプを長時間運転することがない。
また請求項3に記載のように、請求項1又は請求項2に記載のポンプ装置は、制御器320が、ポンプ310を、吐出側の圧力低下で始動するようするように構成してもよい。
本発明によれば、制御器は、温度検出器で検出された温度が前記第1の所定の閾値よりも低い第2の所定の閾値を下回ったら、警報信号を出力するように構成されるので、温度検出器に何らかの問題が生じた可能性を警報することができる。
また、制御器230が、温度検出器329で検出された温度が前記第2の所定の閾値を下回ったら、ポンプ310を所定の時間間隔で強制的に停止するように構成するときは、温度異常が生じたままポンプを長時間運転することがないポンプ装置を提供することが可能となる。
以下、本発明の実施の形態について、図面を参照して説明する。なお、各図において互いに同一あるいは相当する部材には同一符号を付し、重複した説明は省略する。
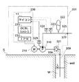
図1の平面図(a)と一部断面正面図(b)を参照して、本発明の実施の形態のポンプ装置としての給水装置201を説明する。本実施の形態では、ポンプとしてカスケードポンプ310を備える。カスケードポンプは摩擦ポンプの名前でも呼ばれるポンプであり、周縁に多数の溝を切った円板として形成された羽根車311を備える。このポンプは小型であるが、1個の羽根車で数段の渦巻ポンプに匹敵する揚程を得られ、小容量高揚程の目的に適している。また自吸性を有するので、家庭に給水を行うために受水槽に蓄えた水や井戸水を供給するのに適している。羽根車311はポンプケーシング312に収納されている。ポンプケーシング312の羽根車の軸の方向から見た正面には、ポンプケーシングカバー313がボルトで取り付けられており、これを取り外すと羽根車311にアクセスでき、保守点検が容易である。
また自動給水装置201は、ポンプ310を駆動する電動機210を備える。ポンプ310は可変速運転を行なうことにより吐出圧を制御できるように、インバータ装置230を備える。インバータ装置230は、電動機210の近傍に配置されている。
ポンプ吸込口326と羽根車313との間の流路には、チェッキ弁321が配置されている。なお吐出側の圧力維持の観点からは、チェッキ弁321は、前記位置に限らず、吐出管325の圧力タンク322取り付け位置よりも上流側にあればよい。しかしながら、呼水保持の観点から、ポンプ310の吸込側に設けるのがよい。
羽根車311の下流側には、気水分離室112が設けられ、気水分離室112の下流側にフロースイッチ324、その近傍に圧力検出器(圧力センサ)(圧力発信器)323が配置されている。フロースイッチ324と圧力センサ323とは、気水分離室112の下流に設けられた吐出管325に配置されている。吐出管325の下流には、ポンプ装置の吐出口327が設けられている。吐出管325には圧力タンク322が接続されている。圧力タンク322の鉛直方向上部には呼水栓328が設けられている。圧力タンク322は、ポンプ310の吐出側で、フロースイッチ324よりも下流側に設けられている。
以上の構成機器、ポンプ310、電動機210、インバータ装置230、圧力タンク322は、ユニットベース332の上に載置されボルトで固定されており、全体としてコンパクトにまとめられている。またこれらの機器全体を覆う、樹脂製のユニットカバー331を備える。ユニットカバー331には、ポンプ310の吸込口326と吐出口327に外部からアクセスできる開口331a、331bがそれぞれ形成されているが、ユニットカバー331とユニットベース332とで、前記構成機器全体をほぼ密閉的に覆っている。したがって、風雨から構成機器を守ることができると共に、高い防音効果を与えている。
本実施の形態では気水分離室112の水に浸る部分に温度センサ329の感温部が装着されている。温度センサ329はケーシング内部の水の温度を間接的に検知するものである。ステンレスのプレスポンプ等であれば、ケーシングの肉厚が薄いので、温度センサ329がケーシングの外側に取り付けられていても内側の水温がほとんど直ちに温度センサ329で検出できる。鋳物ケーシングであっても多少の時間遅れをもって検出できる。温度センサ329は、ケーシングを貫通して内部に埋め込まれたウエル中に装着、即ちケーシング内部に装着してもよく、その場合は、温度センサ329は水温を直接的に検出できる。温度センサ329の特性は後で詳しく説明する。
ポンプケーシング313の外側、ほぼ気水分離室112の外側には、凍結防止ヒータ333が、吐出管325の外側には、凍結防止ヒータ334が、それぞれ貼り付けられている。
図2のフローシートを参照して、ポンプ装置としての給水装置201の各構成機器につき、水の流れに則した配置と作用を説明する。ここで給水装置201は自動給水装置であり、水の使用量に応じてポンプ310を自動的に発停し、また運転速度を自動的に可変速する。
図2において、地上Sから掘られた井戸Wellには水WがレベルLの所まで溜まっている。自動給水装置201は井戸Wellに近接して、地上Sに据え付けられている。
吸込管309は給水装置201のポンプ310の吸込口326に接続されている。吸い込まれた水は、チェッキ弁321を経てポンプ310の羽根車311に吸い込まれる。チェッキ弁321は、ポンプ310が停止したときに、水が井戸Wellに逆流しないようにする逆止弁である。ポンプ310はカスケードポンプであるので、始動時に吸込管309中に空気があっても、それを排出して水Wを吸い上げることができるが、チェッキ弁321が設けられているので、発停ごとに空気を追い出す必要がない。
このような構造を有するので、水の需要がなくなり水の供給がなくなっても、ポンプケーシング中には水が保持されたままとなる。したがって、ポンプの羽根車が回転し続けると、ケーシングの中の水を攪拌する結果、水温が上昇する。
フロースイッチ324は、ポンプ310の吐出水量を検出し、検出結果をインバータ装置230に送信し電動機210を発停する。圧力センサ323は、ポンプ310の吐出圧力を検出し、検出結果をインバータ装置230内のマイコン11に送信する。
吐出管325に設けられた圧力タンク322は、耐圧容器内にゴム製のブラダが内蔵されており、吐出圧が上昇するとブラダの外側の空気を圧縮し水が加圧状態で貯留される。また、吐出圧が低下するにつれて、圧縮された空気が膨張し、貯留された水を吐出管325に押し出す。このようにして、ポンプ310が停止しても、しばらくは圧力タンク322から吐出管325に水が供給される。
ポンプ310のケーシングには、ポンプの温度を検出する温度センサ329が取り付けられている。ポンプの温度は、実際はケーシング内の水の温度を反映するものである。したがって、温度センサ329は、ケーシング内の水温を検出するものと言ってもよい。温度センサ329は、検出結果をインバータ装置230に送信し、過熱であると判断した場合に電動機210を停止する。
図3のフロー図を参照して、本実施の形態の給水装置の制御装置及び作用につき説明する。図中信号ラインに(D)で示す信号はデジタル信号、(A)で示す信号はアナログ信号である。インバータ装置230(二点鎖線で表示)は、電動機としての直流ブラシレスモータ210に駆動電力を供給するIPM(Intelligent Power Module)232、IPM232をコントロールするDCBLコントローラ235、DCBLコントローラ235をコントロールするマイコン11を備える。
マイコン11には、CPU12、CPU12で用いるプログラムを保存したメモリー17、外部からの入力信号を受け付け、また外部に信号を出力する中継装置であるI/O(入出力インターファイス)18を備える。
圧力タンク322は、フロースイッチ324よりも下流側に設置されているので、ポンプ310が停止しているときに圧力タンク322から供給される水流をフロースイッチ324が検出することはない。
IPM232は、直流ブラシレスモータ210から磁極信号のフィードバックを受けて、駆動電力の周波数を直流ブラシレスモータ210の回転数に同期させ、モータ210の固定子に回転磁界を形成する。
DCBL(直流ブラシレス)コントローラ235は、IPM232にPWM波形信号を送信する。IPM232は、その信号に対応した(と同波形の)電力を直流ブラシレスモータ210に供給する。
圧力センサ323からの圧力信号は、圧力コントローラ部14に入力され、圧力コントローラ部14は速度コントローラ部13に速度設定値を送る。速度コントローラ部13は、モータ210の回転速度のフィードバックを受けて、設定速度と実際の運転速度との差に応じた制御信号(電圧信号Ve)をDCBLコントローラ235に出力する。
IPM232は、先に説明したように電動機210に駆動電力を供給する。IPM232は、DCBL(直流ブラシレス)コントローラ235からPWM駆動波形信号を受信して、その信号波形と同じ波形の電力を生成する。いわば増幅器である。IPM232は、電力トランジスタを内蔵しており、そのゲートにオン/オフ信号が入力し、その信号と同じオン/オフの電力を出力する。電力トランジスタは、いわゆるスイッチング動作をする。
本実施の形態で用いるブラシレス直流電動機210は、永久磁石を組み込んだ回転子と、コイルを備えて回転磁界を形成する固定子とを含んで構成される。回転子と回転子からなる構成自体は、交流同期電動機と同様な構造である。但し磁極信号をDCBLコントローラ235に送信する点で交流同期電動機とは異なる。
DCBLモータ210で使用する信号波形と電力波形を説明する。DCBLコントローラ235は、オン・オフの直流信号をIPM232に送信する。オンとオフの発生周期は一定であり、オンの継続時間に広狭がある。オン/オフの広狭は所定の周期で繰り返される。この継続時間幅の広狭の割合をデューティ比とよぶ。DCBLコントローラ235は、速度コントローラ部13から入力される電圧信号Ve(0〜5ボルト)に応じてデュティ比を変える。Veが高いときはデュティ比を、全体的に幅が大きくなるように変える。
引き続き図3を参照して、本実施の形態の給水装置の制御装置及び作用の説明を続ける。IPM232では、DCBLコントローラ235からのオン・オフ信号と同じ周期で、電力トランジスタにスイッチング動作をさせる。この結果、オンとオフの発生周期が一定で、オンの継続時間に広狭があり、オン/オフの広狭が所定の周期で繰り返される、電圧が一定の直流電力が得られる。直流ではあるが、時間幅の狭い箇所は実効値が低く、広い箇所は高い、全体的に所定の周期の交流電力と同等の電力となる。
また、信号電圧Veが高いときは、時間幅が全体的に広くなるので、交流電力と見たときの全体の実効値が高くなる。このようにして、ポンプ310の負荷が大きくなっても回転速度が維持される。
DCBLコントローラ235は、CPU12中の速度コントローラ部13から、電圧信号Veを受信する。電圧信号Veは、CPU12から出力されるときは、デジタル信号であるが、途中に備えられたD/A(デジタルアナログ変換器)20でアナログ信号(0〜5V)に変換されDCBLコントローラ235に入力する。CPU12はIC構造を有する。電圧信号Veの定めるデューティ比は、広狭の幅を1山ずつではなく1周期分につき1セットで定める。
一方DCBLコントローラ235は、電動機210から磁極信号のフィードバックを受けて、出力信号であるPWM駆動波形信号の周期Tを調節する。電動機210の回転子の回転速度と固定子の回転磁界の回転速度が等しくないと、いわゆる脱調を起こすからである。
例えば、ポンプ310の負荷が増大してモータ210の回転子の回転が落ちてくると、それはDCBLコントローラ235にフィードバックされて、固定子の回転磁界の回転速度も低下する。このときポンプの吐出圧力が低下するので、圧力コントローラ部14と速度コントローラ部13が働いて電圧信号Veが高くなり、先に説明したように、IPM232からの駆動電力の実効電圧が高くなり、電動機210の出力が増大しポンプ310の回転速度が維持され、吐出圧力が維持されることになる。
DCBLコントローラ235の出力であるPWM駆動波形の周期が可変、すなわち周波数が可変であり、結局電動機210の回転速度が可変であることにより、ポンプ310の流量に応じて適正な吐出圧力を得るような制御が可能となる。
CPU12は、速度コントローラ部13と、圧力コントローラ部14と、推定末端圧力一定制御用演算部15を含んで構成されている。さらに自動発停制御部分16も含む。推定末端圧力一定制御については、別図を参照して説明する。
速度コントローラ部13には、圧力コントローラ部14からの設定速度信号(デジタル信号)が入力される。またDCBLコントローラ235から出力されたデジタルの速度信号がフィードバックされる。ここでいうデジタルの速度信号は、回転数に比例した時間当たりパルス数のパルス出力である。
速度コントローラ部13は、圧力コントローラ部14からの設定速度とフィードバックされた速度との差が0になるようにPI(比例積分)制御する。速度コントローラ部13には圧力コントローラ部14からの設定速度信号が入力する。圧力コントローラ部14には、ポンプ310の吐出圧力を検出した圧力発信器323からのアナログの圧力信号がA/D変喚器19でデジタル信号に変換されて入力する。一方、設定圧力信号(デジタル信号)が、推定末端圧力一定制御用演算部15から入力する。
圧力コントローラ部14は、ポンプ310の吐出圧力が設定圧力信号による設定圧力になるように、設定速度信号を調節する。すなわち、ポンプ吐出圧力が低下すると設定速度を高めるように調節する。これもPI制御である。
速度コントローラ部13が設けられているので、ポンプ310の最高回転速度の上限を抑えるような設定が可能となる。すなわちオーバースピードを防止する制御が可能である。
また、速度コントローラ部13を設けたので、そこに入力する設定速度信号を推定末端圧力一定制御用演算部で用いる回転速度信号として利用することができる。なお、DCBLコントローラ235からの速度信号を、上記目的に利用してもよい。推定末端圧力一定制御のための演算部15については、後述する。
CPU12は自動発停制御部16を有しており、自動発停信号を外部から受信して、停止信号を速度コントローラ部13とDCBLコントローラ235に送信する。
自動発停には、大きく分けて次の2種類がある:
(1)流量・圧力に基づく運転・停止の切換(正常時の自動発停)
(2)異常時の保護のための停止及びリトライによる運転再開(異常時の自動発停)
(1)の場合は、DCBLコントローラ235への発停信号は運転状態のままとなっている。停止するときは、Ve=0とするだけで、発停信号は運転中の状態から変わらない。
(2)の場合は、一部の保護(例えばIPM232のエラー)では、DCBLコントローラ235への発停信号を停止状態とするとともに、Ve=0とするが、その他の保護では、Ve=0とするだけである。
CPU12へ入力されるデジタル信号が、フロースイッチ324からのオン/オフ信号であるとき、CPU12に別途取り込まれる例えば圧力信号と組み合わせて発停がCPU12によって決定される。
また、自動発停信号が、例えば電動機温度に関するものであるとき、CPU12に取り込まれる信号は温度信号であり、自動発停制御部16が上限値を記憶しており、これに基づいて停止すべきか否かを判断し、必要に応じて停止信号を発信する。
CPU12はマイコンの中核部品である。CPU12が演算するためのプログラムは、マイコン11内のメモリー17に保存されている。
CPU12には、先に説明したように、圧力コントローラ部14、速度コントローラ部13、推定末端圧力一定制御用演算部15、自動発停制御部16があり、メモリー17に保存されたコントロールプログラム、演算プログラムによって、演算処理が行なわれる。DCBLコントローラ235は、ICで構成されており、各種の情報信号が入力される。
ポンプ水温過熱によるポンプ停止については後述する。
図4のポンプ運転特性曲線図を参照して、推定末端圧力一定制御を説明する。横軸が水量であり、縦軸がヘッドすなわち揚程(以下適宜「圧力」ともいう)であり、曲線Hzxはポンプ回転速度一定の運転特性である。ここで抵抗曲線Rは、ポンプ310から需要先末端迄の使用水量に応じた管路損失であり、水量Qが0の点を原点としたとき使用水量の略二乗に比例した曲線となっている。したがって、ポンプ310の吐出側の圧力を一定に制御するためには、需要先末端の圧力Pbが一定となるようにポンプ の回転速度をHzoとHzb’との間で制御すればよい。このような制御をすると最小流量では末端の圧力は必要以上の圧力となる。一方、推定末端圧力一定制御においては使用水量に応じた(抵抗曲線Rで示される)管路損失を見込む必要があるため、この損失を考慮してポンプ 回転速度をHzoとHzbとの間で制御する。中間の流量では、中間の回転速度Hzaで運転する。ポンプの吐出圧力は抵抗曲線Rに沿って変化する。
先に説明した推定末端圧力一定制御用演算部15は、ポンプ310の回転速度Nに応じて抵抗曲線Rに乗るような設定圧力f(N)を演算で求めて、その設定値f(N)を圧力コントロ−ラ部14に設定値として与えるものである。
本自動給水装置201は、水の使用量の下限を設定しておき、フロースイッチ324がその下限値を検出すると、マイコン11が作動して電動機210を、ひいてはポンプ310を停止する。その後水が使用されるとしばらくは圧力タンク322から水が供給されるが、圧力タンク322内の水が少なくなり、さらに圧力が低下すると、圧力センサ323がこれを検出して、マイコン11が電動機210を始動する。
このとき、水量が低下して電動機210を停止する際に、一時的にポンプの運転速度を上昇させることにより吐出圧力を上昇させ、圧力タンク322内に十分な水が貯留されるようにするとよい。水の流量低下によるポンプ310の停止は、フロースイッチ323によらず、回転速度の下限値に基づいて行なってもよい。
図5のサーミスタの温度・抵抗曲線を参照して、温度センサ329の特性を説明する。この線図は横軸に検出する温度(℃)、立軸にサーミスタの抵抗値(Ω)をとる。本実施の形態で使用するサーミスタは、温度が低下すると抵抗値が増え、温度が上昇すると抵抗値が減るという特性を有する。本実施の形態では、第1の所定の閾値としての65℃に対応する抵抗値をΩ1、第2の所定の閾値としての−40℃に対応する抵抗値をΩ2とする。温度センサ329が、このような特性を有するので、例えば温度センサ329の脱落や導線の断線などがあったとしても、温度の異常上昇とは逆の現象であるので、ポンプが直ちには停止しない。したがって、過剰点検を回避する上では都合がよい。温度と抵抗が同じ傾向で上下するセンサもあるが、それでは断線等すると温度上昇と見てポンプを停止してしまって、過剰な点検作業を強いられる。
抵抗値がΩ1を下回ったとき、すなわちポンプ内の水温が65℃を上回ったときにポンプ過熱と判断した警報を発すると共に、ポンプを停止する。抵抗値がΩ1よりも高いとき、すなわち水温が65℃よりも低いときは、温度センサ329の検出結果によりポンプを停止したり始動したりする必要は一般にはない。しかしながら、本実施の形態では、日本ではまずあり得ない温度、又は水を扱うポンプではあり得ない温度である−40℃に対応する抵抗値Ω2を基準として、以下説明するような特別の運転モードに入る。
ここで第1の所定の閾値は、正常な運転では起こりそうも無い高い温度、水用ポンプであれば50℃以上、好ましくは60℃以上とする。上限として、温度による異常がポンプに生じない温度、水用ポンプであれば、100℃以下、好ましくは80℃以下、さらに好ましくは70℃以下とする。したがって、具体的には例えば65℃程度とするのがよい。
第2の所定の閾値は、正常な運転では起こりそうも無い低い温度、水用ポンプであれば0℃以下、好ましくは−10℃以下とするが、温度センサの脱落や、同用導線の切断等を検知できればよいことに鑑みて、また誤作動を避けるためには、現実にまずあり得ない低い温度、例えば−40℃とするのがよい。
図6のフロー図を参照して本実施の形態の運転モードを説明する。ここでは、正常な運転の際には、ポンプの自動発停は、既に説明したように、流量低下で停止し、吐出側の圧力低下で始動するものとして説明する。
ポンプ装置を使用すべく、使用者が装置のスタートをする(ステップS1(以下単にS1と記載する))。ポンプは始動する(S2)。フロースイッチ324が検出する流量が低下したか否かを判断する(S3)。所定の閾値を下回った(判断がYes)とき、ポンプを自動停止する(S4)。その後圧力センサ323の検出する圧力が所定の閾値を下回ったかを判断し(S5)、圧力が維持されているとき(判断がNo)は停止したままとし、圧力が閾値よりも低下したとき(判断がYes)ポンプを自動始動する(S2)。
流量低下の判断(S3)が流量低下なし(判断がNo)のとき、ポンプ過熱を判断する(S6)。温度センサの抵抗値がΩ1より低いとき、すなわち検出値温度が閾値65℃を越えているときは過熱と判断される(判断がYes)。このときは、警報を発し、ポンプを停止する(S7)。温度センサの抵抗値がΩ1以上すなわち検出値温度が閾値65℃以下のときは過熱なしと判断される(判断がNo)。過熱なしのときは、さらに温度センサ329がポンプ温度の異常低温を検出しているかを判断する(S8)。すなわち−40℃に対応する抵抗値Ω2を越えるような抵抗値を示しているかを判断する。日本であれば、また水を扱うポンプである以上は、そのような検出値であるときは、サーミスタが脱落している、あるいは導線が断線していると判断できる。
サーミスタの脱落等は、必ずしも致命的な異常とは言えないので、先に説明したように、それだけでポンプの停止はしない。また、サーミスタの脱落や断線程度でサービス員がその都度点検作業をするのは無駄である。どうしても点検整備しなければならないのは、本当に流量が低下、あるいは流量がゼロであるにもかかわらずポンプが停止せずに、ポンプが過熱した場合である。
一方、サーミスタの脱落等が起こっていると、他の異常停止条件、例えばポンプの流量低下や極端な場合で流量ゼロの状態が生じていながら、ポンプが停止しないという現象が起こり得る。すなわちポンプ過熱の保護が効かないことになる。
異常に対するダブルチェック機能を残すために、サーミスタ329の抵抗値がΩ2を越えているか、言い換えればポンプ異常低温の現象が起こっているかを判断する(S8)。
ポンプ異常低温ではないと判断(S8の判断がNO)したときは、サーミスタは正常に作動しており、ポンプ過熱もなく(S6)、流量低下もない(S3)のであるから、そのまま運転を継続する。
ポンプが異常低温と判断された(S8の判断がYes)ときは、ポンプを一旦停止モードに入れる(S9)。確実を期すために、サーミスタの抵抗がΩ2を越える状態が所定の時間例えば3秒以上続いたときにポンプ一旦停止モードに入れるのがよい。このモードでは、とにかく一定期間毎にポンプを停止して様子を見る。一定期間は、何らかの異常があってポンプが停止しない現象が起こっていても、大きな問題とならない程度の時間、例えば5分程度に設定する。
所定の時間は、1秒以上とし、さらに好ましくは2秒以上とする。この時間が短すぎると、断線等が実際には起こっていないのに、誤検出により、特別のモードに入れてしまう可能性が高くなるからである。また20秒以下とし、好ましくは10秒以下、さらに好ましくは5秒以下とする。この時間が長すぎても、誤検出防止を確実にするのにあまり貢献しないばかりでなく、特別モードでの監視運転に入れずに運転を長く継続することとなるからである。
一定期間毎にポンプを停止して様子を見る一定期間は、1分以上とし、好ましくは2分以上、さらに好ましくは3分以上とする。この時間が短すぎると、ポンプに頻繁な発停を強いることとなるからである。また15分以下とし、好ましくは10分以下、さらに好ましくは7分以下とする。この時間が長すぎると、何らかの異常があってポンプが停止しない現象が起こったとき、その異常によりポンプに損傷を与える可能性が出てくるからである。この時間は、実際にポンプ締切運転が継続してもポンプ内の水温上昇が第1の所定の閾値を超えて上昇しない範囲でできるだけ長い時間とするのがよい。ポンプ毎に実験的に求めてもよいし、ポンプの表面積、羽根車の回転による発熱量、熱伝達率に基づいて設計的に計算で求めてもよい。
サーミスタの脱落や断線を検知したときに出力する警報信号は、軽微な警報を示すものとするとよい。例えば、その警報に従って単なる断線可能性を示すランプ表示をする程度でよい。
またここでいう警報信号は、必ずしもランプ表示させたりする信号として用いるものに限らず、前記ポンプ一旦停止モードに入れるための信号として用いるものであってもよい。すなわち、ランプ表示させたりする信号とポンプ一旦停止モードに入れるための信号とを2つ出力してもよいし、一つの信号を両方の目的に用いてもよい。
一旦停止した後、吐出側の圧力が低下するか否かの判断(S5)をして、低下なし(判断がNo)の場合は、停止したままである。吐出側の圧力低下なしということは、水の需要がなく流量がゼロまたはほとんどゼロということを示す。したがってポンプを始動してはならない。
吐出側の圧力の低下あり(判断がYes)の場合は、ポンプを始動する(S2)。吐出側の圧力低下ありということは、水の需要があるということを示す。このときは、ポンプ過熱は生じていないはずであるから、サーミスタの脱落によりポンプ過熱の監視がされていないとしても、ポンプを始動して差し支えない。その後ステップS3、S6、S8を経由して、5分毎の一旦停止モード(S9)が継続される。
ポンプ一旦停止モードに入ったときは、適切な時期にサービスマンが点検をする。定期的な巡回に合わせて点検をするものとしてもよい。本実施の形態によれば、サーミスタ脱落等で直ちにサービスマンが急行することを回避できるので、維持管理負担を大幅に抑えることが可能となる。
なお、本発明のポンプ装置は、以上説明した実施の形態に限定されるものではなく、また図示例に限定されるものではなく、本発明の要旨を逸脱しない範囲内において種々変更を加え得ることは言うまでもない。
本発明の実施の形態による給水装置の平面図及び正面図である。 本発明の実施の形態による給水装置を説明するフロー図である。 本発明の実施の形態による給水装置の制御装置及び作用につき説明するフロー図である。 推定末端圧力一定制御を説明するポンプの運転特性図である。 サーミスタの温度・抵抗特性を示す線図である。 本発明の実施の形態の運転例を示すフロー図である。
符号の説明
11 マイコン
12 CPU
13 速度コントローラ部
14 圧力コントローラ部
15 推定末端圧力一定制御用演算部
16 自動発停制御部
17 メモリー
18 I/O
19 A/D
20 D/A
112 気水分離室
201 給水装置
210 電動機
211 電動機本体
230 インバータ装置
232 IPM素子
309 吸込管
310 ポンプ
311 羽根車
312 ポンプケーシング
313 ポンプケーシングカバー
321 チェッキ弁
322 圧力タンク
323 圧力センサ
324 フロースイッチ
325 吐出管
326 吸込口
327 吐出口
328 呼水栓
329 温度センサ
331 ユニットカバー
331a ユニットカバー開口(吸込側)
331b ユニットカバー開口(吐出側)
332 ユニットベース
333、334 凍結防止ヒータ
L レベル
S 地上
W 水
Well 井戸

Claims (3)

  1. 流体を吐出するポンプと;
    前記ポンプ中の水の温度を検出する温度検出器であって、温度上昇で抵抗値が低下し、温度低下で抵抗値が上昇する特性の温度検出器と;
    前記温度検出器で検出された温度が第1の所定の閾値を越えたら前記ポンプの運転を停止する制御器とを備え;
    前記制御器は、前記温度検出器で検出された温度が前記第1の所定の閾値よりも低い第2の所定の閾値を下回ったら、警報信号を出力するように構成された;
    ポンプ装置。
  2. 前記制御器は、前記温度検出器で検出された温度が前記第2の所定の閾値を下回ったら、前記ポンプを所定の時間間隔で強制的に停止するように構成された、請求項1に記載のポンプ装置。
  3. 前記制御器は、前記ポンプを、吐出側の圧力低下で始動するようするように構成された、請求項1又は請求項2に記載のポンプ装置。
JP2004111354A 2004-04-05 2004-04-05 ポンプ装置 Pending JP2005291180A (ja)

Priority Applications (1)

Application Number Priority Date Filing Date Title
JP2004111354A JP2005291180A (ja) 2004-04-05 2004-04-05 ポンプ装置

Applications Claiming Priority (1)

Application Number Priority Date Filing Date Title
JP2004111354A JP2005291180A (ja) 2004-04-05 2004-04-05 ポンプ装置

Publications (1)

Publication Number Publication Date
JP2005291180A true JP2005291180A (ja) 2005-10-20

Family

ID=35324378

Family Applications (1)

Application Number Title Priority Date Filing Date
JP2004111354A Pending JP2005291180A (ja) 2004-04-05 2004-04-05 ポンプ装置

Country Status (1)

Country Link
JP (1) JP2005291180A (ja)

Cited By (2)

* Cited by examiner, † Cited by third party
Publication number Priority date Publication date Assignee Title
JP2017137800A (ja) * 2016-02-03 2017-08-10 株式会社荏原製作所 給水装置、および給水装置の運転方法
JP2017137799A (ja) * 2016-02-03 2017-08-10 株式会社荏原製作所 給水装置、および給水装置の運転方法

Citations (5)

* Cited by examiner, † Cited by third party
Publication number Priority date Publication date Assignee Title
JPS60170091U (ja) * 1984-04-20 1985-11-11 三洋電機株式会社 ポンプの凍結防止装置
JPS6229795A (ja) * 1985-07-31 1987-02-07 Matsushita Electric Ind Co Ltd ポンプの保護装置
JPS62240487A (ja) * 1986-04-11 1987-10-21 Hitachi Ltd 井戸ポンプ装置
JPH11153098A (ja) * 1997-09-19 1999-06-08 Nikkiso Co Ltd キャンドモータポンプ用凍結防止装置
JP2001132657A (ja) * 1999-11-04 2001-05-18 Denso Corp 密閉型電動圧縮機

Patent Citations (5)

* Cited by examiner, † Cited by third party
Publication number Priority date Publication date Assignee Title
JPS60170091U (ja) * 1984-04-20 1985-11-11 三洋電機株式会社 ポンプの凍結防止装置
JPS6229795A (ja) * 1985-07-31 1987-02-07 Matsushita Electric Ind Co Ltd ポンプの保護装置
JPS62240487A (ja) * 1986-04-11 1987-10-21 Hitachi Ltd 井戸ポンプ装置
JPH11153098A (ja) * 1997-09-19 1999-06-08 Nikkiso Co Ltd キャンドモータポンプ用凍結防止装置
JP2001132657A (ja) * 1999-11-04 2001-05-18 Denso Corp 密閉型電動圧縮機

Cited By (2)

* Cited by examiner, † Cited by third party
Publication number Priority date Publication date Assignee Title
JP2017137800A (ja) * 2016-02-03 2017-08-10 株式会社荏原製作所 給水装置、および給水装置の運転方法
JP2017137799A (ja) * 2016-02-03 2017-08-10 株式会社荏原製作所 給水装置、および給水装置の運転方法

Similar Documents

Publication Publication Date Title
US6715996B2 (en) Method for the operation of a centrifugal pump
US8133034B2 (en) Controller for a motor and a method of controlling the motor
US8360736B2 (en) Controller for a motor and a method of controlling the motor
US8177520B2 (en) Controller for a motor and a method of controlling the motor
CN101203678B (zh) 泵、操作该泵的方法与包含该泵的泵站
US20080095639A1 (en) Controller for a motor and a method of controlling the motor
US8354809B2 (en) Controller for a motor and a method of controlling the motor
US20110002792A1 (en) Controller for a motor and a method of controlling the motor
US20080095638A1 (en) Controller for a motor and a method of controlling the motor
CN111902634B (zh) 泵-电机组件的故障保护
US20190301480A1 (en) Pump apparatus
WO2021012884A1 (zh) 自动排空水泵的控制方法、装置相应设备及存储介质
EP2476203A1 (en) Fire-extinguishing system and method for operating servo motor-driven foam pump
US20230243357A1 (en) Bilge pump systems
JP2006299939A (ja) 給水装置
US20110056710A1 (en) Method of Operating a Servo Motor in a Fire-Extinguishing System
JPWO2020066629A1 (ja) 気体圧縮機
JP7069559B2 (ja) 真空ポンプのモータ異常検出装置および真空ポンプシステム
JP4789333B2 (ja) 水中ポンプ
JP2005291180A (ja) ポンプ装置
JP2015059480A (ja) 給液装置の運転装置、及び給液装置
JP6303043B1 (ja) 水中ポンプ及び水中ポンプの制御方法
JP7627905B2 (ja) 給水装置及び該給水装置の異常検出方法
KR20080103731A (ko) 입형 다단 펌프의 공회전 방지 시스템
JP4504705B2 (ja) ポンプ装置

Legal Events

Date Code Title Description
A621 Written request for application examination

Free format text: JAPANESE INTERMEDIATE CODE: A621

Effective date: 20070329

A977 Report on retrieval

Free format text: JAPANESE INTERMEDIATE CODE: A971007

Effective date: 20100309

A131 Notification of reasons for refusal

Free format text: JAPANESE INTERMEDIATE CODE: A131

Effective date: 20100323

A521 Written amendment

Free format text: JAPANESE INTERMEDIATE CODE: A523

Effective date: 20100520

A131 Notification of reasons for refusal

Free format text: JAPANESE INTERMEDIATE CODE: A131

Effective date: 20100831

A02 Decision of refusal

Free format text: JAPANESE INTERMEDIATE CODE: A02

Effective date: 20110104