JP2005291156A - 風力発電装置 - Google Patents

風力発電装置 Download PDF

Info

Publication number
JP2005291156A
JP2005291156A JP2004110184A JP2004110184A JP2005291156A JP 2005291156 A JP2005291156 A JP 2005291156A JP 2004110184 A JP2004110184 A JP 2004110184A JP 2004110184 A JP2004110184 A JP 2004110184A JP 2005291156 A JP2005291156 A JP 2005291156A
Authority
JP
Japan
Prior art keywords
support member
disk
wind power
power generation
plate
Prior art date
Legal status (The legal status is an assumption and is not a legal conclusion. Google has not performed a legal analysis and makes no representation as to the accuracy of the status listed.)
Pending
Application number
JP2004110184A
Other languages
English (en)
Inventor
Motoyuki Iwahashi
基行 岩橋
Current Assignee (The listed assignees may be inaccurate. Google has not performed a legal analysis and makes no representation or warranty as to the accuracy of the list.)
Shimizu Construction Co Ltd
Shimizu Corp
Original Assignee
Shimizu Construction Co Ltd
Shimizu Corp
Priority date (The priority date is an assumption and is not a legal conclusion. Google has not performed a legal analysis and makes no representation as to the accuracy of the date listed.)
Filing date
Publication date
Application filed by Shimizu Construction Co Ltd, Shimizu Corp filed Critical Shimizu Construction Co Ltd
Priority to JP2004110184A priority Critical patent/JP2005291156A/ja
Publication of JP2005291156A publication Critical patent/JP2005291156A/ja
Pending legal-status Critical Current

Links

Images

Classifications

    • YGENERAL TAGGING OF NEW TECHNOLOGICAL DEVELOPMENTS; GENERAL TAGGING OF CROSS-SECTIONAL TECHNOLOGIES SPANNING OVER SEVERAL SECTIONS OF THE IPC; TECHNICAL SUBJECTS COVERED BY FORMER USPC CROSS-REFERENCE ART COLLECTIONS [XRACs] AND DIGESTS
    • Y02TECHNOLOGIES OR APPLICATIONS FOR MITIGATION OR ADAPTATION AGAINST CLIMATE CHANGE
    • Y02EREDUCTION OF GREENHOUSE GAS [GHG] EMISSIONS, RELATED TO ENERGY GENERATION, TRANSMISSION OR DISTRIBUTION
    • Y02E10/00Energy generation through renewable energy sources
    • Y02E10/70Wind energy
    • Y02E10/72Wind turbines with rotation axis in wind direction

Landscapes

  • Wind Motors (AREA)

Abstract

【課題】沿岸漁業に悪影響を及ぼすことなく多くの風力発電機が設置できるようにする。
【解決手段】海底1に打ち込む複数の支柱2により、全体が海面15の上に露出した第1の盤状支持部材4と、全体が海中に沈んでいる第2の盤状支持部材5とからなる盤状支持部材3を支持し、その盤状支持部材3の第1の盤状支持部材4の上に複数の発電塔7を立設して風を受けて回転する回転翼6と、その回転翼6の回転に従動して回転する図示しないロータを備えた発電機とを支持するようにした風力発電装置であり、第1および第2の盤状支持部材4、5にはそれぞれ採光口4A、5Aを設けて太陽光が採光口4A、5Aを通って海底1の方向に進むようにし、さらに湧昇流を起すことができる水中翼8を特定の発電塔7の下方の海底1の近くに設けるようにした。
【選択図】 図1

Description

本発明は、海上や湖上などの水上に建設される風力発電装置に関する。
この種の発電装置は、一般に大型ほど発電効率が優れている。そのため、近年設置される風力発電装置においては、直径が100mを超える回転翼を備えたものもあり、強風にも耐えられる十分に堅固な基礎が必要となる。なお、風力発電は、経済性の観点からは風速6m/s以上の強い風が常時吹いていることが好ましい。
そのため、風力発電装置を年間を通して強い風が吹く外洋上に設置する構想もあるが(例えば、特許文献1参照。)、強風を受けても倒壊・転覆などしないようにするためには、土台部分の堅牢化・大型化が不可避であり、費用も嵩む。また、電力消費地から遠く離れることになり、送電コストが高く付くなどの問題点もあることから、実現されていない。
すなわち、風力発電装置は現実には海岸や湖岸などの沿岸部や、沿岸に近く、したがって水深が数mから数十m程度の比較的浅い海域などに建設されることが多いが、年間を通じて風速6m/s以上の強い風が吹く地点は限定される。
しかも、水深の比較的浅い海は一般に藻場があり、良い漁場となっていることが多く、そのような場所は風力発電装置の設置により海底が荒れて藻場が失われ、それによる漁業の不振、また、施設そのものが漁業の邪魔になる、などと心配する漁業関係者の反対も強く、本当に好ましい場所への風力発電装置の建設が実現しないと云った問題点がある。
しかも、例えば図4に示したように海底1に複数本の杭2Xを打ち込み、その杭2Xの上に鋼管などからなる支柱部2Yを設け、それにより風を受けて回転する回転翼6と、その回転翼6の回転に従動して回転する図示しないロータを備えた発電機とを1台づつ支持する構造の風力発電装置100X(例えば、特許文献2参照。)においては、発電機を複数台設置しようとすると、それだけ杭打ち回数が増えて藻場を荒らすことになり、漁業に与える影響は甚大になる。
特開平8−26184号公報 特開2003−206852号公報
したがって、沿岸漁業に悪影響を及ぼすことなく、多くの風力発電機が設置できるようにする必要があり、それが解決すべき課題となっていた。
本発明は上記従来技術の課題を解決するため、風を受けて回転する回転翼により発電機のロータを回転して発電する風力発電装置において、上下方向に開口した複数の採光口を備える盤状支持部材を水底から立設された複数の支柱により支持し、回転翼と発電機とを備えて分散配置された複数の発電塔を前記盤状支持部材により支持・固定したことを主要な特徴とする風力発電装置である。
本発明は、上下方向に開口した採光口を備える盤状支持部材が、海底などから立設された複数の支柱に支持され、その盤状支持部材により回転翼と発電機とを備えて分散配置された複数の発電塔が支持された風力発電装置であるので、発電塔を1台づつ設置するのに比べて、水底に打ち込む発電塔1台当たりの支柱の数を減らすことができる。
すなわち、設置する発電塔1台当たりの水中の藻場に与える影響を減らして、魚場の荒れを回避することが可能になる。そのため、漁業関係者の理解が得られ易く、水産資源の豊富な沿岸域での風力発電装置の建設を進めることが可能になる。
上下方向に開口した採光口を備える盤状支持部材を、水底から立設された複数の支柱により支持し、その盤状支持部材により回転翼と発電機とを備えて分散配置した複数の発電塔を支持・固定した風力発電装置であり、採光口は盤状支持部材の最大水平面積の40%以上の割合で開設される。
また、少なくとも上部が水上に露出し、発電塔が立設された第1の盤状支持部材と、全体が水中に没した藻場形成用の第2の盤状支持部材とから盤状支持部材が構成され、水底近くに湧昇流を起すことのできる水中翼が設けられた風力発電装置である。
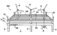
本発明の第1の実施例を、主に図1と図2に基づいて説明する。本発明の風力発電装置100においては、例えば鉄筋コンクリート製の大きくて堅固な盤状支持部材3が、海底1に打ち込まれたコンクリートパイルなどからなる複数の支柱2により支持されている。
そして、この場合の盤状支持部材3は、全体が海面15の上に露出した第1の盤状支持部材4と、全体が海中に沈んでいる第2の盤状支持部材5とから構成され、第1および第2の盤状支持部材4、5の外周面は、何れも水平に形成された上面および下面と直角、すなわち鉛直に形成されている。
第1および第2の盤状支持部材4、5にはそれぞれ採光口4A、5Aが設けられ、太陽光が採光口4A、5Aを通って海底1の方向に進むように設けられている。なお、採光口4Aは第1の盤状支持部材4の最大水平面積の40%以上、例えば50%程度が開口して形成され、採光口5Aは第2の盤状支持部材5の最大水平面積の、例えば35%程度が開口して形成されることが好ましい。
また、第1の盤状支持部材4の上面には太陽電池パネル4Bが設置され、第2の盤状支持部材5には魚の棲み処となる横穴5Bが設けられている。そして、第1の盤状支持部材4の上に、風を受けて回転する回転翼6と、その回転翼6の回転に従動して回転する図示しないロータを備えた発電機とを上部に備えた複数の発電塔7が立設されている。
第1の盤状支持部材4と発電塔7とは、イ)互いの金属部分同士を溶接して一体化する、ロ)鉄筋コンクリート製とするときは互いの鉄筋を係合してコンクリートを打設する、などの方法で一体化することで、一体化部分を特に大型化させなくても堅固に造ることが可能である。
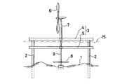
また、起動するとその部分に湧昇流を起すことができる水中翼8が、特定の発電塔7の下方の海底1の近くに設けられている。水中翼8は、例えば図2に示したように発電塔7の下方の海底1と第1の盤状支持部材4とで軸支された回転軸9に取り付けられて、風を受けて回転する回転翼6の回転が、図示しないギヤとシャフトとを介して回転軸9に直接伝達されて回転するように設けられているが、発電塔7で発電した電力を動力として起動するモータにより回転させるように構成することも可能である。
また、第1の盤状支持部材4の少なくとも外周コーナ部には、発電塔7または太陽電池パネル4Bの何れかで発電された電気により夜間に点灯する誘導灯10と、霧が深いときの警笛、すなわち霧笛を発することのできる図示しないスピーカが設けられている。したがって、夜間も、深い霧が発生したときにも、船舶は本発明の風力発電装置100に衝突することはなく、安全に航行することができる。
なお、全体が海中に沈んでいる第2の盤状支持部材5は、藻場が形成され易くするために、ミクロ的にもマクロ的にも凹凸に形成されている。しかも、第1の盤状支持部材4には採光口4Aが大きく設けられているので、太陽光は第2の盤状支持部材5の部分まで到達し、緑藻・紅藻・褐藻などの海藻や甲殻類、貝類の生育が可能である。
そのため、第2の盤状支持部材5にはコンブ・ワカメ・ヒジキ・ホンダワラなどの海藻や、フジツボ・カキなどが付着して生育し、そこに魚が産卵し、小魚が居付くようになる。そうして、小魚を捕食するスズキ、カツオ、ヒラマサなどの大型魚も回遊して来るようになり、第2の盤状支持部材5が人工漁礁として機能するようになる。
しかも、第2の盤状支持部材5には横穴5Bが設けられているので、小魚はこの横穴5Bに逃げ込むことが可能であり、大型魚に全て捕食されて小魚が全滅すると云った不都合は起こらない。なお、横穴5Bは第2の盤状支持部材5に貫通した状態に設けられても良いし、行き止り状態に設けられても良い。また、その大きさ、深さも、種々のタイプが混在するように設けることもできる。
上記構成の本発明の風力発電装置100においては、海底1に分散して打ち込む杭などからなる支柱2により盤上支持部材3を支持し、その大きく安定した盤上支持部材3により、風力発電機を構成する回転翼6と発電塔7とを支持している。
したがって、回転翼6と発電塔7が強風・大波などを受けても倒壊しないように、背の高い発電塔7を不規則な形状の海底1に直接立設するより、本発明の風力発電装置100の基礎工事の方が簡単であり、且つ、同じ数の発電塔7を設置するときには、海底に及ぼす影響は遥かに小さいものとなる。
すなわち、良い藻場があり、したがって良好な漁場となっている所に風力発電装置100を設置するときには、魚場を大きく荒らすことなく設置することができる。一方、東京湾や有明海などのように内海でヘドロなどの堆積があり、水質も良くないために太陽光が海底まで届かず、そのために藻場の形成がなく、良い漁場となっていないような海域に風力発電装置100を設置するときには、第2の盤状支持部材5まで太陽光が届くようにすることができるので、その第2の盤状支持部材5では海藻や甲殻類の生育が可能になる。
したがって、第2の盤状支持部材5にはコンブ・ワカメ・ヒジキ・ホンダワラなどの海藻や、フジツボ・カキなどが付着して成長し、そこに魚が産卵し、さらに小魚が居付くようになる。そうすれば、小魚を捕食する大型魚も回遊して来るようになり、人工漁礁として機能するようになるばかりでなく、食物連鎖による水質浄化も可能になる。
また、海水が採光口5Aを通って上下に移動することができるし、稚魚や居着きの魚は採光口5Aを通って第2の盤状支持部材5の上に形成された藻場に行ったり、第2の盤状支持部材5の横穴5Bや海底1に潜んで、大型魚による捕食から逃れることができる。
また、水中翼8の運転による湧昇流を発生させることにより、海底1にも十分な量の酸素を供給して、魚介類の斃死を引起すことがある酸素不足による青潮の発生が防止できると共に、第2の盤状支持部材5に付着した海藻類やフジツボ・カキなどに海底付近の富養化水を供給して、それらの養分とすることができるので、水産資源の生産と水質浄化の一層の促進を図ることができる。
なお、本発明は上記実施例に限定されるものではないので、特許請求の範囲に記載の趣旨から逸脱しない範囲で各種の変形実施が可能である。
例えば、図3に示したように発電塔7は海底1から立設し、その中段部を第1の盤状支持部材4と、第2の盤状支持部材5で支持するように構成することも可能である。
また、第1の盤状支持部材4の上面は、人や車の移動を容易にするために水上に設けるのが好ましいが、中下段部分は水中に歿した状態に設けることも可能である。
また、第2の盤状支持部材5は藻場形成のために設けるので、それが期待できないような水深の浅い所に風力発電装置100を建設するときには、第1の盤状支持部材4のみを設けて発電塔7を支持し、全体的には浅いが、沖側が深くなっている所では、藻場形成に最適な水深となる深い部分にのみ第2の盤状支持部材5を設けるようにしても良い。
また、グリッド上部に設置する太陽電池は、海風による冷却や、背面部をコンクリートを介した間接もしくは海水による直接の冷却により、発電効率を上げることができる。
また、グリッド間の開口部は、一部色素増感型の太陽電池により、葉緑素による光合成に必要な赤色光を透過させ、藻場の確保と発電を兼ね備えることなども可能である。
本発明の風力発電装置の説明図である。 本発明の風力発電装置の要部の説明図である。 本発明の風力発電装置の変形実施例を示す説明図である。 従来の風力発電装置の説明図である。
符号の説明
1 海底
2 支柱
3 盤状支持部材
4 第1の盤状支持部材
4A 採光口
4B 太陽電池パネル
5 第2の盤状支持部材
5A 採光口
5B 横穴
6 回転翼
7 発電塔
8 水中翼
9 回転軸
10 誘導灯
15 海面
100、100X 風力発電装置

Claims (4)

  1. 風を受けて回転する回転翼により発電機のロータを回転して発電する風力発電装置において、上下方向に開口した複数の採光口を備える盤状支持部材を水底から立設された複数の支柱により支持し、回転翼と発電機とを備えて分散配置された複数の発電塔を前記盤状支持部材により支持・固定したことを特徴とする風力発電装置。
  2. 盤状支持部材の少なくとも上部が水上に露出して設置されたことを特徴とする請求項1記載の風力発電装置。
  3. 盤状支持部材が水中に設置されたことを特徴とする請求項1記載の風力発電装置。
  4. 発電塔は水底から立設され、その中段部が盤状支持部材により支持されたことを特徴とする請求項1〜3何れかに記載の風力発電装置。
JP2004110184A 2004-04-02 2004-04-02 風力発電装置 Pending JP2005291156A (ja)

Priority Applications (1)

Application Number Priority Date Filing Date Title
JP2004110184A JP2005291156A (ja) 2004-04-02 2004-04-02 風力発電装置

Applications Claiming Priority (1)

Application Number Priority Date Filing Date Title
JP2004110184A JP2005291156A (ja) 2004-04-02 2004-04-02 風力発電装置

Publications (1)

Publication Number Publication Date
JP2005291156A true JP2005291156A (ja) 2005-10-20

Family

ID=35324357

Family Applications (1)

Application Number Title Priority Date Filing Date
JP2004110184A Pending JP2005291156A (ja) 2004-04-02 2004-04-02 風力発電装置

Country Status (1)

Country Link
JP (1) JP2005291156A (ja)

Cited By (1)

* Cited by examiner, † Cited by third party
Publication number Priority date Publication date Assignee Title
GB2420321A (en) * 2004-11-18 2006-05-24 Fast Frames Offshore piled energy generating apparatus

Citations (7)

* Cited by examiner, † Cited by third party
Publication number Priority date Publication date Assignee Title
JPS61226572A (ja) * 1985-03-30 1986-10-08 Hitachi Zosen Corp 洋上発電装置
JPH0461700U (ja) * 1990-09-28 1992-05-27
JPH04118200U (ja) * 1991-03-29 1992-10-22 大阪府 閉鎖系水域における水質浄化装置
JPH0580599U (ja) * 1992-04-03 1993-11-02 株式会社丸島アクアシステム 閉鎖系水域における水質浄化装置
JPH11179392A (ja) * 1997-12-22 1999-07-06 Takahiko Yoshino 風車による水質浄化装置
JP2000213451A (ja) * 1999-01-22 2000-08-02 Hitachi Zosen Corp 風力発電装置
JP2003206852A (ja) * 2002-01-18 2003-07-25 Mitsubishi Heavy Ind Ltd 洋上風力発電用支持装置

Patent Citations (7)

* Cited by examiner, † Cited by third party
Publication number Priority date Publication date Assignee Title
JPS61226572A (ja) * 1985-03-30 1986-10-08 Hitachi Zosen Corp 洋上発電装置
JPH0461700U (ja) * 1990-09-28 1992-05-27
JPH04118200U (ja) * 1991-03-29 1992-10-22 大阪府 閉鎖系水域における水質浄化装置
JPH0580599U (ja) * 1992-04-03 1993-11-02 株式会社丸島アクアシステム 閉鎖系水域における水質浄化装置
JPH11179392A (ja) * 1997-12-22 1999-07-06 Takahiko Yoshino 風車による水質浄化装置
JP2000213451A (ja) * 1999-01-22 2000-08-02 Hitachi Zosen Corp 風力発電装置
JP2003206852A (ja) * 2002-01-18 2003-07-25 Mitsubishi Heavy Ind Ltd 洋上風力発電用支持装置

Cited By (2)

* Cited by examiner, † Cited by third party
Publication number Priority date Publication date Assignee Title
GB2420321A (en) * 2004-11-18 2006-05-24 Fast Frames Offshore piled energy generating apparatus
GB2420321B (en) * 2004-11-18 2008-09-17 Fast Frames Energy generating apparatus

Similar Documents

Publication Publication Date Title
US11149716B2 (en) Offshore wind-solar-aquaculture integrated floater
US7476074B2 (en) Method for realising a submerged floating foundation with blocked vertical thrust for the coordinated production of mariculture and electrical energy using wind in open sea conditions and submergeable floating foundation for carrying loads to be used in said method
EP2604501B1 (en) System of anchoring and mooring of floating wind turbine towers and corresponding methods for towing and erecting thereof
US10716296B2 (en) Floating offshore wind turbine integrated with steel fish farming cage
CN209964974U (zh) 深远海浮式风光渔综合装备
CN107878698A (zh) 一种海上浮式风电机组及渔业网箱养殖的综合装置
CN108252263A (zh) 一种用于深海养殖的浮式防波提和风能集成系统
JP5688764B2 (ja) 水上発電装置
CN101939537A (zh) 离岸垂直轴风力涡轮机及相关联系统及方法
KR100872992B1 (ko) 인공어초의 기능을 하는 해저 고정형 해양 구조물 및 그제작방법
CN208023503U (zh) 一种用于深海养殖的浮式防波提和风能集成系统
US8575775B1 (en) Electrical power generation system for harvesting underwater currents
CN219108487U (zh) 一种具有自升降能力的海上浮式风渔融合装置
CN116210631A (zh) 一种具有自升降能力的海上浮式风渔融合装置及实施方法
CN102050198A (zh) 浅水区风力发电机组潜水驳船座底分体安装工艺
KR101232332B1 (ko) 조류를 이용한 위치 가변형 발전장치
KR20090067387A (ko) 심해 반잠수식 가두리 양식방법 및 그 장치
CN112706889A (zh) 一种联合风能发电和海水养殖的浮式平台
JP2011196361A (ja) 水上発電装置
CN107542623B (zh) 推力型漂浮式集风发电装置
US7928595B1 (en) Electric power generation system for harvesting underwater currents
JP2007135429A (ja) 水中植生工法及び水中植生施設
JP4521634B2 (ja) 風力発電装置
CN113911273A (zh) 一种海上驳船式风力机加装网箱的深海发电养殖系统
JP2005291156A (ja) 風力発電装置

Legal Events

Date Code Title Description
A621 Written request for application examination

Free format text: JAPANESE INTERMEDIATE CODE: A621

Effective date: 20070118

A977 Report on retrieval

Free format text: JAPANESE INTERMEDIATE CODE: A971007

Effective date: 20091015

A131 Notification of reasons for refusal

Free format text: JAPANESE INTERMEDIATE CODE: A131

Effective date: 20091020

A521 Written amendment

Free format text: JAPANESE INTERMEDIATE CODE: A523

Effective date: 20091210

A131 Notification of reasons for refusal

Free format text: JAPANESE INTERMEDIATE CODE: A131

Effective date: 20100427

A521 Written amendment

Free format text: JAPANESE INTERMEDIATE CODE: A523

Effective date: 20100621

A02 Decision of refusal

Free format text: JAPANESE INTERMEDIATE CODE: A02

Effective date: 20101124