JP2005201058A - 内燃機関の排気装置 - Google Patents
内燃機関の排気装置 Download PDFInfo
- Publication number
- JP2005201058A JP2005201058A JP2004005137A JP2004005137A JP2005201058A JP 2005201058 A JP2005201058 A JP 2005201058A JP 2004005137 A JP2004005137 A JP 2004005137A JP 2004005137 A JP2004005137 A JP 2004005137A JP 2005201058 A JP2005201058 A JP 2005201058A
- Authority
- JP
- Japan
- Prior art keywords
- exhaust
- passage
- branch
- branch portion
- downstream
- Prior art date
- Legal status (The legal status is an assumption and is not a legal conclusion. Google has not performed a legal analysis and makes no representation as to the accuracy of the status listed.)
- Withdrawn
Links
- 238000002485 combustion reaction Methods 0.000 title claims description 22
- 238000011144 upstream manufacturing Methods 0.000 claims abstract description 36
- 238000001816 cooling Methods 0.000 claims abstract description 29
- 238000011084 recovery Methods 0.000 claims abstract description 16
- 238000000746 purification Methods 0.000 claims description 30
- 230000006866 deterioration Effects 0.000 abstract description 7
- 230000003197 catalytic effect Effects 0.000 description 17
- 239000003054 catalyst Substances 0.000 description 15
- 239000012530 fluid Substances 0.000 description 5
- 238000006243 chemical reaction Methods 0.000 description 3
- 230000000694 effects Effects 0.000 description 3
- 238000013021 overheating Methods 0.000 description 3
- 238000010586 diagram Methods 0.000 description 2
- 238000004880 explosion Methods 0.000 description 2
- 230000017525 heat dissipation Effects 0.000 description 2
- 239000003463 adsorbent Substances 0.000 description 1
- 230000015556 catabolic process Effects 0.000 description 1
- 239000000498 cooling water Substances 0.000 description 1
- 238000006731 degradation reaction Methods 0.000 description 1
- 229910000510 noble metal Inorganic materials 0.000 description 1
- 230000005855 radiation Effects 0.000 description 1
- 238000010792 warming Methods 0.000 description 1
Images
Classifications
-
- Y—GENERAL TAGGING OF NEW TECHNOLOGICAL DEVELOPMENTS; GENERAL TAGGING OF CROSS-SECTIONAL TECHNOLOGIES SPANNING OVER SEVERAL SECTIONS OF THE IPC; TECHNICAL SUBJECTS COVERED BY FORMER USPC CROSS-REFERENCE ART COLLECTIONS [XRACs] AND DIGESTS
- Y02—TECHNOLOGIES OR APPLICATIONS FOR MITIGATION OR ADAPTATION AGAINST CLIMATE CHANGE
- Y02T—CLIMATE CHANGE MITIGATION TECHNOLOGIES RELATED TO TRANSPORTATION
- Y02T10/00—Road transport of goods or passengers
- Y02T10/10—Internal combustion engine [ICE] based vehicles
- Y02T10/12—Improving ICE efficiencies
Landscapes
- Exhaust Silencers (AREA)
- Exhaust Gas After Treatment (AREA)
- Exhaust Gas Treatment By Means Of Catalyst (AREA)
Abstract
【課題】排気通路から分岐した分岐通路に、排気浄化装置や熱エネルギー回収装置を設け、排気通路に設けた開閉弁により排気ガスを、排気通路と分岐通路に選択的に流通させる排気装置において、前記排気浄化装置や熱エネルギー回収装置の過熱からの劣化を抑制する。
【解決手段】排気ガスが流通する排気通路4から上流側分岐部5で分岐し、下流側分岐部6で前記排気通路4に合流する分岐通路7を形成する。分岐通路7の途中に排気浄化装置8を設け、上流側分岐部5と下流側分岐部6との間の排気通路4に開閉弁9を設ける。上流側分岐部5と下流側分岐部6との間の排気通路4に冷却手段10,11を設ける。
【選択図】 図1
【解決手段】排気ガスが流通する排気通路4から上流側分岐部5で分岐し、下流側分岐部6で前記排気通路4に合流する分岐通路7を形成する。分岐通路7の途中に排気浄化装置8を設け、上流側分岐部5と下流側分岐部6との間の排気通路4に開閉弁9を設ける。上流側分岐部5と下流側分岐部6との間の排気通路4に冷却手段10,11を設ける。
【選択図】 図1
Description
本発明は内燃機関の排気装置に関する。
内燃機関の排気装置には、排気ガスの浄化を行うため触媒コンバータなどの排気浄化装置が設けられている。排気浄化装置は、暖機性を向上させて内燃機関の始動直後の排気ガスを浄化可能なように、排気装置のより上流側に設置される。しかし、暖機後は高温の排気ガスが排気浄化装置内を流通するため、排気浄化装置が過熱され劣化し易いという問題があった。
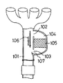
このような問題を解決するため、従来、図6に示すような排気装置が提案されている(特許文献1参照)。
この排気装置は、排気通路101に設けられた上流側分岐部102と下流側分岐部103を接続する分岐通路(触媒通路)104が形成され、該分岐通路(触媒通路)104の途中には排気浄化装置(触媒装置)105が設けられている。排気通路101には開閉弁(切替弁)106が設けられ、この開閉弁(切替弁)106は排気温度に応じて開閉動作する。
このように構成することにより、冷機時は開閉弁(切替弁)106を閉じて排気ガスを上流側分岐部102より分岐通路104に流通させて排気浄化装置(触媒装置)105で排気ガスを浄化し、暖機後は開閉弁(切替弁)106を開いて排気ガスを排気通路101に流通させて排気浄化装置(触媒装置)105をバイパスさせることにより、高い排気ガス浄化性能の発揮と、排気浄化装置(触媒装置)105の劣化の抑制を企画し、更に、車両の動力性能の向上を企図している。
また、開閉弁(切替弁)106が排気通路101の途中に単一で設けられているので、開閉弁(切替弁)106の構成や制御が容易であるため、低コストであるなどの効果を期待している。
また、このような排気装置においては、排気通路101を直進状にするとともに分岐通路(触媒通路)104を分岐状にすることにより、直進状の排気通路101の流通抵抗を分岐通路104での流路抵抗よりも小さくして、開閉弁(切替弁)106が開状態にある時に分岐通路(触媒通路)104側へ排気ガスが流入することを抑制している。
更に、分岐通路(触媒通路)104の合流部下流端に突起107を設けて、分岐通路(触媒通路)104の出口部圧力を高めることにより、開閉弁(切替弁)106が開状態にあるとき分岐通路(触媒通路)104側へ排気ガスが流入することを抑制し、排気浄化装置(触媒装置)105の劣化を抑制することを企図している。
しかし、前記の構造においては、開閉弁(切替弁)106が開状態になっても、排気通路101内に開閉弁(切替弁)106が存在するために、開閉弁(切替弁)106の位置で前後の排気通路101に比べ流体抵抗が大きくなっている。よって、内燃機関の各シリンダにおける爆発に伴いパルス的な圧力で排出された排気ガスの圧力パルスは、流体抵抗が大きい開閉弁(切替弁)106の位置で堰き止められ、反転するかのように上流側へ伝わり、上流側分岐部102から分岐通路(触媒通路)104へ少量の排気ガスが流入することを本発明者らは見出した。
前記従来技術は排気ガスの定常的な流れに着目してなされたものであるため、上述したような非定常現象としての少量の排気ガスの流入までは抑制できず、開閉弁(切替弁)106が開状態であっても排気浄化装置(触媒装置)105が過熱され、排気浄化装置(触媒装置)105の劣化を抑制できないという問題が生じる恐れがあった。
また、上記排気浄化装置105に代えて、前記の分岐通路104に、熱交換装置や熱電変換装置などの熱エネルギー回収装置を備えた排気装置が知られている(特許文献2参照)。
しかし、この排気装置においても前記と同様に、熱エネルギー回収装置が過熱され劣化する恐れがあった。
特開平9−317449号公報
特開2000−312035号公報
本発明は前記の課題を解決する内燃機関の排気装置を提供することを目的とするものである。
前記の課題を解決するために、請求項1記載の発明は、排気ガスが流通する排気通路から上流側分岐部で分岐し、下流側分岐部で前記排気通路に合流する分岐通路を形成するとともに、分岐通路の途中に排気浄化装置を設け、上流側分岐部と下流側分岐部との間の排気通路に開閉弁を設けた内燃機関の排気装置において、上流側分岐部と下流側分岐部との間の排気通路に冷却手段を設けたことを特徴とするものである。
請求項2記載の発明は、排気ガスが流通する排気通路から上流側分岐部で分岐し、下流側分岐部で前記排気通路に合流する分岐通路を形成するとともに、分岐通路の途中に排気浄化装置を設け、上流側分岐部と下流側分岐部との間の排気通路に開閉弁を設けた内燃機関の排気装置において、排気浄化装置と下流側分岐部の間の分岐通路に冷却手段を設けたことを特徴とするものである。
請求項3記載の発明は、排気ガスが流通する排気通路から上流側分岐部で分岐し、下流側分岐部で前記排気通路に合流する分岐通路を形成するとともに、分岐通路の途中に熱エネルギー回収装置を設け、上流側分岐部と下流側分岐部との間の排気通路に開閉弁を設けた内燃機関の排気装置において、上流側分岐部と下流側分岐部との間の排気通路に冷却手段を設けたことを特徴とするものである。
請求項4記載の発明は、排気ガスが流通する排気通路から上流側分岐部で分岐し、下流側分岐部で前記排気通路に合流する分岐通路を形成するとともに、分岐通路の途中に熱エネルギー回収装置を設け、上流側分岐部と下流側分岐部との間の排気通路に開閉弁を設けた内燃機関の排気装置において、熱エネルギー回収装置と下流側分岐部の間の分岐通路に冷却手段を設けたことを特徴とするものである。
本発明は、冷却手段を設けたことにより、下流側分岐部から分岐通路へ流入する排気ガスの温度を低くすることができるため、分岐通路に設けられた排気浄化装置や熱エネルギー回収装置の過熱を抑制し、排気浄化装置や熱エネルギー回収装置の劣化を抑制することができる。
本発明を実施するための最良の形態を図1乃至図5に示す実施例に基づいて説明する。
図1は本発明の第1実施例の排気装置1を示す模式図である。
内燃機関2の各シリンダに、排出される排気ガスが流通する複数のブランチ管3が接続され、該ブランチ管3は集合されて1本の排気通路4に接続されている。排気通路4の途中には上流側分岐部5とその下流に位置して下流側分岐部6が設けられるとともに、両分岐部5,6を接続する分岐通路7が設けられている。
内燃機関2の各シリンダに、排出される排気ガスが流通する複数のブランチ管3が接続され、該ブランチ管3は集合されて1本の排気通路4に接続されている。排気通路4の途中には上流側分岐部5とその下流に位置して下流側分岐部6が設けられるとともに、両分岐部5,6を接続する分岐通路7が設けられている。
前記分岐通路7の途中には排気浄化装置である触媒コンバータ8が設けられている。該触媒コンバータ8は貴金属を担持したハニカム状の担体(図示しない)を収容し、排気ガス中の有害成分を浄化するもので、周知のものを使用している。
一方、前記排気通路4の途中には、該排気通路4を開閉する開閉弁9が設けられている。該開閉弁9は、例えば、触媒コンバータ8の温度や、触媒コンバータ8に流入する排気ガスの温度などを温度センサ(図示しない)で検知し、その温度に応じ、コントロールユニット(図示しない)の指令によって、従来周知のアクチュエータ(図示しない)により開閉動作させればよい。
前記上流側分岐部5から開閉弁9の間の排気通路4a、開閉弁9から下流側分岐部6の間の排気通路4b、触媒コンバータ8から下流側分岐部6の間の分岐通路7bには冷却手段10,11,12がそれぞれ設けられている。該冷却手段10,11,12は、図2に通路の軸直角断面を示すように、前記各通路4a,4b,7bの壁面に、該壁を通路内に向かってへこませた溝14を螺旋状にして形成し、放熱面積を大きくして冷却作用を持たせたものである。
以上の構成において、内燃機関2の各シリンダから排出された排気ガスは、各ブランチ管3を流通し、これらの下流で集合されて1本の排気通路4を通って下流に流通する。
冷機時は開閉弁9が閉状態に制御されており、排気通路4に流入した排気ガスは、開閉弁9の上流側において上流側分岐部5から分岐通路7に流入し、排気浄化装置である触媒コンバータ8内を通って、下流側分岐部6を経て再び開閉弁9の下流側の排気通路4に流入し、その後、排気通路4の下流側へ流れる。
暖機後、触媒コンバータ8の温度が所定の温度に達すると、前記のコントロールユニットの指令によって図示しないアクチュエータにより開閉弁9が開状態に切り換えられる。このように開閉弁9が開くと、定常的な排気ガスの流れは、分岐通路7には流入せず触媒コンバータ8をバイパスして排気通路4を直進的に流通する。
このように、開閉弁9が開状態になっても、排気通路4内に開閉弁9が存在するために、開閉弁9の位置での流通抵抗は、開閉弁9の前後の排気通路4の流体抵抗に比べて大きくなっている。
内燃機関の各シリンダにおける爆発に伴いパルス的な圧力で排出された排気ガスの圧力パルスは、排気通路4を流通するが、流体抵抗が大きい開閉弁9の位置で堰き止められ、反転するかのように上流側へ伝わり、上流側分岐部5から分岐通路7へ少量の排気ガスが流入する。また、開閉弁9を通過した排気ガスの圧力パルスも下流側分岐部6から分岐通路7へ流入する。
しかし、本実施例においては、上流側分岐部5から開閉弁9の間の排気通路4a、開閉弁9から下流側分岐部6の間の排気通路4b、触媒コンバータ(排気浄化装置)8から下流側分岐部6の間の分岐通路7bに冷却手段10,11,12がそれぞれ設けられているため、下流側分岐部6から分岐通路7へ流入する少量の排気ガスの温度を低くすることができる。
したがって、触媒コンバータ(排気浄化装置)8の過熱を抑制することができ、触媒コンバータ8の劣化を抑制することができる。
また、上流側分岐部5から触媒コンバータ8の間の分岐通路7aに冷却手段を設けた場合は、冷機時の排気ガス温度が低下し、排気浄化性能が低下する背反があるが、本実施例ではそのような背反は生じず、上述の効果を発揮することができる。
また、上流側分岐部5から開閉弁9の間の排気通路4aに冷却手段を設けたことにより、開閉弁9を流通する排気ガスの温度を低くすることができるため、開閉弁9の耐久性の向上などに効果を発揮することができる。
前記冷却手段は、上流側分岐部5から開閉弁9の間の排気通路4a、開閉弁9から下流側分岐部6の間の排気通路4b、触媒コンバータ8から下流側分岐部6の間の分岐通路7bの全てに設ける必要はなく、任意の箇所に設ければよい。
なお、下流側分岐部6から分岐通路7へ流入する排気ガスは、排気通路4を流通する排気ガスに比べ少量であるため、触媒コンバータ8から下流側分岐部6の間の分岐通路7bに冷却手段を設けることで高い冷却効率を得ることができる。
上記実施例では、冷却手段10〜12として螺旋状の溝14を設けたが、螺旋状でなく、通路の軸方向に溝を形成することで、流通抵抗を小さくして冷却作用を発揮させることができる。
また、冷却手段10〜12は、図3に通路の軸方向断面を示すように、前記各通路4a,4b,7bの壁(壁面)15を軸方向と交差する方向に凹凸状に形成し、放熱面積を多くして形成してもよい。この場合、排気通路4と分岐通路7の熱膨脹差を吸収可能なため、排気装置1の耐久性の向上にも効果を発揮する。
前記冷却手段10〜12は、図4(a)〜(c)に示すように、各通路4a,4b,7bの外周、内周、または外周と内周の両方にフィン16を通路の軸方向に固設して形成して、放熱面積を多くして形成してもよい。また、フィン16は通路の軸方向と交差するように、または螺旋状に固設してもよい。
また、前記図1乃至図4に示す冷却手段10〜12を設けた排気装置1において、図5(a)に示すように、下流側分岐部6の下流側に排気通路4側に突出する突出部17を設けることにより、下流側分岐部6から分岐通路7へ流入する低温の排気ガスの量を増大させるようにしてもよい。これにより、排気浄化装置8の劣化をより抑制することができる。
また、前記突出部17に代えて、図5(b)に示すように、分岐通路7の端部7cを傾斜状にして、排気通路4の下流側に突出する突出部18を設けてもよい。
また、図5(c)に示すように、分岐通路7が排気通路4の上流を指向するように、すなわち角度θが90度以上になるように、下流側分岐部6を形成してもよい。
上記実施例においては、排気浄化装置として担体を収容した触媒コンバータの例で示したが、排気中の有害成分を吸着する吸着剤や、排気中の微粒子を捕集するフィルターを収容した排気浄化装置でもよい。
また、排気装置は、エンジンルームや車両床下など任意の位置に配置することができる。
前記実施例は、分岐通路に排気浄化装置として触媒コンバータ8を設けた排気装置を示したが、この排気浄化装置に代えて、前記分岐通路7に、冷却水などの流体と熱交換する熱交換装置や、熱エネルギーを電気エネルギーに変換する熱電変換素子を備えた熱電変換装置などの熱エネルギー回収装置を設けても、熱エネルギー回収装置の過熱を抑制することができ、熱エネルギー回収装置の劣化を抑制することができる。
したがって、この熱エネルギー回収装置を設置する場合には、図1において、符号8がエネルギー回収装置となる。
したがって、この熱エネルギー回収装置を設置する場合には、図1において、符号8がエネルギー回収装置となる。
1 排気装置
2 内燃機関
4 排気通路
5 上流側分岐部
6 下流側分岐部
7 分岐通路
8 排気浄化装置、熱エネルギー回収装置
9 開閉弁
10〜12 冷却手段
2 内燃機関
4 排気通路
5 上流側分岐部
6 下流側分岐部
7 分岐通路
8 排気浄化装置、熱エネルギー回収装置
9 開閉弁
10〜12 冷却手段
Claims (4)
- 排気ガスが流通する排気通路から上流側分岐部で分岐し、下流側分岐部で前記排気通路に合流する分岐通路を形成するとともに、分岐通路の途中に排気浄化装置を設け、上流側分岐部と下流側分岐部との間の排気通路に開閉弁を設けた内燃機関の排気装置において、上流側分岐部と下流側分岐部との間の排気通路に冷却手段を設けたことを特徴とする内燃機関の排気装置。
- 排気ガスが流通する排気通路から上流側分岐部で分岐し、下流側分岐部で前記排気通路に合流する分岐通路を形成するとともに、分岐通路の途中に排気浄化装置を設け、上流側分岐部と下流側分岐部との間の排気通路に開閉弁を設けた内燃機関の排気装置において、排気浄化装置と下流側分岐部の間の分岐通路に冷却手段を設けたことを特徴とする内燃機関の排気装置。
- 排気ガスが流通する排気通路から上流側分岐部で分岐し、下流側分岐部で前記排気通路に合流する分岐通路を形成するとともに、分岐通路の途中に熱エネルギー回収装置を設け、上流側分岐部と下流側分岐部との間の排気通路に開閉弁を設けた内燃機関の排気装置において、上流側分岐部と下流側分岐部との間の排気通路に冷却手段を設けたことを特徴とする内燃機関の排気装置。
- 排気ガスが流通する排気通路から上流側分岐部で分岐し、下流側分岐部で前記排気通路に合流する分岐通路を形成するとともに、分岐通路の途中に熱エネルギー回収装置を設け、上流側分岐部と下流側分岐部との間の排気通路に開閉弁を設けた内燃機関の排気装置において、熱エネルギー回収装置と下流側分岐部の間の分岐通路に冷却手段を設けたことを特徴とする内燃機関の排気装置。
Priority Applications (1)
| Application Number | Priority Date | Filing Date | Title |
|---|---|---|---|
| JP2004005137A JP2005201058A (ja) | 2004-01-13 | 2004-01-13 | 内燃機関の排気装置 |
Applications Claiming Priority (1)
| Application Number | Priority Date | Filing Date | Title |
|---|---|---|---|
| JP2004005137A JP2005201058A (ja) | 2004-01-13 | 2004-01-13 | 内燃機関の排気装置 |
Publications (1)
| Publication Number | Publication Date |
|---|---|
| JP2005201058A true JP2005201058A (ja) | 2005-07-28 |
Family
ID=34819554
Family Applications (1)
| Application Number | Title | Priority Date | Filing Date |
|---|---|---|---|
| JP2004005137A Withdrawn JP2005201058A (ja) | 2004-01-13 | 2004-01-13 | 内燃機関の排気装置 |
Country Status (1)
| Country | Link |
|---|---|
| JP (1) | JP2005201058A (ja) |
Cited By (1)
| Publication number | Priority date | Publication date | Assignee | Title |
|---|---|---|---|---|
| CN108487980A (zh) * | 2018-05-29 | 2018-09-04 | 西华大学 | 一种专用汽车排气系统 |
-
2004
- 2004-01-13 JP JP2004005137A patent/JP2005201058A/ja not_active Withdrawn
Cited By (1)
| Publication number | Priority date | Publication date | Assignee | Title |
|---|---|---|---|---|
| CN108487980A (zh) * | 2018-05-29 | 2018-09-04 | 西华大学 | 一种专用汽车排气系统 |
Similar Documents
| Publication | Publication Date | Title |
|---|---|---|
| JP4281789B2 (ja) | 排気熱回収装置 | |
| EP1326011A2 (en) | Exhaust system | |
| JP5001752B2 (ja) | Egrクーラバイパス切替システム | |
| JP2007032561A (ja) | 排気熱回収装置 | |
| JP4324219B2 (ja) | エンジン排気ガス熱回収器ならびにこれを使用したエネルギー供給装置 | |
| WO2014017014A1 (ja) | Egrシステムおよび排気熱交換システム | |
| JP2005201058A (ja) | 内燃機関の排気装置 | |
| JP2007285264A (ja) | 熱交換器 | |
| JP2007247638A (ja) | 排気熱回収装置 | |
| JP6254822B2 (ja) | エンジンの排気熱回収装置 | |
| JP2007239595A (ja) | 排気系熱交換器の配置構造 | |
| JP5673228B2 (ja) | 排気熱交換装置 | |
| JP4291649B2 (ja) | 触媒コンバータ | |
| JP2008163773A (ja) | 排気マニホルド、egr装置、および排気ガス利用装置 | |
| JP2008101496A (ja) | 排気系熱交換器 | |
| JP2005201059A (ja) | 内燃機関の排気装置 | |
| JP2008014295A (ja) | 排気熱回収装置 | |
| JP2005201057A (ja) | 内燃機関の排気装置 | |
| WO2017073224A1 (ja) | 排気熱回収装置 | |
| JP2008025380A (ja) | 排気系構造 | |
| JP2009114885A (ja) | 排気通路構造 | |
| JP2008255853A (ja) | 内燃機関の排気還流装置 | |
| JP2007113559A (ja) | 内燃機関の消音器 | |
| JP2008025557A (ja) | 排気熱回収装置 | |
| JP2024093570A (ja) | 排気熱回収器 |
Legal Events
| Date | Code | Title | Description |
|---|---|---|---|
| A300 | Withdrawal of application because of no request for examination |
Free format text: JAPANESE INTERMEDIATE CODE: A300 Effective date: 20070403 |