JP2005127091A - 荷重分散型重力式漁港港湾構造物とその設計方法 - Google Patents
荷重分散型重力式漁港港湾構造物とその設計方法 Download PDFInfo
- Publication number
- JP2005127091A JP2005127091A JP2003366122A JP2003366122A JP2005127091A JP 2005127091 A JP2005127091 A JP 2005127091A JP 2003366122 A JP2003366122 A JP 2003366122A JP 2003366122 A JP2003366122 A JP 2003366122A JP 2005127091 A JP2005127091 A JP 2005127091A
- Authority
- JP
- Japan
- Prior art keywords
- block
- fishing port
- breakwater
- ground
- section
- Prior art date
- Legal status (The legal status is an assumption and is not a legal conclusion. Google has not performed a legal analysis and makes no representation as to the accuracy of the status listed.)
- Pending
Links
Images
Landscapes
- Revetment (AREA)
Abstract
【課題】
軟弱地盤上に漁港及び港湾施設を築造するにあたり、安定計算上の無駄を省き必要最小限の断面を算出する(構造物本体の軽量化を図る)ことによって、資源の減量化に基づく経費の節減と安定度の均衡に優れ、かつ地盤に優しい海洋構造物の設計を可能とする。
【解決手段】
捨石マウンドと構造物本体の間に底版ブロックを設置し、底版ブロックの上面を境に「上部の構造物本体」と「下部の底版ブロックを含めた基礎工」をそれぞれ独立させて安定計算することで必要最小限の構造物断面が決定される。また、底版ブロック及び方塊(コンクリートブロック)の上ダボに静止摩擦係数付加分に相当するせん断抵抗を持たせることによって、構造物本体の軽量化を図る。更に、底版ブロックにより荷重を効率的に分散させることで基礎地盤に対する負担を軽減し、断面全般的な安定度の均衡とコスト縮減を図る。
【選択図】図1
軟弱地盤上に漁港及び港湾施設を築造するにあたり、安定計算上の無駄を省き必要最小限の断面を算出する(構造物本体の軽量化を図る)ことによって、資源の減量化に基づく経費の節減と安定度の均衡に優れ、かつ地盤に優しい海洋構造物の設計を可能とする。
【解決手段】
捨石マウンドと構造物本体の間に底版ブロックを設置し、底版ブロックの上面を境に「上部の構造物本体」と「下部の底版ブロックを含めた基礎工」をそれぞれ独立させて安定計算することで必要最小限の構造物断面が決定される。また、底版ブロック及び方塊(コンクリートブロック)の上ダボに静止摩擦係数付加分に相当するせん断抵抗を持たせることによって、構造物本体の軽量化を図る。更に、底版ブロックにより荷重を効率的に分散させることで基礎地盤に対する負担を軽減し、断面全般的な安定度の均衡とコスト縮減を図る。
【選択図】図1
Description
本発明は、防波堤、護岸、岸壁、物揚場の漁港及び港湾構造物に関するものである。
従来、一般的に漁港及び港湾で築造される重力式防波堤(重力式混成堤)は、捨石及び方塊(コンクリートブロック)、若しくは捨石及び水中コンクリート、並びに上部コンクリートで構成され、土圧及び残留水圧等が主たる外力として本体に作用する護岸、岸壁、物揚場は前述の組み合わせに加え、裏込石、吸出し防止材、盛土材、コンクリート舗装等で構成されている。これらを軟弱地盤上に設置する際、地盤が弱いがゆえに構造上の弱点となる『地盤の許容支持力』及び『偏心傾斜荷重』の検討で規定の安全率が確保されない場合、捨石基面高さの変更又は床掘により捨石マウンド厚を大きくする方法と、捨石基面と接する構造物本体の幅を増幅させる方法で荷重を分散させ、「最大地盤反力と本体の幅に対する偏心量の低減」と「地盤の許容支持力の増大」を図ることで構造物の安全を確保し、全体の断面寸法を決定している。図3、図4、図5、図6、図7、図8は本発明による各構造物の一例を、また、図9、図10、図11、図12、図13、図14は一般的に採用されている従来工法の一例を示す。
また、これらの対処法によっても断面が成立しない場合は、置換(軟弱地盤と砂との置き換え)、サンドコンパクション、また、軟弱地盤にセメント系の固化材を混合させて地盤強度増加を図る深層混合処理など軟弱地盤の処理工法によって構造物の構築が可能となる状態にするための処置を施すか、他の構造を採用することとしている。しかしながら、前者の処置を施す場合、各処置方法のための施工規模に応じた工期の設定と多額の費用が必要となり、事業費の増大、工期の大幅な伸長を強いられることから、事業の遂行または進捗に大きな影響を及ぼすなどの難点がある。なお、これらは一般的に検討されている対応策である。
特開平10−147920
社団法人全国漁港協会「漁港の技術指針」1999年度版
漁港港湾の恒久的構造物として広く採用されている工法(重力式混成堤)において、軟弱地盤上に設計する際、往々にして『地盤の許容支持力』及び『偏心傾斜荷重』の検討で規定の安全率が確保されない場合があるが、その対処法として一般的には捨石基面高さの変更又は床掘により捨石マウンド厚を大きくする方法と捨石基面上に載せる構造物本体の幅を増幅させる方法で荷重分散を図り、最大地盤反力と本体の幅に対する偏心量の低減、並びに地盤の許容支持力を増大させることで構造物の安全を確保し、全体の断面寸法を決定している。すなわち、構造物の断面を大きくすることが軟弱地盤上に築造するこれら構造物の安定度を確保する一般的な対処法として広く採用されている。
漁港施設や港湾施設を計画するにあたり、港の形態を構成するために地盤が不良な場所であっても諸施設を配置し建設せざるを得ない場合は往々にしてあるが、このように、構造物を設置計画する場所の地盤が弱いために、断面を『地盤の許容支持力』や『偏心傾斜荷重』の検討が断面決定の要因となる場合、荷重分散の目的のために大きい断面の捨石マウンドや幅の広い本体を持つ構造物が必要とされてきた。
これらの対処法で構造物の断面が決定された結果、その断面がその対処法による必要最小限の断面であったとしても、拡大化された捨石マウンドに加え、捨石基面上に設置する構造物本体の幅が滑動の検討及び転倒の検討において規定の安全率を過大に上回るなど、従来の手法では各検討項目における安定度の不均衡や不経済な断面を採用しなければならないといった問題があった。
またこれは、「地盤が弱いから上に載せるものを軽くする。」といった発想は無く、計算上断面が成立しているとはいえ従来の計算方法で拡大化された重量物(構造物本体)を支えているのは軟弱地盤に他ならず、「弱い地盤で、より重いものを支えている。」といった観点から適正な対処法として評価し難い点があった。
そこで本発明は、従来と同様の施工技術を生かし、構造物それぞれの目的、つまり、防波堤であれば設計波高に耐え、港内施設を防護することであり、岸壁であれば土圧等の外力に耐え、所要の岸壁水深を提供し、土地(埋立地)を構成する等、施設本来の機能を確保しつつ、断面の縮小、軽量化により、経済的かつ安定度において均衡の取れた断面の合理的複合構造とその設計方法を提供する。
上記課題を解決するために、本発明の漁港及び港湾構造物は、滑動の検討及び転倒の検討で仮定された捨石マウンド上の構造物本体が、地盤の許容支持力および偏心傾斜荷重の検討で断面の拡大化を図らなければ構造物として成立しない場合に用いられ、意図的に捨石マウンドと構造物本体との間に、波力や土圧といった構造物本体に作用するせん断力の一部を摩擦抵抗の増大(静止摩擦係数(μ)の増大)といった形で負担させるため、予め、上ダボにせん断抵抗用の鉄筋を配筋した底版ブロックを設置し、それによって構造物本体の断面縮小化を図ると共に、構造物本体の重量と外力の合力を効率的に分散させ、合力の偏心量(e)を小さく抑えると共に捨石基面及び地盤面における反力(p1、p1′)の低減を図る方法を提供する。
まず、図2の重力式漁港港湾構造物安定計算作業手順(以下フロー図と表現する。)に倣い、各設計条件のもと設計目的である基本構造物の安定計算を行う。構造物の計画場所が良好な地盤で構成されており、十分地盤支持力が期待できる場合は底版ブロックの設置が不要となることも考えられる。すなわち、地盤が良好であるということは、必要以上の経費をかける必要がないことを意味する。
なお、本発明による構造物及び設計理論は、設計外力の違いから設計過程を異にする防波堤、護岸、岸壁、物揚場いずれの構造物にも適用される。
まず、フロー図の手順に従い、図中Q1、Q2で滑動の検討及び転倒の検討いずれか一方の安全率が規定以上かつ最小の値を確保できる大きさの構造物本体断面を仮定する。
ここで、本発明が提供する『滑動の検討』の計算方法を解説する。
本発明は、底版ブロック及びコンクリートブロックの上ダボに、ブロック製作の段階で鉄筋を配筋し、摩擦抵抗の増大を図ることを特徴のひとつとしているが、せん断力の一部を静止摩擦係数の付加分(鉄筋のせん断抵抗)で対抗させるものであり、(0012)でQ1における滑動の検討を行う際、通常使用されている静止摩擦係数の値に上ダボのせん断抵抗で得られた静止摩擦係数を付加させて安定計算を行う。ここで注意すべき点として、計算の理論上、この処置によって静止摩擦係数を1.0まで引き上げるということは可能と考えられるが、これは材料同士の摩擦を考慮する必要がない状態、すなわち、コンクリート構造物の一体化(コンクリートに「打ち継ぎ目等のせん断面」が存在しないこと)と同じ状態を意味することになり、『滑動の検討』において検討すべき面は、仮に静止摩擦係数を1.0まで引き上げるべく、上ダボに所要量の鉄筋を配置鉄筋したとしても当該構造物の施工上、金ゴテで仕上げられたコンクリートのうち継ぎ目(せん断面)は存在し、この部分が依然としてせん断力に対する弱点となりうることは避けられない。そのため、本発明では構造物の長期供用に対する安全を考慮し、補強鉄筋に対する過度の信頼性を抑制するためにも静止摩擦係数付加の上限値を0.2、使用できる最大値を0.8として提供する。
本発明は、底版ブロック及びコンクリートブロックの上ダボに、ブロック製作の段階で鉄筋を配筋し、摩擦抵抗の増大を図ることを特徴のひとつとしているが、せん断力の一部を静止摩擦係数の付加分(鉄筋のせん断抵抗)で対抗させるものであり、(0012)でQ1における滑動の検討を行う際、通常使用されている静止摩擦係数の値に上ダボのせん断抵抗で得られた静止摩擦係数を付加させて安定計算を行う。ここで注意すべき点として、計算の理論上、この処置によって静止摩擦係数を1.0まで引き上げるということは可能と考えられるが、これは材料同士の摩擦を考慮する必要がない状態、すなわち、コンクリート構造物の一体化(コンクリートに「打ち継ぎ目等のせん断面」が存在しないこと)と同じ状態を意味することになり、『滑動の検討』において検討すべき面は、仮に静止摩擦係数を1.0まで引き上げるべく、上ダボに所要量の鉄筋を配置鉄筋したとしても当該構造物の施工上、金ゴテで仕上げられたコンクリートのうち継ぎ目(せん断面)は存在し、この部分が依然としてせん断力に対する弱点となりうることは避けられない。そのため、本発明では構造物の長期供用に対する安全を考慮し、補強鉄筋に対する過度の信頼性を抑制するためにも静止摩擦係数付加の上限値を0.2、使用できる最大値を0.8として提供する。
なお、上ダボにブロック製作の段階でコンクリート内部に鉄筋を配筋する理由であるが、コンクリート内部に配置することで海水の塩分や酸素の供給量を絶ち、鉄筋の腐食を防止すると共に、せん断力に対する弱点となるコンクリートの打ち継ぎ目を作らないためである。
ここに、本発明に関連する静止摩擦係数の一例をあげる。
プレキャストコンクリートとプレキャストコンクリート(通常0.5)。
この組み合わせにおいて上ダボにせん断抵抗を持たせた本発明は、通常の0.5に静止
摩擦係数付加の上限値0.2を加え(μ′=0.7)を提供する。
プレキャストコンクリートと水中コンクリート(通常0.7)
この組み合わせにおいて上ダボにせん断抵抗を持たせた本発明は、使用できる最大値と
して(μ′=0.8)を提供する。
プレキャストコンクリートとプレキャストコンクリート(通常0.5)。
この組み合わせにおいて上ダボにせん断抵抗を持たせた本発明は、通常の0.5に静止
摩擦係数付加の上限値0.2を加え(μ′=0.7)を提供する。
プレキャストコンクリートと水中コンクリート(通常0.7)
この組み合わせにおいて上ダボにせん断抵抗を持たせた本発明は、使用できる最大値と
して(μ′=0.8)を提供する。
本発明による『滑動の検討』の一般式は次のとおりである。ここではこの式を満足させる構造物本体の重量(堤体重量)とその寸法が求められる。
(数1)
Fs = W × μ′ / P
ここに、Fs:滑動の検討の安全率 1.2以上(ただし、係船岸の安定計算においては地震時の安全率は1.0以上となる。)
W :堤体重量(防波堤の場合、空中の堤体重量から浮力と揚圧力を控除した重量。護岸、岸壁、物揚場の場合は、空中の堤体重量から浮力と地震力(地震時のみ)を控除し、土圧の鉛直分力を加えた重量)
μ′:本発明が提供する静止摩擦係数
P :せん断力(防波堤の場合波力。護岸、岸壁、物揚場の場合は、土圧に残留水圧、船舶の牽引が考慮される場合は牽引力を加えた値)
Fs = W × μ′ / P
ここに、Fs:滑動の検討の安全率 1.2以上(ただし、係船岸の安定計算においては地震時の安全率は1.0以上となる。)
W :堤体重量(防波堤の場合、空中の堤体重量から浮力と揚圧力を控除した重量。護岸、岸壁、物揚場の場合は、空中の堤体重量から浮力と地震力(地震時のみ)を控除し、土圧の鉛直分力を加えた重量)
μ′:本発明が提供する静止摩擦係数
P :せん断力(防波堤の場合波力。護岸、岸壁、物揚場の場合は、土圧に残留水圧、船舶の牽引が考慮される場合は牽引力を加えた値)
各検討面に作用するせん断力は、構造物の断面に上ダボを複数配置した場合、施工誤差により不均等に作用することが十分予測されることから、本発明は単品でもその効力が発揮できるよう1m当り鉄筋所要量をその検討面に配置計画する上ダボごとに配筋することを提供する。
次にQ2の『転倒の検討』を行う。転倒の検討については従来と同じ方法により行うためここでは省略するが、Q1の『滑動の検討』で求められた堤体断面では転倒の安全率1.2(護岸、岸壁、物揚場の地震時の検討においては1.1以上)を満足させられない場合は堤体幅を必要なだけ拡幅し(通常0.1メートル単位)、抵抗モーメントの増量を図って対処する。
このQ1Q2において、『滑動の検討』における安全率で断面が決定された場合、『転倒の検討』における安全率はその規定値を超えてさえいればよく、安全率の超過量の度合いは問題とされない。しかし、(0019)の対処法、つまり堤体幅を拡幅して『転倒の検討』における安全率を確保し断面を決定した場合は、堤体幅の変更によっても値の変化しない外力や静止摩擦係数に対し、堤体幅を拡幅したことによって堤体重量が増すことから必然的に『滑動の検討』における安全率も過大になる。この過大になった安全率を抑制し、より経済的な断面にするために静止摩擦係数を選択できる場合がある。例えば、検討面における材料の組み合わせがプレキャストコンクリートとプレキャストコンクリート(底版ブロックと方塊)であった場合、通常の静止摩擦係数は0.5であるが、本発明では上ダボにせん断抵抗を持たせ、鉄筋の配置鉄筋量によって静止摩擦係数0.6、若しくは0.7を提供している。仮に、Q1の『滑動の検討』において本発明による静止摩擦係数0.7を使用し、安全率1.22≧1.20で堤体断面が仮定されたとする。(ここで使用される数式は(数1)であり、安全率が1.20を下回る場合は断面不成立を意味する。)しかし、Q2の『転倒の検討』では安全率が1.04≦1.20と規定値を下回ったため堤体幅を0.5m拡幅し、安全率を1.25(≧1.20)まで引き上げたが、堤体重量が増加したためにQ1の『滑動の検討』における安全率が1.35(≧1.20)まで増加したとする。1.35の安全率は過大気味であることから『滑動の検討』に使用した本発明による静止摩擦係数0.7もまた過大であると判断し、1ランク下の本発明による静止摩擦係数0.6と通常の静止摩擦係数0.5を使用して再計算した結果、通常の静止摩擦係数0.5を使用したときの安全率は1.13と規定値の安全率1.20を下回り断面不成立となったが、本発明による静止摩擦係数0.6を使用した時の安全率が1.21と規定の安全率1.20を満足させる値となったとする。よってこの断面の場合、静止摩擦係数0.6に相当するせん断抵抗用鉄筋を配筋すれば足りることになり、より、経済的断面を選択したことになる。
ここまでの過程(Q1及びQ2の検討)において、いずれかの安全率がその規定値を最小値で満足する断面寸法が仮定されるが、軟弱地盤等の理由に起因し、Q3以降の検討で仮定された断面が不成立となった場合、自動的に本発明による底版ブロックを使用する。
次に、従来の手法であるQ3、Q4、Q5、いずれかの検討項目で断面が成立しなかった場合、その捨石マウンド上に本発明が提案する断面設定で大きさを決定した底版ブロックと当初仮定した構造物本体の高さから底版ブロックの厚さの分だけ高さを失った(低くなった)残存部分について再度Q1、Q2の検討を行う。
本発明が提供する底版ブロックの断面設定(形状寸法の設定の目安)について以下に記す。ただし、ここで示した数値はあくまで目安として設定したものであり、その状況によって設定を変えることは可能であり、設定範囲として限定するものではない。
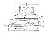
イ、防波堤の場合、底版ブロックの高さは一般的に設定される方塊の高さ(1.0mから2.0m)と同程度。フーチングとして機能する「構造物本体からの張り出し部分」は底版ブロックの高さ以下に設定。形状的には1個の底版ブロックで堤体を支える形が好ましいが、波力に対抗する防波堤の幅はおのずと大きくなり、1断面に1個の底版ブロックで対応するためには重量の設定に注意が必要。(ブロック製作ヤードにおけるクレーンや起重機船の吊り能力の関係)よって、本発明では1断面あたりに配置する底版ブロックは2個並びを標準とする。(図1参照。)
ロ、護岸、岸壁、物揚場の場合、底版ブロックの高さは一般的に設定される被覆石若しくは被覆ブロックの高さ(0.4mから0.8m)と同程度。または、船舶の接岸に支障を来たさない範囲の高さ。フーチングとして機能する「構造物本体からの張り出し部分」は、本体前面から海側、本体背面から埋立側共設定した底版ブロック高さの1.5倍以下に設定。形状的には1個の底版ブロックで堤体を支える形を標準とする。
ハ、底版ブロックの重量を左右する長さは、基本的に現場施工若しくは手配可能なクレーン及び起重機船の吊り能力を考慮して設定する。
実施例では工種やその施工規模にもよるが、15トン内外から最大でも40トンから50トン程度に設定している。
イ、防波堤の場合、底版ブロックの高さは一般的に設定される方塊の高さ(1.0mから2.0m)と同程度。フーチングとして機能する「構造物本体からの張り出し部分」は底版ブロックの高さ以下に設定。形状的には1個の底版ブロックで堤体を支える形が好ましいが、波力に対抗する防波堤の幅はおのずと大きくなり、1断面に1個の底版ブロックで対応するためには重量の設定に注意が必要。(ブロック製作ヤードにおけるクレーンや起重機船の吊り能力の関係)よって、本発明では1断面あたりに配置する底版ブロックは2個並びを標準とする。(図1参照。)
ロ、護岸、岸壁、物揚場の場合、底版ブロックの高さは一般的に設定される被覆石若しくは被覆ブロックの高さ(0.4mから0.8m)と同程度。または、船舶の接岸に支障を来たさない範囲の高さ。フーチングとして機能する「構造物本体からの張り出し部分」は、本体前面から海側、本体背面から埋立側共設定した底版ブロック高さの1.5倍以下に設定。形状的には1個の底版ブロックで堤体を支える形を標準とする。
ハ、底版ブロックの重量を左右する長さは、基本的に現場施工若しくは手配可能なクレーン及び起重機船の吊り能力を考慮して設定する。
実施例では工種やその施工規模にもよるが、15トン内外から最大でも40トンから50トン程度に設定している。
再度Q1、Q2の計算結果で得られた『底版ブロック上に載荷させる構造物本体の大きさ』は、(0012)の条件を満たしており、ここで構造物本体の断面は過大設計を完全に抑制した必要最小限の寸法で決定される。
次に、図2の重力式漁港港湾構造物安定計算作業手順に倣い、Q3の端趾圧(P1)が許容端趾圧(390〜490kn/平方メートル)以上になっているか否かを確認する。この段階で既に底版ブロックを設置する処置をとって計算される場合、効率的な荷重分散により端趾圧も飛躍的に低減され、端趾圧が許容端趾圧を超える頻度はかなり低くなるが、もし端趾圧が許容端趾圧を超える場合は、堤体の幅を所要幅まで広げてこの項目Q3を満足させ、次の検討項目Q4に進む。
Q4では許容支持力(Qa)と捨石マウンド下面における地盤反力(P1′)の関係から設計地盤上の捨石マウンド厚さが十分であるか否かを確認する。ここでは捨石マウンドの必要厚さは規定の安全率(通常2.5)を確保しつつ、捨石マウンド下面における地盤反力(P1′)が許容支持力(Qa)を超えないことが条件となるが、本発明により底版ブロックを設置して荷重分散を図ってもなお地盤が弱く、支持力が得られない等の理由から現状の設計地盤上における捨石マウンド厚さでは満足しない場合は、地盤反力(P1′)≦許容支持力(Qa)となるまで床掘し、捨石マウンド厚を確保する。なお、この検討項目で、地盤反力(P1′)≦許容支持力(Qa)の式が成立するということは、本発明による構造物が当該軟弱地盤上でも成立することを意味する。
次に、Q5の偏心傾斜荷重の検討を行うが、本発明では底版ブロック設置と構造物本体の軽量化により荷重分布幅が拡幅され、地盤に与える圧力を飛躍的に低減させることができる。また、フーチングにより抵抗モーメントが増大し、偏心量(e)はB/6よりも小さくなる傾向が顕著に現れる。このことから本検討における安定度も飛躍的に向上するため、規定の安全率を下回る現象の発生頻度はかなり低くなるが、なおかつ本検討で安全率を下回る場合、底版ブロックの寸法を調整するか置換(軟弱地盤と砂との置き換え)、サンドコンパクション、また、軟弱地盤にセメント系の固化材を混合させて地盤強度増加を図る深層混合処理など軟弱地盤の処理工法を施し、これらの処理後に得られる地盤強度をもって再度安定計算を行う。なお、(図15)に防波堤を例に取り、従来工法において顕著に見られる状況の荷重分布図の一例を、(図16)には同じく防波堤を例に取り、本発明において提供する底版ブロックの設置により効率的に分散される荷重の状況を示した分布図の一例を記載した。
この、双方の図面について解説する。(図15)は従来工法における荷重分布図をモデル化したものであるが、このような三角分布を起こす頻度としては、Q2の「転倒の検討」における安全率が構造物の断面を決定したとき特に顕著に現れ易い。それはこの場合の安全率が規定値の近似値で断面が成立しているということであり、外力による転倒モーメントに対して堤体の抵抗モーメントが1.2倍(係船岸の地震時の場合は1.1)に近く、堤体の形状的にも高さに対して幅が小さいことを示す。堤体重量と外力との合力の作用点を示す偏心量(e)の一般式は、e=(堤体幅/2)−x、ここにx=(抵抗モーメント−転倒モーメント)/堤体幅で算出されるが、堤体幅が狭く、転倒モーメントに対して抵抗モーメントがその1.2倍程度と大きくないため、堤体端部から荷重分布図の図心までの距離(x)の値が小さくなり、偏心量(e)は往々にして堤体幅の6分の1を超える。偏心量(e)が堤体幅の6分の1を超えること、すなわち、荷重の分布幅(3x)は堤体幅(B)よりも狭くなり、堤体幅全体で荷重を分散しない形、いわゆる三角分布となる。このような三角分布の場合、荷重は効率的に分散されないために p1:捨石マウンド施工基面(上面)における最大地盤反力(=端趾圧)及びp1′: 捨石マウンド底面における最大地盤反力は大きくならざるを得なく、必要に応じて許容支持力を得るため床掘等によって捨石マウンド厚を確保している。(図15)は、荷重分布幅b及びb′が狭く、最大地盤反力p及びp1′が大きい状態、つまり軟弱地盤にとっては「厳しい状態」を示している。
前述の(図15)に対して(図16)は本発明における荷重分布図をモデル化したものである。本発明の場合、静止摩擦係数の付加によって底版ブロックより上の堤体幅を必要最小限まで軽量化しているが、フーチング形状を呈するため支点となる底版ブロック端部から抵抗モーメントの作用点までの長さが大きくなる。結果、抵抗モーメントは飛躍的に増大し、堤体幅に対する偏心量(e)は堤体幅の6分の1以内に収まり易く堤体幅全体で広く荷重を分散する傾向が顕著に現れる。(図16)は、荷重分布幅b及びb′が広く、最大地盤反力p及びp1′が小さい状態、つまり安定度の均衡に優れ、軟弱地盤に対して「優しい状態」を示している。
引き続き、Q6直線すべりの検討、設計地盤が粘性土の場合はQ7円形すべりの検討を行う。なお、Q6及びQ7については従来の方法に倣って行われ、規定の安全率を満足しない場合の対処法もまた従来方法により行う。この計算過程の終了をもって構造物の断面が決定される。
最後に図2の安定計算作業手順により決定された底版ブロックのフーチングとしての配筋計算と上ダボの配筋計算を行う。「底版ブロック上に載荷させる構造物本体」と「底版ブロックに作用する外力の合力及び転倒モーメント」並びに「堤体重量とその抵抗モーメント」からは捨石基面上の地盤反力が算出されるが、底版ブロックはフーチング形状を呈するため、応用力学上構造物本体から宙に張り出したハリのごとく『片持ちバリ』として扱われ、従来の手法により『片持ちバリ』に作用するモーメント及びせん断力をはじめとする諸項目から底版ブロックに必要な鉄筋量を算出する。(図17)に底版ブロックの形状の一例を示した概念図を、(図18)に底版ブロックまたは方塊(本体ブロック)の上ダボに配置するせん断抵抗用鉄筋を示した配置鉄筋図を記載する。
各検討面において、上ダボに配筋する1m当り鉄筋所要量の算定式は以下のとおりである。
(数2)
As =( 1.2×P − μ×W ) / τsa
ここに As:1m当り鉄筋所要量
P:水平せん断力(各検討面に作用する波力若しくは土圧力等)
μ:静止摩擦係数(通常用いられる値)
W:堤体重量(本発明の構造計算により軽量化された各検討面の堤体重量)
1.2:滑動の検討における所要安全率(定数)
τsa:鉄筋の許容せん断応力
As =( 1.2×P − μ×W ) / τsa
ここに As:1m当り鉄筋所要量
P:水平せん断力(各検討面に作用する波力若しくは土圧力等)
μ:静止摩擦係数(通常用いられる値)
W:堤体重量(本発明の構造計算により軽量化された各検討面の堤体重量)
1.2:滑動の検討における所要安全率(定数)
τsa:鉄筋の許容せん断応力
本発明が提供する漁港港湾構造物は、従来の重力式混成堤と同様恒久的耐用能力を持った海洋構造物であり、ケーソン等巨大な単体構造を持たないためケーソンヤードのような特殊なヤードや高度な施工技術を必要とせず、一般的な手法で設計施工できることが大きな特徴である。
本発明の漁港及び港湾構造物の部材構成によれば、フーチング形状を呈した底版ブロックを意図的に使用することで、底版ブロック上面を境界面として、境界面より上の構造物本体と境界面より下の捨石マウンドをそれぞれ独立させて安定計算ができ、双方とも必要最小限の断面を決定することが可能になった。補足説明として(図19)には本発明による防波堤(上段)と岸壁又は物揚場(下段)の概念図の一例を記載しているが、本図において一点鎖線で表示した底版ブロック上面がここで言う「境界面」であり、(図2)フロー図の安定計算工程において、Q1及びQ2の検討で構造物本体の「必要最小限の断面」を決定後、Q3からQ7までの検討で「基礎部分の必要最小限の断面」を決定する。
底版ブロックの設置により荷重が飛躍的に分散され、荷重分布幅が大きくなると共に端趾圧及び捨石底面の地盤反力が効率的に軽減される。
護岸、岸壁、物揚場の場合、底版ブロック上に載荷される裏込石及び埋立土が、土圧に対抗する堤体重量として機能する。
底版ブロック設置により抵抗モーメントが増大し、基礎の幅(この場合底版ブロックの幅)に対する偏心量(e)の占める割合が小さくなるため、偏心傾斜荷重の検討における安全率が飛躍的に向上する。
本発明による静止摩擦係数の提供により、断面の縮小化及び軽量化を図ることができる。
従来工法と同一の使用目的と構造機能を有しつつ、断面の縮小化及び軽量化を図ることで、従来工法と比較し、優れた安定度の均衡化に加え、効率的な資源の減量化と大幅なコストの縮減が可能となった。
従来工法と比較し、極力床掘りしないで断面を決定するよう工夫されているため、建設残土を処理する場所の確保といった問題の排除や従来それに費やすべき費用を大きく削減することが可能となった。
以下、本発明の実施の形態における、底版ブロックを意図的に用いた各種構造物の最良の形態を(図3)から(図8)に示す。(図3)から(図8)に示したこれらの構造物の基本断面については、当然のことながら設計条件の違いによってその規模及び各部位の寸法を変化させるものであるが、図はこれまでの施工実績の一例を示したものであり、構造物本体がスリムで床掘による捨石マウンド厚の確保といった対処を免れる傾向が顕著であるため床掘しない断面としている。ただし、軟弱地盤の悪条件に起因し、許容支持力を満足させるために床掘した事例もあることを記述しておく。また、従来工法との形状的相違点を明確にするため、一般的な各種構造物を(図9)から(図14)に示す。従来工法の対処法の場合、許容支持力を満足させるために構造物本体を拡幅、床掘した事例が多い。そこで、(図3)から(図8)に示した本発明による構造との特徴の違いを明確に説明するため誇張表現したものである。また、これら構造物については(図面の簡単な説明)でその構造を記載したが、本発明による図面と従来工法による図面との「対比の組み合わせ」は次のとおりである。図3に対応する図面は図9、以下図4は図10、図5は図11、図6は図12、図7は図13、図8は図14と対比させて相互の相違点の説明とする。
本発明による各種構造物の施工実施例は宮城県女川町に20例あり、これらは昭和52年度から平成12年度にかけて女川町によって整備され、整備してから現在に至るまで波浪や地震による被災や沈下等の現象を起こすことなく施設の目的である機能を果たしている。その実施した工種は防波堤、護岸、物揚場の3種類である。また、これらはいずれも発明者の設計によるもので、全て水産庁の工法協議により認可され、国庫補助事業で整備されている。
実施された工事名及び採用された本発明による工種は以下のとおりである。
1.昭和52年度塚浜漁港局部改良事業防波堤工事(防波堤)
2.昭和55年度塚浜漁港局部改良事業防波堤工事(防波堤)
3.昭和58年度指ヶ浜漁港局部改良事業−1.5m物揚場その他工事(護岸)
4.昭和58年度竹浦漁港局部改良事業防波堤工事(防波堤)
5.昭和59年度出島漁港局部改良事業防波堤工事(防波堤)
6.昭和60年度尾浦漁港局部改良事業防波堤工事(防波堤)
7.昭和60年度飯子浜漁港局部改良事業防波堤工事(防波堤)
8.昭和61年度竹浦漁港局部改良事業防波堤工事(防波堤)
9.昭和63年度尾浦漁港局部改良事業防波堤工事(防波堤)
10.昭和63年度塚浜漁港改修事業防波堤工事(防波堤)
11.平成元年度飯子浜漁港改修事業防波堤工事(防波堤)
12.平成元年度御前漁港局部改良事業防波堤工事(防波堤)
13.平成元年度小屋取漁港局部改良事業防波堤工事(防波堤)
14.平成2年度御前漁港局部改良事業−2.0m物揚場工事(−2.0m物揚場)
15.平成2年度竹浦漁港局部改良事業防波堤工事(防波堤)
16.平成5年度尾浦漁港局部改良事業防波堤工事(防波堤)
17.平成6年度竹浦漁港局部改良事業防波堤工事(防波堤)
18.平成8年度出島漁港局部改良事業−1.5m物揚場工事(−1.5m物揚場)
19.平成9年度尾浦漁港局部改良事業−2.0m物揚場工事(−2.0m物揚場)
20.平成12年度指ヶ浜漁港局部改良事業防波堤工事(防波堤)
実施された工事名及び採用された本発明による工種は以下のとおりである。
1.昭和52年度塚浜漁港局部改良事業防波堤工事(防波堤)
2.昭和55年度塚浜漁港局部改良事業防波堤工事(防波堤)
3.昭和58年度指ヶ浜漁港局部改良事業−1.5m物揚場その他工事(護岸)
4.昭和58年度竹浦漁港局部改良事業防波堤工事(防波堤)
5.昭和59年度出島漁港局部改良事業防波堤工事(防波堤)
6.昭和60年度尾浦漁港局部改良事業防波堤工事(防波堤)
7.昭和60年度飯子浜漁港局部改良事業防波堤工事(防波堤)
8.昭和61年度竹浦漁港局部改良事業防波堤工事(防波堤)
9.昭和63年度尾浦漁港局部改良事業防波堤工事(防波堤)
10.昭和63年度塚浜漁港改修事業防波堤工事(防波堤)
11.平成元年度飯子浜漁港改修事業防波堤工事(防波堤)
12.平成元年度御前漁港局部改良事業防波堤工事(防波堤)
13.平成元年度小屋取漁港局部改良事業防波堤工事(防波堤)
14.平成2年度御前漁港局部改良事業−2.0m物揚場工事(−2.0m物揚場)
15.平成2年度竹浦漁港局部改良事業防波堤工事(防波堤)
16.平成5年度尾浦漁港局部改良事業防波堤工事(防波堤)
17.平成6年度竹浦漁港局部改良事業防波堤工事(防波堤)
18.平成8年度出島漁港局部改良事業−1.5m物揚場工事(−1.5m物揚場)
19.平成9年度尾浦漁港局部改良事業−2.0m物揚場工事(−2.0m物揚場)
20.平成12年度指ヶ浜漁港局部改良事業防波堤工事(防波堤)
1 底版ブロック
2 捨石マウンド
3 海底面
4 軟弱地盤
5 被覆ブロックまたは被覆石
6 方塊(本体ブロック)
7 水中コンクリート
8 上部コンクリート
9 H.W.L
10 L.W.L
11 地盤の許容支持力を得るために床掘した部分
12 上ダボ
13 せん断面
14 せん断抵抗用の鉄筋(異形棒鋼)
15 幅止め鉄筋
16 結束用針金
17 コンクリート
18 鉄筋のかぶり
19 安定計算上の境界面
20 裏込石
21 裏埋土(盛土)
22 帆布(吸出し防止材)
23 埋立土(盛土)
24 コンクリートによるエプロン舗装または水叩舗装
25 消波ブロック
26 係船柱
27 防舷材
B 基礎の幅
b 捨石マウンド施工基面(上面)における荷重分布幅
b′ 捨石マウンド底面における荷重分布幅
D 捨石マウンド厚
e 偏心量
h 上ダボの高さ
h′ せん断抵抗用鉄筋の埋め込み深さ
P せん断力
p1 捨石マウンド施工基面(上面)における最大地盤反力(=端趾圧)
p2 捨石マウンド施工基面(上面)における最小地盤反力
p1′ 捨石マウンド底面における最大地盤反力
p2′ 捨石マウンド底面における最小地盤反力
W 構造物本体の幅(堤体幅)
2 捨石マウンド
3 海底面
4 軟弱地盤
5 被覆ブロックまたは被覆石
6 方塊(本体ブロック)
7 水中コンクリート
8 上部コンクリート
9 H.W.L
10 L.W.L
11 地盤の許容支持力を得るために床掘した部分
12 上ダボ
13 せん断面
14 せん断抵抗用の鉄筋(異形棒鋼)
15 幅止め鉄筋
16 結束用針金
17 コンクリート
18 鉄筋のかぶり
19 安定計算上の境界面
20 裏込石
21 裏埋土(盛土)
22 帆布(吸出し防止材)
23 埋立土(盛土)
24 コンクリートによるエプロン舗装または水叩舗装
25 消波ブロック
26 係船柱
27 防舷材
B 基礎の幅
b 捨石マウンド施工基面(上面)における荷重分布幅
b′ 捨石マウンド底面における荷重分布幅
D 捨石マウンド厚
e 偏心量
h 上ダボの高さ
h′ せん断抵抗用鉄筋の埋め込み深さ
P せん断力
p1 捨石マウンド施工基面(上面)における最大地盤反力(=端趾圧)
p2 捨石マウンド施工基面(上面)における最小地盤反力
p1′ 捨石マウンド底面における最大地盤反力
p2′ 捨石マウンド底面における最小地盤反力
W 構造物本体の幅(堤体幅)
Claims (4)
- 重力式混成堤による防波堤及び岸壁等において、捨石マウンドと構造物本体(堤体工及び上部工で構成された部位を指す。)との間に、荷重分散を目的とした底版ブロックを設置することを特徴とする漁港港湾構造物とその設計方法。
- 請求項1の底版ブロックの上部に構成する構造物本体において、底版ブロックと構造物本体を構成する材料相互の摩擦抵抗(静止摩擦係数)が大きい組み合わせを採用することにより、構造物本体の軽量化を図ることを特徴とする漁港港湾構造物とその設計方法。
- 底版ブロック及び堤体を形成する方塊の上ダボに、せん断抵抗用の鉄筋を配筋し、摩擦抵抗(静止摩擦係数)の増大を図ることを特徴とする漁港港湾構造物とその設計方法
- フーチング形状を呈した底版ブロックを意図的に使用し、底版ブロックの上面(滑動及び転倒の検討における一検討面)を境に、境界面より上の構造物本体と境界面より下の基礎工(捨石マウンド)をそれぞれ独立させて安定計算することで、各々必要最小限の断面寸法を決定させる設計工程を特徴とする漁港港湾構造物とその設計方法。
Priority Applications (1)
| Application Number | Priority Date | Filing Date | Title |
|---|---|---|---|
| JP2003366122A JP2005127091A (ja) | 2003-10-27 | 2003-10-27 | 荷重分散型重力式漁港港湾構造物とその設計方法 |
Applications Claiming Priority (1)
| Application Number | Priority Date | Filing Date | Title |
|---|---|---|---|
| JP2003366122A JP2005127091A (ja) | 2003-10-27 | 2003-10-27 | 荷重分散型重力式漁港港湾構造物とその設計方法 |
Publications (1)
| Publication Number | Publication Date |
|---|---|
| JP2005127091A true JP2005127091A (ja) | 2005-05-19 |
Family
ID=34644563
Family Applications (1)
| Application Number | Title | Priority Date | Filing Date |
|---|---|---|---|
| JP2003366122A Pending JP2005127091A (ja) | 2003-10-27 | 2003-10-27 | 荷重分散型重力式漁港港湾構造物とその設計方法 |
Country Status (1)
| Country | Link |
|---|---|
| JP (1) | JP2005127091A (ja) |
Cited By (3)
| Publication number | Priority date | Publication date | Assignee | Title |
|---|---|---|---|---|
| JP2014091915A (ja) * | 2012-10-31 | 2014-05-19 | Railway Technical Research Institute | ハニカム構造体と面状補強材による盛土補強土工法による防潮堤防の構築方法 |
| JP2014224407A (ja) * | 2013-05-16 | 2014-12-04 | 三省水工株式会社 | 多段積みコンクリートブロックの耐震機能を向上させた堤体構造 |
| CN115775437A (zh) * | 2022-11-30 | 2023-03-10 | 国家海洋环境预报中心 | 一种渔港海浪的预警方法及预警装置 |
-
2003
- 2003-10-27 JP JP2003366122A patent/JP2005127091A/ja active Pending
Cited By (4)
| Publication number | Priority date | Publication date | Assignee | Title |
|---|---|---|---|---|
| JP2014091915A (ja) * | 2012-10-31 | 2014-05-19 | Railway Technical Research Institute | ハニカム構造体と面状補強材による盛土補強土工法による防潮堤防の構築方法 |
| JP2014224407A (ja) * | 2013-05-16 | 2014-12-04 | 三省水工株式会社 | 多段積みコンクリートブロックの耐震機能を向上させた堤体構造 |
| CN115775437A (zh) * | 2022-11-30 | 2023-03-10 | 国家海洋环境预报中心 | 一种渔港海浪的预警方法及预警装置 |
| CN115775437B (zh) * | 2022-11-30 | 2023-12-08 | 国家海洋环境预报中心 | 一种渔港海浪的预警方法及预警装置 |
Similar Documents
| Publication | Publication Date | Title |
|---|---|---|
| AU2019203298B2 (en) | A method and system for underwater scour prevention | |
| Nonveiller | Open caissons for deep foundations | |
| Heibaum | Coastal scour stabilisation using granular filter in geosynthetic nonwoven containers | |
| KR102097580B1 (ko) | 일반 콘크리트를 이용한 해상 구조물 시공 방법 | |
| Elskens et al. | Innovative techniques for quay wall renovation and stabilisation | |
| Bittner et al. | Design and construction of the Sutong Bridge foundations | |
| CN1233903C (zh) | 水下钢筋混凝土构筑物的施工方法 | |
| JP2005127091A (ja) | 荷重分散型重力式漁港港湾構造物とその設計方法 | |
| JP4982631B2 (ja) | 地中壁造成による防波堤下の液状化対策工法 | |
| CN113737715A (zh) | 一种用于人工岛岛桥结合部扶壁式岛壁结构 | |
| JP3363219B2 (ja) | 砂防ダムの構造 | |
| Tokunaga et al. | New applications of cement treated soil by CDM method | |
| JP7525828B2 (ja) | 岸壁または護岸の構造 | |
| Gumucio | Design of quay walls using the finite element method | |
| JP2021008720A (ja) | ケーソン、ニューマチックケーソン工法及び構造物 | |
| Eckert et al. | Design concepts for in-water containment structures for marsh habitat development | |
| Meyer | Quay wall structures in container sea ports and influences on the design | |
| Platt | Cardiff Bay Barrage: construction | |
| Van Toi et al. | Quay Walls of the Port of Rotterdam | |
| JP2004011142A (ja) | 海域環境共生型岸壁構造物 | |
| Tsinker | Gravity-Type Quay Walls | |
| Dmochowski et al. | Modelling and analysis of the stability of a harbour wharf’s embankment with regards to its failure | |
| Duclos | Highway Bridges on Deep Foundations | |
| Joshi | CAISSON CONSTRUCTIONS AN INNOVATIVE APPROACH | |
| Gerwick Jr | Substructures of Major Overwater Bridges |
Legal Events
| Date | Code | Title | Description |
|---|---|---|---|
| A977 | Report on retrieval |
Effective date: 20051017 Free format text: JAPANESE INTERMEDIATE CODE: A971007 |
|
| A131 | Notification of reasons for refusal |
Free format text: JAPANESE INTERMEDIATE CODE: A131 Effective date: 20051025 |
|
| A02 | Decision of refusal |
Effective date: 20060307 Free format text: JAPANESE INTERMEDIATE CODE: A02 |