JP2004249127A - 弾球遊技機 - Google Patents
弾球遊技機 Download PDFInfo
- Publication number
- JP2004249127A JP2004249127A JP2004134186A JP2004134186A JP2004249127A JP 2004249127 A JP2004249127 A JP 2004249127A JP 2004134186 A JP2004134186 A JP 2004134186A JP 2004134186 A JP2004134186 A JP 2004134186A JP 2004249127 A JP2004249127 A JP 2004249127A
- Authority
- JP
- Japan
- Prior art keywords
- game
- circuit device
- data
- control
- game board
- Prior art date
- Legal status (The legal status is an assumption and is not a legal conclusion. Google has not performed a legal analysis and makes no representation as to the accuracy of the status listed.)
- Pending
Links
- 238000000034 method Methods 0.000 claims description 5
- 230000005540 biological transmission Effects 0.000 description 12
- 230000008859 change Effects 0.000 description 10
- 230000000694 effects Effects 0.000 description 5
- 238000010304 firing Methods 0.000 description 4
- 210000000078 claw Anatomy 0.000 description 3
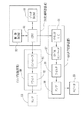
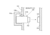
- 238000010586 diagram Methods 0.000 description 3
- 230000006870 function Effects 0.000 description 2
- 238000007689 inspection Methods 0.000 description 2
- 230000009467 reduction Effects 0.000 description 2
- CDFKCKUONRRKJD-UHFFFAOYSA-N 1-(3-chlorophenoxy)-3-[2-[[3-(3-chlorophenoxy)-2-hydroxypropyl]amino]ethylamino]propan-2-ol;methanesulfonic acid Chemical compound CS(O)(=O)=O.CS(O)(=O)=O.C=1C=CC(Cl)=CC=1OCC(O)CNCCNCC(O)COC1=CC=CC(Cl)=C1 CDFKCKUONRRKJD-UHFFFAOYSA-N 0.000 description 1
- OMFRMAHOUUJSGP-IRHGGOMRSA-N bifenthrin Chemical compound C1=CC=C(C=2C=CC=CC=2)C(C)=C1COC(=O)[C@@H]1[C@H](\C=C(/Cl)C(F)(F)F)C1(C)C OMFRMAHOUUJSGP-IRHGGOMRSA-N 0.000 description 1
- 230000002950 deficient Effects 0.000 description 1
- 239000011521 glass Substances 0.000 description 1
- 238000009434 installation Methods 0.000 description 1
- 239000004973 liquid crystal related substance Substances 0.000 description 1
- 238000012423 maintenance Methods 0.000 description 1
- 230000007257 malfunction Effects 0.000 description 1
- 238000004519 manufacturing process Methods 0.000 description 1
- 239000002184 metal Substances 0.000 description 1
- 230000002265 prevention Effects 0.000 description 1
- 230000008569 process Effects 0.000 description 1
- 238000009877 rendering Methods 0.000 description 1
- 239000011347 resin Substances 0.000 description 1
- 229920005989 resin Polymers 0.000 description 1
- 230000004044 response Effects 0.000 description 1
- 238000007789 sealing Methods 0.000 description 1
- 238000000638 solvent extraction Methods 0.000 description 1
Images
Landscapes
- Pinball Game Machines (AREA)
Priority Applications (1)
| Application Number | Priority Date | Filing Date | Title |
|---|---|---|---|
| JP2004134186A JP2004249127A (ja) | 2002-07-11 | 2004-04-28 | 弾球遊技機 |
Applications Claiming Priority (3)
| Application Number | Priority Date | Filing Date | Title |
|---|---|---|---|
| JP2002203045 | 2002-07-11 | ||
| JP2002352978 | 2002-12-04 | ||
| JP2004134186A JP2004249127A (ja) | 2002-07-11 | 2004-04-28 | 弾球遊技機 |
Related Parent Applications (1)
| Application Number | Title | Priority Date | Filing Date |
|---|---|---|---|
| JP2003183995A Division JP2004230145A (ja) | 2002-07-11 | 2003-06-27 | 弾球遊技機 |
Publications (2)
| Publication Number | Publication Date |
|---|---|
| JP2004249127A true JP2004249127A (ja) | 2004-09-09 |
| JP2004249127A5 JP2004249127A5 (enExample) | 2007-11-15 |
Family
ID=33033016
Family Applications (1)
| Application Number | Title | Priority Date | Filing Date |
|---|---|---|---|
| JP2004134186A Pending JP2004249127A (ja) | 2002-07-11 | 2004-04-28 | 弾球遊技機 |
Country Status (1)
| Country | Link |
|---|---|
| JP (1) | JP2004249127A (enExample) |
-
2004
- 2004-04-28 JP JP2004134186A patent/JP2004249127A/ja active Pending
Similar Documents
| Publication | Publication Date | Title |
|---|---|---|
| JP5286489B2 (ja) | 遊技機 | |
| JP2006094967A (ja) | 遊技機用制御装置及びパチンコ機 | |
| JP5390962B2 (ja) | 遊技機 | |
| JP2008229168A (ja) | 遊技機 | |
| JP2004230145A (ja) | 弾球遊技機 | |
| JP2011206173A (ja) | 遊技機 | |
| JP2011050475A (ja) | 遊技機 | |
| JP2004249127A (ja) | 弾球遊技機 | |
| JP2008093203A (ja) | 遊技機 | |
| JP5945744B2 (ja) | 遊技機 | |
| JP2011067425A (ja) | 遊技機 | |
| JP5421672B2 (ja) | 遊技機 | |
| JP2011010738A (ja) | 遊技機 | |
| JP5395695B2 (ja) | 遊技機 | |
| JP2009006085A (ja) | 遊技機 | |
| JP4525971B2 (ja) | 遊技機 | |
| JP2014121540A (ja) | 遊技機 | |
| JP5466736B2 (ja) | 遊技機 | |
| JP2005296286A (ja) | 遊技機 | |
| JP2011194057A (ja) | 遊技機 | |
| JP2011050477A (ja) | 遊技機 | |
| JP2004216190A (ja) | 弾球遊技機 | |
| JP2004216191A (ja) | 弾球遊技機 | |
| JP5786174B2 (ja) | 遊技機 | |
| JP4782235B2 (ja) | 遊技機 |
Legal Events
| Date | Code | Title | Description |
|---|---|---|---|
| A621 | Written request for application examination |
Effective date: 20040728 Free format text: JAPANESE INTERMEDIATE CODE: A621 |
|
| A521 | Written amendment |
Free format text: JAPANESE INTERMEDIATE CODE: A523 Effective date: 20071001 |
|
| A131 | Notification of reasons for refusal |
Free format text: JAPANESE INTERMEDIATE CODE: A131 Effective date: 20080206 |
|
| A02 | Decision of refusal |
Free format text: JAPANESE INTERMEDIATE CODE: A02 Effective date: 20080611 |