JP2004208162A - カメラ映像伝送システム及びカメラ映像送信装置 - Google Patents
カメラ映像伝送システム及びカメラ映像送信装置 Download PDFInfo
- Publication number
- JP2004208162A JP2004208162A JP2002376885A JP2002376885A JP2004208162A JP 2004208162 A JP2004208162 A JP 2004208162A JP 2002376885 A JP2002376885 A JP 2002376885A JP 2002376885 A JP2002376885 A JP 2002376885A JP 2004208162 A JP2004208162 A JP 2004208162A
- Authority
- JP
- Japan
- Prior art keywords
- signal
- camera
- video
- synchronization
- serializer
- Prior art date
- Legal status (The legal status is an assumption and is not a legal conclusion. Google has not performed a legal analysis and makes no representation as to the accuracy of the status listed.)
- Pending
Links
- 230000005540 biological transmission Effects 0.000 title claims abstract description 76
- 238000010586 diagram Methods 0.000 abstract description 5
- 230000001360 synchronised effect Effects 0.000 abstract description 4
- 238000004891 communication Methods 0.000 description 8
- 238000000034 method Methods 0.000 description 8
- 238000005516 engineering process Methods 0.000 description 2
- 230000000737 periodic effect Effects 0.000 description 2
- 238000012545 processing Methods 0.000 description 2
- 239000004065 semiconductor Substances 0.000 description 2
- 230000011664 signaling Effects 0.000 description 2
- 230000005856 abnormality Effects 0.000 description 1
- 238000006243 chemical reaction Methods 0.000 description 1
- 230000003750 conditioning effect Effects 0.000 description 1
- 230000000694 effects Effects 0.000 description 1
- 239000004973 liquid crystal related substance Substances 0.000 description 1
- 238000012544 monitoring process Methods 0.000 description 1
- 230000002093 peripheral effect Effects 0.000 description 1
- 230000002265 prevention Effects 0.000 description 1
- 230000008054 signal transmission Effects 0.000 description 1
- 230000002123 temporal effect Effects 0.000 description 1
- 230000007704 transition Effects 0.000 description 1
Images
Landscapes
- Closed-Circuit Television Systems (AREA)
- Television Systems (AREA)
Abstract
【課題】車両ハーネスの削減を実現しつつ、同期はずれの防止と専用伝送路の削減を実現する。
【解決手段】カメラ21で撮像した映像を受信側27に伝送してそのディスプレイ25に表示させる際に、送信側26のシリアライザ22が垂直同期信号及び映像データとともに同期パターン信号S3をケーブル23で送信する。この際、同期パターン信号S3を映像データの映像無効期間中に重畳して送出する。受信側27での同期はずれ発生の有無に関わらず送信側26で定期的に同期パターン信号をシリアル信号内に重畳して送信するので、パラレル信号を送受信する場合に比べて車両ハーネスの削減を実現することができる。
【選択図】 図1
【解決手段】カメラ21で撮像した映像を受信側27に伝送してそのディスプレイ25に表示させる際に、送信側26のシリアライザ22が垂直同期信号及び映像データとともに同期パターン信号S3をケーブル23で送信する。この際、同期パターン信号S3を映像データの映像無効期間中に重畳して送出する。受信側27での同期はずれ発生の有無に関わらず送信側26で定期的に同期パターン信号をシリアル信号内に重畳して送信するので、パラレル信号を送受信する場合に比べて車両ハーネスの削減を実現することができる。
【選択図】 図1
Description
【0001】
【発明の属する技術分野】
この発明は、カメラ映像伝送システム及びカメラ映像送信装置に関する。
【0002】
【従来の技術】
車載カメラシステムに関する先例として、特開2000−177483がある。これは、図3の如く、車体1のフロントバンパ2の両側にカメラ3,4を装着し、通常のサイドミラーと同様な車両5の側後方の映像と、運転者6にとって死角となるブラインドコーナの映像とを、広角に撮像するもので、画像モニタ7は、通常、車両5の側後方画像を表示し、必要に応じてブラインドコーナの監視画像を表示するようになっている。
【0003】
ここで、この従来技術では、カメラ3,4と画像モニタ7との間の映像伝送についてアナログ方式がとられており、A/D変換を介すシステム構成となっている。
【0004】
【特許文献1】
特開2000−177483
【0005】
【発明が解決しようとする課題】
自動車のインテリジェント化に伴い、車両の各所にカメラを設置し、運転席からは死角となるような周囲の映像を車内のモニタ上で見ることができる、車載カメラシステムが普及しつつある。このようなシステムでは、画像の高精彩化や、画像処理による高機能化などが望まれ、映像をディジタル処理する構成となる。そのアイテムの1つが、高速ディジタル映像インターフェースである。高速ディジタル映像インターフェースの技術として、家庭用機器ではTMDS(Transition Minimized Differential Signaling)やLVDS(Low Voltage Differential Signaling:低電圧差動信号処理)が広く使われている。
【0006】
TMDSは、液晶ディスプレイなどに多く使用されているディスプレイ映像信号のデジタル伝送方式であって、R(Red:赤)/G(Green:緑)/B(Blue:青)という3種類の映像信号とクロック信号の伝送にそれぞれ1チャネルずつ(合計4チャネル)使用し、各チャネルが、2本の信号線による差動駆動によって伝送されるようになっている。
【0007】
また、LVDSは、ボード、シャーシ、他の周辺機器の間での差動通信のための標準的な規格であって、安価なコネクタやケーブルを使用しても、ノイズが少なく高速に差動データを伝送できるため、様々な通信において多用されている。
【0008】
しかしこれらは多くの本数のケーブルを必要とするため、車両ハーネスの削減が望まれている自動車への適用は難しい。
【0009】
この問題の解決として、シリアルLVDSを車載カメラシステムに適用する方法が考えられる。この技術は、複数のLVDS信号をシリアライズ化し、少ない伝送路で伝送を行うことができる。特に、カメラの映像信号であれば、1本のケーブルのみで伝送することが可能となるため、かかる技術を車載カメラシステムに適用することによって、最低限の車両ハーネスでシステムを構成することができる。
【0010】
しかしこの方法においても、以下のような問題が存在する。
【0011】
まず、ディジタル通信において、送信側から送られてきた2値のディジタル信号の時間的な位置関係を、受信側で正確に把握し、同期をとりながら通信を行う必要がある。この同期を行う主な方法としては、送信側から同期用クロックを専用の伝送路で送信する方法(第1の提案例)と、受信側にて受信したパルス列(データ信号)からクロックを抽出する方法(第2の提案例)とがある。
【0012】
ケーブルを用いた伝送システムとしてコスト面を重視する場合、伝送路の本数が少ないことが望ましいことから、第1の提案例よりも第2の提案例の方がコスト的には好ましい。
【0013】
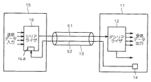
但し、この第2の提案例の場合、受信したパルス列のパターンによってはクロック抽出が難しく、同期はずれが発生する可能性があるため、再同期機能が必要となる。したがって、シリアルLVDSでは、図4の如く、受信側11のデシリアライザIC12にて同期はずれを検出した際、それを伝送路13を通じて外部に同期パターン要求信号S2を送信する同期はずれ通知ポート14を装備する。一方、送信側15のシリアライザIC16では、伝送路13を通じてシリアルデータS1を送信するにあたって、当該シリアルデータS1内に再同期のための同期パターン信号を含ませて送信する機能を備える。この構成によると、受信側11にて同期はずれを検出した場合、送信側15に同期パターン信号要求信号S2を送信し、これに基づいて、送信側のシリアライザIC16内の同期パターン発生部16aが再同期のための同期パターン信号をシリアルデータS1として送信し、これにより再同期が行われる。
【0014】
しかしこれを実現するには、受信側11から送信側15に同期パターン要求信号S2を送信するための専用伝送路を伝送路13内に形成する必要があり、ケーブル本数の増加要因となってしまう。
【0015】
そこで、この発明の課題は、車両ハーネスの削減を実現し、同期はずれの防止と専用伝送路の削減を実現し得るカメラ映像伝送システム及びカメラ映像送信装置を提供することにある。
【0016】
【課題を解決するための手段】
上記課題を解決すべく、請求項1に記載の発明は、カメラで撮像した映像を送信側から受信側に伝送し、当該受信側のディスプレイに表示するカメラ映像伝送システムであって、前記送信側に搭載され、前記カメラからパラレル信号として与えられた垂直同期信号及び映像データをシリアル信号に変換してシリアル信号用のケーブルに送出するシリアライザと、前記受信側に搭載され、前記ケーブルを通じて前記シリアライザから与えられたシリアル信号をパラレル信号に戻して前記ディスプレイに表示するデシリアライザとを備え、前記シリアライザが、同期パターン信号を前記映像データの映像無効期間中に重畳して前記ケーブルに送出し、前記デシリアライザが、前記同期パターン信号に基づいて映像の同期はずれの有無を判断し、同期はずれがあった場合に、その同期はずれを解消するように信号調整を行うものである。
【0017】
請求項2に記載の発明は、請求項1に記載のカメラ映像伝送システムであって、前記シリアライザが、前記カメラからの送出要求に基づいて、前記同期パターン信号を前記シリアル信号内の前記映像データの映像無効期間中に重畳して前記ケーブルに送出するものである。
【0018】
請求項3に記載の発明は、請求項2に記載のカメラ映像伝送システムであって、前記送出要求が、前記カメラからの前記垂直同期信号である。
【0019】
請求項4に記載の発明は、カメラで撮像した映像を受信側に伝送し、当該受信側のディスプレイに表示させるためのカメラ映像送信装置であって、前記カメラからパラレル信号として与えられた垂直同期信号及び映像データをシリアル信号に変換してシリアル信号用のケーブルに送出するシリアライザを有し、前記シリアライザが、同期パターン信号を前記映像データの映像無効期間中に重畳して前記ケーブルに送出するものである。
【0020】
請求項5に記載の発明は、請求項4に記載のカメラ映像送信装置であって、前記シリアライザが、前記カメラからの送出要求に基づいて、前記同期パターン信号を前記シリアル信号内の前記映像データの映像無効期間中に重畳して前記ケーブルに送出するものである。
【0021】
請求項6に記載の発明は、請求項5に記載のカメラ映像送信装置であって、前記送出要求が、前記カメラからの前記垂直同期信号である。
【0022】
【発明の実施の形態】
図1はこの発明の一の実施の形態に係るカメラ映像伝送システムを示すブロック図である。このカメラ映像伝送システムは、通信方式としてシリアルLVDSを適用することで、車両ハーネスの削減を実現するとともに、同期はずれの発生の有無に関わらず、送信側(カメラ映像送信装置)で定期的にコマンドデータとしての同期パターン信号S3を送信することで、同期はずれの防止と専用伝送路の削減を実現するものであり、特に、同期パターン信号S3の送信を映像の垂直同期タイミングで行うことで、映像データ自体の伝送への影響を無くすようにしたものである。
【0023】
具体的に、このカメラ映像伝送システムは、図1の如く、カメラ21と、このカメラ21から与えられたパラレル信号をシリアル信号に変換するシリアライザ22と、シリアライザ22から送出されるシリアル信号を伝送するケーブル23と、ケーブル23を通じてシリアル信号を受信しこれをパラレル信号に戻すデシリアライザ24と、レシーバ・パラレル・インタフェースを備えて映像を表示するディスプレイ25とから構成される。
【0024】
送信側(カメラ映像送信装置)26では、カメラ21の映像データをシリアライザ22によってシリアル信号化し、パルス信号として伝送ケーブル23に送出する。
【0025】
シリアライザ22は、IC(半導体集積回路)チップで構成され、カメラ21からパラレル信号を受信し、伝送クロックとともに、パラレル信号をデバイス中に保持してからこれをシリアル化した後、シリアル信号伝送のためにクロックを組み込んで、ケーブル23に送出するようになっている。具体的に、シリアライザ22にはSYNCポート31が装備されており、このSYNCポート31に6クロックサイクル以上のハイレベル信号を入力すると、シリアライザ22から1024個の同期パターンがケーブル23に送出される。
【0026】
カメラ21側からシリアライザ22に対しては、受信側27での同期はずれを防ぐべく、定期的に同期パターン信号S3の送出要求を行うようになっている。これに基づいて、シリアライザ22内の同期パターン発生部22aは、受信側27での同期はずれの発生有無に関わらずコマンドデータとしての同期パターン信号S3をシリアル信号内に重畳して送出することになる。この場合、非同期となっている状態のときには同期パターン信号S3を送信することが可能となる一方、同期状態の時に同期パターン信号S3を送信しても、通信に異常をきたすことは無い。このカメラ21側からシリアライザ22に対する同期パターン信号S3の送出要求は、専用の信号を送信するのではなく、垂直同期信号Vsyncをもって同期パターン信号S3の送出要求に代えている。これにより、専用の信号を送信する機能をカメラ21側に内蔵する必要がなく、汎用のカメラ21を使用することができる点で便利である。
【0027】
ここで、カメラ21からシリアライザ22に送信される信号のデータストリームを図2に示す。図2中の(A)は垂直同期信号Vsync、(B)は映像データIdをそれぞれ示している。図2のように、垂直同期信号Vsyncの発生タイミングにおいては、映像データIdが存在しない映像無効期間Ingとなっている。この映像無効期間Ingを利用して、シリアライザ22から同期パターン信号S3をシリアル信号内に重畳してケーブル23に送出することで、映像データIdの伝送には影響を与えず、再同期のための通信を行うことが可能である。
【0028】
また垂直同期信号Vsyncは定期的に発生するため、再同期動作のための定期的なタイミングを確保することができる。
【0029】
受信側27では、ケーブル23を通じて受信したシリアル信号をデシリアライザ24によって元のパラレル信号に戻し、ディスプレイ25に入力されて映像として表示される。
【0030】
デシリアライザ24は、IC(半導体集積回路)チップで構成され、ケーブル23を通じて送信側26から受信したシリアル信号を受け入れて、クロックとデータを復元した後、ディスプレイ25のレシーバ・パラレル・インタフェースに転送するようになっている。そして、デシリアライザ24は、ケーブル23を通じて送信側26から受信した同期パターン信号S3に基づいて、映像の同期はずれの有無を判断し、同期はずれがあった場合には、その同期はずれを解消するように信号調整を行う。
【0031】
上記構成のカメラ映像伝送システムの動作を説明する。
【0032】
まず、カメラ21で映像を撮像すると、このカメラ21からシリアライザ22に対して、図2(A)に示した垂直同期信号Vsyncと同図(B)に示した映像データIdを送信する。これを受けて、シリアライザ22は、垂直同期信号Vsyncと映像データIdとをケーブル23に送出するとともに、映像データIdが存在しない映像無効期間Ingを利用して、同期パターン信号S3を併せてケーブル23に送出する。このように、映像データIdが存在しない映像無効期間Ingを利用して同期パターン信号S3を送信することで、映像データIdの伝送には影響を与えず、再同期のための通信を行うことが可能であり、また垂直同期信号Vsyncは定期的に発生するため、再同期動作のための定期的なタイミングを確保することができる。
【0033】
受信側27のデシリアライザ24は、ケーブル23を通じて送信側26から受信したシリアル信号を受け入れて、クロックとデータを復元して元のパラレル信号に戻した後、ディスプレイ25のレシーバ・パラレル・インタフェースに転送すると共に、受信した同期パターン信号S3に基づいて、映像の同期はずれの有無を判断し、同期はずれがあった場合には、その同期はずれを解消するように信号調整を行う。このようにして調整された信号は、ディスプレイ25に入力されて映像として表示される。
【0034】
このように、シリアルLVDSをカメラ映像伝送システムに適用しているので、パラレル信号を送受信する場合に比べて車両ハーネスの削減を実現することができる。特に、受信側27での同期はずれ発生の有無に関わらず送信側で定期的に同期パターン信号を送信するようにしているので、従来必要であった同期パターン要求信号S2用の専用伝送路を削減することができる。
【0035】
また、同期パターン信号の送信を映像無効期間Ingを利用して実行しているので、映像データ自体の伝送への影響を無くすことが可能である。
【0036】
【発明の効果】
請求項1及び請求項4に記載の発明によれば、カメラで撮像した映像を受信側に伝送し、当該受信側のディスプレイに表示させる際に、送信側(カメラ映像送信装置)のシリアライザがカメラからパラレル信号として与えられた垂直同期信号及び映像データをシリアル信号に変換してシリアル信号用のケーブルに送出するのに併せて、同期パターン信号を映像データの映像無効期間中に重畳してケーブルに送出するので、受信側での同期はずれ発生の有無に関わらず送信側で定期的に同期パターン信号をシリアル信号内に重畳して送信でき、従来必要であった同期パターン要求信号用の専用伝送路を削減しても、映像データ自体の伝送への影響を無くすことが可能である。そして、送信側から受信側にシリアル信号を送信するだけでよいので、パラレル信号を送受信する場合に比べて車両ハーネスの削減を実現することができる。
【0037】
請求項2及び請求項5に記載の発明によれば、シリアライザが、カメラからの送出要求に基づいて、同期パターン信号をシリアル信号内の映像データの映像無効期間中に重畳してケーブルに送出するので、従来必要であった同期パターン要求信号用の専用伝送路を削減しても、シリアライザから同期パターン信号を支障なくケーブルに伝送できる。
【0038】
請求項3及び請求項6に記載の発明によれば、送出要求が、カメラからの垂直同期信号であるので、専用の信号を送信する機能をカメラ側に内蔵する必要がなく、よって汎用のカメラを使用することができる点で便利である。
【図面の簡単な説明】
【図1】この発明の一の実施の形態に係るシリアルLVDSによるカメラ映像伝送システムを示すブロック図である。
【図2】カメラからシリアライザに与えられるパラレル信号の基本的な構成を示す図である。
【図3】自動車に取り付けられたカメラで周辺を視認する装置を示す模式図である。
【図4】従来のシリアルLVDSによるカメラ映像伝送システムを示す図である。
【符号の説明】
21 カメラ
22 シリアライザ
23 ケーブル
24 デシリアライザ
25 ディスプレイ
26 送信側
27 受信側
S3 同期パターン信号
【発明の属する技術分野】
この発明は、カメラ映像伝送システム及びカメラ映像送信装置に関する。
【0002】
【従来の技術】
車載カメラシステムに関する先例として、特開2000−177483がある。これは、図3の如く、車体1のフロントバンパ2の両側にカメラ3,4を装着し、通常のサイドミラーと同様な車両5の側後方の映像と、運転者6にとって死角となるブラインドコーナの映像とを、広角に撮像するもので、画像モニタ7は、通常、車両5の側後方画像を表示し、必要に応じてブラインドコーナの監視画像を表示するようになっている。
【0003】
ここで、この従来技術では、カメラ3,4と画像モニタ7との間の映像伝送についてアナログ方式がとられており、A/D変換を介すシステム構成となっている。
【0004】
【特許文献1】
特開2000−177483
【0005】
【発明が解決しようとする課題】
自動車のインテリジェント化に伴い、車両の各所にカメラを設置し、運転席からは死角となるような周囲の映像を車内のモニタ上で見ることができる、車載カメラシステムが普及しつつある。このようなシステムでは、画像の高精彩化や、画像処理による高機能化などが望まれ、映像をディジタル処理する構成となる。そのアイテムの1つが、高速ディジタル映像インターフェースである。高速ディジタル映像インターフェースの技術として、家庭用機器ではTMDS(Transition Minimized Differential Signaling)やLVDS(Low Voltage Differential Signaling:低電圧差動信号処理)が広く使われている。
【0006】
TMDSは、液晶ディスプレイなどに多く使用されているディスプレイ映像信号のデジタル伝送方式であって、R(Red:赤)/G(Green:緑)/B(Blue:青)という3種類の映像信号とクロック信号の伝送にそれぞれ1チャネルずつ(合計4チャネル)使用し、各チャネルが、2本の信号線による差動駆動によって伝送されるようになっている。
【0007】
また、LVDSは、ボード、シャーシ、他の周辺機器の間での差動通信のための標準的な規格であって、安価なコネクタやケーブルを使用しても、ノイズが少なく高速に差動データを伝送できるため、様々な通信において多用されている。
【0008】
しかしこれらは多くの本数のケーブルを必要とするため、車両ハーネスの削減が望まれている自動車への適用は難しい。
【0009】
この問題の解決として、シリアルLVDSを車載カメラシステムに適用する方法が考えられる。この技術は、複数のLVDS信号をシリアライズ化し、少ない伝送路で伝送を行うことができる。特に、カメラの映像信号であれば、1本のケーブルのみで伝送することが可能となるため、かかる技術を車載カメラシステムに適用することによって、最低限の車両ハーネスでシステムを構成することができる。
【0010】
しかしこの方法においても、以下のような問題が存在する。
【0011】
まず、ディジタル通信において、送信側から送られてきた2値のディジタル信号の時間的な位置関係を、受信側で正確に把握し、同期をとりながら通信を行う必要がある。この同期を行う主な方法としては、送信側から同期用クロックを専用の伝送路で送信する方法(第1の提案例)と、受信側にて受信したパルス列(データ信号)からクロックを抽出する方法(第2の提案例)とがある。
【0012】
ケーブルを用いた伝送システムとしてコスト面を重視する場合、伝送路の本数が少ないことが望ましいことから、第1の提案例よりも第2の提案例の方がコスト的には好ましい。
【0013】
但し、この第2の提案例の場合、受信したパルス列のパターンによってはクロック抽出が難しく、同期はずれが発生する可能性があるため、再同期機能が必要となる。したがって、シリアルLVDSでは、図4の如く、受信側11のデシリアライザIC12にて同期はずれを検出した際、それを伝送路13を通じて外部に同期パターン要求信号S2を送信する同期はずれ通知ポート14を装備する。一方、送信側15のシリアライザIC16では、伝送路13を通じてシリアルデータS1を送信するにあたって、当該シリアルデータS1内に再同期のための同期パターン信号を含ませて送信する機能を備える。この構成によると、受信側11にて同期はずれを検出した場合、送信側15に同期パターン信号要求信号S2を送信し、これに基づいて、送信側のシリアライザIC16内の同期パターン発生部16aが再同期のための同期パターン信号をシリアルデータS1として送信し、これにより再同期が行われる。
【0014】
しかしこれを実現するには、受信側11から送信側15に同期パターン要求信号S2を送信するための専用伝送路を伝送路13内に形成する必要があり、ケーブル本数の増加要因となってしまう。
【0015】
そこで、この発明の課題は、車両ハーネスの削減を実現し、同期はずれの防止と専用伝送路の削減を実現し得るカメラ映像伝送システム及びカメラ映像送信装置を提供することにある。
【0016】
【課題を解決するための手段】
上記課題を解決すべく、請求項1に記載の発明は、カメラで撮像した映像を送信側から受信側に伝送し、当該受信側のディスプレイに表示するカメラ映像伝送システムであって、前記送信側に搭載され、前記カメラからパラレル信号として与えられた垂直同期信号及び映像データをシリアル信号に変換してシリアル信号用のケーブルに送出するシリアライザと、前記受信側に搭載され、前記ケーブルを通じて前記シリアライザから与えられたシリアル信号をパラレル信号に戻して前記ディスプレイに表示するデシリアライザとを備え、前記シリアライザが、同期パターン信号を前記映像データの映像無効期間中に重畳して前記ケーブルに送出し、前記デシリアライザが、前記同期パターン信号に基づいて映像の同期はずれの有無を判断し、同期はずれがあった場合に、その同期はずれを解消するように信号調整を行うものである。
【0017】
請求項2に記載の発明は、請求項1に記載のカメラ映像伝送システムであって、前記シリアライザが、前記カメラからの送出要求に基づいて、前記同期パターン信号を前記シリアル信号内の前記映像データの映像無効期間中に重畳して前記ケーブルに送出するものである。
【0018】
請求項3に記載の発明は、請求項2に記載のカメラ映像伝送システムであって、前記送出要求が、前記カメラからの前記垂直同期信号である。
【0019】
請求項4に記載の発明は、カメラで撮像した映像を受信側に伝送し、当該受信側のディスプレイに表示させるためのカメラ映像送信装置であって、前記カメラからパラレル信号として与えられた垂直同期信号及び映像データをシリアル信号に変換してシリアル信号用のケーブルに送出するシリアライザを有し、前記シリアライザが、同期パターン信号を前記映像データの映像無効期間中に重畳して前記ケーブルに送出するものである。
【0020】
請求項5に記載の発明は、請求項4に記載のカメラ映像送信装置であって、前記シリアライザが、前記カメラからの送出要求に基づいて、前記同期パターン信号を前記シリアル信号内の前記映像データの映像無効期間中に重畳して前記ケーブルに送出するものである。
【0021】
請求項6に記載の発明は、請求項5に記載のカメラ映像送信装置であって、前記送出要求が、前記カメラからの前記垂直同期信号である。
【0022】
【発明の実施の形態】
図1はこの発明の一の実施の形態に係るカメラ映像伝送システムを示すブロック図である。このカメラ映像伝送システムは、通信方式としてシリアルLVDSを適用することで、車両ハーネスの削減を実現するとともに、同期はずれの発生の有無に関わらず、送信側(カメラ映像送信装置)で定期的にコマンドデータとしての同期パターン信号S3を送信することで、同期はずれの防止と専用伝送路の削減を実現するものであり、特に、同期パターン信号S3の送信を映像の垂直同期タイミングで行うことで、映像データ自体の伝送への影響を無くすようにしたものである。
【0023】
具体的に、このカメラ映像伝送システムは、図1の如く、カメラ21と、このカメラ21から与えられたパラレル信号をシリアル信号に変換するシリアライザ22と、シリアライザ22から送出されるシリアル信号を伝送するケーブル23と、ケーブル23を通じてシリアル信号を受信しこれをパラレル信号に戻すデシリアライザ24と、レシーバ・パラレル・インタフェースを備えて映像を表示するディスプレイ25とから構成される。
【0024】
送信側(カメラ映像送信装置)26では、カメラ21の映像データをシリアライザ22によってシリアル信号化し、パルス信号として伝送ケーブル23に送出する。
【0025】
シリアライザ22は、IC(半導体集積回路)チップで構成され、カメラ21からパラレル信号を受信し、伝送クロックとともに、パラレル信号をデバイス中に保持してからこれをシリアル化した後、シリアル信号伝送のためにクロックを組み込んで、ケーブル23に送出するようになっている。具体的に、シリアライザ22にはSYNCポート31が装備されており、このSYNCポート31に6クロックサイクル以上のハイレベル信号を入力すると、シリアライザ22から1024個の同期パターンがケーブル23に送出される。
【0026】
カメラ21側からシリアライザ22に対しては、受信側27での同期はずれを防ぐべく、定期的に同期パターン信号S3の送出要求を行うようになっている。これに基づいて、シリアライザ22内の同期パターン発生部22aは、受信側27での同期はずれの発生有無に関わらずコマンドデータとしての同期パターン信号S3をシリアル信号内に重畳して送出することになる。この場合、非同期となっている状態のときには同期パターン信号S3を送信することが可能となる一方、同期状態の時に同期パターン信号S3を送信しても、通信に異常をきたすことは無い。このカメラ21側からシリアライザ22に対する同期パターン信号S3の送出要求は、専用の信号を送信するのではなく、垂直同期信号Vsyncをもって同期パターン信号S3の送出要求に代えている。これにより、専用の信号を送信する機能をカメラ21側に内蔵する必要がなく、汎用のカメラ21を使用することができる点で便利である。
【0027】
ここで、カメラ21からシリアライザ22に送信される信号のデータストリームを図2に示す。図2中の(A)は垂直同期信号Vsync、(B)は映像データIdをそれぞれ示している。図2のように、垂直同期信号Vsyncの発生タイミングにおいては、映像データIdが存在しない映像無効期間Ingとなっている。この映像無効期間Ingを利用して、シリアライザ22から同期パターン信号S3をシリアル信号内に重畳してケーブル23に送出することで、映像データIdの伝送には影響を与えず、再同期のための通信を行うことが可能である。
【0028】
また垂直同期信号Vsyncは定期的に発生するため、再同期動作のための定期的なタイミングを確保することができる。
【0029】
受信側27では、ケーブル23を通じて受信したシリアル信号をデシリアライザ24によって元のパラレル信号に戻し、ディスプレイ25に入力されて映像として表示される。
【0030】
デシリアライザ24は、IC(半導体集積回路)チップで構成され、ケーブル23を通じて送信側26から受信したシリアル信号を受け入れて、クロックとデータを復元した後、ディスプレイ25のレシーバ・パラレル・インタフェースに転送するようになっている。そして、デシリアライザ24は、ケーブル23を通じて送信側26から受信した同期パターン信号S3に基づいて、映像の同期はずれの有無を判断し、同期はずれがあった場合には、その同期はずれを解消するように信号調整を行う。
【0031】
上記構成のカメラ映像伝送システムの動作を説明する。
【0032】
まず、カメラ21で映像を撮像すると、このカメラ21からシリアライザ22に対して、図2(A)に示した垂直同期信号Vsyncと同図(B)に示した映像データIdを送信する。これを受けて、シリアライザ22は、垂直同期信号Vsyncと映像データIdとをケーブル23に送出するとともに、映像データIdが存在しない映像無効期間Ingを利用して、同期パターン信号S3を併せてケーブル23に送出する。このように、映像データIdが存在しない映像無効期間Ingを利用して同期パターン信号S3を送信することで、映像データIdの伝送には影響を与えず、再同期のための通信を行うことが可能であり、また垂直同期信号Vsyncは定期的に発生するため、再同期動作のための定期的なタイミングを確保することができる。
【0033】
受信側27のデシリアライザ24は、ケーブル23を通じて送信側26から受信したシリアル信号を受け入れて、クロックとデータを復元して元のパラレル信号に戻した後、ディスプレイ25のレシーバ・パラレル・インタフェースに転送すると共に、受信した同期パターン信号S3に基づいて、映像の同期はずれの有無を判断し、同期はずれがあった場合には、その同期はずれを解消するように信号調整を行う。このようにして調整された信号は、ディスプレイ25に入力されて映像として表示される。
【0034】
このように、シリアルLVDSをカメラ映像伝送システムに適用しているので、パラレル信号を送受信する場合に比べて車両ハーネスの削減を実現することができる。特に、受信側27での同期はずれ発生の有無に関わらず送信側で定期的に同期パターン信号を送信するようにしているので、従来必要であった同期パターン要求信号S2用の専用伝送路を削減することができる。
【0035】
また、同期パターン信号の送信を映像無効期間Ingを利用して実行しているので、映像データ自体の伝送への影響を無くすことが可能である。
【0036】
【発明の効果】
請求項1及び請求項4に記載の発明によれば、カメラで撮像した映像を受信側に伝送し、当該受信側のディスプレイに表示させる際に、送信側(カメラ映像送信装置)のシリアライザがカメラからパラレル信号として与えられた垂直同期信号及び映像データをシリアル信号に変換してシリアル信号用のケーブルに送出するのに併せて、同期パターン信号を映像データの映像無効期間中に重畳してケーブルに送出するので、受信側での同期はずれ発生の有無に関わらず送信側で定期的に同期パターン信号をシリアル信号内に重畳して送信でき、従来必要であった同期パターン要求信号用の専用伝送路を削減しても、映像データ自体の伝送への影響を無くすことが可能である。そして、送信側から受信側にシリアル信号を送信するだけでよいので、パラレル信号を送受信する場合に比べて車両ハーネスの削減を実現することができる。
【0037】
請求項2及び請求項5に記載の発明によれば、シリアライザが、カメラからの送出要求に基づいて、同期パターン信号をシリアル信号内の映像データの映像無効期間中に重畳してケーブルに送出するので、従来必要であった同期パターン要求信号用の専用伝送路を削減しても、シリアライザから同期パターン信号を支障なくケーブルに伝送できる。
【0038】
請求項3及び請求項6に記載の発明によれば、送出要求が、カメラからの垂直同期信号であるので、専用の信号を送信する機能をカメラ側に内蔵する必要がなく、よって汎用のカメラを使用することができる点で便利である。
【図面の簡単な説明】
【図1】この発明の一の実施の形態に係るシリアルLVDSによるカメラ映像伝送システムを示すブロック図である。
【図2】カメラからシリアライザに与えられるパラレル信号の基本的な構成を示す図である。
【図3】自動車に取り付けられたカメラで周辺を視認する装置を示す模式図である。
【図4】従来のシリアルLVDSによるカメラ映像伝送システムを示す図である。
【符号の説明】
21 カメラ
22 シリアライザ
23 ケーブル
24 デシリアライザ
25 ディスプレイ
26 送信側
27 受信側
S3 同期パターン信号
Claims (6)
- カメラで撮像した映像を送信側から受信側に伝送し、当該受信側のディスプレイに表示するカメラ映像伝送システムであって、
前記送信側に搭載され、前記カメラからパラレル信号として与えられた垂直同期信号及び映像データをシリアル信号に変換してシリアル信号用のケーブルに送出するシリアライザと、
前記受信側に搭載され、前記ケーブルを通じて前記シリアライザから与えられたシリアル信号をパラレル信号に戻して前記ディスプレイに表示するデシリアライザと
を備え、
前記シリアライザが、同期パターン信号を前記映像データの映像無効期間中に重畳して前記ケーブルに送出し、
前記デシリアライザが、前記同期パターン信号に基づいて映像の同期はずれの有無を判断し、同期はずれがあった場合に、その同期はずれを解消するように信号調整を行うことを特徴とするカメラ映像伝送システム。 - 請求項1に記載のカメラ映像伝送システムであって、
前記シリアライザが、前記カメラからの送出要求に基づいて、前記同期パターン信号を前記シリアル信号内の前記映像データの映像無効期間中に重畳して前記ケーブルに送出することを特徴とするカメラ映像伝送システム。 - 請求項2に記載のカメラ映像伝送システムであって、
前記送出要求が、前記カメラからの前記垂直同期信号であることを特徴とするカメラ映像伝送システム。 - カメラで撮像した映像を受信側に伝送し、当該受信側のディスプレイに表示させるためのカメラ映像送信装置であって、
前記カメラからパラレル信号として与えられた垂直同期信号及び映像データをシリアル信号に変換してシリアル信号用のケーブルに送出するシリアライザを有し、
前記シリアライザが、同期パターン信号を前記映像データの映像無効期間中に重畳して前記ケーブルに送出することを特徴とするカメラ映像送信装置。 - 請求項4に記載のカメラ映像送信装置であって、
前記シリアライザが、前記カメラからの送出要求に基づいて、前記同期パターン信号を前記シリアル信号内の前記映像データの映像無効期間中に重畳して前記ケーブルに送出することを特徴とするカメラ映像送信装置。 - 請求項5に記載のカメラ映像送信装置であって、
前記送出要求が、前記カメラからの前記垂直同期信号であることを特徴とするカメラ映像送信装置。
Priority Applications (1)
| Application Number | Priority Date | Filing Date | Title |
|---|---|---|---|
| JP2002376885A JP2004208162A (ja) | 2002-12-26 | 2002-12-26 | カメラ映像伝送システム及びカメラ映像送信装置 |
Applications Claiming Priority (1)
| Application Number | Priority Date | Filing Date | Title |
|---|---|---|---|
| JP2002376885A JP2004208162A (ja) | 2002-12-26 | 2002-12-26 | カメラ映像伝送システム及びカメラ映像送信装置 |
Publications (1)
| Publication Number | Publication Date |
|---|---|
| JP2004208162A true JP2004208162A (ja) | 2004-07-22 |
Family
ID=32814217
Family Applications (1)
| Application Number | Title | Priority Date | Filing Date |
|---|---|---|---|
| JP2002376885A Pending JP2004208162A (ja) | 2002-12-26 | 2002-12-26 | カメラ映像伝送システム及びカメラ映像送信装置 |
Country Status (1)
| Country | Link |
|---|---|
| JP (1) | JP2004208162A (ja) |
Cited By (7)
| Publication number | Priority date | Publication date | Assignee | Title |
|---|---|---|---|---|
| JP2007228208A (ja) * | 2006-02-23 | 2007-09-06 | Clarion Co Ltd | 車両周囲監視装置 |
| US8054337B2 (en) | 2006-02-01 | 2011-11-08 | Samsung Electronics Co., Ltd. | Methods and apparatuses for serializing and/or deserializing video timing signals and parallel image data output from an image sensor |
| JP2011258210A (ja) * | 2004-12-24 | 2011-12-22 | Masahiro Izutsu | ハンドヘルド型情報処理装置 |
| JP2012505790A (ja) * | 2008-10-20 | 2012-03-08 | サバンジ・ウニヴェルシテシ | 車載カメラ |
| CN112689083A (zh) * | 2020-11-27 | 2021-04-20 | 深兰科技(上海)有限公司 | 车载摄像头配置方法、装置、电子设备和存储介质 |
| DE102022107388A1 (de) | 2021-04-02 | 2022-10-06 | Denso Corporation | Steuerung für fahrzeugeigene kamera |
| WO2024236998A1 (ja) * | 2023-05-17 | 2024-11-21 | 株式会社デンソー | 画像データ制御装置 |
-
2002
- 2002-12-26 JP JP2002376885A patent/JP2004208162A/ja active Pending
Cited By (9)
| Publication number | Priority date | Publication date | Assignee | Title |
|---|---|---|---|---|
| JP2011258210A (ja) * | 2004-12-24 | 2011-12-22 | Masahiro Izutsu | ハンドヘルド型情報処理装置 |
| US8054337B2 (en) | 2006-02-01 | 2011-11-08 | Samsung Electronics Co., Ltd. | Methods and apparatuses for serializing and/or deserializing video timing signals and parallel image data output from an image sensor |
| JP2007228208A (ja) * | 2006-02-23 | 2007-09-06 | Clarion Co Ltd | 車両周囲監視装置 |
| JP2012505790A (ja) * | 2008-10-20 | 2012-03-08 | サバンジ・ウニヴェルシテシ | 車載カメラ |
| CN112689083A (zh) * | 2020-11-27 | 2021-04-20 | 深兰科技(上海)有限公司 | 车载摄像头配置方法、装置、电子设备和存储介质 |
| CN112689083B (zh) * | 2020-11-27 | 2022-11-25 | 深兰科技(上海)有限公司 | 车载摄像头配置方法、装置、电子设备和存储介质 |
| DE102022107388A1 (de) | 2021-04-02 | 2022-10-06 | Denso Corporation | Steuerung für fahrzeugeigene kamera |
| US11812141B2 (en) | 2021-04-02 | 2023-11-07 | Denso Corporation | Controller for in-vehicle camera |
| WO2024236998A1 (ja) * | 2023-05-17 | 2024-11-21 | 株式会社デンソー | 画像データ制御装置 |
Similar Documents
| Publication | Publication Date | Title |
|---|---|---|
| US11877054B2 (en) | Vehicular vision system using image data transmission and power supply via a coaxial cable | |
| US6963968B2 (en) | Signal transmission device and method | |
| US10630940B2 (en) | Vehicular vision system with electronic control unit | |
| US11470233B2 (en) | Multi-camera synchronization through receiver hub back channel | |
| EP1533708A2 (en) | Signal transmitting apparatus and method | |
| JP2004208162A (ja) | カメラ映像伝送システム及びカメラ映像送信装置 | |
| CN104590124B (zh) | 一种基于无线的全景泊车辅助系统 | |
| US11936927B2 (en) | Transmission control system of multi-media signal, transmitter control circuit and receiver control circuit | |
| CN105100766A (zh) | 影像显示装置、影像切换装置以及影像显示方法 | |
| US20050073586A1 (en) | Digital camera interface | |
| US20060066725A1 (en) | Method and apparatus for controlling a video surveillance camera | |
| JPH04348674A (ja) | カメラコントロール装置、カメラコントロールユニットおよびビデオカメラ | |
| US20170085807A1 (en) | Video signal transmission system and display apparatus | |
| JP4725033B2 (ja) | 監視カメラシステム、カメラ及び監視カメラ制御方法 | |
| JP3717810B2 (ja) | 画像信号伝送システム | |
| WO2015133702A1 (ko) | 복수 이미지의 동기화 합성 시스템 및 동기화 합성 방법 | |
| US11329844B2 (en) | Selected mode signal forwarding between serially chained devices | |
| Römer et al. | Real-time camera link for driver assistance applications | |
| CN113470587A (zh) | 显示设备控制电路、显示主机设备及显示系统 | |
| KR101489272B1 (ko) | 신호발생 백업기능을 구비한 복수 이미지의 동기화 합성 시스템 | |
| CN118573748A (zh) | 数据传输装置、及数据传输方法 | |
| WO2018192585A1 (zh) | 传输方法和传输装置 | |
| KR20230097581A (ko) | 차량용 디스플레이 시스템 및 그의 타이밍 컨트롤러 | |
| JP3060713U (ja) | 監視カメラシステム | |
| JP2006128766A (ja) | 車載映像通信装置 |
Legal Events
| Date | Code | Title | Description |
|---|---|---|---|
| A621 | Written request for application examination |
Effective date: 20041217 Free format text: JAPANESE INTERMEDIATE CODE: A621 |
|
| A977 | Report on retrieval |
Effective date: 20061108 Free format text: JAPANESE INTERMEDIATE CODE: A971007 |
|
| A131 | Notification of reasons for refusal |
Effective date: 20061114 Free format text: JAPANESE INTERMEDIATE CODE: A131 |
|
| A02 | Decision of refusal |
Effective date: 20070306 Free format text: JAPANESE INTERMEDIATE CODE: A02 |