JP2004200375A - Semiconductor laser device and method of manufacturing the same - Google Patents

Semiconductor laser device and method of manufacturing the same Download PDF

Info

Publication number
JP2004200375A
JP2004200375A JP2002366571A JP2002366571A JP2004200375A JP 2004200375 A JP2004200375 A JP 2004200375A JP 2002366571 A JP2002366571 A JP 2002366571A JP 2002366571 A JP2002366571 A JP 2002366571A JP 2004200375 A JP2004200375 A JP 2004200375A
Authority
JP
Japan
Prior art keywords
semiconductor laser
semiconductor
layer
cladding layer
laser device
Prior art date
Legal status (The legal status is an assumption and is not a legal conclusion. Google has not performed a legal analysis and makes no representation as to the accuracy of the status listed.)
Pending
Application number
JP2002366571A
Other languages
Japanese (ja)
Inventor
Shinichi Takigawa
信一 瀧川
Current Assignee (The listed assignees may be inaccurate. Google has not performed a legal analysis and makes no representation or warranty as to the accuracy of the list.)
Panasonic Holdings Corp
Original Assignee
Matsushita Electric Industrial Co Ltd
Priority date (The priority date is an assumption and is not a legal conclusion. Google has not performed a legal analysis and makes no representation as to the accuracy of the date listed.)
Filing date
Publication date
Application filed by Matsushita Electric Industrial Co Ltd filed Critical Matsushita Electric Industrial Co Ltd
Priority to JP2002366571A priority Critical patent/JP2004200375A/en
Publication of JP2004200375A publication Critical patent/JP2004200375A/en
Pending legal-status Critical Current

Links

Images

Landscapes

  • Semiconductor Lasers (AREA)

Abstract

【課題】量子カスケードレーザを形成するには、原子レベルで膜厚制御された量子井戸を100層以上作製する必要があり、量産性が低かった。
【解決手段】量子カスケードレーザのポテンシャル井戸内に形成されるエネルギー準位が結晶成長面に平行な方向で変調されており、発光層内の電子または正孔は、前記結晶成長面に平行な方向に移動させる。これにより、従来結晶成長面に対して垂直に量子カスケード構造があったものを、結晶面に対して平行に量子カスケード構造を作製することができる。この構成によれば、少なくとも1回の原子レベルで制御された結晶成長があれば、量子カスケードレーザを製造することができる。
【選択図】 図1
[PROBLEMS] To form a quantum cascade laser, it is necessary to manufacture 100 or more quantum wells whose film thickness is controlled at the atomic level, and mass productivity is low.
An energy level formed in a potential well of a quantum cascade laser is modulated in a direction parallel to a crystal growth surface, and electrons or holes in a light emitting layer are modulated in a direction parallel to the crystal growth surface. Move to As a result, a quantum cascade structure can be produced parallel to the crystal plane, instead of the conventional structure having a quantum cascade perpendicular to the crystal growth plane. According to this configuration, a quantum cascade laser can be manufactured if there is at least one controlled crystal growth at the atomic level.
[Selection diagram] Fig. 1

Description

【0001】
【発明の属する技術分野】
本発明は、波長5〜20μmの中赤外波長のレーザ光を発振することのできる半導体レーザ装置に関するものである。
【0002】
【従来の技術】
半導体レーザは光ディスクや光通信に多用されている。そこで用いられる半導体レーザの発振波長は、1.55/1.3μm(光ファイバー通信用)、0.98μm(ファイバーアンプ用)、0.78μm(コンパクトディスク(CD)/ミニディスク(MD)用)、0.65μm(DVD用)、0.41μm(高密度DVD用)などであり、これらに用いる半導体材料やレーザ構造は、量産的にほぼ確立されたものになっている。一方、半導体レーザの発振可能な波長として、近年、3μm〜20μm近傍のいわゆる中赤外域が注目されてきた。この波長帯は、各種有機物の吸収波長を含んでいる。この波長帯の半導体レーザの実現により、例えば、大気分析や医療などの分野にセットを含めた新市場が開けると予想される。
【0003】
中赤外域の半導体レーザとしてこれまでバンドギャップの狭い材料を半導体レーザの活性層として用いるアプローチがなされていた。例えば、III−V族半導体(InGaAsSbなど)、IV−VI族半導体(PbTeSeなど)を用いた研究がなされている。しかしながら、III−V族半導体は物性的にオージェ再結合を有し、しかも、そのオージェ再結合はバンドギャップの狭化により著しく増加する。このため非発光再結合が増加、しきい値電流の急増が生じレーザ発振が困難となる。また、IV−VI族半導体はクラッド層に十分バンドギャップの大きな材料を持ってくることができず、伝導帯(価電子帯)ヘテロ界面におけるヘテロ障壁(ΔEc,ΔEv)を大きくとることができない。このため活性層からクラッド層へのキャリアリークが非常に多い。これら(狭バンドギャップ)III−V族/IV−VI族半導体は材料の有する欠点のため、温度が室温近くになるとレーザ発振が極めて困難になる。このため、3〜20μm帯においての半導体レーザの発振は低温(およそ100〜200ケルビン)でしか得られず、一般的な産業応用に用いることが困難であった。
【0004】
一方、これに対し、新しい半導体レーザの発光メカニズムとして、近年、量子カスケードレーザ(Quantum Cascade Laser:以下、QCレーザと略す)が実現された(Jerome Faist et al., "Quantum Cascade Laser", Science, vol.264, p.553, 1994)。従来の半導体発光素子(半導体レーザ、発光ダイオードなど)は、活性層を構成する半導体材料のバンド間発光(伝導帯にある電子が、価電子帯にある正孔と再結合し、伝導体と価電子帯のエネルギー差を有する光子を放出)を用いている。
【0005】
図15にQCレーザの代表的な構造を示す(例えば、非特許文献1参照)。
【0006】
図15において、n型InP基板81上に、n-InP第1クラッド層82、InGaAs量子井戸層83、84、AlInAs量子障壁層85、n-InP第2クラッド層86、InGaAsコンタクト層87が形成されている。発光部以外は、絶縁性InP埋込層88が形成されている。そしてAuGe電極89、90が形成されている。本QCレーザは、量子井戸層84の伝導帯内にできる複数の量子準位において、エネルギの高い準位(準位A)に存在する電子が、エネルギーの低い準位(準位B)に遷移する、所謂サブバンド遷移により発光するものである。このため、前述のようなオージェ再結合が生じることもなく、また、半導体超格子の材料を適当に選ぶことによりヘテロ障壁を大きくすることができ、従来の3〜20μm帯半導体レーザの課題を一挙に解決することができる。この発光する量子井戸のある領域を発光領域と呼ぶ。一方、発光が完了した電子は量子井戸層83において、次段の発光領域に形成された準位Aに注入される。この伝導帯の高い準位に電子を移動させる領域を注入領域と呼ぶ。
【0007】
【非特許文献1】
Mattias Beck et.al., "Continuous Wave Operation of a Mid-Infrared Semiconductor Laser at Room Temperature", Science vol.295, p.301
【0008】
【発明が解決しようとする課題】
図15においては注入領域、発光領域は量子井戸を1層として描いているが、実際のデバイスでは発光領域、注入領域ともに5〜10層の超格子(量子井戸と量子障壁)から構成される。また、QCレーザは発光が終了した電子が正孔との再結合で消失することなく、再び注入層に入れ高い準位に入れることにより再び発光に寄与することができるので、1個の電子が多数の光子を放出する。従って、注入領域と発光領域の対が多いほど、スロープ効率は向上する(例えば、F.Capasso et al., IEEE Journal on Selected Topics in Quantum Electronics, vol.6, No.6, p.931 (2000)) 。
【0009】
このため、QCレーザでは通常注入領域と発光領域の対としては20〜30対が用いられる。したがって層数としては、(注入層5〜10層+発光層5〜10層)x(20〜30ステージ)=200〜600層になる。このような層数を各層原子レベル(数〜十数nm)で作製することは、実験的に可能であっても、量産性よく各層設計通りに作製することは極めて困難である。各層のばらつきは量子準位のばらつきを起こし、光利得の低下、言い換えればしきい値電流の増加や、発振波長の不安定性を引き起こし、量産の面からは課題があった。
【0010】
【課題を解決するための手段】
上記課題を解決するために、本発明の請求項1記載の半導体レーザ装置は、ポテンシャル井戸内に形成された特定のエネルギー準位間を電子または正孔がエネルギー遷移することで光子を放出し、かつ、1つの電子または正孔に対して前記エネルギー遷移過程が複数回存在する半導体レーザにおいて、発光領域は、結晶成長面に平行な方向に複数のポテンシャル井戸を有し、前記ポテンシャル井戸内に形成されるエネルギー準位が前記結晶成長面に平行な方向で変調されており、発光層内の電子または正孔は、前記結晶成長面に平行な方向に移動することを特徴としたものである。
【0011】
これにより、従来結晶成長面に対して垂直に量子カスケード構造があったものを、結晶面に対して平行に量子カスケード構造を作製することができる。すなわち、少なくとも1回の原子レベルで制御された結晶成長があれば、QCレーザを作製することができ、従来のような、100層以上の原子レベル結晶成長を必要としない。
【0012】
特に、本発明の請求項2に記載の半導体レーザ装置に示すように、発光領域のポテンシャル井戸として量子細線を用いていれば、ポテンシャル井戸内に、サブバンド間遷移に適した量子準位を形成することができる。
【0013】
更に、本発明の請求項3に記載の半導体レーザ装置に示すように、発光領域のポテンシャル井戸として量子ドットを用いていれば、量子細線の最小線幅に比べて、より大きなサイズで量子準位を形成することが出来、作製が容易となる。
【0014】
また、本発明の請求項4に記載の半導体レーザ装置に示すように、発光層に隣接する半導体のうち、結晶面に平行に発光層を挟む領域は絶縁性半導体となっていることが望ましい。これにより、結晶面に平行に電子(または正孔)を効率的に流すことができる。
【0015】
更に、本発明の請求項5に記載の半導体レーザ装置に示すように、発光層として二層以上から構成されており、前記各発光層において電子または正孔が結晶成長面に平行な方向に移動することが望ましい。これにより、同一電圧値において、層数にほぼ比例して光子をより多く放出させることができ、高出力化に適する。
【0016】
次に、本発明の請求項6に記載の半導体レーザ装置に示すように、このようなQCレーザにおいて、同一表面にプラス電極とマイナス電極を有することができる。これにより、レーザ裏面からワイヤーボンド等で電極を取る必要がなく、実装工程を容易化する。
【0017】
さらに、本発明の請求項7に記載の半導体レーザ装置に示すように、絶縁性基板を用いることにより、寄生容量を取り除くことができ、高速動作が可能となる。
【0018】
次に、本発明の請求項8に記載の半導体レーザ装置の製造方法は、基板上に、第1の導電性クラッド層と第1の絶縁性クラッド層を形成する工程と、前記第1の絶縁性クラッド層上にフォトリソグラフィ工程で形成した超格子カスケード構造部を有する活性層を形成する工程と、前記活性層上に第2の絶縁性クラッド層と第2の導電性クラッド層を形成する工程を有することを特徴とするものである。このようなQCレーザにおいては、半導体工程で頻繁に使用されるフォトリソグラフィを用いて量子細線や量子ドットの形状の変化、すなわち、ポテンシャル井戸に形成されるエネルギー準位の変調を決定することができる。したがって、そのエネルギー準位の変調がマスク1枚で決まり、QCレーザの作製が容易になる。
【0019】
その場合、本発明の請求項9に記載の半導体レーザ装置の製造方法に示すように、フォトリソグラフィの光源としてX線を用いることが望ましい。X線は波長が0.1〜1nmであるので、極めて精密に量子細線・量子ドット形状を作製できる。
【0020】
さらに、本発明の請求項10に記載の半導体装置レーザ装置の製造方法に示すように、前記超格子カスケード構造部は1回のフォトリソグラフィ工程で形成されることが望ましい。この方法によれば、ポテンシャル井戸を形成する半導体の複数部分が一度に形成され、また前記ポテンシャル井戸を囲むポテンシャル障壁を形成する半導体の複数部分も一度に形成され、これにより、各ポテンシャル井戸間およびポテンシャル障壁間の半導体組成変動がなくなり、組成変動に起因した設計とのずれ(発振波長ばらつきなど)を抑制することができる。
【0021】
次に、本発明の請求項11に記載の半導体装置レーザ装置の製造方法は、基板上に、第1の絶縁性クラッド層を形成する工程と、前記第1の絶縁性クラッド層上にフォトリソグラフィ工程で形成した超格子カスケード構造部を有する活性層を形成する工程と、前記活性層上に第2の絶縁性クラッド層を形成する工程と、前記第1の絶縁性クラッド層及び前記第2の絶縁性クラッド層の一部であって前記活性層の発光領域に電子または正孔を流し込む部分および流し出す部分を導電性に変える工程とを有することを特徴とするものである。この方法によれば、結晶成長の段階では発光層に接する層は絶縁性半導体とし、前記絶縁性半導体のうち、発光領域に電子または正孔を流し込む部分および流し出す部分を導電性に変えるので、効率よく、活性層に電子を注入し、また活性層から取り出すことができる。
【0022】
次に、本発明の請求項12に記載の半導体装置レーザ装置の製造方法は、前記導電性に変える手法として、熱拡散またはイオン注入を用いることが望ましい。これらの手法は、広く用いられている半導体プロセスであり、特殊な製造装置を必要としない。
【0023】
【発明の実施の形態】
以下、実施の形態を用いて本発明をさらに具体的に説明する。
【0024】
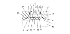
図1(a)は本発明の第1の実施の形態における半導体レーザ装置の断面図(共振器に垂直方向)である。n-InP基板1上に絶縁性InP第1クラッド層2および導電性InP第1クラッド層3が形成されている。これらの第1クラッド層の上部には、InGaAs井戸部5(In組成60%)とAlInAs障壁部6(In組成40%)から構成される超格子カスケード構造部を含む活性層4が形成されている(活性層4で井戸部5、障壁部6以外はAlInAs(In組成40%))。InGaAs井戸部5、AlInAs障壁部6の幅は場所によって異なり、注入領域12、発光領域13に最適な量子準位を形成するようになっている。活性層4上には絶縁性InP第2クラッド層7および導電性InP第2クラッド層8が形成されている。第2クラッド層7、8上には導電性InGaAsコンタクト層9(In組成60%)およびAuGe電極10が形成されている。また基板1の裏面にもAuGe電極11が形成されている。
【0025】
本実施の形態においては電流は電極10、11間に流す。例えば電極11をマイナス、電極10をプラスにした時、電子は導電領域3から活性層4に注入され、注入領域12、発光領域13で構成される超格子カスケード構造部でサブバンド遷移を行い発光した後、活性層4から導電領域8に注入される。本レーザの電流光出力特性を図1(b)に示す。測定は25℃、連続発振で行った。しきい値電流は約0.2mAと極めて小さい。これは電流が流れる断面積が極めて小さいためである。光出力は1mW以上得られ、スロープ効率は約0.2W/Aであった。発振スペクトルを図1(c)に示す。レーザ発振はサブバンド間遷移で生じており、発振波長は約9μmである。
【0026】
図2〜図6は、本半導体レーザの作製方法を示す。n-InP基板1に有機金属気相成長法(MOCVD)を用いて、Feドープ絶縁性InP第1クラッド層2を厚み3μm結晶成長させる(図2(a))。その後、フォトリソグラフィを用いて絶縁性InPとして残す部分を覆った後、イオン注入法を用いて、Siをイオン注入し導電性InP第1クラッド層3を形成する(図2(b))。次にMOCVDを用いて、InGaAs5(In組成60%)を厚さ5nmだけ結晶成長させる(図3(c))。その表面にSiO2を形成した後、フォトリソグラフィを用いて、カスケード構造における井戸部分に相当する部分のみSiO2ストライプ21を残す(図3(d))。この井戸部分を残すフォトリソグラフィの光源としては、電子の放射光を利用したX線(波長0.1nm)を用いた。本図では簡単のため、InGaAsを残す部分として、SiO2ストライプを5ライン形成しているが、実デバイスではSiO2ストライプを以下のように残した。
【0027】
注入領域:(単位nm、()内は間隔)
2.1+(1.2)+6.5+(1.2)+5.3+(2.3)
発光領域:(単位nm、()内は間隔)
4.0+(1.1)+3.6+(1.2)+3.0+(1.6)
つまり、この注入領域/発光領域の一組あたり、6本のSiO2ストライプ21が残る。今回30組の注入/発光領域が順次並ぶようにしたので、180本のSiO2ストライプ21が残る。フォトリソグラフィを用いてこのカスケード構造の幅を決めているので、極めて容易かつ自由に形成できる。つまり従来、QCレーザの電子が順次発光するカスケード方向は、結晶成長面に垂直であったため、QCレーザ構造は結晶成長で決まっていたものが、今回のQCレーザ構造はフォトリソグラフィで決めることができる。
【0028】
この後、クエン酸系のウエットエッチングを用いてSiO2ストライプ21でマスクされていないInGaAsを選択除去した(図4(e))。次に、MOCVDの選択成長を用いて、SiO2ストライプ21がマスクしていない場所にのみ、活性層4(井戸部5を除く)およびAlInAs障壁部6を形成する(図4(f))。
【0029】
これらのIn組成は、同一の結晶成長で行うので、活性層4(井戸部5を除く)および障壁部6ともにIn組成は40%である。しかる後にSiO2ストライプ21を弗酸系エッチャントで除去する(図5(g))。次にMOCVDを用いて、絶縁性InP第2クラッド層7を形成する(図5(h))。そして図3(c)同様、フォトリソグラフィとイオン注入を用いて、導電性InP第2クラッド層8を形成する(図6(i))(この導電性第2クラッド層を形成するのは、InGaAsコンタクト層9を形成した後でもよい)。
【0030】
最後にMOCVDでInGaAsコンタクト層9(In組成60%)を形成した後、AuGe電極10、11を形成する。そしてウエハーをへき開し、レーザが完成する。共振器長は1mm、幅300μmである。
【0031】
図7は本発明の第2の実施の形態における半導体レーザ装置の断面図(共振器に垂直方向)である。絶縁性InP基板30上に絶縁性InP第1クラッド層2が形成されている。この第1クラッド層の上部には、InGaAs井戸部5(In組成60%)とAlInAs障壁部6(In組成40%)から構成される超格子カスケード構造を含む活性層4が形成されている。
【0032】
InGaAs井戸部5、AlInAs障壁部6の幅は場所によって異なり、注入領域12、発光領域13に最適な量子準位を形成するようになっている。
【0033】
なお発光領域内の超格子カスケード構造部以外の材料は障壁部6同様にAlInAs(In組成40%)である。活性層4上には絶縁性InP第2クラッド層7が形成されている。第2クラッド層7上には絶縁性InGaAsコンタクト層31(In組成60%)が形成されている。
【0034】
クラッド層、コンタクト層にはSiを熱拡散した導電領域35、36が、注入領域12/発光領域13の両側に形成されている。導電領域35、36の表面にはAuGe電極32、33が分離されて形成されている。なお基板1の裏面は電極は形成されていない。
【0035】
本実施の形態においては電流は電極32、33間に流す。例えば電極32をマイナス、電極33をプラスにした時、電子はSiイオンが熱拡散され導電性となった領域35から活性層4に注入され、カスケード部12、13でサブバンド遷移を行い発光した後、活性層4から導電領域36に注入される。
【0036】
本構造は、実施の形態1と異なり、同一面の電極32、33から電気的接続が取れるので実装が容易である。
【0037】
本レーザのしきい値電流は0.2mA、最大出力は室温パルス動作で10mWであった。なお、発振波長は約9μmである。この第2の実施の形態の場合、電極は表面のみであるので、実装が容易である(ワイヤーボンドが不要)。
【0038】
また、絶縁性基板30を用いたことで寄生容量が低減され、10GHz以上まで変調可能であった。
【0039】
図8〜図11は、本半導体レーザの作製方法を示す。絶縁性InP基板30に有機金属気相成長法(MOCVD)を用いて、絶縁性InP第1クラッド層2を厚み3μm、InGaAs5(In組成60%)を厚さ5nmだけ結晶成長させる(図8(a))。
【0040】
その表面にSiO2を形成した後、ホトリソグラフィを用いて、カスケード構造における井戸部分に相当する部分のみSiO2ストライプ21を残す(図8(b))。
【0041】
本図では簡単のため、InGaAsを残す部分として、SiO2ストライプを5ライン形成しているが、実デバイスではSiO2ストライプを以下のように残した。
【0042】
注入領域:(単位nm、()内は間隔)
2.1+(1.2)+6.5+(1.2)+5.3+(2.3)
発光領域:(単位nm、()内は間隔)
4.0+(1.1)+3.6+(1.2)+3.0+(1.6)
つまり、この注入領域/発光領域の一組あたり、6本のSiO2ストライプ21が残る。今回30組の注入/発光領域が順次並ぶようにしたので、180本のSiO2ストライプ21が残る。フォトリソグラフィを用いてこのカスケード構造の幅を決めているので、極めて容易かつ自由に形成できる。
【0043】
つまり従来、QCレーザの電子が順次発光するカスケード方向は、エピ面に垂直であったため、QCレーザ構造は結晶成長で決まっていたものが、今回のQCレーザ構造はフォトリソグラフィで決めることができる。
【0044】
この後、クエン酸系のウエットエッチングを用いてSiO2ストライプ21でマスクされていないInGaAsを選択除去した(図9(c))。
【0045】
次に、MOCVDの選択成長を用いて、SiO2ストライプ21がマスクしていない場所にのみ、活性層4(井戸部5を除く)およびAlInAs障壁部6を形成する(図9(d))。これらのIn組成は、同一の結晶成長で行うので、ともにIn組成は40%である。
【0046】
しかる後にSiO2ストライプ21を弗酸系エッチャントで除去する(図10(e))。
【0047】
次にMOCVDを用いて、絶縁性InP第2クラッド層7、 絶縁性InGaAsコンタクト層31(In組成60%)を形成する(図10(f))。
【0048】
次にフォトリソグラフィを用い、Siの熱拡散により、導電部35、36を形成する(図11(g))。さらにフォトリソグラフィを用いて、AuGe電極32、33を形成する(図11(h))。そしてウエハーをへき開し、レーザが完成する。
【0049】
第2の実施の形態は第1の実施の形態に比べ、結晶成長の回数が少なくプロセスが容易であるという特徴を有する。
【0050】
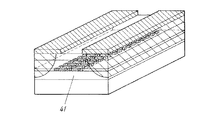
図12は本発明の第3の実施の形態である。基本的な構造(電流の流れる経路など)は図7と同じであるが、量子細線の代わりに量子ドット41を用いている(図では多数形成される量子ドットを簡略化して記載している)。
【0051】
量子ドット41はへき開面に平行な方向(各ドット内の電流が流れる長さ方向)に長さが変わっている。幅としては
注入領域:(単位nm、()内は間隔)
4.1+(2.2)+8.5+(2.2)+7.3+(4.3)
発光領域:(単位nm、()内は間隔)
6.0+(3.1)+5.6+(3.2)+5.0+(3.6)
を用いた。
【0052】
なおへき開面に垂直方向の量子ドットの幅(各ドット内の電流が流れ込む幅)は5nmとした。
【0053】
量子ドットにすることにより、同じ量子準位を形成するのに必要なサイズを量子細線より大きくすることができ(例えば、形状寸法の最小値は、量子細線が1.1nmに対し(第1、第2の実施の形態)、量子ドットでは2.2nmで同機能を達成する)、作製が容易になる。
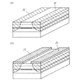
【0054】
この量子ドットの製法は、基本的に第2の実施の形態(図8〜図11)に示したものと同じであるが、井戸部のSiO2マスク42のフォトリソグラフィパターンを角状にし、SiO2ストライプを作製した図9(c)の代わりにSiO2マスクパターンを図13(a)のようにドット状に変更する。
【0055】
この結果、障壁部を含む活性層43を埋め込みSiO2を除去した後は、図13(b)のようになる。この後は、図10(f)〜図11(h)と同工程になる。
【0056】
本発明の第4の実施の形態を図14に示す。絶縁性InP中間層51を介して、第2活性層52が形成されており、その内部には第2InGaAs井戸部53、第2AlInAs障壁部54が形成されている(ともに紙面に垂直方向の量子細線)。このようにカスケード構造を2層にすることにより、より多くの電子を発光に寄与させることができ、高出力化できる。具体的には、本レーザ構造では、第1の実施の形態に比べて、同一印加電圧値に対して2倍の電流を流すことができ、約2倍の光出力が得られた。本実施の形態ではカスケード構造は2層としたが、3層以上にしてもよい。
【0057】
【発明の効果】
以上の実施の形態1〜4における共通な特徴をまとめて述べる。従来はエピ膜を堆積することでカスケード構造を作っていた。このため、結晶成長が非常な手間であるだけでなく、結晶成長中の各膜の組成が互いに僅かに異なり、発振波長のばらつきとなっていた。
【0058】
本発明の構造では、井戸部/障壁部の各結晶組成が、各部内のどの二つをとっても同一である。このため、カスケード動作における波長変動などを抑制することができ優れたレーザ特性を得ることができる。例えば従来のQCレーザでは、組成のばらつきのため、マルチ縦モード発振をすることが多かった。本発明の構造では、第1〜4の実施の形態ともに超格子内の組成変動がまったくないので、シングル縦モードを得ることができる等、多くの利点を有するものである。
【図面の簡単な説明】
【図1】(a)本発明の第1の実施の形態における半導体レーザ装置の断面図
(b)本発明の第1の実施の形態における半導体レーザ装置の電流光出力特性図
(c)本発明の第1の実施の形態における半導体レーザ装置の発振波長スペクトル図
【図2】(a)本発明の第1の実施の形態における半導体レーザの製造方法を示す図
(b)本発明の第1の実施の形態における半導体レーザの製造方法を示す図
【図3】(c)本発明の第1の実施の形態における半導体レーザの製造方法を示す図
(d)本発明の第1の実施の形態における半導体レーザの製造方法を示す図
【図4】(e)本発明の第1の実施の形態における半導体レーザの製造方法を示す図
(f)本発明の第1の実施の形態における半導体レーザの製造方法を示す図
【図5】(g)本発明の第1の実施の形態における半導体レーザの製造方法を示す図
(h)本発明の第1の実施の形態における半導体レーザの製造方法を示す図
【図6】(i)本発明の第1の実施の形態における半導体レーザの製造方法を示す図
(j)本発明の第1の実施の形態における半導体レーザの製造方法を示す図
【図7】本発明の第2の実施の形態における半導体レーザ装置の断面図
【図8】(a)本発明の第2の実施の形態における半導体レーザ装置の製造方法を示す図
(b)本発明の第2の実施の形態における半導体レーザ装置の製造方法を示す図
【図9】(c)本発明の第2の実施の形態における半導体レーザ装置の製造方法を示す図
(d)本発明の第2の実施の形態における半導体レーザ装置の製造方法を示す図
【図10】(e)本発明の第2の実施の形態における半導体レーザ装置の製造方法を示す図
(f)本発明の第2の実施の形態における半導体レーザ装置の製造方法を示す図
【図11】(g)本発明の第2の実施の形態における半導体レーザ装置の製造方法を示す図
(h)本発明の第2の実施の形態における半導体レーザ装置の製造方法を示す図
【図12】本発明の第3の実施の形態における半導体レーザ装置の断面図
【図13】(a)本発明の第3の実施の形態における半導体レーザ装置の製造方法を示す図
(b)本発明の第3の実施の形態における半導体レーザ装置の製造方法を示す図
【図14】本発明の第4の実施の形態における半導体レーザ装置の断面図
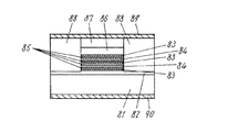
【図15】従来の半導体レーザ装置の断面図
【符号の説明】
1、81 n-InP基板
2 絶縁性InP第1クラッド層
3 導電性InP第1クラッド層
4 AlInAs活性層(InGaAs井戸部5とAlInAs障壁部6を含む)
5 InGaAs井戸部
6 AlInAs障壁部
7 絶縁性InP第2クラッド層
8 導電性InP第2クラッド層
9 導電性InGaAsコンタクト層
10、11、32、33、89、90 AuGe電極
12 注入領域
13 発光領域
21、42 SiO2マスク
30 絶縁性InP基板
31 絶縁性InGaAsコンタクト層
35、36 Si熱拡散導電部
41 量子ドット
43 障壁部を含む活性層
51 絶縁性InP中間層
52 第2活性層
53 第2InGaAs井戸部
54 第2AlInAs障壁部
82 n-InP第1クラッド層
83、84 InGaAs量子井戸層
85 AlInAs量子障壁層
86 n-InP第2クラッド層
87 n-InGaAsコンタクト層
88 絶縁性InP埋込層
[0001]
TECHNICAL FIELD OF THE INVENTION
The present invention relates to a semiconductor laser device that can oscillate a laser beam having a mid-infrared wavelength of 5 to 20 μm.
[0002]
[Prior art]
Semiconductor lasers are frequently used for optical disks and optical communications. The oscillation wavelength of the semiconductor laser used there is 1.55 / 1.3 μm (for optical fiber communication), 0.98 μm (for fiber amplifier), 0.78 μm (for compact disk (CD) / mini disk (MD)), 0.65 μm (for DVD), 0.41 μm (for high-density DVD), etc., and the semiconductor material and laser structure used for these are almost established in mass production. On the other hand, as a wavelength at which a semiconductor laser can oscillate, a so-called mid-infrared region around 3 μm to 20 μm has recently attracted attention. This wavelength band includes absorption wavelengths of various organic substances. The realization of a semiconductor laser in this wavelength band is expected to open a new market including a set in fields such as atmospheric analysis and medical care.
[0003]
As a semiconductor laser in the mid-infrared region, an approach using a material having a narrow band gap as an active layer of the semiconductor laser has been used. For example, studies using III-V group semiconductors (such as InGaAsSb) and IV-VI group semiconductors (such as PbTeSe) have been made. However, III-V semiconductors physically have Auger recombination, and the Auger recombination increases significantly due to the narrowing of the band gap. For this reason, non-radiative recombination increases and a threshold current rapidly increases, making laser oscillation difficult. Further, the IV-VI group semiconductor cannot bring a material having a sufficiently large band gap to the cladding layer, and cannot make the hetero barrier (ΔEc, ΔEv) large at the conduction band (valence band) hetero interface. Therefore, carrier leakage from the active layer to the cladding layer is extremely large. These (narrow band gap) III-V / IV-VI semiconductors have defects in the material, so that laser oscillation becomes extremely difficult when the temperature approaches room temperature. For this reason, oscillation of the semiconductor laser in the 3 to 20 μm band can be obtained only at a low temperature (about 100 to 200 Kelvin), and it has been difficult to use the laser for general industrial applications.
[0004]
On the other hand, in recent years, a quantum cascade laser (hereinafter abbreviated as QC laser) has been realized as a new semiconductor laser emission mechanism (Jerome Faist et al., "Quantum Cascade Laser", Science, vol.264, p.553, 1994). Conventional semiconductor light-emitting devices (semiconductor lasers, light-emitting diodes, and the like) emit light between bands of a semiconductor material constituting an active layer (electrons in a conduction band recombine with holes in a valence band to form a conductor and a valence). (Emission of photons having an electron band energy difference).
[0005]
FIG. 15 shows a typical structure of a QC laser (for example, see Non-Patent Document 1).
[0006]
15, an n-InP first cladding layer 82, InGaAs quantum well layers 83 and 84, an AlInAs quantum barrier layer 85, an n-InP second cladding layer 86, and an InGaAs contact layer 87 are formed on an n-type InP substrate 81. Have been. Except for the light emitting portion, an insulating InP buried layer 88 is formed. Then, AuGe electrodes 89 and 90 are formed. In the QC laser, in a plurality of quantum levels formed in the conduction band of the quantum well layer 84, electrons existing at a high energy level (level A) transition to a low energy level (level B). That is, light is emitted by a so-called sub-band transition. Therefore, the above-described Auger recombination does not occur, and the hetero barrier can be increased by appropriately selecting the material of the semiconductor superlattice. Can be solved. The region where the quantum well emits light is called a light emitting region. On the other hand, the electrons that have emitted light are injected into the quantum well layer 83 at the level A formed in the next-stage light emitting region. The region where electrons move to a higher level in the conduction band is called an injection region.
[0007]
[Non-patent document 1]
Mattias Beck et.al., "Continuous Wave Operation of a Mid-Infrared Semiconductor Laser at Room Temperature", Science vol.295, p.301
[0008]
[Problems to be solved by the invention]
In FIG. 15, the injection region and the light emitting region are drawn as a single quantum well, but in an actual device, both the light emitting region and the injection region are composed of 5 to 10 layers of superlattices (quantum well and quantum barrier). In addition, the QC laser can contribute to light emission again by putting it again into the injection layer and entering a higher level without losing the light-emitted electrons due to recombination with holes. Emit many photons. Therefore, as the number of pairs of the injection region and the emission region increases, the slope efficiency improves (for example, F. Capasso et al., IEEE Journal on Selected Topics in Quantum Electronics, vol. 6, No. 6, p. 931 (2000)). ))
[0009]
For this reason, in a QC laser, 20 to 30 pairs are usually used as pairs of an injection region and a light emitting region. Therefore, the number of layers is (5 to 10 injection layers + 5 to 10 light emitting layers) × (20 to 30 stages) = 200 to 600 layers. It is extremely difficult to fabricate such a number of layers at the atomic level of each layer (several to several tens of nm), even if it is possible experimentally, with good mass productivity and to design each layer. Variations in each layer cause variations in quantum levels, lowering optical gain, in other words, increasing threshold current and causing instability in oscillation wavelength, and there is a problem in terms of mass production.
[0010]
[Means for Solving the Problems]
In order to solve the above problem, a semiconductor laser device according to claim 1 of the present invention emits photons by performing energy transition of electrons or holes between specific energy levels formed in a potential well, In a semiconductor laser in which the energy transition process exists a plurality of times for one electron or hole, the light emitting region has a plurality of potential wells in a direction parallel to a crystal growth surface, and is formed in the potential well. The energy level is modulated in a direction parallel to the crystal growth surface, and electrons or holes in the light emitting layer move in a direction parallel to the crystal growth surface.
[0011]
As a result, a quantum cascade structure can be produced parallel to the crystal plane, instead of the conventional structure having a quantum cascade perpendicular to the crystal growth plane. That is, if there is at least one crystal growth controlled at the atomic level, a QC laser can be manufactured, and the conventional 100-layer or more atomic-level crystal growth is not required.
[0012]
In particular, as shown in the semiconductor laser device according to the second aspect of the present invention, when a quantum wire is used as a potential well of a light emitting region, a quantum level suitable for intersubband transition is formed in the potential well. can do.
[0013]
Furthermore, as shown in the semiconductor laser device according to the third aspect of the present invention, if quantum dots are used as potential wells in the light emitting region, the quantum level becomes larger than the minimum line width of the quantum wires. Can be formed, and the fabrication becomes easy.
[0014]
Further, as shown in a semiconductor laser device according to a fourth aspect of the present invention, it is preferable that, of the semiconductors adjacent to the light emitting layer, a region sandwiching the light emitting layer in parallel with the crystal plane is an insulating semiconductor. This allows electrons (or holes) to flow efficiently parallel to the crystal plane.
[0015]
Furthermore, as shown in the semiconductor laser device according to claim 5 of the present invention, the light emitting layer is composed of two or more layers, and in each of the light emitting layers, electrons or holes move in a direction parallel to the crystal growth surface. It is desirable to do. Thus, at the same voltage value, more photons can be emitted almost in proportion to the number of layers, which is suitable for high output.
[0016]
Next, as shown in a semiconductor laser device according to a sixth aspect of the present invention, such a QC laser can have a positive electrode and a negative electrode on the same surface. This eliminates the need to remove electrodes from the laser back surface by wire bonding or the like, and facilitates the mounting process.
[0017]
Further, as shown in a semiconductor laser device according to a seventh aspect of the present invention, by using an insulating substrate, a parasitic capacitance can be removed, and high-speed operation can be performed.
[0018]
Next, in the method of manufacturing a semiconductor laser device according to claim 8 of the present invention, a step of forming a first conductive cladding layer and a first insulating cladding layer on a substrate; Forming an active layer having a superlattice cascade structure formed by a photolithography process on a conductive cladding layer, and forming a second insulating cladding layer and a second conductive cladding layer on the active layer Which is characterized by having In such a QC laser, a change in the shape of a quantum wire or a quantum dot, that is, modulation of an energy level formed in a potential well can be determined by using photolithography frequently used in a semiconductor process. . Therefore, the modulation of the energy level is determined by one mask, which facilitates fabrication of a QC laser.
[0019]
In this case, as described in the method of manufacturing a semiconductor laser device according to claim 9 of the present invention, it is desirable to use X-rays as a light source for photolithography. Since the X-ray has a wavelength of 0.1 to 1 nm, it is possible to produce a quantum wire / quantum dot shape very precisely.
[0020]
Further, as described in the method of manufacturing a semiconductor device laser device according to claim 10 of the present invention, it is preferable that the superlattice cascade structure is formed by one photolithography process. According to this method, a plurality of portions of the semiconductor forming the potential well are formed at a time, and a plurality of portions of the semiconductor forming the potential barrier surrounding the potential well are formed at the same time. Variations in semiconductor composition between the potential barriers are eliminated, and deviation from the design (such as oscillation wavelength variation) due to the composition variation can be suppressed.
[0021]
Next, a method of manufacturing a semiconductor device laser device according to claim 11 of the present invention includes a step of forming a first insulating cladding layer on a substrate and a step of photolithography on the first insulating cladding layer. Forming an active layer having the superlattice cascade structure formed in the step, forming a second insulating cladding layer on the active layer, forming the first insulating cladding layer and the second insulating cladding layer on the active layer. A step of converting a portion of the insulating cladding layer into or out of the active layer into which electrons or holes flow and into which electrons or holes flow, to conductivity. According to this method, at the stage of crystal growth, the layer that is in contact with the light emitting layer is an insulating semiconductor, and among the insulating semiconductors, the part that flows electrons or holes into the light emitting region and the part that flows out of the insulating semiconductor are made conductive. Electrons can be efficiently injected into and extracted from the active layer.
[0022]
Next, in the method of manufacturing a semiconductor device laser device according to a twelfth aspect of the present invention, it is desirable to use thermal diffusion or ion implantation as a method of changing the conductivity. These methods are widely used semiconductor processes and do not require special manufacturing equipment.
[0023]
BEST MODE FOR CARRYING OUT THE INVENTION
Hereinafter, the present invention will be described more specifically with reference to embodiments.
[0024]
FIG. 1A is a sectional view (in a direction perpendicular to the resonator) of the semiconductor laser device according to the first embodiment of the present invention. An insulating InP first cladding layer 2 and a conductive InP first cladding layer 3 are formed on an n-InP substrate 1. An active layer 4 including a superlattice cascade structure composed of an InGaAs well 5 (In composition 60%) and an AlInAs barrier 6 (In composition 40%) is formed on the first cladding layer. (AlInAs (In composition: 40%) except for the well 5 and the barrier 6 in the active layer 4). The widths of the InGaAs well portion 5 and the AlInAs barrier portion 6 differ depending on the location, and form an optimum quantum level in the injection region 12 and the light emitting region 13. On the active layer 4, an insulating InP second cladding layer 7 and a conductive InP second cladding layer 8 are formed. A conductive InGaAs contact layer 9 (In composition 60%) and an AuGe electrode 10 are formed on the second cladding layers 7 and 8. An AuGe electrode 11 is also formed on the back surface of the substrate 1.
[0025]
In the present embodiment, a current flows between the electrodes 10 and 11. For example, when the electrode 11 is negative and the electrode 10 is positive, electrons are injected from the conductive region 3 into the active layer 4, and a sub-band transition is performed in the superlattice cascade structure composed of the injection region 12 and the light emitting region 13 to emit light After that, the active layer 4 is injected into the conductive region 8. FIG. 1B shows the current light output characteristics of this laser. The measurement was performed at 25 ° C. and continuous oscillation. The threshold current is extremely small, about 0.2 mA. This is because the cross-sectional area through which the current flows is extremely small. The light output was 1 mW or more, and the slope efficiency was about 0.2 W / A. The oscillation spectrum is shown in FIG. Laser oscillation occurs at the transition between sub-bands, and the oscillation wavelength is about 9 μm.
[0026]
2 to 6 show a method for manufacturing the present semiconductor laser. A Fe-doped insulating InP first cladding layer 2 is grown to a thickness of 3 μm on the n-InP substrate 1 by metal organic chemical vapor deposition (MOCVD) (FIG. 2A). Then, after covering the part to be left as the insulating InP using photolithography, Si is ion-implanted using an ion implantation method to form a conductive InP first cladding layer 3 (FIG. 2B). Next, a crystal of InGaAs5 (In composition: 60%) is grown to a thickness of 5 nm by MOCVD (FIG. 3C). After forming the SiO 2 on the surface thereof, using photolithography, only the portion corresponding to the well portion in a cascade structure leaving SiO 2 stripe 21 (FIG. 3 (d)). As a light source for photolithography that leaves the well portion, an X-ray (wavelength: 0.1 nm) using emitted light of electrons was used. In this figure, for the sake of simplicity, five lines of SiO 2 stripes are formed as portions where InGaAs is left, but in actual devices, SiO 2 stripes are left as follows.
[0027]
Injection area: (unit: nm, interval in ())
2.1+ (1.2) +6.5+ (1.2) +5.3+ (2.3)
Emission area: (unit: nm, interval in ())
4.0+ (1.1) +3.6+ (1.2) +3.0+ (1.6)
That is, six SiO 2 stripes 21 remain for each pair of the injection region and the light emitting region. In this case, 30 sets of the injection / emission regions are sequentially arranged, so that 180 SiO 2 stripes 21 remain. Since the width of this cascade structure is determined using photolithography, it can be formed extremely easily and freely. That is, conventionally, the cascade direction in which the electrons of the QC laser sequentially emit light is perpendicular to the crystal growth surface, so that the QC laser structure is determined by crystal growth, but the QC laser structure of this time can be determined by photolithography. .
[0028]
Thereafter, InGaAs not masked by the SiO 2 stripes 21 was selectively removed by citric acid wet etching (FIG. 4E). Next, the active layer 4 (except the well 5) and the AlInAs barrier 6 are formed only at locations where the SiO 2 stripes 21 are not masked, using selective growth by MOCVD (FIG. 4F).
[0029]
Since these In compositions are formed by the same crystal growth, the In composition is 40% for both the active layer 4 (excluding the well part 5) and the barrier part 6. Thereafter, the SiO 2 stripe 21 is removed with a hydrofluoric acid-based etchant (FIG. 5G). Next, an insulating InP second cladding layer 7 is formed by MOCVD (FIG. 5H). Then, similarly to FIG. 3C, a conductive InP second cladding layer 8 is formed using photolithography and ion implantation (FIG. 6I) (this conductive second cladding layer is formed by InGaAs (It may be after forming the contact layer 9).
[0030]
Finally, after forming an InGaAs contact layer 9 (In composition 60%) by MOCVD, AuGe electrodes 10 and 11 are formed. Then, the wafer is cleaved to complete the laser. The resonator length is 1 mm and the width is 300 μm.
[0031]
FIG. 7 is a sectional view (in a direction perpendicular to the resonator) of a semiconductor laser device according to a second embodiment of the present invention. An insulating InP first cladding layer 2 is formed on an insulating InP substrate 30. An active layer 4 including a superlattice cascade structure composed of an InGaAs well 5 (In composition 60%) and an AlInAs barrier 6 (In composition 40%) is formed on the first cladding layer.
[0032]
The widths of the InGaAs well portion 5 and the AlInAs barrier portion 6 differ depending on the location, and form an optimum quantum level in the injection region 12 and the light emitting region 13.
[0033]
The material other than the superlattice cascade structure in the light emitting region is AlInAs (In composition: 40%) as in the barrier portion 6. On the active layer 4, an insulating InP second cladding layer 7 is formed. An insulating InGaAs contact layer 31 (In composition: 60%) is formed on the second cladding layer 7.
[0034]
Conductive regions 35 and 36 obtained by thermally diffusing Si are formed on both sides of the injection region 12 and the light emitting region 13 in the cladding layer and the contact layer. AuGe electrodes 32 and 33 are formed separately on the surfaces of the conductive regions 35 and 36. No electrode is formed on the back surface of the substrate 1.
[0035]
In the present embodiment, a current flows between the electrodes 32 and 33. For example, when the electrode 32 is negative and the electrode 33 is positive, electrons are injected into the active layer 4 from the region 35 where Si ions are thermally diffused and become conductive, and the cascade portions 12 and 13 perform sub-band transition to emit light. Thereafter, the active layer 4 is implanted into the conductive region 36.
[0036]
Unlike the first embodiment, this structure is easy to mount because electrical connection can be made from the electrodes 32 and 33 on the same surface.
[0037]
The threshold current of this laser was 0.2 mA, and the maximum output was 10 mW at room temperature pulse operation. The oscillation wavelength is about 9 μm. In the case of the second embodiment, since the electrodes are only on the surface, mounting is easy (wire bonding is unnecessary).
[0038]
In addition, the use of the insulating substrate 30 reduced the parasitic capacitance and allowed modulation up to 10 GHz or more.
[0039]
8 to 11 show a method for manufacturing the present semiconductor laser. Using an organometallic vapor phase epitaxy (MOCVD) method, the insulating InP first cladding layer 2 is grown to a thickness of 3 μm and InGaAs5 (In composition: 60%) is grown to a thickness of 5 nm on the insulating InP substrate 30 (FIG. 8 ( a)).
[0040]
After forming the SiO 2 on the surface thereof, using a photolithography, only the portion corresponding to the well portion in a cascade structure leaving SiO 2 stripe 21 (Figure 8 (b)).
[0041]
In this figure, for the sake of simplicity, five lines of SiO 2 stripes are formed as portions where InGaAs is left, but in actual devices, SiO 2 stripes are left as follows.
[0042]
Injection area: (unit: nm, interval in ())
2.1+ (1.2) +6.5+ (1.2) +5.3+ (2.3)
Emission area: (unit: nm, interval in ())
4.0+ (1.1) +3.6+ (1.2) +3.0+ (1.6)
That is, six SiO 2 stripes 21 remain for each pair of the injection region and the light emitting region. In this case, 30 sets of the injection / emission regions are sequentially arranged, so that 180 SiO 2 stripes 21 remain. Since the width of this cascade structure is determined using photolithography, it can be formed extremely easily and freely.
[0043]
That is, conventionally, the cascade direction in which the electrons of the QC laser sequentially emit light is perpendicular to the epi-plane, so that the QC laser structure is determined by crystal growth, but the QC laser structure of this time can be determined by photolithography.
[0044]
Thereafter, InGaAs not masked by the SiO 2 stripes 21 was selectively removed by citric acid wet etching (FIG. 9C).
[0045]
Next, the active layer 4 (excluding the well 5) and the AlInAs barrier 6 are formed only at locations where the SiO 2 stripes 21 are not masked by using selective growth by MOCVD (FIG. 9D). Since these In compositions are formed by the same crystal growth, the In compositions are both 40%.
[0046]
Thereafter, the SiO 2 stripe 21 is removed with a hydrofluoric acid-based etchant (FIG. 10E).
[0047]
Next, the insulating InP second cladding layer 7 and the insulating InGaAs contact layer 31 (In composition: 60%) are formed by MOCVD (FIG. 10F).
[0048]
Next, using photolithography, conductive portions 35 and 36 are formed by thermal diffusion of Si (FIG. 11G). Further, AuGe electrodes 32 and 33 are formed using photolithography (FIG. 11H). Then, the wafer is cleaved to complete the laser.
[0049]
The second embodiment is characterized in that the number of times of crystal growth is small and the process is easy as compared with the first embodiment.
[0050]
FIG. 12 shows a third embodiment of the present invention. The basic structure (such as the path through which current flows) is the same as that of FIG. 7, but a quantum dot 41 is used instead of a quantum wire (in the figure, a large number of formed quantum dots are simplified). .
[0051]
The length of the quantum dot 41 changes in the direction parallel to the cleavage plane (the length direction in which the current in each dot flows). Injection area as width: (unit: nm, interval in ())
4.1+ (2.2) +8.5+ (2.2) +7.3+ (4.3)
Emission area: (unit: nm, interval in ())
6.0+ (3.1) +5.6+ (3.2) +5.0+ (3.6)
Was used.
[0052]
The width of the quantum dots in the direction perpendicular to the cleavage plane (the width of the current flowing in each dot) was 5 nm.
[0053]
By making the quantum dots, the size required to form the same quantum level can be made larger than that of the quantum wire (for example, the minimum value of the shape and size is 1.1 nm for the quantum wire (first, In the second embodiment), the quantum dot achieves the same function at 2.2 nm), which facilitates fabrication.
[0054]
Fabrication of the quantum dots is the same as that shown in basically the second embodiment (FIGS. 8-11), a photolithographic pattern in the SiO 2 mask 42 of the well portion to angular, SiO Instead of FIG. 9C in which two stripes are formed, the SiO 2 mask pattern is changed to a dot shape as shown in FIG. 13A.
[0055]
As a result, after burying the active layer 43 including the barrier portion and removing the SiO 2 , the result is as shown in FIG. Thereafter, the same steps as those in FIGS. 10F to 11H are performed.
[0056]
FIG. 14 shows a fourth embodiment of the present invention. A second active layer 52 is formed via an insulating InP intermediate layer 51, and a second InGaAs well 53 and a second AlInAs barrier 54 are formed inside the second active layer 52, both of which are quantum wires perpendicular to the plane of the paper. ). By thus forming the cascade structure in two layers, more electrons can contribute to light emission, and high output can be achieved. Specifically, in the present laser structure, a current twice as large as the same applied voltage value can be made to flow and an optical output about twice as large as that in the first embodiment. In the present embodiment, the cascade structure has two layers, but may have three or more layers.
[0057]
【The invention's effect】
The common features of the above-described first to fourth embodiments will be described together. Conventionally, a cascade structure was created by depositing an epi film. For this reason, the crystal growth is not only troublesome, but also the compositions of the respective films during the crystal growth are slightly different from each other, resulting in a variation in the oscillation wavelength.
[0058]
In the structure of the present invention, the crystal composition of each of the well portion / barrier portion is the same in any two of the portions. For this reason, it is possible to suppress wavelength fluctuation and the like in the cascade operation, and to obtain excellent laser characteristics. For example, in a conventional QC laser, multi-longitudinal mode oscillation is often performed due to variation in composition. The structure of the present invention has many advantages, such as a single longitudinal mode, because there is no composition change in the superlattice in any of the first to fourth embodiments.
[Brief description of the drawings]
FIG. 1A is a sectional view of a semiconductor laser device according to a first embodiment of the present invention; FIG. 1B is a current light output characteristic diagram of the semiconductor laser device according to the first embodiment of the present invention; FIG. 2A is a diagram illustrating a method of manufacturing a semiconductor laser according to a first embodiment of the present invention; FIG. 2B is a diagram illustrating a method of manufacturing the semiconductor laser according to the first embodiment of the present invention; FIG. 3C is a diagram illustrating a method of manufacturing a semiconductor laser according to an embodiment. FIG. 3C is a diagram illustrating a method of manufacturing a semiconductor laser according to a first embodiment of the present invention. FIG. 3D is a diagram illustrating a method of manufacturing the semiconductor laser according to the first embodiment of the present invention. FIG. 4E shows a method of manufacturing a semiconductor laser according to the first embodiment of the present invention; FIG. 4F shows a method of manufacturing the semiconductor laser according to the first embodiment of the present invention; Diagram showing the method [Fig. 5] (g) Books (H) A diagram showing a method of manufacturing a semiconductor laser according to the first embodiment of the present invention. (H) A diagram showing a method of manufacturing a semiconductor laser according to the first embodiment of the present invention. (J) showing a method for manufacturing a semiconductor laser according to the embodiment of the present invention (j) Drawing showing a method for manufacturing a semiconductor laser according to the first embodiment of the present invention [FIG. 7] Semiconductor laser according to the second embodiment of the present invention FIG. 8A is a view showing a method for manufacturing a semiconductor laser device according to a second embodiment of the present invention. FIG. 8B is a view showing a method for manufacturing a semiconductor laser device according to the second embodiment of the present invention. FIG. 9C is a diagram showing a method for manufacturing a semiconductor laser device according to the second embodiment of the present invention. FIG. 9D is a diagram showing a method for manufacturing a semiconductor laser device according to the second embodiment of the present invention. FIG. 10 (e) shows a second embodiment of the present invention. (F) shows a method of manufacturing a semiconductor laser device according to the second embodiment of the present invention. (F) shows a method of manufacturing a semiconductor laser device according to the second embodiment of the present invention. (FIG. 11) (g) shows a second embodiment of the present invention. (H) is a diagram illustrating a method of manufacturing a semiconductor laser device according to the second embodiment of the present invention. (H) is a diagram illustrating a method of manufacturing a semiconductor laser device according to the second embodiment of the present invention. FIG. 13A is a view showing a method of manufacturing a semiconductor laser device according to a third embodiment of the present invention. FIG. 13B is a view showing a method of manufacturing the semiconductor laser device according to the third embodiment of the present invention. FIG. 14 is a sectional view of a semiconductor laser device according to a fourth embodiment of the present invention. FIG. 15 is a sectional view of a conventional semiconductor laser device.
1, 81 n-InP substrate 2 Insulating InP first cladding layer 3 Conductive InP first cladding layer 4 AlInAs active layer (including InGaAs well 5 and AlInAs barrier 6)
Reference Signs List 5 InGaAs well portion 6 AlInAs barrier portion 7 Insulating InP second cladding layer 8 Conductive InP second cladding layer 9 Conductive InGaAs contact layers 10, 11, 32, 33, 89, 90 AuGe electrode 12 Injection region 13 Light emitting region 21 , 42 SiO 2 mask 30 Insulating InP substrate 31 Insulating InGaAs contact layer 35, 36 Si thermal diffusion conductive part 41 Quantum dot 43 Active layer 51 including barrier part Insulating InP intermediate layer 52 Second active layer 53 Second InGaAs well part 54 Second AlInAs barrier portion 82 n-InP first cladding layer 83, 84 InGaAs quantum well layer 85 AlInAs quantum barrier layer 86 n-InP second cladding layer 87 n-InGaAs contact layer 88 Insulating InP buried layer

Claims (12)

ポテンシャル井戸内に形成された特定のエネルギー準位間を電子または正孔がエネルギー遷移することで光子を放出し、かつ、1つの電子または正孔に対して前記エネルギー遷移過程が複数回存在する半導体レーザにおいて、発光領域は、結晶成長面に平行な方向に複数のポテンシャル井戸を有し、前記ポテンシャル井戸内に形成されるエネルギー準位が前記結晶成長面に平行な方向で変調されており、発光層内の電子または正孔は、前記結晶成長面に平行な方向に移動することを特徴とした半導体レーザ装置。A semiconductor in which electrons or holes make energy transitions between specific energy levels formed in a potential well and emit photons, and wherein the energy transition process exists multiple times for one electron or hole. In the laser, the light emitting region has a plurality of potential wells in a direction parallel to the crystal growth surface, and an energy level formed in the potential well is modulated in a direction parallel to the crystal growth surface. A semiconductor laser device wherein electrons or holes in a layer move in a direction parallel to the crystal growth surface. 前記ポテンシャル井戸として量子細線を用いていることを特徴とした請求項1記載の半導体レーザ装置。2. The semiconductor laser device according to claim 1, wherein a quantum wire is used as said potential well. 前記ポテンシャル井戸として量子ドットを用いていることを特徴とした請求項1記載の半導体レーザ装置。2. The semiconductor laser device according to claim 1, wherein quantum dots are used as said potential well. 前記発光層に隣接する半導体のうち、結晶面に平行に発光層を挟む領域は絶縁性半導体となっていることを特徴とした請求項1記載の半導体レーザ装置。2. The semiconductor laser device according to claim 1, wherein, of the semiconductor adjacent to the light emitting layer, a region sandwiching the light emitting layer in parallel with a crystal plane is an insulating semiconductor. 前記発光層が二層以上から構成されていることを特徴とした請求項1記載の半導体レーザ装置。2. The semiconductor laser device according to claim 1, wherein said light emitting layer is composed of two or more layers. ポテンシャル井戸内に形成された特定のエネルギー準位間を電子または正孔がエネルギー遷移することで光子を放出し、かつ、1つの電子または正孔に対して前記エネルギー遷移過程が複数回存在する半導体レーザにおいて、同一表面にプラス電極とマイナス電極を有することを特徴とした半導体レーザ装置。A semiconductor in which electrons or holes make energy transitions between specific energy levels formed in a potential well and emit photons, and wherein the energy transition process exists multiple times for one electron or hole. A semiconductor laser device comprising a laser having a positive electrode and a negative electrode on the same surface. ポテンシャル井戸内に形成された特定のエネルギー準位間を電子または正孔がエネルギー遷移することで光子を放出し、かつ、1つの電子または正孔に対して前記エネルギー遷移過程が複数回存在する半導体レーザにおいて、絶縁性基板を用いたことを特徴とする半導体レーザ装置。A semiconductor in which electrons or holes make energy transitions between specific energy levels formed in a potential well and emit photons, and wherein the energy transition process exists multiple times for one electron or hole. A semiconductor laser device using an insulating substrate in a laser. 基板上に、第1の導電性クラッド層と第1の絶縁性クラッド層を形成する工程と、前記第1の絶縁性クラッド層上にフォトリソグラフィ工程で形成した超格子カスケード構造部を有する活性層を形成する工程と、前記活性層上に第2の絶縁性クラッド層と第2の導電性クラッド層を形成する工程を有することを特徴とする半導体レーザ装置の製造方法。Forming a first conductive cladding layer and a first insulating cladding layer on a substrate; and an active layer having a superlattice cascade structure formed on the first insulating cladding layer by a photolithography process. And a step of forming a second insulating cladding layer and a second conductive cladding layer on the active layer. 前記フォトリソグラフィの光源としてX線を用いたことを特徴とする請求項8記載の半導体レーザ装置の製造方法。9. The method according to claim 8, wherein an X-ray is used as a light source for the photolithography. 前記超格子カスケード構造部は1回のフォトリソグラフィ工程で形成されていることを特徴とする半導体レーザの製造方法。The method of manufacturing a semiconductor laser, wherein the superlattice cascade structure is formed by one photolithography process. 基板上に、第1の絶縁性クラッド層を形成する工程と、前記第1の絶縁性クラッド層上にフォトリソグラフィ工程で形成した超格子カスケード構造部を有する活性層を形成する工程と、前記活性層上に第2の絶縁性クラッド層を形成する工程と、前記第1の絶縁性クラッド層及び前記第2の絶縁性クラッド層の一部であって前記活性層の発光領域に電子または正孔を流し込む部分および流し出す部分を導電性に変える工程とを有することを特徴とする半導体レーザの製造方法。Forming a first insulating cladding layer on a substrate, forming an active layer having a superlattice cascade structure formed by a photolithography step on the first insulating cladding layer, Forming a second insulating cladding layer on the layer; and forming electrons or holes in a light emitting region of the active layer, which is a part of the first insulating cladding layer and the second insulating cladding layer. Converting the part into which the semiconductor flows into and the part into which the semiconductor flows out into conductivity. 前記導電性に変える手法として、熱拡散またはイオン注入を用いていることを特徴とした請求項11記載の半導体レーザの製造方法。The method of manufacturing a semiconductor laser according to claim 11, wherein the method for changing the conductivity is thermal diffusion or ion implantation.
JP2002366571A 2002-12-18 2002-12-18 Semiconductor laser device and method of manufacturing the same Pending JP2004200375A (en)

Priority Applications (1)

Application Number Priority Date Filing Date Title
JP2002366571A JP2004200375A (en) 2002-12-18 2002-12-18 Semiconductor laser device and method of manufacturing the same

Applications Claiming Priority (1)

Application Number Priority Date Filing Date Title
JP2002366571A JP2004200375A (en) 2002-12-18 2002-12-18 Semiconductor laser device and method of manufacturing the same

Publications (1)

Publication Number Publication Date
JP2004200375A true JP2004200375A (en) 2004-07-15

Family

ID=32763735

Family Applications (1)

Application Number Title Priority Date Filing Date
JP2002366571A Pending JP2004200375A (en) 2002-12-18 2002-12-18 Semiconductor laser device and method of manufacturing the same

Country Status (1)

Country Link
JP (1) JP2004200375A (en)

Cited By (25)

* Cited by examiner, † Cited by third party
Publication number Priority date Publication date Assignee Title
WO2008051503A3 (en) * 2006-10-19 2008-07-31 Amberwave Systems Corp Light-emitter-based devices with lattice-mismatched semiconductor structures
US7626246B2 (en) 2005-07-26 2009-12-01 Amberwave Systems Corporation Solutions for integrated circuit integration of alternative active area materials
US7638842B2 (en) 2005-09-07 2009-12-29 Amberwave Systems Corporation Lattice-mismatched semiconductor structures on insulators
US7777250B2 (en) 2006-03-24 2010-08-17 Taiwan Semiconductor Manufacturing Company, Ltd. Lattice-mismatched semiconductor structures and related methods for device fabrication
US7799592B2 (en) 2006-09-27 2010-09-21 Taiwan Semiconductor Manufacturing Company, Ltd. Tri-gate field-effect transistors formed by aspect ratio trapping
US7875958B2 (en) 2006-09-27 2011-01-25 Taiwan Semiconductor Manufacturing Company, Ltd. Quantum tunneling devices and circuits with lattice-mismatched semiconductor structures
US8173551B2 (en) 2006-09-07 2012-05-08 Taiwan Semiconductor Manufacturing Co., Ltd. Defect reduction using aspect ratio trapping
US8237151B2 (en) 2009-01-09 2012-08-07 Taiwan Semiconductor Manufacturing Company, Ltd. Diode-based devices and methods for making the same
US8253211B2 (en) 2008-09-24 2012-08-28 Taiwan Semiconductor Manufacturing Company, Ltd. Semiconductor sensor structures with reduced dislocation defect densities
US8274097B2 (en) 2008-07-01 2012-09-25 Taiwan Semiconductor Manufacturing Company, Ltd. Reduction of edge effects from aspect ratio trapping
US8324660B2 (en) 2005-05-17 2012-12-04 Taiwan Semiconductor Manufacturing Company, Ltd. Lattice-mismatched semiconductor structures with reduced dislocation defect densities and related methods for device fabrication
US8329541B2 (en) 2007-06-15 2012-12-11 Taiwan Semiconductor Manufacturing Company, Ltd. InP-based transistor fabrication
US8344242B2 (en) 2007-09-07 2013-01-01 Taiwan Semiconductor Manufacturing Company, Ltd. Multi-junction solar cells
US8384196B2 (en) 2008-09-19 2013-02-26 Taiwan Semiconductor Manufacturing Company, Ltd. Formation of devices by epitaxial layer overgrowth
US8624103B2 (en) 2007-04-09 2014-01-07 Taiwan Semiconductor Manufacturing Company, Ltd. Nitride-based multi-junction solar cell modules and methods for making the same
US8629446B2 (en) 2009-04-02 2014-01-14 Taiwan Semiconductor Manufacturing Company, Ltd. Devices formed from a non-polar plane of a crystalline material and method of making the same
US8765510B2 (en) 2009-01-09 2014-07-01 Taiwan Semiconductor Manufacturing Company, Ltd. Semiconductor diodes fabricated by aspect ratio trapping with coalesced films
US8822248B2 (en) 2008-06-03 2014-09-02 Taiwan Semiconductor Manufacturing Company, Ltd. Epitaxial growth of crystalline material
US8981427B2 (en) 2008-07-15 2015-03-17 Taiwan Semiconductor Manufacturing Company, Ltd. Polishing of small composite semiconductor materials
US9153645B2 (en) 2005-05-17 2015-10-06 Taiwan Semiconductor Manufacturing Company, Ltd. Lattice-mismatched semiconductor structures with reduced dislocation defect densities and related methods for device fabrication
US9508890B2 (en) 2007-04-09 2016-11-29 Taiwan Semiconductor Manufacturing Company, Ltd. Photovoltaics on silicon
US9984872B2 (en) 2008-09-19 2018-05-29 Taiwan Semiconductor Manufacturing Company, Ltd. Fabrication and structures of crystalline material
JP2018152458A (en) * 2017-03-13 2018-09-27 住友電気工業株式会社 Light-emitting diode
JP2018152370A (en) * 2017-03-09 2018-09-27 住友電気工業株式会社 Semiconductor laser
JP2023014201A (en) * 2017-12-22 2023-01-26 Dowaエレクトロニクス株式会社 Semiconductor light emitting device and manufacturing method thereof

Citations (5)

* Cited by examiner, † Cited by third party
Publication number Priority date Publication date Assignee Title
JPH04206795A (en) * 1990-11-30 1992-07-28 Mitsubishi Electric Corp Manufacture of quantum fine line laser device
JPH04321290A (en) * 1991-02-06 1992-11-11 Shimadzu Corp Semiconductor laser
JPH1012968A (en) * 1996-03-29 1998-01-16 Nec Corp Quantum dot cascade laser
JPH1090738A (en) * 1996-09-17 1998-04-10 Toshiba Corp Nonlinear optical device
JPH11296058A (en) * 1998-04-14 1999-10-29 Nec Corp Method and device for forming pattern by atomic beam holography

Patent Citations (5)

* Cited by examiner, † Cited by third party
Publication number Priority date Publication date Assignee Title
JPH04206795A (en) * 1990-11-30 1992-07-28 Mitsubishi Electric Corp Manufacture of quantum fine line laser device
JPH04321290A (en) * 1991-02-06 1992-11-11 Shimadzu Corp Semiconductor laser
JPH1012968A (en) * 1996-03-29 1998-01-16 Nec Corp Quantum dot cascade laser
JPH1090738A (en) * 1996-09-17 1998-04-10 Toshiba Corp Nonlinear optical device
JPH11296058A (en) * 1998-04-14 1999-10-29 Nec Corp Method and device for forming pattern by atomic beam holography

Cited By (69)

* Cited by examiner, † Cited by third party
Publication number Priority date Publication date Assignee Title
US9153645B2 (en) 2005-05-17 2015-10-06 Taiwan Semiconductor Manufacturing Company, Ltd. Lattice-mismatched semiconductor structures with reduced dislocation defect densities and related methods for device fabrication
US9431243B2 (en) 2005-05-17 2016-08-30 Taiwan Semiconductor Manufacturing Company, Ltd. Lattice-mismatched semiconductor structures with reduced dislocation defect densities and related methods for device fabrication
US9219112B2 (en) 2005-05-17 2015-12-22 Taiwan Semiconductor Manufacturing Company, Ltd. Lattice-mismatched semiconductor structures with reduced dislocation defect densities and related methods for device fabrication
US8519436B2 (en) 2005-05-17 2013-08-27 Taiwan Semiconductor Manufacturing Company, Ltd. Lattice-mismatched semiconductor structures with reduced dislocation defect densities and related methods for device fabrication
US8629477B2 (en) 2005-05-17 2014-01-14 Taiwan Semiconductor Manufacturing Company, Ltd. Lattice-mismatched semiconductor structures with reduced dislocation defect densities and related methods for device fabrication
US8987028B2 (en) 2005-05-17 2015-03-24 Taiwan Semiconductor Manufacturing Company, Ltd. Lattice-mismatched semiconductor structures with reduced dislocation defect densities and related methods for device fabrication
US11251272B2 (en) 2005-05-17 2022-02-15 Taiwan Semiconductor Manufacturing Company, Ltd. Lattice-mismatched semiconductor structures with reduced dislocation defect densities and related methods for device fabrication
US10522629B2 (en) 2005-05-17 2019-12-31 Taiwan Semiconductor Manufacturing Company, Ltd. Lattice-mismatched semiconductor structures with reduced dislocation defect densities and related methods for device fabrication
US8796734B2 (en) 2005-05-17 2014-08-05 Taiwan Semiconductor Manufacturing Company, Ltd. Lattice-mismatched semiconductor structures with reduced dislocation defect densities and related methods for device fabrication
US8324660B2 (en) 2005-05-17 2012-12-04 Taiwan Semiconductor Manufacturing Company, Ltd. Lattice-mismatched semiconductor structures with reduced dislocation defect densities and related methods for device fabrication
US7626246B2 (en) 2005-07-26 2009-12-01 Amberwave Systems Corporation Solutions for integrated circuit integration of alternative active area materials
US7638842B2 (en) 2005-09-07 2009-12-29 Amberwave Systems Corporation Lattice-mismatched semiconductor structures on insulators
US8878243B2 (en) 2006-03-24 2014-11-04 Taiwan Semiconductor Manufacturing Company, Ltd. Lattice-mismatched semiconductor structures and related methods for device fabrication
US10074536B2 (en) 2006-03-24 2018-09-11 Taiwan Semiconductor Manufacturing Company, Ltd. Lattice-mismatched semiconductor structures and related methods for device fabrication
US7777250B2 (en) 2006-03-24 2010-08-17 Taiwan Semiconductor Manufacturing Company, Ltd. Lattice-mismatched semiconductor structures and related methods for device fabrication
US9818819B2 (en) 2006-09-07 2017-11-14 Taiwan Semiconductor Manufacturing Company, Ltd. Defect reduction using aspect ratio trapping
US8173551B2 (en) 2006-09-07 2012-05-08 Taiwan Semiconductor Manufacturing Co., Ltd. Defect reduction using aspect ratio trapping
US8847279B2 (en) 2006-09-07 2014-09-30 Taiwan Semiconductor Manufacturing Company, Ltd. Defect reduction using aspect ratio trapping
US9318325B2 (en) 2006-09-07 2016-04-19 Taiwan Semiconductor Manufacturing Company, Ltd. Defect reduction using aspect ratio trapping
US8216951B2 (en) 2006-09-27 2012-07-10 Taiwan Semiconductor Manufacturing Company, Ltd. Quantum tunneling devices and circuits with lattice-mismatched semiconductor structures
US8629047B2 (en) 2006-09-27 2014-01-14 Taiwan Semiconductor Manufacturing Company, Ltd. Quantum tunneling devices and circuits with lattice-mismatched semiconductor structures
US9559712B2 (en) 2006-09-27 2017-01-31 Taiwan Semiconductor Manufacturing Company, Ltd. Quantum tunneling devices and circuits with lattice-mismatched semiconductor structures
US9105522B2 (en) 2006-09-27 2015-08-11 Taiwan Semiconductor Manufacturing Company, Ltd. Quantum tunneling devices and circuits with lattice-mismatched semiconductor structures
US7875958B2 (en) 2006-09-27 2011-01-25 Taiwan Semiconductor Manufacturing Company, Ltd. Quantum tunneling devices and circuits with lattice-mismatched semiconductor structures
US8860160B2 (en) 2006-09-27 2014-10-14 Taiwan Semiconductor Manufacturing Company, Ltd. Quantum tunneling devices and circuits with lattice-mismatched semiconductor structures
US7799592B2 (en) 2006-09-27 2010-09-21 Taiwan Semiconductor Manufacturing Company, Ltd. Tri-gate field-effect transistors formed by aspect ratio trapping
US8502263B2 (en) 2006-10-19 2013-08-06 Taiwan Semiconductor Manufacturing Company, Ltd. Light-emitter-based devices with lattice-mismatched semiconductor structures
US10468551B2 (en) 2006-10-19 2019-11-05 Taiwan Semiconductor Manufacturing Company, Ltd. Light-emitter-based devices with lattice-mismatched semiconductor structures
WO2008051503A3 (en) * 2006-10-19 2008-07-31 Amberwave Systems Corp Light-emitter-based devices with lattice-mismatched semiconductor structures
US9040331B2 (en) 2007-04-09 2015-05-26 Taiwan Semiconductor Manufacturing Company, Ltd. Diode-based devices and methods for making the same
US9449868B2 (en) 2007-04-09 2016-09-20 Taiwan Semiconductor Manufacutring Company, Ltd. Methods of forming semiconductor diodes by aspect ratio trapping with coalesced films
US9543472B2 (en) 2007-04-09 2017-01-10 Taiwan Semiconductor Manufacturing Company, Ltd. Diode-based devices and methods for making the same
US9508890B2 (en) 2007-04-09 2016-11-29 Taiwan Semiconductor Manufacturing Company, Ltd. Photovoltaics on silicon
US8624103B2 (en) 2007-04-09 2014-01-07 Taiwan Semiconductor Manufacturing Company, Ltd. Nitride-based multi-junction solar cell modules and methods for making the same
US10680126B2 (en) 2007-04-09 2020-06-09 Taiwan Semiconductor Manufacturing Company, Ltd. Photovoltaics on silicon
US9853176B2 (en) 2007-04-09 2017-12-26 Taiwan Semiconductor Manufacturing Company, Ltd. Nitride-based multi-junction solar cell modules and methods for making the same
US9853118B2 (en) 2007-04-09 2017-12-26 Taiwan Semiconductor Manufacturing Company, Ltd. Diode-based devices and methods for making the same
US9231073B2 (en) 2007-04-09 2016-01-05 Taiwan Semiconductor Manufacturing Company, Ltd. Diode-based devices and methods for making the same
US8329541B2 (en) 2007-06-15 2012-12-11 Taiwan Semiconductor Manufacturing Company, Ltd. InP-based transistor fabrication
US9780190B2 (en) 2007-06-15 2017-10-03 Taiwan Semiconductor Manufacturing Company, Ltd. InP-based transistor fabrication
US10002981B2 (en) 2007-09-07 2018-06-19 Taiwan Semiconductor Manufacturing Company, Ltd. Multi-junction solar cells
US8344242B2 (en) 2007-09-07 2013-01-01 Taiwan Semiconductor Manufacturing Company, Ltd. Multi-junction solar cells
US9365949B2 (en) 2008-06-03 2016-06-14 Taiwan Semiconductor Manufacturing Company, Ltd. Epitaxial growth of crystalline material
US8822248B2 (en) 2008-06-03 2014-09-02 Taiwan Semiconductor Manufacturing Company, Ltd. Epitaxial growth of crystalline material
US10961639B2 (en) 2008-06-03 2021-03-30 Taiwan Semiconductor Manufacturing Company, Ltd. Epitaxial growth of crystalline material
US8629045B2 (en) 2008-07-01 2014-01-14 Taiwan Semiconductor Manufacturing Company, Ltd. Reduction of edge effects from aspect ratio trapping
US8274097B2 (en) 2008-07-01 2012-09-25 Taiwan Semiconductor Manufacturing Company, Ltd. Reduction of edge effects from aspect ratio trapping
US9356103B2 (en) 2008-07-01 2016-05-31 Taiwan Semiconductor Manufacturing Company, Ltd. Reduction of edge effects from aspect ratio trapping
US9640395B2 (en) 2008-07-01 2017-05-02 Taiwan Semiconductor Manufacturing Company, Ltd. Reduction of edge effects from aspect ratio trapping
US8994070B2 (en) 2008-07-01 2015-03-31 Taiwan Semiconductor Manufacturing Company, Ltd. Reduction of edge effects from aspect ratio trapping
US9287128B2 (en) 2008-07-15 2016-03-15 Taiwan Semiconductor Manufacturing Company, Ltd. Polishing of small composite semiconductor materials
US8981427B2 (en) 2008-07-15 2015-03-17 Taiwan Semiconductor Manufacturing Company, Ltd. Polishing of small composite semiconductor materials
US9607846B2 (en) 2008-07-15 2017-03-28 Taiwan Semiconductor Manufacturing Company, Ltd. Polishing of small composite semiconductor materials
US8384196B2 (en) 2008-09-19 2013-02-26 Taiwan Semiconductor Manufacturing Company, Ltd. Formation of devices by epitaxial layer overgrowth
US9934967B2 (en) 2008-09-19 2018-04-03 Taiwan Semiconductor Manufacturing Co., Ltd. Formation of devices by epitaxial layer overgrowth
US9984872B2 (en) 2008-09-19 2018-05-29 Taiwan Semiconductor Manufacturing Company, Ltd. Fabrication and structures of crystalline material
US8809106B2 (en) 2008-09-24 2014-08-19 Taiwan Semiconductor Manufacturing Company, Ltd. Method for semiconductor sensor structures with reduced dislocation defect densities
US9455299B2 (en) 2008-09-24 2016-09-27 Taiwan Semiconductor Manufacturing Company, Ltd. Methods for semiconductor sensor structures with reduced dislocation defect densities
US9105549B2 (en) 2008-09-24 2015-08-11 Taiwan Semiconductor Manufacturing Company, Ltd. Semiconductor sensor structures with reduced dislocation defect densities
US8253211B2 (en) 2008-09-24 2012-08-28 Taiwan Semiconductor Manufacturing Company, Ltd. Semiconductor sensor structures with reduced dislocation defect densities
US8765510B2 (en) 2009-01-09 2014-07-01 Taiwan Semiconductor Manufacturing Company, Ltd. Semiconductor diodes fabricated by aspect ratio trapping with coalesced films
US9029908B2 (en) 2009-01-09 2015-05-12 Taiwan Semiconductor Manufacturing Company, Ltd. Semiconductor diodes fabricated by aspect ratio trapping with coalesced films
US8237151B2 (en) 2009-01-09 2012-08-07 Taiwan Semiconductor Manufacturing Company, Ltd. Diode-based devices and methods for making the same
US9299562B2 (en) 2009-04-02 2016-03-29 Taiwan Semiconductor Manufacturing Company, Ltd. Devices formed from a non-polar plane of a crystalline material and method of making the same
US8629446B2 (en) 2009-04-02 2014-01-14 Taiwan Semiconductor Manufacturing Company, Ltd. Devices formed from a non-polar plane of a crystalline material and method of making the same
JP2018152370A (en) * 2017-03-09 2018-09-27 住友電気工業株式会社 Semiconductor laser
JP2018152458A (en) * 2017-03-13 2018-09-27 住友電気工業株式会社 Light-emitting diode
JP2023014201A (en) * 2017-12-22 2023-01-26 Dowaエレクトロニクス株式会社 Semiconductor light emitting device and manufacturing method thereof
JP7402962B2 (en) 2017-12-22 2023-12-21 Dowaエレクトロニクス株式会社 Semiconductor light emitting device and its manufacturing method

Similar Documents

Publication Publication Date Title
JP2004200375A (en) Semiconductor laser device and method of manufacturing the same
JP3225942B2 (en) Semiconductor optical element, method of manufacturing the same, and semiconductor optical device
JP4636575B2 (en) Semiconductor device and method having tunnel contact hole source
JP4639107B2 (en) Semiconductor laser and manufacturing method thereof
JP5023419B2 (en) Semiconductor quantum dot device
JP2002184970A (en) Semiconductor device including quantum dot, method of manufacturing the same, and semiconductor laser device
JP4472278B2 (en) Semiconductor laser element
Henini et al. Advances in self-assembled semiconductor quantum dot lasers
JP2003332694A (en) Semiconductor laser
JP4061040B2 (en) Multiple quantum well semiconductor device
JPH0712100B2 (en) Semiconductor light emitting element
US9246308B2 (en) Quantum cascade laser
KR100602973B1 (en) Single-mode laser diode using strain-compensated multilayer quantum well and its manufacturing method
JP2003309322A (en) Semiconductor light emitting device using self-assembled quantum dots
US6933159B2 (en) Fabrication method of a semiconductor laser device
JP2002368342A (en) Multiplex quantum well semiconductor element
JPH08236857A (en) Long wavelength semiconductor laser and its manufacture
JP3146710B2 (en) Light emitting element
US5567646A (en) Method of making a stripe-geometry II/VI semiconductor gain-guided injection laser structure using ion implantation
JP3033625B2 (en) Quantized Si optical semiconductor device
JPH04245493A (en) Multi-wavelength semiconductor laser device and its driving method
US20050141578A1 (en) Laser diode structure with blocking layer
JPH0817230B2 (en) Semiconductor microfabrication method
JP2008198654A (en) Semiconductor laser and method of manufacturing the semiconductor laser
JP4178901B2 (en) Semiconductor optical device and method of manufacturing semiconductor optical device

Legal Events

Date Code Title Description
A621 Written request for application examination

Free format text: JAPANESE INTERMEDIATE CODE: A621

Effective date: 20051215

RD01 Notification of change of attorney

Free format text: JAPANESE INTERMEDIATE CODE: A7421

Effective date: 20060112

A977 Report on retrieval

Free format text: JAPANESE INTERMEDIATE CODE: A971007

Effective date: 20090611

A131 Notification of reasons for refusal

Free format text: JAPANESE INTERMEDIATE CODE: A131

Effective date: 20090616

A521 Request for written amendment filed

Free format text: JAPANESE INTERMEDIATE CODE: A523

Effective date: 20090806

RD01 Notification of change of attorney

Free format text: JAPANESE INTERMEDIATE CODE: A7421

Effective date: 20091119

A02 Decision of refusal

Free format text: JAPANESE INTERMEDIATE CODE: A02

Effective date: 20100608