JP2004166320A - Actuator device - Google Patents

Actuator device Download PDF

Info

Publication number
JP2004166320A
JP2004166320A JP2002325745A JP2002325745A JP2004166320A JP 2004166320 A JP2004166320 A JP 2004166320A JP 2002325745 A JP2002325745 A JP 2002325745A JP 2002325745 A JP2002325745 A JP 2002325745A JP 2004166320 A JP2004166320 A JP 2004166320A
Authority
JP
Japan
Prior art keywords
sensor
connector
reduction gear
gear
terminals
Prior art date
Legal status (The legal status is an assumption and is not a legal conclusion. Google has not performed a legal analysis and makes no representation as to the accuracy of the status listed.)
Granted
Application number
JP2002325745A
Other languages
Japanese (ja)
Other versions
JP4031351B2 (en
Inventor
Naohisa Niimura
直久 新村
Naohiko Shibata
直彦 柴田
Current Assignee (The listed assignees may be inaccurate. Google has not performed a legal analysis and makes no representation or warranty as to the accuracy of the list.)
Asmo Co Ltd
Original Assignee
Asmo Co Ltd
Priority date (The priority date is an assumption and is not a legal conclusion. Google has not performed a legal analysis and makes no representation as to the accuracy of the date listed.)
Filing date
Publication date
Application filed by Asmo Co Ltd filed Critical Asmo Co Ltd
Priority to JP2002325745A priority Critical patent/JP4031351B2/en
Priority to PCT/JP2003/014147 priority patent/WO2004047257A1/en
Priority to KR1020057008019A priority patent/KR100984544B1/en
Priority to DE10393646T priority patent/DE10393646T5/en
Priority to CNB200380102750XA priority patent/CN1331300C/en
Priority to US10/533,896 priority patent/US7402926B2/en
Publication of JP2004166320A publication Critical patent/JP2004166320A/en
Application granted granted Critical
Publication of JP4031351B2 publication Critical patent/JP4031351B2/en
Anticipated expiration legal-status Critical
Expired - Fee Related legal-status Critical Current

Links

Images

Landscapes

  • Air-Conditioning For Vehicles (AREA)
  • Connection Of Motors, Electrical Generators, Mechanical Devices, And The Like (AREA)
  • Gear Transmission (AREA)

Abstract

<P>PROBLEM TO BE SOLVED: To provide an actuator device capable of easy installation. <P>SOLUTION: A connector assembly 17 comprises a sensor 41, a connector 42, and a feeding part 43, and is integrally formed into a rough L-shape when viewed from the top. A sensor 44 is rotatably stored in the sensor 41. The connector 42 has a plurality of connector pins in it. The feeding part 43 is integrally formed with two feeding terminals 56, 57. The respective connector pins are connected with the sensor 44 and the feeding terminals 56, 57 through a wiring part 53. The wiring part 53 cuts off connecting portions 53a to 53c as necessary by the sensor 44 stored in the sensor 41, which decides its energizing state. <P>COPYRIGHT: (C)2004,JPO

Description

【0001】
【発明の属する技術分野】
本発明はアクチュエータ装置に関するものである。
【0002】
【従来の技術】
従来、アクチュエータ装置は内部に、電動モータに駆動電流を通電するための給電端子、出力軸の回転位置を検出するセンサ及び外部コネクタと接続するコネクタピンなどを備えている。コネクタピンは上部ケース及び下部ケースによって挟持されており、該上部ケース及び下部ケースによってコネクタハウジングが形成されている。コネクタピンは第2の導電プレートから延設されており、給電端子を備える第1の導電プレートにかしめられた後にスポット溶接されることによって互いに連結固定されている。センサとしてのパターン基板は歯車に貼着されており、給電端子を備える導電プレートに接続されたブラシが摺接されている。(例えば、特許文献1参照)。
【0003】
【特許文献1】
特開平9−219957号公報(図1)
【0004】
【発明が解決しようとする課題】
ところが、コネクタピンは上部ケースと下部ケースとによってコネクタハウジングが形成されているため、コネクタハウジング内の所定位置にコネクタピンを配設する手間がかかっていた。また、給電端子が形成された第1の導電プレートとコネクタピンが形成された第2の導電プレートとを連結しているため各部品の管理及び組み付け工数が多く組み付けに手間がかかるという問題があった。また、パターン基板は歯車に貼着されているためにブラシとパターン基板との当接位置の確認が行いにくくアクチュエータ装置の組み付けに手間がかかっていた。
【0005】
本発明は、上記問題点を解決するためになされたものであって、その目的は、容易に組み付け可能なアクチュエータ装置を提供することにある。
【0006】
【課題を解決するための手段】
上記問題点を解決するため、請求項1に記載の発明は、出力軸の回転角度を検出するセンサと、外部端子が接続されるコネクタ端子と、駆動モータに駆動電力を供給する給電端子とを電気的に接続するとともに、前記センサを収容するセンサ部と、前記コネクタ端子が延出されるコネクタ部と、前記給電端子が延出される給電部とを一体に形成した。
【0007】
請求項2に記載の発明は、第1ケースと第2ケースとの間で保持され、外部端子と接続されるコネクタ端子を備えたコネクタ部と、出力軸の回転角度を検出するセンサを内部に収容したセンサ部と、駆動モータに駆動電力を供給する給電端子が延出される給電部とを一体に形成した。
【0008】
請求項3に記載の発明は、請求項1又は2に記載の発明において、前記出力軸が設けられた歯車は、該歯車が備える歯車部の前記センサ側に開口する凹部を備え、前記凹部に前記センサ部を収容した。
【0009】
請求項4に記載の発明は、請求項1〜3のうちのいずれか一項に記載の発明において、前記センサ部と、前記コネクタ部と、前記給電部とからなるアッセンブリの外形を略L字状に形成した。
【0010】
請求項5に記載の発明は、請求項1〜4のうちのいずれか一項に記載の発明において、前記センサ部は、その内部に種々のセンサを収容可能に形成した。
(作用)
請求項1又は2に記載の発明によれば、アクチュエータ装置の組み付け工数が低減される。
【0011】
請求項3に記載の発明によれば、歯車の軸方向においてアクチュエータ装置が小型化される。
請求項4に記載の発明によれば、アッセンブリをアクチュエータ装置の角部に収容することができ、最外形寸法を短くできる。従って、アクチュエータ装置が小型化される。
【0012】
請求項5に記載の発明によれば、センサ部に収容するセンサを変更することにより複数仕様への対応が容易となる。
【0013】
【発明の実施の形態】
以下、本発明を車両用エアコン装置に具体化した一実施の形態を図1〜図10に従って説明する。
【0014】
図10に示すように、エアコン用通路1には、複数(図10では、3つ)のダンパ2〜4が設けられている。尚、ダンパ2〜4は、エアコン用通路1内の空気の流れる方向を制御可能に設けられたものであって、例えば、吸入口を外気又は室内に切替えるためのものや、ベントやフットやデフの吹出口を開閉するためのもの等である。各ダンパ2〜4には、それぞれアクチュエータ装置9が設けられている。アクチュエータ装置9は、エアコンアンプZから入力される制御信号及び電源に基づいてダンパ2〜4を駆動する。
【0015】
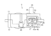
図9に示すように、アクチュエータ装置9は、第1ケースとしての下部ケース10と第2ケースとしての上部ケース11とを組み付けることによってその外形が形成されている。
【0016】
図8に示すように、アクチュエータ装置9は、駆動モータ12、ウォーム13、歯車としての第1〜第3減速ギア14〜16及びコネクタアッセンブリ17を備えている。
【0017】
図6(a)及び図6(b)に示すように、下部ケース10には斜面部20及びモータ支持部21,22が形成されている。斜面部20は、下部ケース10の底壁から上方に向かって突出形成されており、その端面20aは下部ケース10の底壁面に対して傾斜している。モータ支持部21,22は、下部ケース10の底壁から上方に向かって突出形成されており、該モータ支持部21,22の間に駆動モータ12が固定されている。
【0018】
駆動モータ12は略円柱形状に形成されている。図3(a)に示すように、駆動モータ12の外形は有底円筒形状のモータヨーク18によって略覆われており、図3(b)に示すように、該モータヨーク18の開口部はエンドハウジング19によって蓋がなされている。
【0019】
図3(a)及び図3(c)に示すように、モータヨーク18は、底壁18aの径方向の相反する箇所に2つの窪み部18b,18cが形成されている。駆動モータ12は、窪み部18cが下部ケース10に形成された斜面部20と当接するように下部ケース10に固定されており、該窪み部18c及び斜面部20によって周方向における駆動モータ12の固定角度が設定されている。底壁18aの中心部からは駆動モータ12の出力軸12aが延出されている。
【0020】
図3(b)に示すように、エンドハウジング19の径方向の相反する箇所からは板状のモータ端子12b,12cが略水平位置に並ぶように延出されている。モータ端子12b,12cは、ともに同一方向(図3(a)及び図3(b)において上方向)に向かって折り曲げられており、エンドハウジング19側の端面がエンドハウジング19に密着している。
【0021】
駆動モータ12の出力軸12aにはウォーム13(図8参照)が該出力軸12aと一体回転するように取着されている。ウォーム13には第1減速ギア14が歯合されている。第1減速ギア14は軸線方向両端部に図示しない下軸及び上軸14aを備えている。下軸及び上軸14aは下部ケース10及び上部ケース11の互いに対向する位置に形成された第1減速ギア軸受23,24(図6(a)、図7参照)に回転可能に支持されている。
【0022】
第1減速ギア軸受23は、下部ケース10の底壁から上方に向かって円筒形状に突出形成されている。第1減速ギア軸受24は、上部ケース11の上壁から下方に向かって円筒形状に突出形成されている。第1減速ギア軸受23,24は、その内周面の直径が第1減速ギア14の下軸及び上軸14aの直径と略等しく形成されている。
【0023】
第1減速ギア14は、外縁部にウォームホイール14bが一体に形成されている。ウォームホイール14bはウォーム13に歯合されており、ウォーム13の回転が伝達されている。
【0024】
第1減速ギア14は第2減速ギア15と歯合されている。第1減速ギア14は、ウォームホイール14bと一体回転する歯車部14cを備えている。歯車部14cは、該歯車部14cが備える歯数がウォームホイール14bの備える歯数よりも少なく形成されている。第1減速ギア14はこの歯車部14cにて第2減速ギア15と歯合されている。
【0025】
第2減速ギア15は、第1歯車部15a、第2歯車部15bを備えている。第1歯車部15aと第2歯車部15bとは、互いに一体形成されている。第1歯車部15aが備える歯数は第1減速ギア14の歯車部14cが備える歯数より多く形成されており、第2歯車部15bが備える歯数は第1歯車部15aが備える歯数より少なく形成されている。第1歯車部15aは第1減速ギア14の歯車部14cと歯合されている。
【0026】
図5(a)に示すように、第2減速ギア15は、軸線方向両端部に下軸15c及び上軸15dを備えている。下軸15c及び上軸15dは、下部ケース10及び上部ケース11の互いに対向する位置に形成された第2減速ギア軸受25,26(図6(a)、図7参照)に回転可能に支持されている。
【0027】
第2減速ギア軸受25は、下部ケース10の底壁から上方に向かって円筒形状に突出形成されており、その内周面の直径は第2減速ギア15の下軸15cの外周面の直径と略等しく形成されている。
【0028】
第2減速ギア軸受26は、上部ケース11の上壁から下方に向かって円筒形状に突出形成されており、その内周面の直径は第2減速ギア15の上軸15dの外周面の直径と略等しく形成されている。
【0029】
図5(a)に示すように、第2減速ギア15は、第2歯車部15bにて第3減速ギア16と歯合されている。
図4(a)に示すように、第3減速ギア16は、円盤部31、歯車部32、上軸33及び下軸34を備えている。円盤部31は、円形の平板によって形成されており、その外周端に歯車部32が一体に形成されている。歯車部32は円筒状に形成されている。該歯車部32は下端が円盤部31の下面よりも下方に突出するように該円盤部31と一体形成されている。従って、第3減速ギア16は、円盤部31の下面と歯車部32の内周面と下軸34の外周面とから下方向に向かって開口する略リング形状の凹部16aを有している。歯車部32が備える歯数は第2減速ギア15の第2歯車部15bが備える歯数より多く形成されている。
【0030】
円盤部31の上面には上方に向かって突出する円筒形状の上軸33が形成されており、円盤部31の下面には下方に向かって突出する略円筒形状の下軸34が形成されている。
【0031】
第3減速ギア16の上軸33の先端(図4(a)において上端)には、更に上方に突出する雄形状の出力軸35が形成されている。図4(b)に示すように、出力軸35は、その外周面が軸線方向から見て略D字状となるように形成されている。図4(c)に示すように、第3減速ギア16の下軸34は、外周面が軸線方向から見て略D字状となるように形成されている。
【0032】
下軸34及び上軸33は、下部ケース10及び上部ケース11の互いに対向する位置に形成された第3減速ギア軸受38,39(図6(a)、図7参照)に回転可能に支持されている。
【0033】
第3減速ギア軸受38は、下部ケース10の底壁から上方に向かって円筒形状に突出形成されており、その内周面の直径は第3減速ギア16の下軸34の外周面の直径と略等しく形成されている。
【0034】
第3減速ギア軸受39は、上部ケース11の上壁から下方に向かって円筒形状に突出形成されており、その内周面の直径は第3減速ギア16の上軸33の外周面の直径と略等しく形成されている。また、上部ケース11は、第3減速ギア軸受39の内周面の形状に合わせて上壁が円形に切り欠かれた第2出力口39aを備えている。即ち、第3減速ギア軸受39の内周面と第2出力口39aとは連続して形成されており、該第3減速ギア軸受39の内周面と第2出力口39aとによって上部ケース11の内側と外側とは互いに連通している。
【0035】
第3減速ギア軸受39は、第3減速ギア16の上軸33を第3減速ギア軸受39に挿通した時に、上軸33の上端面が上部ケース11の上壁から上方に突出するように軸方向の高さが設定されている。従って、図9に示すように、アクチュエータ装置9の上端面からは第3減速ギア16の上軸33に形成された出力軸35が突出しており、アクチュエータ装置9からトルクを出力可能である。
【0036】
このように形成された第3減速ギア16は、第3減速ギア軸受39(図7参照)に出力軸35が挿通され、図5(a)に示すように、下軸34がコネクタアッセンブリ17に組み付けられ、歯車部32が第2減速ギア15の第2歯車部15bと歯合している。
【0037】
図1及び図2(b)に示すように、コネクタアッセンブリ17は、センサ部41、コネクタ部42及び給電部43を備えている。コネクタアッセンブリ17は、センサ部41、コネクタ部42及び給電部43からなり上面視略L字状に形成されている。センサ部41は略有底筒形状に形成されており、センサ部41の底壁には中心部に下軸34を挿通する孔41aが形成されている。
【0038】
図5(a)に示すように、センサ部41の内部には略リング状に形成されたセンサ44が回動可能に収容されており、センサ部41の開口端側から平板48によって蓋がされている。図5(b)に示すように、平板48は外縁部に形成された引っ掛け爪48aによってセンサ部41に取着されている。平板48は、中心部に下軸34を挿通する孔48b(図1参照)が形成されている。
【0039】
センサ44は、その中心部に内周面が略D字状となる圧入孔45を備えている。この圧入孔45には下軸34が圧入され、センサ44は第3減速ギア16と一体回転する。図5(a)に示すように、センサ部41は第3減速ギア16に形成された凹部16aに収容されている。センサ44は、例えば内部に可変抵抗を備えるポテンショタイプなどが用いられており、第3減速ギア16の回転角度を検出する。
【0040】
図1又は図2(b)等に示すように、センサ部41の開口端には所定角度範囲に径方向外側に延びるフランジ部49が形成されている。フランジ部49には2つの切り欠き面49a,49bが形成されており、図5(b)に示すように、該切り欠き面49a,49bの間には第2減速ギア15が配設されている。
【0041】
フランジ部49の径方向両端部には、位置決め凹部46,47が形成されている。該位置決め凹部46,47は、センサ部41の中心方向に向かって切り欠いて形成されている。位置決め凹部46,47は、図5(b)に示すように、その内周面に位置決め凸部50,51が係合されている。位置決め凸部50,51は、第3減速ギア軸受38(図6(a)参照)を挟んで相反する径方向両側に形成されており、下部ケース10の底壁から上方に向かって略円柱形状に突出している。
【0042】
センサ部41は、これら位置決め凹部46,47及び位置決め凸部50,51によって下部ケース10内での配設位置を決定している。
図1に示すように、コネクタ部42は、フランジ部49と連結されており、センサ部41と一体に形成されている。
【0043】
図2(a)に示すように、コネクタ部42はコネクタハウジング40を備えている。コネクタハウジング40は外形が略箱形状に形成されておりその内部には所定位置からコネクタ端子として複数(本実施形態においては5つ)のコネクタピン42a〜42eが設けられている。
【0044】
コネクタアッセンブリ17は導電プレート54を備えている。導電プレート54は一枚の金属板などの導電板を所定形状に打ち抜くことにより製造されており、その一部にコネクタピン42a〜42e、給電部43から延出される給電端子56,57が形成されている。
【0045】
導電プレート54は配線部53(図2(b)参照)を備えている。配線部53は、連結部53a〜53c、切断部53d及び接続部53e〜53gを備えている。導電プレート54は連結部53a〜53c及び切断部53dが連結された状態に打ち抜いて形成されている。接続部53e〜53gは、センサ44と接続されており、該センサとコネクタピン42a〜42e及び給電端子56,57とを互いに接続している。
【0046】
本実施形態においてはコネクタピン42aが給電端子57と接続されており、コネクタピン42b,42cが給電端子56及び接続部53eと接続されている。また、コネクタピン42dが接続部53fと接続されており、コネクタピン42eが接続部53gと接続されている。
【0047】
導電プレート54は配線部53を露出するように樹脂をモールドされ、センサ部41、コネクタ部42及び給電部43が形成されている。連結部53a〜53c及び切断部53dは樹脂モールド後に所定箇所が切断される。
【0048】
切断部53dはコネクタピン42aと配線部53とを電気的に開路するように切断されている。連結部53a〜53cはセンサ部41に収容されるセンサ44の種類などによってその切断箇所が適宜設定され、本実施形態においては連結部53b,53cが切断されている。配線部53は連結部53a〜53cの切断箇所を適宜設定することにより、種々のセンサ44に対応することができる。
【0049】
図1に示すように、コネクタハウジング40は、下面に位置決め凹部55が形成されている。位置決め凹部55は、下部ケース10の底壁から突出するリブ52(図6(a)参照)を嵌め込まれている。コネクタ部42は、これら位置決め凹部55及びリブ52よって下部ケース10内での配設位置を決定している。
【0050】
図2(a)に示すように、コネクタ部42からは側方に向かって給電部43が一体に延設されている。給電部43は2つの給電端子56,57を一体に備えている。給電端子56,57は、金属板により屈曲形成されており、その先端にはスリットが形成されている。
【0051】
図2(c)に示すように、給電端子56,57の先端は、側面から見て略V字状に形成されており、該V字部の屈曲位置に当接部56a,57aが形成されている。当接部56a,57aは、給電端子56,57が弾性変形した状態で駆動モータ12のモータ端子12b,12cと当接するように駆動モータ12側への突出量が設定されている。また、給電端子56,57は、当接部56a,57aがモータ端子12b,12cと当接するようそれぞれの長さが設定されている。このように形成された給電端子56,57は、当接部56a,57aをモータ端子12b,12cに押しつけた状態で駆動モータ12に給電を行っている。
【0052】
図2(b)に示すように、給電部43は給電端子56,57の間に位置決め凹部58が形成されている。位置決め凹部58は、内周面が緩やかに湾曲形成されており、下部ケース10に形成されたモータ支持部22(図6(a)参照)の外周面と略同一形状に形成されている。また、給電部43の幅方向(図2(b)において上下方向)の厚さがモータ支持部22と下部ケース10の側壁との間の幅と略等しく形成されている。
【0053】
給電部43は、これらモータ支持部22及び下部ケース10の側壁との間に挟み込まれることによって下部ケース10内での配設位置を決定している。
このように形成されたコネクタアッセンブリ17は、図9に示すように、コネクタ部42に外部部品からコネクタを差し込み可能とされた状態で下部ケース10及び上部ケース11との間に保持されている。
【0054】
上記したように、本実施形態によれば、以下の効果を有する。
(1)コネクタアッセンブリ17は、センサ部41、コネクタ部42及び給電部43が一体に形成されている。従って、アクチュエータ装置9の組み付け工数が低減し、容易にアクチュエータ装置9を製造することができる。
【0055】
(2)第3減速ギア16は、歯車部32の内側に形成され下方に向かって開口した略リング形状の凹部16aにセンサ部41を収容している。従って、センサ44を収容するスペースを第3減速ギア16の歯車部32の内部に設けることができ、アクチュエータ装置9を小型化することができる。
【0056】
(3)コネクタアッセンブリ17は、センサ部41、コネクタ部42及び給電部43からなり上面視略L字状に形成されている。従って、コネクタアッセンブリ17の最外形寸法が短くなり、アクチュエータ装置9を小型化することができる。
【0057】
(4)センサ44を変更しても連結部53a〜53cの切断箇所によってセンサ44及び給電部43を各コネクタピン42a〜42eと適切に接続することができる。そのため、例えばポテンショタイプのセンサ44に換えて、パルスからデジタル信号を形成し出力軸35の回転角度を細かく制御するパルスエンコーダタイプや、オン・オフ信号によって出力軸35の回転角度を2通りに制御するタイプのセンサであっても同様のコネクタアッセンブリ17に収容することができる。従って、センサ44の種類に応じてコネクタアッセンブリ17を変更する必要がなくコネクタアッセンブリ17の汎用性を向上することができる。
【0058】
(5)センサ44及び給電端子56,57とコネクタピン42a〜42eとの接続は、予め連結された連結部53a〜53cを切断するかどうかで決定される。従って、各端子間を接続する必要がなくなりハンダ付けの工程を用いなくてよく鉛の使用を抑制することができる。
【0059】
(6)モータ端子12b,12cは、エンドハウジング19から延出された位置で折り曲げて形成されており、エンドハウジング19側の端面が該エンドハウジング19に密着されている。従って、モータ端子12b,12cの軸線方向においてアクチュエータ装置9を小型化することができる。
【0060】
(7)モータ端子12b,12cは、エンドハウジング19に密着されており、給電端子56,57は当接部56a,57bをモータ端子12b,12cに押しつけた状態で駆動モータ12に給電を行っている。従って、モータ端子12b,12cがエンドハウジング19に押しつけられることによって共振点を上げることができ、耳障りとなる1kHz付近での共振を避けることができる。
【0061】
(8)駆動モータ12は、モータヨーク18の窪み部18cが下部ケース10に形成された斜面部20に当接するように下部ケース10に固定されている。従って、円柱形状に形成された駆動モータ12をその周方向において確実に位置決めすることができる。
【0062】
(9)配線部53はセンサ部41に収容されたセンサ44に接続されている。従って、コネクタアッセンブリ17の形成時に配線部53とセンサ部41との当接位置の確認を容易に行うことができる。
【0063】
(10)コネクタ部42はコネクタハウジング40を備えており、該コネクタハウジング40の内部にはコネクタピン42a〜42eが設けられている。従って、コネクタハウジング40の内部の所定位置から確実にコネクタピン42a〜42eを延出することができる。
【0064】
(11)コネクタピン42a〜42eとセンサ44と給電部43から延出される給電端子56,57とは一体に形成された導電プレート54により接続されている。従って、コネクタピン42a〜42eと給電端子56,57とを接続する手間を省くことができる。
【0065】
尚、本発明の実施形態は、以下のように変更してもよい。
○上記実施の形態においては、コネクタ部42を外部端子と接続することにより駆動信号の受信及び位置センサ部により検出した歯車の回転角度の情報の送信などを行った。しかし、例えばアクチュエータ装置9に通信ICを組み付けることによって駆動信号の受信及び位置センサ部により検出した歯車の回転角度の情報の送信を行うようにしてもよい。
【0066】
○上記実施の形態においては、コネクタ部42は5本のコネクタピン42a〜42eを備えていたが、コネクタピンの数を4本以下或いは6本以上に変更してもよい。
【0067】
○上記実施の形態においては、第1〜第3減速ギア14〜16の3つのギアを用いたが、ギアの数は適宜変更してもよい。
○上記実施の形態においては、第1減速ギア14が第2減速ギア15に歯合し、第2減速ギア15が第3減速ギア16に歯合するように組み付けられていた。しかし、第1減速ギアが第2減速ギアと第3減速ギアとに同時に歯合されるように組み付けしてもよい。
【0068】
○上記実施の形態において、第3減速ギア16は上軸33から上方に向かって突出する雄形状の出力軸35が形成されていたが、上軸33に雌形状の出力軸を凹設したものであってもよい。
【0069】
【発明の効果】
以上詳述したように、本発明によれば、容易に組み付け可能なアクチュエータ装置を提供することができる。
【図面の簡単な説明】
【図1】コネクタアッセンブリの斜視図。
【図2】コネクタアッセンブリの説明図。
【図3】駆動モータの説明図。
【図4】第3減速ギアの説明図。
【図5】センサ部と第2及び第3減速ギアの説明図。
【図6】下部ケースの説明図。
【図7】上部ケースの説明図。
【図8】アクチュエータ装置の概観図。
【図9】アクチュエータ装置の側面概観図。
【図10】エアコン通路の概観図。
【符号の説明】
9…アクチュエータ装置、10…第1ケースとしての下部ケース、11…第2ケースとしての上部ケース、12…駆動モータ、16…歯車としての第3減速ギア、16a…凹部、17…コネクタアッセンブリ、32…歯車部、35…出力軸、41…センサ部、42…コネクタ部、42a〜42e…コネクタ端子としてのコネクタピン、43…給電部、44…センサ、56,57…給電端子。
[0001]
BACKGROUND OF THE INVENTION
The present invention relates to an actuator device.
[0002]
[Prior art]
2. Description of the Related Art Conventionally, an actuator device includes a power supply terminal for supplying a drive current to an electric motor, a sensor for detecting a rotation position of an output shaft, a connector pin connected to an external connector, and the like. The connector pin is sandwiched between an upper case and a lower case, and a connector housing is formed by the upper case and the lower case. The connector pins extend from the second conductive plate, and are connected and fixed to each other by spot welding after being crimped to the first conductive plate having the power supply terminals. A pattern substrate as a sensor is attached to a gear, and a brush connected to a conductive plate having a power supply terminal is slidably contacted. (For example, refer to Patent Document 1).
[0003]
[Patent Document 1]
JP-A-9-219957 (FIG. 1)
[0004]
[Problems to be solved by the invention]
However, since the connector pin is formed by the upper case and the lower case, the connector pin is troublesome to arrange the connector pin at a predetermined position in the connector housing. In addition, since the first conductive plate on which the power supply terminals are formed and the second conductive plate on which the connector pins are formed are connected, there is a problem that each part has a lot of management and assembly man-hours, and it takes time to assemble. It was. Further, since the pattern substrate is attached to the gear, it is difficult to confirm the contact position between the brush and the pattern substrate, and it takes time to assemble the actuator device.
[0005]
The present invention has been made to solve the above problems, and an object thereof is to provide an actuator device that can be easily assembled.
[0006]
[Means for Solving the Problems]
In order to solve the above problems, the invention described in claim 1 includes a sensor that detects the rotation angle of the output shaft, a connector terminal to which an external terminal is connected, and a power supply terminal that supplies drive power to the drive motor. While being electrically connected, the sensor part which accommodates the said sensor, the connector part from which the said connector terminal is extended, and the electric power feeding part from which the said electric power feeding terminal is extended were formed integrally.
[0007]
According to a second aspect of the present invention, there is provided a connector portion having a connector terminal held between the first case and the second case and connected to an external terminal, and a sensor for detecting the rotation angle of the output shaft. The housed sensor part and the power feeding part from which the power feeding terminal for supplying driving power to the driving motor is extended are formed integrally.
[0008]
The invention according to claim 3 is the invention according to claim 1 or 2, wherein the gear provided with the output shaft includes a recess that opens to the sensor side of a gear portion included in the gear, and the recess is provided in the recess. The sensor part was accommodated.
[0009]
According to a fourth aspect of the present invention, in the invention according to any one of the first to third aspects, an outer shape of an assembly including the sensor portion, the connector portion, and the power feeding portion is substantially L-shaped. Formed into a shape.
[0010]
According to a fifth aspect of the present invention, in the invention according to any one of the first to fourth aspects, the sensor unit is formed so as to accommodate various sensors therein.
(Function)
According to invention of Claim 1 or 2, the assembly man-hour of an actuator apparatus is reduced.
[0011]
According to the invention described in claim 3, the actuator device is miniaturized in the axial direction of the gear.
According to invention of Claim 4, an assembly can be accommodated in the corner | angular part of an actuator apparatus, and an outermost dimension can be shortened. Therefore, the actuator device is reduced in size.
[0012]
According to the invention described in claim 5, it is possible to easily cope with a plurality of specifications by changing the sensor accommodated in the sensor unit.
[0013]
DETAILED DESCRIPTION OF THE INVENTION
Hereinafter, an embodiment in which the present invention is embodied in a vehicle air conditioner will be described with reference to FIGS.
[0014]
As shown in FIG. 10, a plurality of (three in FIG. 10) dampers 2 to 4 are provided in the air conditioner passage 1. The dampers 2 to 4 are provided so as to be able to control the direction of air flow in the air conditioner passage 1. For example, the dampers 2 to 4 are used for switching the intake port to the outside air or the room, vents, feet, For opening and closing the air outlet. Each of the dampers 2 to 4 is provided with an actuator device 9. The actuator device 9 drives the dampers 2 to 4 based on the control signal and the power source input from the air conditioner amplifier Z.
[0015]
As shown in FIG. 9, the outer shape of the actuator device 9 is formed by assembling a lower case 10 as a first case and an upper case 11 as a second case.
[0016]
As shown in FIG. 8, the actuator device 9 includes a drive motor 12, a worm 13, first to third reduction gears 14 to 16 as gears, and a connector assembly 17.
[0017]
As shown in FIGS. 6A and 6B, the lower case 10 is formed with a slope portion 20 and motor support portions 21 and 22. The slope portion 20 is formed so as to protrude upward from the bottom wall of the lower case 10, and an end surface 20 a thereof is inclined with respect to the bottom wall surface of the lower case 10. The motor support portions 21 and 22 are formed so as to protrude upward from the bottom wall of the lower case 10, and the drive motor 12 is fixed between the motor support portions 21 and 22.
[0018]
The drive motor 12 is formed in a substantially cylindrical shape. As shown in FIG. 3 (a), the outer shape of the drive motor 12 is substantially covered by a bottomed cylindrical motor yoke 18, and the opening of the motor yoke 18 is the end as shown in FIG. 3 (b). A lid is formed by the housing 19.
[0019]
As shown in FIGS. 3A and 3C, the motor yoke 18 has two recesses 18b and 18c formed at opposite locations in the radial direction of the bottom wall 18a. The drive motor 12 is fixed to the lower case 10 such that the hollow portion 18c contacts the slope portion 20 formed in the lower case 10, and the drive motor 12 is fixed in the circumferential direction by the hollow portion 18c and the slope portion 20. An angle is set. An output shaft 12a of the drive motor 12 extends from the center of the bottom wall 18a.
[0020]
As shown in FIG. 3 (b), plate-like motor terminals 12b and 12c are extended from the radially opposite portions of the end housing 19 so as to be aligned in a substantially horizontal position. The motor terminals 12 b and 12 c are both bent in the same direction (upward in FIGS. 3A and 3B), and the end surface on the end housing 19 side is in close contact with the end housing 19.
[0021]
A worm 13 (see FIG. 8) is attached to the output shaft 12a of the drive motor 12 so as to rotate integrally with the output shaft 12a. A first reduction gear 14 is engaged with the worm 13. The first reduction gear 14 includes a lower shaft and an upper shaft 14a (not shown) at both ends in the axial direction. The lower shaft and the upper shaft 14a are rotatably supported by first reduction gear bearings 23 and 24 (see FIG. 6A and FIG. 7) formed at positions where the lower case 10 and the upper case 11 face each other. .
[0022]
The first reduction gear bearing 23 is formed to protrude in a cylindrical shape upward from the bottom wall of the lower case 10. The first reduction gear bearing 24 is formed in a cylindrical shape protruding downward from the upper wall of the upper case 11. The first reduction gear bearings 23, 24 are formed so that the diameters of the inner peripheral surfaces thereof are substantially equal to the diameters of the lower shaft and the upper shaft 14 a of the first reduction gear 14.
[0023]
As for the 1st reduction gear 14, the worm wheel 14b is integrally formed in the outer edge part. The worm wheel 14b is meshed with the worm 13 and the rotation of the worm 13 is transmitted.
[0024]
The first reduction gear 14 is meshed with the second reduction gear 15. The first reduction gear 14 includes a gear portion 14c that rotates integrally with the worm wheel 14b. The gear part 14c is formed so that the gear part 14c has fewer teeth than the worm wheel 14b. The first reduction gear 14 is meshed with the second reduction gear 15 at the gear portion 14c.
[0025]
The second reduction gear 15 includes a first gear portion 15a and a second gear portion 15b. The first gear portion 15a and the second gear portion 15b are integrally formed with each other. The first gear portion 15a has more teeth than the gear portion 14c of the first reduction gear 14, and the second gear portion 15b has more teeth than the first gear portion 15a. Less formed. The first gear portion 15 a is meshed with the gear portion 14 c of the first reduction gear 14.
[0026]
As shown in FIG. 5A, the second reduction gear 15 includes a lower shaft 15c and an upper shaft 15d at both ends in the axial direction. The lower shaft 15c and the upper shaft 15d are rotatably supported by second reduction gear bearings 25 and 26 (see FIG. 6A and FIG. 7) formed at positions where the lower case 10 and the upper case 11 face each other. ing.
[0027]
The second reduction gear bearing 25 is formed in a cylindrical shape so as to protrude upward from the bottom wall of the lower case 10, and the diameter of the inner peripheral surface thereof is the same as the diameter of the outer peripheral surface of the lower shaft 15 c of the second reduction gear 15. It is formed approximately equally.
[0028]
The second reduction gear bearing 26 is formed in a cylindrical shape so as to protrude downward from the upper wall of the upper case 11, and the diameter of the inner peripheral surface thereof is the same as the diameter of the outer peripheral surface of the upper shaft 15 d of the second reduction gear 15. It is formed approximately equally.
[0029]
As shown in FIG. 5A, the second reduction gear 15 is engaged with the third reduction gear 16 at the second gear portion 15b.
As shown in FIG. 4A, the third reduction gear 16 includes a disk portion 31, a gear portion 32, an upper shaft 33, and a lower shaft 34. The disk part 31 is formed of a circular flat plate, and a gear part 32 is integrally formed at the outer peripheral end thereof. The gear part 32 is formed in a cylindrical shape. The gear portion 32 is integrally formed with the disc portion 31 so that the lower end protrudes below the lower surface of the disc portion 31. Therefore, the third reduction gear 16 has a substantially ring-shaped recess 16 a that opens downward from the lower surface of the disk portion 31, the inner peripheral surface of the gear portion 32, and the outer peripheral surface of the lower shaft 34. The number of teeth included in the gear portion 32 is formed more than the number of teeth included in the second gear portion 15 b of the second reduction gear 15.
[0030]
A cylindrical upper shaft 33 protruding upward is formed on the upper surface of the disk portion 31, and a substantially cylindrical lower shaft 34 protruding downward is formed on the lower surface of the disk portion 31. .
[0031]
A male-shaped output shaft 35 that protrudes further upward is formed at the tip of the upper shaft 33 of the third reduction gear 16 (the upper end in FIG. 4A). As shown in FIG. 4B, the output shaft 35 is formed so that its outer peripheral surface is substantially D-shaped when viewed from the axial direction. As shown in FIG. 4C, the lower shaft 34 of the third reduction gear 16 is formed so that the outer peripheral surface is substantially D-shaped when viewed from the axial direction.
[0032]
The lower shaft 34 and the upper shaft 33 are rotatably supported by third reduction gear bearings 38 and 39 (see FIG. 6A and FIG. 7) formed at positions where the lower case 10 and the upper case 11 face each other. ing.
[0033]
The third reduction gear bearing 38 is formed so as to protrude in a cylindrical shape upward from the bottom wall of the lower case 10, and the diameter of the inner peripheral surface thereof is the same as the diameter of the outer peripheral surface of the lower shaft 34 of the third reduction gear 16. It is formed approximately equally.
[0034]
The third reduction gear bearing 39 is formed in a cylindrical shape so as to protrude downward from the upper wall of the upper case 11, and the diameter of the inner peripheral surface thereof is equal to the diameter of the outer peripheral surface of the upper shaft 33 of the third reduction gear 16. It is formed approximately equally. The upper case 11 includes a second output port 39 a having an upper wall cut out in a circular shape in accordance with the shape of the inner peripheral surface of the third reduction gear bearing 39. That is, the inner peripheral surface of the third reduction gear bearing 39 and the second output port 39a are formed continuously, and the upper case 11 is formed by the inner peripheral surface of the third reduction gear bearing 39 and the second output port 39a. The inner side and the outer side are in communication with each other.
[0035]
The third reduction gear bearing 39 is arranged so that the upper end surface of the upper shaft 33 protrudes upward from the upper wall of the upper case 11 when the upper shaft 33 of the third reduction gear 16 is inserted into the third reduction gear bearing 39. The height of the direction is set. Therefore, as shown in FIG. 9, the output shaft 35 formed on the upper shaft 33 of the third reduction gear 16 protrudes from the upper end surface of the actuator device 9, and torque can be output from the actuator device 9.
[0036]
In the third reduction gear 16 formed in this way, the output shaft 35 is inserted into the third reduction gear bearing 39 (see FIG. 7), and the lower shaft 34 is connected to the connector assembly 17 as shown in FIG. The gear portion 32 is engaged with the second gear portion 15 b of the second reduction gear 15.
[0037]
As shown in FIGS. 1 and 2B, the connector assembly 17 includes a sensor unit 41, a connector unit 42, and a power feeding unit 43. The connector assembly 17 includes a sensor portion 41, a connector portion 42, and a power feeding portion 43, and is formed in a substantially L shape when viewed from above. The sensor part 41 is formed in a substantially bottomed cylindrical shape, and a hole 41 a through which the lower shaft 34 is inserted is formed in the center of the bottom wall of the sensor part 41.
[0038]
As shown in FIG. 5A, a sensor 44 formed in a substantially ring shape is rotatably accommodated inside the sensor unit 41, and is covered with a flat plate 48 from the opening end side of the sensor unit 41. ing. As shown in FIG. 5 (b), the flat plate 48 is attached to the sensor portion 41 by a hooking claw 48a formed on the outer edge portion. The flat plate 48 has a hole 48b (see FIG. 1) through which the lower shaft 34 is inserted at the center.
[0039]
The sensor 44 includes a press-fit hole 45 whose inner peripheral surface is substantially D-shaped at the center thereof. The lower shaft 34 is press-fitted into the press-fitting hole 45, and the sensor 44 rotates integrally with the third reduction gear 16. As shown in FIG. 5A, the sensor unit 41 is accommodated in a recess 16 a formed in the third reduction gear 16. For example, a potentiometer having a variable resistor is used as the sensor 44 and detects the rotation angle of the third reduction gear 16.
[0040]
As shown in FIG. 1 or FIG. 2B and the like, a flange portion 49 is formed at the opening end of the sensor portion 41 so as to extend radially outward in a predetermined angle range. Two notch surfaces 49a and 49b are formed in the flange portion 49, and as shown in FIG. 5B, a second reduction gear 15 is disposed between the notch surfaces 49a and 49b. Yes.
[0041]
Positioning concave portions 46 and 47 are formed at both ends in the radial direction of the flange portion 49. The positioning recesses 46 and 47 are formed by cutting out toward the center of the sensor unit 41. As shown in FIG. 5B, the positioning concave portions 46 and 47 are engaged with the positioning convex portions 50 and 51 on the inner peripheral surface thereof. The positioning protrusions 50 and 51 are formed on opposite sides in the radial direction across the third reduction gear bearing 38 (see FIG. 6A), and have a substantially cylindrical shape upward from the bottom wall of the lower case 10. Protruding.
[0042]
The sensor unit 41 determines an arrangement position in the lower case 10 by the positioning concave portions 46 and 47 and the positioning convex portions 50 and 51.
As shown in FIG. 1, the connector portion 42 is connected to the flange portion 49 and is formed integrally with the sensor portion 41.
[0043]
As shown in FIG. 2A, the connector portion 42 includes a connector housing 40. The connector housing 40 has a substantially box-shaped outer shape, and a plurality (five in this embodiment) of connector pins 42a to 42e are provided as connector terminals from a predetermined position.
[0044]
The connector assembly 17 includes a conductive plate 54. The conductive plate 54 is manufactured by punching a conductive plate such as a single metal plate into a predetermined shape, and connector pins 42a to 42e and power supply terminals 56 and 57 extending from the power supply unit 43 are formed in a part thereof. ing.
[0045]
The conductive plate 54 includes a wiring portion 53 (see FIG. 2B). The wiring part 53 includes connecting parts 53a to 53c, a cutting part 53d, and connecting parts 53e to 53g. The conductive plate 54 is formed by punching in a state where the connecting portions 53a to 53c and the cutting portion 53d are connected. The connection portions 53e to 53g are connected to the sensor 44, and connect the sensor, the connector pins 42a to 42e, and the power supply terminals 56 and 57 to each other.
[0046]
In the present embodiment, the connector pin 42a is connected to the power supply terminal 57, and the connector pins 42b and 42c are connected to the power supply terminal 56 and the connection portion 53e. The connector pin 42d is connected to the connection portion 53f, and the connector pin 42e is connected to the connection portion 53g.
[0047]
The conductive plate 54 is molded with resin so as to expose the wiring portion 53, and the sensor portion 41, the connector portion 42, and the power feeding portion 43 are formed. The connecting portions 53a to 53c and the cutting portion 53d are cut at predetermined positions after resin molding.
[0048]
The cutting part 53d is cut so as to electrically open the connector pin 42a and the wiring part 53. The cut portions of the connecting portions 53a to 53c are appropriately set depending on the type of the sensor 44 accommodated in the sensor portion 41, and the connecting portions 53b and 53c are cut in the present embodiment. The wiring part 53 can correspond to various sensors 44 by appropriately setting the cut portions of the connecting parts 53a to 53c.
[0049]
As shown in FIG. 1, the connector housing 40 has a positioning recess 55 formed on the lower surface. The positioning recess 55 is fitted with a rib 52 (see FIG. 6A) protruding from the bottom wall of the lower case 10. The connector portion 42 determines an arrangement position in the lower case 10 by the positioning recess 55 and the rib 52.
[0050]
As shown in FIG. 2A, a power feeding portion 43 is integrally extended from the connector portion 42 toward the side. The power feeding unit 43 is integrally provided with two power feeding terminals 56 and 57. The power supply terminals 56 and 57 are bent by a metal plate, and a slit is formed at the tip thereof.
[0051]
As shown in FIG. 2C, the tips of the power supply terminals 56 and 57 are formed in a substantially V shape when viewed from the side, and contact portions 56a and 57a are formed at the bent positions of the V-shaped portion. ing. The contact portions 56a and 57a are set to protrude toward the drive motor 12 so as to contact the motor terminals 12b and 12c of the drive motor 12 in a state where the power supply terminals 56 and 57 are elastically deformed. Further, the lengths of the power supply terminals 56 and 57 are set so that the contact portions 56a and 57a contact the motor terminals 12b and 12c. The power supply terminals 56 and 57 formed in this way supply power to the drive motor 12 in a state where the contact portions 56a and 57a are pressed against the motor terminals 12b and 12c.
[0052]
As shown in FIG. 2B, the power feeding portion 43 has a positioning recess 58 between the power feeding terminals 56 and 57. The positioning recess 58 has an inner circumferential surface that is gently curved, and has substantially the same shape as the outer circumferential surface of the motor support portion 22 (see FIG. 6A) formed in the lower case 10. Further, the thickness of the power feeding portion 43 in the width direction (vertical direction in FIG. 2B) is formed substantially equal to the width between the motor support portion 22 and the side wall of the lower case 10.
[0053]
The power feeding unit 43 determines an arrangement position in the lower case 10 by being sandwiched between the motor support unit 22 and the side wall of the lower case 10.
As shown in FIG. 9, the connector assembly 17 formed in this way is held between the lower case 10 and the upper case 11 in a state where a connector can be inserted into the connector portion 42 from an external component.
[0054]
As described above, the present embodiment has the following effects.
(1) In the connector assembly 17, the sensor part 41, the connector part 42, and the power feeding part 43 are integrally formed. Therefore, the number of steps for assembling the actuator device 9 is reduced, and the actuator device 9 can be easily manufactured.
[0055]
(2) The third reduction gear 16 accommodates the sensor part 41 in a substantially ring-shaped recess 16a formed inside the gear part 32 and opened downward. Accordingly, a space for accommodating the sensor 44 can be provided inside the gear portion 32 of the third reduction gear 16, and the actuator device 9 can be reduced in size.
[0056]
(3) The connector assembly 17 includes a sensor portion 41, a connector portion 42, and a power feeding portion 43, and is formed in a substantially L shape when viewed from above. Therefore, the outermost dimension of the connector assembly 17 is shortened, and the actuator device 9 can be miniaturized.
[0057]
(4) Even if the sensor 44 is changed, the sensor 44 and the power feeding unit 43 can be appropriately connected to the connector pins 42a to 42e depending on where the coupling parts 53a to 53c are cut. Therefore, instead of the potentiometer type sensor 44, for example, a pulse encoder type that forms a digital signal from a pulse and finely controls the rotation angle of the output shaft 35, or the rotation angle of the output shaft 35 is controlled in two ways by an on / off signal. Even a sensor of this type can be accommodated in the same connector assembly 17. Therefore, it is not necessary to change the connector assembly 17 according to the type of the sensor 44, and the versatility of the connector assembly 17 can be improved.
[0058]
(5) The connection between the sensor 44 and the power supply terminals 56 and 57 and the connector pins 42a to 42e is determined by whether or not to disconnect the connecting portions 53a to 53c that are connected in advance. Therefore, it is not necessary to connect the terminals, and the use of lead can be suppressed without using a soldering process.
[0059]
(6) The motor terminals 12 b and 12 c are formed by being bent at a position extending from the end housing 19, and an end surface on the end housing 19 side is in close contact with the end housing 19. Therefore, the actuator device 9 can be downsized in the axial direction of the motor terminals 12b and 12c.
[0060]
(7) The motor terminals 12b and 12c are in close contact with the end housing 19, and the power feeding terminals 56 and 57 feed power to the drive motor 12 with the contact portions 56a and 57b pressed against the motor terminals 12b and 12c. Yes. Therefore, when the motor terminals 12b and 12c are pressed against the end housing 19, the resonance point can be raised, and resonance near 1 kHz which is annoying can be avoided.
[0061]
(8) The drive motor 12 is fixed to the lower case 10 so that the hollow portion 18 c of the motor yoke 18 contacts the inclined surface portion 20 formed in the lower case 10. Therefore, the drive motor 12 formed in a cylindrical shape can be reliably positioned in the circumferential direction.
[0062]
(9) The wiring part 53 is connected to the sensor 44 accommodated in the sensor part 41. Accordingly, it is possible to easily check the contact position between the wiring portion 53 and the sensor portion 41 when the connector assembly 17 is formed.
[0063]
(10) The connector portion 42 includes a connector housing 40, and connector pins 42 a to 42 e are provided inside the connector housing 40. Therefore, the connector pins 42 a to 42 e can be reliably extended from a predetermined position inside the connector housing 40.
[0064]
(11) The connector pins 42a to 42e, the sensor 44, and the power supply terminals 56 and 57 extending from the power supply unit 43 are connected by a conductive plate 54 formed integrally. Therefore, the trouble of connecting the connector pins 42a to 42e and the power supply terminals 56 and 57 can be saved.
[0065]
In addition, you may change embodiment of this invention as follows.
In the above embodiment, the connector portion 42 is connected to an external terminal to receive a drive signal and transmit information on the rotation angle of the gear detected by the position sensor portion. However, for example, a drive signal may be received and information on the rotation angle of the gear detected by the position sensor unit may be transmitted by assembling a communication IC to the actuator device 9.
[0066]
In the above embodiment, the connector portion 42 includes the five connector pins 42a to 42e. However, the number of connector pins may be changed to 4 or less or 6 or more.
[0067]
In the above embodiment, the first to third reduction gears 14 to 16 are used, but the number of gears may be changed as appropriate.
In the above embodiment, the first reduction gear 14 is engaged with the second reduction gear 15 and the second reduction gear 15 is engaged with the third reduction gear 16. However, the first reduction gear may be assembled so as to be simultaneously meshed with the second reduction gear and the third reduction gear.
[0068]
In the above embodiment, the third reduction gear 16 is formed with the male output shaft 35 protruding upward from the upper shaft 33. However, the upper shaft 33 has a female output shaft recessed. It may be.
[0069]
【The invention's effect】
As described above in detail, according to the present invention, an actuator device that can be easily assembled can be provided.
[Brief description of the drawings]
FIG. 1 is a perspective view of a connector assembly.
FIG. 2 is an explanatory diagram of a connector assembly.
FIG. 3 is an explanatory diagram of a drive motor.
FIG. 4 is an explanatory diagram of a third reduction gear.
FIG. 5 is an explanatory diagram of a sensor unit and second and third reduction gears.
FIG. 6 is an explanatory diagram of a lower case.
FIG. 7 is an explanatory diagram of an upper case.
FIG. 8 is a schematic view of an actuator device.
FIG. 9 is a schematic side view of the actuator device.
FIG. 10 is a schematic view of an air conditioner passage.
[Explanation of symbols]
DESCRIPTION OF SYMBOLS 9 ... Actuator apparatus, 10 ... Lower case as 1st case, 11 ... Upper case as 2nd case, 12 ... Drive motor, 16 ... 3rd reduction gear as gear, 16a ... Recessed part, 17 ... Connector assembly, 32 DESCRIPTION OF SYMBOLS ... Gear part, 35 ... Output shaft, 41 ... Sensor part, 42 ... Connector part, 42a-42e ... Connector pin as connector terminal, 43 ... Power feeding part, 44 ... Sensor, 56, 57 ... Power feeding terminal.

Claims (5)

出力軸(35)の回転角度を検出するセンサ(44)と、外部端子が接続されるコネクタ端子(42a〜42e)と、駆動モータ(12)に駆動電力を供給する給電端子(56,57)とを電気的に接続するとともに、
前記センサ(44)を収容するセンサ部(41)と、前記コネクタ端子(42a〜42e)が延出されるコネクタ部(42)と、前記給電端子(56,57)が延出される給電部(43)とを一体に形成したことを特徴とするアクチュエータ装置。
Sensor (44) for detecting the rotation angle of the output shaft (35), connector terminals (42a to 42e) to which external terminals are connected, and power supply terminals (56, 57) for supplying drive power to the drive motor (12) And electrically connecting
A sensor part (41) for accommodating the sensor (44), a connector part (42) from which the connector terminals (42a to 42e) are extended, and a power supply part (43) from which the power supply terminals (56, 57) are extended. ) Are integrally formed.
第1ケース(10)と第2ケース(11)との間で保持され、外部端子と接続されるコネクタ端子(42a〜42e)を備えたコネクタ部(42)と、
出力軸(35)の回転角度を検出するセンサ(44)を内部に収容したセンサ部(41)と、
駆動モータ(12)に駆動電力を供給する給電端子(56,57)が延出される給電部(43)とを一体に形成したことを特徴とするアクチュエータ装置。
A connector portion (42) having connector terminals (42a to 42e) held between the first case (10) and the second case (11) and connected to external terminals;
A sensor unit (41) that houses therein a sensor (44) for detecting the rotation angle of the output shaft (35);
An actuator device characterized by integrally forming a power feeding portion (43) from which power feeding terminals (56, 57) for supplying driving power to a drive motor (12) are extended.
前記出力軸(35)が設けられた歯車(16)は、該歯車(16)が備える歯車部(32)の前記センサ(44)側に開口する凹部(16a)を備え、前記凹部(16a)に前記センサ部(41)が収容されていることを特徴とする請求項1又は2に記載のアクチュエータ装置。The gear (16) provided with the output shaft (35) includes a recess (16a) that opens on the sensor (44) side of the gear portion (32) included in the gear (16), and the recess (16a). The actuator device according to claim 1, wherein the sensor unit (41) is accommodated in the actuator device. 前記センサ部(41)と、前記コネクタ部(42)と、前記給電部(43)とからなるアッセンブリ(17)は外形が略L字状に形成されていることを特徴とする請求項1〜3のうちのいずれか一項に記載のアクチュエータ装置。The assembly (17) comprising the sensor part (41), the connector part (42), and the power feeding part (43) has an outer shape formed in an approximately L shape. The actuator device according to claim 1. 前記センサ部(41)は、その内部に種々のセンサ(44)を収容可能に形成されていることを特徴とする請求項1〜4のうちのいずれか一項に記載のアクチュエータ装置。The said sensor part (41) is formed so that various sensors (44) can be accommodated in the inside, The actuator apparatus as described in any one of Claims 1-4 characterized by the above-mentioned.
JP2002325745A 2002-11-08 2002-11-08 Actuator device Expired - Fee Related JP4031351B2 (en)

Priority Applications (6)

Application Number Priority Date Filing Date Title
JP2002325745A JP4031351B2 (en) 2002-11-08 2002-11-08 Actuator device
PCT/JP2003/014147 WO2004047257A1 (en) 2002-11-08 2003-11-06 Actuator device
KR1020057008019A KR100984544B1 (en) 2002-11-08 2003-11-06 Actuator device
DE10393646T DE10393646T5 (en) 2002-11-08 2003-11-06 actuator
CNB200380102750XA CN1331300C (en) 2002-11-08 2003-11-06 Actuator device
US10/533,896 US7402926B2 (en) 2002-11-08 2003-11-06 Actuator device

Applications Claiming Priority (1)

Application Number Priority Date Filing Date Title
JP2002325745A JP4031351B2 (en) 2002-11-08 2002-11-08 Actuator device

Publications (2)

Publication Number Publication Date
JP2004166320A true JP2004166320A (en) 2004-06-10
JP4031351B2 JP4031351B2 (en) 2008-01-09

Family

ID=32804876

Family Applications (1)

Application Number Title Priority Date Filing Date
JP2002325745A Expired - Fee Related JP4031351B2 (en) 2002-11-08 2002-11-08 Actuator device

Country Status (2)

Country Link
JP (1) JP4031351B2 (en)
CN (1) CN1331300C (en)

Cited By (7)

* Cited by examiner, † Cited by third party
Publication number Priority date Publication date Assignee Title
USD551322S1 (en) 2005-05-25 2007-09-18 Asmo Co., Ltd. Actuator for automotive air conditioner
USD551739S1 (en) 2005-05-25 2007-09-25 Asmo Co., Ltd. Actuator for automotive air conditioner
USD569481S1 (en) 2005-05-25 2008-05-20 Asmo Co., Ltd. Actuator for automotive air conditioner
DE102011116583A1 (en) 2010-10-22 2012-04-26 Asmo Co., Ltd. actuator
WO2014199438A1 (en) * 2013-06-11 2014-12-18 三菱電機株式会社 Alternating-current generator, voltage regulation device for alternating-current generator, and manufacturing methods therefor
CN107528426A (en) * 2016-06-17 2017-12-29 美蓓亚三美株式会社 Rotating device and vehicle equipped with air conditioning system having the rotating device
WO2019054174A1 (en) * 2017-09-13 2019-03-21 ミネベアミツミ株式会社 Rotating device

Families Citing this family (7)

* Cited by examiner, † Cited by third party
Publication number Priority date Publication date Assignee Title
CN101231530B (en) * 2007-01-25 2010-05-19 大银微系统股份有限公司 Linear Feedback for Actuators
JP5425596B2 (en) * 2009-11-20 2014-02-26 カルソニックカンセイ株式会社 Motor damping structure of actuator device
DE102011084341B4 (en) * 2011-10-12 2017-07-06 Bühler Motor GmbH actuator
CN106953461B (en) * 2012-06-26 2019-08-30 株式会社电装 Motor driver
CN104052215B (en) * 2013-03-12 2017-02-08 昆山广兴电子有限公司 Metal motor base and manufacturing method thereof
JP2018009655A (en) * 2016-07-14 2018-01-18 日本電産サンキョー株式会社 Driving force transmission mechanism and opening/closing member driving device
JP7051101B2 (en) * 2018-10-26 2022-04-11 株式会社不二工機 Flow switching valve

Family Cites Families (4)

* Cited by examiner, † Cited by third party
Publication number Priority date Publication date Assignee Title
JP2842907B2 (en) * 1989-12-07 1999-01-06 株式会社テージーケー Method of manufacturing wiring for motor actuator
JPH0539168U (en) * 1991-10-21 1993-05-25 株式会社テージーケー Motor actuator
JP2572012Y2 (en) * 1992-02-27 1998-05-20 アスモ株式会社 Actuator device
DE10018230A1 (en) * 2000-04-12 2001-10-25 Webasto Vehicle Sys Int Gmbh Drive for adjustable vehicle part e.g. roof, has at least significant part of electronic components between worm wheel and gearbox housing, and electronic components within worm wheel contour

Cited By (22)

* Cited by examiner, † Cited by third party
Publication number Priority date Publication date Assignee Title
USD551739S1 (en) 2005-05-25 2007-09-25 Asmo Co., Ltd. Actuator for automotive air conditioner
USD568964S1 (en) 2005-05-25 2008-05-13 Asmo Co., Ltd. Actuator for automotive air conditioner
USD569481S1 (en) 2005-05-25 2008-05-20 Asmo Co., Ltd. Actuator for automotive air conditioner
USD551322S1 (en) 2005-05-25 2007-09-18 Asmo Co., Ltd. Actuator for automotive air conditioner
DE102011116583A1 (en) 2010-10-22 2012-04-26 Asmo Co., Ltd. actuator
US8659198B2 (en) 2010-10-22 2014-02-25 Asmo, Co. Ltd. Actuator
US10110097B2 (en) 2013-06-11 2018-10-23 Mitsubishi Electric Corporation Alternating-current generator, voltage regulation device for alternating-current generator, and manufacturing methods therefor
WO2014199438A1 (en) * 2013-06-11 2014-12-18 三菱電機株式会社 Alternating-current generator, voltage regulation device for alternating-current generator, and manufacturing methods therefor
JP5897214B2 (en) * 2013-06-11 2016-03-30 三菱電機株式会社 Alternator, alternator voltage regulator, and manufacturing method thereof
CN113270975A (en) * 2016-06-17 2021-08-17 美蓓亚三美株式会社 Rotary position sensor, rotary device and vehicle
US10770951B2 (en) 2016-06-17 2020-09-08 Minebea Mitsumi Inc. Rotary apparatus and vehicle having air conditioning system including the rotating apparatus
CN107528426B (en) * 2016-06-17 2021-07-13 美蓓亚三美株式会社 Rotating device and vehicle equipped with air-conditioning system having the same
CN107528426A (en) * 2016-06-17 2017-12-29 美蓓亚三美株式会社 Rotating device and vehicle equipped with air conditioning system having the rotating device
US11689078B2 (en) 2016-06-17 2023-06-27 Minebea Mitsumi Inc. Rotary apparatus and vehicle having air conditioning system including the rotating apparatus
US12057758B2 (en) 2016-06-17 2024-08-06 Minebea Mitsumi Inc. Rotary apparatus and vehicle having air conditioning system including the rotating apparatus
CN113270975B (en) * 2016-06-17 2025-01-24 美蓓亚三美株式会社 Rotary position sensor, rotating device, and vehicle
WO2019054174A1 (en) * 2017-09-13 2019-03-21 ミネベアミツミ株式会社 Rotating device
JP2019054600A (en) * 2017-09-13 2019-04-04 ミネベアミツミ株式会社 Rotating device
EP3683937A4 (en) * 2017-09-13 2021-05-26 Minebea Mitsumi Inc. ROTATING DEVICE
JP7057083B2 (en) 2017-09-13 2022-04-19 ミネベアミツミ株式会社 Rotating device
US11411466B2 (en) 2017-09-13 2022-08-09 Minebea Mitsumi Inc. Rotating device
US12438417B2 (en) 2017-09-13 2025-10-07 Minebea Mitsumi Inc. Rotating device

Also Published As

Publication number Publication date
JP4031351B2 (en) 2008-01-09
CN1331300C (en) 2007-08-08
CN1711668A (en) 2005-12-21

Similar Documents

Publication Publication Date Title
JP4031351B2 (en) Actuator device
JP6317579B2 (en) Cover structure in motor
JP5551564B2 (en) Actuator device
WO2004047257A1 (en) Actuator device
US8981769B2 (en) Rotational angle detection devices
CN113678349B (en) Drive device with brushless electric motor
JP2004147377A (en) Motor
EP1182071A2 (en) Motor having clutch provided with stopper
US7109616B2 (en) Electric motor with hall effect memory module
JP4394530B2 (en) Electric drive
EP2487351B1 (en) Circuit module having connector(s)
JP6690857B2 (en) Rotating device
JP4545495B2 (en) motor
JP4702593B2 (en) motor
JP2003079109A (en) Brush holder and electric motor
JP2018082612A (en) motor
JP4968531B2 (en) Electromagnetic clutch
US6958918B2 (en) Contact unit
JP2003180047A (en) Brushless motor
JP5848108B2 (en) motor
EP1193157B1 (en) Cable holding structure
US12597827B2 (en) Control device, motor device, and oil pump device
JP4456433B2 (en) Manufacturing method of brush holder
JP2001032954A (en) Electric control valve
JP2006115670A (en) Actuator device

Legal Events

Date Code Title Description
A621 Written request for application examination

Free format text: JAPANESE INTERMEDIATE CODE: A621

Effective date: 20050419

A131 Notification of reasons for refusal

Free format text: JAPANESE INTERMEDIATE CODE: A131

Effective date: 20070710

A521 Written amendment

Free format text: JAPANESE INTERMEDIATE CODE: A523

Effective date: 20070907

TRDD Decision of grant or rejection written
A01 Written decision to grant a patent or to grant a registration (utility model)

Free format text: JAPANESE INTERMEDIATE CODE: A01

Effective date: 20071016

A61 First payment of annual fees (during grant procedure)

Free format text: JAPANESE INTERMEDIATE CODE: A61

Effective date: 20071018

R150 Certificate of patent or registration of utility model

Ref document number: 4031351

Country of ref document: JP

Free format text: JAPANESE INTERMEDIATE CODE: R150

Free format text: JAPANESE INTERMEDIATE CODE: R150

FPAY Renewal fee payment (event date is renewal date of database)

Free format text: PAYMENT UNTIL: 20101026

Year of fee payment: 3

FPAY Renewal fee payment (event date is renewal date of database)

Free format text: PAYMENT UNTIL: 20111026

Year of fee payment: 4

FPAY Renewal fee payment (event date is renewal date of database)

Free format text: PAYMENT UNTIL: 20111026

Year of fee payment: 4

FPAY Renewal fee payment (event date is renewal date of database)

Free format text: PAYMENT UNTIL: 20121026

Year of fee payment: 5

FPAY Renewal fee payment (event date is renewal date of database)

Free format text: PAYMENT UNTIL: 20121026

Year of fee payment: 5

FPAY Renewal fee payment (event date is renewal date of database)

Free format text: PAYMENT UNTIL: 20131026

Year of fee payment: 6

FPAY Renewal fee payment (event date is renewal date of database)

Free format text: PAYMENT UNTIL: 20141026

Year of fee payment: 7

R250 Receipt of annual fees

Free format text: JAPANESE INTERMEDIATE CODE: R250

R250 Receipt of annual fees

Free format text: JAPANESE INTERMEDIATE CODE: R250

R250 Receipt of annual fees

Free format text: JAPANESE INTERMEDIATE CODE: R250

R250 Receipt of annual fees

Free format text: JAPANESE INTERMEDIATE CODE: R250

S111 Request for change of ownership or part of ownership

Free format text: JAPANESE INTERMEDIATE CODE: R313111

R360 Written notification for declining of transfer of rights

Free format text: JAPANESE INTERMEDIATE CODE: R360

R360 Written notification for declining of transfer of rights

Free format text: JAPANESE INTERMEDIATE CODE: R360

R371 Transfer withdrawn

Free format text: JAPANESE INTERMEDIATE CODE: R371

S111 Request for change of ownership or part of ownership

Free format text: JAPANESE INTERMEDIATE CODE: R313111

R350 Written notification of registration of transfer

Free format text: JAPANESE INTERMEDIATE CODE: R350

R250 Receipt of annual fees

Free format text: JAPANESE INTERMEDIATE CODE: R250

R250 Receipt of annual fees

Free format text: JAPANESE INTERMEDIATE CODE: R250

LAPS Cancellation because of no payment of annual fees