JP2004088736A - 動画像の符号化方法、復号化方法、データストリーム、データ記録媒体およびプログラム - Google Patents
動画像の符号化方法、復号化方法、データストリーム、データ記録媒体およびプログラム Download PDFInfo
- Publication number
- JP2004088736A JP2004088736A JP2003150013A JP2003150013A JP2004088736A JP 2004088736 A JP2004088736 A JP 2004088736A JP 2003150013 A JP2003150013 A JP 2003150013A JP 2003150013 A JP2003150013 A JP 2003150013A JP 2004088736 A JP2004088736 A JP 2004088736A
- Authority
- JP
- Japan
- Prior art keywords
- picture
- pictures
- coded
- decoding
- prediction
- Prior art date
- Legal status (The legal status is an assumption and is not a legal conclusion. Google has not performed a legal analysis and makes no representation as to the accuracy of the status listed.)
- Pending
Links
Images
Landscapes
- Compression Or Coding Systems Of Tv Signals (AREA)
Abstract
【課題】画像の符号化および復号化においてBピクチャを用いた場合、時間的に後方にあるピクチャを参照する可能性があることから、参照される可能性のあるピクチャから順に並び替えて符号化を行うため、時間的な遅延が発生するという問題があった。
【解決手段】識別信号をヘッダ領域に付加することにより、ピクチャ間予測符号化において時間的に前方にあるピクチャのみを参照するように制限を施し、表示する順と同じ順番でピクチャの符号化を行うことにより符号化および復号化装置における遅延を最小限に抑えることを可能とする。特にBピクチャを用いた場合でも、前記制限を施すことによって符号化および復号化を行えることを特徴とする。
【選択図】 図1
【解決手段】識別信号をヘッダ領域に付加することにより、ピクチャ間予測符号化において時間的に前方にあるピクチャのみを参照するように制限を施し、表示する順と同じ順番でピクチャの符号化を行うことにより符号化および復号化装置における遅延を最小限に抑えることを可能とする。特にBピクチャを用いた場合でも、前記制限を施すことによって符号化および復号化を行えることを特徴とする。
【選択図】 図1
Description
【0001】
【発明の属する技術分野】
本発明は、動画像の符号化方法および復号化方法に関するものであり、特に既に符号化済みの複数のピクチャを参照して予測符号化を行うBピクチャを使用する符号化方法および復号化方法に関するものである。
【0002】
【従来の技術】
一般に動画像の符号化では、時間方向および空間方向の冗長性を削減することによって情報量の圧縮を行う。そこで時間的な冗長性の削減を目的とするピクチャ間予測符号化では、前方または後方のピクチャを参照してブロック単位で動きの検出および動き補償を行い、得られた予測画像と現在のピクチャとの差分値に対して符号化を行う。
【0003】
図5は上記の符号化対象ピクチャとこの符号化対象ピクチャが参照するピクチャとの参照関係の例を示す図である。
ピクチャI1は参照ピクチャを持たずピクチャ内予測符号化を行う。ピクチャP10は時間的に前方にあるP7を参照しピクチャ間予測符号化を行う。また、ピクチャB6は時間的に前方にある2つのピクチャを参照し、ピクチャB12は時間的に後方にある2つのピクチャを参照し、ピクチャB18は時間的に前方および後方にあるそれぞれ1枚ずつのピクチャを参照しピクチャ間予測符号化を行う。
【0004】
Bピクチャを用いた動画像の符号化では時間的に後方にあるピクチャを参照して符号化が行われる可能性があるため、前記参照される可能性のあるピクチャを符号化対象のピクチャよりも先に符号化しておく必要がある。
【0005】
図6(a)は表示されるピクチャの順番を示し、図6(b)は符号化するピクチャの順番を示したものである。
図6(a)におけるB63のようなBピクチャがあった場合はそれが参照するP64を先に符号化する必要があるため、図6(b)のような順番に並び替えて符号化を行わなくてはならない。そして、並び替えを行いB63より時間的に後方にあるP64が符号化されてからB63を符号化することが、B63の伝送を開始するときの遅延の原因となる。
【0006】
同様に、復号化装置では図6(b)のような順番で入力されてきた符号列に対して順次復号化を行うが、表示を行うためには時間軸に従った図6(a)のような順番に復号化されたピクチャを並び替える必要がある。ここでも、B63を表示するためにB63より時間的に後方にあるP64を復号化することが、B63が表示されるときに遅延が発生する原因となる。
【0007】
MPEG2等の従来の符号化方法では上記並び替えにともなう遅延の対応策としてローディレイモードというものが定義されていた。これは、図7に示すように、符号化および復号化の際に、Bピクチャが後方参照を行う可能性があるため、Bピクチャを用いないことによりピクチャの並び替えを行わずに符号化および復号化を行うことを実現するものである(例えば、非特許文献1参照)。
【0008】
【非特許文献1】
「ISO/IEC 13818−2,Information technology −− Generic coding of moving pictures and associated audio information: Video」(1996年5月15日),P.150 D.5 Low delay mode
【0009】
【発明が解決しようとする課題】
しかし、Bピクチャを使用しないことにより符号化効率が大幅に低下する可能性を含んでいた。
そこで、本発明はBピクチャを使用しながらも、遅延を最小限に抑えた動画像の符号化および復号化を可能とすることを目的とする。
【0010】
【課題を解決するための手段】
そしてこの目的を達成するために、本願発明による符号化方法は、ピクチャ内予測符号化により符号化されるIピクチャと、符号化対象のピクチャより表示順で前方向または後方向にあるピクチャを参照するピクチャ間予測符号化により符号化されるピクチャ間予測符号化ピクチャとを用いてピクチャを符号化する符号化方法であって、ピクチャ内予測符号化を行うIピクチャと符号化対象のピクチャより表示順で前方向にあるピクチャのみを参照して予測符号化を行うピクチャとの組み合わせからなるピクチャを用いて符号化することを示す命令を受けるステップと、前記命令を受けて、ピクチャの並び替えが不要であることを示す識別信号を出力するステップと、前記組み合わせからなるピクチャを並び替えを行わずに表示順で前記識別信号と共に符号化するステップとを有する。
【0011】
これにより符号化対象のピクチャより表示順で前方向にあるピクチャのみを参照して予測符号化を行うBピクチャを用いて符号化するため、表示順で入力された画像を並べ替えずに符号化することが可能になる。
【0012】
また、本願発明による復号化方法は、ピクチャ内予測符号化により符号化されたIピクチャと、表示順で前方向または後方向にあるピクチャを参照するピクチャ間予測符号化により符号化されたピクチャ間予測符号化ピクチャとを復号化する復号化方法であって、ピクチャの並び替えが必要か不要かを示す識別信号とピクチャの信号とを受信するステップと、前記識別信号が、ピクチャの並び替えが必要であることを示すか、ピクチャの並び替えが不要であることを示すかを判断するステップと、ピクチャの並び替えが不要であると判断されたとき、受信した順番で前記ピクチャの信号を復号化して出力し、ピクチャの並び替えが必要であると判断されたとき、受信した前記ピクチャの信号を復号化し、ピクチャの表示される順に前記ピクチャを並び替えて出力するステップとを有する。
【0013】
これにより復号化対象のピクチャより表示順で前方向にあるピクチャのみを参照して復号化を行うBピクチャを用いて復号化するため、表示順で入力された画像を並べ替えずに復号化することが可能になる。
【0014】
また、本発明の復号化方法、データストリーム、データ記録媒体およびプログラムについても上記と同様の構成、作用および効果を有する。
【0015】
また、本発明のデータストリームは、次の(1)から(3)の何れかの構成としてもよい。
(1)画面内予測符号化を行うIピクチャと符号化対象のピクチャより表示時間の順番で前方向にあるピクチャのみを参照して予測符号化を行うピクチャとの組み合わせからなるピクチャを用いて符号化されたシーケンスデータと、符号化されたピクチャの復号化において前記符号化されたピクチャの並び替えが不要であることを示す識別信号とを有するデータストリーム。
(2)符号化対象のピクチャより表示時間の順番で前方向にあるピクチャのみを参照して予測符号化を行うBピクチャと画面内予測符号化を行うIピクチャと符号化対象のピクチャより表示時間の順番で前方向にある1枚のピクチャのみを参照して予測符号化を行うPピクチャとの組み合わせからなるピクチャを用いて符号化されたシーケンスデータと、符号化されたピクチャの復号化において前記符号化されたピクチャの並び替えが不要であることを示す識別信号とを有するデータストリーム。
(3)符号化対象のピクチャより表示時間の順番で前方向にあるピクチャのみを参照して予測符号化を行うBピクチャと画面内予測符号化を行うIピクチャと符号化対象のピクチャより表示時間の順番で前方向にある1枚のピクチャのみを参照して予測符号化を行うPピクチャとの組み合わせからなるピクチャを用いて符号化するときに、符号化されたピクチャの復号化において前記符号化されたピクチャの並び替えが不要であることを示す識別信号が符号化され、Bピクチャのうち符号化対象のピクチャより表示時間の順番で後方向にあるピクチャを参照して動き予測を行うBピクチャを用いて符号化するときに、符号化されたピクチャの復号化において前記符号化されたピクチャの並び替えが必要であることを示す識別信号が符号化されたデータストリーム。
【0016】
また、本発明の画像符号化方法は、次の(4)、(5)の何れかの構成としてもよい。
(4)画像符号化方法であって、画面内予測符号化を行うIピクチャと符号化対象のピクチャより表示時間の順番で前方向にあるピクチャのみを参照して予測符号化を行うピクチャとの組み合わせからなるピクチャを用いて符号化することを示す命令を受けるステップと、前記命令を受けて、ピクチャの並び替えが不要であることを示す識別信号を出力するステップと、前記命令を受けて、前記組み合わせからなるピクチャのみを並び替えを行わず表示時間の順番で前記識別信号と共に符号化するステップとを備える。
(5)画像符号化方法であって、符号化対象のピクチャより表示時間の順番で前方向にあるピクチャのみを参照して予測符号化を行うBピクチャと、画面内予測符号化を行うIピクチャと、符号化対象のピクチャより表示時間の順番で前方向にある1枚のピクチャのみを参照して予測符号化を行うPピクチャとの組み合わせからなるピクチャを用いて符号化することを示す命令を受けるステップと、前記命令を受けて、ピクチャの並び替えが不要であることを示す識別信号を出力するステップと、前記命令を受けて、前記Bピクチャと前記Iピクチャと前記Pピクチャのみを並び替えを行わず表示時間の順番で前記識別信号と共に符号化するステップとを備える。
【0017】
また、本発明の画像復号化方法は、次の(6)、(7)の何れかの構成としてもよい。
(6)画像復号化方法であって、ピクチャの並び替えが不要であることを示す識別信号と表示時間の順番で符号化されたピクチャの信号とを受信するステップと、前記識別信号にともない、受信した順番で前記ピクチャの信号を復号化するステップと、復号化された順番で表示のために前記復号化されたピクチャを出力するステップとを備え。
(7)画像復号化方法であって、ピクチャの並び替えが必要か不要かを示す識別信号とピクチャの信号とを受信するステップと、前記識別信号が、ピクチャの並び替えが必要であることを示すか、ピクチャの並び替えが不要であることを示すかを判断するステップと、前記識別信号が、ピクチャの並び替えが不要であることを示す識別信号であるとき、受信した順番で前記ピクチャの信号を復号化して出力し、前記識別信号が、ピクチャの並び替えが必要であることを示す識別信号であるとき、受信した前記ピクチャの信号を復号化し、ピクチャの表示される順に前記ピクチャを並び替えて出力するステップとを備える。
【0018】
また、本発明のプログラム記録媒体は、(3)又は(4)に記載された画像符号化方法又は(6)又は(7)記載の復号化方法をコンピュータに実行させるプログラムを格納した記録媒体としてもよい。
【0019】
【発明の実施の形態】
(実施の形態1)
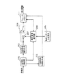
本発明の実施の形態1における動画像符号化方法を図1に示したブロック図を用いて説明する。
【0020】
予測方向制限指示部109は外部からの指示を受け、ピクチャ間予測を行うときの参照方法を制御する。ここで、ピクチャ間予測でBピクチャを用いるときの参照方法の例としては、▲1▼図5のB6に示すように前方にある2枚のピクチャを参照するか、▲2▼図5のB12に示すように後方にある2枚のピクチャを参照するか、▲3▼図5のB18に示すように前方の1枚と後方の1枚のピクチャを参照するか、などが考えられる。予測モードの例としては前方向2枚参照予測モード、後方向2枚参照予測モード、前方向後方向同時参照予測モード等がある。ただし予測方向制限指示部109によって時間的に前方にあるピクチャのみが参照されるように制限されている場合は、Bピクチャの符号化において時間的に後方にあるピクチャを参照する予測モードは選択されない。入力された指示によって図4(a)又は同図(b)に示す使用可能なピクチャが決定される。以下では、説明を簡単にするため同図(a)又は同図(b)に示す識別番号が指示として入力されるものとする。入力された指示(識別番号)は予測方向制限指示部109からフレームメモリ101、符号列生成部103、動きベクトル検出部106に出力される。
【0021】
符号化対象となる動画像は表示を行う順にピクチャ単位でフレームメモリ101に入力される。予測方向制限指示部109によって予測方向の制限がなされていない場合はフレームメモリ101において符号化を行う順にピクチャの並び替えを行う。また、時間的に前方にあるピクチャのみが参照されるように制限されている場合は並び替えを行わない。ここで時間的に前方にあるピクチャのみが参照される場合とは、Bピクチャに関して図5のB6に示すような前方にある2枚のピクチャを参照するBピクチャのみを用いる場合、またはBピクチャを全く用いない場合である。各々のピクチャはマクロブロックと呼ばれる例えば水平16×垂直16画素のブロックに分割されブロック単位で以降の処理が行われる。
【0022】
フレームメモリ101から読み出されたマクロブロックは動きベクトル検出部106に入力される。ここではフレームメモリ105に蓄積されている画像を参照ピクチャとして用いて、符号化対象のマクロブロックの動きベクトル検出を行う。フレームメモリ105には以下のステップで画像が保存される。まず、予測残差符号化部102から予測残差復号化部104に信号が入力される。予測残差復号化部104に入力された信号と、動き補償符号化部107で得られた予測画像とが加算演算部111において加算され、加算された信号が参照用の画像としてフレームメモリ105に保存される。なお、ピクチャ内予測符号化を行う場合は上記のような動き補償を必要としないため、スイッチ113は切断される。
【0023】
また、動きベクトル検出部106で決定された動きベクトルに従って、動き補償符号化部107では動きベクトル記憶部108に記憶されている符号化済みのピクチャで用いた動きベクトルとフレームメモリ105に記憶されている符号化済みのピクチャを用いて、予測画像が生成される。また、動き補償符号化部107から符号列生成部103に差分動きベクトルが入力される。
【0024】
図8は符号化の対象ピクチャが時間的に後方のピクチャを参照しない場合の各ピクチャの参照関係を示したものである。この場合、並び替えを行う必要が無いため、各ピクチャは表示される順番で符号化される。シーケンスに含まれる全てのBピクチャは時間的に前方にある1枚もしくは複数の符号化済みピクチャを参照して予測符号化を行っている。よって、Bピクチャを使用することにより、IピクチャとPピクチャのみを用いた従来のローディレイモードと比べて効率の良い符号化を行うことが可能となる。
【0025】
動きベクトル検出部106によって得られた動きベクトルによって決定された予測画像が差分演算部110に入力され、符号化対象のマクロブロックとの差分をとることにより予測残差画像が生成され、予測残差符号化部102において符号化が行われる。
【0026】
以上の処理の流れはピクチャ間予測符号化が選択された場合の動作であったが、スイッチ112によってピクチャ内予測符号化との切り替えがなされる。なお、その際にスイッチ113も同時に切断される。
【0027】
最後に符号列生成部103によって、動きベクトル等の制御情報および予測残差符号化部102から出力される画像情報等に対し可変長符号化を施し、最終的に出力される符号列が生成される。その際に、図3(a)のように予測方向制限指示部109によって指示された図4(a)または図4(b)に示す識別番号が予測方向制限識別信号31として符号化の対象とするシーケンスのヘッダ領域に付加される。予測方向制限識別信号31がシーケンスヘッダに付加された場合は符号化対象の動画像列全体に対して予測方向の制限が適用されることになる。
【0028】
なお、図3(b)の32、33のように予測方向制限指示部109によって指示された図4(a)または図4(b)に示す識別番号をGOPのヘッダ領域に付加することにより、GOPごとに予測方向の制限を切り替えることも可能である。このとき予測方向制限識別信号として付加する信号は図4(a)に例として示したテーブルを参照して決定される。図4(a)の例に従うと、予測方向の制限を行わない場合は識別番号「0」が、前方のみに予測方向を制限する場合つまりIピクチャおよびPピクチャおよび前方のみを参照するBピクチャを使用する場合は識別番号「1」が選択される。
【0029】
また、予測方向制限識別信号として図4(a)に示した2つの項目のみのテーブルを用いる代わりに、図4(b)に示したような3つの項目からなるテーブルを使用することも可能である。ここでは、図4(a)の2項目に加え、Bピクチャを全く使用しない符号化方法を選択することを可能としている。これによって、符号化効率の低下をできるだけ抑えつつ遅延の発生を避けたい場合は識別番号「1」を、処理量の削減を優先しつつ遅延の発生を避けたい場合は識別番号「2」を選択するといった使い分けが可能となる。つまり、予測方向制御指示部109への外部からの指示は、符号化対象の動画像に適切な処理量、効率、遅延を検討の上、決定されることになる。
【0030】
また、図11に示すように、処理量はIピクチャとPピクチャのみを用いる場合が少なく、符号化効率は全てのピクチャタイプを用いる場合がよく、符号化時に伝送を開始するとき発生する遅延および復号化時に表示を開始するときに発生する遅延は全てのピクチャタイプを用いる場合に起きやすい。なお、図4(a)および図4(b)における識別番号の割り振り方はこれ以外の方法を用いても同様に扱うことが可能である。また、図3(a)に示すシーケンスデータおよび図3(b)に示すGOPデータにはピクチャのデータが入っている。
【0031】
以下、図4(a)に示す識別番号が予測方向制御指示部109に入力されたときの図1に示す符号化方法における処理の流れの一例を、図9(a)を用いて説明する。
E1において図4(a)に示す識別番号が入力されると、E2−aにおいて識別番号に応じた動作モードが選択される。識別番号が「0」であればフレームメモリ101から画像が取り込まれる(E3)。取り込まれた画像をBピクチャとして符号化する場合はさらに画像の取り込みを行う(E3)。Bピクチャ以外の方法で符号化する画像が取り込まれた時点で、取り込まれた複数の画像を符号化を行う順番に並び替える(E5)。例として、図6(a)のような画像列を符号化する場合を考えると、まずIピクチャであるI61はそのまま符号化を行う。つぎにBピクチャであるB62およびB63は、それらが参照するピクチャであるPピクチャのP64が取り込まれるのを待ってから、符号化する順番に並び替えられられる。図6(b)は符号化する順番に並び替えられたピクチャの列を表したものである。そしてE6において並び替えた順に符号化を行う。E6における符号化により全ての符号化が完了していれば符号化は終了し、符号化が完了していなければE3に戻り上記E3からE7までのステップを繰返す。
【0032】
一方、E2−aにおいて識別番号が「1」であればE8において、1枚のピクチャをフレームメモリ101から取り込む。Iピクチャ、Pピクチャ、前方参照のみのBピクチャはいずれも後方参照を行わないピクチャであるためE5のような並び替えをすることなく、E9において取り込んだピクチャの符号化を行う。そのときのピクチャ列の例を図8に示す。このピクチャ列におけるB82およびB83等の全てのBピクチャは前方のみを参照するピクチャとなっている。そしてE7と同様に、E9における符号化により全ての符号化が完了していれば符号化は終了し、符号化が完了していなければE8に戻り上記E8からE10までのステップを繰返す。
【0033】
次に図4(b)に示す識別番号が予測方向制御指示部109に入力されたときの符号化方法における処理の流れを図9(b)を用いて説明する。ただし、図9(a)と同じ処理をするステップには同一の符号を振り、説明を省略する。
図9(b)の処理の流れで図9(a)と異なる点は、図4(b)では3種類の識別番号があるためE2−bにおける判断が増える点、図4(a)と異なる識別番号「2」に対応する動作モードとして処理ステップE11、E12、E13がある点である。図4(b)において識別番号「2」に対応する動作モードはIピクチャとPピクチャのみを用いて符号化するため、E11で画像を取り込んだ後、取り込んだ画像の並び替えを行うことなくE12においてEピクチャとPピクチャのみを符号化することになる。そのときのピクチャ列の例を図7に示す。このピクチャ列では前方を参照するIピクチャおよびPピクチャのみで構成されているのが分かる。なお、識別番号の入力は、外部から人為的に入力されても、予め設定をしてハードウェア的に処理されても、ソフトウェアで間接的に入力されても、いずれでもよい。
【0034】
図4(a)または図4(b)に示す識別番号が予測方向制限指示部109に入力された後に、符号列生成部103に入力される信号は図12に示す手順に従う。
まず、図4(a)に示す識別番号の場合について説明する。図12(a)に示すように、入力された識別番号「0」「1」がそのまま符号列生成部103に出力される。つまり、図3の予測方向制限識別信号31,32,33には、予測方向制限指示部109に入力された識別番号がそのまま入る。同様に、図4(b)に示す識別番号の場合、図12(b)に示すように予測方向制限指示部109に入力された識別番号が図3の予測方向制限識別信号31,32,33にそのまま入る。
【0035】
図4(b)のように識別番号が多くなると、用いるビット数も増加する。そこで、図12(c)や図12(d)に示すような処理をすると、図12(b)に示すような処理と比べてビット量を削減させることができる。図12(c)は図4(a)の識別番号が予測方向制限指示部109に入力された場合についての処理手順を示す。図12(c)に示すように予測方向制限指示部109に入力された識別番号は、並び替えが必要かどうかを判別され、並び替えが必要であれば「0」を、並び替えが不要であれば「1」を出力する。同様に、図12(d)に示すように予測方向制限指示部109に入力された識別番号は、並び替えが必要かどうかを判別され、入力された識別番号が「0」の場合は並び替えが必要なため「0」を出力する。一方、入力された識別番号が「1」と「2」の場合は、後方参照するピクチャを扱わないため並び替えが不要であり、この並び替えが不要の意味を有する「1」を出力する。これにより、予測方向制限指示部109から符号列生成部103に出力される信号は、図14(c)に示したように、並び替えが必要か、不要かの情報のみを用いれば良く、ビット量を削減することが可能である。特に、識別番号の数が多いときに、並び替えが必要か、不要かの2つの判断のみに意味付けでき、有効である。
【0036】
また、Bピクチャを用いると、2枚の参照画像の平均画像を予測画像として使用できることから、2枚が時間的に前方にある場合でも符号化効率を向上できる可能性がある。
【0037】
なお、前方の1枚のピクチャのみを参照するBピクチャを用いる場合も、上記実施の形態で示した前方の2枚のピクチャのみを参照するBピクチャと同様に、並び替えが不要なピクチャとして扱うことができる。さらに、上記実施の形態における動き補償は、符号化対象のピクチャが有する動きベクトルの情報を用いることを前提としていたが、ダイレクトモードと呼ばれる、符号化対象のピクチャが動きベクトルの情報をもたずに符号化済みのブロックの情報を用いて動き補償を行う場合でも、上記実施の形態で示した符号化方法を用いることができる。ダイレクトモードを用いるBピクチャの場合、動きベクトルの情報を持たないため、ダイレクトモード以外の予測モードを用いるBピクチャの場合と比べ、さらに符号化効率を向上させることが可能である。
【0038】
また、前後へ動き補償を行う通常のBピクチャは複数の物体が重なって見え隠れする場合の動画像に有効であるが、前方向のみ動き補償を行うBピクチャを用いた場合もほぼ同等の効果を得ることが可能である。なお、Bピクチャの動き補償において2枚のピクチャから予測画像を生成する際に、それぞれの画素値に対して重み付け平均を取ることによってフェード等の画面全体の明度が変わるような動画像に対して効率の良い符号化を行うことができる。以上のように上記実施の形態1に示した符号化方法により、符号化装置に入力されたピクチャの順番を入れ替える処理を省くことができ、符号化処理による時間的な遅延を最小限に抑えることができる。なお、符号化処理における遅延は、ピクチャの順番を並べ替える遅延が支配的であるから、この並べ替えの遅延を削減することは大きな意味がある。
【0039】
(実施の形態2)
本発明の実施の形態2における動画像復号化方法を図2に示したブロック図を用いて説明する。ただし、以下の説明では実施の形態1の動画像符号化方法で生成された符号列が入力されるものとするが、同じデータ構造の符号列であればよく、必ずしも実施の形態1の動画像符号化方法で生成された符号列でなくても良い。
【0040】
まず入力された符号列から符号列解析器201によって動きベクトル情報および予測残差符号化データ等の各種の情報が抽出される。同時に、ピクチャ間予測を行うときの予測方向に関する情報が予測方向制限識別信号としてヘッダ領域から抽出されるものとする。図3(a)は前記予測方向制限識別信号31がシーケンスヘッダに付加されている場合の符号化列を示したものである。また、図3(b)の32、33ようにGOPのヘッダ領域に付加されている場合も同様に扱うことも可能である。このとき、図12(a)から図12(d)のいずれの方法によって符号化されたかによって、それに対応する図4(a)もしくは図4(b)に示した識別番号が前記予測方向制限識別信号として付加されているものとする。
【0041】
符号列解析器201で抽出された識別番号は予測方向制限指示部206に、動きベクトル情報(差分動きベクトル)は動き補償復号部204に、予測残差符号化データは予測残差復号化部202にそれぞれ出力される。符号列解析器201で抽出された識別番号は、ピクチャの並び替えが必要か不要かのいずれを意味する識別番号であるか、予測方向制限指示部206において判断される。そして、ピクチャの並び替えが必要か不要かの情報がフレームメモリ203に入力される。動き補償復号部204ではフレームメモリ203に蓄積されている復号化済みのピクチャの復号化画像を参照ピクチャとし、入力された動きベクトル情報または動きベクトル記憶部205に記憶されている動きベクトル情報に基づいて予測画像を生成する。なお、時間的に前方にあるピクチャのみが参照されるように制限されている場合に、動き補償復号部204ではBピクチャの復号化において時間的に後方にあるピクチャを参照する予測モードを参照しようとした際には、予測方向制限指示部206によってエラー検出やエラーの修正指示がなされるようにしてもよい。
【0042】
生成された予測画像は加算演算部207に入力され、予測残差復号化部202において生成された予測残差画像との加算を加算演算部207で行うことにより復号化画像が生成される。予測方向制限指示部206によって予測方向の制限がなされていない場合、例えば図4(a)または図4(b)で示す識別番号が「0」の場合は、生成された復号化画像はフレームメモリ203において表示される順にピクチャの並び替えを行う。一方、時間的に前方にあるピクチャのみが参照されるように制限されている場合、例えば図4(a)または図4(b)で示す識別番号が「1」の場合または図4(b)で示す識別番号が「2」の場合は、並び替えを行うことなく復号化された順にそのまま表示することが可能となる。また、識別番号「1」の場合、符号化効率の低下をできるだけ抑えつつ遅延の発生を避けた符号化方法によって生成された符号列の復号化ができる。そして、識別番号「2」の場合、復号化の処理量の削減を優先しつつ、また表示における遅延の発生を抑えつつ、符号化方法によって生成された符号列の復号化を矛盾なく実現することができる。
【0043】
なお、図4(a)および図4(b)における識別番号の割り振り方はこれ以外の方法を用いても同様に扱うことが可能である。なお、符号列解析部201に入力される符号列の信号における予測方向制限信号が、図4(b)に示す識別番号が「0」の場合と、識別番号が「1」と「2」の場合のどちらかを識別できる制御信号のとき、前者では予測方向制御指示部206に並び替えをする必要があることを示す制御信号が入力され、後者では予測方向制御指示部206に並び替えをする必要がないことを示す制御信号が入力される。
【0044】
予測方向制限識別番号が図12(a)の手順に従って符号化されている場合の復号化の手順について図10(a)を用いて説明する。なお、識別番号「0」「1」はそれぞれ図4(a)の識別番号に対応し、図14(a)に示す通りである。まずD1において、入力された符号列から識別番号が抽出され、それに従ってD2−aにおいて動作モードが選択される。識別番号が「0」であればD3によって符号列を取り込み、取り込んだ順番のままD4において復号化を行う。さらに復号化された複数のピクチャを表示する順番に並び替える(D5)。例として、図6(b)のような符号化される順番に並び替えられた符号列を復号化する場合を考えると、まずIピクチャであるI61はそのまま符号化を行い表示される。つぎにPピクチャであるP64は、それに続くBピクチャであるB62およびB63の後に表示されるものであるため、B62およびB63が復号化および表示されるのを待つ必要がある。最終的には図6(a)のような順番で復号化されたピクチャが表示される。全てのピクチャの復号化が完了していなければD3に戻り上記D3からD6までのステップを繰返す。
【0045】
一方、D2−aにおいて識別番号が「1」であればD7において、Iピクチャ、Pピクチャ、前方参照のみのBピクチャの符号列を取り込む。Iピクチャ、Pピクチャ、前方参照のみのBピクチャはいずれも後方参照を行わないピクチャであるためD5のような並び替えをすることなく、D8において取り込んだピクチャの符号化を行う。そのときのピクチャ列の例を図8に示す。このピクチャ列におけるB82およびB83等の全てのBピクチャは前方のみを参照するピクチャとなっている。そしてD6と同様に、全てのピクチャの復号化が完了していれば復号化は終了し、復号化が完了していなければD7に戻り上記D7からD9までのステップを繰返す。なお、動作モードの選択D2−aは予測方向制御指示部206において行われる。
【0046】
次に予測方向制限識別番号が図12(b)の手順に従って符号化されている場合の復号化の手順について図10(b)を用いて説明する。ただし、図10(a)と同じ処理をするステップには同一の符号を振り、説明を省略する。なお、予測方向制御識別信号は図14(b)に示す通りである。
【0047】
図10(b)の処理の流れで図10(a)と異なる点は、図4(b)では3種類の識別番号があるためD2−bにおける判断が増える点、図4(a)と異なる識別番号「2」に対応する動作モードとして処理ステップD10、D11、D12がある点である。図4(b)において識別番号「2」に対応する動作モードはIピクチャとPピクチャのみを用いて符号化するため、D10で画像を取り込んだ後、取り込んだ画像の並び替えを行うことなくD11においてIピクチャとPピクチャのみを符号化することになる。そのときのピクチャ列の例を図7に示す。このピクチャ列では前方を参照するIピクチャおよびPピクチャのみで構成されているのが分かる。なお、動作モードの選択D2−bは予測方向制御指示部206において行われる。
【0048】
さらに、予測方向制限識別番号が図12(c)の手順に従って符号化されている場合の復号化の手順について図13を用いて述べる。なお、識別番号は図14(c)に示す通りである。この場合は、基本的に図10(a)に示す手順と同一である。異なる点は、予測方向制限識別信号自体が並び替えの要・不要のみを示しており、図10(a)のD2−aにおける動作モード選択と、図13のD2−cにおける動作モード選択の意味が異なる点である。D2−cにおいてモード選択がされた後は、符号列を取り込み、取り込んだピクチャを復号化し(D40、D80)、並び替えが必要なモードでは並び替えをし、並び替えの必要のないモードでは並び替えをしない。このモードの選択は予測方向制御指示部206において行われる。なお、予測方向制限識別番号が図12(d)の手順に従って符号化されている場合の復号化の手順も、同様である。このときの識別番号は図14(c)に示す通りである。図12(c)の手順に従って符号化されている場合と異なる点は、取り込まれる符号列、復号化されるピクチャの種類である。
【0049】
以上の実施の形態はピクチャ間予測符号化がなされている符号列に対する動作であったが、スイッチ208によってピクチャ内予測符号化がなされている符号列に対する復号化処理との切り替えがなされる。
【0050】
以上のように上記実施の形態2示した復号化方法により、復号化されたピクチャを表示するための順番に入れ替える処理を省くことができ、復号化処理によるピクチャ並べ替えのための時間的な遅延を不要にすることができる。復号化処理における遅延は、ピクチャの順番を並べ替える遅延が支配的であるから、この並べ替えの遅延を削減することは大きな意味がある
【0051】
(実施の形態3)
上記実施の形態1および2では、Pピクチャが時間的に前方にある1枚のピクチャを参照してピクチャ間予測符号化されたピクチャである場合について説明した。本実施の形態では、Pピクチャが時間的に前方向または後方向にある1枚のピクチャを参照してピクチャ間予測符号化される場合について説明する。
【0052】
以下、説明の便宜上、前方にある1枚のピクチャを参照してピクチャ間予測符号化されるピクチャを前方予測Pピクチャ、後方にある1枚のピクチャを参照してピクチャ間予測符号化されるピクチャを後方予測Pピクチャと呼ぶ。
本実施の形態における符号化方法および復号化方法について、実施の形態1および2と同じ点については説明を省略し、以下異なる点を中心に説明する。
【0053】
本実施の形態における識別番号は、次の読み替えを行う点以外は図4(a)(b)、図14(a)〜(c)と同じである。すなわち、図4(a)及び図14(a)において識別番号が0である場合の”Pピクチャ”は前方予測Pピクチャおよび後方予測Pピクチャと、識別番号が1である場合の”Pピクチャ”は前方予測Pピクチャとそれぞれ読み替える。その結果、識別番号が0の場合にはピクチャの順番を並べ替える必要があり、識別番号が1の場合にはピクチャの順番を並べ替えること必要がないことになる。
【0054】
同様に、図4(b)及び図14(b)において識別番号が0である場合の”Pピクチャ”は前方予測Pピクチャ及び後方予測Pピクチャと、識別番号が1である場合および2である場合の”Pピクチャ”は前方予測Pピクチャとそれぞれ読み替える。その結果、識別番号が0の場合にはピクチャの順番を並べ替える必要があり、識別番号が1の場合および2の場合にはピクチャの順番を並べ替えること必要がないことになる。
【0055】
このように、識別番号により示される使用可能なPピクチャの種類については実施の形態1および2とは異なっているが、識別番号により示される並び替えの必要があるかないかについては同じである。
【0056】
また、本実施の形態における符号化方法は次の読み替えを行う点以外は図9(a)(b)と同様である。すなわち、ステップE6における”Pピクチャ”は前方予測Pピクチャおよび後方予測Pピクチャと読み替え、ステップE9、E12における”Pピクチャ”は前方予測Pピクチャと読み替える。
【0057】
同様に、本実施の形態における復号号化方法は次の読み替えを行う点以外は図10(a)(b)と同様である。すなわち、ステップD4における”Pピクチャ”は前方予測Pピクチャおよび後方予測Pピクチャと読み替え、ステップD8、D11における”Pピクチャ”は前方予測Pピクチャと読み替える。
【0058】
以上説明してきたように本実施の形態における動画像の符号化方法及び復号化方法によれば、Pピクチャが前方向または後方向にある1枚を参照してピクチャ間符号化される場合であっても、実施の形態1及び2の符号化方法及び復号化方法と同様の効果を得ることができる。
【0059】
なお、上記各実施の形態における予測方向制限識別信号は、符号列生成部103に生成される符号列に設定される(A)表示の遅延時間を示すデータ(表示遅延データと呼ぶ)、又は(B)並び替えにおけるピクチャ数を示すデータ(並び替えピクチャ数データと呼ぶ)であってもよい。(A)表示遅延データは、復号が完了してからフレームメモリ203の復号済ピクチャが表示されるまでの遅延時間(単位は、例えばピクチャ枚数と等価なクロック数)を表すデータである。この場合、予測方向制限識別信号は、表示遅延データの遅延時間を0とすることにより並び替え不要であることを示す。(B)並び替えピクチャ数データは、並び替えによるピクチャの復号順位と表示順順位との最大の差分を表すデータである。この場合、予測方向制限識別信号は、並び替えピクチャ数データを0とすることにより並び替え不要であることを示す。
【0060】
また、符号列生成部103は、予測方向制限識別信号を、図3(a)に示したシーケンスヘッダ中に予測方向制限識別信号31として設定してもよいし、図3(b)に示したGOPヘッダ中に予測方向制限識別信号32、33として設定してもよいし、図15(a)に示すピクチャ共通情報領域中に予測方向制限識別信号34として設定してもよいし、図15(b)に示す拡張領域中に予測方向制限識別信号35として設定してもよい。前記ピクチャ共通情報領域は、1つまたは複数のピクチャから共通して参照される情報をまとめて記述したものであり、前記拡張領域は、復号化するための補助となる情報をまとめて記述したものであり必ずしも使用されるとは限らないものである。これらの領域は、符号列中の任意の位置に設けることができる。
【0061】
なお、以上の説明では、Pピクチャは1枚の符号化済みピクチャを、Bピクチャは1枚または2枚の符号化済みピクチャを参照して予測画像を生成し動き補償を行うとしているが、前記内容は動き補償を行う対象の1つのブロックごとに参照することのできる符号化済みピクチャの枚数を示すものでもある。例えば符号化の対象とする1枚のピクチャに対して複数枚(例えば5枚)の符号化済みピクチャを参照することが許可されていた場合は、その中から最適な1枚もしくは2枚のピクチャを符号化対象または復号化対象のブロックごとに選択し、選択されたピクチャ中のブロックを用いて動き補償を行うという動作に置き換えて処理を行った場合も、全く同様に扱うことができる。
【0062】
(実施の形態4)
さらに、上記各実施の形態で示した符号化処理および復号化処理の構成を実現するための符号化および復号化プログラムや符号列(データストリーム)を、フレキシブルディスク等の記録媒体に記録するようにすることにより、上記各実施の形態で示した処理を、独立したコンピュータシステムにおいて簡単に実施することが可能となる。
【0063】
図14は、上記実施の形態1から2の符号化あるいは復号化処理を、上記符号化および復号化プログラムを格納したフレキシブルディスクを用いて、コンピュータシステムにより実施する場合を説明するための図である。
図14(b)は、フレキシブルディスクの正面からみた外観、断面構造、及びフレキシブルディスクを示し、図14(a)は、記録媒体本体であるフレキシブルディスクの物理フォーマットの例を示している。フレキシブルディスクFDはケースF内に内蔵され、該ディスクの表面には、同心円状に外周からは内周に向かって複数のトラックTrが形成され、各トラックは角度方向に16のセクタSeに分割されている。従って、上記プログラムを格納したフレキシブルディスクでは、上記フレキシブルディスクFD上に割り当てられた領域に、上記プログラムとしてのデータが記録されている。
【0064】
また、図14(c)は、フレキシブルディスクFDに上記プログラムの記録再生を行うための構成を示す。上記プログラムをフレキシブルディスクFDに記録する場合は、コンピュータシステムCsから上記プログラムとしてのデータをフレキシブルディスクドライブを介して書き込む。また、フレキシブルディスク内のプログラムにより上記符号化および復号化方法をコンピュータシステム中に構築する場合は、フレキシブルディスクドライブによりプログラムをフレキシブルディスクから読み出し、コンピュータシステムに転送する。
【0065】
なお、上記説明では、記録媒体としてフレキシブルディスクを用いて説明を行ったが、光ディスクを用いても同様に行うことができる。また、記録媒体はこれに限らず、ICカード、ROMカセット等、プログラムを記録できるものであれば同様に実施することができる。
【0066】
また、上記実施の形態に示した符号化方法・復号化方法は、携帯電話やカーナビゲーションシステム等の移動体通信機器やデジタルビデオカメラやデジタルスチールカメラ等の撮影機器にLSI等の半導体によって実装することが可能である。また、実装形式としては、符号化器・復号化器を両方持つ送受信型の端末の他に、符号化器のみの送信端末、復号化器のみの受信端末の3通りが考えられる。具体的な応用例を図17〜図20を用いて説明する。
【0067】
図17は、コンテンツ配信サービスを実現するコンテンツ供給システムex100の全体構成を示すブロック図である。通信サービスの提供エリアを所望の大きさに分割し、各セル内にそれぞれ固定無線局である基地局ex107〜ex110が設置されている。
【0068】
このコンテンツ供給システムex100は、例えば、インターネットex101にインターネットサービスプロバイダex102および電話網ex104、および基地局ex107〜ex110を介して、コンピュータex111、PDA(personal digital assistant)ex112、カメラex113、携帯電話ex114、カメラ付きの携帯電話ex115などの各機器が接続される。
【0069】
しかし、コンテンツ供給システムex100は図17のような組合せに限定されず、いずれかを組み合わせて接続するようにしてもよい。また、固定無線局である基地局ex107〜ex110を介さずに、各機器が電話網ex104に直接接続されてもよい。
【0070】
カメラex113はデジタルビデオカメラ等の動画撮影が可能な機器である。また、携帯電話は、PDC(Personal Digital Communications)方式、CDMA(Code Division Multiple Access)方式、W−CDMA(Wideband−Code Division Multiple Access)方式、若しくはGSM(Global System for Mobile Communications)方式の携帯電話機、またはPHS(Personal Handyphone System)等であり、いずれでも構わない。
【0071】
また、ストリーミングサーバex103は、カメラex113から基地局ex109、電話網ex104を通じて接続されており、カメラex113を用いてユーザが送信する符号化処理されたデータに基づいたライブ配信等が可能になる。撮影したデータの符号化処理はカメラex113で行っても、データの送信処理をするサーバ等で行ってもよい。また、カメラex116で撮影した動画データはコンピュータex111を介してストリーミングサーバex103に送信されてもよい。カメラex116はデジタルカメラ等の静止画、動画が撮影可能な機器である。この場合、動画データの符号化はカメラex116で行ってもコンピュータex111で行ってもどちらでもよい。また、符号化処理はコンピュータex111やカメラex116が有するLSIex117において処理することになる。なお、画像符号化・復号化用のソフトウェアをコンピュータex111等で読み取り可能な記録媒体である何らかの蓄積メディア(CD−ROM、フレキシブルディスク、ハードディスクなど)に組み込んでもよい。さらに、カメラ付きの携帯電話ex115で動画データを送信してもよい。このときの動画データは携帯電話ex115が有するLSIで符号化処理されたデータである。
【0072】
このコンテンツ供給システムex100では、ユーザがカメラex113、カメラex116等で撮影しているコンテンツ(例えば、音楽ライブを撮影した映像等)を上記実施の形態同様に符号化処理してストリーミングサーバex103に送信する一方で、ストリーミングサーバex103は要求のあったクライアントに対して上記コンテンツデータをストリーム配信する。クライアントとしては、上記符号化処理されたデータを復号化することが可能な、コンピュータex111、PDAex112、カメラex113、携帯電話ex114等がある。このようにすることでコンテンツ供給システムex100は、符号化されたデータをクライアントにおいて受信して再生することができ、さらにクライアントにおいてリアルタイムで受信して復号化し、再生することにより、個人放送をも実現可能になるシステムである。
【0073】
このシステムを構成する各機器の符号化、復号化には上記各実施の形態で示した画像符号化装置あるいは画像復号化装置を用いるようにすればよい。
その一例として携帯電話について説明する。
図18は、上記実施の形態で説明した画像符号化方法と画像復号化方法を用いた携帯電話ex115を示す図である。携帯電話ex115は、基地局ex110との間で電波を送受信するためのアンテナex201、CCDカメラ等の映像、静止画を撮ることが可能なカメラ部ex203、カメラ部ex203で撮影した映像、アンテナex201で受信した映像等が復号化されたデータを表示する液晶ディスプレイ等の表示部ex202、操作キーex204群から構成される本体部、音声出力をするためのスピーカ等の音声出力部ex208、音声入力をするためのマイク等の音声入力部ex205、撮影した動画もしくは静止画のデータ、受信したメールのデータ、動画のデータもしくは静止画のデータ等、符号化されたデータまたは復号化されたデータを保存するための記録メディアex207、携帯電話ex115に記録メディアex207を装着可能とするためのスロット部ex206を有している。記録メディアex207はSDカード等のプラスチックケース内に電気的に書換えや消去が可能な不揮発性メモリであるEEPROM(Electrically Erasable and Programmable Read Only Memory)の一種であるフラッシュメモリ素子を格納したものである。
【0074】
さらに、携帯電話ex115について図19を用いて説明する。携帯電話ex115は表示部ex202及び操作キーex204を備えた本体部の各部を統括的に制御するようになされた主制御部ex311に対して、電源回路部ex310、操作入力制御部ex304、画像符号化部ex312、カメラインターフェース部ex303、LCD(Liquid Crystal Display)制御部ex302、画像復号化部ex309、多重分離部ex308、記録再生部ex307、変復調回路部ex306及び音声処理部ex305が同期バスex313を介して互いに接続されている。
【0075】
電源回路部ex310は、ユーザの操作により終話及び電源キーがオン状態にされると、バッテリパックから各部に対して電力を供給することによりカメラ付ディジタル携帯電話ex115を動作可能な状態に起動する。
【0076】
携帯電話ex115は、CPU、ROM及びRAM等でなる主制御部ex311の制御に基づいて、音声通話モード時に音声入力部ex205で集音した音声信号を音声処理部ex305によってディジタル音声データに変換し、これを変復調回路部ex306でスペクトラム拡散処理し、送受信回路部ex301でディジタルアナログ変換処理及び周波数変換処理を施した後にアンテナex201を介して送信する。また携帯電話機ex115は、音声通話モード時にアンテナex201で受信した受信データを増幅して周波数変換処理及びアナログディジタル変換処理を施し、変復調回路部ex306でスペクトラム逆拡散処理し、音声処理部ex305によってアナログ音声データに変換した後、これを音声出力部ex208を介して出力する。
【0077】
さらに、データ通信モード時に電子メールを送信する場合、本体部の操作キーex204の操作によって入力された電子メールのテキストデータは操作入力制御部ex304を介して主制御部ex311に送出される。主制御部ex311は、テキストデータを変復調回路部ex306でスペクトラム拡散処理し、送受信回路部ex301でディジタルアナログ変換処理及び周波数変換処理を施した後にアンテナex201を介して基地局ex110へ送信する。
【0078】
データ通信モード時に画像データを送信する場合、カメラ部ex203で撮像された画像データをカメラインターフェース部ex303を介して画像符号化部ex312に供給する。また、画像データを送信しない場合には、カメラ部ex203で撮像した画像データをカメラインターフェース部ex303及びLCD制御部ex302を介して表示部ex202に直接表示することも可能である。
【0079】
画像符号化部ex312は、本願発明で説明した画像符号化装置を備えた構成であり、カメラ部ex203から供給された画像データを上記実施の形態で示した画像符号化装置に用いた符号化方法によって圧縮符号化することにより符号化画像データに変換し、これを多重分離部ex308に送出する。また、このとき同時に携帯電話機ex115は、カメラ部ex203で撮像中に音声入力部ex205で集音した音声を音声処理部ex305を介してディジタルの音声データとして多重分離部ex308に送出する。
【0080】
多重分離部ex308は、画像符号化部ex312から供給された符号化画像データと音声処理部ex305から供給された音声データとを所定の方式で多重化し、その結果得られる多重化データを変復調回路部ex306でスペクトラム拡散処理し、送受信回路部ex301でディジタルアナログ変換処理及び周波数変換処理を施した後にアンテナex201を介して送信する。
【0081】
データ通信モード時にホームページ等にリンクされた動画像ファイルのデータを受信する場合、アンテナex201を介して基地局ex110から受信した受信データを変復調回路部ex306でスペクトラム逆拡散処理し、その結果得られる多重化データを多重分離部ex308に送出する。
【0082】
また、アンテナex201を介して受信された多重化データを復号化するには、多重分離部ex308は、多重化データを分離することにより画像データのビットストリームと音声データのビットストリームとに分け、同期バスex313を介して当該符号化画像データを画像復号化部ex309に供給すると共に当該音声データを音声処理部ex305に供給する。
【0083】
次に、画像復号化部ex309は、本願発明で説明した画像復号化装置を備えた構成であり、画像データのビットストリームを上記実施の形態で示した符号化方法に対応した復号化方法で復号することにより再生動画像データを生成し、これをLCD制御部ex302を介して表示部ex202に供給し、これにより、例えばホームページにリンクされた動画像ファイルに含まれる動画データが表示される。このとき同時に音声処理部ex305は、音声データをアナログ音声データに変換した後、これを音声出力部ex208に供給し、これにより、例えばホームページにリンクされた動画像ファイルに含まる音声データが再生される。
【0084】
なお、上記システムの例に限られず、最近は衛星、地上波によるディジタル放送が話題となっており、図20に示すようにディジタル放送用システムにも上記実施の形態の少なくとも画像符号化装置または画像復号化装置のいずれかを組み込むことができる。具体的には、放送局ex409では映像情報のビットストリームが電波を介して通信または放送衛星ex410に伝送される。これを受けた放送衛星ex410は、放送用の電波を発信し、この電波を衛星放送受信設備をもつ家庭のアンテナex406で受信し、テレビ(受信機)ex401またはセットトップボックス(STB)ex407などの装置によりビットストリームを復号化してこれを再生する。また、記録媒体であるCDやDVD等の蓄積メディアex402に記録したビットストリームを読み取り、復号化する再生装置ex403にも上記実施の形態で示した画像復号化装置を実装することが可能である。この場合、再生された映像信号はモニタex404に表示される。
【0085】
また、ケーブルテレビ用のケーブルex405または衛星/地上波放送のアンテナex406に接続されたセットトップボックスex407内に画像復号化装置を実装し、これをテレビのモニタex408で再生する構成も考えられる。このときセットトップボックスではなく、テレビ内に画像復号化装置を組み込んでも良い。また、アンテナex411を有する車ex412で衛星ex410からまたは基地局ex107等から信号を受信し、車ex412が有するカーナビゲーションex413等の表示装置に動画を再生することも可能である。
【0086】
更に、画像信号を上記実施の形態で示した画像符号化装置で符号化し、記録媒体に記録することもできる。具体例としては、DVDディスクex421に画像信号を記録するDVDレコーダや、ハードディスクに記録するディスクレコーダなどのレコーダex420がある。更にSDカードex422に記録することもできる。レコーダex420が上記実施の形態で示した画像復号化装置を備えていれば、DVDディスクex421やSDカードex422に記録した画像信号を再生し、モニタex408で表示することができる。
【0087】
なお、カーナビゲーションex413の構成は例えば図19に示す構成のうち、カメラ部ex203とカメラインターフェース部ex303、画像符号化部ex312を除いた構成が考えられ、同様なことがコンピュータex111やテレビ(受信機)ex401等でも考えられる。
【0088】
また、上記携帯電話ex114等の端末は、符号化器・復号化器を両方持つ送受信型の端末の他に、符号化器のみの送信端末、復号化器のみの受信端末の3通りの実装形式が考えられる。
【0089】
このように、上記実施の形態で示した画像符号化方法あるいは画像復号化方法を上述したいずれの機器・システムに用いることは可能であり、そうすることで、上記実施の形態で説明した効果を得ることができる。
【0090】
また、本発明はかかる上記実施形態に限定されるものではなく、本発明の範囲を逸脱することなく種々の変形または修正が可能である。
【0091】
【発明の効果】
以上、本発明の動画像符号化方法により、符号化装置に入力されたピクチャの順番を入れ替える処理を省くことでき、符号化処理による時間的な遅延を最小限に抑えることができる。さらに、符号化の処理量を削減でき、符号化装置への負荷を下げることができる。
【0092】
また、本発明の動画像復号化方法により、復号化されたピクチャを表示するための順番に入れ替える処理を省くことができ、復号化処理による時間的な遅延を最小限に抑えることができる。さらに、復号化の処理量を削減でき、復号化装置への負荷を下げることができる。
【図面の簡単な説明】
【図1】本発明の実施の形態1による符号化の動作を説明するためのブロック図である。
【図2】本発明の実施の形態2による復号化の動作を説明するためのブロック図である。
【図3】予測方向制限識別信号をヘッダ領域に付加する方法を説明するための模式図である。
【図4】予測方向制限識別番号と使用可能ピクチャの対応関係を示すための図である。
【図5】従来例のピクチャの参照関係を説明するための模式図である。
【図6】ピクチャの並び替えを説明するための模式図である。
【図7】前方のみに制限された場合の従来の参照関係を説明するための模式図である。
【図8】前方のみに制限された場合の本発明の参照関係を説明するための模式図である。
【図9】符号化処理の流れの概要を説明するためのフローチャートである。
【図10】復号化処理の流れの概要を説明するためのフローチャートである。
【図11】予測の制限を行うことによる効果の比較を示すための模式図である。
【図12】符号列生成部への出力手順を示す図である。
【図13】復号化処理の流れの概要を説明するためのフローチャートである。
【図14】予測方向制限識別信号と使用可能ピクチャの対応関係を示すための図である。
【図15】予測方向制限識別信号が設定されたピクチャ共通情報領域を示す図である。
【図16】本発明の実施の形態4におけるデータ記録媒体について説明するための模式図である。
【図17】本発明に係るコンテンツ配信サービスを実現するコンテンツ供給システムの全体構成を示すブロック図である。
【図18】本発明に係る携帯電話の一例を示す図である。
【図19】同携帯電話の構成を示すブロック図である。
【図20】本発明に係るディジタル放送用システムの構成を示す図である。
【符号の説明】
101 フレームメモリ
102 予測誤差符号化部
103 符号列生成部
104 予測残差復号化部
105 フレームメモリ
106 動きベクトル検出部
107 動き補償符号化部
108 動きベクトル記憶部
109 予測方向制限指示部
201 符号列解析部
202 予測残差復号化部
203 フレームメモリ
204 動き補償復号部
205 動きベクトル記憶部
206 予測方向制限指示部
Se セクタ
Tr トラック
FD フレキシブルディスク
F フレキシブルディスクケース
Cs コンピュータ・システム
FDD フレキシブルディスクドライブ
【発明の属する技術分野】
本発明は、動画像の符号化方法および復号化方法に関するものであり、特に既に符号化済みの複数のピクチャを参照して予測符号化を行うBピクチャを使用する符号化方法および復号化方法に関するものである。
【0002】
【従来の技術】
一般に動画像の符号化では、時間方向および空間方向の冗長性を削減することによって情報量の圧縮を行う。そこで時間的な冗長性の削減を目的とするピクチャ間予測符号化では、前方または後方のピクチャを参照してブロック単位で動きの検出および動き補償を行い、得られた予測画像と現在のピクチャとの差分値に対して符号化を行う。
【0003】
図5は上記の符号化対象ピクチャとこの符号化対象ピクチャが参照するピクチャとの参照関係の例を示す図である。
ピクチャI1は参照ピクチャを持たずピクチャ内予測符号化を行う。ピクチャP10は時間的に前方にあるP7を参照しピクチャ間予測符号化を行う。また、ピクチャB6は時間的に前方にある2つのピクチャを参照し、ピクチャB12は時間的に後方にある2つのピクチャを参照し、ピクチャB18は時間的に前方および後方にあるそれぞれ1枚ずつのピクチャを参照しピクチャ間予測符号化を行う。
【0004】
Bピクチャを用いた動画像の符号化では時間的に後方にあるピクチャを参照して符号化が行われる可能性があるため、前記参照される可能性のあるピクチャを符号化対象のピクチャよりも先に符号化しておく必要がある。
【0005】
図6(a)は表示されるピクチャの順番を示し、図6(b)は符号化するピクチャの順番を示したものである。
図6(a)におけるB63のようなBピクチャがあった場合はそれが参照するP64を先に符号化する必要があるため、図6(b)のような順番に並び替えて符号化を行わなくてはならない。そして、並び替えを行いB63より時間的に後方にあるP64が符号化されてからB63を符号化することが、B63の伝送を開始するときの遅延の原因となる。
【0006】
同様に、復号化装置では図6(b)のような順番で入力されてきた符号列に対して順次復号化を行うが、表示を行うためには時間軸に従った図6(a)のような順番に復号化されたピクチャを並び替える必要がある。ここでも、B63を表示するためにB63より時間的に後方にあるP64を復号化することが、B63が表示されるときに遅延が発生する原因となる。
【0007】
MPEG2等の従来の符号化方法では上記並び替えにともなう遅延の対応策としてローディレイモードというものが定義されていた。これは、図7に示すように、符号化および復号化の際に、Bピクチャが後方参照を行う可能性があるため、Bピクチャを用いないことによりピクチャの並び替えを行わずに符号化および復号化を行うことを実現するものである(例えば、非特許文献1参照)。
【0008】
【非特許文献1】
「ISO/IEC 13818−2,Information technology −− Generic coding of moving pictures and associated audio information: Video」(1996年5月15日),P.150 D.5 Low delay mode
【0009】
【発明が解決しようとする課題】
しかし、Bピクチャを使用しないことにより符号化効率が大幅に低下する可能性を含んでいた。
そこで、本発明はBピクチャを使用しながらも、遅延を最小限に抑えた動画像の符号化および復号化を可能とすることを目的とする。
【0010】
【課題を解決するための手段】
そしてこの目的を達成するために、本願発明による符号化方法は、ピクチャ内予測符号化により符号化されるIピクチャと、符号化対象のピクチャより表示順で前方向または後方向にあるピクチャを参照するピクチャ間予測符号化により符号化されるピクチャ間予測符号化ピクチャとを用いてピクチャを符号化する符号化方法であって、ピクチャ内予測符号化を行うIピクチャと符号化対象のピクチャより表示順で前方向にあるピクチャのみを参照して予測符号化を行うピクチャとの組み合わせからなるピクチャを用いて符号化することを示す命令を受けるステップと、前記命令を受けて、ピクチャの並び替えが不要であることを示す識別信号を出力するステップと、前記組み合わせからなるピクチャを並び替えを行わずに表示順で前記識別信号と共に符号化するステップとを有する。
【0011】
これにより符号化対象のピクチャより表示順で前方向にあるピクチャのみを参照して予測符号化を行うBピクチャを用いて符号化するため、表示順で入力された画像を並べ替えずに符号化することが可能になる。
【0012】
また、本願発明による復号化方法は、ピクチャ内予測符号化により符号化されたIピクチャと、表示順で前方向または後方向にあるピクチャを参照するピクチャ間予測符号化により符号化されたピクチャ間予測符号化ピクチャとを復号化する復号化方法であって、ピクチャの並び替えが必要か不要かを示す識別信号とピクチャの信号とを受信するステップと、前記識別信号が、ピクチャの並び替えが必要であることを示すか、ピクチャの並び替えが不要であることを示すかを判断するステップと、ピクチャの並び替えが不要であると判断されたとき、受信した順番で前記ピクチャの信号を復号化して出力し、ピクチャの並び替えが必要であると判断されたとき、受信した前記ピクチャの信号を復号化し、ピクチャの表示される順に前記ピクチャを並び替えて出力するステップとを有する。
【0013】
これにより復号化対象のピクチャより表示順で前方向にあるピクチャのみを参照して復号化を行うBピクチャを用いて復号化するため、表示順で入力された画像を並べ替えずに復号化することが可能になる。
【0014】
また、本発明の復号化方法、データストリーム、データ記録媒体およびプログラムについても上記と同様の構成、作用および効果を有する。
【0015】
また、本発明のデータストリームは、次の(1)から(3)の何れかの構成としてもよい。
(1)画面内予測符号化を行うIピクチャと符号化対象のピクチャより表示時間の順番で前方向にあるピクチャのみを参照して予測符号化を行うピクチャとの組み合わせからなるピクチャを用いて符号化されたシーケンスデータと、符号化されたピクチャの復号化において前記符号化されたピクチャの並び替えが不要であることを示す識別信号とを有するデータストリーム。
(2)符号化対象のピクチャより表示時間の順番で前方向にあるピクチャのみを参照して予測符号化を行うBピクチャと画面内予測符号化を行うIピクチャと符号化対象のピクチャより表示時間の順番で前方向にある1枚のピクチャのみを参照して予測符号化を行うPピクチャとの組み合わせからなるピクチャを用いて符号化されたシーケンスデータと、符号化されたピクチャの復号化において前記符号化されたピクチャの並び替えが不要であることを示す識別信号とを有するデータストリーム。
(3)符号化対象のピクチャより表示時間の順番で前方向にあるピクチャのみを参照して予測符号化を行うBピクチャと画面内予測符号化を行うIピクチャと符号化対象のピクチャより表示時間の順番で前方向にある1枚のピクチャのみを参照して予測符号化を行うPピクチャとの組み合わせからなるピクチャを用いて符号化するときに、符号化されたピクチャの復号化において前記符号化されたピクチャの並び替えが不要であることを示す識別信号が符号化され、Bピクチャのうち符号化対象のピクチャより表示時間の順番で後方向にあるピクチャを参照して動き予測を行うBピクチャを用いて符号化するときに、符号化されたピクチャの復号化において前記符号化されたピクチャの並び替えが必要であることを示す識別信号が符号化されたデータストリーム。
【0016】
また、本発明の画像符号化方法は、次の(4)、(5)の何れかの構成としてもよい。
(4)画像符号化方法であって、画面内予測符号化を行うIピクチャと符号化対象のピクチャより表示時間の順番で前方向にあるピクチャのみを参照して予測符号化を行うピクチャとの組み合わせからなるピクチャを用いて符号化することを示す命令を受けるステップと、前記命令を受けて、ピクチャの並び替えが不要であることを示す識別信号を出力するステップと、前記命令を受けて、前記組み合わせからなるピクチャのみを並び替えを行わず表示時間の順番で前記識別信号と共に符号化するステップとを備える。
(5)画像符号化方法であって、符号化対象のピクチャより表示時間の順番で前方向にあるピクチャのみを参照して予測符号化を行うBピクチャと、画面内予測符号化を行うIピクチャと、符号化対象のピクチャより表示時間の順番で前方向にある1枚のピクチャのみを参照して予測符号化を行うPピクチャとの組み合わせからなるピクチャを用いて符号化することを示す命令を受けるステップと、前記命令を受けて、ピクチャの並び替えが不要であることを示す識別信号を出力するステップと、前記命令を受けて、前記Bピクチャと前記Iピクチャと前記Pピクチャのみを並び替えを行わず表示時間の順番で前記識別信号と共に符号化するステップとを備える。
【0017】
また、本発明の画像復号化方法は、次の(6)、(7)の何れかの構成としてもよい。
(6)画像復号化方法であって、ピクチャの並び替えが不要であることを示す識別信号と表示時間の順番で符号化されたピクチャの信号とを受信するステップと、前記識別信号にともない、受信した順番で前記ピクチャの信号を復号化するステップと、復号化された順番で表示のために前記復号化されたピクチャを出力するステップとを備え。
(7)画像復号化方法であって、ピクチャの並び替えが必要か不要かを示す識別信号とピクチャの信号とを受信するステップと、前記識別信号が、ピクチャの並び替えが必要であることを示すか、ピクチャの並び替えが不要であることを示すかを判断するステップと、前記識別信号が、ピクチャの並び替えが不要であることを示す識別信号であるとき、受信した順番で前記ピクチャの信号を復号化して出力し、前記識別信号が、ピクチャの並び替えが必要であることを示す識別信号であるとき、受信した前記ピクチャの信号を復号化し、ピクチャの表示される順に前記ピクチャを並び替えて出力するステップとを備える。
【0018】
また、本発明のプログラム記録媒体は、(3)又は(4)に記載された画像符号化方法又は(6)又は(7)記載の復号化方法をコンピュータに実行させるプログラムを格納した記録媒体としてもよい。
【0019】
【発明の実施の形態】
(実施の形態1)
本発明の実施の形態1における動画像符号化方法を図1に示したブロック図を用いて説明する。
【0020】
予測方向制限指示部109は外部からの指示を受け、ピクチャ間予測を行うときの参照方法を制御する。ここで、ピクチャ間予測でBピクチャを用いるときの参照方法の例としては、▲1▼図5のB6に示すように前方にある2枚のピクチャを参照するか、▲2▼図5のB12に示すように後方にある2枚のピクチャを参照するか、▲3▼図5のB18に示すように前方の1枚と後方の1枚のピクチャを参照するか、などが考えられる。予測モードの例としては前方向2枚参照予測モード、後方向2枚参照予測モード、前方向後方向同時参照予測モード等がある。ただし予測方向制限指示部109によって時間的に前方にあるピクチャのみが参照されるように制限されている場合は、Bピクチャの符号化において時間的に後方にあるピクチャを参照する予測モードは選択されない。入力された指示によって図4(a)又は同図(b)に示す使用可能なピクチャが決定される。以下では、説明を簡単にするため同図(a)又は同図(b)に示す識別番号が指示として入力されるものとする。入力された指示(識別番号)は予測方向制限指示部109からフレームメモリ101、符号列生成部103、動きベクトル検出部106に出力される。
【0021】
符号化対象となる動画像は表示を行う順にピクチャ単位でフレームメモリ101に入力される。予測方向制限指示部109によって予測方向の制限がなされていない場合はフレームメモリ101において符号化を行う順にピクチャの並び替えを行う。また、時間的に前方にあるピクチャのみが参照されるように制限されている場合は並び替えを行わない。ここで時間的に前方にあるピクチャのみが参照される場合とは、Bピクチャに関して図5のB6に示すような前方にある2枚のピクチャを参照するBピクチャのみを用いる場合、またはBピクチャを全く用いない場合である。各々のピクチャはマクロブロックと呼ばれる例えば水平16×垂直16画素のブロックに分割されブロック単位で以降の処理が行われる。
【0022】
フレームメモリ101から読み出されたマクロブロックは動きベクトル検出部106に入力される。ここではフレームメモリ105に蓄積されている画像を参照ピクチャとして用いて、符号化対象のマクロブロックの動きベクトル検出を行う。フレームメモリ105には以下のステップで画像が保存される。まず、予測残差符号化部102から予測残差復号化部104に信号が入力される。予測残差復号化部104に入力された信号と、動き補償符号化部107で得られた予測画像とが加算演算部111において加算され、加算された信号が参照用の画像としてフレームメモリ105に保存される。なお、ピクチャ内予測符号化を行う場合は上記のような動き補償を必要としないため、スイッチ113は切断される。
【0023】
また、動きベクトル検出部106で決定された動きベクトルに従って、動き補償符号化部107では動きベクトル記憶部108に記憶されている符号化済みのピクチャで用いた動きベクトルとフレームメモリ105に記憶されている符号化済みのピクチャを用いて、予測画像が生成される。また、動き補償符号化部107から符号列生成部103に差分動きベクトルが入力される。
【0024】
図8は符号化の対象ピクチャが時間的に後方のピクチャを参照しない場合の各ピクチャの参照関係を示したものである。この場合、並び替えを行う必要が無いため、各ピクチャは表示される順番で符号化される。シーケンスに含まれる全てのBピクチャは時間的に前方にある1枚もしくは複数の符号化済みピクチャを参照して予測符号化を行っている。よって、Bピクチャを使用することにより、IピクチャとPピクチャのみを用いた従来のローディレイモードと比べて効率の良い符号化を行うことが可能となる。
【0025】
動きベクトル検出部106によって得られた動きベクトルによって決定された予測画像が差分演算部110に入力され、符号化対象のマクロブロックとの差分をとることにより予測残差画像が生成され、予測残差符号化部102において符号化が行われる。
【0026】
以上の処理の流れはピクチャ間予測符号化が選択された場合の動作であったが、スイッチ112によってピクチャ内予測符号化との切り替えがなされる。なお、その際にスイッチ113も同時に切断される。
【0027】
最後に符号列生成部103によって、動きベクトル等の制御情報および予測残差符号化部102から出力される画像情報等に対し可変長符号化を施し、最終的に出力される符号列が生成される。その際に、図3(a)のように予測方向制限指示部109によって指示された図4(a)または図4(b)に示す識別番号が予測方向制限識別信号31として符号化の対象とするシーケンスのヘッダ領域に付加される。予測方向制限識別信号31がシーケンスヘッダに付加された場合は符号化対象の動画像列全体に対して予測方向の制限が適用されることになる。
【0028】
なお、図3(b)の32、33のように予測方向制限指示部109によって指示された図4(a)または図4(b)に示す識別番号をGOPのヘッダ領域に付加することにより、GOPごとに予測方向の制限を切り替えることも可能である。このとき予測方向制限識別信号として付加する信号は図4(a)に例として示したテーブルを参照して決定される。図4(a)の例に従うと、予測方向の制限を行わない場合は識別番号「0」が、前方のみに予測方向を制限する場合つまりIピクチャおよびPピクチャおよび前方のみを参照するBピクチャを使用する場合は識別番号「1」が選択される。
【0029】
また、予測方向制限識別信号として図4(a)に示した2つの項目のみのテーブルを用いる代わりに、図4(b)に示したような3つの項目からなるテーブルを使用することも可能である。ここでは、図4(a)の2項目に加え、Bピクチャを全く使用しない符号化方法を選択することを可能としている。これによって、符号化効率の低下をできるだけ抑えつつ遅延の発生を避けたい場合は識別番号「1」を、処理量の削減を優先しつつ遅延の発生を避けたい場合は識別番号「2」を選択するといった使い分けが可能となる。つまり、予測方向制御指示部109への外部からの指示は、符号化対象の動画像に適切な処理量、効率、遅延を検討の上、決定されることになる。
【0030】
また、図11に示すように、処理量はIピクチャとPピクチャのみを用いる場合が少なく、符号化効率は全てのピクチャタイプを用いる場合がよく、符号化時に伝送を開始するとき発生する遅延および復号化時に表示を開始するときに発生する遅延は全てのピクチャタイプを用いる場合に起きやすい。なお、図4(a)および図4(b)における識別番号の割り振り方はこれ以外の方法を用いても同様に扱うことが可能である。また、図3(a)に示すシーケンスデータおよび図3(b)に示すGOPデータにはピクチャのデータが入っている。
【0031】
以下、図4(a)に示す識別番号が予測方向制御指示部109に入力されたときの図1に示す符号化方法における処理の流れの一例を、図9(a)を用いて説明する。
E1において図4(a)に示す識別番号が入力されると、E2−aにおいて識別番号に応じた動作モードが選択される。識別番号が「0」であればフレームメモリ101から画像が取り込まれる(E3)。取り込まれた画像をBピクチャとして符号化する場合はさらに画像の取り込みを行う(E3)。Bピクチャ以外の方法で符号化する画像が取り込まれた時点で、取り込まれた複数の画像を符号化を行う順番に並び替える(E5)。例として、図6(a)のような画像列を符号化する場合を考えると、まずIピクチャであるI61はそのまま符号化を行う。つぎにBピクチャであるB62およびB63は、それらが参照するピクチャであるPピクチャのP64が取り込まれるのを待ってから、符号化する順番に並び替えられられる。図6(b)は符号化する順番に並び替えられたピクチャの列を表したものである。そしてE6において並び替えた順に符号化を行う。E6における符号化により全ての符号化が完了していれば符号化は終了し、符号化が完了していなければE3に戻り上記E3からE7までのステップを繰返す。
【0032】
一方、E2−aにおいて識別番号が「1」であればE8において、1枚のピクチャをフレームメモリ101から取り込む。Iピクチャ、Pピクチャ、前方参照のみのBピクチャはいずれも後方参照を行わないピクチャであるためE5のような並び替えをすることなく、E9において取り込んだピクチャの符号化を行う。そのときのピクチャ列の例を図8に示す。このピクチャ列におけるB82およびB83等の全てのBピクチャは前方のみを参照するピクチャとなっている。そしてE7と同様に、E9における符号化により全ての符号化が完了していれば符号化は終了し、符号化が完了していなければE8に戻り上記E8からE10までのステップを繰返す。
【0033】
次に図4(b)に示す識別番号が予測方向制御指示部109に入力されたときの符号化方法における処理の流れを図9(b)を用いて説明する。ただし、図9(a)と同じ処理をするステップには同一の符号を振り、説明を省略する。
図9(b)の処理の流れで図9(a)と異なる点は、図4(b)では3種類の識別番号があるためE2−bにおける判断が増える点、図4(a)と異なる識別番号「2」に対応する動作モードとして処理ステップE11、E12、E13がある点である。図4(b)において識別番号「2」に対応する動作モードはIピクチャとPピクチャのみを用いて符号化するため、E11で画像を取り込んだ後、取り込んだ画像の並び替えを行うことなくE12においてEピクチャとPピクチャのみを符号化することになる。そのときのピクチャ列の例を図7に示す。このピクチャ列では前方を参照するIピクチャおよびPピクチャのみで構成されているのが分かる。なお、識別番号の入力は、外部から人為的に入力されても、予め設定をしてハードウェア的に処理されても、ソフトウェアで間接的に入力されても、いずれでもよい。
【0034】
図4(a)または図4(b)に示す識別番号が予測方向制限指示部109に入力された後に、符号列生成部103に入力される信号は図12に示す手順に従う。
まず、図4(a)に示す識別番号の場合について説明する。図12(a)に示すように、入力された識別番号「0」「1」がそのまま符号列生成部103に出力される。つまり、図3の予測方向制限識別信号31,32,33には、予測方向制限指示部109に入力された識別番号がそのまま入る。同様に、図4(b)に示す識別番号の場合、図12(b)に示すように予測方向制限指示部109に入力された識別番号が図3の予測方向制限識別信号31,32,33にそのまま入る。
【0035】
図4(b)のように識別番号が多くなると、用いるビット数も増加する。そこで、図12(c)や図12(d)に示すような処理をすると、図12(b)に示すような処理と比べてビット量を削減させることができる。図12(c)は図4(a)の識別番号が予測方向制限指示部109に入力された場合についての処理手順を示す。図12(c)に示すように予測方向制限指示部109に入力された識別番号は、並び替えが必要かどうかを判別され、並び替えが必要であれば「0」を、並び替えが不要であれば「1」を出力する。同様に、図12(d)に示すように予測方向制限指示部109に入力された識別番号は、並び替えが必要かどうかを判別され、入力された識別番号が「0」の場合は並び替えが必要なため「0」を出力する。一方、入力された識別番号が「1」と「2」の場合は、後方参照するピクチャを扱わないため並び替えが不要であり、この並び替えが不要の意味を有する「1」を出力する。これにより、予測方向制限指示部109から符号列生成部103に出力される信号は、図14(c)に示したように、並び替えが必要か、不要かの情報のみを用いれば良く、ビット量を削減することが可能である。特に、識別番号の数が多いときに、並び替えが必要か、不要かの2つの判断のみに意味付けでき、有効である。
【0036】
また、Bピクチャを用いると、2枚の参照画像の平均画像を予測画像として使用できることから、2枚が時間的に前方にある場合でも符号化効率を向上できる可能性がある。
【0037】
なお、前方の1枚のピクチャのみを参照するBピクチャを用いる場合も、上記実施の形態で示した前方の2枚のピクチャのみを参照するBピクチャと同様に、並び替えが不要なピクチャとして扱うことができる。さらに、上記実施の形態における動き補償は、符号化対象のピクチャが有する動きベクトルの情報を用いることを前提としていたが、ダイレクトモードと呼ばれる、符号化対象のピクチャが動きベクトルの情報をもたずに符号化済みのブロックの情報を用いて動き補償を行う場合でも、上記実施の形態で示した符号化方法を用いることができる。ダイレクトモードを用いるBピクチャの場合、動きベクトルの情報を持たないため、ダイレクトモード以外の予測モードを用いるBピクチャの場合と比べ、さらに符号化効率を向上させることが可能である。
【0038】
また、前後へ動き補償を行う通常のBピクチャは複数の物体が重なって見え隠れする場合の動画像に有効であるが、前方向のみ動き補償を行うBピクチャを用いた場合もほぼ同等の効果を得ることが可能である。なお、Bピクチャの動き補償において2枚のピクチャから予測画像を生成する際に、それぞれの画素値に対して重み付け平均を取ることによってフェード等の画面全体の明度が変わるような動画像に対して効率の良い符号化を行うことができる。以上のように上記実施の形態1に示した符号化方法により、符号化装置に入力されたピクチャの順番を入れ替える処理を省くことができ、符号化処理による時間的な遅延を最小限に抑えることができる。なお、符号化処理における遅延は、ピクチャの順番を並べ替える遅延が支配的であるから、この並べ替えの遅延を削減することは大きな意味がある。
【0039】
(実施の形態2)
本発明の実施の形態2における動画像復号化方法を図2に示したブロック図を用いて説明する。ただし、以下の説明では実施の形態1の動画像符号化方法で生成された符号列が入力されるものとするが、同じデータ構造の符号列であればよく、必ずしも実施の形態1の動画像符号化方法で生成された符号列でなくても良い。
【0040】
まず入力された符号列から符号列解析器201によって動きベクトル情報および予測残差符号化データ等の各種の情報が抽出される。同時に、ピクチャ間予測を行うときの予測方向に関する情報が予測方向制限識別信号としてヘッダ領域から抽出されるものとする。図3(a)は前記予測方向制限識別信号31がシーケンスヘッダに付加されている場合の符号化列を示したものである。また、図3(b)の32、33ようにGOPのヘッダ領域に付加されている場合も同様に扱うことも可能である。このとき、図12(a)から図12(d)のいずれの方法によって符号化されたかによって、それに対応する図4(a)もしくは図4(b)に示した識別番号が前記予測方向制限識別信号として付加されているものとする。
【0041】
符号列解析器201で抽出された識別番号は予測方向制限指示部206に、動きベクトル情報(差分動きベクトル)は動き補償復号部204に、予測残差符号化データは予測残差復号化部202にそれぞれ出力される。符号列解析器201で抽出された識別番号は、ピクチャの並び替えが必要か不要かのいずれを意味する識別番号であるか、予測方向制限指示部206において判断される。そして、ピクチャの並び替えが必要か不要かの情報がフレームメモリ203に入力される。動き補償復号部204ではフレームメモリ203に蓄積されている復号化済みのピクチャの復号化画像を参照ピクチャとし、入力された動きベクトル情報または動きベクトル記憶部205に記憶されている動きベクトル情報に基づいて予測画像を生成する。なお、時間的に前方にあるピクチャのみが参照されるように制限されている場合に、動き補償復号部204ではBピクチャの復号化において時間的に後方にあるピクチャを参照する予測モードを参照しようとした際には、予測方向制限指示部206によってエラー検出やエラーの修正指示がなされるようにしてもよい。
【0042】
生成された予測画像は加算演算部207に入力され、予測残差復号化部202において生成された予測残差画像との加算を加算演算部207で行うことにより復号化画像が生成される。予測方向制限指示部206によって予測方向の制限がなされていない場合、例えば図4(a)または図4(b)で示す識別番号が「0」の場合は、生成された復号化画像はフレームメモリ203において表示される順にピクチャの並び替えを行う。一方、時間的に前方にあるピクチャのみが参照されるように制限されている場合、例えば図4(a)または図4(b)で示す識別番号が「1」の場合または図4(b)で示す識別番号が「2」の場合は、並び替えを行うことなく復号化された順にそのまま表示することが可能となる。また、識別番号「1」の場合、符号化効率の低下をできるだけ抑えつつ遅延の発生を避けた符号化方法によって生成された符号列の復号化ができる。そして、識別番号「2」の場合、復号化の処理量の削減を優先しつつ、また表示における遅延の発生を抑えつつ、符号化方法によって生成された符号列の復号化を矛盾なく実現することができる。
【0043】
なお、図4(a)および図4(b)における識別番号の割り振り方はこれ以外の方法を用いても同様に扱うことが可能である。なお、符号列解析部201に入力される符号列の信号における予測方向制限信号が、図4(b)に示す識別番号が「0」の場合と、識別番号が「1」と「2」の場合のどちらかを識別できる制御信号のとき、前者では予測方向制御指示部206に並び替えをする必要があることを示す制御信号が入力され、後者では予測方向制御指示部206に並び替えをする必要がないことを示す制御信号が入力される。
【0044】
予測方向制限識別番号が図12(a)の手順に従って符号化されている場合の復号化の手順について図10(a)を用いて説明する。なお、識別番号「0」「1」はそれぞれ図4(a)の識別番号に対応し、図14(a)に示す通りである。まずD1において、入力された符号列から識別番号が抽出され、それに従ってD2−aにおいて動作モードが選択される。識別番号が「0」であればD3によって符号列を取り込み、取り込んだ順番のままD4において復号化を行う。さらに復号化された複数のピクチャを表示する順番に並び替える(D5)。例として、図6(b)のような符号化される順番に並び替えられた符号列を復号化する場合を考えると、まずIピクチャであるI61はそのまま符号化を行い表示される。つぎにPピクチャであるP64は、それに続くBピクチャであるB62およびB63の後に表示されるものであるため、B62およびB63が復号化および表示されるのを待つ必要がある。最終的には図6(a)のような順番で復号化されたピクチャが表示される。全てのピクチャの復号化が完了していなければD3に戻り上記D3からD6までのステップを繰返す。
【0045】
一方、D2−aにおいて識別番号が「1」であればD7において、Iピクチャ、Pピクチャ、前方参照のみのBピクチャの符号列を取り込む。Iピクチャ、Pピクチャ、前方参照のみのBピクチャはいずれも後方参照を行わないピクチャであるためD5のような並び替えをすることなく、D8において取り込んだピクチャの符号化を行う。そのときのピクチャ列の例を図8に示す。このピクチャ列におけるB82およびB83等の全てのBピクチャは前方のみを参照するピクチャとなっている。そしてD6と同様に、全てのピクチャの復号化が完了していれば復号化は終了し、復号化が完了していなければD7に戻り上記D7からD9までのステップを繰返す。なお、動作モードの選択D2−aは予測方向制御指示部206において行われる。
【0046】
次に予測方向制限識別番号が図12(b)の手順に従って符号化されている場合の復号化の手順について図10(b)を用いて説明する。ただし、図10(a)と同じ処理をするステップには同一の符号を振り、説明を省略する。なお、予測方向制御識別信号は図14(b)に示す通りである。
【0047】
図10(b)の処理の流れで図10(a)と異なる点は、図4(b)では3種類の識別番号があるためD2−bにおける判断が増える点、図4(a)と異なる識別番号「2」に対応する動作モードとして処理ステップD10、D11、D12がある点である。図4(b)において識別番号「2」に対応する動作モードはIピクチャとPピクチャのみを用いて符号化するため、D10で画像を取り込んだ後、取り込んだ画像の並び替えを行うことなくD11においてIピクチャとPピクチャのみを符号化することになる。そのときのピクチャ列の例を図7に示す。このピクチャ列では前方を参照するIピクチャおよびPピクチャのみで構成されているのが分かる。なお、動作モードの選択D2−bは予測方向制御指示部206において行われる。
【0048】
さらに、予測方向制限識別番号が図12(c)の手順に従って符号化されている場合の復号化の手順について図13を用いて述べる。なお、識別番号は図14(c)に示す通りである。この場合は、基本的に図10(a)に示す手順と同一である。異なる点は、予測方向制限識別信号自体が並び替えの要・不要のみを示しており、図10(a)のD2−aにおける動作モード選択と、図13のD2−cにおける動作モード選択の意味が異なる点である。D2−cにおいてモード選択がされた後は、符号列を取り込み、取り込んだピクチャを復号化し(D40、D80)、並び替えが必要なモードでは並び替えをし、並び替えの必要のないモードでは並び替えをしない。このモードの選択は予測方向制御指示部206において行われる。なお、予測方向制限識別番号が図12(d)の手順に従って符号化されている場合の復号化の手順も、同様である。このときの識別番号は図14(c)に示す通りである。図12(c)の手順に従って符号化されている場合と異なる点は、取り込まれる符号列、復号化されるピクチャの種類である。
【0049】
以上の実施の形態はピクチャ間予測符号化がなされている符号列に対する動作であったが、スイッチ208によってピクチャ内予測符号化がなされている符号列に対する復号化処理との切り替えがなされる。
【0050】
以上のように上記実施の形態2示した復号化方法により、復号化されたピクチャを表示するための順番に入れ替える処理を省くことができ、復号化処理によるピクチャ並べ替えのための時間的な遅延を不要にすることができる。復号化処理における遅延は、ピクチャの順番を並べ替える遅延が支配的であるから、この並べ替えの遅延を削減することは大きな意味がある
【0051】
(実施の形態3)
上記実施の形態1および2では、Pピクチャが時間的に前方にある1枚のピクチャを参照してピクチャ間予測符号化されたピクチャである場合について説明した。本実施の形態では、Pピクチャが時間的に前方向または後方向にある1枚のピクチャを参照してピクチャ間予測符号化される場合について説明する。
【0052】
以下、説明の便宜上、前方にある1枚のピクチャを参照してピクチャ間予測符号化されるピクチャを前方予測Pピクチャ、後方にある1枚のピクチャを参照してピクチャ間予測符号化されるピクチャを後方予測Pピクチャと呼ぶ。
本実施の形態における符号化方法および復号化方法について、実施の形態1および2と同じ点については説明を省略し、以下異なる点を中心に説明する。
【0053】
本実施の形態における識別番号は、次の読み替えを行う点以外は図4(a)(b)、図14(a)〜(c)と同じである。すなわち、図4(a)及び図14(a)において識別番号が0である場合の”Pピクチャ”は前方予測Pピクチャおよび後方予測Pピクチャと、識別番号が1である場合の”Pピクチャ”は前方予測Pピクチャとそれぞれ読み替える。その結果、識別番号が0の場合にはピクチャの順番を並べ替える必要があり、識別番号が1の場合にはピクチャの順番を並べ替えること必要がないことになる。
【0054】
同様に、図4(b)及び図14(b)において識別番号が0である場合の”Pピクチャ”は前方予測Pピクチャ及び後方予測Pピクチャと、識別番号が1である場合および2である場合の”Pピクチャ”は前方予測Pピクチャとそれぞれ読み替える。その結果、識別番号が0の場合にはピクチャの順番を並べ替える必要があり、識別番号が1の場合および2の場合にはピクチャの順番を並べ替えること必要がないことになる。
【0055】
このように、識別番号により示される使用可能なPピクチャの種類については実施の形態1および2とは異なっているが、識別番号により示される並び替えの必要があるかないかについては同じである。
【0056】
また、本実施の形態における符号化方法は次の読み替えを行う点以外は図9(a)(b)と同様である。すなわち、ステップE6における”Pピクチャ”は前方予測Pピクチャおよび後方予測Pピクチャと読み替え、ステップE9、E12における”Pピクチャ”は前方予測Pピクチャと読み替える。
【0057】
同様に、本実施の形態における復号号化方法は次の読み替えを行う点以外は図10(a)(b)と同様である。すなわち、ステップD4における”Pピクチャ”は前方予測Pピクチャおよび後方予測Pピクチャと読み替え、ステップD8、D11における”Pピクチャ”は前方予測Pピクチャと読み替える。
【0058】
以上説明してきたように本実施の形態における動画像の符号化方法及び復号化方法によれば、Pピクチャが前方向または後方向にある1枚を参照してピクチャ間符号化される場合であっても、実施の形態1及び2の符号化方法及び復号化方法と同様の効果を得ることができる。
【0059】
なお、上記各実施の形態における予測方向制限識別信号は、符号列生成部103に生成される符号列に設定される(A)表示の遅延時間を示すデータ(表示遅延データと呼ぶ)、又は(B)並び替えにおけるピクチャ数を示すデータ(並び替えピクチャ数データと呼ぶ)であってもよい。(A)表示遅延データは、復号が完了してからフレームメモリ203の復号済ピクチャが表示されるまでの遅延時間(単位は、例えばピクチャ枚数と等価なクロック数)を表すデータである。この場合、予測方向制限識別信号は、表示遅延データの遅延時間を0とすることにより並び替え不要であることを示す。(B)並び替えピクチャ数データは、並び替えによるピクチャの復号順位と表示順順位との最大の差分を表すデータである。この場合、予測方向制限識別信号は、並び替えピクチャ数データを0とすることにより並び替え不要であることを示す。
【0060】
また、符号列生成部103は、予測方向制限識別信号を、図3(a)に示したシーケンスヘッダ中に予測方向制限識別信号31として設定してもよいし、図3(b)に示したGOPヘッダ中に予測方向制限識別信号32、33として設定してもよいし、図15(a)に示すピクチャ共通情報領域中に予測方向制限識別信号34として設定してもよいし、図15(b)に示す拡張領域中に予測方向制限識別信号35として設定してもよい。前記ピクチャ共通情報領域は、1つまたは複数のピクチャから共通して参照される情報をまとめて記述したものであり、前記拡張領域は、復号化するための補助となる情報をまとめて記述したものであり必ずしも使用されるとは限らないものである。これらの領域は、符号列中の任意の位置に設けることができる。
【0061】
なお、以上の説明では、Pピクチャは1枚の符号化済みピクチャを、Bピクチャは1枚または2枚の符号化済みピクチャを参照して予測画像を生成し動き補償を行うとしているが、前記内容は動き補償を行う対象の1つのブロックごとに参照することのできる符号化済みピクチャの枚数を示すものでもある。例えば符号化の対象とする1枚のピクチャに対して複数枚(例えば5枚)の符号化済みピクチャを参照することが許可されていた場合は、その中から最適な1枚もしくは2枚のピクチャを符号化対象または復号化対象のブロックごとに選択し、選択されたピクチャ中のブロックを用いて動き補償を行うという動作に置き換えて処理を行った場合も、全く同様に扱うことができる。
【0062】
(実施の形態4)
さらに、上記各実施の形態で示した符号化処理および復号化処理の構成を実現するための符号化および復号化プログラムや符号列(データストリーム)を、フレキシブルディスク等の記録媒体に記録するようにすることにより、上記各実施の形態で示した処理を、独立したコンピュータシステムにおいて簡単に実施することが可能となる。
【0063】
図14は、上記実施の形態1から2の符号化あるいは復号化処理を、上記符号化および復号化プログラムを格納したフレキシブルディスクを用いて、コンピュータシステムにより実施する場合を説明するための図である。
図14(b)は、フレキシブルディスクの正面からみた外観、断面構造、及びフレキシブルディスクを示し、図14(a)は、記録媒体本体であるフレキシブルディスクの物理フォーマットの例を示している。フレキシブルディスクFDはケースF内に内蔵され、該ディスクの表面には、同心円状に外周からは内周に向かって複数のトラックTrが形成され、各トラックは角度方向に16のセクタSeに分割されている。従って、上記プログラムを格納したフレキシブルディスクでは、上記フレキシブルディスクFD上に割り当てられた領域に、上記プログラムとしてのデータが記録されている。
【0064】
また、図14(c)は、フレキシブルディスクFDに上記プログラムの記録再生を行うための構成を示す。上記プログラムをフレキシブルディスクFDに記録する場合は、コンピュータシステムCsから上記プログラムとしてのデータをフレキシブルディスクドライブを介して書き込む。また、フレキシブルディスク内のプログラムにより上記符号化および復号化方法をコンピュータシステム中に構築する場合は、フレキシブルディスクドライブによりプログラムをフレキシブルディスクから読み出し、コンピュータシステムに転送する。
【0065】
なお、上記説明では、記録媒体としてフレキシブルディスクを用いて説明を行ったが、光ディスクを用いても同様に行うことができる。また、記録媒体はこれに限らず、ICカード、ROMカセット等、プログラムを記録できるものであれば同様に実施することができる。
【0066】
また、上記実施の形態に示した符号化方法・復号化方法は、携帯電話やカーナビゲーションシステム等の移動体通信機器やデジタルビデオカメラやデジタルスチールカメラ等の撮影機器にLSI等の半導体によって実装することが可能である。また、実装形式としては、符号化器・復号化器を両方持つ送受信型の端末の他に、符号化器のみの送信端末、復号化器のみの受信端末の3通りが考えられる。具体的な応用例を図17〜図20を用いて説明する。
【0067】
図17は、コンテンツ配信サービスを実現するコンテンツ供給システムex100の全体構成を示すブロック図である。通信サービスの提供エリアを所望の大きさに分割し、各セル内にそれぞれ固定無線局である基地局ex107〜ex110が設置されている。
【0068】
このコンテンツ供給システムex100は、例えば、インターネットex101にインターネットサービスプロバイダex102および電話網ex104、および基地局ex107〜ex110を介して、コンピュータex111、PDA(personal digital assistant)ex112、カメラex113、携帯電話ex114、カメラ付きの携帯電話ex115などの各機器が接続される。
【0069】
しかし、コンテンツ供給システムex100は図17のような組合せに限定されず、いずれかを組み合わせて接続するようにしてもよい。また、固定無線局である基地局ex107〜ex110を介さずに、各機器が電話網ex104に直接接続されてもよい。
【0070】
カメラex113はデジタルビデオカメラ等の動画撮影が可能な機器である。また、携帯電話は、PDC(Personal Digital Communications)方式、CDMA(Code Division Multiple Access)方式、W−CDMA(Wideband−Code Division Multiple Access)方式、若しくはGSM(Global System for Mobile Communications)方式の携帯電話機、またはPHS(Personal Handyphone System)等であり、いずれでも構わない。
【0071】
また、ストリーミングサーバex103は、カメラex113から基地局ex109、電話網ex104を通じて接続されており、カメラex113を用いてユーザが送信する符号化処理されたデータに基づいたライブ配信等が可能になる。撮影したデータの符号化処理はカメラex113で行っても、データの送信処理をするサーバ等で行ってもよい。また、カメラex116で撮影した動画データはコンピュータex111を介してストリーミングサーバex103に送信されてもよい。カメラex116はデジタルカメラ等の静止画、動画が撮影可能な機器である。この場合、動画データの符号化はカメラex116で行ってもコンピュータex111で行ってもどちらでもよい。また、符号化処理はコンピュータex111やカメラex116が有するLSIex117において処理することになる。なお、画像符号化・復号化用のソフトウェアをコンピュータex111等で読み取り可能な記録媒体である何らかの蓄積メディア(CD−ROM、フレキシブルディスク、ハードディスクなど)に組み込んでもよい。さらに、カメラ付きの携帯電話ex115で動画データを送信してもよい。このときの動画データは携帯電話ex115が有するLSIで符号化処理されたデータである。
【0072】
このコンテンツ供給システムex100では、ユーザがカメラex113、カメラex116等で撮影しているコンテンツ(例えば、音楽ライブを撮影した映像等)を上記実施の形態同様に符号化処理してストリーミングサーバex103に送信する一方で、ストリーミングサーバex103は要求のあったクライアントに対して上記コンテンツデータをストリーム配信する。クライアントとしては、上記符号化処理されたデータを復号化することが可能な、コンピュータex111、PDAex112、カメラex113、携帯電話ex114等がある。このようにすることでコンテンツ供給システムex100は、符号化されたデータをクライアントにおいて受信して再生することができ、さらにクライアントにおいてリアルタイムで受信して復号化し、再生することにより、個人放送をも実現可能になるシステムである。
【0073】
このシステムを構成する各機器の符号化、復号化には上記各実施の形態で示した画像符号化装置あるいは画像復号化装置を用いるようにすればよい。
その一例として携帯電話について説明する。
図18は、上記実施の形態で説明した画像符号化方法と画像復号化方法を用いた携帯電話ex115を示す図である。携帯電話ex115は、基地局ex110との間で電波を送受信するためのアンテナex201、CCDカメラ等の映像、静止画を撮ることが可能なカメラ部ex203、カメラ部ex203で撮影した映像、アンテナex201で受信した映像等が復号化されたデータを表示する液晶ディスプレイ等の表示部ex202、操作キーex204群から構成される本体部、音声出力をするためのスピーカ等の音声出力部ex208、音声入力をするためのマイク等の音声入力部ex205、撮影した動画もしくは静止画のデータ、受信したメールのデータ、動画のデータもしくは静止画のデータ等、符号化されたデータまたは復号化されたデータを保存するための記録メディアex207、携帯電話ex115に記録メディアex207を装着可能とするためのスロット部ex206を有している。記録メディアex207はSDカード等のプラスチックケース内に電気的に書換えや消去が可能な不揮発性メモリであるEEPROM(Electrically Erasable and Programmable Read Only Memory)の一種であるフラッシュメモリ素子を格納したものである。
【0074】
さらに、携帯電話ex115について図19を用いて説明する。携帯電話ex115は表示部ex202及び操作キーex204を備えた本体部の各部を統括的に制御するようになされた主制御部ex311に対して、電源回路部ex310、操作入力制御部ex304、画像符号化部ex312、カメラインターフェース部ex303、LCD(Liquid Crystal Display)制御部ex302、画像復号化部ex309、多重分離部ex308、記録再生部ex307、変復調回路部ex306及び音声処理部ex305が同期バスex313を介して互いに接続されている。
【0075】
電源回路部ex310は、ユーザの操作により終話及び電源キーがオン状態にされると、バッテリパックから各部に対して電力を供給することによりカメラ付ディジタル携帯電話ex115を動作可能な状態に起動する。
【0076】
携帯電話ex115は、CPU、ROM及びRAM等でなる主制御部ex311の制御に基づいて、音声通話モード時に音声入力部ex205で集音した音声信号を音声処理部ex305によってディジタル音声データに変換し、これを変復調回路部ex306でスペクトラム拡散処理し、送受信回路部ex301でディジタルアナログ変換処理及び周波数変換処理を施した後にアンテナex201を介して送信する。また携帯電話機ex115は、音声通話モード時にアンテナex201で受信した受信データを増幅して周波数変換処理及びアナログディジタル変換処理を施し、変復調回路部ex306でスペクトラム逆拡散処理し、音声処理部ex305によってアナログ音声データに変換した後、これを音声出力部ex208を介して出力する。
【0077】
さらに、データ通信モード時に電子メールを送信する場合、本体部の操作キーex204の操作によって入力された電子メールのテキストデータは操作入力制御部ex304を介して主制御部ex311に送出される。主制御部ex311は、テキストデータを変復調回路部ex306でスペクトラム拡散処理し、送受信回路部ex301でディジタルアナログ変換処理及び周波数変換処理を施した後にアンテナex201を介して基地局ex110へ送信する。
【0078】
データ通信モード時に画像データを送信する場合、カメラ部ex203で撮像された画像データをカメラインターフェース部ex303を介して画像符号化部ex312に供給する。また、画像データを送信しない場合には、カメラ部ex203で撮像した画像データをカメラインターフェース部ex303及びLCD制御部ex302を介して表示部ex202に直接表示することも可能である。
【0079】
画像符号化部ex312は、本願発明で説明した画像符号化装置を備えた構成であり、カメラ部ex203から供給された画像データを上記実施の形態で示した画像符号化装置に用いた符号化方法によって圧縮符号化することにより符号化画像データに変換し、これを多重分離部ex308に送出する。また、このとき同時に携帯電話機ex115は、カメラ部ex203で撮像中に音声入力部ex205で集音した音声を音声処理部ex305を介してディジタルの音声データとして多重分離部ex308に送出する。
【0080】
多重分離部ex308は、画像符号化部ex312から供給された符号化画像データと音声処理部ex305から供給された音声データとを所定の方式で多重化し、その結果得られる多重化データを変復調回路部ex306でスペクトラム拡散処理し、送受信回路部ex301でディジタルアナログ変換処理及び周波数変換処理を施した後にアンテナex201を介して送信する。
【0081】
データ通信モード時にホームページ等にリンクされた動画像ファイルのデータを受信する場合、アンテナex201を介して基地局ex110から受信した受信データを変復調回路部ex306でスペクトラム逆拡散処理し、その結果得られる多重化データを多重分離部ex308に送出する。
【0082】
また、アンテナex201を介して受信された多重化データを復号化するには、多重分離部ex308は、多重化データを分離することにより画像データのビットストリームと音声データのビットストリームとに分け、同期バスex313を介して当該符号化画像データを画像復号化部ex309に供給すると共に当該音声データを音声処理部ex305に供給する。
【0083】
次に、画像復号化部ex309は、本願発明で説明した画像復号化装置を備えた構成であり、画像データのビットストリームを上記実施の形態で示した符号化方法に対応した復号化方法で復号することにより再生動画像データを生成し、これをLCD制御部ex302を介して表示部ex202に供給し、これにより、例えばホームページにリンクされた動画像ファイルに含まれる動画データが表示される。このとき同時に音声処理部ex305は、音声データをアナログ音声データに変換した後、これを音声出力部ex208に供給し、これにより、例えばホームページにリンクされた動画像ファイルに含まる音声データが再生される。
【0084】
なお、上記システムの例に限られず、最近は衛星、地上波によるディジタル放送が話題となっており、図20に示すようにディジタル放送用システムにも上記実施の形態の少なくとも画像符号化装置または画像復号化装置のいずれかを組み込むことができる。具体的には、放送局ex409では映像情報のビットストリームが電波を介して通信または放送衛星ex410に伝送される。これを受けた放送衛星ex410は、放送用の電波を発信し、この電波を衛星放送受信設備をもつ家庭のアンテナex406で受信し、テレビ(受信機)ex401またはセットトップボックス(STB)ex407などの装置によりビットストリームを復号化してこれを再生する。また、記録媒体であるCDやDVD等の蓄積メディアex402に記録したビットストリームを読み取り、復号化する再生装置ex403にも上記実施の形態で示した画像復号化装置を実装することが可能である。この場合、再生された映像信号はモニタex404に表示される。
【0085】
また、ケーブルテレビ用のケーブルex405または衛星/地上波放送のアンテナex406に接続されたセットトップボックスex407内に画像復号化装置を実装し、これをテレビのモニタex408で再生する構成も考えられる。このときセットトップボックスではなく、テレビ内に画像復号化装置を組み込んでも良い。また、アンテナex411を有する車ex412で衛星ex410からまたは基地局ex107等から信号を受信し、車ex412が有するカーナビゲーションex413等の表示装置に動画を再生することも可能である。
【0086】
更に、画像信号を上記実施の形態で示した画像符号化装置で符号化し、記録媒体に記録することもできる。具体例としては、DVDディスクex421に画像信号を記録するDVDレコーダや、ハードディスクに記録するディスクレコーダなどのレコーダex420がある。更にSDカードex422に記録することもできる。レコーダex420が上記実施の形態で示した画像復号化装置を備えていれば、DVDディスクex421やSDカードex422に記録した画像信号を再生し、モニタex408で表示することができる。
【0087】
なお、カーナビゲーションex413の構成は例えば図19に示す構成のうち、カメラ部ex203とカメラインターフェース部ex303、画像符号化部ex312を除いた構成が考えられ、同様なことがコンピュータex111やテレビ(受信機)ex401等でも考えられる。
【0088】
また、上記携帯電話ex114等の端末は、符号化器・復号化器を両方持つ送受信型の端末の他に、符号化器のみの送信端末、復号化器のみの受信端末の3通りの実装形式が考えられる。
【0089】
このように、上記実施の形態で示した画像符号化方法あるいは画像復号化方法を上述したいずれの機器・システムに用いることは可能であり、そうすることで、上記実施の形態で説明した効果を得ることができる。
【0090】
また、本発明はかかる上記実施形態に限定されるものではなく、本発明の範囲を逸脱することなく種々の変形または修正が可能である。
【0091】
【発明の効果】
以上、本発明の動画像符号化方法により、符号化装置に入力されたピクチャの順番を入れ替える処理を省くことでき、符号化処理による時間的な遅延を最小限に抑えることができる。さらに、符号化の処理量を削減でき、符号化装置への負荷を下げることができる。
【0092】
また、本発明の動画像復号化方法により、復号化されたピクチャを表示するための順番に入れ替える処理を省くことができ、復号化処理による時間的な遅延を最小限に抑えることができる。さらに、復号化の処理量を削減でき、復号化装置への負荷を下げることができる。
【図面の簡単な説明】
【図1】本発明の実施の形態1による符号化の動作を説明するためのブロック図である。
【図2】本発明の実施の形態2による復号化の動作を説明するためのブロック図である。
【図3】予測方向制限識別信号をヘッダ領域に付加する方法を説明するための模式図である。
【図4】予測方向制限識別番号と使用可能ピクチャの対応関係を示すための図である。
【図5】従来例のピクチャの参照関係を説明するための模式図である。
【図6】ピクチャの並び替えを説明するための模式図である。
【図7】前方のみに制限された場合の従来の参照関係を説明するための模式図である。
【図8】前方のみに制限された場合の本発明の参照関係を説明するための模式図である。
【図9】符号化処理の流れの概要を説明するためのフローチャートである。
【図10】復号化処理の流れの概要を説明するためのフローチャートである。
【図11】予測の制限を行うことによる効果の比較を示すための模式図である。
【図12】符号列生成部への出力手順を示す図である。
【図13】復号化処理の流れの概要を説明するためのフローチャートである。
【図14】予測方向制限識別信号と使用可能ピクチャの対応関係を示すための図である。
【図15】予測方向制限識別信号が設定されたピクチャ共通情報領域を示す図である。
【図16】本発明の実施の形態4におけるデータ記録媒体について説明するための模式図である。
【図17】本発明に係るコンテンツ配信サービスを実現するコンテンツ供給システムの全体構成を示すブロック図である。
【図18】本発明に係る携帯電話の一例を示す図である。
【図19】同携帯電話の構成を示すブロック図である。
【図20】本発明に係るディジタル放送用システムの構成を示す図である。
【符号の説明】
101 フレームメモリ
102 予測誤差符号化部
103 符号列生成部
104 予測残差復号化部
105 フレームメモリ
106 動きベクトル検出部
107 動き補償符号化部
108 動きベクトル記憶部
109 予測方向制限指示部
201 符号列解析部
202 予測残差復号化部
203 フレームメモリ
204 動き補償復号部
205 動きベクトル記憶部
206 予測方向制限指示部
Se セクタ
Tr トラック
FD フレキシブルディスク
F フレキシブルディスクケース
Cs コンピュータ・システム
FDD フレキシブルディスクドライブ
Claims (18)
- ピクチャ内予測符号化により符号化されたIピクチャと、表示順で前方向または後方向にあるピクチャを参照するピクチャ間予測符号化により符号化されたピクチャ間予測符号化ピクチャとから構成可能なデータストリームであって、
前記データストリームはシーケンスデータと識別信号とを有し、
前記シーケンスデータは、前記前方向にあるピクチャのみを参照して符号化されたピクチャ間予測符号化ピクチャと前記Iピクチャとの組み合わせにより構成され、
前記識別信号は、前記後方向にあるピクチャを参照して符号化されたピクチャが前記シーケンスデータに含まれていない場合に、前記データストリームの復号化において前記符号化されたピクチャの並び替えが不要であることを示す
ことを特徴とするデータストリーム。 - 前記データストリームは、前方予測Bピクチャと後方予測BピクチャとPピクチャと前記Iピクチャとから構成可能であり、
前記前方予測Bピクチャは前記前方向にあるピクチャの中からブロックごとに2枚まで参照することを可能とするピクチャ間予測符号化により符号化されたピクチャであり、
前記後方予測Bピクチャは、前記後方向にあるピクチャが少なくとも1枚含まれるピクチャの中からブロックごとに2枚まで参照することを可能とするピクチャ間予測符号化により符号化されたピクチャであり、
前記Pピクチャは、前記前方向にあるピクチャの中からブロックごとに1枚ずつ参照してピクチャ間予測符号化されたピクチャであり、
前記シーケンスデータは、前記前方予測Bピクチャと、前記Iピクチャと、前記Pピクチャとからなる組み合わせにより構成される
ことを特徴とする請求項1記載のデータストリーム。 - 前記シーケンスデータは、さらに、前記後方予測Bピクチャを組み合わせて構成され、
前記識別信号は、前記後方予測Bピクチャがシーケンスデータに含まれる場合に、前記並び替えが必要であることを示す
ことを特徴とする請求項2記載のデータストリーム。 - 前記データストリームは、前方予測Pピクチャと後方予測Pピクチャと前記Iピクチャとから構成可能であり、
前記前方予測Pピクチャは、前記前方向にあるピクチャの中からブロックごとに1枚ずつ参照してピクチャ間予測符号化されたピクチャであり、
前記後方予測Pピクチャは、前記後方向にあるピクチャが少なくとも1枚含まれるピクチャの中からブロックごとに1枚ずつ参照してピクチャ間予測符号化されたピクチャであり、
前記シーケンスデータは、前記前方予測Pピクチャと前記Iピクチャとからなる組み合わせにより構成される
ことを特徴とする請求項1記載のデータストリーム。 - 前記シーケンスデータは、さらに、後方予測Pピクチャを組み合わせて構成され、
前記識別信号は、前記後方予測Pピクチャがシーケンスデータに含まれる場合に、前記並び替えが必要であることを示す
ことを特徴とする請求項4記載のデータストリーム。 - 前記識別信号は、前記識別信号は、ピクチャが復号化されてから表示されるまでの時間を示すデータであり、当該時間を0に設定することにより前記並び替えが不要であることを示す
ことを特徴とする請求項1から5の何れかに記載のデータストリーム。 - 前記識別信号は、前記並び替えによるピクチャの復号順位と表示順位との最大の差分を示すデータであり、当該差分を0に設定することにより前記並び替えが不要であることを示す
ことを特徴とする請求項1から5の何れかに記載のデータストリーム。 - 請求項1から7の何れかに記載のデータストリームを記録したコンピュータ読み取り可能なデータ記録媒体。
- ピクチャ内予測符号化により符号化されるIピクチャと、符号化対象のピクチャより表示順で前方向または後方向にあるピクチャを参照するピクチャ間予測符号化により符号化されるピクチャ間予測符号化ピクチャとを用いてピクチャを符号化する符号化方法であって、
前記Iピクチャと前記ピクチャ間予測符号化ピクチャのうち前記前方向にあるピクチャのみを参照して予測符号化を行うピクチャとの組み合わせからなるピクチャを用いて符号化することを示す命令を受けるステップと、
前記命令を受けたとき、ピクチャの並び替えが不要であることを示す識別信号を出力するステップと、
前記組み合わせからなるピクチャを並び替えを行わずに表示順で前記識別信号と共に符号化するステップとを有することを特徴とする符号化方法。 - 前記ピクチャ間予測符号化ピクチャには、前記前方向にあるピクチャの中からブロックごとに2枚まで参照することを可能とするピクチャ間予測符号化により符号化される前方予測Bピクチャと、前記後方向にあるピクチャが少なくとも1枚含まれるピクチャの中からブロックごとに2枚まで参照することを可能とするピクチャ間予測符号化により符号化される後方予測Bピクチャと、前記前方向にあるピクチャの中からブロックごとに1枚ずつ参照して符号化されるPピクチャとを含み、
前記命令は、前記前方予測Bピクチャと前記Iピクチャと前記Pピクチャとの組み合わせからなるピクチャを用いて符号化することを示す
ことを特徴とする請求項9記載の符号化方法。 - 前記ピクチャ間予測符号化ピクチャは、前記前方向にあるピクチャの中からブロックごとに1枚ずつ参照するピクチャ間予測符号化により符号化される前方予測Pピクチャと、前記後方向にあるピクチャが少なくとも1枚含まれるピクチャの中からブロックごとに1枚ずつ参照するピクチャ間予測符号化により符号化される後方予測Pピクチャとを含み、
前記命令は、前記前方予測Pピクチャと前記Iピクチャとの組み合わせからなるピクチャを用いて符号化することを示す
ことを特徴とする請求項9記載の復号化方法。 - 前記識別信号は、ピクチャが復号化されてから表示されるまでの時間を示すデータであり、当該遅間を0に設定することにより前記並び替えが不要であることを示す
ことを特徴とする請求項9、10又は11記載の符号化方法。 - 前記識別信号は、前記並び替えによるピクチャの復号順位と表示順位との最大の差分を示すデータであり、当該差分を0に設定することにより前記並び替えが不要であることを示す
ことを特徴とする請求項9、10又は11記載の符号化方法。 - ピクチャ内予測符号化により符号化されたIピクチャと、表示順で前方向または後方向にあるピクチャを参照するピクチャ間予測符号化により符号化されたピクチャ間予測符号化ピクチャとを復号化する復号化方法であって、
ピクチャの並び替えが不要であることを示す識別信号と表示順で符号化されたシーケンスデータとを受信するステップと、
前記識別信号に従って、受信した順番で前記シーケンスデータを復号化するステップと
復号化された順番で表示のために前記復号化されたピクチャを出力するステップと
を有することを特徴とする復号化方法。 - ピクチャ内予測符号化により符号化されたIピクチャと、表示順で前方向または後方向にあるピクチャを参照するピクチャ間予測符号化により符号化されたピクチャ間予測符号化ピクチャとを復号化する復号化方法であって、
ピクチャの並び替えが必要か不要かを示す識別信号とシーケンスデータとを受信するステップと、
前記識別信号が、ピクチャの並び替えが必要であることを示すか、ピクチャの並び替えが不要であることを示すかを判断するステップと、
ピクチャの並び替えが不要であることを示す識別信号であると判断されたとき、受信した順番で前記ピクチャの信号を復号化して出力し、ピクチャの並び替えが必要であることを示す識別信号であると判断されたとき、受信した前記ピクチャの信号を復号化し、ピクチャの表示される順に前記ピクチャを並び替えて出力するステップと
を有することを特徴とする復号化方法。 - 前記識別信号は、ピクチャが復号化されてから表示されるまでの時間を示すデータであり、当該時間を0に設定することにより前記並び替えが不要であることを示す
ことを特徴とする請求項14又は15記載の復号化方法。 - 前記識別信号は、前記並び替えによるピクチャの復号順位と表示順位との最大の差分を示すデータであり、当該差分を0に設定することにより前記並び替えが不要であることを示す
ことを特徴とする請求項14又は15記載の復号化方法。 - 請求項9から13の何れかに記載の符号化方法または請求項14から17の何れかに記載の復号化方法をコンピュータに実行させることを特徴とするプログラム。
Priority Applications (1)
| Application Number | Priority Date | Filing Date | Title |
|---|---|---|---|
| JP2003150013A JP2004088736A (ja) | 2002-06-28 | 2003-05-28 | 動画像の符号化方法、復号化方法、データストリーム、データ記録媒体およびプログラム |
Applications Claiming Priority (2)
| Application Number | Priority Date | Filing Date | Title |
|---|---|---|---|
| JP2002191153 | 2002-06-28 | ||
| JP2003150013A JP2004088736A (ja) | 2002-06-28 | 2003-05-28 | 動画像の符号化方法、復号化方法、データストリーム、データ記録媒体およびプログラム |
Publications (1)
| Publication Number | Publication Date |
|---|---|
| JP2004088736A true JP2004088736A (ja) | 2004-03-18 |
Family
ID=32071850
Family Applications (1)
| Application Number | Title | Priority Date | Filing Date |
|---|---|---|---|
| JP2003150013A Pending JP2004088736A (ja) | 2002-06-28 | 2003-05-28 | 動画像の符号化方法、復号化方法、データストリーム、データ記録媒体およびプログラム |
Country Status (1)
| Country | Link |
|---|---|
| JP (1) | JP2004088736A (ja) |
Cited By (8)
| Publication number | Priority date | Publication date | Assignee | Title |
|---|---|---|---|---|
| WO2006112113A1 (ja) * | 2005-03-31 | 2006-10-26 | Sanyo Electric Co., Ltd | 画像符号化方法および装置、画像復号方法 |
| JP2008301532A (ja) * | 2004-06-02 | 2008-12-11 | Panasonic Corp | 生成装置および再生装置 |
| JP2011055219A (ja) * | 2009-09-01 | 2011-03-17 | Sony Corp | 画像送信装置、画像受信装置、画像送信方法及び画像受信方法 |
| JP2011155671A (ja) * | 2004-05-04 | 2011-08-11 | Qualcomm Inc | 時間的なスケーラビリティのために2方向予測されたフレームを組み立てるための方法及び装置 |
| WO2011114654A1 (ja) * | 2010-03-17 | 2011-09-22 | パナソニック株式会社 | 画像符号化装置及びカメラシステム |
| JP2012124896A (ja) * | 2010-12-07 | 2012-06-28 | Mediatek Inc | 低遅延階層のbグループを有するピクチャ構造を用いた動画像符号化の方法及び装置 |
| JP2013236392A (ja) * | 2008-01-29 | 2013-11-21 | Panasonic Corp | 画像符号化装置および画像符号化方法 |
| JP2014523693A (ja) * | 2011-06-30 | 2014-09-11 | マイクロソフト コーポレーション | ビデオ符号化及び復号化における待ち時間の低減 |
-
2003
- 2003-05-28 JP JP2003150013A patent/JP2004088736A/ja active Pending
Cited By (17)
| Publication number | Priority date | Publication date | Assignee | Title |
|---|---|---|---|---|
| JP2011155671A (ja) * | 2004-05-04 | 2011-08-11 | Qualcomm Inc | 時間的なスケーラビリティのために2方向予測されたフレームを組み立てるための方法及び装置 |
| JP2008301532A (ja) * | 2004-06-02 | 2008-12-11 | Panasonic Corp | 生成装置および再生装置 |
| US7526031B2 (en) | 2004-06-02 | 2009-04-28 | Panasonic Corporation | Seamless switching between random access units multiplexed in a multi angle view multimedia stream |
| US7856062B2 (en) | 2004-06-02 | 2010-12-21 | Panasonic Corporation | Multiplexing apparatus and demultiplexing apparatus |
| US8411759B2 (en) | 2004-06-02 | 2013-04-02 | Panasonic Corporation | Multiplexing apparatus and demultiplexing apparatus |
| WO2006112113A1 (ja) * | 2005-03-31 | 2006-10-26 | Sanyo Electric Co., Ltd | 画像符号化方法および装置、画像復号方法 |
| JP2013236392A (ja) * | 2008-01-29 | 2013-11-21 | Panasonic Corp | 画像符号化装置および画像符号化方法 |
| JP2011055219A (ja) * | 2009-09-01 | 2011-03-17 | Sony Corp | 画像送信装置、画像受信装置、画像送信方法及び画像受信方法 |
| WO2011114654A1 (ja) * | 2010-03-17 | 2011-09-22 | パナソニック株式会社 | 画像符号化装置及びカメラシステム |
| JP2011199411A (ja) * | 2010-03-17 | 2011-10-06 | Panasonic Corp | 画像符号化装置及びカメラシステム |
| JP2012124896A (ja) * | 2010-12-07 | 2012-06-28 | Mediatek Inc | 低遅延階層のbグループを有するピクチャ構造を用いた動画像符号化の方法及び装置 |
| US8873627B2 (en) | 2010-12-07 | 2014-10-28 | Mediatek Inc | Method and apparatus of video coding using picture structure with low-delay hierarchical B group |
| JP2014523693A (ja) * | 2011-06-30 | 2014-09-11 | マイクロソフト コーポレーション | ビデオ符号化及び復号化における待ち時間の低減 |
| US9426495B2 (en) | 2011-06-30 | 2016-08-23 | Microsoft Technology Licensing, Llc | Reducing latency in video encoding and decoding |
| US9729898B2 (en) | 2011-06-30 | 2017-08-08 | Mircosoft Technology Licensing, LLC | Reducing latency in video encoding and decoding |
| US9743114B2 (en) | 2011-06-30 | 2017-08-22 | Microsoft Technology Licensing, Llc | Reducing latency in video encoding and decoding |
| US10003824B2 (en) | 2011-06-30 | 2018-06-19 | Microsoft Technology Licensing, Llc | Reducing latency in video encoding and decoding |
Similar Documents
| Publication | Publication Date | Title |
|---|---|---|
| JP4130783B2 (ja) | 動きベクトル符号化方法および動きベクトル復号化方法 | |
| KR101152507B1 (ko) | 화상 부호화 장치 및 화상 복호화 장치 | |
| CN1685732B (zh) | 画像编码方法及装置、画像解码方法及装置 | |
| JP4440572B2 (ja) | 動画像符号化装置及び動画像符号化方法 | |
| JP2004088722A (ja) | 動画像符号化方法および動画像復号化方法 | |
| JP4313710B2 (ja) | 画像符号化方法および画像復号化方法 | |
| JP2004048711A (ja) | 動画像の符号化方法および復号化方法およびデータ記録媒体 | |
| JP2004088736A (ja) | 動画像の符号化方法、復号化方法、データストリーム、データ記録媒体およびプログラム | |
| WO2004004357A1 (ja) | 動画像の符号化方法、復号化方法、データストリーム、データ記録媒体およびプログラム | |
| CN101431681B (zh) | 图像解码方法及图像解码装置 | |
| JP2004260236A (ja) | 動画像の符号化方法および復号化方法 | |
| JP2005079965A (ja) | 代表点情報符号化方法および代表点情報復号化方法 | |
| JP2006187039A (ja) | 動画像符号化方法および動画像復号化方法 |