JP2004012954A - 電子楽器の鍵盤装置 - Google Patents
電子楽器の鍵盤装置 Download PDFInfo
- Publication number
- JP2004012954A JP2004012954A JP2002168264A JP2002168264A JP2004012954A JP 2004012954 A JP2004012954 A JP 2004012954A JP 2002168264 A JP2002168264 A JP 2002168264A JP 2002168264 A JP2002168264 A JP 2002168264A JP 2004012954 A JP2004012954 A JP 2004012954A
- Authority
- JP
- Japan
- Prior art keywords
- key
- keyboard
- keyboard device
- hammer
- hammers
- Prior art date
- Legal status (The legal status is an assumption and is not a legal conclusion. Google has not performed a legal analysis and makes no representation as to the accuracy of the status listed.)
- Granted
Links
- 239000003302 ferromagnetic material Substances 0.000 claims description 8
- 230000005540 biological transmission Effects 0.000 claims description 3
- 230000005291 magnetic effect Effects 0.000 abstract description 7
- 230000005294 ferromagnetic effect Effects 0.000 abstract description 5
- 239000000126 substance Substances 0.000 abstract 3
- 239000002184 metal Substances 0.000 description 16
- 238000010586 diagram Methods 0.000 description 9
- 239000011347 resin Substances 0.000 description 7
- 229920005989 resin Polymers 0.000 description 7
- 230000000994 depressogenic effect Effects 0.000 description 4
- 238000005452 bending Methods 0.000 description 1
- 230000000694 effects Effects 0.000 description 1
Images
Landscapes
- Electrophonic Musical Instruments (AREA)
Abstract
【解決手段】鍵に対応するハンマの一部を強磁性体で構成し、そのハンマの強磁性体に対応するように配列された複数のマグネットを有する基体を、左右方向に移動可能に設置する。その基体を移動させ、マグネットが強磁性体におよぼす磁力を変化させることで、鍵盤のタッチ感を変更することができる。さらに、基体を移動させる電動アクチェエータを、鍵盤の横ではなく、鍵盤の奥に配置することで、電子楽器全体の大型化を抑えることが可能である。
【選択図】 図10
Description
【発明の属する技術分野】
本発明は、複数の鍵が配列された鍵盤を備えた電子楽器の鍵盤装置に関する。
【0002】
【従来の技術】従来、例えば電子ピアノ等の電子鍵盤楽器の分野においては、押鍵・離鍵の際に、アコースティックの鍵盤楽器にいっそう近いタッチ感を演奏者に与えることが課題となっている。この課題を解決するため、電子鍵盤楽器には、ハンマとよばれる質量体が鍵に配設されていることが一般的であり、このハンマの重さなどによって押鍵および離鍵の際のタッチ感を調節している。
【0003】
ところで、電子鍵盤楽器の演奏者は、幼児から成人、初心者から専門家に至るまで様々であり、当然押鍵する力も大きく異なっている。したがって、鍵盤のタッチ感を工場出荷時に一定に固定せずに、演奏者自らが調節できるような機構が備えられていることが好ましい。この点に関し、特開平06−202618号公報には、鍵に取り付けられた第1のマグネットと、楽器本体に取り付けられた第2のマグネットとの距離を変更して磁力を変え、鍵盤のタッチ感を変更する機構を備えた電子鍵盤楽器について記載されている。
【0004】
【発明が解決しようとする課題】
ここで、上記の電子鍵盤楽器は、第1のマグネットと第2のマグネットを前後/上下に動かして両マグネットの間の距離を変更するものである。したがって、電子鍵盤楽器の内部の空間を大きくとる必要があり、電子鍵盤楽器が大型化してしまうという問題がある。
【0005】
本発明は、上記事情に鑑み、本体の大型化を抑え、鍵盤のタッチ感を容易に変更できる電子楽器の鍵盤装置を提供することを目的とする。
【0006】
【課題を解決するための手段】
上記目的を達成する本発明の電子楽器の鍵盤装置は、左右に配列され押鍵操作を受けて上下に回動する複数の鍵と、複数の鍵それぞれに対応して備えられ押鍵操作を受けた鍵に押されて回動する、複数の鍵の配列に対応して左右に配列された複数のハンマとを有する鍵盤を備えた電子楽器の鍵盤装置において、
複数のハンマそれぞれは、少なくとも一部分が強磁性体からなるものであって、
複数のハンマそれぞれに隣接した位置を通って左右に延びる基体と、その基体の、複数のハンマそれぞれの強磁性体からなる部分に対応した各位置にそれぞれ固定されることにより左右方向に配列された複数のマグネットとを有し、基体とその基体に固定された複数のマグネットが一体的に左右に移動することにより、複数のマグネットが、複数のハンマに対向した位置と隣接するハンマの中間の位置との間で移動自在な押鍵タッチ可変部材を備えたことを特徴とする。
【0007】
本発明の電子楽器の鍵盤装置は、基体上の、ハンマの強磁性体部分に対応する位置に固定されたマグネットが、基体と一体的に左右に移動可能である。例えば、マグネットがハンマの強磁性体部分に対応する位置にあるときに、両者が引き合って押鍵操作が重くなり、その状態から基体を鍵の幅の半分ほど左右方向に移動させると、マグネットも基体と一体的に移動して、ハンマと強磁性体とが引き合う力が弱くなり、押鍵操作が軽くなる。このように、本発明の鍵盤装置によると、押鍵タッチ可変部材を左右に動かして鍵盤のタッチ感を容易に変更できる。
【0008】
また、従来の電子楽器の鍵盤装置はマグネットを前後上下に動かしていたが、本発明の鍵盤装置はマグネットを左右方向に動かすものであり、しかも移動させる距離は、最大でもハンマに対向した位置と隣接するハンマの中間の位置まででよく、鍵の幅の半分程度の距離でよい。したがって、横方向の長さは僅かな増加ですむうえ、鍵盤装置の内部に大きな空間を必要とせず、鍵盤装置の大型化を抑えることが可能である。
【0009】
さらに、本発明の電子楽器の鍵盤装置は、
鍵盤の奥に配備された電動アクチェエータと、
電動アクチェエータの駆動力を押鍵タッチ可変部材に伝達して押鍵タッチ可変部材を左右に移動させる動力伝達機構とを備えることが好ましい。
【0010】
本発明の鍵盤装置に備えられた電動アクチェエータは、鍵盤の横ではなく、鍵盤の奥に配置される。したがって、本発明の鍵盤装置によると、横方向(幅方向)の大型化を避けて、容易に鍵盤のタッチ感を変更することができる。
【0011】
【発明の実施の形態】
以下、本発明の実施形態について説明する。
【0012】
図1は、本発明の第1実施形態が適用された電子楽器の鍵盤装置の最端鍵の側面図である。
【0013】
鍵盤装置10には、シャーシ110、サブシャーシ120、鍵210、ハンマ220、アクチェエータ230、ラバースイッチ240、ラバースイッチ基板250、レール310、マグネットホルダ320、摺動ガイド330、レバー410、シャフト420、ピニオン430、およびラック440が具備されている。
【0014】
シャーシ110は、鍵210等を固定するための樹脂部品であり、鍵盤装置10の底板(図示しない)にネジなどで締結されている。サブシャーシ120は、シャーシ110にネジなどで固定された樹脂部品であり、鍵210を動かす際の軸を支える鍵軸受部121等を備えている。
【0015】
鍵210は白鍵および黒鍵を含む計88個の鍵であり、ハンマ支持部211および鍵軸部212を備えている。鍵210を押鍵すると、ハンマ支持部211で鍵210とハンマ220が接触し、ハンマ220を押し下げる。ハンマ220はある程度の重量を持つ質量体であり、このハンマ220を押し下げることで、鍵210を押す際に重量感が得られる。また、鍵210は、鍵軸部212でサブシャーシ120に設置されている。鍵210は、本発明の電子楽器の鍵盤装置にいう、鍵の一例に相当する。
【0016】
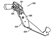
図2は、ハンマ220を示す図である。
【0017】
ハンマ220は、樹脂部221、ホルダ222、金属部223および回動支点224で構成されている。本実施形態においては、ハンマ220は樹脂部221が図1の鍵210の終端側、金属部223が鍵210の始端側になるようにサブシャーシ120に取り付けられており、鍵210の押鍵操作に伴って樹脂部221が押されて、回動支点224を軸に回動する。また、金属部223は強磁性体である金属で構成されており、図1のマグネットホルダ320に内蔵されたマグネットの磁力が付加されている。鍵210、マグネットホルダ320、およびハンマ220の構成については、後で詳しく説明する。このハンマ220は、本発明の電子楽器の鍵盤装置にいうハンマの一例にあたり、金属部223を構成する金属は、本発明にいう強磁性体の一例に相当する。さらに、図1の鍵210およびハンマ220をあわせたものは、本発明にいう鍵盤の一例にあたる。
【0018】
図1に戻って説明する。
【0019】
レール310は、鍵盤装置10の左右方向に伸びるレールであり、マグネットホルダ320が取り付けられている。また、レール310は、摺動ガイド330を介してシャーシ110に取り付けられており、レバー410を使って鍵盤装置10の左右方向に移動可能である。本発明の電子楽器の鍵盤装置における特徴の一つは、このレール310およびマグネットホルダ320などにあり、以下、図1の説明を中断して図3、図4、および図5の説明をする。
【0020】
図3は、図1のレール310およびマグネットホルダ320を、鍵盤装置10の左右方向と垂直な面で切断したときの断面図である。
【0021】
マグネットホルダ320には、図2に示すハンマ220の金属部223を引き寄せる磁力を有するマグネット321が内蔵されており、マグネットホルダ320は、ネジおよびフック322でレール310に固定されている。
【0022】
図4は、マグネットホルダ320を固定したレール310を示す斜視図である。
【0023】
鍵盤装置10の左右方向に伸びるレール310には、図1の鍵210に対応する計88個のマグネットホルダ320が固定されている。
【0024】
図5は、図4のレール310をシャーシ110に取り付けた斜視図である。
【0025】
マグネットホルダ320が固定されたレール310は、図1に示す摺動ガイド330を介してシャーシ110に取り付けられている。レール310は、シャーシ110の左右方向へ移動可能であり、そのときマグネットホルダ320もレール310と一体的に移動する。レール310は、本発明にいう基体の一例にあたり、マグネット321は、本発明にいうマグネットの一例に相当する。
【0026】
再び図1に戻って説明する。
【0027】
図1のレバー410を動かすと、その動きがシャフト420、ピニオン430、およびラック440を経由してレール310に伝えられ、レール310が移動する。
【0028】
本実施形態の鍵盤装置10は、基本的には以上のように構成されている。次に、本発明の電子楽器の鍵盤装置の特徴である鍵210、ハンマ220、レール310、およびマグネットホルダ320等の作用について説明する。
【0029】
まず、鍵210の押鍵操作に伴う、マグネットホルダ320およびハンマ220の作用について説明する。
【0030】
図6は、押鍵する前の鍵210の側面を示す概要図である。
【0031】
図6の破線部内には、図1に示すサブシャーシ120が取り付けられており、そのサブシャーシ120に、回動支点224でハンマ220が、鍵軸部212で鍵210がそれぞれ回動自在に設置されている。また、マグネットホルダ320に内蔵されている図3に示すマグネット321の磁力により、ハンマ220の金属部223がマグネットホルダ320に引き寄せられている。ここで、接触する際に雑音が発生するのを防ぐため、マグネットホルダ320と金属部223とは少し距離をおいて配置されている。
【0032】
ここで、鍵210を押鍵する。
【0033】
このとき、鍵210のハンマ支持部211は、ハンマ224の樹脂部221を押し下げる。ハンマ224は、ある程度の重量を有しており、鍵210を押すときのタッチ感に重量感を与えている。
【0034】
図7は、押鍵したときの鍵210の側面を示す概要図である。
【0035】
鍵210を押すと、ハンマ224を押し下げ、ハンマ224は、回動支点224を軸にして回動する。ここで、押鍵操作は、マグネットホルダ320内のマグネット321の磁力と反する力を加える操作であり、マグネット321が取り付けられていることによって、押鍵するときのタッチ感にいっそう重量感が加わっている。さらに、金属部223がマグネット321に引き寄せられる力が大きくなるほど、鍵210を押すときのタッチ感に重量感が加わる。
【0036】
以上で、鍵210の押鍵操作に伴う、マグネットホルダ320およびハンマ220の作用の説明を終了する。
【0037】
次に、レール310を動かすときの、マグネットホルダ320およびハンマ220の作用を説明する。
【0038】
図8は、鍵盤装置10の鍵210をはずして、鍵盤装置10の最端部を上から見た図である。
【0039】
図8においては、ハンマとハンマの間にマグネットホルダ320が配置されており、図7で説明したハンマ220の金属部223がマグネットホルダ320内のマグネット321に引き寄せられる力はそれほど大きくない。したがって、図7の鍵210を押すときのタッチ感には、それほどの重量感はない。
【0040】
ここで、図1に示すレバー410を操作して図8のピニオン430を矢印Aの方向に動かし、レール310およびマグネットホルダ320を矢印B方向に移動させる。
【0041】
図9は、図8のレール310およびマグネットホルダ320を、矢印B方向に移動させたときの図である。
【0042】
図9においては、ハンマ220に対応する位置に、マグネットホルダ320が配置されている。これは、図8に示すハンマとハンマの間にマグネットホルダ320が配置されている場合と比べて、ハンマ220の金属部223がマグネットホルダ320内のマグネット321に引き寄せられる力が大きく、鍵210を押すときのタッチ感に、大きな重量感が加えられている。ここで、マグネット321を含むマグネットホルダ320、レール310等は、本発明の電子楽器の鍵盤装置における押鍵タッチ可変部材の一例に相当する。また、図9の状態からさらに図1のレバー410を操作してレール310を移動させると、ハンマとハンマの間にマグネットホルダ320が配置されて、図8と同様に押鍵操作が軽くなる。したがって、レール310を移動させる距離は、隣接するハンマ220の間の位置からハンマ220に対応する位置までの距離(この距離は、鍵210の幅の半分程度に相当する)で十分である。
【0043】
このように、本実施形態の鍵盤装置10では、図1のレバー410を操作してマグネットホルダ320を移動させるだけで、容易に鍵盤のタッチ感を変更することが可能である。
【0044】
以上で本発明の鍵盤装置の第1実施形態の説明を終了し、次に、第2実施形態の説明を行う。尚、第1実施形態と重なる部分の説明は省き、相違点のみ説明する。
【0045】
図10は、本発明の第2実施形態が適用された鍵盤装置20の最端の鍵の側面図である。ここで、第1実施形態と同じ部位については、図1と同じ符号を用いる。
【0046】
鍵盤装置20には、図1に示すレバー410に換えて、電動駆動部500が備えられている。
【0047】
電動駆動部500は、電力によって駆動するモータ510、モータ510と同期して作動し、ギヤ540を回転させるウォーム520、ギア540の回転軸に取り付けられたベアリング530、モータ510の動力をシャフト420、ピニオン430、ラック440を介してレール310に伝えるギヤ540で構成されている。図示しないモータ駆動用のスイッチが押されると、モータ510が駆動して、ウォーム520、ベアリング530、ギヤ540が作動し、レール310が鍵盤装置20の左右方向に移動する。モータ510は、本発明の電子楽器の鍵盤装置における電動アクチェエータの一例にあたり、ウォーム520、ベアリング530、ギヤ540、シャフト420、ピニオン430、ラック440等をあわせたものが、本発明の電子楽器の鍵盤装置における動力伝達機構の一例に相当する。
【0048】
図11は、鍵盤装置20の内部の上面図である。
【0049】
図11に示すように、電動駆動部500は、鍵盤装置20内の鍵210を含む鍵盤、およびレール310の奥に配置されている。電動駆動部500を図11に示す位置に配置することで、鍵盤装置20の幅が大型化されるのを避けることができる。また、鍵盤装置の奥には、従来スピーカ等が配置されており、図11の電動駆動部500が配置されている位置は、スペースが空いていることが多い。したがって、従来の鍵盤装置を大型化することなく電動駆動部500を備えることが可能である。
【0050】
ここで、上記では88個の鍵およびハンマを備えた電子楽器の鍵盤装置を用いて説明したが、この鍵およびハンマの数は88個に限らず、また、ハンマと鍵の数が同じでなくてもよい。
【0051】
また、本実施形態において、ハンマに備えられた金属(強磁性体)部は、金属部とマグネットとの距離の偏差を小さくして、押鍵操作のタッチ感を一定に保つ目的と、レールを移動させる際に、ハンマも一緒に追従して湾曲してしまうことを避けるために回動支点の近くに配置したが、金属部の位置はマグネットの磁力が作用する位置であればこの位置には限られない。
【0052】
【発明の効果】
以上、説明したように、本発明によれば、楽器の大型化を避けて、容易に鍵盤のタッチ感を変更可能な電子楽器の鍵盤装置を提供することができる。
【図面の簡単な説明】
【図1】本発明の第一実施形態が適用された電子楽器の鍵盤装置の最端鍵の側面図である。
【図2】ハンマ220を示す図である。
【図3】図1のレール310およびマグネットホルダ320を、鍵盤装置10の左右方向と垂直な面で切断したときの断面図である。
【図4】マグネットホルダ320を固定したレール310を示す斜視図である。
【図5】図4のレール310をシャーシ110に取り付けた斜視図である。
【図6】押鍵する前の鍵210の側面を示す概要図である。
【図7】押鍵したときの鍵210の側面を示す概要図である。
【図8】鍵盤装置10の鍵210をはずして、鍵盤装置10の最端部を上から見た図である。
【図9】図8のレール310およびマグネットホルダ320を、矢印B方向に動かしたときの図である。
【図10】本発明の第2実施形態が適用された鍵盤装置20の最端の鍵の側面図である。
【図11】鍵盤装置20の内部の上面図である。
【符号の説明】
10 鍵盤装置
110 シャーシ
120 サブシャーシ
121 鍵軸受部
210 鍵
211 ハンマ支持部
212 鍵軸部
220 ハンマ
221 樹脂部
222 ホルダ
223 金属部
224 回動支点
230 アクチェエータ
240 ラバースイッチ
250 ラバースイッチ基板
310 レール
320 マグネットホルダ
321 マグネット
322 フック
410 レバー
420 シャフト
430 ピニオン
440 ラック
500 電動駆動部
510 モータ
520 ウォーム
530 ベアリング
540 ギヤ
Claims (2)
- 左右に配列され押鍵操作を受けて上下に回動する複数の鍵と、前記複数の鍵それぞれに対応して備えられ押鍵操作を受けた鍵に押されて回動する、該複数の鍵の配列に対応して左右に配列された複数のハンマとを有する電子楽器の鍵盤装置において、
前記複数のハンマそれぞれは、少なくとも一部分が強磁性体からなるものであって、
前記複数のハンマそれぞれに隣接した位置を通って左右に延びる基体と、該基体の、前記複数のハンマそれぞれの強磁性体からなる部分に対応した各位置にそれぞれ固定されることにより左右方向に配列された複数のマグネットとを有し、該基体と該基体に固定された複数のマグネットが一体的に左右に移動することにより、複数のマグネットが、前記複数のハンマに対向した位置と隣接するハンマの中間の位置との間で移動自在な押鍵タッチ可変部材を備えたことを特徴とする電子楽器の鍵盤装置。 - 前記鍵盤の奥に配備された電動アクチェエータと、
前記電動アクチェエータの駆動力を前記押鍵タッチ可変部材に伝達して該押鍵タッチ可変部材を左右に移動させる動力伝達機構とを備えたことを特徴とする請求項1記載の電子楽器の鍵盤装置。
Priority Applications (1)
| Application Number | Priority Date | Filing Date | Title |
|---|---|---|---|
| JP2002168264A JP3824969B2 (ja) | 2002-06-10 | 2002-06-10 | 電子楽器の鍵盤装置 |
Applications Claiming Priority (1)
| Application Number | Priority Date | Filing Date | Title |
|---|---|---|---|
| JP2002168264A JP3824969B2 (ja) | 2002-06-10 | 2002-06-10 | 電子楽器の鍵盤装置 |
Publications (2)
| Publication Number | Publication Date |
|---|---|
| JP2004012954A true JP2004012954A (ja) | 2004-01-15 |
| JP3824969B2 JP3824969B2 (ja) | 2006-09-20 |
Family
ID=30435222
Family Applications (1)
| Application Number | Title | Priority Date | Filing Date |
|---|---|---|---|
| JP2002168264A Expired - Fee Related JP3824969B2 (ja) | 2002-06-10 | 2002-06-10 | 電子楽器の鍵盤装置 |
Country Status (1)
| Country | Link |
|---|---|
| JP (1) | JP3824969B2 (ja) |
Cited By (3)
| Publication number | Priority date | Publication date | Assignee | Title |
|---|---|---|---|---|
| JP2005275167A (ja) * | 2004-03-25 | 2005-10-06 | Kawai Musical Instr Mfg Co Ltd | 電子鍵盤楽器の鍵盤装置 |
| KR100904389B1 (ko) | 2007-11-09 | 2009-06-26 | 한국과학기술원 | 박형 촉감장치 |
| CN109147744A (zh) * | 2018-08-24 | 2019-01-04 | 晋江力达电子有限公司 | 一种电钢琴重锤键盘 |
-
2002
- 2002-06-10 JP JP2002168264A patent/JP3824969B2/ja not_active Expired - Fee Related
Cited By (4)
| Publication number | Priority date | Publication date | Assignee | Title |
|---|---|---|---|---|
| JP2005275167A (ja) * | 2004-03-25 | 2005-10-06 | Kawai Musical Instr Mfg Co Ltd | 電子鍵盤楽器の鍵盤装置 |
| KR100904389B1 (ko) | 2007-11-09 | 2009-06-26 | 한국과학기술원 | 박형 촉감장치 |
| CN109147744A (zh) * | 2018-08-24 | 2019-01-04 | 晋江力达电子有限公司 | 一种电钢琴重锤键盘 |
| CN109147744B (zh) * | 2018-08-24 | 2022-12-09 | 晋江力达电子有限公司 | 一种电钢琴重锤键盘 |
Also Published As
| Publication number | Publication date |
|---|---|
| JP3824969B2 (ja) | 2006-09-20 |
Similar Documents
| Publication | Publication Date | Title |
|---|---|---|
| JP6857327B2 (ja) | 鍵盤装置および鍵盤楽器 | |
| JP2008304652A (ja) | 電子楽器の鍵盤装置 | |
| CN103050313B (zh) | 开关装置及电子乐器 | |
| JP4947155B2 (ja) | 鍵盤装置 | |
| CN109256107B (zh) | 键盘装置 | |
| CN100545904C (zh) | 装配有自动的顶板间隔件的键盘乐器 | |
| JP2009116323A (ja) | オルゴール装置、オルゴール装置の制御方法及びプログラム | |
| JP4479694B2 (ja) | 鍵盤装置 | |
| JP2004012954A (ja) | 電子楽器の鍵盤装置 | |
| CN108630169A (zh) | 键盘装置及键盘乐器 | |
| JP3743363B2 (ja) | 鍵盤楽器の消音装置 | |
| CN114830226B (zh) | 键盘装置 | |
| JPH09269783A (ja) | 鍵盤装置 | |
| JPH0643692U (ja) | 電子楽器の鍵盤装置 | |
| JPH0635445A (ja) | 鍵盤楽器 | |
| JP2007052401A (ja) | 鍵盤装置 | |
| JPH06118943A (ja) | 鍵盤楽器 | |
| JP2009086236A (ja) | 鍵盤装置 | |
| JP7578162B2 (ja) | スイッチ装置及び電子機器 | |
| JP2008157999A (ja) | 鍵駆動装置及び鍵盤装置 | |
| JP6610611B2 (ja) | 鍵盤装置および鍵盤楽器 | |
| JP3724274B2 (ja) | 鍵盤装置 | |
| JP6137736B2 (ja) | 鍵盤装置および鍵盤楽器 | |
| JP4576707B2 (ja) | 鍵盤楽器の消音装置および鍵盤楽器の弱音装置 | |
| JP2000293175A (ja) | 鍵盤楽器及び鍵盤楽器の消音装置 |
Legal Events
| Date | Code | Title | Description |
|---|---|---|---|
| A621 | Written request for application examination |
Free format text: JAPANESE INTERMEDIATE CODE: A621 Effective date: 20050526 |
|
| A977 | Report on retrieval |
Free format text: JAPANESE INTERMEDIATE CODE: A971007 Effective date: 20060609 |
|
| TRDD | Decision of grant or rejection written | ||
| A01 | Written decision to grant a patent or to grant a registration (utility model) |
Free format text: JAPANESE INTERMEDIATE CODE: A01 Effective date: 20060627 |
|
| A61 | First payment of annual fees (during grant procedure) |
Free format text: JAPANESE INTERMEDIATE CODE: A61 Effective date: 20060628 |
|
| R150 | Certificate of patent or registration of utility model |
Free format text: JAPANESE INTERMEDIATE CODE: R150 |
|
| S531 | Written request for registration of change of domicile |
Free format text: JAPANESE INTERMEDIATE CODE: R313532 |
|
| R350 | Written notification of registration of transfer |
Free format text: JAPANESE INTERMEDIATE CODE: R350 |
|
| FPAY | Renewal fee payment (event date is renewal date of database) |
Free format text: PAYMENT UNTIL: 20100707 Year of fee payment: 4 |
|
| FPAY | Renewal fee payment (event date is renewal date of database) |
Free format text: PAYMENT UNTIL: 20100707 Year of fee payment: 4 |
|
| FPAY | Renewal fee payment (event date is renewal date of database) |
Free format text: PAYMENT UNTIL: 20110707 Year of fee payment: 5 |
|
| FPAY | Renewal fee payment (event date is renewal date of database) |
Free format text: PAYMENT UNTIL: 20120707 Year of fee payment: 6 |
|
| LAPS | Cancellation because of no payment of annual fees |