EP4517221A1 - Mikrokanalwärmetauschergruppe und klimaanlage damit - Google Patents

Mikrokanalwärmetauschergruppe und klimaanlage damit Download PDF

Info

Publication number
EP4517221A1
EP4517221A1 EP23795561.2A EP23795561A EP4517221A1 EP 4517221 A1 EP4517221 A1 EP 4517221A1 EP 23795561 A EP23795561 A EP 23795561A EP 4517221 A1 EP4517221 A1 EP 4517221A1
Authority
EP
European Patent Office
Prior art keywords
heat exchanger
tubes
flat tubes
group
circulation path
Prior art date
Legal status (The legal status is an assumption and is not a legal conclusion. Google has not performed a legal analysis and makes no representation as to the accuracy of the status listed.)
Pending
Application number
EP23795561.2A
Other languages
English (en)
French (fr)
Other versions
EP4517221A4 (de
Inventor
Wenjian WEI
Guanjun Wang
Ergang DING
Lixing Zhu
Zhenxin WU
Current Assignee (The listed assignees may be inaccurate. Google has not performed a legal analysis and makes no representation or warranty as to the accuracy of the list.)
Zhejiang Dunan Artificial Environment Co Ltd
Original Assignee
Zhejiang Dunan Artificial Environment Co Ltd
Priority date (The priority date is an assumption and is not a legal conclusion. Google has not performed a legal analysis and makes no representation as to the accuracy of the date listed.)
Filing date
Publication date
Application filed by Zhejiang Dunan Artificial Environment Co Ltd filed Critical Zhejiang Dunan Artificial Environment Co Ltd
Publication of EP4517221A1 publication Critical patent/EP4517221A1/de
Publication of EP4517221A4 publication Critical patent/EP4517221A4/de
Pending legal-status Critical Current

Links

Images

Classifications

    • FMECHANICAL ENGINEERING; LIGHTING; HEATING; WEAPONS; BLASTING
    • F28HEAT EXCHANGE IN GENERAL
    • F28DHEAT-EXCHANGE APPARATUS, NOT PROVIDED FOR IN ANOTHER SUBCLASS, IN WHICH THE HEAT-EXCHANGE MEDIA DO NOT COME INTO DIRECT CONTACT
    • F28D1/00Heat-exchange apparatus having stationary conduit assemblies for one heat-exchange medium only, the media being in contact with different sides of the conduit wall, in which the other heat-exchange medium is a large body of fluid, e.g. domestic or motor car radiators
    • F28D1/02Heat-exchange apparatus having stationary conduit assemblies for one heat-exchange medium only, the media being in contact with different sides of the conduit wall, in which the other heat-exchange medium is a large body of fluid, e.g. domestic or motor car radiators with heat-exchange conduits immersed in the body of fluid
    • F28D1/04Heat-exchange apparatus having stationary conduit assemblies for one heat-exchange medium only, the media being in contact with different sides of the conduit wall, in which the other heat-exchange medium is a large body of fluid, e.g. domestic or motor car radiators with heat-exchange conduits immersed in the body of fluid with tubular conduits
    • F28D1/047Heat-exchange apparatus having stationary conduit assemblies for one heat-exchange medium only, the media being in contact with different sides of the conduit wall, in which the other heat-exchange medium is a large body of fluid, e.g. domestic or motor car radiators with heat-exchange conduits immersed in the body of fluid with tubular conduits the conduits being bent, e.g. in a serpentine or zig-zag
    • F28D1/0477Heat-exchange apparatus having stationary conduit assemblies for one heat-exchange medium only, the media being in contact with different sides of the conduit wall, in which the other heat-exchange medium is a large body of fluid, e.g. domestic or motor car radiators with heat-exchange conduits immersed in the body of fluid with tubular conduits the conduits being bent, e.g. in a serpentine or zig-zag the conduits being bent in a serpentine or zig-zag
    • FMECHANICAL ENGINEERING; LIGHTING; HEATING; WEAPONS; BLASTING
    • F24HEATING; RANGES; VENTILATING
    • F24FAIR-CONDITIONING; AIR-HUMIDIFICATION; VENTILATION; USE OF AIR CURRENTS FOR SCREENING
    • F24F13/00Details common to, or for air-conditioning, air-humidification, ventilation or use of air currents for screening
    • F24F13/30Arrangement or mounting of heat-exchangers
    • FMECHANICAL ENGINEERING; LIGHTING; HEATING; WEAPONS; BLASTING
    • F25REFRIGERATION OR COOLING; COMBINED HEATING AND REFRIGERATION SYSTEMS; HEAT PUMP SYSTEMS; MANUFACTURE OR STORAGE OF ICE; LIQUEFACTION SOLIDIFICATION OF GASES
    • F25BREFRIGERATION MACHINES, PLANTS OR SYSTEMS; COMBINED HEATING AND REFRIGERATION SYSTEMS; HEAT PUMP SYSTEMS
    • F25B39/00Evaporators; Condensers
    • FMECHANICAL ENGINEERING; LIGHTING; HEATING; WEAPONS; BLASTING
    • F28HEAT EXCHANGE IN GENERAL
    • F28DHEAT-EXCHANGE APPARATUS, NOT PROVIDED FOR IN ANOTHER SUBCLASS, IN WHICH THE HEAT-EXCHANGE MEDIA DO NOT COME INTO DIRECT CONTACT
    • F28D1/00Heat-exchange apparatus having stationary conduit assemblies for one heat-exchange medium only, the media being in contact with different sides of the conduit wall, in which the other heat-exchange medium is a large body of fluid, e.g. domestic or motor car radiators
    • F28D1/02Heat-exchange apparatus having stationary conduit assemblies for one heat-exchange medium only, the media being in contact with different sides of the conduit wall, in which the other heat-exchange medium is a large body of fluid, e.g. domestic or motor car radiators with heat-exchange conduits immersed in the body of fluid
    • F28D1/04Heat-exchange apparatus having stationary conduit assemblies for one heat-exchange medium only, the media being in contact with different sides of the conduit wall, in which the other heat-exchange medium is a large body of fluid, e.g. domestic or motor car radiators with heat-exchange conduits immersed in the body of fluid with tubular conduits
    • F28D1/047Heat-exchange apparatus having stationary conduit assemblies for one heat-exchange medium only, the media being in contact with different sides of the conduit wall, in which the other heat-exchange medium is a large body of fluid, e.g. domestic or motor car radiators with heat-exchange conduits immersed in the body of fluid with tubular conduits the conduits being bent, e.g. in a serpentine or zig-zag
    • FMECHANICAL ENGINEERING; LIGHTING; HEATING; WEAPONS; BLASTING
    • F28HEAT EXCHANGE IN GENERAL
    • F28DHEAT-EXCHANGE APPARATUS, NOT PROVIDED FOR IN ANOTHER SUBCLASS, IN WHICH THE HEAT-EXCHANGE MEDIA DO NOT COME INTO DIRECT CONTACT
    • F28D1/00Heat-exchange apparatus having stationary conduit assemblies for one heat-exchange medium only, the media being in contact with different sides of the conduit wall, in which the other heat-exchange medium is a large body of fluid, e.g. domestic or motor car radiators
    • F28D1/02Heat-exchange apparatus having stationary conduit assemblies for one heat-exchange medium only, the media being in contact with different sides of the conduit wall, in which the other heat-exchange medium is a large body of fluid, e.g. domestic or motor car radiators with heat-exchange conduits immersed in the body of fluid
    • F28D1/04Heat-exchange apparatus having stationary conduit assemblies for one heat-exchange medium only, the media being in contact with different sides of the conduit wall, in which the other heat-exchange medium is a large body of fluid, e.g. domestic or motor car radiators with heat-exchange conduits immersed in the body of fluid with tubular conduits
    • F28D1/047Heat-exchange apparatus having stationary conduit assemblies for one heat-exchange medium only, the media being in contact with different sides of the conduit wall, in which the other heat-exchange medium is a large body of fluid, e.g. domestic or motor car radiators with heat-exchange conduits immersed in the body of fluid with tubular conduits the conduits being bent, e.g. in a serpentine or zig-zag
    • F28D1/0475Heat-exchange apparatus having stationary conduit assemblies for one heat-exchange medium only, the media being in contact with different sides of the conduit wall, in which the other heat-exchange medium is a large body of fluid, e.g. domestic or motor car radiators with heat-exchange conduits immersed in the body of fluid with tubular conduits the conduits being bent, e.g. in a serpentine or zig-zag the conduits having a single U-bend
    • F28D1/0476Heat-exchange apparatus having stationary conduit assemblies for one heat-exchange medium only, the media being in contact with different sides of the conduit wall, in which the other heat-exchange medium is a large body of fluid, e.g. domestic or motor car radiators with heat-exchange conduits immersed in the body of fluid with tubular conduits the conduits being bent, e.g. in a serpentine or zig-zag the conduits having a single U-bend the conduits having a non-circular cross-section
    • FMECHANICAL ENGINEERING; LIGHTING; HEATING; WEAPONS; BLASTING
    • F28HEAT EXCHANGE IN GENERAL
    • F28DHEAT-EXCHANGE APPARATUS, NOT PROVIDED FOR IN ANOTHER SUBCLASS, IN WHICH THE HEAT-EXCHANGE MEDIA DO NOT COME INTO DIRECT CONTACT
    • F28D1/00Heat-exchange apparatus having stationary conduit assemblies for one heat-exchange medium only, the media being in contact with different sides of the conduit wall, in which the other heat-exchange medium is a large body of fluid, e.g. domestic or motor car radiators
    • F28D1/02Heat-exchange apparatus having stationary conduit assemblies for one heat-exchange medium only, the media being in contact with different sides of the conduit wall, in which the other heat-exchange medium is a large body of fluid, e.g. domestic or motor car radiators with heat-exchange conduits immersed in the body of fluid
    • F28D1/04Heat-exchange apparatus having stationary conduit assemblies for one heat-exchange medium only, the media being in contact with different sides of the conduit wall, in which the other heat-exchange medium is a large body of fluid, e.g. domestic or motor car radiators with heat-exchange conduits immersed in the body of fluid with tubular conduits
    • F28D1/053Heat-exchange apparatus having stationary conduit assemblies for one heat-exchange medium only, the media being in contact with different sides of the conduit wall, in which the other heat-exchange medium is a large body of fluid, e.g. domestic or motor car radiators with heat-exchange conduits immersed in the body of fluid with tubular conduits the conduits being straight
    • F28D1/0535Heat-exchange apparatus having stationary conduit assemblies for one heat-exchange medium only, the media being in contact with different sides of the conduit wall, in which the other heat-exchange medium is a large body of fluid, e.g. domestic or motor car radiators with heat-exchange conduits immersed in the body of fluid with tubular conduits the conduits being straight the conduits having a non-circular cross-section
    • F28D1/05366Assemblies of conduits connected to common headers, e.g. core type radiators
    • F28D1/05391Assemblies of conduits connected to common headers, e.g. core type radiators with multiple rows of conduits or with multi-channel conduits combined with a particular flow pattern, e.g. multi-row multi-stage radiators
    • FMECHANICAL ENGINEERING; LIGHTING; HEATING; WEAPONS; BLASTING
    • F28HEAT EXCHANGE IN GENERAL
    • F28FDETAILS OF HEAT-EXCHANGE AND HEAT-TRANSFER APPARATUS, OF GENERAL APPLICATION
    • F28F1/00Tubular elements; Assemblies of tubular elements
    • F28F1/02Tubular elements of cross-section which is non-circular
    • F28F1/022Tubular elements of cross-section which is non-circular with multiple channels
    • FMECHANICAL ENGINEERING; LIGHTING; HEATING; WEAPONS; BLASTING
    • F28HEAT EXCHANGE IN GENERAL
    • F28FDETAILS OF HEAT-EXCHANGE AND HEAT-TRANSFER APPARATUS, OF GENERAL APPLICATION
    • F28F9/00Casings; Header boxes; Auxiliary supports for elements; Auxiliary members within casings
    • F28F9/02Header boxes; End plates
    • F28F9/026Header boxes; End plates with static flow control means, e.g. with means for uniformly distributing heat exchange media into conduits
    • F28F9/027Header boxes; End plates with static flow control means, e.g. with means for uniformly distributing heat exchange media into conduits in the form of distribution pipes
    • F28F9/0275Header boxes; End plates with static flow control means, e.g. with means for uniformly distributing heat exchange media into conduits in the form of distribution pipes with multiple branch pipes
    • FMECHANICAL ENGINEERING; LIGHTING; HEATING; WEAPONS; BLASTING
    • F28HEAT EXCHANGE IN GENERAL
    • F28FDETAILS OF HEAT-EXCHANGE AND HEAT-TRANSFER APPARATUS, OF GENERAL APPLICATION
    • F28F9/00Casings; Header boxes; Auxiliary supports for elements; Auxiliary members within casings
    • F28F9/26Arrangements for connecting different sections of heat-exchange elements, e.g. of radiators
    • FMECHANICAL ENGINEERING; LIGHTING; HEATING; WEAPONS; BLASTING
    • F28HEAT EXCHANGE IN GENERAL
    • F28DHEAT-EXCHANGE APPARATUS, NOT PROVIDED FOR IN ANOTHER SUBCLASS, IN WHICH THE HEAT-EXCHANGE MEDIA DO NOT COME INTO DIRECT CONTACT
    • F28D21/00Heat-exchange apparatus not covered by any of the groups F28D1/00 - F28D20/00
    • F28D2021/0019Other heat exchangers for particular applications; Heat exchange systems not otherwise provided for
    • F28D2021/0068Other heat exchangers for particular applications; Heat exchange systems not otherwise provided for for refrigerant cycles
    • FMECHANICAL ENGINEERING; LIGHTING; HEATING; WEAPONS; BLASTING
    • F28HEAT EXCHANGE IN GENERAL
    • F28FDETAILS OF HEAT-EXCHANGE AND HEAT-TRANSFER APPARATUS, OF GENERAL APPLICATION
    • F28F1/00Tubular elements; Assemblies of tubular elements
    • F28F1/10Tubular elements and assemblies thereof with means for increasing heat-transfer area, e.g. with fins, with projections, with recesses
    • F28F1/12Tubular elements and assemblies thereof with means for increasing heat-transfer area, e.g. with fins, with projections, with recesses the means being only outside the tubular element
    • F28F1/24Tubular elements and assemblies thereof with means for increasing heat-transfer area, e.g. with fins, with projections, with recesses the means being only outside the tubular element and extending transversely
    • F28F1/32Tubular elements and assemblies thereof with means for increasing heat-transfer area, e.g. with fins, with projections, with recesses the means being only outside the tubular element and extending transversely the means having portions engaging further tubular elements
    • FMECHANICAL ENGINEERING; LIGHTING; HEATING; WEAPONS; BLASTING
    • F28HEAT EXCHANGE IN GENERAL
    • F28FDETAILS OF HEAT-EXCHANGE AND HEAT-TRANSFER APPARATUS, OF GENERAL APPLICATION
    • F28F2260/00Heat exchangers or heat exchange elements having special size, e.g. microstructures
    • F28F2260/02Heat exchangers or heat exchange elements having special size, e.g. microstructures having microchannels

Definitions

  • the present application relates to the field of refrigeration, in particular, to a microchannel heat exchanger group and an air conditioning system having the same.
  • Microchannel heat exchanger groups belong to a class of compact, lightweight and highly efficient heat exchangers designed to meet the needs of industrial development.
  • a refrigeration system usually needs a set of microchannel heat exchanger corresponding to the refrigeration system, which makes the heat exchange of the fins in the microchannel heat exchanger cannot be fully utilized, and thus reduces the heat exchange efficiency of the microchannel heat exchanger.
  • a microchannel heat exchanger group capable of improving the thermal efficiency of the microchannel heat exchanger group and an air conditioning system including the same are provided on the basis of embodiments of the present application.
  • the present application provides a following technical solution.
  • a microchannel heat exchanger group including a plurality of fins, wherein the plurality of fins are arranged in a plurality of rows, and each of the plurality of fins are provided with insertion slots; wherein the microchannel heat exchanger group further at least includes a first heat exchanger and a second heat exchanger, the first heat exchanger includes a plurality of first flat tubes, the second heat exchanger includes a plurality of second flat tubes, the plurality of first flat tubes and the plurality of second flat tubes are arranged in a plurality of layers along a length direction of each of the plurality of fins, the plurality of first flat tubes and the plurality of second flat tubes are arranged in a plurality of rows along a width direction of each of the plurality of fins; the insertion slots include a first insertion slot and a second insertion slot, the plurality of first flat tubes are inserted into the first insertion slot, the plurality of second flat tubes are inserted into the second insertion slot, and the plurality of first flat tubes are separated from the pluralit
  • the microchannel heat exchanger group further includes a first heat exchanger and a second heat exchanger independent of each other, when one of the first heat exchanger and the second heat exchanger is out of work, the other one of the first heat exchanger and the second heat exchanger can make full use of the heat exchange area of the plurality of fins to exchange heat, thereby improving an energy efficiency of the microchannel heat exchanger group.
  • the plurality of first flat tubes and the plurality of second flat tubes alternate with each other along the length direction of the plurality of fins.
  • the other one of the first heat exchanger and the second heat exchanger can further make full use of the heat exchange area of the plurality of fins to exchange heat, thereby improving an energy efficiency of the microchannel heat exchanger group.
  • the first heat exchanger includes a first connector assembly and a second connector assembly, each of the plurality of first flat tubes, the first connector assembly and the second connector assembly are connected to and in communication with each other, a first circulation path is defined by a refrigerant flowing into one of the plurality of first flat tubes from the first connector assembly, and flowing out from the second connector assembly; and the second heat exchanger includes a third connector assembly and a fourth connector assembly, each of the plurality of second flat tubes, the third connector assembly and the fourth connector assembly are connected to and in communication with each other, a second circulation path is defined by the refrigerant flowing into one of the plurality of first flat tubes from the third connector assembly, and flowing out from the fourth connector assembly; wherein a group of the first circulation path and a group of the second circulation path and are isolated from one another, the number of the first circulation path in the group of the first circulation path is defined as M , the number of the second circulation path in the group of the second circulation path is defined as N, and both the number M of the first circulation
  • the insertion slots are disposed at a same side of the plurality of fins, the insertion slots at adjacent rows of the plurality of fins alternate with each other; optionally wherein both sides of each of the plurality of fins are provided with the insertion slots, and the insertion slots disposed at both sides of each of the plurality of fins alternate with each other.
  • the first connector assembly includes a first distributor and a plurality of first capillary tubes being connected to and in communication with the first distributor, both ends of each of the plurality of first capillary tubes are connected to and in communication with the first distributor and corresponding one of the plurality of first flat tubes, respectively; and the third connector assembly includes a second distributor and a plurality of second capillary tubes being connected to and in communication with the second distributor, both ends of each of the plurality of second capillary tubes are connected to and in communication with the second distributor and corresponding one of the plurality of second flat tubes, respectively.
  • the refrigerant flows into the plurality of first flat tubes and the plurality of second flat tubes after the refrigerant is evenly distributed by the first distributor and the second distributor, and the processing is simplified.
  • the second connector assembly includes a first collecting tube and a plurality of first connecting tubes being connected to and in communication with the first collecting tube, both ends of each of the plurality of the first connecting tubes are connected to and in communication with the first collecting tube and corresponding one of the plurality of first flat tubes; and the fourth connector assembly includes a second collecting tube and a plurality of second connecting tubes being connected to and in communication with the second collecting tube, both ends of each of the plurality of the second connecting tubes are connected to and in communication with the second collecting tube and corresponding one of the plurality of second flat tubes.
  • first collecting tube and the second collecting tube it could be understood that by disposing the first collecting tube and the second collecting tube, it is convenient to collect the refrigerant in the first flat tube and the second flat tube.
  • both the plurality of first flat tubes and the plurality of second flat tubes are arranged in a plurality of rows
  • the first heat exchanger includes a plurality of first bending tubes
  • the second heat exchanger comprises a plurality of second bending tubes
  • the first flat tubes arranged in adjacent rows of the plurality of first flat tubes are connected to and in communication with each other via corresponding one of the plurality of first bending tubes, and the plurality of first bending tubes and the plurality of first flat tubes are separately arranged
  • the second flat tubes arranged in adjacent rows of the plurality of second flat tubes are connected to and in communication with each other via corresponding one of the plurality of second bending tubes, and the plurality of second bending tubes and the plurality of second flat tubes are separately arranged.
  • the microchannel heat exchanger group includes a plurality of first bending tubes and a plurality of second bending tubes, the refrigerant can make a turn, and deformation of the plurality of fins caused by bending of the plurality of fins can be avoided.
  • the microchannel heat exchanger group further includes an adapter, the adapter is disposed between the plurality of first capillary tubes and the plurality of first flat tubes and between the plurality of second capillary tubes and the plurality of second flat tubes, and a tube orifice of the adapter opposite to the plurality of first flat tubes matches with a tube orifice of corresponding one of the plurality of first flat tube and another tube orifice of the adapter opposite the plurality of second flat tubes matches with a tube orifice of corresponding one of the plurality of second flat tube.
  • An air conditioning system which includes a microchannel heat exchanger group.
  • the microchannel heat exchanger group further includes a first heat exchanger and a second heat exchanger independent of each other, when one of the first heat exchanger and the second heat exchanger is out of work, the other one of the first heat exchanger and the second heat exchanger can make full use of the heat exchange area of the plurality of fins to exchange heat, thereby improving an energy efficiency of the microchannel heat exchanger group.
  • first, second are used for descriptive purposes only and are not to be understood as indicating or implying relative importance or implicitly specifying the number of technical features indicated.
  • a feature defined with the terms “first”, “second” may include at least one such feature, either explicitly or implicitly.
  • plural means at least two, e.g., two, three, etc., unless otherwise expressly and specifically limited.
  • the first feature "on” or “under” the second feature may be that the first feature is in direct contact with the second feature, or that the first feature is in indirect contact with the second feature through an intermediate medium.
  • the first feature being “above”, “on” or “upon” the second feature may mean that the first feature is directly above or diagonally above the second feature, or it may simply mean that the first feature is horizontally higher than the second feature.
  • the first feature being “below”, “under” or “beneath” the second feature may be that the first feature is directly below or diagonally below the second feature, or it may simply mean that the first feature is horizontally smaller than the second feature.
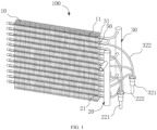
  • a microchannel heat exchanger group 100 is provided in the present application, which is disposed in the air conditioning system.
  • a medium flows in the microchannel heat exchanger group 100, and the microchannel heat exchanger group 100 can facilitate heat exchange between the medium and the outside world.
  • a refrigeration system usually needs a set of microchannel heat exchanger corresponding to the refrigeration system, which makes the heat exchange of the fins in the microchannel heat exchanger cannot be fully utilized, and thus reduces the heat exchange efficiency of the microchannel heat exchanger.
  • a microchannel heat exchanger group 100 is provided in the present application.
  • the microchannel heat exchanger group 100 includes a plurality of fins 10, wherein the plurality of fins 10 are arranged in a plurality of rows, each of the plurality of fins 10 are provided with insertion slots 11, and a first flat tube 21 and a second flat tube 31 extends in the insertion slots 11.
  • the microchannel heat exchanger group 100 further includes at least a first heat exchanger 20 and a second heat exchanger 30 independent of the first heat exchanger 20.
  • the first heat exchanger 20 includes a plurality of first flat tubes 21, and the second heat exchanger 30 includes a plurality of second flat tubes 31.
  • the plurality of first flat tubes 21 and the plurality of second flat tubes 31 are arranged in a plurality of layers along a length direction of each of the plurality of fins 10, and the plurality of first flat tubes 21 and the plurality of second flat tubes 31 are arranged in a plurality of rows along a width direction of each of the plurality of fins 10.
  • the insertion slots 11 include a first insertion slot 111 and a second insertion slot 112, the plurality of first flat tubes 21 are inserted into the first insertion slot 111, and the plurality of second flat tubes 31 are inserted into the second insertion slot 112.
  • the plurality of first flat tubes 21 are separated from the plurality of second flat tubes 31, and plurality of first flat tubes 21 are not in communication with the plurality of second flat tubes 31.
  • the microchannel heat exchanger group 100 includes at least two heat exchangers. Arrangement of at least two heat exchangers independent of each other in the same set of fins 10 of the heat exchanger have following advantages.
  • operation of each of the heat exchangers can be controlled according to actual conditions, so that compatibility performances of the microchannel heat exchanger group 100 can be improved; in another aspect, when one of the first heat exchanger 20 and the second heat exchanger 30 is out of work, the other one of the first heat exchanger 20 and the second heat exchanger 30 can make full use of the heat exchange area of the plurality of fins 10 to exchange heat, thereby improving an energy efficiency of the microchannel heat exchanger group.
  • the plurality of fins 10 extend along a vertical direction, and the plurality of fins 10 are parallelly arranged in a plurality of rows.
  • the plurality of first flat tubes 21 and the plurality of second flat tubes 31 extend along a horizontal direction.
  • the plurality of first flat tubes 21 and the plurality of second flat tubes 31 are successively arranged and arranged in a plurality of layers.
  • the plurality of layers of first flat tubes 21 and the plurality of layers of second flat tubes 31 are arranged along the horizontal direction in a plurality of rows.
  • the plurality of first flat tubes 21 and the plurality of second flat tubes 31 are arranged in a plurality of layers and a plurality of rows.
  • the microchannel heat exchanger group 100 at least includes a first heat exchanger 20 and a second heat exchanger 30 indicates that the microchannel heat exchanger group 100 at least includes two independent heat exchangers.
  • the microchannel heat exchanger group 100 can further include a third heat exchanger, a fourth heat exchanger, a fifth heat exchanger and even more heat exchangers, which are not limited herein.
  • a microchannel heat exchanger 100 is taken as an example.
  • each of the plurality of fins 10 extends along the vertical direction, the plurality of fins 10 are parallelly arranged along the horizontal direction in a plurality of rows.
  • the insertion slots 11 are disposed at the same side of the fins 10 in each row of the plurality of rows of the fins 10, and the insertion slots 10 in adjacent rows of the plurality of rows of ins 10 are staggered, so that the contact area between the flat tube and the fin 10 is great, improving the heat exchange efficiency of the heat exchanger group 100.
  • both sides of each of the plurality of rows of fins are provided with the insertion slots 11, and the insertion slots 11 at both sides of each of the plurality of fins 10 are staggered.
  • the flat tubes extend through each of the staggered insertion slots 11.
  • the flat tubes extend along the horizontal direction. Since the flat tubes are staggered, the contact area between the flat tubes and the air is greater, so that the heat exchange efficiency of the microchannel heat exchanger group 100 is improved.
  • the first heat exchanger 20 includes a first connector assembly 22 and a second connector assembly 23.
  • the first connector assembly 22 includes a first distributor 221 and a plurality of first capillary tubes 222 being connected to and in communication with the first distributor 221. Both ends of each of the plurality of first capillary tubes 222 are connected to and in communication with the first distributor 221 and corresponding one of the plurality of first flat tubes 21, respectively.
  • the refrigerant in the first distributor 221 are distributed into each of the plurality of first flat tubes 21 via the plurality of first capillary tubes 222. That is, the refrigerant flows into the first distributor 221 from an end of the first distributor 221 away from the first capillary tube 222.
  • an outlet of the first distributor 221 is provided with a plurality of small holes being connected to and in communication with the plurality of first capillary tubes 222
  • an end of each of the plurality of first capillary tubes 222 are correspondingly connected to and in communication with each of the small holes of the outlet of the first distributor 211
  • the other end of each of the plurality of first capillary tubes 222 are correspondingly connected to and in communication with each of the plurality of first flat tubes 21 of the microchannel heat exchanger group 100.
  • the refrigerant flows into each of the plurality of first flat tubes 21 via each of the plurality of first capillary tubes 222, so that the refrigerant is distributed into each of the plurality of first capillary tubes 222 more evenly.
  • the second connector assembly 23 includes a first collecting tube 231 and a plurality of first connecting tubes 232 being connected to and in communication with the first collecting tube 231. Both ends of each of the plurality of the first connecting tubes 232 are connected to and in communication with the first collecting tube 231 and corresponding one of the plurality of first flat tubes 21. The refrigerant in the plurality of first flat tubes 21 are gathered in the first collecting tube 231 via the plurality of first connecting tubes 232. That is, the first collecting tube 231 is provided with a plurality of flowing holes configured for communicating the first connecting tubes 232.
  • each of the plurality of first connecting tubes 232 are connected to and in communication with each of the plurality of flowing holes on the first collecting tubes 231, respectively; and the other end of each of the plurality of first connecting tubes 232 are connected to and in communication with each of the plurality of first flat tubes 21 of the microchannel heat exchanger 100, respectively.
  • the refrigerant flows into each of the plurality of first flat tubes 21 via each of the plurality of first capillary tubes 222, and then flows into each of the plurality of first connecting tubes 232, and the flows into and gathers in the first collecting tube 231 from the plurality of first connecting tubes 232, and then entirely flows out from the first collecting tube 231. Therefore, a heat exchange circulation process in the first heat exchanger 20 is accomplished.
  • the second heat exchanger 30 includes a third connector assembly 32 and a fourth connector assembly 33.
  • the third connector assembly 32 includes a second distributor 321 and a plurality of second capillary tubes 322 being connected to and in communication with the second distributor 321. Both ends of each of the plurality of second capillary tubes 322 are connected to and in communication with the second distributor 321 and corresponding one of the plurality of second flat tubes 31, respectively.
  • the refrigerant in the second distributor 321 are distributed into each of the plurality of second flat tubes 31 via the plurality of second capillary tubes 322. That is, the refrigerant flows into the second distributor 321 from an end of the second distributor 321 away from the second capillary tube 322.
  • an outlet of the second distributor 321 is provided with a plurality of small holes being connected to and in communication with the plurality of second capillary tubes 322, an end of each of the plurality of second capillary tubes 322 are correspondingly connected to and in communication with each of the small holes of the outlet of the second distributor 321, and the other end of each of the plurality of second capillary tubes 322 are correspondingly connected to and in communication with each of the plurality of second flat tubes 31 of the microchannel heat exchanger group 100.
  • the refrigerant flows into each of the plurality of second flat tubes 31 via each of the plurality of second capillary tubes 322, so that the refrigerant is distributed into each of the plurality of second capillary tubes 322 more evenly.
  • the fourth connector assembly 33 includes a second collecting tube 331 and a plurality of second connecting tubes 332 being connected to and in communication with the second collecting tube 331. Both ends of each of the plurality of the second connecting tubes 332 are connected to and in communication with the second collecting tube 331 and corresponding one of the plurality of second flat tubes 31.
  • the refrigerant in the plurality of second flat tubes 31 are gathered in the second collecting tube 331 via the plurality of second connecting tubes 332. That is, the second collecting tube 331 is provided with a plurality of flowing holes configured for communicating the second connecting tubes 332.
  • each of the plurality of second connecting tubes 332 are connected to and in communication with each of the plurality of flowing holes on the second collecting tubes 331, respectively; and the other end of each of the plurality of second connecting tubes 332 are connected to and in communication with each of the plurality of second flat tubes 31 of the microchannel heat exchanger 100, respectively.
  • the refrigerant flows into each of the plurality of second flat tubes 31 via each of the plurality of second capillary tubes 322, and then flows into each of the plurality of second connecting tubes 332, and the flows into and gathers in the second collecting tube 331 from the plurality of second connecting tubes 332, and then entirely flows out from the second collecting tube 331. Therefore, a heat exchange circulation process in the second heat exchanger 30 is accomplished.
  • the plurality of first flat tubes 21 and the plurality of second flat tubes 31 alternate with each other and separated from each other. In this way, when one of the first heat exchanger 20 and the second heat exchanger 30 is out of work, the other one of the first heat exchanger 20 and the second heat exchanger 30 can make full use of the heat exchange area of the plurality of fins 10 to exchange heat, thereby improving an energy efficiency of the microchannel heat exchanger group 100.
  • first flat tubes 21 are parallelly arranged in an upper section of the microchannel heat exchanger group 100
  • all of the second flat tubes 31 are correspondingly arranged in a lower section of the microchannel heat exchanger group 100; optionally, when all of the first flat tubes 21 are parallelly arranged in the lower section of the microchannel heat exchanger group 100, all of the second flat tubes 31 are correspondingly arranged in the upper section of the microchannel heat exchanger group 100. Therefore, when one of the first heat exchanger 20 and the second heat exchanger 30 is out of work, the first flat tube 21 or the second flat tube 31 can only make use of a half of the area of the fins 10 in the microchannel heat exchanger group 100 to exchange heat.
  • microchannel heat exchanger group 100 includes at least two rows of the first flat tubes 21 and at least two rows of the second flat tubes 31.
  • the microchannel heat exchanger group 100 can further include a plurality of first bending tubes 40 and a plurality of second bending tubes 41.
  • the first flat tubes 21 arranged in adjacent rows of the plurality of first flat tubes 21 are connected to and in communication with each other via corresponding one of the plurality of first bending tubes 40, and the plurality of first bending tubes 40 are independent of the plurality of first flat tubes 21; and the second flat tubes 31 arranged in adjacent rows of the plurality of second flat tubes 31 are connected to and in communication with each other via corresponding one of the plurality of second bending tubes 41, and the plurality of second bending tubes 41 are independent of the plurality of second flat tubes 31.
  • the fins are arranged in a plurality of rows by bending the fins, which may cause deformation of the fins in the bending process and affect the heat exchange efficiency. Therefore, in order to solve the problem described above, adjacent flat tubes are connected to and in communication with each other via the bending tubes in the present application, so that the refrigerant can make a turn, and deformation of the plurality of fins 10 caused by bending of the plurality of fins 10 can be avoided.
  • the microchannel heat exchanger group 100 further includes an adapter 50, the adapter 50 is disposed between the plurality of first capillary tubes 222 and the plurality of first flat tubes 21 and between the plurality of second capillary tubes 332 and the plurality of second flat tubes 31.
  • first capillary tube 222 and the second capillary tube 322 are thin and has circular-shaped across section, and the cross section of the first flat tube 21 and the cross section of the second flat tube 31 are stripe-shaped, the cross section of the first capillary tube 222 and the cross section of the section capillary tube 322 cannot directly match with and connect to the cross section of the first flat tube and the cross section of the second flat tube 31, and transition of the adapter 50 is required to accomplish the communication between the plurality of first capillary tubes 222 and the plurality of first flat tubes 21 and between the plurality of second capillary tubes 332 and the plurality of second flat tubes 31.
  • An end of the adapter 50 adjacent to the first capillary tube 222 or the second capillary tube 322 are set as circular-shaped matching with the capillary tubes, and an end of the adapter adjacent to the first flat tube 21 or the second flat tube 31 are set as stripe-shaped matching with the flat tubes.
  • a plurality of flowing channels are generally disposed in the flat tubes to increase the heat exchange area, but only one flowing channel is disposed in the capillary tubes.
  • transition of the adapter 50 is required to accomplish communication between the only one flowing channel in the capillary tubes and the plurality of flowing channels in the flat tube.
  • the refrigerant in the first heat exchanger 20 flows in the first heat exchanger 20 from the first distributor 221, flows into the first flat tube 21 via the first capillary tube 222, then flows into the first collecting tube 231 via the first connecting tube 232 and then flows out from the first collecting tube 231 to define a first circulation path.
  • the refrigerant in the second heat exchanger 30 flows in the second heat exchanger 30 from the second distributor 321, flows into the second flat tube 31 via the second capillary tube 322, then flows into the second collecting tube 331 via the second connecting tube 332 and then flows out from the second collecting tube 331 to define a second circulation path.
  • the refrigerant in the first heat exchanger 20 flows in the first heat exchanger 20 from the first distributor 221, flows into the first flat tube 21 via the first capillary tube 222, bends via the first bending tube 40, flows into the first flat tube 21 in an adjacent row of first flat tubes 21, then flows into the first collecting tube 231 via the first connecting tube 232 and then flows out from the first collecting tube 231 to define a first circulation path.
  • the refrigerant in the first heat exchanger 20 flows in the first heat exchanger 20 from the first distributor 221, flows into the first flat tube 21 via the first capillary tube 222, bends via the first bending tube 40, flows into the first flat tube 21 in the second row of first flat tubes 21, bends via the first bending tube 40, flows into the first flat tube 21 in the third row of first flat tubes 21, then flows into the first collecting tube 231 via the first connecting tube 232 and then flows out from the first collecting tube 231 to define a first circulation path.
  • the second circulation path of the second heat exchanger 30 are the same, which is not limited herein.
  • a group of the first circulation path and a group of the second circulation path and are isolated from one another the number of the first circulation path in the group of the first circulation path is defined as M , the number of the second circulation path in the group of the second circulation path is defined as N.
  • each of the first circulation paths and each of the second circulation paths are disposed in turn and insulated from each other.
  • the use ratio is the maximum with the circulation path arrangement.
  • every two of the first circulation paths and every two of the second circulation paths are disposed in turns and insulated from each other.
  • the number M of the first circulation path in the group of the first circulation path is equal to the number N of the second circulation path in the group of the second circulation path
  • the number M of the first circulation path in the group of the first circulation path and the number N of the second circulation path in the group of the second circulation path can be any positive integer greater than 0, which are not illustrated herein.
  • the circulation paths can be disposed in many ways, and the number M of the first circulation path in the group of the first circulation path can be not equal to the number N of the second circulation path in the group of the second circulation path.
  • every two of the first circulation paths and each of the second circulation paths are disposed in turns and insulated from each other; optionally, each of the first circulation paths and every two of the second circulation paths are disposed in turns and insulated from each other; optionally, every three of the first circulation paths and every two of the second circulation paths are disposed in turns and insulated from each other, which are not limited herein.
  • heat exchange intensity of the first heat exchanger 20 and the second heat exchanger 30 can be adjusted according to actual conditions, so as to change the heat exchange intensity at different positions of the microchannel heat exchanger group 100 and effectively control the specific heat exchange method of the microchannel heat exchanger group 100.
  • the present application further provides a following technical solution.
  • An air conditioning system which includes the microchannel heat exchanger group 100.
  • the microchannel heat exchanger group 100 includes the same advantages with the air conditioning system.
  • the microchannel heat exchanger group 100 since the microchannel heat exchanger group 100 further includes a first heat exchanger 20 and a second heat exchanger 30 independent of each other, when one of the first heat exchanger 20 and the second heat exchanger 30 is out of work, the other one of the first heat exchanger 20 and the second heat exchanger 30 can make full use of the heat exchange area of the plurality of fins 10 to exchange heat, thereby improving an energy efficiency of the microchannel heat exchanger group 100.

Landscapes

  • Engineering & Computer Science (AREA)
  • Physics & Mathematics (AREA)
  • Mechanical Engineering (AREA)
  • General Engineering & Computer Science (AREA)
  • Thermal Sciences (AREA)
  • Geometry (AREA)
  • Chemical & Material Sciences (AREA)
  • Combustion & Propulsion (AREA)
  • Heat-Exchange Devices With Radiators And Conduit Assemblies (AREA)
EP23795561.2A 2022-04-29 2023-04-27 Mikrokanalwärmetauschergruppe und klimaanlage damit Pending EP4517221A4 (de)

Applications Claiming Priority (2)

Application Number Priority Date Filing Date Title
CN202221085342.4U CN217464958U (zh) 2022-04-29 2022-04-29 微通道换热器组及具有其的空调系统
PCT/CN2023/091268 WO2023208129A1 (zh) 2022-04-29 2023-04-27 微通道换热器组及具有其的空调系统

Publications (2)

Publication Number Publication Date
EP4517221A1 true EP4517221A1 (de) 2025-03-05
EP4517221A4 EP4517221A4 (de) 2025-07-30

Family

ID=83273566

Family Applications (1)

Application Number Title Priority Date Filing Date
EP23795561.2A Pending EP4517221A4 (de) 2022-04-29 2023-04-27 Mikrokanalwärmetauschergruppe und klimaanlage damit

Country Status (4)

Country Link
US (1) US20250052520A1 (de)
EP (1) EP4517221A4 (de)
CN (1) CN217464958U (de)
WO (1) WO2023208129A1 (de)

Families Citing this family (1)

* Cited by examiner, † Cited by third party
Publication number Priority date Publication date Assignee Title
CN217464958U (zh) * 2022-04-29 2022-09-20 浙江盾安热工科技有限公司 微通道换热器组及具有其的空调系统

Family Cites Families (7)

* Cited by examiner, † Cited by third party
Publication number Priority date Publication date Assignee Title
JP5195733B2 (ja) * 2009-12-17 2013-05-15 三菱電機株式会社 熱交換器及びこれを備えた冷凍サイクル装置
WO2017109933A1 (ja) * 2015-12-25 2017-06-29 三菱電機株式会社 熱交換器、これを備えた空気調和機、及び扁平管uベンドの製造方法
CN111520934A (zh) * 2020-05-18 2020-08-11 浙江盾安热工科技有限公司 换热器及具有其的空调器
CN215766688U (zh) * 2021-05-31 2022-02-08 浙江盾安热工科技有限公司 连接接管及具有其的换热器
CN215114092U (zh) * 2021-05-31 2021-12-10 浙江盾安热工科技有限公司 换热器
CN215984104U (zh) * 2021-06-17 2022-03-08 浙江盾安热工科技有限公司 换热器
CN217464958U (zh) * 2022-04-29 2022-09-20 浙江盾安热工科技有限公司 微通道换热器组及具有其的空调系统

Also Published As

Publication number Publication date
EP4517221A4 (de) 2025-07-30
WO2023208129A1 (zh) 2023-11-02
US20250052520A1 (en) 2025-02-13
CN217464958U (zh) 2022-09-20

Similar Documents

Publication Publication Date Title
US11815318B2 (en) Flattened tube finned heat exchanger and fabrication method
US10508862B2 (en) Heat exchanger for air-cooled chiller
EP2948724B1 (de) Wärmetauschereinheit mit mehreren rohrbündeln und einer verteileranordnung
US20230366637A1 (en) Microchannel flat tube and microchannel heat exchanger
US20150027677A1 (en) Multiple tube bank heat exchanger assembly and fabrication method
JP3110196U (ja) 細径管型熱交換器
JPH03177795A (ja) 複式一体型熱交換器
US9901966B2 (en) Method for fabricating flattened tube finned heat exchanger
CN103608639B (zh) 翅片管型热交换器
US20220099374A1 (en) Heat exchanger
US20250052520A1 (en) Microchannel heat exchanger group and air conditioning system having same
CN105783338A (zh) 热交换器
US20160054075A1 (en) Folded tube multiple bank heat exchange unit
EP2956728B1 (de) Röhrenwärmetauscher mit mehreren abgeflachten rippen
EP4431856A1 (de) Mikrokanalwärmetauscher und wärmepumpensystem damit
US12044479B2 (en) Heat exchanger
CN219713699U (zh) 一种空调器
CN210128532U (zh) 多制冷系统空调机组
CN217358209U (zh) 发卡管、换热结构及空调器
CN214747458U (zh) 一种换热翅片、换热器和空调器
CN211739946U (zh) 微通道平行流换热器
JP3107159B2 (ja) クーリングタワー
JPH03194370A (ja) 空気調和機用熱交換器
CN219889658U (zh) 换热器和空调器
EP4664045A1 (de) Serpentinenartiger wärmetauscher

Legal Events

Date Code Title Description
STAA Information on the status of an ep patent application or granted ep patent

Free format text: STATUS: THE INTERNATIONAL PUBLICATION HAS BEEN MADE

PUAI Public reference made under article 153(3) epc to a published international application that has entered the european phase

Free format text: ORIGINAL CODE: 0009012

STAA Information on the status of an ep patent application or granted ep patent

Free format text: STATUS: REQUEST FOR EXAMINATION WAS MADE

17P Request for examination filed

Effective date: 20241031

AK Designated contracting states

Kind code of ref document: A1

Designated state(s): AL AT BE BG CH CY CZ DE DK EE ES FI FR GB GR HR HU IE IS IT LI LT LU LV MC ME MK MT NL NO PL PT RO RS SE SI SK SM TR

A4 Supplementary search report drawn up and despatched

Effective date: 20250702

RIC1 Information provided on ipc code assigned before grant

Ipc: F25B 39/00 20060101AFI20250626BHEP

Ipc: F28F 9/26 20060101ALI20250626BHEP

Ipc: F24F 13/30 20060101ALI20250626BHEP

DAV Request for validation of the european patent (deleted)
DAX Request for extension of the european patent (deleted)