EP3550109B1 - Gasturbinenkomponente mit flusstrennungsrippe - Google Patents

Gasturbinenkomponente mit flusstrennungsrippe Download PDF

Info

Publication number
EP3550109B1
EP3550109B1 EP19162491.5A EP19162491A EP3550109B1 EP 3550109 B1 EP3550109 B1 EP 3550109B1 EP 19162491 A EP19162491 A EP 19162491A EP 3550109 B1 EP3550109 B1 EP 3550109B1
Authority
EP
European Patent Office
Prior art keywords
gas turbine
turbine engine
rib
cooling
recited
Prior art date
Legal status (The legal status is an assumption and is not a legal conclusion. Google has not performed a legal analysis and makes no representation as to the accuracy of the status listed.)
Active
Application number
EP19162491.5A
Other languages
English (en)
French (fr)
Other versions
EP3550109A1 (de
Inventor
Brandon W. Spangler
Gina CAVALLO
Current Assignee (The listed assignees may be inaccurate. Google has not performed a legal analysis and makes no representation or warranty as to the accuracy of the list.)
RTX Corp
Original Assignee
Raytheon Technologies Corp
Priority date (The priority date is an assumption and is not a legal conclusion. Google has not performed a legal analysis and makes no representation as to the accuracy of the date listed.)
Filing date
Publication date
Priority claimed from US15/919,253 external-priority patent/US10774655B2/en
Application filed by Raytheon Technologies Corp filed Critical Raytheon Technologies Corp
Publication of EP3550109A1 publication Critical patent/EP3550109A1/de
Application granted granted Critical
Publication of EP3550109B1 publication Critical patent/EP3550109B1/de
Active legal-status Critical Current
Anticipated expiration legal-status Critical

Links

Images

Classifications

    • FMECHANICAL ENGINEERING; LIGHTING; HEATING; WEAPONS; BLASTING
    • F01MACHINES OR ENGINES IN GENERAL; ENGINE PLANTS IN GENERAL; STEAM ENGINES
    • F01DNON-POSITIVE DISPLACEMENT MACHINES OR ENGINES, e.g. STEAM TURBINES
    • F01D5/00Blades; Blade-carrying members; Heating, heat-insulating, cooling or antivibration means on the blades or the members
    • F01D5/12Blades
    • F01D5/14Form or construction
    • F01D5/18Hollow blades, i.e. blades with cooling or heating channels or cavities; Heating, heat-insulating or cooling means on blades
    • FMECHANICAL ENGINEERING; LIGHTING; HEATING; WEAPONS; BLASTING
    • F01MACHINES OR ENGINES IN GENERAL; ENGINE PLANTS IN GENERAL; STEAM ENGINES
    • F01DNON-POSITIVE DISPLACEMENT MACHINES OR ENGINES, e.g. STEAM TURBINES
    • F01D5/00Blades; Blade-carrying members; Heating, heat-insulating, cooling or antivibration means on the blades or the members
    • F01D5/12Blades
    • F01D5/14Form or construction
    • F01D5/18Hollow blades, i.e. blades with cooling or heating channels or cavities; Heating, heat-insulating or cooling means on blades
    • F01D5/187Convection cooling
    • FMECHANICAL ENGINEERING; LIGHTING; HEATING; WEAPONS; BLASTING
    • F01MACHINES OR ENGINES IN GENERAL; ENGINE PLANTS IN GENERAL; STEAM ENGINES
    • F01DNON-POSITIVE DISPLACEMENT MACHINES OR ENGINES, e.g. STEAM TURBINES
    • F01D9/00Stators
    • F01D9/02Nozzles; Nozzle boxes; Stator blades; Guide conduits, e.g. individual nozzles
    • FMECHANICAL ENGINEERING; LIGHTING; HEATING; WEAPONS; BLASTING
    • F05INDEXING SCHEMES RELATING TO ENGINES OR PUMPS IN VARIOUS SUBCLASSES OF CLASSES F01-F04
    • F05DINDEXING SCHEME FOR ASPECTS RELATING TO NON-POSITIVE-DISPLACEMENT MACHINES OR ENGINES, GAS-TURBINES OR JET-PROPULSION PLANTS
    • F05D2250/00Geometry
    • F05D2250/10Two-dimensional
    • F05D2250/18Two-dimensional patterned
    • F05D2250/185Two-dimensional patterned serpentine-like
    • FMECHANICAL ENGINEERING; LIGHTING; HEATING; WEAPONS; BLASTING
    • F05INDEXING SCHEMES RELATING TO ENGINES OR PUMPS IN VARIOUS SUBCLASSES OF CLASSES F01-F04
    • F05DINDEXING SCHEME FOR ASPECTS RELATING TO NON-POSITIVE-DISPLACEMENT MACHINES OR ENGINES, GAS-TURBINES OR JET-PROPULSION PLANTS
    • F05D2260/00Function
    • F05D2260/20Heat transfer, e.g. cooling
    • F05D2260/201Heat transfer, e.g. cooling by impingement of a fluid
    • FMECHANICAL ENGINEERING; LIGHTING; HEATING; WEAPONS; BLASTING
    • F05INDEXING SCHEMES RELATING TO ENGINES OR PUMPS IN VARIOUS SUBCLASSES OF CLASSES F01-F04
    • F05DINDEXING SCHEME FOR ASPECTS RELATING TO NON-POSITIVE-DISPLACEMENT MACHINES OR ENGINES, GAS-TURBINES OR JET-PROPULSION PLANTS
    • F05D2260/00Function
    • F05D2260/20Heat transfer, e.g. cooling
    • F05D2260/202Heat transfer, e.g. cooling by film cooling

Definitions

  • This invention relates to a gas turbine engine, comprising a gas turbine engine component having an internal cooling circuit.
  • the internal cooling circuit may include a cooling cavity and a rib that separates the cooling cavity into separate portions.
  • Gas turbine engines typically include a compressor section, a combustor section and a turbine section. During operation, air is pressurized in the compressor section and is mixed with fuel and burned in the combustor section to generate hot combustion gases. The hot combustion gases are communicated through the turbine section, which extracts energy from the hot combustion gases to power the compressor section and other gas turbine engine loads.
  • gas turbine engine components Because they are commonly exposed to hot combustion gases, many gas turbine engine components employ internal cooling circuits that channel a dedicated cooling fluid for cooling regions of the component. Thermal energy is transferred from the component to the cooling fluid to cool the component.
  • US 2012/014808 A1 discloses a prior art near-wall serpentine cooled turbine airfoil.
  • US 4 798 515 A discloses prior art variable nozzle area turbine vane cooling.
  • WO 2014/175937 A2 discloses a prior art gas turbine engine component having a curved turbulator.
  • EP 3514330 discloses a prior art divided baffle for components of gas turbine engines
  • the wall circumscribes the cooling cavity.
  • the rib is offset from a midspan of the airfoil.
  • the rib is defined at a location between 10% and 90% span or between 30% and 70% span of the airfoil.
  • a further non-limiting embodiment of any further embodiments includes a plurality of cooling features defined along the wall.
  • the plurality of cooling features include pedestals that extend between opposed surfaces of the cooling cavity.
  • the plurality of cooling features include trip strips that protrude from surfaces of the cooling cavity.
  • the rib is skewed in a radial direction towards one of an inner diameter and an outer diameter of the airfoil.
  • the first portion is an outer diameter portion and the second portion is an inner diameter portion of the cooling cavity.
  • the outer diameter portion defines a first serpentine passage and the inner diameter portion defines a second serpentine passage.
  • the first and second serpentine passages are bounded by the rib.
  • the rib is spaced apart from leading and trailing edges of the airfoil.
  • the rib extends between leading and trailing edges of the airfoil.
  • the first portion is circumferentially offset from the second portion.
  • the rib connects between opposing sides of the wall.
  • the rib extends in an axial direction inside of the cooling cavity.
  • a further non-limiting embodiment of any further embodiments includes a plurality of openings through portions of the wall associated with both the first portion and the second portion, wherein the plurality of openings are film cooling holes.
  • a mid-turbine frame includes the airfoil.
  • This disclosure relates to a gas turbine engine that comprises a component that includes an internal cooling circuit.
  • the cooling circuit employs one or more cooling cavities disposed inside of the component.
  • a flow separating rib is positioned to divide the cooling cavity into at least two portions.
  • the cooling cavity may be fed with separate cooling fluids at opposite sides of the cavity. These opposite fluid flows are fluidly isolated between the first portion and the second portion by the rib in order to maintain a constant fluid flow within each portion even where pressure differentials may exist between the opposite sides.
  • a more evenly cooled part is achieved by maintaining constant fluid flows within each portion of the cooling cavity.
  • FIG. 1 schematically illustrates a gas turbine engine 20.
  • the gas turbine engine 20 is disclosed herein as a two-spool turbofan that generally incorporates a fan section 22, a compressor section 24, a combustor section 26 and a turbine section 28.
  • Alternative engines might include an augmenter section (not shown) among other systems or features.
  • the fan section 22 drives air along a bypass flow path B in a bypass duct defined within a nacelle 15, while the compressor section 24 drives air along a core flow path C for compression and communication into the combustor section 26 then expansion through the turbine section 28.
  • the exemplary engine 20 generally includes a low speed spool 30 and a high speed spool 32 mounted for rotation about an engine central longitudinal axis A relative to an engine static structure 36 via several bearing systems 38. It should be understood that various bearing systems 38 at various locations may alternatively or additionally be provided, and the location of the bearing systems 38 may be varied as appropriate to the application.
  • the low speed spool 30 generally includes an inner shaft 40 that interconnects a fan 42, a first (or low) pressure compressor 44 and a first (or low) pressure turbine 46.
  • the inner shaft 40 is connected to the fan 42 through a speed change mechanism, which in exemplary gas turbine engine 20 is illustrated as a geared architecture 48 to drive the fan 42 at a lower speed than the low speed spool 30.
  • the high speed spool 32 includes an outer shaft 50 that interconnects a second (or high) pressure compressor 52 and a second (or high) pressure turbine 54.
  • a combustor 56 is arranged in exemplary gas turbine 20 between the high pressure compressor 52 and the high pressure turbine 54.
  • a mid-turbine frame 57 of the engine static structure 36 is arranged generally between the high pressure turbine 54 and the low pressure turbine 46.
  • the mid-turbine frame 57 further supports bearing systems 38 in the turbine section 28.
  • the inner shaft 40 and the outer shaft 50 are concentric and rotate via the bearing systems 38 about the engine central longitudinal axis A which is collinear with their longitudinal axes.
  • the core airflow is compressed by the low pressure compressor 44 then the high pressure compressor 52, mixed and burned with fuel in the combustor 56, then expanded over the high pressure turbine 54 and low pressure turbine 46.
  • the mid-turbine frame 57 includes airfoils 59 which are in the core airflow path C.
  • the turbines 46, 54 rotationally drive the respective low speed spool 30 and high speed spool 32 in response to the expansion.
  • gear system 48 may be located aft of combustor section 26 or even aft of turbine section 28, and fan section 22 may be positioned forward or aft of the location of gear system 48.
  • the engine 20 in one example is a high-bypass geared aircraft engine.
  • the engine 20 bypass ratio is greater than about six (6), with an example embodiment being greater than about ten (10)
  • the geared architecture 48 is an epicyclic gear train, such as a planetary gear system or other gear system, with a gear reduction ratio of greater than about 2.3
  • the low pressure turbine 46 has a pressure ratio that is greater than about five.
  • the engine 20 bypass ratio is greater than about ten (10:1)
  • the fan diameter is significantly larger than that of the low pressure compressor 44
  • the low pressure turbine 46 has a pressure ratio that is greater than about five 5:1.
  • Low pressure turbine 46 pressure ratio is pressure measured prior to inlet of low pressure turbine 46 as related to the pressure at the outlet of the low pressure turbine 46 prior to an exhaust nozzle.
  • the gear system 48 may be an epicycle gear train, such as a planetary gear system or other gear system, with a gear reduction ratio of greater than about 2.3:1. It should be understood, however, that the above parameters are only exemplary of one embodiment of a geared architecture engine and that the present invention is applicable to other gas turbine engines including direct drive turbofans and turboshafts.
  • the fan section 22 of the engine 20 is designed for a particular flight condition -- typically cruise at about 0.8 Mach and about 35,000 feet (10,668 meters).
  • the flight condition of 0.8 Mach and 35,000 ft, with the engine at its best fuel consumption - also known as "bucket cruise Thrust Specific Fuel Consumption ('TSFC')" - is the industry standard parameter of lbm of fuel being burned divided by lbf of thrust the engine produces at that minimum point.
  • “Low fan pressure ratio” is the pressure ratio across the fan blade alone, without a Fan Exit Guide Vane (“FEGV”) system.
  • the low fan pressure ratio as disclosed herein according to one non-limiting embodiment is less than about 1.45.
  • Low corrected fan tip speed is the actual fan tip speed in ft/sec divided by an industry standard temperature correction of [(Tram °R) / (518.7 °R)] 0.5 .
  • the "Low corrected fan tip speed” as disclosed herein according to one non-limiting embodiment is less than about 1,150 ft/second (350.5 meters/second).
  • Each of the compressor section 24 and the turbine section 28 may include alternating rows of rotor assemblies and vane assemblies (shown schematically) that define a plurality of stages 31 of the compressor section 24 and a plurality of stages 33 of the turbine section 28.
  • the rotor assemblies can carry a plurality of rotating blades 25, while each vane assembly can carry a plurality of vanes 27 that extend into the core flow path C.
  • the blades 25 may either create or extract energy in the form of pressure from the core airflow as it is communicated along the core flow path C.
  • the vanes 27 direct the core airflow to the blades 25 to either add or extract energy.
  • Figure 2 illustrates a component 60 that is incorporated into a gas turbine engine, such as one or more airfoils including blades 25, vanes 27 or airfoils 59 of the gas turbine engine 20 of Figure 1 .
  • the component 60 is represented as a turbine vane, which can be utilized in a stage 33 of the high pressure turbine 54 or low pressure turbine 46, for example.
  • the teachings of this disclosure are not limited to turbine vanes and could extend to other components of a gas turbine engine, including but not limited to, other vanes, blades, blade outer air seals (BOAS) (see, for example, the BOAS illustrated in Figure 6 ), or other components such as a blade or vane of the compressor section 24.
  • BOAS blade outer air seals
  • the component 60 includes an outer platform 62, an inner platform 64, and an airfoil 66 that extends in a chordwise direction X between leading and trailing edges L/E, T/E, in a radial direction R between the outer platform 62 and the inner platform 64, and in a thickness direction T between pressure and suction sides P, S.
  • the thickness direction T is generally perpendicular to the chordwise and radial directions X, R.
  • the outer platform 62 connects the component 60 to an engine casing (not shown) and the inner platform 64 affixes a radially inboard portion of the component 60 to securely position the component 60 within the core flow path C.
  • the component 60 can include one or more internal cooling cavities 72 that are disposed inside of the component 60.
  • the cooling cavities 72 extend inside of the airfoil 66 of the component 60.
  • one or more cooling cavities may extend inside a body or platform portion of the component, such as in components that do not have an airfoil (e.g., a BOAS, liner, panel, etc.).
  • the internal cooling cavities 72 define a cooling circuit 74 for cooling the component 60.
  • the illustrated cooling circuit 74 represents but one non-limiting example of many potential cooling circuits.
  • the component 60 could be manufactured to include various alternatively shaped and sized cooling passages as part of an internal circuitry within the scope of this disclosure.
  • FIG 3 illustrates a portion of the cooling circuit 74 described in Figure 2 .
  • a cross-section through a cooling cavity 72 is depicted.
  • the cooling cavity 72 is generally surrounded or circumscribed by a wall 80.
  • Opposing sides 90, 92 of the wall 80 define flow boundaries of the cooling cavity 72.
  • the wall 80 may embody any of a variety of sizes and shapes within the scope of this disclosure.
  • a rib 82 may axially extend inside of the cooling cavity 72 to separate the cooling cavity 72 into a first portion 84 and a second portion 86.
  • the first portion 84 is an outer diameter portion of the cooling cavity 72 and the second portion 86 is an inner diameter portion.
  • other configurations are also contemplated as being within the scope of this disclosure, including but not limited to circumferentially spaced portions such that the first portion 84 is circumferentially offset from the second portion 86 (see, e.g., Figure 6 ) and axially spaced portions (see, e.g., Figure 7 ).
  • Rib 82 can be defined at various span positions of the airfoil 66 relative to the radial direction R. Span position may be relative to the inner platform 64, such as 0% span at the inner platform 64 and 100% span at outer platform 62 (or a tip of blade 25). In an embodiment, rib 82 is defined at about 50% span (i.e., mid-span position). In other embodiments, rib 82 is defined at a location between 10-90% span, or more narrowly between 30-70% span such that rib 82 is radially offset from the mid-span position. The rib 82 can be situated relatively closer to one of the platforms 62, 64 to vary the relative sizes of the first and second portions 84, 86 of the cooling cavity 72.
  • the rib 82 extends between the opposing sides 90, 92 of the wall 80 to completely seal and separate the first portion 84 of the cooling cavity 72 from the second portion 86 of the cooling cavity 72. Said another way, the rib 82 is a solid flow separator that fluidly isolates the first portion 84 from the second portion 86 of the cooling cavity 72.
  • the rib 82 may be positioned at a mid-span M of the cooling cavity 72.
  • the actual location of the rib 82 could vary part-by-part and may depend on pressure differentials that exist between the first portion 84 and the second portion 86 of the cooling cavity 72, among other factors.
  • the cooling cavity 72 is a dual-fed cavity that is fed with a cooling fluid at both of its opposite sides (i.e., fed from two distinct locations).
  • the first and second portions 84, 86 of the cooling cavity 72 are fed from distinct first and second coolant sources 35, 37 that communicate coolant from different locations.
  • the first and second coolant sources 35, 37 are separate and distinct from the component 60.
  • the first portion 84 of the cooling cavity 72 is fed with a first cooling fluid F1 from the first coolant source 35, such as a first bleed airflow from a first stage 31A of the compressor section 24 ( Figure 1 ), and the second portion 86 of the cooling cavity 72 may is with a second cooling fluid F2 from the second coolant source 37, such as a second bleed airflow from a second, different stage 31B of the compressor section 24 ( Figure 1 ).
  • the cooling fluids F1 and F2 are separate from one another.
  • the first and second coolant sources 35, 37 can be defined by various locations or components of the engine 20.
  • one of the first and second bleed airflows is supplied by a first stage 31A of the compressor section 24, and another one of the first and second bleed airflows is supplied by a second stage 31B of the compressor section 24.
  • the first stage 31A is an upstream stage of high pressure compressor 52 that supplies the cooling fluid F1 at a relatively low pressure, including a forwardmost or intermediate stage
  • the second stage 31B is a downstream stage of the high pressure compressor 52 at a relatively higher pressure than the first stage 31A, such as an intermediate or aftmost stage.
  • the first coolant source 35 supplies the cooling fluid F1 from the bypass flow path B at a relatively lower pressure and temperature than the second coolant source 37.
  • the coolant source 35/37 is a stage 31 of the low pressure compressor 44 or another portion of the engine 20.
  • the coolant source 35/37 is a stage 33 of the turbine section 28, such as a first stage 33A and a second stage 33B of the turbine section 28.
  • One of first and second stages 33A, 33B can be an upstream stage of the turbine section 28, such as a stage of the high pressure turbine 54, and another one of the first and second stages 33A, 33B can be a downstream stage of the turbine section 28, such as a stage of the low pressure turbine 46.
  • an inlet 85 of the first portion 84 of the cooling cavity 72 is positioned in a relatively high pressure area and an inlet 87 of the second portion 86 of the cooling cavity 72 is positioned at a relatively low pressure area.
  • an opposite configuration is also possible in which the inlet 85 of the first portion 84 is located at a relatively low pressure area and the inlet 87 of the second portion 86 is within a relatively high pressure area (see Figure 4 ).
  • flow of the first and second cooling fluids F1, F2 remains constant within both the first portion 84 and the second portion 86 because these portions are sealed from one another by the rib 82. Maintaining consistent flow in this manner results in relatively consistent Mach numbers, pressure losses, heat transfer and metal temperatures throughout the cooling cavity 72. In other words, the component 60 is more evenly cooled by virtue of the flow separating rib 82.
  • a plurality of openings 96 may extend through portions of the wall 80 associated with both the first portion 84 and the second portion 86 of the cooling cavity 72.
  • the cooling fluids F1, F2 that are circulated in the first and second portions 84, 86, respectively, may be expelled through the openings 96.
  • the openings 96 are film cooling holes.
  • the openings 96 are slots. Any type of opening may extend through the wall 80 for expelling the cooling fluids F1, F2 from the cooling cavity 72.
  • one or more cooling features 93 are defined along the wall 80.
  • the cooling features 93 can extend from surfaces of the wall 80, such as one of sides 90, 92, and into the first and/or second portions 84, 86 of the cooling cavity 72.
  • the cooling features 93 can be situated to provide additional surface area for convective cooling and/or direct or meter fluid flow within or through localized regions of the first and/or second portions 84, 86.
  • Example cooling features 93 can include pedestals 93A extending between opposed surfaces of the cooling cavity 72, for example.
  • Other cooling features 93 can include features having a curved or complex geometry such as teardrop shaped features 93B to direct flow through the cooling cavity 72, and sinusoidal shaped features 93C and trip strips 93D protruding from surfaces of the cooling cavity 72 to cause turbulence in the flow of cooling fluid F1/F2.
  • Other example cooling features 93 can include recesses such as dimples 93E extending inwardly from surfaces of the wall 80.
  • Figure 6 illustrates another component 160 that is incorporated into a gas turbine engine.
  • like reference numbers designate like elements where appropriate and reference numerals with the addition of 100 or multiples thereof designate modified elements that are understood to incorporate the same features and benefits of the corresponding original elements.
  • the component 160 is represented as a BOAS.
  • the BOAS can be situated adjacent to a tip of one the blades 25 and can be utilized to seal or otherwise bound the core flow path C ( Figure 1 ), for example.
  • the component 160 includes a body 161 having a radially inner face 163 and a radially outer face 165.
  • the radially inner face 163 and the radially outer face 165 extend circumferentially between a first mate face 167 and a second mate face 169 and extend axially between a leading edge 171 and a trailing edge 173.
  • a cooling cavity 172 may be disposed inside the body 161.
  • the cooling cavity 172 of this embodiment circumferentially extends between the first mate face 167 and the second mate face 169.
  • a wall 180 may extend about the cooling cavity 172.
  • the cooling cavity 172 is divided into a first portion 184 and a second portion 186 by a rib 182.
  • the rib 182 fluidly isolates the first portion 184 from the second portion 186.
  • the first portion 184 of the cooling cavity 172 may be fed with a first cooling fluid F1 at a location adjacent to the first mate face 167 and the second portion 186 may be fed with a second cooling fluid F2 at a location adjacent to the second mate face 169.
  • the rib 182 is adapted to maintain these split flows at relatively constant flow levels despite potential pressure differentials that may exist between the first mate face 167 and the second mate face 169.
  • Figure 8 illustrates another component 260 that can be incorporated into a gas turbine engine.
  • the component includes an airfoil 266 that extends in a chordwise direction X between leading and trailing edges L/E, T/E.
  • Rib 282 extends in the chordwise direction X between the leading and trailing edges L/E, T/E to fluidly isolate first and second portions 284, 286 such that the cooling fluids F1, F2 do not intermix in cooling cavity 272.
  • One or more radially extending ribs 295 extend from walls 280 to establish serpentine passages in first and second portions 284, 286.
  • One or more of the ribs 295 can extend or be spaced apart from rib 282 to define sections of the respective serpentine passages, with rib 282 bounding each of the serpentine passages.
  • rib 282 has a major component that extends in the chordwise direction X, and ribs 295 each have a major component that extends in a radial direction R.
  • An axis E1 of rib 82 can be oriented relative to an axis E2 that extends in the radially direction R through the airfoil 266 to establish a radial angle ⁇ .
  • the axis E1 is substantially perpendicular to the axis E2.
  • the angle ⁇ is non-perpendicular such that the axis E1 has a component that extends in the radial direction R and the axis E1 is skewed toward an inner diameter 266A or an outer diameter 266B of the airfoil 266.
  • the axis E1 can be skewed to adjust a pressure of the cooling fluid F1, F2 that is discharged by opening(s) 296.
  • the radial angle ⁇ is between 10-30° or between 70-90°.
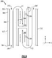
  • Figure 9 illustrates yet another component 360 that can be incorporated into a gas turbine engine.
  • the component includes an airfoil 366 including a rib 382 that fluidly isolates first and second portions 384, 386 of cooling cavity 372.
  • Rib 382 spans between ribs 395 and is spaced apart from leading and trailing edges L/E, T/E.
  • Flow of cooling fluids F1, F2 can be directed from inlets 385, 387 and towards the rib 382.
  • Wall 380 can include one or more openings 396 to expel the cooling fluids F1, F2 from the first and second portions 384, 386 of the internal cavity 372 to provide film cooling, for example.

Landscapes

  • Engineering & Computer Science (AREA)
  • Mechanical Engineering (AREA)
  • General Engineering & Computer Science (AREA)
  • Turbine Rotor Nozzle Sealing (AREA)

Claims (15)

  1. Gasturbinentriebwerk (20), das eine Komponente (60, 260, 360) umfasst, wobei die Komponente Folgendes umfasst:
    eine Wand (80, 280, 380), die sich um einen Kühlhohlraum (72, 272, 372) erstreckt, wobei der Kühlhohlraum (72, 272, 372) ein doppelt gespeister Hohlraum ist, der von mindestens zwei unterschiedlichen Stellen gespeist wird; und
    eine Rippe (82, 282, 382), die den Kühlhohlraum (72, 272, 372) in einen ersten Abschnitt (84, 284, 384) und einen zweiten Abschnitt (86, 286, 386) trennt, der von dem ersten Abschnitt (84, 284, 384) fluidmäßig isoliert ist, wobei die Komponente (60, 260, 360) ein Tragflächenprofil (66, 266, 366) ist, dadurch gekennzeichnet, dass:
    der erste Abschnitt (84, 284, 384) mit einem ersten Kühlfluid (F1) von einer ersten Kühlmittelquelle (35) gespeist wird, und der zweite Abschnitt (86, 286, 386) mit einem zweiten, unterschiedlichen Kühlfluid (F2) von einer zweiten Kühlmittelquelle (37) gespeist wird, wobei die erste und die zweite Kühlmittelquelle (35, 37) separat und von der Komponente (60, 260, 360) getrennt sind, und die erste und die zweite Kühlmittelquelle (35, 37) Stufen eines Verdichterteilabschnitts (24) oder eines Turbinenteilabschnitts (28) des Gasturbinentriebwerks (20) sind.
  2. Gasturbinentriebwerks (20) nach Anspruch 1, wobei die Wand (80, 280, 380) den Kühlhohlraum (72, 272, 372) umschreibt.
  3. Gasturbinentriebwerk (20) nach Anspruch 1 oder 2, wobei die Rippe (82, 282, 382) von einer Mittelspanne (M) des Tragflächenprofils (66, 266, 366) versetzt ist.
  4. Gasturbinentriebwerk (20) nach Anspruch 1, 2 oder 3, wobei die Rippe (82, 282, 382) an einer Stelle zwischen 10 % und 90 % Spannweite oder zwischen 30 % und 70 % Spannweite des Tragflächenprofils (66, 266, 366) definiert ist.
  5. Gasturbinentriebwerk (20) nach einem vorstehenden Anspruch, die ferner eine Vielzahl von Kühleinrichtungen (93), die entlang der Wand (80, 280, 380) definiert sind, umfasst.
  6. Gasturbinentriebwerk (20) nach Anspruch 5, wobei die Vielzahl von Kühleinrichtungen (93) Folgendes enthält:
    Sockel (93A), die sich zwischen entgegengesetzten Oberflächen des Kühlhohlraums (72, 272, 372) erstrecken; oder
    Stolperstreifen (93D), die von Oberflächen des Kühlhohlraums (72, 272, 372) vorragen.
  7. Gasturbinentriebwerk (20) nach einem vorstehenden Anspruch, wobei die Rippe (82, 282, 382) in einer radialen Richtung zu einem von einem Innendurchmesser (266A) und einem Außendurchmesser (266B) des Luftprofils (66, 266, 366) geneigt ist.
  8. Gasturbinentriebwerk (20) nach einem vorstehenden Anspruch, wobei der erste Abschnitt (84, 284, 384) ein Außendurchmesserabschnitt ist, und der zweite Abschnitt (86, 286, 386) ein Innendurchmesserabschnitt des Kühlhohlraums (72, 272, 372) ist.
  9. Gasturbinentriebwerk (20) nach Anspruch 8, wobei der Außendurchmesserabschnitt einen ersten Serpentinenkanal definiert, und der Innendurchmesserabschnitt einen zweiten Serpentinenkanal definiert, wobei der erste und der zweite Serpentinenkanal durch die Rippe (82, 282, 382) begrenzt sind.
  10. Gasturbinentriebwerk (20) nach Anspruch 8 oder 9, wobei die Rippe (82, 282, 382) von Vorder- und Hinterkanten (L/E, T/E) des Tragflächenprofils (66, 266, 366) beabstandet ist,
    oder wobei sich die Rippe (82, 282, 382) zwischen Vorder- und Hinterkanten (L/E, T/E) des Tragflächenprofils (66, 266, 366) erstreckt.
  11. Gasturbinentriebwerk (20) nach einem vorstehenden Anspruch, wobei der erste Abschnitt (84, 284, 384) in Umfangsrichtung von dem zweiten Abschnitt (86, 286, 386) versetzt ist.
  12. Gasturbinentriebwerk (20) nach einem vorstehenden Anspruch, wobei die Rippe (82, 282, 382) zwischen entgegengesetzten Seiten (90, 92) der Wand (80, 280, 380) verbindet.
  13. Gasturbinentriebwerk (20) nach einem vorstehenden Anspruch, wobei sich die Rippe (82, 282, 382) in einer axialen Richtung innerhalb des Kühlhohlraums (72, 272, 372) erstreckt.
  14. Gasturbinentriebwerk (20) nach einem vorstehenden Anspruch, die eine Vielzahl von Öffnungen (96, 296, 396) durch Abschnitte der Wand (80, 280, 380) umfasst, die sowohl mit dem ersten Abschnitt (84, 284, 384) als auch dem zweiten Abschnitt (86, 286, 386) assoziiert sind, wobei die Vielzahl von Öffnungen (96, 296, 396) Filmkühllöcher sind.
  15. Gasturbinentriebwerk nach einem vorstehenden Anspruch, die ferner einen mittleren Turbinenrahmen (57), der das Tragflächenprofil (66, 266, 366) beinhaltet, umfasst.
EP19162491.5A 2018-03-13 2019-03-13 Gasturbinenkomponente mit flusstrennungsrippe Active EP3550109B1 (de)

Applications Claiming Priority (1)

Application Number Priority Date Filing Date Title
US15/919,253 US10774655B2 (en) 2014-04-04 2018-03-13 Gas turbine engine component with flow separating rib

Publications (2)

Publication Number Publication Date
EP3550109A1 EP3550109A1 (de) 2019-10-09
EP3550109B1 true EP3550109B1 (de) 2022-09-28

Family

ID=65801978

Family Applications (1)

Application Number Title Priority Date Filing Date
EP19162491.5A Active EP3550109B1 (de) 2018-03-13 2019-03-13 Gasturbinenkomponente mit flusstrennungsrippe

Country Status (1)

Country Link
EP (1) EP3550109B1 (de)

Family Cites Families (4)

* Cited by examiner, † Cited by third party
Publication number Priority date Publication date Assignee Title
US4798515A (en) * 1986-05-19 1989-01-17 The United States Of America As Represented By The Secretary Of The Air Force Variable nozzle area turbine vane cooling
US8535006B2 (en) * 2010-07-14 2013-09-17 Siemens Energy, Inc. Near-wall serpentine cooled turbine airfoil
JP5931351B2 (ja) * 2011-05-13 2016-06-08 三菱重工業株式会社 タービン静翼
US10316668B2 (en) * 2013-02-05 2019-06-11 United Technologies Corporation Gas turbine engine component having curved turbulator

Also Published As

Publication number Publication date
EP3550109A1 (de) 2019-10-09

Similar Documents

Publication Publication Date Title
US10774655B2 (en) Gas turbine engine component with flow separating rib
US10253635B2 (en) Blade tip cooling arrangement
US10808546B2 (en) Gas turbine engine airfoil trailing edge suction side cooling
US11035236B2 (en) Baffle for a component of a gas turbine engine
EP3084136B1 (de) Laufschaufel und zugehöriges verfahren zur kühlung einer plattform einer laufschaufel
EP2944761B1 (de) Gasturbinenmotorkomponente mit plattformkühlung
EP2977555B1 (de) Schaufelplattform mit kühlkanäle
WO2014047022A1 (en) Gas turbine engine component cooling circuit
EP3181823B1 (de) Verfahren und vorrichtung zur kühlung einer gasturbinenmotorschaufel
EP2937511B1 (de) Konfiguration des kühlkanals einer gasturbinenmotorschaufel
EP3112596A1 (de) Gasturbinenmotorschaufel mit biaxialem wandkühlkanal und zugehöriger gasturbinenmotor
EP3323995B1 (de) Tragfläche mit seitlich einsetzbarem leitblech
EP3617454A1 (de) Kollektorwand mit variabler wärmeübertragung
EP2927429B1 (de) Gasturbinenkomponente mit flusstrennungsrippe
EP3059391A1 (de) Kühlung der turbinenschaufel eines gasturbinenmotors mit vorgelagerter statorschaufel
EP3550109B1 (de) Gasturbinenkomponente mit flusstrennungsrippe
EP2938831B1 (de) Schaufelspitzenkühlung für eine turbinenlaufschaufel eines gasturbinentriebwerks
EP3508693B1 (de) Segregierte kühlluftkanäle für turbinenschaufel
EP3556997B1 (de) Schaufel mit einlassöffnung an der hinteren seite der wurzel
EP2977557B1 (de) Gekühlte schaufelstruktur und zugehöriges kühlverfahren
EP3575552B1 (de) Coriolis-optimierter u-kanal mit plattformkühlung
EP3581762B1 (de) Kühlkanalanordnung für gasturbinendeckband
EP3575553B1 (de) Coriolis-optimierter u-kanal mit passage in form einer flagge am fusse der schaufel

Legal Events

Date Code Title Description
PUAI Public reference made under article 153(3) epc to a published international application that has entered the european phase

Free format text: ORIGINAL CODE: 0009012

STAA Information on the status of an ep patent application or granted ep patent

Free format text: STATUS: THE APPLICATION HAS BEEN PUBLISHED

AK Designated contracting states

Kind code of ref document: A1

Designated state(s): AL AT BE BG CH CY CZ DE DK EE ES FI FR GB GR HR HU IE IS IT LI LT LU LV MC MK MT NL NO PL PT RO RS SE SI SK SM TR

AX Request for extension of the european patent

Extension state: BA ME

STAA Information on the status of an ep patent application or granted ep patent

Free format text: STATUS: REQUEST FOR EXAMINATION WAS MADE

17P Request for examination filed

Effective date: 20200330

RBV Designated contracting states (corrected)

Designated state(s): AL AT BE BG CH CY CZ DE DK EE ES FI FR GB GR HR HU IE IS IT LI LT LU LV MC MK MT NL NO PL PT RO RS SE SI SK SM TR

STAA Information on the status of an ep patent application or granted ep patent

Free format text: STATUS: EXAMINATION IS IN PROGRESS

17Q First examination report despatched

Effective date: 20200810

RAP1 Party data changed (applicant data changed or rights of an application transferred)

Owner name: RAYTHEON TECHNOLOGIES CORPORATION

GRAP Despatch of communication of intention to grant a patent

Free format text: ORIGINAL CODE: EPIDOSNIGR1

STAA Information on the status of an ep patent application or granted ep patent

Free format text: STATUS: GRANT OF PATENT IS INTENDED

INTG Intention to grant announced

Effective date: 20220408

GRAS Grant fee paid

Free format text: ORIGINAL CODE: EPIDOSNIGR3

GRAA (expected) grant

Free format text: ORIGINAL CODE: 0009210

STAA Information on the status of an ep patent application or granted ep patent

Free format text: STATUS: THE PATENT HAS BEEN GRANTED

AK Designated contracting states

Kind code of ref document: B1

Designated state(s): AL AT BE BG CH CY CZ DE DK EE ES FI FR GB GR HR HU IE IS IT LI LT LU LV MC MK MT NL NO PL PT RO RS SE SI SK SM TR

REG Reference to a national code

Ref country code: GB

Ref legal event code: FG4D

REG Reference to a national code

Ref country code: CH

Ref legal event code: EP

REG Reference to a national code

Ref country code: DE

Ref legal event code: R096

Ref document number: 602019019927

Country of ref document: DE

REG Reference to a national code

Ref country code: AT

Ref legal event code: REF

Ref document number: 1521354

Country of ref document: AT

Kind code of ref document: T

Effective date: 20221015

REG Reference to a national code

Ref country code: IE

Ref legal event code: FG4D

REG Reference to a national code

Ref country code: LT

Ref legal event code: MG9D

PG25 Lapsed in a contracting state [announced via postgrant information from national office to epo]

Ref country code: SE

Free format text: LAPSE BECAUSE OF FAILURE TO SUBMIT A TRANSLATION OF THE DESCRIPTION OR TO PAY THE FEE WITHIN THE PRESCRIBED TIME-LIMIT

Effective date: 20220928

Ref country code: RS

Free format text: LAPSE BECAUSE OF FAILURE TO SUBMIT A TRANSLATION OF THE DESCRIPTION OR TO PAY THE FEE WITHIN THE PRESCRIBED TIME-LIMIT

Effective date: 20220928

Ref country code: NO

Free format text: LAPSE BECAUSE OF FAILURE TO SUBMIT A TRANSLATION OF THE DESCRIPTION OR TO PAY THE FEE WITHIN THE PRESCRIBED TIME-LIMIT

Effective date: 20221228

Ref country code: LV

Free format text: LAPSE BECAUSE OF FAILURE TO SUBMIT A TRANSLATION OF THE DESCRIPTION OR TO PAY THE FEE WITHIN THE PRESCRIBED TIME-LIMIT

Effective date: 20220928

Ref country code: LT

Free format text: LAPSE BECAUSE OF FAILURE TO SUBMIT A TRANSLATION OF THE DESCRIPTION OR TO PAY THE FEE WITHIN THE PRESCRIBED TIME-LIMIT

Effective date: 20220928

Ref country code: FI

Free format text: LAPSE BECAUSE OF FAILURE TO SUBMIT A TRANSLATION OF THE DESCRIPTION OR TO PAY THE FEE WITHIN THE PRESCRIBED TIME-LIMIT

Effective date: 20220928

REG Reference to a national code

Ref country code: NL

Ref legal event code: MP

Effective date: 20220928

REG Reference to a national code

Ref country code: AT

Ref legal event code: MK05

Ref document number: 1521354

Country of ref document: AT

Kind code of ref document: T

Effective date: 20220928

PG25 Lapsed in a contracting state [announced via postgrant information from national office to epo]

Ref country code: HR

Free format text: LAPSE BECAUSE OF FAILURE TO SUBMIT A TRANSLATION OF THE DESCRIPTION OR TO PAY THE FEE WITHIN THE PRESCRIBED TIME-LIMIT

Effective date: 20220928

Ref country code: GR

Free format text: LAPSE BECAUSE OF FAILURE TO SUBMIT A TRANSLATION OF THE DESCRIPTION OR TO PAY THE FEE WITHIN THE PRESCRIBED TIME-LIMIT

Effective date: 20221229

PG25 Lapsed in a contracting state [announced via postgrant information from national office to epo]

Ref country code: SM

Free format text: LAPSE BECAUSE OF FAILURE TO SUBMIT A TRANSLATION OF THE DESCRIPTION OR TO PAY THE FEE WITHIN THE PRESCRIBED TIME-LIMIT

Effective date: 20220928

Ref country code: RO

Free format text: LAPSE BECAUSE OF FAILURE TO SUBMIT A TRANSLATION OF THE DESCRIPTION OR TO PAY THE FEE WITHIN THE PRESCRIBED TIME-LIMIT

Effective date: 20220928

Ref country code: PT

Free format text: LAPSE BECAUSE OF FAILURE TO SUBMIT A TRANSLATION OF THE DESCRIPTION OR TO PAY THE FEE WITHIN THE PRESCRIBED TIME-LIMIT

Effective date: 20230130

Ref country code: ES

Free format text: LAPSE BECAUSE OF FAILURE TO SUBMIT A TRANSLATION OF THE DESCRIPTION OR TO PAY THE FEE WITHIN THE PRESCRIBED TIME-LIMIT

Effective date: 20220928

Ref country code: CZ

Free format text: LAPSE BECAUSE OF FAILURE TO SUBMIT A TRANSLATION OF THE DESCRIPTION OR TO PAY THE FEE WITHIN THE PRESCRIBED TIME-LIMIT

Effective date: 20220928

Ref country code: AT

Free format text: LAPSE BECAUSE OF FAILURE TO SUBMIT A TRANSLATION OF THE DESCRIPTION OR TO PAY THE FEE WITHIN THE PRESCRIBED TIME-LIMIT

Effective date: 20220928

PG25 Lapsed in a contracting state [announced via postgrant information from national office to epo]

Ref country code: SK

Free format text: LAPSE BECAUSE OF FAILURE TO SUBMIT A TRANSLATION OF THE DESCRIPTION OR TO PAY THE FEE WITHIN THE PRESCRIBED TIME-LIMIT

Effective date: 20220928

Ref country code: PL

Free format text: LAPSE BECAUSE OF FAILURE TO SUBMIT A TRANSLATION OF THE DESCRIPTION OR TO PAY THE FEE WITHIN THE PRESCRIBED TIME-LIMIT

Effective date: 20220928

Ref country code: IS

Free format text: LAPSE BECAUSE OF FAILURE TO SUBMIT A TRANSLATION OF THE DESCRIPTION OR TO PAY THE FEE WITHIN THE PRESCRIBED TIME-LIMIT

Effective date: 20230128

Ref country code: EE

Free format text: LAPSE BECAUSE OF FAILURE TO SUBMIT A TRANSLATION OF THE DESCRIPTION OR TO PAY THE FEE WITHIN THE PRESCRIBED TIME-LIMIT

Effective date: 20220928

P01 Opt-out of the competence of the unified patent court (upc) registered

Effective date: 20230521

REG Reference to a national code

Ref country code: DE

Ref legal event code: R097

Ref document number: 602019019927

Country of ref document: DE

PG25 Lapsed in a contracting state [announced via postgrant information from national office to epo]

Ref country code: NL

Free format text: LAPSE BECAUSE OF FAILURE TO SUBMIT A TRANSLATION OF THE DESCRIPTION OR TO PAY THE FEE WITHIN THE PRESCRIBED TIME-LIMIT

Effective date: 20220928

Ref country code: AL

Free format text: LAPSE BECAUSE OF FAILURE TO SUBMIT A TRANSLATION OF THE DESCRIPTION OR TO PAY THE FEE WITHIN THE PRESCRIBED TIME-LIMIT

Effective date: 20220928

PG25 Lapsed in a contracting state [announced via postgrant information from national office to epo]

Ref country code: DK

Free format text: LAPSE BECAUSE OF FAILURE TO SUBMIT A TRANSLATION OF THE DESCRIPTION OR TO PAY THE FEE WITHIN THE PRESCRIBED TIME-LIMIT

Effective date: 20220928

PLBE No opposition filed within time limit

Free format text: ORIGINAL CODE: 0009261

STAA Information on the status of an ep patent application or granted ep patent

Free format text: STATUS: NO OPPOSITION FILED WITHIN TIME LIMIT

26N No opposition filed

Effective date: 20230629

PG25 Lapsed in a contracting state [announced via postgrant information from national office to epo]

Ref country code: MC

Free format text: LAPSE BECAUSE OF FAILURE TO SUBMIT A TRANSLATION OF THE DESCRIPTION OR TO PAY THE FEE WITHIN THE PRESCRIBED TIME-LIMIT

Effective date: 20220928

REG Reference to a national code

Ref country code: CH

Ref legal event code: PL

PG25 Lapsed in a contracting state [announced via postgrant information from national office to epo]

Ref country code: SI

Free format text: LAPSE BECAUSE OF FAILURE TO SUBMIT A TRANSLATION OF THE DESCRIPTION OR TO PAY THE FEE WITHIN THE PRESCRIBED TIME-LIMIT

Effective date: 20220928

REG Reference to a national code

Ref country code: BE

Ref legal event code: MM

Effective date: 20230331

PG25 Lapsed in a contracting state [announced via postgrant information from national office to epo]

Ref country code: LU

Free format text: LAPSE BECAUSE OF NON-PAYMENT OF DUE FEES

Effective date: 20230313

REG Reference to a national code

Ref country code: IE

Ref legal event code: MM4A

PG25 Lapsed in a contracting state [announced via postgrant information from national office to epo]

Ref country code: LI

Free format text: LAPSE BECAUSE OF NON-PAYMENT OF DUE FEES

Effective date: 20230331

Ref country code: IE

Free format text: LAPSE BECAUSE OF NON-PAYMENT OF DUE FEES

Effective date: 20230313

Ref country code: CH

Free format text: LAPSE BECAUSE OF NON-PAYMENT OF DUE FEES

Effective date: 20230331

PG25 Lapsed in a contracting state [announced via postgrant information from national office to epo]

Ref country code: BE

Free format text: LAPSE BECAUSE OF NON-PAYMENT OF DUE FEES

Effective date: 20230331

PG25 Lapsed in a contracting state [announced via postgrant information from national office to epo]

Ref country code: IT

Free format text: LAPSE BECAUSE OF FAILURE TO SUBMIT A TRANSLATION OF THE DESCRIPTION OR TO PAY THE FEE WITHIN THE PRESCRIBED TIME-LIMIT

Effective date: 20220928

PG25 Lapsed in a contracting state [announced via postgrant information from national office to epo]

Ref country code: BG

Free format text: LAPSE BECAUSE OF FAILURE TO SUBMIT A TRANSLATION OF THE DESCRIPTION OR TO PAY THE FEE WITHIN THE PRESCRIBED TIME-LIMIT

Effective date: 20220928

PG25 Lapsed in a contracting state [announced via postgrant information from national office to epo]

Ref country code: BG

Free format text: LAPSE BECAUSE OF FAILURE TO SUBMIT A TRANSLATION OF THE DESCRIPTION OR TO PAY THE FEE WITHIN THE PRESCRIBED TIME-LIMIT

Effective date: 20220928

PGFP Annual fee paid to national office [announced via postgrant information from national office to epo]

Ref country code: DE

Payment date: 20250218

Year of fee payment: 7

PGFP Annual fee paid to national office [announced via postgrant information from national office to epo]

Ref country code: FR

Payment date: 20250219

Year of fee payment: 7

PGFP Annual fee paid to national office [announced via postgrant information from national office to epo]

Ref country code: GB

Payment date: 20250221

Year of fee payment: 7

PG25 Lapsed in a contracting state [announced via postgrant information from national office to epo]

Ref country code: CY

Free format text: LAPSE BECAUSE OF FAILURE TO SUBMIT A TRANSLATION OF THE DESCRIPTION OR TO PAY THE FEE WITHIN THE PRESCRIBED TIME-LIMIT; INVALID AB INITIO

Effective date: 20190313

PG25 Lapsed in a contracting state [announced via postgrant information from national office to epo]

Ref country code: HU

Free format text: LAPSE BECAUSE OF FAILURE TO SUBMIT A TRANSLATION OF THE DESCRIPTION OR TO PAY THE FEE WITHIN THE PRESCRIBED TIME-LIMIT; INVALID AB INITIO

Effective date: 20190313

REG Reference to a national code

Ref country code: DE

Ref legal event code: R081

Ref document number: 602019019927

Country of ref document: DE

Owner name: RTX CORPORATION (N.D.GES.D. STAATES DELAWARE),, US

Free format text: FORMER OWNER: RAYTHEON TECHNOLOGIES CORPORATION, FARMINGTON, CT, US

PG25 Lapsed in a contracting state [announced via postgrant information from national office to epo]

Ref country code: TR

Free format text: LAPSE BECAUSE OF FAILURE TO SUBMIT A TRANSLATION OF THE DESCRIPTION OR TO PAY THE FEE WITHIN THE PRESCRIBED TIME-LIMIT

Effective date: 20220928