EP3498126A1 - Ampoule for storing cosmetic liquid - Google Patents

Ampoule for storing cosmetic liquid Download PDF

Info

Publication number
EP3498126A1
EP3498126A1 EP18171837.0A EP18171837A EP3498126A1 EP 3498126 A1 EP3498126 A1 EP 3498126A1 EP 18171837 A EP18171837 A EP 18171837A EP 3498126 A1 EP3498126 A1 EP 3498126A1
Authority
EP
European Patent Office
Prior art keywords
ampoule
discharge
air inlet
cosmetic liquid
discharge mechanism
Prior art date
Legal status (The legal status is an assumption and is not a legal conclusion. Google has not performed a legal analysis and makes no representation as to the accuracy of the status listed.)
Withdrawn
Application number
EP18171837.0A
Other languages
German (de)
French (fr)
Inventor
Oh Sub Kwon
Won Eui Lee
Current Assignee (The listed assignees may be inaccurate. Google has not performed a legal analysis and makes no representation or warranty as to the accuracy of the list.)
L&p Cosmetic Co Ltd
Original Assignee
L&p Cosmetic Co Ltd
Priority date (The priority date is an assumption and is not a legal conclusion. Google has not performed a legal analysis and makes no representation as to the accuracy of the date listed.)
Filing date
Publication date
Application filed by L&p Cosmetic Co Ltd filed Critical L&p Cosmetic Co Ltd
Publication of EP3498126A1 publication Critical patent/EP3498126A1/en
Withdrawn legal-status Critical Current

Links

Images

Classifications

    • AHUMAN NECESSITIES
    • A45HAND OR TRAVELLING ARTICLES
    • A45DHAIRDRESSING OR SHAVING EQUIPMENT; EQUIPMENT FOR COSMETICS OR COSMETIC TREATMENTS, e.g. FOR MANICURING OR PEDICURING
    • A45D34/00Containers or accessories specially adapted for handling liquid toiletry or cosmetic substances, e.g. perfumes
    • AHUMAN NECESSITIES
    • A45HAND OR TRAVELLING ARTICLES
    • A45DHAIRDRESSING OR SHAVING EQUIPMENT; EQUIPMENT FOR COSMETICS OR COSMETIC TREATMENTS, e.g. FOR MANICURING OR PEDICURING
    • A45D34/00Containers or accessories specially adapted for handling liquid toiletry or cosmetic substances, e.g. perfumes
    • A45D34/04Appliances specially adapted for applying liquid, e.g. using roller or ball
    • AHUMAN NECESSITIES
    • A45HAND OR TRAVELLING ARTICLES
    • A45DHAIRDRESSING OR SHAVING EQUIPMENT; EQUIPMENT FOR COSMETICS OR COSMETIC TREATMENTS, e.g. FOR MANICURING OR PEDICURING
    • A45D40/00Casings or accessories specially adapted for storing or handling solid or pasty toiletry or cosmetic substances, e.g. shaving soaps or lipsticks
    • A45D40/26Appliances specially adapted for applying pasty paint, e.g. using roller, using a ball
    • BPERFORMING OPERATIONS; TRANSPORTING
    • B65CONVEYING; PACKING; STORING; HANDLING THIN OR FILAMENTARY MATERIAL
    • B65DCONTAINERS FOR STORAGE OR TRANSPORT OF ARTICLES OR MATERIALS, e.g. BAGS, BARRELS, BOTTLES, BOXES, CANS, CARTONS, CRATES, DRUMS, JARS, TANKS, HOPPERS, FORWARDING CONTAINERS; ACCESSORIES, CLOSURES, OR FITTINGS THEREFOR; PACKAGING ELEMENTS; PACKAGES
    • B65D1/00Rigid or semi-rigid containers having bodies formed in one piece, e.g. by casting metallic material, by moulding plastics, by blowing vitreous material, by throwing ceramic material, by moulding pulped fibrous material or by deep-drawing operations performed on sheet material
    • B65D1/02Bottles or similar containers with necks or like restricted apertures, designed for pouring contents
    • B65D1/0223Bottles or similar containers with necks or like restricted apertures, designed for pouring contents characterised by shape
    • BPERFORMING OPERATIONS; TRANSPORTING
    • B65CONVEYING; PACKING; STORING; HANDLING THIN OR FILAMENTARY MATERIAL
    • B65DCONTAINERS FOR STORAGE OR TRANSPORT OF ARTICLES OR MATERIALS, e.g. BAGS, BARRELS, BOTTLES, BOXES, CANS, CARTONS, CRATES, DRUMS, JARS, TANKS, HOPPERS, FORWARDING CONTAINERS; ACCESSORIES, CLOSURES, OR FITTINGS THEREFOR; PACKAGING ELEMENTS; PACKAGES
    • B65D25/00Details of other kinds or types of rigid or semi-rigid containers
    • B65D25/38Devices for discharging contents
    • B65D25/40Nozzles or spouts
    • B65D25/42Integral or attached nozzles or spouts
    • BPERFORMING OPERATIONS; TRANSPORTING
    • B65CONVEYING; PACKING; STORING; HANDLING THIN OR FILAMENTARY MATERIAL
    • B65DCONTAINERS FOR STORAGE OR TRANSPORT OF ARTICLES OR MATERIALS, e.g. BAGS, BARRELS, BOTTLES, BOXES, CANS, CARTONS, CRATES, DRUMS, JARS, TANKS, HOPPERS, FORWARDING CONTAINERS; ACCESSORIES, CLOSURES, OR FITTINGS THEREFOR; PACKAGING ELEMENTS; PACKAGES
    • B65D41/00Caps, e.g. crown caps or crown seals, i.e. members having parts arranged for engagement with the external periphery of a neck or wall defining a pouring opening or discharge aperture; Protective cap-like covers for closure members, e.g. decorative covers of metal foil or paper
    • B65D41/02Caps or cap-like covers without lines of weakness, tearing strips, tags, or like opening or removal devices
    • B65D41/04Threaded or like caps or cap-like covers secured by rotation
    • BPERFORMING OPERATIONS; TRANSPORTING
    • B65CONVEYING; PACKING; STORING; HANDLING THIN OR FILAMENTARY MATERIAL
    • B65DCONTAINERS FOR STORAGE OR TRANSPORT OF ARTICLES OR MATERIALS, e.g. BAGS, BARRELS, BOTTLES, BOXES, CANS, CARTONS, CRATES, DRUMS, JARS, TANKS, HOPPERS, FORWARDING CONTAINERS; ACCESSORIES, CLOSURES, OR FITTINGS THEREFOR; PACKAGING ELEMENTS; PACKAGES
    • B65D47/00Closures with filling and discharging, or with discharging, devices
    • B65D47/04Closures with discharging devices other than pumps
    • B65D47/32Closures with discharging devices other than pumps with means for venting
    • AHUMAN NECESSITIES
    • A45HAND OR TRAVELLING ARTICLES
    • A45DHAIRDRESSING OR SHAVING EQUIPMENT; EQUIPMENT FOR COSMETICS OR COSMETIC TREATMENTS, e.g. FOR MANICURING OR PEDICURING
    • A45D34/00Containers or accessories specially adapted for handling liquid toiletry or cosmetic substances, e.g. perfumes
    • A45D2034/002Accessories
    • AHUMAN NECESSITIES
    • A45HAND OR TRAVELLING ARTICLES
    • A45DHAIRDRESSING OR SHAVING EQUIPMENT; EQUIPMENT FOR COSMETICS OR COSMETIC TREATMENTS, e.g. FOR MANICURING OR PEDICURING
    • A45D34/00Containers or accessories specially adapted for handling liquid toiletry or cosmetic substances, e.g. perfumes
    • A45D2034/007Containers or accessories specially adapted for handling liquid toiletry or cosmetic substances, e.g. perfumes with special decorative arrangements or form
    • AHUMAN NECESSITIES
    • A45HAND OR TRAVELLING ARTICLES
    • A45DHAIRDRESSING OR SHAVING EQUIPMENT; EQUIPMENT FOR COSMETICS OR COSMETIC TREATMENTS, e.g. FOR MANICURING OR PEDICURING
    • A45D2200/00Details not otherwise provided for in A45D
    • A45D2200/05Details of containers
    • A45D2200/051Airtight containers
    • AHUMAN NECESSITIES
    • A45HAND OR TRAVELLING ARTICLES
    • A45DHAIRDRESSING OR SHAVING EQUIPMENT; EQUIPMENT FOR COSMETICS OR COSMETIC TREATMENTS, e.g. FOR MANICURING OR PEDICURING
    • A45D2200/00Details not otherwise provided for in A45D
    • A45D2200/05Details of containers
    • A45D2200/054Means for supplying liquid to the outlet of the container
    • BPERFORMING OPERATIONS; TRANSPORTING
    • B65CONVEYING; PACKING; STORING; HANDLING THIN OR FILAMENTARY MATERIAL
    • B65DCONTAINERS FOR STORAGE OR TRANSPORT OF ARTICLES OR MATERIALS, e.g. BAGS, BARRELS, BOTTLES, BOXES, CANS, CARTONS, CRATES, DRUMS, JARS, TANKS, HOPPERS, FORWARDING CONTAINERS; ACCESSORIES, CLOSURES, OR FITTINGS THEREFOR; PACKAGING ELEMENTS; PACKAGES
    • B65D1/00Rigid or semi-rigid containers having bodies formed in one piece, e.g. by casting metallic material, by moulding plastics, by blowing vitreous material, by throwing ceramic material, by moulding pulped fibrous material or by deep-drawing operations performed on sheet material
    • B65D1/09Ampoules

Definitions

  • the present invention has been made keeping in mind the above problems occurring in the related art, and the present invention provides an ampoule for storing a cosmetic liquid, different from an ampoule structure in the related art in which a neck portion is broken to use the cosmetic liquid, in which the ampoule for storing the cosmetic liquid is configured such that a required amount of cosmetic liquid is discharged due to pressure of air introduced from outside by opening a cap portion and then gently shaking a containing portion while holding it upside down.
  • the cosmetic liquid is discharged and used more hygienically and safely without any relation to the structure or material of the containing portion, thereby further enhancing convenience and stability of use of a product.
  • the cap portion 400 is kept in a state in which the cap portion 400 is airtightly coupled to the opening and closing operation portion 320 of the discharge mechanism 300 by screw engagement. Accordingly, even though the containing portion 200 is held upside down, leakage of the cosmetic liquid can be prevented.

Landscapes

  • Engineering & Computer Science (AREA)
  • Mechanical Engineering (AREA)
  • Ceramic Engineering (AREA)
  • Closures For Containers (AREA)
  • Containers And Packaging Bodies Having A Special Means To Remove Contents (AREA)
  • Media Introduction/Drainage Providing Device (AREA)
  • Physics & Mathematics (AREA)
  • Fluid Mechanics (AREA)
  • General Engineering & Computer Science (AREA)

Abstract

Disclosed is an ampoule for storing a cosmetic liquid, ampoule mainly storing an oil-type cosmetic liquid and discharging the same in use. More particularly, the ampoule includes: a containing portion (200) in which the cosmetic liquid is contained through an injection hole (220); a discharge mechanism (300) having a discharge tube (314) airtightly coupled to an inner circumferential surface of the injection hole of the containing portion in a press-fitted manner and configured to discharge the cosmetic liquid to outside, and an air inlet tube (340) allowing outside air to be introduced into the containing portion upon cosmetic liquid discharge operation; and a cap portion (400) opening and closing the discharge tube or the air inlet tube while being opened and closed with respect to the discharge mechanism (300).

Description

    CROSS REFERENCE TO RELATED APPLICATION
  • The present application claims priority to Korean Patent Application No. 10-2017-0174311, filed December 18, 2017 , the entire contents of which is incorporated herein for all purposes by this reference.
  • BACKGROUND OF THE INVENTION Field of the Invention
  • The present invention relates generally to an ampoule for storing a cosmetic liquid, the ampoule mainly storing an oil-type cosmetic liquid and discharging the same in use. More particularly, the present invention relates to an ampoule for storing a cosmetic liquid, in which a required amount of cosmetic liquid is discharged to outside due to air pressure by gently shaking a containing portion while holding it upside down, whereby the cosmetic liquid is discharged and used very easily, conveniently, and hygienically.
  • Description of the Related Art
  • In general, contents to be sealed and stored in a sterilized state, such as injections, health tonics, liquid medicines for internal use, etc., are mainly packaged in a container called a glass ampoule. Such a container is manufactured by injecting the contents into a thin glass tube and by fusing a tip thereof with an open flame, etc., thus hermetically sealing the thin glass tube.
  • While such a glass ampoule is very hygienic, there is a high risk of breakage during handling. In addition, there is a possibility of injury when a user snaps off the tip of the glass ampoule by hand to use the ampoule contents, whereby the user's hand may be cut from sharp edges of the glass ampoule.
  • During opening of the glass ampoule, microscopic glass shards may be introduced into the ampoule contents, and thus the ampoule contents may be injected into the body with the glass shards, causing blood clots, etc.
  • In order to solve such a problem of the glass ampoule, a plastic ampoule has recently been developed and used. However, such a plastic ampoule is generally manufactured by a method so-called blowing-filling-sealing (BFS) in which a series of processes of blow molding a container using a synthetic resin, of filling contents into the container, and of sealing an opening of the container are carried out sequentially.
  • However, the plastic ampoule itself has toughness unlike the glass ampoule, and thus the container may not be easily opened only by impact acting on the upper part of the container. Accordingly, a neck portion and a tip portion must be forcibly removed from a container body by twisting off a separate wing knob portion.
  • Herein, the plastic ampoule is opened while leaving a so-called plastic residue in which edges of the broken area are stretched upon opening unlike the glass ampoule having the sharp edges. Accordingly, the edges of the plastic ampoule are likely to be contaminated by the user's hand during opening, and thus there is a high possibility of unintentionally contaminating the contents contained in the ampoule.
  • Thus, in order to solve such a problem, the thickness of a parison may be made as thin as possible, or a part of the surface of a breaking portion may be scored using a sharp metal such as a blade. However, because the parison is stretched by gravity, the method of thinning the parison has technical limitations and also the method of scoring a part of the surface of the breaking portion has limitations on complete removal of the plastic residue.
  • In addition, the plastic ampoule in the related art is structured such that a long neck portion having a small diameter is formed at the upper part of the plastic ampoule in order to facilitate separating of the tip portion of the plastic ampoule. When the plastic ampoule is laid sideways during product storage and transportation, the neck portion is filled with the contents and thus the contents in the neck portion may remain therein rather than falling back into the container even when allowing the plastic ampoule to stand up again. Accordingly, it is required for contents remaining in the neck portion to fall back to the container before opening in every use, resulting in user inconvenience.
  • On the other hand, in an effort to solve the problem of breaking the neck portion of the plastic ampoule in the related art, Patent Document 1 discloses a plastic ampoule in which a ring-shaped scoring groove is formed both on the inner and outer circumferences of a neck portion provided between a body portion and a knob portion, such that the neck portion is made thin, resulting in more easy and quick breaking of neck portion with an external force for bending the knob portion.
  • In addition, in the relate art, there is a container for withdrawing its contents, such as a cosmetic liquid, etc., using a syringe. However, withdrawing the contents of the container into the syringe is repeatedly performed in every use by holding the syringe in one hand while holding the container in the other hand, resulting in user inconvenience.
  • Moreover, in order to solve the problem associated with the use of the glass ampoule, Patent Document 2 discloses an ampoule in which a piston is fitted into a lower opening end of an ampoule body to store the contents of the ampoule injected into the ampoule body, and then the piston is forcibly pushed up by using a handle portion covering an injection and discharge portion of a body of the ampoule, whereby the contents of the ampoule are divided into several doses and used.
  • Documents of Related Art
    • (Patent document 1) Korean Patent No. 10-1761570 (published on July 26, 2017 )
    • (Patent document 2) Korean Utility Model Registration No. 20-0461736 (published on August 3, 2012 )
    SUMMARY OF THE INVENTION
  • Accordingly, the present invention has been made keeping in mind the above problems occurring in the related art, and the present invention provides an ampoule for storing a cosmetic liquid, different from an ampoule structure in the related art in which a neck portion is broken to use the cosmetic liquid, in which the ampoule for storing the cosmetic liquid is configured such that a required amount of cosmetic liquid is discharged due to pressure of air introduced from outside by opening a cap portion and then gently shaking a containing portion while holding it upside down. Thus, the cosmetic liquid is discharged and used more hygienically and safely without any relation to the structure or material of the containing portion, thereby further enhancing convenience and stability of use of a product.
  • In order to achieve the above object, according to one aspect of the present invention, there is provided an ampoule for storing a cosmetic liquid, the ampoule including: a containing portion in which the cosmetic liquid is contained through an injection hole; a discharge mechanism having a discharge tube airtightly coupled to an inner circumferential surface of the injection hole of the containing portion in a press-fitted manner and configured to discharge the cosmetic liquid to outside, and an air inlet tube allowing outside air to be introduced into the containing portion upon cosmetic liquid discharge operation; and a cap portion opening and closing the discharge tube or the air inlet tube while being opened and closed with respect to the discharge mechanism.
  • According to the present invention, the discharge mechanism may include an airtight coupling portion airtightly coupled to the inner circumferential surface of the injection hole of the containing portion, and an opening and closing operation portion provided at a position higher than the airtight coupling portion, wherein the airtight coupling portion and the opening and closing operation portion may be open from a bottom surface of the airtight coupling portion to a top of the opening and closing operation portion, the discharge tube discharging the cosmetic liquid to the outside may be provided by passing through the bottom surface, and the air inlet tube may be provided at the bottom surface separately from the discharge tube such that the outside air is allowed to be introduced into the containing portion.
  • According to the present invention, the discharge tube may extend such that an upper end thereof is positioned higher than an upper end of the opening and closing operation portion.
  • According to the present invention, the airtight coupling portion of the discharge mechanism may be provided with a stop protrusion engaged with a serration formed on the injection hole of the containing portion, and a ring-shaped airtight rim allowing the airtight coupling portion of the discharge mechanism to be airtightly coupled to the inner circumferential surface of the injection hole.
  • According to the present invention, a close contact surface may be provided on an inner surface of the cap portion to correspond to an upper end surface of the opening and closing operation portion and an upper end surface of the discharge tube of the discharge mechanism, such that the close contact surface is in close contact with the upper end surface of the opening and closing operation portion and the upper end surface of the discharge tube.
  • According to the present invention, the air inlet tube provided by passing through the bottom surface of the airtight coupling portion may be at least one air inlet tube.
  • According to the present invention, the ampoule may further include an auxiliary air inlet hole formed by passing through the bottom surface of the airtight coupling portion, in addition to the air inlet tube, wherein the auxiliary air inlet hole may be at least one auxiliary air inlet hole.
  • According to the present invention, the discharge mechanism and the cap portion may be made of materials different from each other.
  • According to the present invention, the discharge mechanism may be made of a soft material, and the cap portion may be made of a relatively hard material.
  • According to the present invention, the discharge mechanism and the cap portion may be opened and closed by screw engagement.
  • According to the present invention, the cap portion is separated from the discharge mechanism and thus is opened, and then the containing portion is gently shaken while being held upside down, whereby a required amount of cosmetic liquid is discharged to the outside due to air pressure. Consequently, it is possible to discharge and use the cosmetic liquid very easily, conveniently, and hygienically, and to provide an ampoule of a form which can be disposable or used multiple times according to the use of the cosmetic liquid.
  • Further, the discharge mechanism and the cap portion are made of materials different from each other, whereby it is possible to obtain an improved airtight coupling therebetween.
  • Further, at least one air inlet tube is formed according to a difference in specific gravity of cosmetic liquids whereby it is possible to efficiently discharge the cosmetic liquids having the specific gravity difference, and the auxiliary air inlet hole is further formed whereby inflow of air can be facilitated.
  • Further, the injection hole of the containing portion is provided with no thread portion formed on the outer circumferential surface thereof, whereby injection or blow molding of the containing portion can be remarkably simplified.
  • BRIEF DESCRIPTION OF THE DRAWINGS
  • The above and other objects, features and other advantages of the present invention will be more clearly understood from the following detailed description when taken in conjunction with the accompanying drawings, in which:
    • FIG. 1 is a separated sectional view showing an ampoule for storing a cosmetic liquid according to the present invention;
    • FIG. 2 is an assembled sectional view of FIG. 1;
    • FIG. 3 is an extracted perspective view showing a discharge mechanism according to an embodiment of the present invention;
    • FIG. 4 is an extracted perspective view showing a discharge mechanism according to another embodiment of the present invention;
    • FIG. 5 is a sectional view showing a state in which the discharge mechanism of FIG. 4 is assembled;
    • FIG. 6 is an extracted perspective view showing discharge mechanisms according to yet another embodiment of the present invention;
    • FIG. 7 is a perspective view showing various embodiments of the ampoule for storing the cosmetic liquid according to the present invention; and
    • FIG. 8 is a sectional view showing a use state in which a cosmetic solution is discharged after removing a cap portion according to the present invention.
    DETAILED DESCRIPTION OF THE INVENTION
  • Hereinbelow, exemplary embodiments of the present invention will be described in detail with reference to the accompanying drawings. Throughout the drawings, the same reference numerals will refer to the same or like parts.
  • Referring to FIGS. 1 to 3, an ampoule 100 for storing a cosmetic liquid according to the present invention largely includes a containing portion 200, a discharge mechanism 300, and a cap portion 400.
  • The containing portion 200 includes a storage space 210 having a predetermined area in which the cosmetic liquid is stored, and an injection hole 220 communicating with the storage space. The injection hole 220 is formed integrally with the containing portion 200 by extending from an upper end of a side thereof such that the injection hole 220 communicates with the storage space 210.
  • Because the containing portion 200 is configured such that the injection hole 220 is provided with no thread portion in the related art which is formed on an outer circumference thereof for opening and closing of the cap portion 400, the containing portion 200 is remarkably improved in injection or blow moldability.
  • Furthermore, the containing portion 200 may have an appropriate size and shape in consideration of the number of times of use of the cosmetic liquid, that is, once or multiple times, more preferably equal to or less than five times. The containing portion 200 may be made of various materials such as glass materials, synthetic resin materials, etc.
  • Referring to FIG. 7, it will be appreciated that the shape or size of the containing portion 200 may vary.
  • A filling operation is performed such that the cosmetic liquid is filled into the storage space 210 of the containing portion 200 through the injection hole 220.
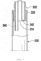
  • The discharge mechanism 300 includes an airtight coupling portion 310 airtightly coupled to an inner circumferential surface of the injection hole 220 of the containing portion 200, and an opening and closing operation portion 320. A stepped flange 330 protrudes radially outwardly from the periphery of the discharge mechanism 300 at a position between the airtight coupling portion 310 and the opening and closing operation portion 320, and is seated on an upper end of the injection hole 220 upon assembly.
  • The airtight coupling portion 310 and the opening and closing operation portion 320 are provided integrally with each other to be open from a bottom surface 312 of the airtight coupling portion 310 to a top of the opening and closing operation portion 320.
  • A discharge tube 314 is provided at the bottom surface 312 of the airtight coupling portion 310. The discharge tube 314 serves to securely discharge the cosmetic liquid from the storage space 210 of the containing portion 200 to outside.
  • It is preferable that the discharge tube 314 extends outwardly of an upper end surface of the opening and closing operation portion 320 and thus protrudes therefrom to facilitate discharging of the cosmetic liquid.
  • An air inlet tube 340 is provided at the bottom surface 312 of the airtight coupling portion 310 separately from the discharge tube 314, such that air that is introduced from outside through an open upper end of the opening and closing operation portion 320 is supplied into the storage space 210 of the containing portion 200.
  • The air inlet tube 340 may vary in size or number depending on a difference in specific gravity of cosmetic liquids.
  • The air inlet tube 340 extends by passing through the bottom surface 312 of the airtight coupling portion 310.
  • Accordingly, when the cap portion 400 is opened, air introduced through an internal space of the opening and closing operation portion 320 is allowed to be supplied into the storage space 210 of the containing portion 200 through the air inlet tube 340 to reach a deep position in the storage space 210, whereby discharging of the cosmetic liquid is more efficiently performed.
  • According to the present invention, the size, shape, or the number of the air inlet tube 340 may vary based on comprehensive consideration of the difference in specific gravity of cosmetic liquids, a discharge amount of the cosmetic liquid, etc.
  • This can be fully understood with reference to the discharge mechanism 300 shown in FIG. 6.
  • In addition, as shown in FIGS. 4 and 5, the ampoule 100 may further include an auxiliary air inlet hole 342 formed by passing through the bottom surface 312 of the discharge mechanism 300, in addition to the air inlet tube 340. Herein, the auxiliary air inlet hole 342 may have a size smaller than a size of the air inlet tube 340.
  • Furthermore, even though only one auxiliary air inlet hole 342 is shown in the drawings, at least one auxiliary air inlet hole 342 may be provided as required.
  • The communication of air is more efficiently performed through the auxiliary air inlet hole 342, thus inducing the cosmetic liquid to be more efficiently discharged.
  • The opening and closing operation portion 320 is provided with a male thread 322 formed on the outer circumferential surface thereof for screw engagement.
  • Furthermore, the airtight coupling portion 310 is provided with a stop protrusion 316 formed on an outer circumferential surface thereof and engaged with a serration 222 formed on the inner circumferential surface of the injection hole 220 of the containing portion 200.
  • It is preferable that the stop protrusion 316 is formed in a shape corresponding to the serration 222 in consideration of relationship between the stop protrusion 316 and the serration 222 that are engaged with each other.
  • In addition, the airtight coupling portion 310 is provided with a ring-shaped airtight rim 318 such that the discharge mechanism 300 is airtightly coupled to the inner circumferential surface of the injection hole 220 in a press-fitted manner.
  • The ring-shaped airtight rim 318 may be at least one ring-shaped airtight rim depending on the degree of airtightness required.
  • The discharge mechanism 300 can be prevented from rotating arbitrarily by the stop protrusion 316 engaged with the serration 222 during a screw opening and closing operation. In addition, the inner circumferential surface of the injection hole 220 is blocked by the ring-shaped airtight rim 318, whereby the cosmetic liquid can be prevented from leaking through the inner circumference of the injection hole 220.
  • By provision of the ring-shaped airtight rim 318, the discharge mechanism 300 can provide a strong fitting force against the inner circumference of the injection hole 220, thus enabling airtight coupling therebetween.
  • The cap portion 400 is opened and closed with respect to the opening and closing operation portion 320 of the discharge mechanism 300 and thus to open or close the discharge tube 314 and the air inlet tube 340 of the discharge mechanism. The cap portion 400 is provided with a female thread 410 formed on an inner surface thereof and engaged with the male thread 322 formed on the opening and closing operation portion 320 of the discharge mechanism 300.
  • The cap portion 400 is provided with a stepped close contact surface 420 provided on the inner surface thereof to correspond to an upper end surface of the opening and closing operation portion 320 and an upper end surface of the discharge tube 314, such that the close contact surface 420 is in close contact with the upper end surface of the opening and closing operation portion 320 and the upper end surface of the discharge tube 314.
  • According to the present invention, the discharge mechanism 300 and the cap portion 400 may variously implemented depending on the application thereof or the shape of the containing portion 200 as shown in FIG. 7.
  • According to the present invention, it is preferable that the discharge mechanism 300 and the cap portion 400 are made of materials different from each other.
  • In other words, it is preferable that the discharge mechanism 300 is made of a soft material, and the cap portion 400 is made of a relatively hard material, or vice versa.
  • In a case where the discharge mechanism 300 is made of a soft material, airtight coupling may be achieved when the discharge mechanism 300 is coupled to the injection hole 220 of the containing portion 200. Accordingly, it is preferable to use a soft material having a certain degree of elasticity as compared with a hard material which makes it difficult to achieve such a function. As one example thereof, a rubber material such as PE, etc. may be used.
  • Furthermore, it is preferable that the cap portion 400 is made of a relatively hard material to achieve an improved airtight coupling with the discharge mechanism 300. As one example thereof, a material such as PP, ABS, etc. may be used.
  • As such, the discharge mechanism 300 is made of a soft material and the cap portion 400 is made of a hard material, whereby particularly when the cap portion 400 is coupled to the discharge mechanism 300, the upper end surface of the discharge tube 314 of the discharge mechanism 300 and the upper end surface of the opening and closing operation portion 320 come into elastic close contact with the close contact surface 420 provided on the inner surface of the cap portion 400, thus providing stable airtightness.
  • Hereinafter, a description will be given of a use state in which the cosmetic liquid stored in the storage space 210 of the containing portion 200 is discharged once or multiple times by using the ampoule 100 for storing the cosmetic liquid according to the present invention.
  • First, before the cosmetic liquid is discharged, the cap portion 400 is kept in a state in which the cap portion 400 is airtightly coupled to the opening and closing operation portion 320 of the discharge mechanism 300 by screw engagement. Accordingly, even though the containing portion 200 is held upside down, leakage of the cosmetic liquid can be prevented.
  • In other words, the upper end surface of the discharge tube 314 of the discharge mechanism 300 and the upper end surface of the opening and closing operation portion 320 are in close contact with the close contact surface 420 that is provided on the inner surface of the cap portion 400 to correspond to the upper end surface of the discharge tube 314 of the discharge mechanism 300 and the upper end surface of the opening and closing operation portion 320, and thus is kept in an airtight state. In addition, the inner circumferential surface of the injection hole 220 of the containing portion 200 is in close contact with the discharge mechanism 300 by the ring-shaped airtight rim 318 of the discharge mechanism 300 in an airtight manner, thus preventing leakage of the cosmetic liquid.
  • In a case where the cosmetic solution is to be discharged and used in such a state, the cap portion 400 is opened to be removed from the discharge mechanism 300.
  • When the cap portion 400 is opened and removed from the discharge mechanism 300 as described above, the air inlet tube 340 is opened to allow entrance of outside air, and at the same time, the discharge tube 314 is also opened.
  • In such a state, as shown in FIG. 8, when a user holds the containing portion 200 upside down and gently shakes it, the cosmetic liquid stored in the storage space 210 of the containing portion 200 is discharged to outside through the discharge tube 314 due to pressure of air introduced through the air inlet tube 340.
  • Thus, a required amount of cosmetic liquid can be discharged once or multiple times in the above-described manner. After discharging is completed, the cap portion 400 is closed again with respect to the discharge mechanism 300, whereby the cosmetic liquid can be stably stored in an airtight state.
  • Although a preferred embodiment of the present invention has been described for illustrative purposes, those skilled in the art will appreciate that various modifications, additions and substitutions are possible, without departing from the scope and spirit of the invention as disclosed in the accompanying claims.

Claims (10)

  1. An ampoule for storing a cosmetic liquid, the ampoule comprising:
    a containing portion (200) in which the cosmetic liquid is contained through an injection hole (220);
    a discharge mechanism (300) having a discharge tube (314) airtightly coupled to an inner circumferential surface of the injection hole of the containing portion in a press-fitted manner and configured to discharge the cosmetic liquid to outside, and an air inlet tube (340) allowing outside air to be introduced into the containing portion upon cosmetic liquid discharge operation; and
    a cap portion (400) opening and closing the discharge tube or the air inlet tube while being opened and closed with respect to the discharge mechanism (300).
  2. The ampoule of claim 1, wherein the discharge mechanism (300) includes an airtight coupling portion (310) airtightly coupled to the inner circumferential surface of the injection hole (220) of the containing portion (200), and an opening and closing operation portion (320) provided at a position higher than the airtight coupling portion, wherein
    the airtight coupling portion (310) and the opening and closing operation portion (320) are open from a bottom surface (312) of the airtight coupling portion (310) to a top of the opening and closing operation portion (320),
    the discharge tube (314) discharging the cosmetic liquid to the outside is provided by passing through the bottom surface (312), and
    the air inlet tube (340) is provided at the bottom surface (312) separately from the discharge tube (314) such that the outside air is allowed to be introduced into the containing portion (200).
  3. The ampoule of claim 2, wherein the discharge tube (314) extends such that an upper end thereof is positioned higher than an upper end of the opening and closing operation portion (320).
  4. The ampoule of claim 2, wherein the airtight coupling portion (310) of the discharge mechanism (300) is provided with a stop protrusion (316) engaged with a serration (222) formed on the injection hole (220) of the containing portion (200), and a ring-shaped airtight rim (318) allowing the airtight coupling portion of the discharge mechanism to be airtightly coupled to the inner circumferential surface of the injection hole.
  5. The ampoule of claim 2, wherein a close contact surface (420) is provided on an inner surface of the cap portion (400) to correspond to an upper end surface of the opening and closing operation portion (320) and an upper end surface of the discharge tube (314) of the discharge mechanism (300), such that the close contact surface is in close contact with the upper end surface of the opening and closing operation portion and the upper end surface of the discharge tube.
  6. The ampoule of claim 1 or 2, wherein the air inlet tube (340) provided by passing through the bottom surface (312) of the airtight coupling portion (310) is at least one air inlet tube.
  7. The ampoule of claim 6, further comprising an auxiliary air inlet hole (342) formed by passing through the bottom surface (312) of the airtight coupling portion (310), in addition to the air inlet tube (340), wherein the auxiliary air inlet hole (342) is at least one auxiliary air inlet hole.
  8. The ampoule of claim 1 or 2, wherein the discharge mechanism (300) and the cap portion (400) are made of materials different from each other.
  9. The ampoule of claim 8, wherein the discharge mechanism (300) is made of a soft material, and the cap portion (400) is made of a relatively hard material.
  10. The ampoule of claim 1, wherein the discharge mechanism (300) and the cap portion (400) are opened and closed by screw engagement.
EP18171837.0A 2017-12-18 2018-05-11 Ampoule for storing cosmetic liquid Withdrawn EP3498126A1 (en)

Applications Claiming Priority (1)

Application Number Priority Date Filing Date Title
KR1020170174311A KR101955208B1 (en) 2017-12-18 2017-12-18 Ampoule for storing cosmetic liquid

Publications (1)

Publication Number Publication Date
EP3498126A1 true EP3498126A1 (en) 2019-06-19

Family

ID=62152453

Family Applications (1)

Application Number Title Priority Date Filing Date
EP18171837.0A Withdrawn EP3498126A1 (en) 2017-12-18 2018-05-11 Ampoule for storing cosmetic liquid

Country Status (5)

Country Link
US (1) US20190183228A1 (en)
EP (1) EP3498126A1 (en)
JP (1) JP2019107435A (en)
KR (1) KR101955208B1 (en)
CN (1) CN208160329U (en)

Families Citing this family (3)

* Cited by examiner, † Cited by third party
Publication number Priority date Publication date Assignee Title
US20160135567A1 (en) * 2014-11-19 2016-05-19 Ejaz Kamboj Multiple cosmetic holder and applicator
USD915676S1 (en) 2018-06-04 2021-04-06 Ejaz Kamboj Cosmetic holder
WO2025037479A1 (en) * 2023-08-17 2025-02-20 株式会社ウイルソン Water-repellent container

Citations (6)

* Cited by examiner, † Cited by third party
Publication number Priority date Publication date Assignee Title
US2236491A (en) * 1937-06-30 1941-03-25 Baxter Laboratories Inc Container
EP0344476A2 (en) * 1988-06-01 1989-12-06 Deussen Kunststofftechnik Inhaber Heino Deussen Ampoule
DE102007007474B3 (en) * 2007-02-15 2008-02-28 Bernd Hansen container
KR200461736Y1 (en) 2012-01-19 2012-08-03 임성준 Ampoule
CN103347791A (en) * 2011-02-01 2013-10-09 乐敦制药株式会社 Liquid container
KR101761570B1 (en) 2017-01-19 2017-07-26 주식회사 네스필러피케이지 Plastic ampule

Family Cites Families (12)

* Cited by examiner, † Cited by third party
Publication number Priority date Publication date Assignee Title
JPH1016584A (en) * 1996-07-03 1998-01-20 Showa:Kk Shock absorbing structure of propeller shaft
JP4744775B2 (en) * 2002-11-20 2011-08-10 ニプロ株式会社 Chemical container
JP2006137491A (en) * 2004-10-13 2006-06-01 Katsutoshi Masuda Fluid storage container and fluid outflow device
JP2007314107A (en) * 2006-05-29 2007-12-06 Kayaba Ind Co Ltd Fluid pressure power steering system
WO2008056442A1 (en) 2006-11-07 2008-05-15 Yoshio Oyama Mechanism capable of providing neat cleaved opening surface and ampule with movable gasket
KR101252115B1 (en) 2011-10-12 2013-04-12 (주)연우 Pumping type ampule vessel
EP2828175A4 (en) * 2012-03-23 2015-11-11 Douglas H Fleming COVER AND STEAM DIRECTION DEFLECTOR FOR CONTAINER FOR BEVERAGE
KR101742069B1 (en) 2013-10-25 2017-05-31 (주)연우 Pumping type ampule vessel
KR101554189B1 (en) * 2013-12-10 2015-09-21 (주)연우 Tube type cosmetic vessel exhausting into the form of water drop
JP6652849B2 (en) * 2016-02-01 2020-02-26 東罐興業株式会社 Container with inner stopper
JP6730574B2 (en) * 2016-05-27 2020-07-29 シロウマサイエンス株式会社 container
JP6186665B1 (en) * 2016-07-12 2017-08-30 サーモス株式会社 Cap unit and beverage container

Patent Citations (6)

* Cited by examiner, † Cited by third party
Publication number Priority date Publication date Assignee Title
US2236491A (en) * 1937-06-30 1941-03-25 Baxter Laboratories Inc Container
EP0344476A2 (en) * 1988-06-01 1989-12-06 Deussen Kunststofftechnik Inhaber Heino Deussen Ampoule
DE102007007474B3 (en) * 2007-02-15 2008-02-28 Bernd Hansen container
CN103347791A (en) * 2011-02-01 2013-10-09 乐敦制药株式会社 Liquid container
KR200461736Y1 (en) 2012-01-19 2012-08-03 임성준 Ampoule
KR101761570B1 (en) 2017-01-19 2017-07-26 주식회사 네스필러피케이지 Plastic ampule

Also Published As

Publication number Publication date
US20190183228A1 (en) 2019-06-20
CN208160329U (en) 2018-11-30
KR101955208B1 (en) 2019-03-07
JP2019107435A (en) 2019-07-04

Similar Documents

Publication Publication Date Title
US5242422A (en) One piece molded syringe with tethered cap
SU1727518A3 (en) Ampule to store a liquid medium dose transferrable into a device to be used, preferably a syringe for making injections
US11266569B2 (en) Primary packaging for storage and administration of medical and pharmaceutical compounds
KR101083262B1 (en) Eye dropper capable of quantitative withdrawal and cosmetic container having same
AU645631B2 (en) Sleeved dispensing vial
FI120533B (en) Plastic bottle and process for its manufacture
JP3662672B2 (en) Container for dispensing flowable material
KR101789573B1 (en) Spuit type cosmetics container
JPH024374A (en) Liquid shifting assembly
MXPA04010654A (en) Moulding method, in particular a blowing or vacuum moulding method for production of a dispensing container filled with a medium for dispensing.
EP3498126A1 (en) Ampoule for storing cosmetic liquid
RU2684373C2 (en) Device for aseptic storage and method for manufacture and assembly thereof
US11317695B2 (en) Cosmetic dropper
US3720250A (en) Safety device when opening ampoules
KR20160030548A (en) Ampoule for a medical liquid, and method for producing an ampoule
MX2012013347A (en) System for dispensing drugs.
KR101521215B1 (en) Plastic ampoule molded by injection
US3114369A (en) Disposable ampul
US7624868B2 (en) Pipette holder
US11534370B2 (en) Drug-filled synthetic resin ampule and synthetic resin ampule body used for same
JP2002017816A (en) Bottomed cylindrical container for drug
KR102042978B1 (en) an ampoule of injection molding type
KR20160001945U (en) Syringe-type cosmetic containers
US2974785A (en) Container for the separate storage and extemporaneous mixing of constituents in injectable solution
US10207846B2 (en) Package with Luer fitting storage insert

Legal Events

Date Code Title Description
PUAI Public reference made under article 153(3) epc to a published international application that has entered the european phase

Free format text: ORIGINAL CODE: 0009012

STAA Information on the status of an ep patent application or granted ep patent

Free format text: STATUS: REQUEST FOR EXAMINATION WAS MADE

17P Request for examination filed

Effective date: 20180608

AK Designated contracting states

Kind code of ref document: A1

Designated state(s): AL AT BE BG CH CY CZ DE DK EE ES FI FR GB GR HR HU IE IS IT LI LT LU LV MC MK MT NL NO PL PT RO RS SE SI SK SM TR

AX Request for extension of the european patent

Extension state: BA ME

STAA Information on the status of an ep patent application or granted ep patent

Free format text: STATUS: THE APPLICATION IS DEEMED TO BE WITHDRAWN

18D Application deemed to be withdrawn

Effective date: 20191220