EP3477221A1 - Heat medium circulation system - Google Patents

Heat medium circulation system Download PDF

Info

Publication number
EP3477221A1
EP3477221A1 EP16906300.5A EP16906300A EP3477221A1 EP 3477221 A1 EP3477221 A1 EP 3477221A1 EP 16906300 A EP16906300 A EP 16906300A EP 3477221 A1 EP3477221 A1 EP 3477221A1
Authority
EP
European Patent Office
Prior art keywords
heat medium
water
heat exchanger
flow rate
inlet
Prior art date
Legal status (The legal status is an assumption and is not a legal conclusion. Google has not performed a legal analysis and makes no representation as to the accuracy of the status listed.)
Granted
Application number
EP16906300.5A
Other languages
German (de)
French (fr)
Other versions
EP3477221B1 (en
EP3477221A4 (en
Inventor
Yoshio Yamano
Yasushi Okoshi
Takuya Ito
Takahito HIKONE
Current Assignee (The listed assignees may be inaccurate. Google has not performed a legal analysis and makes no representation or warranty as to the accuracy of the list.)
Mitsubishi Electric Corp
Original Assignee
Mitsubishi Electric Corp
Priority date (The priority date is an assumption and is not a legal conclusion. Google has not performed a legal analysis and makes no representation as to the accuracy of the date listed.)
Filing date
Publication date
Application filed by Mitsubishi Electric Corp filed Critical Mitsubishi Electric Corp
Publication of EP3477221A1 publication Critical patent/EP3477221A1/en
Publication of EP3477221A4 publication Critical patent/EP3477221A4/en
Application granted granted Critical
Publication of EP3477221B1 publication Critical patent/EP3477221B1/en
Active legal-status Critical Current
Anticipated expiration legal-status Critical

Links

Images

Classifications

    • FMECHANICAL ENGINEERING; LIGHTING; HEATING; WEAPONS; BLASTING
    • F24HEATING; RANGES; VENTILATING
    • F24FAIR-CONDITIONING; AIR-HUMIDIFICATION; VENTILATION; USE OF AIR CURRENTS FOR SCREENING
    • F24F11/00Control or safety arrangements
    • F24F11/30Control or safety arrangements for purposes related to the operation of the system, e.g. for safety or monitoring
    • F24F11/41Defrosting; Preventing freezing
    • FMECHANICAL ENGINEERING; LIGHTING; HEATING; WEAPONS; BLASTING
    • F24HEATING; RANGES; VENTILATING
    • F24FAIR-CONDITIONING; AIR-HUMIDIFICATION; VENTILATION; USE OF AIR CURRENTS FOR SCREENING
    • F24F11/00Control or safety arrangements
    • F24F11/30Control or safety arrangements for purposes related to the operation of the system, e.g. for safety or monitoring
    • F24F11/46Improving electric energy efficiency or saving
    • FMECHANICAL ENGINEERING; LIGHTING; HEATING; WEAPONS; BLASTING
    • F24HEATING; RANGES; VENTILATING
    • F24FAIR-CONDITIONING; AIR-HUMIDIFICATION; VENTILATION; USE OF AIR CURRENTS FOR SCREENING
    • F24F11/00Control or safety arrangements
    • F24F11/62Control or safety arrangements characterised by the type of control or by internal processing, e.g. using fuzzy logic, adaptive control or estimation of values
    • FMECHANICAL ENGINEERING; LIGHTING; HEATING; WEAPONS; BLASTING
    • F24HEATING; RANGES; VENTILATING
    • F24FAIR-CONDITIONING; AIR-HUMIDIFICATION; VENTILATION; USE OF AIR CURRENTS FOR SCREENING
    • F24F11/00Control or safety arrangements
    • F24F11/70Control systems characterised by their outputs; Constructional details thereof
    • FMECHANICAL ENGINEERING; LIGHTING; HEATING; WEAPONS; BLASTING
    • F24HEATING; RANGES; VENTILATING
    • F24FAIR-CONDITIONING; AIR-HUMIDIFICATION; VENTILATION; USE OF AIR CURRENTS FOR SCREENING
    • F24F11/00Control or safety arrangements
    • F24F11/70Control systems characterised by their outputs; Constructional details thereof
    • F24F11/80Control systems characterised by their outputs; Constructional details thereof for controlling the temperature of the supplied air
    • F24F11/83Control systems characterised by their outputs; Constructional details thereof for controlling the temperature of the supplied air by controlling the supply of heat-exchange fluids to heat-exchangers
    • F24F11/85Control systems characterised by their outputs; Constructional details thereof for controlling the temperature of the supplied air by controlling the supply of heat-exchange fluids to heat-exchangers using variable-flow pumps
    • FMECHANICAL ENGINEERING; LIGHTING; HEATING; WEAPONS; BLASTING
    • F25REFRIGERATION OR COOLING; COMBINED HEATING AND REFRIGERATION SYSTEMS; HEAT PUMP SYSTEMS; MANUFACTURE OR STORAGE OF ICE; LIQUEFACTION SOLIDIFICATION OF GASES
    • F25BREFRIGERATION MACHINES, PLANTS OR SYSTEMS; COMBINED HEATING AND REFRIGERATION SYSTEMS; HEAT PUMP SYSTEMS
    • F25B1/00Compression machines, plants or systems with non-reversible cycle
    • FMECHANICAL ENGINEERING; LIGHTING; HEATING; WEAPONS; BLASTING
    • F24HEATING; RANGES; VENTILATING
    • F24FAIR-CONDITIONING; AIR-HUMIDIFICATION; VENTILATION; USE OF AIR CURRENTS FOR SCREENING
    • F24F11/00Control or safety arrangements
    • F24F11/62Control or safety arrangements characterised by the type of control or by internal processing, e.g. using fuzzy logic, adaptive control or estimation of values
    • F24F11/63Electronic processing
    • F24F11/64Electronic processing using pre-stored data
    • FMECHANICAL ENGINEERING; LIGHTING; HEATING; WEAPONS; BLASTING
    • F24HEATING; RANGES; VENTILATING
    • F24FAIR-CONDITIONING; AIR-HUMIDIFICATION; VENTILATION; USE OF AIR CURRENTS FOR SCREENING
    • F24F2140/00Control inputs relating to system states
    • F24F2140/10Pressure
    • F24F2140/12Heat-exchange fluid pressure
    • FMECHANICAL ENGINEERING; LIGHTING; HEATING; WEAPONS; BLASTING
    • F24HEATING; RANGES; VENTILATING
    • F24FAIR-CONDITIONING; AIR-HUMIDIFICATION; VENTILATION; USE OF AIR CURRENTS FOR SCREENING
    • F24F2140/00Control inputs relating to system states
    • F24F2140/20Heat-exchange fluid temperature
    • FMECHANICAL ENGINEERING; LIGHTING; HEATING; WEAPONS; BLASTING
    • F24HEATING; RANGES; VENTILATING
    • F24FAIR-CONDITIONING; AIR-HUMIDIFICATION; VENTILATION; USE OF AIR CURRENTS FOR SCREENING
    • F24F2140/00Control inputs relating to system states
    • F24F2140/50Load
    • FMECHANICAL ENGINEERING; LIGHTING; HEATING; WEAPONS; BLASTING
    • F24HEATING; RANGES; VENTILATING
    • F24FAIR-CONDITIONING; AIR-HUMIDIFICATION; VENTILATION; USE OF AIR CURRENTS FOR SCREENING
    • F24F2203/00Devices or apparatus used for air treatment
    • F24F2203/02System or Device comprising a heat pump as a subsystem, e.g. combined with humidification/dehumidification, heating, natural energy or with hybrid system
    • F24F2203/021Compression cycle
    • FMECHANICAL ENGINEERING; LIGHTING; HEATING; WEAPONS; BLASTING
    • F24HEATING; RANGES; VENTILATING
    • F24FAIR-CONDITIONING; AIR-HUMIDIFICATION; VENTILATION; USE OF AIR CURRENTS FOR SCREENING
    • F24F5/00Air-conditioning systems or apparatus not covered by F24F1/00 or F24F3/00, e.g. using solar heat or combined with household units such as an oven or water heater
    • F24F5/0007Air-conditioning systems or apparatus not covered by F24F1/00 or F24F3/00, e.g. using solar heat or combined with household units such as an oven or water heater cooling apparatus specially adapted for use in air-conditioning
    • F24F5/001Compression cycle type

Definitions

  • the present invention relates to a heat medium cycle system including a refrigeration cycle circuit and a heat medium cycle circuit.
  • Examples of known heat medium cycle systems such as a water cycle air-conditioning system, include an air-conditioning system including a chilling unit, serving as a heat source.
  • an air-conditioning system is used in, for example, a building or a large commercial facility.
  • the air-conditioning system circulates water, serving as a heat medium, through a structure in such a manner that heat from the water is used for cooling or heating through a fan coil unit or an air handling unit, serving as a load-side device.
  • a plurality of chilling units are typically installed parallel to each other in a single water cycle circuit. Water through the water cycle circuit is circulated through the plurality of chilling units via header pipes.
  • the use of an inverter-driven compressor and an inverter-driven water circulating pump is effective in saving power.
  • To control inverters for the compressor and the water circulating pump the temperature of the water is measured and the optimum control for a load is performed on the basis of the measured water temperature.
  • the air-conditioning system including the plurality of chilling units, not only the inverters but also the number of chilling units that are being operated are controlled to achieve power saving.
  • An effective manner to save power includes adjusting the flow rate of the water through the chilling units on the basis of a load. For example, reducing the water flow rate is effective when the load is small, to reduce water sending power. However, when the water flowing through the chilling units is cold, a reduction in water flow rate may cause a water heat exchanger to freeze and break.
  • a known technique for protecting the water heat exchanger includes measuring the difference in water pressure between an inlet and an outlet of the water heat exchanger by using two water pressure sensors each provided at a corresponding one of the inlet and the outlet of the water heat exchanger, converting the pressure difference into a water flow rate, and keeping the compressor from being activated when the water flow rate has not reached a predetermined value (refer to Patent Literature 1, for example).
  • Patent Literature 1 Japanese Patent No. 5622859
  • Patent Literature 1 discloses a heat medium cycle system that uses water pressure sensors only to inhibit a compressor from being operated when water in a water heat exchanger is frozen. Disadvantageously, the provided water pressure sensors are not effectively used for other purposes, and no consideration is given to preventing the water from freezing in the water heat exchanger. Once the water is frozen in the water heat exchanger, the heat medium cycle system inconveniently cannot be used until the frozen water is eliminated.
  • the present invention aims to overcome the above-described disadvantages and to provide a heat medium cycle system capable of being continuously operated while a heat medium is being prevented from freezing in a heat medium heat exchanger by using a pressure difference of the heat medium obtained from a measurement value of an inlet pressure sensor provided at an inlet of the heat medium heat exchanger and a measurement value of an outlet pressure sensor provided at an outlet of the heat medium heat exchanger.
  • a heat medium cycle system includes a refrigeration cycle circuit, through which refrigerant is circulated, including a compressor, a heat-source-side heat exchanger, an expansion device, and a heat medium heat exchanger connected by pipes and a heat medium cycle circuit, through which a heat medium is circulated, including a pump circulating the heat medium, the heat medium heat exchanger, and a load-side heat exchanger connected by pipes.
  • the heat medium cycle system further includes an inlet temperature sensor configured to measure a temperature of the heat medium at a heat medium inlet of the heat medium heat exchanger, an inlet pressure sensor configured to measure a pressure of the heat medium at the heat medium inlet of the heat medium heat exchanger, an outlet pressure sensor configured to measure a pressure of the heat medium at a heat medium outlet of the heat medium heat exchanger, an evaporating temperature sensor configured to detect an evaporating temperature of the refrigerant in the heat medium heat exchanger, and a controller configured to, under a first condition where the heat medium is to freeze in the heat medium heat exchanger, obtain a minimum on-state flow rate at which the heat medium is kept from freezing in the heat medium heat exchanger, on the basis of the temperature of the heat medium at the heat medium inlet measured by the inlet temperature sensor and the evaporating temperature of the refrigerant detected by the evaporating temperature sensor, and control the pump in such a manner that the minimum on-state flow rate is maintained to make a pressure difference of the heat medium obtained from
  • the controller under the first condition where the heat medium is to freeze in the heat medium heat exchanger, the controller obtains the minimum on-state flow rate at which the heat medium is kept from freezing in the heat medium heat exchanger, on the basis of the temperature of the heat medium at the heat medium inlet measured by the inlet temperature sensor and the evaporating temperature of the refrigerant detected by the evaporating temperature sensor. Then, the controller controls the pump in such a manner that the minimum on-state flow rate is maintained to make the pressure difference of the heat medium obtained from the measurement values of the input pressure sensor and the outlet pressure sensor into the minimum on-state pressure difference.
  • the pressure difference of the heat medium obtained from the measurement values of the inlet pressure sensor placed at the inlet of the heat medium heat exchanger and the outlet pressure sensor placed at the outlet of the heat medium heat exchanger is used to prevent the heat medium from freezing in the heat medium heat exchanger, thus preventing the heat medium cycle system from being stopped.
  • Fig. 1 is a schematic diagram illustrating an exemplary configuration of a water cycle air-conditioning system 100 according to Embodiment 1 of the present invention.
  • the water cycle air-conditioning system 100 will be described as an example of a heat medium cycle system according to the present invention.
  • the water cycle air-conditioning system 100 includes a chilling unit 1 and a water circuit 2 including the chilling unit 1.
  • the water circuit 2 corresponds to a heat medium cycle circuit in the present invention.
  • Water circulated through the water circuit 2 corresponds to a heat medium in the present invention.
  • the chilling unit 1 includes a refrigeration cycle circuit 10, a water circulating pump 3, and a controller 20, and constitutes part of the water circuit 2.
  • the refrigeration cycle circuit 10 includes a compressor 11, a heat-source-side heat exchanger 12, an expansion device 13, and a water heat exchanger 14 connected by pipes in such a manner that refrigerant is circulated through the refrigeration cycle circuit 10.
  • the compressor 11 compresses the refrigerant, serving as heat-source-side refrigerant, such as chlorofluorocarbon.
  • the compressor 11 is inverter-controlled by the controller 20.
  • the heat-source-side heat exchanger 12 exchanges heat between the refrigerant and air, such as outside air.
  • An air-sending fan 15 sending the air to the heat-source-side heat exchanger 12 is disposed next to the heat-source-side heat exchanger 12.
  • the air-sending fan 15 is inverter-controlled by the controller 20.
  • the expansion device 13 adjusts the pressure of the refrigerant. Opening and closing of the expansion device 13 is controlled by the controller 20.
  • a valve whose opening degree is adjustable for example, a linear expansion valve (LEV), can be used.
  • LEV linear expansion valve
  • the expansion device 13 include a capillary tube whose opening degree is fixed.
  • the water heat exchanger 14 exchanges heat between the refrigerant and water different from the refrigerant.
  • the water heat exchanger 14 cools the water circulated through the water circuit 2 to a target temperature by using heat from the refrigerant.
  • the water heat exchanger 14 corresponds to a heat medium heat exchanger in the present invention.
  • the water circuit 2 includes the chilling unit 1, a load-side heat exchanger 4, and a control valve 5 connected by pipes in such a manner that the water is circulated through the water circuit 2.
  • the water circulating pump 3 of the chilling unit 1 circulates the water for heat exchange in the water heat exchanger 14 through the water circuit 2.
  • the water circulating pump 3 is inverter-controlled by the controller 20.
  • a heat exchanger that cools indoor air in a structure by using the water circulated through the water circuit 2 is used.
  • the control valve 5 adjusts the flow rate of the water flowing through the load-side heat exchanger 4.
  • the opening degree of the control valve 5 is adjusted toward an open position or a closed position by the controller 20.
  • the controller 20 includes a microcomputer including a central processing unit (CPU), a read-only memory (ROM), a random access memory (RAM), and an input-output (I/O) port.
  • CPU central processing unit
  • ROM read-only memory
  • RAM random access memory
  • I/O input-output
  • the controller 20 is connected to various sensors by wired or wireless control signal lines 21 in such a manner that the controller can receive measurement values from the sensors.
  • the sensors include an inlet temperature sensor 22, an outlet temperature sensor 23, an inlet pressure sensor 24, an outlet pressure sensor 25, and a refrigerant temperature sensor 26.
  • the controller 20 is connected to the compressor 11, the air-sending fan 15, the expansion device 13, and the water circulating pump 3 by wired or wireless control signal lines 21 in such a manner that the controller can transmit operation instructions to these components.
  • the controller 20 stores a table from which a minimum on-state flow rate is obtained on the basis of the temperature of the water at a water inlet measured by the inlet temperature sensor 22 and the evaporating temperature of the refrigerant detected by the refrigerant temperature sensor 26.
  • the inlet temperature sensor 22 measures the temperature of the water at the water inlet of the water heat exchanger 14.
  • the outlet temperature sensor 23 measures the temperature of the water at a water outlet of the water heat exchanger 14.
  • the inlet pressure sensor 24 measures the pressure of the water at the water inlet of the water heat exchanger 14.
  • the outlet pressure sensor 25 measures the pressure of the water at the water outlet of the water heat exchanger 14.
  • the refrigerant temperature sensor 26 detects the evaporating temperature of the refrigerant in the water heat exchanger 14.
  • the refrigerant temperature sensor 26 corresponds to an evaporating temperature sensor in the present invention.
  • a refrigerant pressure sensor that measures the pressure of the refrigerant at a refrigerant outlet of the water heat exchanger 14 may be used.
  • the controller 20 calculates optimum operating conditions on the basis of measurement values of the inlet temperature sensor 22, the outlet temperature sensor 23, the inlet pressure sensor 24, and the outlet pressure sensor 25, and a detection value of the refrigerant temperature sensor 26. Furthermore, the controller 20 outputs operation instructions for the calculated optimum operating conditions to the compressor 11, the air-sending fan 15, the expansion device 13, and the water circulating pump 3, and controls these components.
  • the controller 20 is connected in communication with a remote control 6 by a wireless control signal line 27.
  • the controller 20 changes condition settings of the operating conditions in response to a user operation on the remote control 6, and enables the changed condition settings to be displayed on the remote control 6.
  • the controller 20 measures temperatures, which vary depending on the amount of heat required for the load-side heat exchanger 4, of the water circulated through the water circuit 2 by using the inlet temperature sensor 22 placed at the water inlet of the water heat exchanger 14 and the outlet temperature sensor 23 placed at the water outlet of the water heat exchanger 14. Then, the controller 20 calculates, on the basis of the measurement values of the inlet temperature sensor 22 and the outlet temperature sensor 23, the rotation frequency of the compressor 11, the rotation frequency of the air-sending fan 15, the opening degree of the expansion device 13, and the rotation frequency of the water circulating pump 3 for an optimum operating efficiency. The controller 20 transmits operation instructions based on the calculation results to the compressor 11, the air-sending fan 15, the expansion device 13, and the water circulating pump 3. The controller 20 controls the compressor 11, the air-sending fan 15, the expansion device 13, and the water circulating pump 3 so that the measurement value of the outlet temperature sensor 23 reaches a target water temperature.
  • a reduction in load during operation of the water cycle air-conditioning system 100 leads to a reduction in difference between the temperature of the water at the water outlet and that at the water inlet of the water heat exchanger 14. For this reason, the rotation frequency of the compressor 11, the rotation frequency of the air-sending fan 15, and the rotation frequency of the water circulating pump 3 are reduced.
  • a reduction in rotation frequency of the water circulating pump 3 results in a reduction in flow rate of the water through the water heat exchanger 14.
  • the water freezes in the water heat exchanger 14, possibly causing the water heat exchanger 14 to be broken.
  • the controller 20 can estimate the flow rate of the water through the water circuit 2 on the basis of a water pressure difference obtained from the measurement values of the inlet pressure sensor 24 and the outlet pressure sensor 25 by using Bernoulli's theorem. Consequently, under operating conditions where the temperature of the refrigerant is below freezing, that is, the water is to freeze in the water heat exchanger 14 of the chilling unit 1 in the water circuit 2, the controller 20 adjusts the rotation frequency of the water circulating pump 3 to maintain the minimum on-state flow rate of the water at which the water is kept from freezing in the water heat exchanger 14.
  • the controller 20 calculates the minimum on-state flow rate at which the water is kept from freezing in the water heat exchanger 14. Then, the controller 20 adjusts the rotation frequency of the water circulating pump 3 to maintain the minimum on-state flow rate in such a manner that the water pressure difference obtained from the measurement values of the inlet pressure sensor 24 and the outlet pressure sensor 25 is at a minimum on-state pressure difference.
  • the minimum on-state flow rate of the water at which the water is kept from freezing in the water heat exchanger 14 varies depending on the relationship between the evaporating temperature of the refrigerant and the temperature of the water at the water inlet of the water heat exchanger 14.
  • Fig. 2 is a characteristic graph showing the relationship between the refrigerant evaporating temperature, the inlet water temperature, and the minimum on-state flow rate of the water in Embodiment 1 of the present invention.
  • the controller 20 stores the table representing the relationship in the characteristic graph of Fig. 2 .
  • the controller 20 receives an inlet water temperature that is a measurement value of the inlet temperature sensor 22 and a refrigerant temperature that is a measurement value of the refrigerant temperature sensor 26, and applies the temperatures to the table in Fig. 2 , thus automatically calculating the minimum on-state flow rate. At high inlet water temperatures, therefore, the minimum on-state flow rate can be reduced, thus reducing the power consumption.
  • the minimum on-state flow rate obtained from the table in Fig. 2 is the flow rate maintained to keep the water from freezing in the water heat exchanger 14 even when the rotation frequency of the water circulating pump 3 can be further reduced under conditions where the load decreases and the opening degree of the control valve 5 adjusting the flow rate of the water flowing through the load-side heat exchanger 4 is adjusted toward the closed position.
  • the inlet temperature sensor 22 and the inlet pressure sensor 24 are arranged in the pipe adjacent to the water inlet of the water heat exchanger 14.
  • the outlet temperature sensor 23 and the outlet pressure sensor 25 are arranged in the pipe adjacent to the water outlet of the water heat exchanger 14.
  • the refrigerant temperature sensor 26 is disposed adjacent to a refrigerant passage in the water heat exchanger 14.
  • the controller 20 calculates optimum operating conditions from the measurement values of the inlet temperature sensor 22, the outlet temperature sensor 23, the inlet pressure sensor 24, and the outlet pressure sensor 25, and the detection value of the refrigerant temperature sensor 26 connected by the control signal lines 21.
  • the controller 20 transmits operation instructions based on the calculated optimum operating conditions to the compressor 11, the air-sending fan 15, the expansion device 13, and the water circulating pump 3.
  • the controller 20 controls the compressor 11, the air-sending fan 15, the expansion device 13, and the water circulating pump 3 so that the measurement value of the outlet temperature sensor 23 reaches the target water temperature.
  • the controller 20 calculates the minimum on-state flow rate at which the water is kept from freezing in the water heat exchanger 14. Then, the controller 20 adjusts the rotation frequency of the water circulating pump 3 to maintain the minimum on-state flow rate in such a manner that the water pressure difference obtained from the measurement values of the inlet pressure sensor 24 and the outlet pressure sensor 25 is at the minimum on-state pressure difference. Consequently, the minimum on-state flow rate at which the water is kept from freezing in the water heat exchanger 14 can be maintained, thus achieving high efficiency of the water cycle air-conditioning system 100. Furthermore, the water is prevented from freezing in the water heat exchanger 14. This operation enables the water cycle air-conditioning system 100 to be continuously operated, thus enhancing convenience.
  • Fig. 3 is a flowchart illustrating control for the water cycle air-conditioning system 100 according to Embodiment 1 of the present invention.
  • step S1 the controller 20 measures an outlet water temperature of the water heat exchanger 14 by using the outlet temperature sensor 23.
  • step S2 the controller 20 determines whether the measured outlet water temperature of the water heat exchanger 14 has reached a target water temperature. When the outlet water temperature has reached the target water temperature, the process proceeds to step S3. When the outlet water temperature has not reached the target water temperature, the process proceeds to step S4.
  • step S4 the controller 20 increases the rotation frequency of the compressor 11 and the rotation frequency of the air-sending fan 15. After step S4, the process returns to step S1.
  • step S3 the controller 20 determines whether the rotation frequency of the water circulating pump 3 can be reduced. Whether the rotation frequency of the water circulating pump 3 can be reduced is determined on the basis of, for example, determination on whether the difference between the outlet water temperature and an inlet water temperature of the water heat exchanger 14 is less than a set value.
  • the process proceeds to step S5.
  • the process returns to step S1.
  • step S5 the controller 20 reduces the rotation frequency of the water circulating pump 3.
  • step 5 may be taken under operating conditions where the temperature of the refrigerant is below freezing, that is, the water is to freeze in the water heat exchanger 14 of the water circuit 2.
  • the rotation frequency of the compressor 11 and that of the air-sending fan 15 can be reduced in addition to the rotation frequency of the water circulating pump 3.
  • the rotation frequency of the water circulating pump 3 is adjusted to maintain the minimum on-state flow rate.
  • the minimum on-state flow rate is automatically calculated by applying the inlet water temperature that is the measurement value of the inlet temperature sensor 22 and the refrigerant temperature that is the measurement value of the refrigerant temperature sensor 26 to the table in Fig. 2 .
  • the process proceeds step S6.
  • step S6 the controller 20 determines a water pressure difference between the pressure of the water inlet and that of the water outlet of the water heat exchanger 14.
  • This step in which the water pressure difference is obtained from the measurement values of the inlet pressure sensor 24 and the outlet pressure sensor 25, is taken to estimate the actual flow rate of the water through the water circuit 2 on the basis of the obtained water pressure difference by using Bernoulli's theorem.
  • the water pressure difference obtained in this step is the minimum on-state pressure difference at which the flow rate of the water through the water circulating pump 3 is at the minimum on-state flow rate.
  • step S7 the controller 20 determines whether the water flow rate estimated in step S6 meets the minimum on-state flow rate.
  • the minimum on-state flow rate is automatically calculated by applying the inlet water temperature that is the measurement value of the inlet temperature sensor 22 and the refrigerant temperature that is the measurement value of the refrigerant temperature sensor 26 to the table in Fig. 2 .
  • the controller 20 determines whether the water flow rate estimated in step S6 is greater than or equal to the calculated minimum on-state flow rate.
  • the process proceeds to step S8.
  • the process proceeds to step S9.
  • step S9 the controller 20 increases the rotation frequency of the water circulating pump 3, thus allowing the water flow rate to meet the minimum on-state flow rate. After step S9, the process returns to step S3.
  • step S8 the controller 20 maintains a state in which the water flow rate estimated in step S6 meets the minimum on-state flow rate. Consequently, even under conditions where the rotation frequency of the water circulating pump 3 is reduced and the water is to freeze in the water heat exchanger 14, the controller 20 adjusts the rotation frequency of the water circulating pump 3 to maintain the minimum on-state flow rate in such a manner that the water pressure difference is at the minimum on-state pressure difference. After step S8, the process terminates.
  • the water cycle air-conditioning system 100 includes the refrigeration cycle circuit 10, through which the refrigerant is circulated, including the compressor 11, the heat-source-side heat exchanger 12, the expansion device 13, and the water heat exchanger 14 connected by the pipes.
  • the water cycle air-conditioning system 100 includes the water circuit 2, through which the water is circulated, including the water circulating pump 3 circulating the water, the water heat exchanger 14, and the load-side heat exchanger 4 connected by the pipes.
  • the water cycle air-conditioning system 100 includes the inlet temperature sensor 22 measuring the temperature of the water at the water inlet of the water heat exchanger 14.
  • the water cycle air-conditioning system 100 includes the inlet pressure sensor 24 measuring the pressure of the water at the water inlet of the water heat exchanger 14.
  • the water cycle air-conditioning system 100 includes the outlet pressure sensor 25 measuring the pressure of the water at the water outlet of the water heat exchanger 14.
  • the water cycle air-conditioning system 100 includes the refrigerant temperature sensor 26 detecting the evaporating temperature of the refrigerant in the water heat exchanger 14.
  • the water cycle air-conditioning system 100 includes the controller 20, which obtains the minimum on-state flow rate at which the water is kept from freezing in the water heat exchanger 14, on the basis of the water temperature at the water inlet measured by the inlet temperature sensor 22 and the refrigerant evaporating temperature detected by the refrigerant temperature sensor 26 under conditions where the water is to freeze in the water heat exchanger 14.
  • the controller 20 controls the water circulating pump 3 in such a manner that the minimum on-state flow rate is maintained to make the water pressure difference obtained from the measurement values of the inlet pressure sensor 24 and the outlet pressure sensor 25 into the minimum on-state pressure difference.
  • the above-described configuration prevents the water from freezing in the water heat exchanger 14 by using the water pressure difference obtained from the measurement values of the inlet pressure sensor 24 placed at the water inlet of the water heat exchanger 14 and the outlet pressure sensor 25 placed at the water outlet of the water heat exchanger 14, thus preventing the water cycle air-conditioning system 100 from being stopped. Furthermore, the water heat exchanger 14 can be prevented from being broken by freezing of the water in the water heat exchanger 14.
  • the controller 20 controls the water circulating pump 3 in such a manner that the minimum on-state flow rate is maintained. Consequently, an excess of power for driving the water circulating pump 3 can be reduced, thus reducing the power consumption. This operation achieves high efficiency of the water cycle air-conditioning system 100.
  • Embodiment 1 in the case where the load decreases and the opening degree of the control valve 5 adjusting the flow rate of the water flowing through the load-side heat exchanger 4 is adjusted toward the closed position, the controller 20 controls the water circulating pump 3 in such a manner that the minimum on-state flow rate is maintained.
  • the controller 20 has the table from which the minimum on-state flow rate is obtained on the basis of the water temperature at the water inlet measured by the inlet temperature sensor 22 and the refrigerant evaporating temperature detected by the refrigerant temperature sensor 26.
  • the controller 20 obtains the minimum on-state flow rate by using the table.
  • Such a configuration enables the controller 20 to automatically obtain the minimum on-state flow rate from the table in Fig. 2 on the basis of the inlet water temperature at the water inlet measured by the inlet temperature sensor 22 and the refrigerant evaporating temperature detected by the refrigerant temperature sensor 26, thus achieving high efficiency of the water cycle air-conditioning system 100.
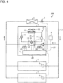
  • Fig. 4 is a schematic diagram illustrating an exemplary configuration of a water cycle air-conditioning system 200 according to Embodiment 2 of the present invention.
  • Embodiment 2 a description of the same components as those in Embodiment 1 is omitted. The following description will focus on differences between Embodiment 1 and Embodiment 2.
  • the water circuit 2 of the water cycle air-conditioning system 200 includes a plurality of chilling units 1, each including the refrigeration cycle circuit 10 and the water circulating pump 3, arranged in parallel to the load-side heat exchanger 4.
  • the plurality of chilling units 1 each have the configuration described in Embodiment 1.
  • each chilling unit 1 includes the refrigeration cycle circuit 10 and the water circulating pump 3 and constitutes part of the water circuit 2.
  • a water outlet pipe extending from the chilling unit 1 has no check valve.
  • the number of chilling units 1 is controlled on the basis of the amount of heat required for the load-side heat exchanger 4 in such a manner that one or more chilling units 1 can be stopped.
  • Embodiment 2 in a case where the compressor 11 is stopped in a corresponding one or more chilling units 1 of the plurality of chilling units 1, under conditions where the water is to flow in the direction opposite to the water sending direction, that is, the measurement value of the outlet pressure sensor 25 is greater than the measurement value of the inlet pressure sensor 24, the controller 20 of each of the corresponding one or more chilling units 1 calculates a minimum off-state flow rate at which the water is kept from flowing in the opposite direction, on the basis of a water pressure difference obtained from measurement values of the inlet pressure sensor 24 and the outlet pressure sensor 25.
  • each chilling unit 1 in which the compressor 11 is stopped would also be stopped in a traditional configuration.
  • the water circulating pump 3 is slightly operated to maintain the minimum off-state flow rate at which the water is kept from flowing in the opposite direction. This configuration enables omission of a check valve that prevents the water from flowing in the opposite direction.
  • the minimum off-state flow rate ensures that the water is kept from freezing in the water heat exchanger 14, similar to the minimum on-state flow rate in Embodiment 1.
  • the minimum off-state flow rate is a flow rate of greater than 0 at which only heat generated by operating the water circulating pump 3 is rejected.
  • the water circuit 2 includes the plurality of chilling units 1, each including the refrigeration cycle circuit 10 and the water circulating pump 3, arranged in parallel to the load-side heat exchanger 4.
  • the controller 20 of each of the corresponding one or more chilling units 1 obtains the minimum off-state flow rate at which the water is kept from flowing in the opposite direction, on the basis of the water pressure difference obtained from the measurement values of the inlet pressure sensor 24 and the outlet pressure sensor 25. Then, the controller 20 of each of the corresponding one or more chilling units 1, in each of which the compressor 11 is stopped, controls the water circulating pump 3 in such a manner that the minimum off-state flow rate is maintained.
  • Such a configuration prevents the water through the water circuit 2 from flowing in the opposite direction and thus enables omission of check valves.
  • the minimum off-state flow rate ensures that the water is kept from freezing in the water heat exchanger 14, similar to the minimum on-state flow rate. This operation prevents the water from freezing in the water heat exchanger 14, thus preventing the water cycle air-conditioning system 200 from being stopped. Furthermore, the water heat exchanger 14 can be prevented from being broken by freezing of the water in the water heat exchanger 14.
  • the minimum off-state flow rate is a flow rate of greater than 0 at which only heat generated by operating the water circulating pump 3 is rejected.
  • the minimum off-state flow rate at which the water is kept from flowing in the opposite direction can be calculated, and the water circulating pump 3 can be slightly operated in such a manner that the water does not flow in the direction opposite to the water sending direction in which the water circulating pump 3 sends the water, thus reducing the power consumption.
  • heat generated by the water circulating pump 3 that is being operated can be cooled.
  • the water cycle air-conditioning systems 100 and 200 have been described as examples.
  • the water cycle air-conditioning systems 100 and 200 include one or more chilling units 1 of an air heat source type that includes the water heat exchanger 14 for cooling the water to a target temperature by using heat from the heat-source-side refrigerant, such as chlorofluorocarbon.
  • Other applications include a water cycle air-conditioning system including, as a heat source, a chilling unit of a water heat source type in which a heat-source-side heat exchanger exchanges heat between water and heat-source-side refrigerant.
  • the water cycle air-conditioning system may include a four-way valve provided in the refrigeration cycle circuit so that heat from the heat-source-side refrigerant, such as chlorofluorocarbon, can be used not only to cool the water to a target temperature but also to heat the water to a target temperature.
  • the heat medium brine may be used instead of the water circulated through the water circuit.
  • Applications of the heat medium cycle system according to the present invention include systems through which the heat medium is circulated, including water cycle air-conditioning systems.
  • chilling unit 2 water circuit 3 water circulating pump 4 load-side heat exchanger 5 control valve 6 remote control 10 refrigeration cycle circuit 11 compressor 12 heat-source-side heat exchanger 13 expansion device 14 water heat exchanger 15 air-sending fan 20 controller 21 control signal line 22 inlet temperature sensor 23 outlet temperature sensor 24 inlet pressure sensor 25 outlet pressure sensor 26 refrigerant temperature sensor 27 control signal line 100 water cycle air-conditioning system 200 water cycle air-conditioning system

Landscapes

  • Engineering & Computer Science (AREA)
  • Mechanical Engineering (AREA)
  • General Engineering & Computer Science (AREA)
  • Chemical & Material Sciences (AREA)
  • Combustion & Propulsion (AREA)
  • Physics & Mathematics (AREA)
  • Thermal Sciences (AREA)
  • Fuzzy Systems (AREA)
  • Mathematical Physics (AREA)
  • Signal Processing (AREA)
  • Air Conditioning Control Device (AREA)

Abstract

Provided is a heat medium cycle system capable of being continuously operated while a heat medium is being prevented from freezing in a heat medium heat exchanger by using a pressure difference of the heat medium obtained from a measurement value of an inlet pressure sensor provided at an inlet of the heat medium heat exchanger and a measurement value of an outlet pressure sensor provided at an outlet of the heat medium heat exchanger. The heat medium cycle system includes a refrigeration cycle circuit, a heat medium cycle circuit, an inlet temperature sensor, the inlet pressure sensor, the outlet pressure sensor, an evaporating temperature sensor, and a controller. Under a first condition where the heat medium is to freeze in the heat medium heat exchanger, the controller is configured to obtain a minimum on-state flow rate at which the heat medium is kept from freezing in the heat medium heat exchanger, on the basis of a temperature of the heat medium at a heat medium inlet measured by the inlet temperature sensor and an evaporating temperature of refrigerant detected by the evaporating temperature sensor, and control a pump in such a manner that the minimum on-state flow rate is maintained to make the pressure difference of the heat medium obtained from a measurement value of the inlet pressure sensor and a measurement value of the outlet pressure sensor into a minimum on-state pressure difference.

Description

    Technical Field
  • The present invention relates to a heat medium cycle system including a refrigeration cycle circuit and a heat medium cycle circuit.
  • Background Art
  • Examples of known heat medium cycle systems, such as a water cycle air-conditioning system, include an air-conditioning system including a chilling unit, serving as a heat source. Such an air-conditioning system is used in, for example, a building or a large commercial facility. The air-conditioning system circulates water, serving as a heat medium, through a structure in such a manner that heat from the water is used for cooling or heating through a fan coil unit or an air handling unit, serving as a load-side device.
  • A plurality of chilling units are typically installed parallel to each other in a single water cycle circuit. Water through the water cycle circuit is circulated through the plurality of chilling units via header pipes.
  • In this air-conditioning system, the use of an inverter-driven compressor and an inverter-driven water circulating pump is effective in saving power. To control inverters for the compressor and the water circulating pump, the temperature of the water is measured and the optimum control for a load is performed on the basis of the measured water temperature.
  • In the air-conditioning system including the plurality of chilling units, not only the inverters but also the number of chilling units that are being operated are controlled to achieve power saving.
  • An effective manner to save power includes adjusting the flow rate of the water through the chilling units on the basis of a load. For example, reducing the water flow rate is effective when the load is small, to reduce water sending power. However, when the water flowing through the chilling units is cold, a reduction in water flow rate may cause a water heat exchanger to freeze and break.
  • A known technique for protecting the water heat exchanger includes measuring the difference in water pressure between an inlet and an outlet of the water heat exchanger by using two water pressure sensors each provided at a corresponding one of the inlet and the outlet of the water heat exchanger, converting the pressure difference into a water flow rate, and keeping the compressor from being activated when the water flow rate has not reached a predetermined value (refer to Patent Literature 1, for example).
  • Citation List Patent Literature
  • Patent Literature 1: Japanese Patent No. 5622859
  • Summary of Invention Technical Problem
  • Patent Literature 1 discloses a heat medium cycle system that uses water pressure sensors only to inhibit a compressor from being operated when water in a water heat exchanger is frozen. Disadvantageously, the provided water pressure sensors are not effectively used for other purposes, and no consideration is given to preventing the water from freezing in the water heat exchanger. Once the water is frozen in the water heat exchanger, the heat medium cycle system inconveniently cannot be used until the frozen water is eliminated.
  • The present invention aims to overcome the above-described disadvantages and to provide a heat medium cycle system capable of being continuously operated while a heat medium is being prevented from freezing in a heat medium heat exchanger by using a pressure difference of the heat medium obtained from a measurement value of an inlet pressure sensor provided at an inlet of the heat medium heat exchanger and a measurement value of an outlet pressure sensor provided at an outlet of the heat medium heat exchanger.
  • Solution to Problem
  • A heat medium cycle system according to an embodiment of the present invention includes a refrigeration cycle circuit, through which refrigerant is circulated, including a compressor, a heat-source-side heat exchanger, an expansion device, and a heat medium heat exchanger connected by pipes and a heat medium cycle circuit, through which a heat medium is circulated, including a pump circulating the heat medium, the heat medium heat exchanger, and a load-side heat exchanger connected by pipes. The heat medium cycle system further includes an inlet temperature sensor configured to measure a temperature of the heat medium at a heat medium inlet of the heat medium heat exchanger, an inlet pressure sensor configured to measure a pressure of the heat medium at the heat medium inlet of the heat medium heat exchanger, an outlet pressure sensor configured to measure a pressure of the heat medium at a heat medium outlet of the heat medium heat exchanger, an evaporating temperature sensor configured to detect an evaporating temperature of the refrigerant in the heat medium heat exchanger, and a controller configured to, under a first condition where the heat medium is to freeze in the heat medium heat exchanger, obtain a minimum on-state flow rate at which the heat medium is kept from freezing in the heat medium heat exchanger, on the basis of the temperature of the heat medium at the heat medium inlet measured by the inlet temperature sensor and the evaporating temperature of the refrigerant detected by the evaporating temperature sensor, and control the pump in such a manner that the minimum on-state flow rate is maintained to make a pressure difference of the heat medium obtained from a measurement value of the inlet pressure sensor and a measurement value of the outlet pressure sensor into a minimum on-state pressure difference.
  • Advantageous Effects of Invention
  • In the heat medium cycle system according to an embodiment of the present invention, under the first condition where the heat medium is to freeze in the heat medium heat exchanger, the controller obtains the minimum on-state flow rate at which the heat medium is kept from freezing in the heat medium heat exchanger, on the basis of the temperature of the heat medium at the heat medium inlet measured by the inlet temperature sensor and the evaporating temperature of the refrigerant detected by the evaporating temperature sensor. Then, the controller controls the pump in such a manner that the minimum on-state flow rate is maintained to make the pressure difference of the heat medium obtained from the measurement values of the input pressure sensor and the outlet pressure sensor into the minimum on-state pressure difference. Consequently, the pressure difference of the heat medium obtained from the measurement values of the inlet pressure sensor placed at the inlet of the heat medium heat exchanger and the outlet pressure sensor placed at the outlet of the heat medium heat exchanger is used to prevent the heat medium from freezing in the heat medium heat exchanger, thus preventing the heat medium cycle system from being stopped.
  • Brief Description of Drawings
    • Fig. 1 is a schematic diagram illustrating an exemplary configuration of a water cycle air-conditioning system according to Embodiment 1 of the present invention.
    • Fig. 2 is a characteristic graph showing the relationship between the evaporating temperature of refrigerant, the inlet temperature of water, and the minimum on-state flow rate of the water in Embodiment 1 of the present invention.
    • Fig. 3 is a flowchart illustrating control for the water cycle air-conditioning system according to Embodiment 1 of the present invention.
    • Fig. 4 is a schematic diagram illustrating an exemplary configuration of a water cycle air-conditioning system according to Embodiment 2 of the present invention.
    Description of Embodiments
  • Embodiments of the present invention will be described below with reference to the drawings.
  • Note that components designated by the same reference signs in the figures are the same components or equivalents. The same reference signs apply to the entire description herein.
  • Furthermore, note that the forms of components described herein are intended to be illustrative only and the forms of components are not limited to the descriptions of the forms of components.
  • Embodiment 1
  • Fig. 1 is a schematic diagram illustrating an exemplary configuration of a water cycle air-conditioning system 100 according to Embodiment 1 of the present invention. In Embodiment 1, the water cycle air-conditioning system 100 will be described as an example of a heat medium cycle system according to the present invention.
  • The water cycle air-conditioning system 100 includes a chilling unit 1 and a water circuit 2 including the chilling unit 1. The water circuit 2 corresponds to a heat medium cycle circuit in the present invention. Water circulated through the water circuit 2 corresponds to a heat medium in the present invention.
  • The chilling unit 1 includes a refrigeration cycle circuit 10, a water circulating pump 3, and a controller 20, and constitutes part of the water circuit 2.
  • In the chilling unit 1, the refrigeration cycle circuit 10 includes a compressor 11, a heat-source-side heat exchanger 12, an expansion device 13, and a water heat exchanger 14 connected by pipes in such a manner that refrigerant is circulated through the refrigeration cycle circuit 10.
  • The compressor 11 compresses the refrigerant, serving as heat-source-side refrigerant, such as chlorofluorocarbon. The compressor 11 is inverter-controlled by the controller 20. The heat-source-side heat exchanger 12 exchanges heat between the refrigerant and air, such as outside air. An air-sending fan 15 sending the air to the heat-source-side heat exchanger 12 is disposed next to the heat-source-side heat exchanger 12. The air-sending fan 15 is inverter-controlled by the controller 20. The expansion device 13 adjusts the pressure of the refrigerant. Opening and closing of the expansion device 13 is controlled by the controller 20. For the expansion device 13, a valve whose opening degree is adjustable, for example, a linear expansion valve (LEV), can be used. Other usable examples of the expansion device 13 include a capillary tube whose opening degree is fixed. The water heat exchanger 14 exchanges heat between the refrigerant and water different from the refrigerant. The water heat exchanger 14 cools the water circulated through the water circuit 2 to a target temperature by using heat from the refrigerant. The water heat exchanger 14 corresponds to a heat medium heat exchanger in the present invention.
  • The water circuit 2 includes the chilling unit 1, a load-side heat exchanger 4, and a control valve 5 connected by pipes in such a manner that the water is circulated through the water circuit 2.
  • The water circulating pump 3 of the chilling unit 1 circulates the water for heat exchange in the water heat exchanger 14 through the water circuit 2. The water circulating pump 3 is inverter-controlled by the controller 20.
  • For the load-side heat exchanger 4, for example, a heat exchanger that cools indoor air in a structure by using the water circulated through the water circuit 2 is used.
  • The control valve 5 adjusts the flow rate of the water flowing through the load-side heat exchanger 4. The opening degree of the control valve 5 is adjusted toward an open position or a closed position by the controller 20.
  • The controller 20 includes a microcomputer including a central processing unit (CPU), a read-only memory (ROM), a random access memory (RAM), and an input-output (I/O) port.
  • The controller 20 is connected to various sensors by wired or wireless control signal lines 21 in such a manner that the controller can receive measurement values from the sensors. The sensors include an inlet temperature sensor 22, an outlet temperature sensor 23, an inlet pressure sensor 24, an outlet pressure sensor 25, and a refrigerant temperature sensor 26.
  • The controller 20 is connected to the compressor 11, the air-sending fan 15, the expansion device 13, and the water circulating pump 3 by wired or wireless control signal lines 21 in such a manner that the controller can transmit operation instructions to these components.
  • The controller 20 stores a table from which a minimum on-state flow rate is obtained on the basis of the temperature of the water at a water inlet measured by the inlet temperature sensor 22 and the evaporating temperature of the refrigerant detected by the refrigerant temperature sensor 26.
  • The inlet temperature sensor 22 measures the temperature of the water at the water inlet of the water heat exchanger 14. The outlet temperature sensor 23 measures the temperature of the water at a water outlet of the water heat exchanger 14. The inlet pressure sensor 24 measures the pressure of the water at the water inlet of the water heat exchanger 14. The outlet pressure sensor 25 measures the pressure of the water at the water outlet of the water heat exchanger 14. The refrigerant temperature sensor 26 detects the evaporating temperature of the refrigerant in the water heat exchanger 14.
  • The refrigerant temperature sensor 26 corresponds to an evaporating temperature sensor in the present invention. For the evaporating temperature sensor, a refrigerant pressure sensor that measures the pressure of the refrigerant at a refrigerant outlet of the water heat exchanger 14 may be used.
  • The controller 20 calculates optimum operating conditions on the basis of measurement values of the inlet temperature sensor 22, the outlet temperature sensor 23, the inlet pressure sensor 24, and the outlet pressure sensor 25, and a detection value of the refrigerant temperature sensor 26. Furthermore, the controller 20 outputs operation instructions for the calculated optimum operating conditions to the compressor 11, the air-sending fan 15, the expansion device 13, and the water circulating pump 3, and controls these components.
  • The controller 20 is connected in communication with a remote control 6 by a wireless control signal line 27. The controller 20 changes condition settings of the operating conditions in response to a user operation on the remote control 6, and enables the changed condition settings to be displayed on the remote control 6.
  • An operation of the water cycle air-conditioning system 100 will be described below.
  • In the water cycle air-conditioning system 100, the controller 20 measures temperatures, which vary depending on the amount of heat required for the load-side heat exchanger 4, of the water circulated through the water circuit 2 by using the inlet temperature sensor 22 placed at the water inlet of the water heat exchanger 14 and the outlet temperature sensor 23 placed at the water outlet of the water heat exchanger 14. Then, the controller 20 calculates, on the basis of the measurement values of the inlet temperature sensor 22 and the outlet temperature sensor 23, the rotation frequency of the compressor 11, the rotation frequency of the air-sending fan 15, the opening degree of the expansion device 13, and the rotation frequency of the water circulating pump 3 for an optimum operating efficiency. The controller 20 transmits operation instructions based on the calculation results to the compressor 11, the air-sending fan 15, the expansion device 13, and the water circulating pump 3. The controller 20 controls the compressor 11, the air-sending fan 15, the expansion device 13, and the water circulating pump 3 so that the measurement value of the outlet temperature sensor 23 reaches a target water temperature.
  • A reduction in load during operation of the water cycle air-conditioning system 100 leads to a reduction in difference between the temperature of the water at the water outlet and that at the water inlet of the water heat exchanger 14. For this reason, the rotation frequency of the compressor 11, the rotation frequency of the air-sending fan 15, and the rotation frequency of the water circulating pump 3 are reduced.
  • In a cooling operation of the water cycle air-conditioning system 100 illustrated in Fig. 1, a reduction in rotation frequency of the water circulating pump 3 results in a reduction in flow rate of the water through the water heat exchanger 14. At this time, under operating conditions where the temperature of the refrigerant is below freezing, that is, the water is to freeze in the water heat exchanger 14 of the water circuit 2, the water freezes in the water heat exchanger 14, possibly causing the water heat exchanger 14 to be broken.
  • However, reducing the rotation frequency of the water circulating pump 3 to reduce the flow rate of the water is effective in reducing the water sending power. This operation is effective in reducing power consumption. Furthermore, output power can be easily increased again because the water cycle air-conditioning system 100 is not stopped.
  • The controller 20 can estimate the flow rate of the water through the water circuit 2 on the basis of a water pressure difference obtained from the measurement values of the inlet pressure sensor 24 and the outlet pressure sensor 25 by using Bernoulli's theorem. Consequently, under operating conditions where the temperature of the refrigerant is below freezing, that is, the water is to freeze in the water heat exchanger 14 of the chilling unit 1 in the water circuit 2, the controller 20 adjusts the rotation frequency of the water circulating pump 3 to maintain the minimum on-state flow rate of the water at which the water is kept from freezing in the water heat exchanger 14.
  • Specifically, under operating conditions where the water is to freeze in the water heat exchanger 14, the controller 20 calculates the minimum on-state flow rate at which the water is kept from freezing in the water heat exchanger 14. Then, the controller 20 adjusts the rotation frequency of the water circulating pump 3 to maintain the minimum on-state flow rate in such a manner that the water pressure difference obtained from the measurement values of the inlet pressure sensor 24 and the outlet pressure sensor 25 is at a minimum on-state pressure difference.
  • The minimum on-state flow rate of the water at which the water is kept from freezing in the water heat exchanger 14 varies depending on the relationship between the evaporating temperature of the refrigerant and the temperature of the water at the water inlet of the water heat exchanger 14.
  • Fig. 2 is a characteristic graph showing the relationship between the refrigerant evaporating temperature, the inlet water temperature, and the minimum on-state flow rate of the water in Embodiment 1 of the present invention. The controller 20 stores the table representing the relationship in the characteristic graph of Fig. 2.
  • The controller 20 receives an inlet water temperature that is a measurement value of the inlet temperature sensor 22 and a refrigerant temperature that is a measurement value of the refrigerant temperature sensor 26, and applies the temperatures to the table in Fig. 2, thus automatically calculating the minimum on-state flow rate. At high inlet water temperatures, therefore, the minimum on-state flow rate can be reduced, thus reducing the power consumption.
  • The minimum on-state flow rate obtained from the table in Fig. 2 is the flow rate maintained to keep the water from freezing in the water heat exchanger 14 even when the rotation frequency of the water circulating pump 3 can be further reduced under conditions where the load decreases and the opening degree of the control valve 5 adjusting the flow rate of the water flowing through the load-side heat exchanger 4 is adjusted toward the closed position.
  • As described above, the inlet temperature sensor 22 and the inlet pressure sensor 24 are arranged in the pipe adjacent to the water inlet of the water heat exchanger 14. The outlet temperature sensor 23 and the outlet pressure sensor 25 are arranged in the pipe adjacent to the water outlet of the water heat exchanger 14. The refrigerant temperature sensor 26 is disposed adjacent to a refrigerant passage in the water heat exchanger 14. The controller 20 calculates optimum operating conditions from the measurement values of the inlet temperature sensor 22, the outlet temperature sensor 23, the inlet pressure sensor 24, and the outlet pressure sensor 25, and the detection value of the refrigerant temperature sensor 26 connected by the control signal lines 21. The controller 20 transmits operation instructions based on the calculated optimum operating conditions to the compressor 11, the air-sending fan 15, the expansion device 13, and the water circulating pump 3. Then, the controller 20 controls the compressor 11, the air-sending fan 15, the expansion device 13, and the water circulating pump 3 so that the measurement value of the outlet temperature sensor 23 reaches the target water temperature.
  • Under conditions where the water is to freeze in the water heat exchanger 14, the controller 20 calculates the minimum on-state flow rate at which the water is kept from freezing in the water heat exchanger 14. Then, the controller 20 adjusts the rotation frequency of the water circulating pump 3 to maintain the minimum on-state flow rate in such a manner that the water pressure difference obtained from the measurement values of the inlet pressure sensor 24 and the outlet pressure sensor 25 is at the minimum on-state pressure difference. Consequently, the minimum on-state flow rate at which the water is kept from freezing in the water heat exchanger 14 can be maintained, thus achieving high efficiency of the water cycle air-conditioning system 100. Furthermore, the water is prevented from freezing in the water heat exchanger 14. This operation enables the water cycle air-conditioning system 100 to be continuously operated, thus enhancing convenience.
  • Control for maintaining the minimum on-state flow rate by using the water circulating pump 3 will be described below.
  • Fig. 3 is a flowchart illustrating control for the water cycle air-conditioning system 100 according to Embodiment 1 of the present invention.
  • At the beginning of the process, in step S1, the controller 20 measures an outlet water temperature of the water heat exchanger 14 by using the outlet temperature sensor 23.
  • In step S2, the controller 20 determines whether the measured outlet water temperature of the water heat exchanger 14 has reached a target water temperature. When the outlet water temperature has reached the target water temperature, the process proceeds to step S3. When the outlet water temperature has not reached the target water temperature, the process proceeds to step S4.
  • In step S4, the controller 20 increases the rotation frequency of the compressor 11 and the rotation frequency of the air-sending fan 15. After step S4, the process returns to step S1.
  • In step S3, the controller 20 determines whether the rotation frequency of the water circulating pump 3 can be reduced. Whether the rotation frequency of the water circulating pump 3 can be reduced is determined on the basis of, for example, determination on whether the difference between the outlet water temperature and an inlet water temperature of the water heat exchanger 14 is less than a set value. When the rotation frequency of the water circulating pump 3 can be reduced, the process proceeds to step S5. When the rotation frequency of the water circulating pump 3 cannot be reduced, the process returns to step S1.
  • In step S5, the controller 20 reduces the rotation frequency of the water circulating pump 3. At this time, step 5 may be taken under operating conditions where the temperature of the refrigerant is below freezing, that is, the water is to freeze in the water heat exchanger 14 of the water circuit 2. Furthermore, the rotation frequency of the compressor 11 and that of the air-sending fan 15 can be reduced in addition to the rotation frequency of the water circulating pump 3. The rotation frequency of the water circulating pump 3 is adjusted to maintain the minimum on-state flow rate. The minimum on-state flow rate is automatically calculated by applying the inlet water temperature that is the measurement value of the inlet temperature sensor 22 and the refrigerant temperature that is the measurement value of the refrigerant temperature sensor 26 to the table in Fig. 2. For example, when the process proceeds to step S5 after step S9, the rotation frequency of the water circulating pump 3 is adjusted to maintain a flow rate slightly greater than the minimum on-state flow rate. After step S5, the process proceeds step S6.
  • In step S6, the controller 20 determines a water pressure difference between the pressure of the water inlet and that of the water outlet of the water heat exchanger 14. This step, in which the water pressure difference is obtained from the measurement values of the inlet pressure sensor 24 and the outlet pressure sensor 25, is taken to estimate the actual flow rate of the water through the water circuit 2 on the basis of the obtained water pressure difference by using Bernoulli's theorem. The water pressure difference obtained in this step is the minimum on-state pressure difference at which the flow rate of the water through the water circulating pump 3 is at the minimum on-state flow rate. After step S6, the process proceeds to step S7.
  • In step S7, the controller 20 determines whether the water flow rate estimated in step S6 meets the minimum on-state flow rate. The minimum on-state flow rate is automatically calculated by applying the inlet water temperature that is the measurement value of the inlet temperature sensor 22 and the refrigerant temperature that is the measurement value of the refrigerant temperature sensor 26 to the table in Fig. 2. The controller 20 determines whether the water flow rate estimated in step S6 is greater than or equal to the calculated minimum on-state flow rate. When the water flow rate meets the minimum on-state flow rate, the process proceeds to step S8. When the water flow rate does not meet the minimum on-state flow rate, the process proceeds to step S9.
  • In step S9, the controller 20 increases the rotation frequency of the water circulating pump 3, thus allowing the water flow rate to meet the minimum on-state flow rate. After step S9, the process returns to step S3.
  • In step S8, the controller 20 maintains a state in which the water flow rate estimated in step S6 meets the minimum on-state flow rate. Consequently, even under conditions where the rotation frequency of the water circulating pump 3 is reduced and the water is to freeze in the water heat exchanger 14, the controller 20 adjusts the rotation frequency of the water circulating pump 3 to maintain the minimum on-state flow rate in such a manner that the water pressure difference is at the minimum on-state pressure difference. After step S8, the process terminates.
  • Advantages offered by the water cycle air-conditioning system 100 according to Embodiment 1 will be described below.
  • The water cycle air-conditioning system 100 according to Embodiment 1 includes the refrigeration cycle circuit 10, through which the refrigerant is circulated, including the compressor 11, the heat-source-side heat exchanger 12, the expansion device 13, and the water heat exchanger 14 connected by the pipes. The water cycle air-conditioning system 100 includes the water circuit 2, through which the water is circulated, including the water circulating pump 3 circulating the water, the water heat exchanger 14, and the load-side heat exchanger 4 connected by the pipes. The water cycle air-conditioning system 100 includes the inlet temperature sensor 22 measuring the temperature of the water at the water inlet of the water heat exchanger 14. The water cycle air-conditioning system 100 includes the inlet pressure sensor 24 measuring the pressure of the water at the water inlet of the water heat exchanger 14. The water cycle air-conditioning system 100 includes the outlet pressure sensor 25 measuring the pressure of the water at the water outlet of the water heat exchanger 14. The water cycle air-conditioning system 100 includes the refrigerant temperature sensor 26 detecting the evaporating temperature of the refrigerant in the water heat exchanger 14. The water cycle air-conditioning system 100 includes the controller 20, which obtains the minimum on-state flow rate at which the water is kept from freezing in the water heat exchanger 14, on the basis of the water temperature at the water inlet measured by the inlet temperature sensor 22 and the refrigerant evaporating temperature detected by the refrigerant temperature sensor 26 under conditions where the water is to freeze in the water heat exchanger 14. The controller 20 controls the water circulating pump 3 in such a manner that the minimum on-state flow rate is maintained to make the water pressure difference obtained from the measurement values of the inlet pressure sensor 24 and the outlet pressure sensor 25 into the minimum on-state pressure difference.
  • The above-described configuration prevents the water from freezing in the water heat exchanger 14 by using the water pressure difference obtained from the measurement values of the inlet pressure sensor 24 placed at the water inlet of the water heat exchanger 14 and the outlet pressure sensor 25 placed at the water outlet of the water heat exchanger 14, thus preventing the water cycle air-conditioning system 100 from being stopped. Furthermore, the water heat exchanger 14 can be prevented from being broken by freezing of the water in the water heat exchanger 14.
  • Under operating conditions where the water is to freeze in the water heat exchanger 14, the controller 20 controls the water circulating pump 3 in such a manner that the minimum on-state flow rate is maintained. Consequently, an excess of power for driving the water circulating pump 3 can be reduced, thus reducing the power consumption. This operation achieves high efficiency of the water cycle air-conditioning system 100.
  • In Embodiment 1, in the case where the load decreases and the opening degree of the control valve 5 adjusting the flow rate of the water flowing through the load-side heat exchanger 4 is adjusted toward the closed position, the controller 20 controls the water circulating pump 3 in such a manner that the minimum on-state flow rate is maintained.
  • Such a configuration keeps the water from freezing in the water heat exchanger 14. An excess of power for driving the water circulating pump 3 can be reduced, thus reducing the power consumption. This operation achieves high efficiency of the water cycle air-conditioning system 100.
  • In Embodiment 1, the controller 20 has the table from which the minimum on-state flow rate is obtained on the basis of the water temperature at the water inlet measured by the inlet temperature sensor 22 and the refrigerant evaporating temperature detected by the refrigerant temperature sensor 26. The controller 20 obtains the minimum on-state flow rate by using the table.
  • Such a configuration enables the controller 20 to automatically obtain the minimum on-state flow rate from the table in Fig. 2 on the basis of the inlet water temperature at the water inlet measured by the inlet temperature sensor 22 and the refrigerant evaporating temperature detected by the refrigerant temperature sensor 26, thus achieving high efficiency of the water cycle air-conditioning system 100.
  • Embodiment 2
  • Fig. 4 is a schematic diagram illustrating an exemplary configuration of a water cycle air-conditioning system 200 according to Embodiment 2 of the present invention. In Embodiment 2, a description of the same components as those in Embodiment 1 is omitted. The following description will focus on differences between Embodiment 1 and Embodiment 2.
  • As illustrated in Fig. 4, the water circuit 2 of the water cycle air-conditioning system 200 includes a plurality of chilling units 1, each including the refrigeration cycle circuit 10 and the water circulating pump 3, arranged in parallel to the load-side heat exchanger 4. The plurality of chilling units 1 each have the configuration described in Embodiment 1. Specifically, each chilling unit 1 includes the refrigeration cycle circuit 10 and the water circulating pump 3 and constitutes part of the water circuit 2. In the water circuit 2, a water outlet pipe extending from the chilling unit 1 has no check valve.
  • An operation of the water cycle air-conditioning system 200 will be described below.
  • In the water cycle air-conditioning system 200 including the plurality of chilling units 1 arranged parallel to each other, the number of chilling units 1 is controlled on the basis of the amount of heat required for the load-side heat exchanger 4 in such a manner that one or more chilling units 1 can be stopped.
  • At this time, power generated by the water circulating pump 3 in the chilling unit 1 that is being operated causes the water through the water circuit 2 to flow toward the chilling unit 1 in which the water circulating pump 3 is stopped in a direction opposite to a water sending direction in which the water circulating pump 3 sends the water. In a traditional configuration, a check valve is disposed in the water outlet pipe extending from the chilling unit 1 to prevent a short cycle phenomenon caused by the water flowing in the opposite direction.
  • In contrast, according to Embodiment 2, in a case where the compressor 11 is stopped in a corresponding one or more chilling units 1 of the plurality of chilling units 1, under conditions where the water is to flow in the direction opposite to the water sending direction, that is, the measurement value of the outlet pressure sensor 25 is greater than the measurement value of the inlet pressure sensor 24, the controller 20 of each of the corresponding one or more chilling units 1 calculates a minimum off-state flow rate at which the water is kept from flowing in the opposite direction, on the basis of a water pressure difference obtained from measurement values of the inlet pressure sensor 24 and the outlet pressure sensor 25. Then, the controller 20 of each of the corresponding one or more chilling units 1, in each of which the compressor 11 is stopped, adjusts the rotation frequency of the water circulating pump 3 to maintain the minimum off-state flow rate in such a manner that the water pressure difference obtained from the measurement values of the inlet pressure sensor 24 and the outlet pressure sensor 25 is at a minimum off-state pressure difference.
  • Specifically, each chilling unit 1 in which the compressor 11 is stopped would also be stopped in a traditional configuration. However, in such a chilling unit 1 in which the compressor 11 is stopped, the water circulating pump 3 is slightly operated to maintain the minimum off-state flow rate at which the water is kept from flowing in the opposite direction. This configuration enables omission of a check valve that prevents the water from flowing in the opposite direction. Furthermore, as the water circulating pump 3 is slightly operated, the minimum off-state flow rate ensures that the water is kept from freezing in the water heat exchanger 14, similar to the minimum on-state flow rate in Embodiment 1.
  • At this time, the minimum off-state flow rate is a flow rate of greater than 0 at which only heat generated by operating the water circulating pump 3 is rejected.
  • Advantages offered by the water cycle air-conditioning system 200 according to Embodiment 2 will be described below.
  • According to Embodiment 2, the water circuit 2 includes the plurality of chilling units 1, each including the refrigeration cycle circuit 10 and the water circulating pump 3, arranged in parallel to the load-side heat exchanger 4. In the case where the compressor 11 is stopped in a corresponding one or more chilling units 1 of the plurality of chilling units 1, under conditions where the water is to flow in the direction opposite to the water sending direction in which the water circulating pump 3 sends the water, the controller 20 of each of the corresponding one or more chilling units 1 obtains the minimum off-state flow rate at which the water is kept from flowing in the opposite direction, on the basis of the water pressure difference obtained from the measurement values of the inlet pressure sensor 24 and the outlet pressure sensor 25. Then, the controller 20 of each of the corresponding one or more chilling units 1, in each of which the compressor 11 is stopped, controls the water circulating pump 3 in such a manner that the minimum off-state flow rate is maintained.
  • Such a configuration prevents the water through the water circuit 2 from flowing in the opposite direction and thus enables omission of check valves. As the water circulating pump 3 is slightly operated, the minimum off-state flow rate ensures that the water is kept from freezing in the water heat exchanger 14, similar to the minimum on-state flow rate. This operation prevents the water from freezing in the water heat exchanger 14, thus preventing the water cycle air-conditioning system 200 from being stopped. Furthermore, the water heat exchanger 14 can be prevented from being broken by freezing of the water in the water heat exchanger 14.
  • In Embodiment 2, the minimum off-state flow rate is a flow rate of greater than 0 at which only heat generated by operating the water circulating pump 3 is rejected.
  • With this definition, the minimum off-state flow rate at which the water is kept from flowing in the opposite direction can be calculated, and the water circulating pump 3 can be slightly operated in such a manner that the water does not flow in the direction opposite to the water sending direction in which the water circulating pump 3 sends the water, thus reducing the power consumption. In addition, heat generated by the water circulating pump 3 that is being operated can be cooled.
  • In Embodiments 1 and 2 described above, the water cycle air- conditioning systems 100 and 200 have been described as examples. The water cycle air- conditioning systems 100 and 200 include one or more chilling units 1 of an air heat source type that includes the water heat exchanger 14 for cooling the water to a target temperature by using heat from the heat-source-side refrigerant, such as chlorofluorocarbon. Other applications include a water cycle air-conditioning system including, as a heat source, a chilling unit of a water heat source type in which a heat-source-side heat exchanger exchanges heat between water and heat-source-side refrigerant. The water cycle air-conditioning system may include a four-way valve provided in the refrigeration cycle circuit so that heat from the heat-source-side refrigerant, such as chlorofluorocarbon, can be used not only to cool the water to a target temperature but also to heat the water to a target temperature. For the heat medium, brine may be used instead of the water circulated through the water circuit. Applications of the heat medium cycle system according to the present invention include systems through which the heat medium is circulated, including water cycle air-conditioning systems.
  • Reference Signs List
  • 1 chilling unit 2 water circuit 3 water circulating pump 4 load-side heat exchanger 5 control valve 6 remote control 10 refrigeration cycle circuit 11 compressor 12 heat-source-side heat exchanger 13 expansion device 14 water heat exchanger 15 air-sending fan 20 controller 21 control signal line 22 inlet temperature sensor 23 outlet temperature sensor 24 inlet pressure sensor 25 outlet pressure sensor 26 refrigerant temperature sensor 27 control signal line 100 water cycle air-conditioning system 200 water cycle air-conditioning system

Claims (5)

  1. A heat medium cycle system, comprising:
    a refrigeration cycle circuit through which refrigerant is circulated, the refrigeration cycle circuit including a compressor, a heat-source-side heat exchanger, an expansion device, and a heat medium heat exchanger connected by pipes;
    a heat medium cycle circuit through which a heat medium is circulated, the heat medium cycle circuit including a pump circulating the heat medium, the heat medium heat exchanger, and a load-side heat exchanger connected by pipes;
    an inlet temperature sensor configured to measure a temperature of the heat medium at a heat medium inlet of the heat medium heat exchanger;
    an inlet pressure sensor configured to measure a pressure of the heat medium at the heat medium inlet of the heat medium heat exchanger;
    an outlet pressure sensor configured to measure a pressure of the heat medium at a heat medium outlet of the heat medium heat exchanger;
    an evaporating temperature sensor configured to detect an evaporating temperature of the refrigerant in the heat medium heat exchanger; and
    a controller configured to, under a first condition where the heat medium is to freeze in the heat medium heat exchanger, obtain a minimum on-state flow rate at which the heat medium is kept from freezing in the heat medium heat exchanger, on a basis of the temperature of the heat medium at the heat medium inlet measured by the inlet temperature sensor and the evaporating temperature of the refrigerant detected by the evaporating temperature sensor, and control the pump in such a manner that the minimum on-state flow rate is maintained to make a pressure difference of the heat medium obtained from a measurement value of the inlet pressure sensor and a measurement value of the outlet pressure sensor into a minimum on-state pressure difference.
  2. The heat medium cycle system of claim 1, wherein the controller is configured to control the pump in such a manner that the minimum on-state flow rate is maintained in a case where a load decreases and an opening degree of a control valve configured to adjust a flow rate of the heat medium flowing through the load-side heat exchanger is adjusted toward a closed position.
  3. The heat medium cycle system of claim 1 or 2, wherein the controller has a table from which the minimum on-state flow rate is obtained on a basis of the temperature of the heat medium at the heat medium inlet measured by the inlet temperature sensor and the evaporating temperature of the refrigerant detected by the evaporating temperature sensor, and is configured to obtain the minimum on-state flow rate by using the table.
  4. The heat medium cycle system of any one of claims 1 to 3,
    wherein the heat medium cycle circuit includes a plurality of chilling units each including the refrigeration cycle circuit and the pump, and the plurality of chilling units are arranged in parallel to the load-side heat exchanger, and
    wherein, in a case where the compressor is stopped in a corresponding one or more chilling units of the plurality of chilling units, under a second condition where the heat medium is to flow in a direction opposite to a heat medium sending direction in which the pump sends the heat medium, the controller of each of the corresponding one or more chilling units is configured to obtain a minimum off-state flow rate at which the heat medium is kept from flowing in the direction opposite to the heat medium sending direction, on a basis of the pressure difference of the heat medium obtained from the measurement value of the inlet pressure sensor and the measurement value of the outlet pressure sensor, and control the pump in such a manner that the minimum off-state flow rate is maintained.
  5. The heat medium cycle system of claim 4, wherein the minimum off-state flow rate is a flow rate of greater than 0 at which only heat generated by operating the pump is rejected.
EP16906300.5A 2016-06-23 2016-06-23 Heat medium circulation system Active EP3477221B1 (en)

Applications Claiming Priority (1)

Application Number Priority Date Filing Date Title
PCT/JP2016/068700 WO2017221383A1 (en) 2016-06-23 2016-06-23 Heat medium circulation system

Publications (3)

Publication Number Publication Date
EP3477221A1 true EP3477221A1 (en) 2019-05-01
EP3477221A4 EP3477221A4 (en) 2019-07-24
EP3477221B1 EP3477221B1 (en) 2020-01-29

Family

ID=60784664

Family Applications (1)

Application Number Title Priority Date Filing Date
EP16906300.5A Active EP3477221B1 (en) 2016-06-23 2016-06-23 Heat medium circulation system

Country Status (3)

Country Link
EP (1) EP3477221B1 (en)
JP (1) JP6570746B2 (en)
WO (1) WO2017221383A1 (en)

Cited By (3)

* Cited by examiner, † Cited by third party
Publication number Priority date Publication date Assignee Title
CN113899053A (en) * 2021-10-08 2022-01-07 珠海格力电器股份有限公司 Natural cooling air conditioning unit and anti-freezing control method and device thereof
US11408656B2 (en) 2018-03-07 2022-08-09 Mitsubishi Electric Corporation Heat source device and refrigeration cycle device
CN114980662A (en) * 2022-05-09 2022-08-30 北京百度网讯科技有限公司 Anti-freezing system, method and device applied to dry cooler and computer program product

Families Citing this family (14)

* Cited by examiner, † Cited by third party
Publication number Priority date Publication date Assignee Title
JP2020041794A (en) * 2018-09-07 2020-03-19 株式会社前川製作所 Freezing device system
CN110160230B (en) * 2019-05-27 2021-12-28 上海美控智慧建筑有限公司 Central air conditioner, air conditioner water system and control method and control device thereof
JPWO2021009924A1 (en) * 2019-07-18 2021-01-21
CN110762786B (en) * 2019-10-12 2021-08-31 海信(山东)空调有限公司 Air conditioning system, control method and control device
WO2021106193A1 (en) * 2019-11-29 2021-06-03 三菱電機株式会社 Air-conditioning system and method for controlling same
CN110986276A (en) * 2019-12-02 2020-04-10 珠海格力电器股份有限公司 Water multi-connected system anti-freezing control method, computer readable storage medium and air conditioner
JP7209892B2 (en) * 2020-02-17 2023-01-20 三菱電機株式会社 refrigeration cycle equipment
CN113645809B (en) * 2021-08-13 2024-03-12 深圳麦克维尔空调有限公司 Cooling device, air conditioning system, and control method for cooling device
JP7769953B2 (en) * 2021-10-05 2025-11-14 パナソニックIpマネジメント株式会社 Refrigeration equipment
CN116481211A (en) 2022-01-17 2023-07-25 开利公司 Heat exchange system and method for judging whether flow of cold-carrying medium passing through heat exchanger is too low
CN115823786B (en) * 2022-12-08 2024-07-16 珠海格力电器股份有限公司 Anti-freezing control method and device for unit and water chilling unit
WO2024209508A1 (en) * 2023-04-03 2024-10-10 三菱電機株式会社 Chilling unit
CN116753612B (en) * 2023-05-19 2026-02-13 约克广州空调冷冻设备有限公司 An air conditioning system with automatic water pump adjustment and its control method
CN117440671B (en) * 2023-12-21 2024-03-08 福建省江南冷却科技有限公司 Control method of cooling system of intelligent mining equipment unit

Family Cites Families (9)

* Cited by examiner, † Cited by third party
Publication number Priority date Publication date Assignee Title
JP4032130B2 (en) * 2001-11-13 2008-01-16 株式会社日立製作所 Refrigeration equipment
JP4823264B2 (en) * 2008-03-31 2011-11-24 三菱電機株式会社 Cooling device and cooling device monitoring system
JP5379650B2 (en) * 2009-11-02 2013-12-25 アズビル株式会社 Primary pump type heat source variable flow rate control system and method
CN101782260B (en) * 2010-01-22 2012-08-15 华中科技大学 Optimal control method and device for water system of air conditioning
WO2012050087A1 (en) * 2010-10-15 2012-04-19 東芝キヤリア株式会社 Heat source apparatus
JP6119141B2 (en) * 2012-08-07 2017-04-26 ダイキン工業株式会社 Air conditioning system
JP6201768B2 (en) * 2014-01-15 2017-09-27 三菱電機株式会社 Liquid circuit device
JP6310315B2 (en) * 2014-04-24 2018-04-11 荏原冷熱システム株式会社 Heat source system
JP6297164B2 (en) * 2014-11-05 2018-03-20 三菱電機株式会社 Refrigeration cycle equipment

Cited By (4)

* Cited by examiner, † Cited by third party
Publication number Priority date Publication date Assignee Title
US11408656B2 (en) 2018-03-07 2022-08-09 Mitsubishi Electric Corporation Heat source device and refrigeration cycle device
CN113899053A (en) * 2021-10-08 2022-01-07 珠海格力电器股份有限公司 Natural cooling air conditioning unit and anti-freezing control method and device thereof
CN114980662A (en) * 2022-05-09 2022-08-30 北京百度网讯科技有限公司 Anti-freezing system, method and device applied to dry cooler and computer program product
CN114980662B (en) * 2022-05-09 2025-05-09 北京百度网讯科技有限公司 Antifreeze system, method, device and computer program product for dry cooler

Also Published As

Publication number Publication date
EP3477221B1 (en) 2020-01-29
JP6570746B2 (en) 2019-09-04
JPWO2017221383A1 (en) 2019-01-31
EP3477221A4 (en) 2019-07-24
WO2017221383A1 (en) 2017-12-28

Similar Documents

Publication Publication Date Title
EP3477221B1 (en) Heat medium circulation system
EP2466220B1 (en) Air conditioning system and method of controlling air conditioning system
CN103597290B (en) Temperature regulation system, air conditioning system
JP6257801B2 (en) Refrigeration cycle apparatus and refrigeration cycle apparatus abnormality detection system
JP5761960B2 (en) Heat source equipment
US20120255318A1 (en) Refrigeration apparatus
US10386871B2 (en) Air conditioner with indoor units and outdoor units
EP3614070A1 (en) Air conditioner
US20170030621A1 (en) Low ambient cooling scheme and control
JPWO2017033240A1 (en) Data acquisition system, abnormality detection system, refrigeration cycle apparatus, data acquisition method, and abnormality detection method
US20210025627A1 (en) Air-conditioning apparatus
JP6681896B2 (en) Refrigeration system
CN111271809A (en) A control method, device, air conditioner, and computer-readable storage medium
US20230250992A1 (en) Air-conditioning apparatus
US11585578B2 (en) Refrigeration cycle apparatus
US20220128285A1 (en) Water regulator
US11598549B2 (en) Thermal cycling system and control method of the thermal cycling system
EP3839375B1 (en) Free cooling outdoor unit
EP3564600B1 (en) Cooling system and operation method
CN109764568A (en) water chilling unit and control method
EP2674682A1 (en) Method of operating a heat pump for avoiding freezing
TR2025016455A2 (en) A Defrost Control System and Method for Rooftop Air Conditioners
CN115789985A (en) air conditioner

Legal Events

Date Code Title Description
STAA Information on the status of an ep patent application or granted ep patent

Free format text: STATUS: THE INTERNATIONAL PUBLICATION HAS BEEN MADE

PUAI Public reference made under article 153(3) epc to a published international application that has entered the european phase

Free format text: ORIGINAL CODE: 0009012

STAA Information on the status of an ep patent application or granted ep patent

Free format text: STATUS: REQUEST FOR EXAMINATION WAS MADE

17P Request for examination filed

Effective date: 20181121

AK Designated contracting states

Kind code of ref document: A1

Designated state(s): AL AT BE BG CH CY CZ DE DK EE ES FI FR GB GR HR HU IE IS IT LI LT LU LV MC MK MT NL NO PL PT RO RS SE SI SK SM TR

AX Request for extension of the european patent

Extension state: BA ME

A4 Supplementary search report drawn up and despatched

Effective date: 20190624

RIC1 Information provided on ipc code assigned before grant

Ipc: F25B 1/00 20060101AFI20190617BHEP

Ipc: F24F 5/00 20060101ALI20190617BHEP

Ipc: F24F 11/85 20180101ALI20190617BHEP

Ipc: F24F 11/62 20180101ALI20190617BHEP

REG Reference to a national code

Ref country code: DE

Ref legal event code: R079

Ref document number: 602016028998

Country of ref document: DE

Free format text: PREVIOUS MAIN CLASS: F25B0001000000

Ipc: F24F0011410000

DAV Request for validation of the european patent (deleted)
DAX Request for extension of the european patent (deleted)
GRAP Despatch of communication of intention to grant a patent

Free format text: ORIGINAL CODE: EPIDOSNIGR1

STAA Information on the status of an ep patent application or granted ep patent

Free format text: STATUS: GRANT OF PATENT IS INTENDED

RIC1 Information provided on ipc code assigned before grant

Ipc: F24F 11/46 20180101ALI20190912BHEP

Ipc: F24F 5/00 20060101ALI20190912BHEP

Ipc: F24F 11/70 20180101ALI20190912BHEP

Ipc: F24F 11/62 20180101ALI20190912BHEP

Ipc: F25B 1/00 20060101ALI20190912BHEP

Ipc: F24F 11/41 20180101AFI20190912BHEP

INTG Intention to grant announced

Effective date: 20191009

GRAS Grant fee paid

Free format text: ORIGINAL CODE: EPIDOSNIGR3

GRAA (expected) grant

Free format text: ORIGINAL CODE: 0009210

STAA Information on the status of an ep patent application or granted ep patent

Free format text: STATUS: THE PATENT HAS BEEN GRANTED

AK Designated contracting states

Kind code of ref document: B1

Designated state(s): AL AT BE BG CH CY CZ DE DK EE ES FI FR GB GR HR HU IE IS IT LI LT LU LV MC MK MT NL NO PL PT RO RS SE SI SK SM TR

REG Reference to a national code

Ref country code: GB

Ref legal event code: FG4D

REG Reference to a national code

Ref country code: CH

Ref legal event code: EP

REG Reference to a national code

Ref country code: AT

Ref legal event code: REF

Ref document number: 1228778

Country of ref document: AT

Kind code of ref document: T

Effective date: 20200215

REG Reference to a national code

Ref country code: IE

Ref legal event code: FG4D

REG Reference to a national code

Ref country code: DE

Ref legal event code: R096

Ref document number: 602016028998

Country of ref document: DE

REG Reference to a national code

Ref country code: NL

Ref legal event code: MP

Effective date: 20200129

PG25 Lapsed in a contracting state [announced via postgrant information from national office to epo]

Ref country code: PT

Free format text: LAPSE BECAUSE OF FAILURE TO SUBMIT A TRANSLATION OF THE DESCRIPTION OR TO PAY THE FEE WITHIN THE PRESCRIBED TIME-LIMIT

Effective date: 20200621

Ref country code: NO

Free format text: LAPSE BECAUSE OF FAILURE TO SUBMIT A TRANSLATION OF THE DESCRIPTION OR TO PAY THE FEE WITHIN THE PRESCRIBED TIME-LIMIT

Effective date: 20200429

Ref country code: FI

Free format text: LAPSE BECAUSE OF FAILURE TO SUBMIT A TRANSLATION OF THE DESCRIPTION OR TO PAY THE FEE WITHIN THE PRESCRIBED TIME-LIMIT

Effective date: 20200129

Ref country code: RS

Free format text: LAPSE BECAUSE OF FAILURE TO SUBMIT A TRANSLATION OF THE DESCRIPTION OR TO PAY THE FEE WITHIN THE PRESCRIBED TIME-LIMIT

Effective date: 20200129

REG Reference to a national code

Ref country code: LT

Ref legal event code: MG4D

PG25 Lapsed in a contracting state [announced via postgrant information from national office to epo]

Ref country code: GR

Free format text: LAPSE BECAUSE OF FAILURE TO SUBMIT A TRANSLATION OF THE DESCRIPTION OR TO PAY THE FEE WITHIN THE PRESCRIBED TIME-LIMIT

Effective date: 20200430

Ref country code: SE

Free format text: LAPSE BECAUSE OF FAILURE TO SUBMIT A TRANSLATION OF THE DESCRIPTION OR TO PAY THE FEE WITHIN THE PRESCRIBED TIME-LIMIT

Effective date: 20200129

Ref country code: LV

Free format text: LAPSE BECAUSE OF FAILURE TO SUBMIT A TRANSLATION OF THE DESCRIPTION OR TO PAY THE FEE WITHIN THE PRESCRIBED TIME-LIMIT

Effective date: 20200129

Ref country code: IS

Free format text: LAPSE BECAUSE OF FAILURE TO SUBMIT A TRANSLATION OF THE DESCRIPTION OR TO PAY THE FEE WITHIN THE PRESCRIBED TIME-LIMIT

Effective date: 20200529

Ref country code: HR

Free format text: LAPSE BECAUSE OF FAILURE TO SUBMIT A TRANSLATION OF THE DESCRIPTION OR TO PAY THE FEE WITHIN THE PRESCRIBED TIME-LIMIT

Effective date: 20200129

Ref country code: BG

Free format text: LAPSE BECAUSE OF FAILURE TO SUBMIT A TRANSLATION OF THE DESCRIPTION OR TO PAY THE FEE WITHIN THE PRESCRIBED TIME-LIMIT

Effective date: 20200429

PG25 Lapsed in a contracting state [announced via postgrant information from national office to epo]

Ref country code: NL

Free format text: LAPSE BECAUSE OF FAILURE TO SUBMIT A TRANSLATION OF THE DESCRIPTION OR TO PAY THE FEE WITHIN THE PRESCRIBED TIME-LIMIT

Effective date: 20200129

PG25 Lapsed in a contracting state [announced via postgrant information from national office to epo]

Ref country code: EE

Free format text: LAPSE BECAUSE OF FAILURE TO SUBMIT A TRANSLATION OF THE DESCRIPTION OR TO PAY THE FEE WITHIN THE PRESCRIBED TIME-LIMIT

Effective date: 20200129

Ref country code: LT

Free format text: LAPSE BECAUSE OF FAILURE TO SUBMIT A TRANSLATION OF THE DESCRIPTION OR TO PAY THE FEE WITHIN THE PRESCRIBED TIME-LIMIT

Effective date: 20200129

Ref country code: SM

Free format text: LAPSE BECAUSE OF FAILURE TO SUBMIT A TRANSLATION OF THE DESCRIPTION OR TO PAY THE FEE WITHIN THE PRESCRIBED TIME-LIMIT

Effective date: 20200129

Ref country code: RO

Free format text: LAPSE BECAUSE OF FAILURE TO SUBMIT A TRANSLATION OF THE DESCRIPTION OR TO PAY THE FEE WITHIN THE PRESCRIBED TIME-LIMIT

Effective date: 20200129

Ref country code: CZ

Free format text: LAPSE BECAUSE OF FAILURE TO SUBMIT A TRANSLATION OF THE DESCRIPTION OR TO PAY THE FEE WITHIN THE PRESCRIBED TIME-LIMIT

Effective date: 20200129

Ref country code: ES

Free format text: LAPSE BECAUSE OF FAILURE TO SUBMIT A TRANSLATION OF THE DESCRIPTION OR TO PAY THE FEE WITHIN THE PRESCRIBED TIME-LIMIT

Effective date: 20200129

Ref country code: SK

Free format text: LAPSE BECAUSE OF FAILURE TO SUBMIT A TRANSLATION OF THE DESCRIPTION OR TO PAY THE FEE WITHIN THE PRESCRIBED TIME-LIMIT

Effective date: 20200129

Ref country code: DK

Free format text: LAPSE BECAUSE OF FAILURE TO SUBMIT A TRANSLATION OF THE DESCRIPTION OR TO PAY THE FEE WITHIN THE PRESCRIBED TIME-LIMIT

Effective date: 20200129

REG Reference to a national code

Ref country code: DE

Ref legal event code: R097

Ref document number: 602016028998

Country of ref document: DE

REG Reference to a national code

Ref country code: AT

Ref legal event code: MK05

Ref document number: 1228778

Country of ref document: AT

Kind code of ref document: T

Effective date: 20200129

PLBE No opposition filed within time limit

Free format text: ORIGINAL CODE: 0009261

STAA Information on the status of an ep patent application or granted ep patent

Free format text: STATUS: NO OPPOSITION FILED WITHIN TIME LIMIT

REG Reference to a national code

Ref country code: DE

Ref legal event code: R119

Ref document number: 602016028998

Country of ref document: DE

26N No opposition filed

Effective date: 20201030

PG25 Lapsed in a contracting state [announced via postgrant information from national office to epo]

Ref country code: MC

Free format text: LAPSE BECAUSE OF FAILURE TO SUBMIT A TRANSLATION OF THE DESCRIPTION OR TO PAY THE FEE WITHIN THE PRESCRIBED TIME-LIMIT

Effective date: 20200129

Ref country code: AT

Free format text: LAPSE BECAUSE OF FAILURE TO SUBMIT A TRANSLATION OF THE DESCRIPTION OR TO PAY THE FEE WITHIN THE PRESCRIBED TIME-LIMIT

Effective date: 20200129

REG Reference to a national code

Ref country code: CH

Ref legal event code: PL

PG25 Lapsed in a contracting state [announced via postgrant information from national office to epo]

Ref country code: SI

Free format text: LAPSE BECAUSE OF FAILURE TO SUBMIT A TRANSLATION OF THE DESCRIPTION OR TO PAY THE FEE WITHIN THE PRESCRIBED TIME-LIMIT

Effective date: 20200129

Ref country code: PL

Free format text: LAPSE BECAUSE OF FAILURE TO SUBMIT A TRANSLATION OF THE DESCRIPTION OR TO PAY THE FEE WITHIN THE PRESCRIBED TIME-LIMIT

Effective date: 20200129

PG25 Lapsed in a contracting state [announced via postgrant information from national office to epo]

Ref country code: LU

Free format text: LAPSE BECAUSE OF NON-PAYMENT OF DUE FEES

Effective date: 20200623

REG Reference to a national code

Ref country code: BE

Ref legal event code: MM

Effective date: 20200630

PG25 Lapsed in a contracting state [announced via postgrant information from national office to epo]

Ref country code: IE

Free format text: LAPSE BECAUSE OF NON-PAYMENT OF DUE FEES

Effective date: 20200623

Ref country code: FR

Free format text: LAPSE BECAUSE OF NON-PAYMENT OF DUE FEES

Effective date: 20200630

Ref country code: LI

Free format text: LAPSE BECAUSE OF NON-PAYMENT OF DUE FEES

Effective date: 20200630

Ref country code: CH

Free format text: LAPSE BECAUSE OF NON-PAYMENT OF DUE FEES

Effective date: 20200630

PG25 Lapsed in a contracting state [announced via postgrant information from national office to epo]

Ref country code: BE

Free format text: LAPSE BECAUSE OF NON-PAYMENT OF DUE FEES

Effective date: 20200630

Ref country code: DE

Free format text: LAPSE BECAUSE OF NON-PAYMENT OF DUE FEES

Effective date: 20210101

PG25 Lapsed in a contracting state [announced via postgrant information from national office to epo]

Ref country code: TR

Free format text: LAPSE BECAUSE OF FAILURE TO SUBMIT A TRANSLATION OF THE DESCRIPTION OR TO PAY THE FEE WITHIN THE PRESCRIBED TIME-LIMIT

Effective date: 20200129

Ref country code: MT

Free format text: LAPSE BECAUSE OF FAILURE TO SUBMIT A TRANSLATION OF THE DESCRIPTION OR TO PAY THE FEE WITHIN THE PRESCRIBED TIME-LIMIT

Effective date: 20200129

Ref country code: CY

Free format text: LAPSE BECAUSE OF FAILURE TO SUBMIT A TRANSLATION OF THE DESCRIPTION OR TO PAY THE FEE WITHIN THE PRESCRIBED TIME-LIMIT

Effective date: 20200129

PG25 Lapsed in a contracting state [announced via postgrant information from national office to epo]

Ref country code: MK

Free format text: LAPSE BECAUSE OF FAILURE TO SUBMIT A TRANSLATION OF THE DESCRIPTION OR TO PAY THE FEE WITHIN THE PRESCRIBED TIME-LIMIT

Effective date: 20200129

Ref country code: AL

Free format text: LAPSE BECAUSE OF FAILURE TO SUBMIT A TRANSLATION OF THE DESCRIPTION OR TO PAY THE FEE WITHIN THE PRESCRIBED TIME-LIMIT

Effective date: 20200129

P01 Opt-out of the competence of the unified patent court (upc) registered

Effective date: 20230512

PGFP Annual fee paid to national office [announced via postgrant information from national office to epo]

Ref country code: IT

Payment date: 20230510

Year of fee payment: 8

PGFP Annual fee paid to national office [announced via postgrant information from national office to epo]

Ref country code: GB

Payment date: 20230504

Year of fee payment: 8

REG Reference to a national code

Ref country code: GB

Ref legal event code: 746

Effective date: 20240829

GBPC Gb: european patent ceased through non-payment of renewal fee

Effective date: 20240623

PG25 Lapsed in a contracting state [announced via postgrant information from national office to epo]

Ref country code: GB

Free format text: LAPSE BECAUSE OF NON-PAYMENT OF DUE FEES

Effective date: 20240623

Ref country code: IT

Free format text: LAPSE BECAUSE OF NON-PAYMENT OF DUE FEES

Effective date: 20240623