EP3307993B1 - Brennkraftmaschine mit einem abwärmerückgewinnungssystem - Google Patents

Brennkraftmaschine mit einem abwärmerückgewinnungssystem Download PDF

Info

Publication number
EP3307993B1
EP3307993B1 EP16736766.3A EP16736766A EP3307993B1 EP 3307993 B1 EP3307993 B1 EP 3307993B1 EP 16736766 A EP16736766 A EP 16736766A EP 3307993 B1 EP3307993 B1 EP 3307993B1
Authority
EP
European Patent Office
Prior art keywords
expander
internal combustion
combustion engine
clutch
speed
Prior art date
Legal status (The legal status is an assumption and is not a legal conclusion. Google has not performed a legal analysis and makes no representation as to the accuracy of the status listed.)
Not-in-force
Application number
EP16736766.3A
Other languages
English (en)
French (fr)
Other versions
EP3307993A1 (de
Inventor
Helmut Altendorfer
Gerald GRADWOHL
Josef Speiser
Current Assignee (The listed assignees may be inaccurate. Google has not performed a legal analysis and makes no representation or warranty as to the accuracy of the list.)
AVL List GmbH
FPT Industrial SpA
Iveco SpA
Original Assignee
AVL List GmbH
FPT Industrial SpA
Iveco SpA
Priority date (The priority date is an assumption and is not a legal conclusion. Google has not performed a legal analysis and makes no representation as to the accuracy of the date listed.)
Filing date
Publication date
Application filed by AVL List GmbH, FPT Industrial SpA, Iveco SpA filed Critical AVL List GmbH
Publication of EP3307993A1 publication Critical patent/EP3307993A1/de
Application granted granted Critical
Publication of EP3307993B1 publication Critical patent/EP3307993B1/de
Not-in-force legal-status Critical Current
Anticipated expiration legal-status Critical

Links

Images

Classifications

    • FMECHANICAL ENGINEERING; LIGHTING; HEATING; WEAPONS; BLASTING
    • F01MACHINES OR ENGINES IN GENERAL; ENGINE PLANTS IN GENERAL; STEAM ENGINES
    • F01KSTEAM ENGINE PLANTS; STEAM ACCUMULATORS; ENGINE PLANTS NOT OTHERWISE PROVIDED FOR; ENGINES USING SPECIAL WORKING FLUIDS OR CYCLES
    • F01K23/00Plants characterised by more than one engine delivering power external to the plant, the engines being driven by different fluids
    • F01K23/02Plants characterised by more than one engine delivering power external to the plant, the engines being driven by different fluids the engine cycles being thermally coupled
    • F01K23/06Plants characterised by more than one engine delivering power external to the plant, the engines being driven by different fluids the engine cycles being thermally coupled combustion heat from one cycle heating the fluid in another cycle
    • F01K23/065Plants characterised by more than one engine delivering power external to the plant, the engines being driven by different fluids the engine cycles being thermally coupled combustion heat from one cycle heating the fluid in another cycle the combustion taking place in an internal combustion piston engine, e.g. a diesel engine
    • FMECHANICAL ENGINEERING; LIGHTING; HEATING; WEAPONS; BLASTING
    • F01MACHINES OR ENGINES IN GENERAL; ENGINE PLANTS IN GENERAL; STEAM ENGINES
    • F01KSTEAM ENGINE PLANTS; STEAM ACCUMULATORS; ENGINE PLANTS NOT OTHERWISE PROVIDED FOR; ENGINES USING SPECIAL WORKING FLUIDS OR CYCLES
    • F01K23/00Plants characterised by more than one engine delivering power external to the plant, the engines being driven by different fluids
    • F01K23/12Plants characterised by more than one engine delivering power external to the plant, the engines being driven by different fluids the engines being mechanically coupled
    • F01K23/14Plants characterised by more than one engine delivering power external to the plant, the engines being driven by different fluids the engines being mechanically coupled including at least one combustion engine
    • FMECHANICAL ENGINEERING; LIGHTING; HEATING; WEAPONS; BLASTING
    • F01MACHINES OR ENGINES IN GENERAL; ENGINE PLANTS IN GENERAL; STEAM ENGINES
    • F01KSTEAM ENGINE PLANTS; STEAM ACCUMULATORS; ENGINE PLANTS NOT OTHERWISE PROVIDED FOR; ENGINES USING SPECIAL WORKING FLUIDS OR CYCLES
    • F01K23/00Plants characterised by more than one engine delivering power external to the plant, the engines being driven by different fluids
    • F01K23/02Plants characterised by more than one engine delivering power external to the plant, the engines being driven by different fluids the engine cycles being thermally coupled
    • F01K23/06Plants characterised by more than one engine delivering power external to the plant, the engines being driven by different fluids the engine cycles being thermally coupled combustion heat from one cycle heating the fluid in another cycle
    • F01K23/10Plants characterised by more than one engine delivering power external to the plant, the engines being driven by different fluids the engine cycles being thermally coupled combustion heat from one cycle heating the fluid in another cycle with exhaust fluid of one cycle heating the fluid in another cycle
    • FMECHANICAL ENGINEERING; LIGHTING; HEATING; WEAPONS; BLASTING
    • F02COMBUSTION ENGINES; HOT-GAS OR COMBUSTION-PRODUCT ENGINE PLANTS
    • F02GHOT GAS OR COMBUSTION-PRODUCT POSITIVE-DISPLACEMENT ENGINE PLANTS; USE OF WASTE HEAT OF COMBUSTION ENGINES; NOT OTHERWISE PROVIDED FOR
    • F02G5/00Profiting from waste heat of combustion engines, not otherwise provided for

Definitions

  • the invention relates to an internal combustion engine with a waste heat recovery system which operates in particular according to the organic Rankine cycle and which has at least one compressor, at least one heat exchanger, at least one expander and at least one condenser, an output shaft of the expander having a drive train having at least one shaft coupling with a crankshaft Internal combustion engine is drive-connectable, the drive train being interruptible by the shaft coupling as soon as the engine-side speed of the shaft coupling exceeds the expander-side speed of the shaft clutch and wherein at least one braking device is arranged in the drive train between the expander and the internal combustion engine.
  • the invention relates to a method for operating an internal combustion engine which has a waste heat recovery system which operates in particular according to the organic Rankine cycle, a working medium being compressed in at least one compressor, being heated in at least one heat exchanger by waste heat, in particular from the internal combustion engine, in at least one expander with the release of Work on the crankshaft of the internal combustion engine is expanded and cooled in at least one condenser, a drive train between the expander and the internal combustion engine being interrupted by means of a shaft coupling, which is preferably designed as a one-way clutch, when the engine-side speed of the shaft coupling exceeds the expander-side speed of the shaft coupling.
  • Devices for utilizing waste heat from an internal combustion engine are known in the prior art, with which energy can be recovered from the exhaust gas of the internal combustion engine, for example by means of an organic Rankine cycle.
  • an organic working medium is compressed by a feed pump or by a compressor, heated in a heat exchanger by means of the waste heat from the internal combustion engine, expanded in a working machine (expander), for example, in the form of a turbine or piston machine, with the release of work, and cooled in a condenser.
  • the work machine can be connected to a generator to generate electricity or can be drive-connected to the crankshaft of the internal combustion engine in order to deliver mechanical drive power.
  • the EP 1 243 758 A1 discloses an internal combustion engine with an organic Rankine cycle waste heat recovery system, which has a compressor, a heat exchanger, an expander and a condenser.
  • the output shaft of the expander can be connected to the crankshaft of the internal combustion engine via at least one shaft coupling.
  • a braking device is arranged in the drive train between the expander and the internal combustion engine.
  • a motor vehicle with a couplable waste heat utilization arrangement is known, the work machine of the cycle being able to be connected to the drive via couplings either with an internal combustion engine or an auxiliary unit via a traction mechanism gear. Furthermore, a freewheel is arranged between the working machine and the traction mechanism transmission.
  • the DE 10 2010 025 186 A1 describes a waste heat utilization device for an internal combustion engine with a waste heat utilization circuit having an expansion machine, in which a working medium circulates.
  • the expansion machine is connected to the crankshaft of the internal combustion engine via an overrunning clutch.
  • An overrunning clutch of this type allows drive power to be transmitted exclusively from the expansion machine to the crankshaft. This prevents the expansion machine from being dragged by the crankshaft.
  • the expander speed still exceeds the maximum permissible speed of the expander, for example if the permissible expander speed is below the permissible maximum engine speed, or even in the event of a defect in the drive train.
  • the object of the invention is to avoid over-tightening the expander reliably and with little design effort.
  • this is achieved in that the expander can be braked by the braking device when the speed of the expander exceeds a defined critical limit speed of the expander.
  • the braking device is preferably arranged in the drive train between the expander and the shaft coupling.
  • the braking device can be designed as a controllable or regulable braking device. In a particularly simple embodiment of the invention, however, it is provided that the braking device is designed as a centrifugal brake. Centrifugal brakes have the advantage that they act automatically and brake the corresponding adjacent shaft from a defined speed.
  • the shaft coupling is designed as a one-way clutch.
  • the drive train can be interrupted automatically by the shaft coupling as soon as the speed of the shaft coupling on the internal combustion engine exceeds the speed of the shaft coupling on the expander side.
  • Centrifugal brake and overrunning clutch work completely independently, so that separate control devices and actuators can be omitted.
  • the waste heat recovery system preferably works according to the known Rankine organic cycle, with an organic working medium being compressed in at least one compressor, being heated in at least one heat exchanger by waste heat from the internal combustion engine, expanding in at least one expander while delivering work to the crankshaft of the internal combustion engine and in at least one condenser is cooled.
  • the drive train between the expander and the internal combustion engine is interrupted by means of the shaft coupling, which is preferably designed as a one-way clutch, when the speed of the shaft coupling on the internal combustion engine side exceeds the speed of the shaft coupling on the expander side.
  • the drive train on the expander side of the shaft coupling is braked via the braking device, which is preferably designed as a centrifugal brake, if the speed of the expander exceeds a defined critical limit speed.
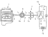
  • the figure shows an internal combustion engine 1, which is connected via a drive train 2 to an expander 13 of a heat recovery system 10 which, in addition to the expander 13, has at least one compressor 11, a heat exchanger 12 and a condenser 14.
  • the organic working medium for example, is compressed via the compressor 11, and the waste heat from the internal combustion engine 1, for example from the exhaust gas, is fed into the heat exchanger 12.
  • the working medium is released with the release of mechanical work and cooled in the condenser 14.
  • the expander 13 is formed by a working machine, for example a turbine or a reciprocating piston machine.
  • Reference number 4 denotes the crankshaft, reference number 5 the output shaft of the expander 13.
  • step-up or step-down gears between expander 13 and internal combustion engine 1 which are in principle in each of the three sections of the drive train (between crankshaft and shaft coupling, can be arranged between the shaft coupling and the braking device and between the braking device and expander) are not shown.
  • a shaft clutch 6 designed as a one-way clutch (overrunning clutch) 6 a is arranged in the drive train 2.
  • the one-way clutch 6a serves to prevent the expander 13 from being driven by the crankshaft 4 of the internal combustion engine 1.
  • the drive train 2 is interrupted.
  • the drive is only possible from the expander 13 to the internal combustion engine 1, but not in the opposite direction.
  • a braking device 7 Arranged between the shaft coupling 6 and the expander 13 is a braking device 7, which is designed as an automatic centrifugal brake 7a. As soon as the current speed n 2 of the expander 13 reaches a defined critical speed n k , the output shaft 5 of the expander 13 is braked by the braking device 7, so that overextension of the expander 13 beyond this critical speed is avoided. Below the critical speed, the braking device 7 releases the output shaft 5, so that the expander 13 can rotate freely.
  • the centrifugal brake keeps the current speed n 2 of the expander 13 below the critical speed n k of the expander 13 under all operating conditions of the engine, in particular also those with a high engine speed such as gear change or engine brake operation.
  • the centrifugal brake 7a acts as a safety device for the expander 13, for example in the event that the mechanical connection in the drive train 2 between the expander 13 and the internal combustion engine 1 is interrupted (for example if a drive belt in the drive train fails).

Landscapes

  • Engineering & Computer Science (AREA)
  • Chemical & Material Sciences (AREA)
  • Combustion & Propulsion (AREA)
  • Mechanical Engineering (AREA)
  • General Engineering & Computer Science (AREA)
  • Engine Equipment That Uses Special Cycles (AREA)

Description

  • Die Erfindung betrifft eine Brennkraftmaschine mit einem insbesondere nach dem organischen Rankine Zyklus arbeitenden Abwärmerückgewinnungssystem, welches zumindest einen Verdichter, zumindest einen Wärmetauscher, zumindest einen Expander und zumindest einen Kondensator aufweist, wobei eine Abtriebswelle des Expanders über einen zumindest eine Wellenkupplung aufweisenden Triebstrang mit einer Kurbelwelle der Brennkraftmaschine antriebsverbindbar ist, wobei der Triebstrang durch die Wellenkupplung unterbrechbar ist, sobald die brennkraftmaschinenseitige Drehzahl der Wellenkupplung die expanderseitige Drehzahl der Wellenkupplung überschreitet und wobei im Triebstrang zwischen dem Expander und der Brennkraftmaschine zumindest eine Bremseinrichtung angeordnet ist.
  • Weiters betrifft die Erfindung ein Verfahren zum Betreiben einer Brennkraftmaschine, welche ein insbesondere nach dem organischen Rankine Zyklus arbeitendes Abwärmerückgewinnungssystem aufweist, wobei ein Arbeitsmedium in zumindest einem Verdichter komprimiert, in zumindest einen Wärmetauscher durch Abwärme insbesondere der Brennkraftmaschine erhitzt, in zumindest einem Expander unter Abgabe von Arbeit an die Kurbelwelle der Brennkraftmaschine expandiert und in zumindest einem Kondensator abgekühlt wird, wobei ein Triebstrang zwischen dem Expander und der Brennkraftmaschine mittels einer vorzugsweise als Freilaufkupplung ausgebildeten Wellenkupplung unterbrochen wird, wenn die brennkraftmaschinenseitige Drehzahl der Wellenkupplung die expanderseitige Drehzahl der Wellenkupplung überschreitet.
  • Im Stand der Technik sind Vorrichtungen zur Abwärmenutzung einer Brennkraftmaschine bekannt, mit denen aus dem Abgas der Brennkraftmaschine Energie beispielsweise mittels eines organischen Rankine-Zyklus zurückgewonnen werden kann. Dabei wird ein organisches Arbeitsmedium durch eine Speisepumpe bzw. durch einen Verdichter verdichtet, in einem Wärmetauscher mittels der Abwärme der Brennkraftmaschine erhitzt, in einer beispielsweise als Turbine oder Kolbenmaschine ausgebildeten Arbeitsmaschine (Expander) unter Abgabe von Arbeit expandiert und in einem Kondensator abgekühlt. Die Arbeitsmaschine kann zur Stromerzeugung mit einem Generator verbunden sein oder zur Abgabe von mechanischer Antriebsleistung mit der Kurbelwelle der Brennkraftmaschine antriebsverbunden sein.
  • Die EP 1 243 758 A1 offenbart eine Brennkraftmaschine mit einem nach dem organischen Rankine-Zyklus arbeitenden Abwärmerückgewinnungssystem, welches einen Verdichter, einen Wärmetauscher, einen Expander und einen Kondensator aufweist. Die Abtriebswelle des Expanders ist über zumindest einen Wellenkupplung mit der Kurbelwelle der Brennkraftmaschine antriebverbindbar. Zwischen dem Expander und der Brennkraftmaschine ist im Triebstrang eine Bremseinrichtung angeordnet.
  • Aus der DE 20 2013 004 907 U1 ist ein Kraftfahrzeug mit einer koppelbaren Abwärmenutzungsanordnung bekannt, wobei die Arbeitsmaschine des Kreisprozesses über Kupplungen wahlweise mit einer Brennkraftmaschine oder einem Nebenaggregat über ein Zugmittelgetriebe antriebsverbunden werden kann. Weiters ist zwischen der Arbeitsmaschine und dem Zugmittelgetriebe ein Freilauf angeordnet.
  • Die DE 10 2010 025 186 A1 beschreibt eine Abwärmenutzungsvorrichtung für eine Brennkraftmaschine mit einem eine Expansionsmaschine aufweisenden Abwärmenutzungskreis, in welchem ein Arbeitsmedium zirkuliert. Die Expansionsmaschine ist über eine Überholkupplung mit der Kurbelwelle der Brennkraftmaschine verbunden. Eine derartige Überholkupplung erlaubt eine Antriebskraftübertragung ausschließlich von der Expansionsmaschine zur Kurbelwelle. Somit wird ein Schleppen der Expansionsmaschine durch die Kurbelwelle vermieden.
  • In gewissen Betriebsbereichen kann es allerdings vorkommen, dass trotzdem die Expanderdrehzahl die maximal zulässige Drehzahl des Expanders überschreitet, beispielsweise wenn die zulässige Expanderdrehzahl unter der zulässigen maximalen Motordrehzahl liegt, oder auch im Falle eines Defektes im Triebstrang.
  • Aufgabe der Erfindung ist es, ein Überdrehen des Expanders zuverlässig und mit geringem konstruktivem Aufwand zu vermeiden.
  • Erfindungsgemäß wird dies dadurch erreicht, dass der Expander durch die Bremseinrichtung abbremsbar ist, wenn die Drehzahl des Expanders eine definierte kritische Grenzdrehzahl des Expanders überschreitet.
  • Vorzugsweise ist die Bremseinrichtung im Triebstrang zwischen dem Expander und der Wellenkupplung angeordnet.
  • Die Bremseinrichtung kann als steuerbare bzw. regelbare Bremseinrichtung ausgebildet sein. In einer besonders einfachen Ausführung der Erfindung ist allerdings vorgesehen, dass die Bremseinrichtung als Fliehkraftbremse ausgebildet ist. Fliehkraftbremsen haben den Vorteil, dass sie selbsttätig agieren und die entsprechende anliegende Welle ab einer definierten Drehzahl abbremsen.
  • Weiters ist es vorteilhaft, wenn die Wellenkupplung als Freilaufkupplung ausgebildet ist. Dadurch kann der Triebstrang durch die Wellenkupplung selbsttätig unterbrochen werden, sobald die brennkraftmaschinenseitige Drehzahl der Wellenkupplung die expanderseitige Drehzahl der Wellenkupplung überschreitet.
  • Fliehkraftbremse und Freilaufkupplung arbeiten völlig autark, sodass separate Steuereinrichtungen und Aktuatoren entfallen können.
  • Das Abwärmerückgewinnungssystem arbeitet bevorzugt nach dem bekannten Organischen Rankine Zyklus, wobei ein organisches Arbeitsmedium in zumindest einem Verdichter komprimiert, in zumindest einen Wärmetauscher durch Abwärme der Brennkraftmaschine erhitzt, in zumindest einem Expander unter Abgabe von Arbeit an die Kurbelwelle der Brennkraftmaschine expandiert und in zumindest einem Kondensator abgekühlt wird. Der Triebstrang zwischen dem Expander und der Brennkraftmaschine wird mittels der vorzugsweise als Freilaufkupplung ausgebildeten Wellenkupplung unterbrochen, wenn die brennkraftmaschinenseitige Drehzahl der Wellenkupplung die expanderseitige Drehzahl der Wellenkupplung überschreitet.
  • Gemäß dem erfindungsgemäßen Verfahren ist zur Vermeidung einer Überdrehzahl des Expanders vorgesehen, dass der Triebstrang auf der Expanderseite der Wellenkupplung über die vorzugsweise als Fliehkraftbremse ausgebildete Bremseinrichtung abgebremst wird, wenn die Drehzahl des Expanders eine definierte kritische Grenzdrehzahl überschreitet.
  • Die Erfindung wird im Folgenden anhand eines nicht einschränkenden Ausführungsbeispiels näher erläutert.
  • Die Figur zeigt eine Brennkraftmaschine 1, welche über einen Triebstrang 2 mit einem Expander 13 eines Wärmerückgewinnungssystems 10 verbunden ist, welches neben dem Expander 13 zumindest einen Verdichters 11, einen Wärmetauscher 12 und einen Kondensator 14 aufweist. Über den Verdichter 11 wird das beispielsweise organische Arbeitsmedium verdichtet, im Wärmetauscher 12 die Abwärme der Brennkraftmaschine 1, beispielsweise aus dem Abgas, zugeführt. Im Expander wird das Arbeitsmedium unter Abgabe von mechanischer Arbeit entspannt und im Kondensator 14 abgekühlt. Der Expander 13 wird durch eine Arbeitsmaschine, beispielsweise eine Turbine oder eine Hubkolbenmaschine gebildet. Mit Bezugszeichen 4 ist die Kurbelwelle, mit Bezugszeichen 5 die Abtriebswelle des Expanders 13 bezeichnet. Eventuell vorhandene Über- oder Untersetzungsgetriebe zwischen Expander 13 und Brennkraftmaschine 1, die prinzipiell in jedem der drei Abschnitte des Triebstranges (zwischen Kurbelwelle und Wellenkupplung, zwischen Wellenkupplung und Bremseinrichtung sowie zwischen Bremseinrichtung und Expander) angeordnet sein können, sind nicht dargestellt.
  • Im Triebstrang 2 ist eine als Freilaufkupplung (Überholkupplung) 6a ausgebildete Wellenkupplung 6 angeordnet. Die Freilaufkupplung 6a dient dazu, einen Antrieb des Expanders 13 durch die Kurbelwelle 4 der Brennkraftmaschine 1 zu vermeiden. Sobald die brennkraftmaschinenseitige Drehzahl n1 der Freilaufkupplung 6a größer ist, als die expanderseitige Drehzahl n2 der Freilaufkupplung 6a, wird der Triebstrang 2 unterbrochen. Somit ist der Antrieb nur vom Expander 13 zur Brennkraftmaschine 1, aber nicht in umgekehrter Richtung, möglich.
  • Zwischen der Wellenkupplung 6 und dem Expander 13 ist eine Bremseinrichtung 7 angeordnet, welche als selbsttätige Fliehkraftbremse 7a ausgebildet ist. Sobald die aktuelle Drehzahl n2 des Expanders 13 eine definierte kritische Drehzahl nk erreicht, wird die Abtriebswelle 5 des Expanders 13 durch die Bremseinrichtung 7 abgebremst, sodass ein Überdrehen des Expanders 13 über diese kritische Drehzahl hinaus vermieden wird. Unterhalb der kritischen Drehzahl gibt die Bremseinrichtung 7 die Abtriebswelle 5 frei, sodass ein unbehindertes Drehen des Expanders 13 möglich ist.
  • Durch die Fliehkraftbremse wird die aktuelle Drehzahl n2 des Expanders 13, unter allen Betriebszuständen des Motors, insbesondere auch solchen mit hoher Motordrehzahl wie Gangwechsel oder Motorbremsbetrieb, unterhalb der kritischen Drehzahl nk des Expanders 13 gehalten. Zusätzlich agiert die Fliehkraftbremse 7a als Sicherheitseinrichtung für den Expander 13, beispielsweise für den Fall, dass die mechanische Verbindung im Triebstrang 2 zwischen dem Expander 13 und der Brennkraftmaschine 1 unterbrochen wird (zum Beispiel bei Versagen eines Antriebsriemens im Triebstrang).

Claims (6)

  1. Brennkraftmaschine (1) mit einem insbesondere nach dem organischen Rankine Zyklus arbeitenden Abwärmerückgewinnungssystem (10), welches zumindest einen Verdichter (11), zumindest einen Wärmetauscher (12), zumindest einen Expander (13) und zumindest einen Kondensator (14) aufweist, wobei eine Abtriebswelle (5) des Expanders (13) über einen zumindest eine Wellenkupplung (6) aufweisenden Triebstrang (2) mit einer Kurbelwelle (4) der Brennkraftmaschine (1) antriebsverbindbar ist, wobei im Triebstrang (2) zwischen dem Expander (13) und der Brennkraftmaschine (1) zumindest eine Bremseinrichtung (7) angeordnet ist, dadurch gekennzeichnet, dass die Bremseinrichtung (7) dazu ausgelegt ist den Expander (13) abzubremsen, wenn die Drehzahl (n2) des Expanders (13) eine definierte kritische Grenzdrehzahl (nk) des Expanders (13) überschreitet.
  2. Brennkraftmaschine (1) nach Anspruch 1, dadurch gekennzeichnet, dass die Bremseinrichtung (7) im Triebstrang (2) zwischen dem Expander (13) und der Wellenkupplung (6) angeordnet ist.
  3. Brennkraftmaschine (1) nach Anspruch 1 oder 2, dadurch gekennzeichnet, dass der Triebstrang (2) durch die Wellenkupplung (6) unterbrechbar ist, sobald die brennkraftmaschinenseitige Drehzahl (n1) der Wellenkupplung (6) die expanderseitige Drehzahl (n2) der Wellenkupplung (6) überschreitet.
  4. Brennkraftmaschine (1) nach einem der Ansprüche 1 bis 3, dadurch gekennzeichnet, dass die Wellenkupplung (6) als Freilaufkupplung (6a) ausgebildet ist.
  5. Brennkraftmaschine (1) nach einem der Ansprüche 1 bis 4, dadurch gekennzeichnet, dass die Bremseinrichtung (7) als Fliehkraftbremse (7a) ausgebildet ist.
  6. Verfahren zum Betreiben einer Brennkraftmaschine (1), welche ein insbesondere nach dem organischen Rankine Zyklus arbeitendes Abwärmerückgewinnungssystem (10) aufweist, wobei ein Arbeitsmedium in zumindest einem Verdichter (11) komprimiert, in zumindest einem Wärmetauscher (12) durch Abwärme insbesondere der Brennkraftmaschine (1) erhitzt, in zumindest einem Expander (13) unter Abgabe von Arbeit an die Kurbelwelle (4) der Brennkraftmaschine (1) expandiert und in zumindest einem Kondensator (14) abgekühlt wird, wobei ein Triebstrang (2) zwischen dem Expander (13) und der Brennkraftmaschine (1) mittels einer vorzugsweise als Freilaufkupplung (6a) ausgebildeten Wellenkupplung (6) unterbrochen wird, wenn die brennkraftmaschinenseitige Drehzahl (n1) der Wellenkupplung (6) die expanderseitige Drehzahl (n2) der Wellenkupplung (6) überschreitet, dadurch gekennzeichnet, dass der Triebstrang (2) auf der Expanderseite der Wellenkupplung (6) über eine vorzugsweise als Fliehkraftbremse (7a) ausgebildete Bremseinrichtung (7) abgebremst wird, wenn die aktuelle Drehzahl (n2) des Expanders (13) eine definierte kritische Grenzdrehzahl (nk) des Expanders (13) überschreitet.
EP16736766.3A 2015-06-15 2016-05-12 Brennkraftmaschine mit einem abwärmerückgewinnungssystem Not-in-force EP3307993B1 (de)

Applications Claiming Priority (2)

Application Number Priority Date Filing Date Title
ATA50487/2015A AT516709B1 (de) 2015-06-15 2015-06-15 Brennkraftmaschine mit einem abwärmerückgewinnungssystem
PCT/AT2016/050138 WO2016201460A1 (de) 2015-06-15 2016-05-12 Brennkraftmaschine mit einem abwärmerückgewinnungssystem

Publications (2)

Publication Number Publication Date
EP3307993A1 EP3307993A1 (de) 2018-04-18
EP3307993B1 true EP3307993B1 (de) 2020-06-24

Family

ID=56403916

Family Applications (1)

Application Number Title Priority Date Filing Date
EP16736766.3A Not-in-force EP3307993B1 (de) 2015-06-15 2016-05-12 Brennkraftmaschine mit einem abwärmerückgewinnungssystem

Country Status (3)

Country Link
EP (1) EP3307993B1 (de)
AT (1) AT516709B1 (de)
WO (1) WO2016201460A1 (de)

Families Citing this family (3)

* Cited by examiner, † Cited by third party
Publication number Priority date Publication date Assignee Title
DE102015224128A1 (de) * 2015-12-03 2017-06-08 Robert Bosch Gmbh Abwärmerückgewinnungssystem einer Brennkraftmaschine und Verfahren zum Betreiben eines Abwärmerückgewinnungssystems einer Brennkraftmaschine
DE102016219604A1 (de) * 2016-10-10 2018-04-12 Mahle International Gmbh Drehschwingungsdämpfer
CN115077139B (zh) * 2021-03-16 2024-06-21 浙江雪波蓝科技有限公司 朗肯-制冷循环系统及冷藏车

Family Cites Families (9)

* Cited by examiner, † Cited by third party
Publication number Priority date Publication date Assignee Title
JP2001227616A (ja) * 1999-12-08 2001-08-24 Honda Motor Co Ltd 駆動装置
DE102010025186A1 (de) 2010-06-26 2011-04-28 Daimler Ag Abwärmenutzungsvorrichtung, Brennkraftmaschine und Kraftfahrzeug
WO2012025775A1 (en) * 2010-08-27 2012-03-01 Renault Trucks Engine arrangement comprising a heat recovery circuit
JP5761358B2 (ja) * 2011-09-30 2015-08-12 日産自動車株式会社 ランキンサイクル
JP5741524B2 (ja) * 2011-10-19 2015-07-01 株式会社豊田自動織機 ランキンサイクル
DE102012220893A1 (de) * 2012-11-15 2014-05-15 Zf Friedrichshafen Ag Fahrzeugantrieb mit einem Verbrennungsmotor und einer Abwärmenutzungseinheit
DE102013103829A1 (de) * 2013-04-16 2014-10-16 Robert Bosch Gmbh Rekuperationssystem für ein Kraftfahrzeug
DE202013004907U1 (de) 2013-05-28 2013-07-02 GM Global Technology Operations LLC (n. d. Ges. d. Staates Delaware) Kraftfahrzeug mit einer koppelbaren Abwärmenutzanordnung
DE102013009219A1 (de) * 2013-05-31 2014-12-04 Man Truck & Bus Ag Verfahren und Vorrichtung zum Betreiben einer Brennkraftmaschine

Non-Patent Citations (1)

* Cited by examiner, † Cited by third party
Title
None *

Also Published As

Publication number Publication date
WO2016201460A1 (de) 2016-12-22
AT516709B1 (de) 2016-08-15
AT516709A4 (de) 2016-08-15
EP3307993A1 (de) 2018-04-18

Similar Documents

Publication Publication Date Title
DE102012000314B4 (de) Reibungsanfahrstrategie für einen Kraftfahrzeug-Antriebsstrang
WO2013131642A1 (de) Abwärmenutzungsvorrichtung für ein kraftfahrzeug
EP2684728B1 (de) Kraftfahrzeug mit von einem elektromotor angetriebenen nebenaggregaten
EP2178730B1 (de) Verfahren zur durchführung einer zugkraftunterbrochenen schaltung bei einem parallelen hybridfahrzeug
EP3307993B1 (de) Brennkraftmaschine mit einem abwärmerückgewinnungssystem
EP2698505A1 (de) Verfahren zum Laden und Entladen eines Wärmespeichers und Anlage zur Speicherung und Abgabe von thermischer Energie, geeignet für dieses Verfahren
EP2556217A2 (de) Kraftwerksstrang mit einer drehzahlvariablen pumpe
WO2011012259A1 (de) Getriebeölkreislauf
EP1911622A1 (de) Antrieb für ein Kettenfahrzeug
DE102012019967B4 (de) Aufladeeinrichtung für Brennkraftmaschinen
EP4061676A1 (de) Vorrichtung und verfahren zur energierückgewinnung für ein elektrisch angetriebenes kraftfahrzeug
WO2012156175A2 (de) Vorrichtung und verfahren zur nutzung der abwärme einer brennkraftmaschine
EP2527635A2 (de) Energierückgewinnungssystem
DE102012213277A1 (de) Verfahren zum Durchführen einer Fahrtrichtungsumkehr bei Arbeitsmaschinen
EP2050641B1 (de) Hybridfahrzeug
DE102008054164A1 (de) Kupplungskompressor- und Lenkhilfepumpenanordnung sowie Verfahren zu deren Steuerung
DE102016218764A1 (de) Brennkraftmaschine eines Kraftfahrzeugs mit einer Abwärmenutzungseinrichtung
EP2963256A1 (de) Antriebseinrichtung für ein kraftfahrzeug
DE102008040587B4 (de) Antriebsanordnung für ein Kraftfahrzeug, sowie Verfahren zum Betrieb einer Antriebsanordnung für ein Kraftfahrzeug
DE102012220893A1 (de) Fahrzeugantrieb mit einem Verbrennungsmotor und einer Abwärmenutzungseinheit
DE102013103829A1 (de) Rekuperationssystem für ein Kraftfahrzeug
WO2012159830A1 (de) Hybridfahrzeug und verfahren zum betreiben eines hybridfahrzeugs
DE102012020821B4 (de) Notantrieb für ein Baugerät und Verfahren zum Betrieb des Notantriebs
DE102006043518A1 (de) Autarke Energieerzeugungseinheit für ein von einer Verbrennungskraftmaschine angetriebenes Fahrzeug
DE102019134552A1 (de) Verfahren zur Bestimmung einer Nachkühlzeit für einen ein Fahrzeug antreibenden Elektro-Traktionsmotor

Legal Events

Date Code Title Description
STAA Information on the status of an ep patent application or granted ep patent

Free format text: STATUS: THE INTERNATIONAL PUBLICATION HAS BEEN MADE

PUAI Public reference made under article 153(3) epc to a published international application that has entered the european phase

Free format text: ORIGINAL CODE: 0009012

STAA Information on the status of an ep patent application or granted ep patent

Free format text: STATUS: REQUEST FOR EXAMINATION WAS MADE

17P Request for examination filed

Effective date: 20171204

AK Designated contracting states

Kind code of ref document: A1

Designated state(s): AL AT BE BG CH CY CZ DE DK EE ES FI FR GB GR HR HU IE IS IT LI LT LU LV MC MK MT NL NO PL PT RO RS SE SI SK SM TR

AX Request for extension of the european patent

Extension state: BA ME

DAV Request for validation of the european patent (deleted)
DAX Request for extension of the european patent (deleted)
GRAP Despatch of communication of intention to grant a patent

Free format text: ORIGINAL CODE: EPIDOSNIGR1

STAA Information on the status of an ep patent application or granted ep patent

Free format text: STATUS: GRANT OF PATENT IS INTENDED

INTG Intention to grant announced

Effective date: 20200310

GRAS Grant fee paid

Free format text: ORIGINAL CODE: EPIDOSNIGR3

GRAA (expected) grant

Free format text: ORIGINAL CODE: 0009210

STAA Information on the status of an ep patent application or granted ep patent

Free format text: STATUS: THE PATENT HAS BEEN GRANTED

AK Designated contracting states

Kind code of ref document: B1

Designated state(s): AL AT BE BG CH CY CZ DE DK EE ES FI FR GB GR HR HU IE IS IT LI LT LU LV MC MK MT NL NO PL PT RO RS SE SI SK SM TR

REG Reference to a national code

Ref country code: GB

Ref legal event code: FG4D

Free format text: NOT ENGLISH

REG Reference to a national code

Ref country code: CH

Ref legal event code: EP

REG Reference to a national code

Ref country code: AT

Ref legal event code: REF

Ref document number: 1284100

Country of ref document: AT

Kind code of ref document: T

Effective date: 20200715

REG Reference to a national code

Ref country code: DE

Ref legal event code: R096

Ref document number: 502016010321

Country of ref document: DE

REG Reference to a national code

Ref country code: IE

Ref legal event code: FG4D

Free format text: LANGUAGE OF EP DOCUMENT: GERMAN

PG25 Lapsed in a contracting state [announced via postgrant information from national office to epo]

Ref country code: NO

Free format text: LAPSE BECAUSE OF FAILURE TO SUBMIT A TRANSLATION OF THE DESCRIPTION OR TO PAY THE FEE WITHIN THE PRESCRIBED TIME-LIMIT

Effective date: 20200924

Ref country code: SE

Free format text: LAPSE BECAUSE OF FAILURE TO SUBMIT A TRANSLATION OF THE DESCRIPTION OR TO PAY THE FEE WITHIN THE PRESCRIBED TIME-LIMIT

Effective date: 20200624

Ref country code: FI

Free format text: LAPSE BECAUSE OF FAILURE TO SUBMIT A TRANSLATION OF THE DESCRIPTION OR TO PAY THE FEE WITHIN THE PRESCRIBED TIME-LIMIT

Effective date: 20200624

Ref country code: GR

Free format text: LAPSE BECAUSE OF FAILURE TO SUBMIT A TRANSLATION OF THE DESCRIPTION OR TO PAY THE FEE WITHIN THE PRESCRIBED TIME-LIMIT

Effective date: 20200925

Ref country code: LT

Free format text: LAPSE BECAUSE OF FAILURE TO SUBMIT A TRANSLATION OF THE DESCRIPTION OR TO PAY THE FEE WITHIN THE PRESCRIBED TIME-LIMIT

Effective date: 20200624

REG Reference to a national code

Ref country code: LT

Ref legal event code: MG4D

PG25 Lapsed in a contracting state [announced via postgrant information from national office to epo]

Ref country code: RS

Free format text: LAPSE BECAUSE OF FAILURE TO SUBMIT A TRANSLATION OF THE DESCRIPTION OR TO PAY THE FEE WITHIN THE PRESCRIBED TIME-LIMIT

Effective date: 20200624

Ref country code: HR

Free format text: LAPSE BECAUSE OF FAILURE TO SUBMIT A TRANSLATION OF THE DESCRIPTION OR TO PAY THE FEE WITHIN THE PRESCRIBED TIME-LIMIT

Effective date: 20200624

Ref country code: LV

Free format text: LAPSE BECAUSE OF FAILURE TO SUBMIT A TRANSLATION OF THE DESCRIPTION OR TO PAY THE FEE WITHIN THE PRESCRIBED TIME-LIMIT

Effective date: 20200624

Ref country code: BG

Free format text: LAPSE BECAUSE OF FAILURE TO SUBMIT A TRANSLATION OF THE DESCRIPTION OR TO PAY THE FEE WITHIN THE PRESCRIBED TIME-LIMIT

Effective date: 20200924

REG Reference to a national code

Ref country code: NL

Ref legal event code: MP

Effective date: 20200624

PG25 Lapsed in a contracting state [announced via postgrant information from national office to epo]

Ref country code: NL

Free format text: LAPSE BECAUSE OF FAILURE TO SUBMIT A TRANSLATION OF THE DESCRIPTION OR TO PAY THE FEE WITHIN THE PRESCRIBED TIME-LIMIT

Effective date: 20200624

Ref country code: AL

Free format text: LAPSE BECAUSE OF FAILURE TO SUBMIT A TRANSLATION OF THE DESCRIPTION OR TO PAY THE FEE WITHIN THE PRESCRIBED TIME-LIMIT

Effective date: 20200624

PG25 Lapsed in a contracting state [announced via postgrant information from national office to epo]

Ref country code: RO

Free format text: LAPSE BECAUSE OF FAILURE TO SUBMIT A TRANSLATION OF THE DESCRIPTION OR TO PAY THE FEE WITHIN THE PRESCRIBED TIME-LIMIT

Effective date: 20200624

Ref country code: SM

Free format text: LAPSE BECAUSE OF FAILURE TO SUBMIT A TRANSLATION OF THE DESCRIPTION OR TO PAY THE FEE WITHIN THE PRESCRIBED TIME-LIMIT

Effective date: 20200624

Ref country code: PT

Free format text: LAPSE BECAUSE OF FAILURE TO SUBMIT A TRANSLATION OF THE DESCRIPTION OR TO PAY THE FEE WITHIN THE PRESCRIBED TIME-LIMIT

Effective date: 20201026

Ref country code: EE

Free format text: LAPSE BECAUSE OF FAILURE TO SUBMIT A TRANSLATION OF THE DESCRIPTION OR TO PAY THE FEE WITHIN THE PRESCRIBED TIME-LIMIT

Effective date: 20200624

Ref country code: CZ

Free format text: LAPSE BECAUSE OF FAILURE TO SUBMIT A TRANSLATION OF THE DESCRIPTION OR TO PAY THE FEE WITHIN THE PRESCRIBED TIME-LIMIT

Effective date: 20200624

Ref country code: ES

Free format text: LAPSE BECAUSE OF FAILURE TO SUBMIT A TRANSLATION OF THE DESCRIPTION OR TO PAY THE FEE WITHIN THE PRESCRIBED TIME-LIMIT

Effective date: 20200624

PG25 Lapsed in a contracting state [announced via postgrant information from national office to epo]

Ref country code: SK

Free format text: LAPSE BECAUSE OF FAILURE TO SUBMIT A TRANSLATION OF THE DESCRIPTION OR TO PAY THE FEE WITHIN THE PRESCRIBED TIME-LIMIT

Effective date: 20200624

Ref country code: PL

Free format text: LAPSE BECAUSE OF FAILURE TO SUBMIT A TRANSLATION OF THE DESCRIPTION OR TO PAY THE FEE WITHIN THE PRESCRIBED TIME-LIMIT

Effective date: 20200624

Ref country code: IS

Free format text: LAPSE BECAUSE OF FAILURE TO SUBMIT A TRANSLATION OF THE DESCRIPTION OR TO PAY THE FEE WITHIN THE PRESCRIBED TIME-LIMIT

Effective date: 20201024

REG Reference to a national code

Ref country code: DE

Ref legal event code: R097

Ref document number: 502016010321

Country of ref document: DE

PG25 Lapsed in a contracting state [announced via postgrant information from national office to epo]

Ref country code: DK

Free format text: LAPSE BECAUSE OF FAILURE TO SUBMIT A TRANSLATION OF THE DESCRIPTION OR TO PAY THE FEE WITHIN THE PRESCRIBED TIME-LIMIT

Effective date: 20200624

PLBE No opposition filed within time limit

Free format text: ORIGINAL CODE: 0009261

STAA Information on the status of an ep patent application or granted ep patent

Free format text: STATUS: NO OPPOSITION FILED WITHIN TIME LIMIT

26N No opposition filed

Effective date: 20210325

PG25 Lapsed in a contracting state [announced via postgrant information from national office to epo]

Ref country code: SI

Free format text: LAPSE BECAUSE OF FAILURE TO SUBMIT A TRANSLATION OF THE DESCRIPTION OR TO PAY THE FEE WITHIN THE PRESCRIBED TIME-LIMIT

Effective date: 20200624

REG Reference to a national code

Ref country code: CH

Ref legal event code: PL

GBPC Gb: european patent ceased through non-payment of renewal fee

Effective date: 20210512

PG25 Lapsed in a contracting state [announced via postgrant information from national office to epo]

Ref country code: MC

Free format text: LAPSE BECAUSE OF FAILURE TO SUBMIT A TRANSLATION OF THE DESCRIPTION OR TO PAY THE FEE WITHIN THE PRESCRIBED TIME-LIMIT

Effective date: 20200624

Ref country code: LI

Free format text: LAPSE BECAUSE OF NON-PAYMENT OF DUE FEES

Effective date: 20210531

Ref country code: LU

Free format text: LAPSE BECAUSE OF NON-PAYMENT OF DUE FEES

Effective date: 20210512

Ref country code: CH

Free format text: LAPSE BECAUSE OF NON-PAYMENT OF DUE FEES

Effective date: 20210531

REG Reference to a national code

Ref country code: BE

Ref legal event code: MM

Effective date: 20210531

PG25 Lapsed in a contracting state [announced via postgrant information from national office to epo]

Ref country code: IE

Free format text: LAPSE BECAUSE OF NON-PAYMENT OF DUE FEES

Effective date: 20210512

Ref country code: GB

Free format text: LAPSE BECAUSE OF NON-PAYMENT OF DUE FEES

Effective date: 20210512

REG Reference to a national code

Ref country code: AT

Ref legal event code: MM01

Ref document number: 1284100

Country of ref document: AT

Kind code of ref document: T

Effective date: 20210512

PG25 Lapsed in a contracting state [announced via postgrant information from national office to epo]

Ref country code: BE

Free format text: LAPSE BECAUSE OF NON-PAYMENT OF DUE FEES

Effective date: 20210531

PG25 Lapsed in a contracting state [announced via postgrant information from national office to epo]

Ref country code: AT

Free format text: LAPSE BECAUSE OF NON-PAYMENT OF DUE FEES

Effective date: 20210512

P01 Opt-out of the competence of the unified patent court (upc) registered

Effective date: 20230505

PG25 Lapsed in a contracting state [announced via postgrant information from national office to epo]

Ref country code: CY

Free format text: LAPSE BECAUSE OF FAILURE TO SUBMIT A TRANSLATION OF THE DESCRIPTION OR TO PAY THE FEE WITHIN THE PRESCRIBED TIME-LIMIT

Effective date: 20200624

PG25 Lapsed in a contracting state [announced via postgrant information from national office to epo]

Ref country code: HU

Free format text: LAPSE BECAUSE OF FAILURE TO SUBMIT A TRANSLATION OF THE DESCRIPTION OR TO PAY THE FEE WITHIN THE PRESCRIBED TIME-LIMIT; INVALID AB INITIO

Effective date: 20160512

PGFP Annual fee paid to national office [announced via postgrant information from national office to epo]

Ref country code: IT

Payment date: 20230531

Year of fee payment: 8

Ref country code: FR

Payment date: 20230530

Year of fee payment: 8

Ref country code: DE

Payment date: 20230531

Year of fee payment: 8

PG25 Lapsed in a contracting state [announced via postgrant information from national office to epo]

Ref country code: MK

Free format text: LAPSE BECAUSE OF FAILURE TO SUBMIT A TRANSLATION OF THE DESCRIPTION OR TO PAY THE FEE WITHIN THE PRESCRIBED TIME-LIMIT

Effective date: 20200624

PG25 Lapsed in a contracting state [announced via postgrant information from national office to epo]

Ref country code: MT

Free format text: LAPSE BECAUSE OF FAILURE TO SUBMIT A TRANSLATION OF THE DESCRIPTION OR TO PAY THE FEE WITHIN THE PRESCRIBED TIME-LIMIT

Effective date: 20200624

REG Reference to a national code

Ref country code: DE

Ref legal event code: R119

Ref document number: 502016010321

Country of ref document: DE

PG25 Lapsed in a contracting state [announced via postgrant information from national office to epo]

Ref country code: DE

Free format text: LAPSE BECAUSE OF NON-PAYMENT OF DUE FEES

Effective date: 20241203

PG25 Lapsed in a contracting state [announced via postgrant information from national office to epo]

Ref country code: FR

Free format text: LAPSE BECAUSE OF NON-PAYMENT OF DUE FEES

Effective date: 20240531

PG25 Lapsed in a contracting state [announced via postgrant information from national office to epo]

Ref country code: IT

Free format text: LAPSE BECAUSE OF NON-PAYMENT OF DUE FEES

Effective date: 20240512

PG25 Lapsed in a contracting state [announced via postgrant information from national office to epo]

Ref country code: TR

Free format text: LAPSE BECAUSE OF FAILURE TO SUBMIT A TRANSLATION OF THE DESCRIPTION OR TO PAY THE FEE WITHIN THE PRESCRIBED TIME-LIMIT

Effective date: 20200624