EP3009067A1 - Biomems sensor and apparatuses and methods thereof - Google Patents
Biomems sensor and apparatuses and methods thereof Download PDFInfo
- Publication number
- EP3009067A1 EP3009067A1 EP15186883.3A EP15186883A EP3009067A1 EP 3009067 A1 EP3009067 A1 EP 3009067A1 EP 15186883 A EP15186883 A EP 15186883A EP 3009067 A1 EP3009067 A1 EP 3009067A1
- Authority
- EP
- European Patent Office
- Prior art keywords
- sensor
- resonator
- sensor device
- strain sensor
- strain
- Prior art date
- Legal status (The legal status is an assumption and is not a legal conclusion. Google has not performed a legal analysis and makes no representation as to the accuracy of the status listed.)
- Withdrawn
Links
- 238000000034 method Methods 0.000 title abstract description 37
- 238000012544 monitoring process Methods 0.000 claims abstract description 24
- 230000002123 temporal effect Effects 0.000 claims abstract description 17
- 239000000758 substrate Substances 0.000 claims description 87
- 229910052581 Si3N4 Inorganic materials 0.000 claims description 31
- HQVNEWCFYHHQES-UHFFFAOYSA-N silicon nitride Chemical compound N12[Si]34N5[Si]62N3[Si]51N64 HQVNEWCFYHHQES-UHFFFAOYSA-N 0.000 claims description 31
- 239000003989 dielectric material Substances 0.000 claims description 30
- 239000010931 gold Substances 0.000 claims description 29
- 239000003990 capacitor Substances 0.000 claims description 22
- PCHJSUWPFVWCPO-UHFFFAOYSA-N gold Chemical compound [Au] PCHJSUWPFVWCPO-UHFFFAOYSA-N 0.000 claims description 22
- 229910052737 gold Inorganic materials 0.000 claims description 22
- 230000008859 change Effects 0.000 claims description 15
- 230000005672 electromagnetic field Effects 0.000 claims description 14
- 230000004044 response Effects 0.000 claims description 14
- 230000006870 function Effects 0.000 claims description 12
- 239000007943 implant Substances 0.000 claims description 11
- 238000002513 implantation Methods 0.000 claims description 10
- 238000005259 measurement Methods 0.000 abstract description 5
- XUIMIQQOPSSXEZ-UHFFFAOYSA-N Silicon Chemical compound [Si] XUIMIQQOPSSXEZ-UHFFFAOYSA-N 0.000 description 40
- 229910052710 silicon Inorganic materials 0.000 description 40
- 239000010703 silicon Substances 0.000 description 40
- 239000010408 film Substances 0.000 description 33
- 229910052751 metal Inorganic materials 0.000 description 29
- 239000002184 metal Substances 0.000 description 29
- 230000035876 healing Effects 0.000 description 27
- 238000013461 design Methods 0.000 description 26
- 230000035945 sensitivity Effects 0.000 description 25
- 208000010392 Bone Fractures Diseases 0.000 description 21
- 239000000463 material Substances 0.000 description 21
- 206010017076 Fracture Diseases 0.000 description 20
- 230000001965 increasing effect Effects 0.000 description 17
- 230000007423 decrease Effects 0.000 description 16
- 238000004519 manufacturing process Methods 0.000 description 16
- 230000008569 process Effects 0.000 description 16
- 210000004872 soft tissue Anatomy 0.000 description 14
- 230000000694 effects Effects 0.000 description 12
- 239000010409 thin film Substances 0.000 description 12
- 210000001519 tissue Anatomy 0.000 description 12
- KWYUFKZDYYNOTN-UHFFFAOYSA-M Potassium hydroxide Chemical compound [OH-].[K+] KWYUFKZDYYNOTN-UHFFFAOYSA-M 0.000 description 10
- 210000000988 bone and bone Anatomy 0.000 description 9
- 238000000411 transmission spectrum Methods 0.000 description 9
- 239000004593 Epoxy Substances 0.000 description 8
- 230000005540 biological transmission Effects 0.000 description 8
- 238000005530 etching Methods 0.000 description 8
- 239000000523 sample Substances 0.000 description 8
- 239000000560 biocompatible material Substances 0.000 description 6
- 238000012512 characterization method Methods 0.000 description 6
- 230000003247 decreasing effect Effects 0.000 description 6
- 238000000623 plasma-assisted chemical vapour deposition Methods 0.000 description 6
- 238000004088 simulation Methods 0.000 description 6
- 241001465754 Metazoa Species 0.000 description 5
- 238000010521 absorption reaction Methods 0.000 description 5
- 238000005452 bending Methods 0.000 description 5
- 238000000151 deposition Methods 0.000 description 5
- 230000008021 deposition Effects 0.000 description 5
- 238000001228 spectrum Methods 0.000 description 5
- 238000012360 testing method Methods 0.000 description 5
- 238000011282 treatment Methods 0.000 description 5
- 230000001594 aberrant effect Effects 0.000 description 4
- 238000004458 analytical method Methods 0.000 description 4
- 239000004020 conductor Substances 0.000 description 4
- 238000001459 lithography Methods 0.000 description 4
- 238000001465 metallisation Methods 0.000 description 4
- 230000003071 parasitic effect Effects 0.000 description 4
- 239000007787 solid Substances 0.000 description 4
- 238000001356 surgical procedure Methods 0.000 description 4
- 102000007350 Bone Morphogenetic Proteins Human genes 0.000 description 3
- 108010007726 Bone Morphogenetic Proteins Proteins 0.000 description 3
- 239000004952 Polyamide Substances 0.000 description 3
- 238000013459 approach Methods 0.000 description 3
- 238000003491 array Methods 0.000 description 3
- 230000037396 body weight Effects 0.000 description 3
- 229940112869 bone morphogenetic protein Drugs 0.000 description 3
- 230000001276 controlling effect Effects 0.000 description 3
- 238000005516 engineering process Methods 0.000 description 3
- 238000002474 experimental method Methods 0.000 description 3
- 230000037361 pathway Effects 0.000 description 3
- 230000002093 peripheral effect Effects 0.000 description 3
- 229920002647 polyamide Polymers 0.000 description 3
- 238000001039 wet etching Methods 0.000 description 3
- KRHYYFGTRYWZRS-UHFFFAOYSA-N Fluorane Chemical compound F KRHYYFGTRYWZRS-UHFFFAOYSA-N 0.000 description 2
- WSFSSNUMVMOOMR-UHFFFAOYSA-N Formaldehyde Chemical compound O=C WSFSSNUMVMOOMR-UHFFFAOYSA-N 0.000 description 2
- WZUVPPKBWHMQCE-UHFFFAOYSA-N Haematoxylin Chemical compound C12=CC(O)=C(O)C=C2CC2(O)C1C1=CC=C(O)C(O)=C1OC2 WZUVPPKBWHMQCE-UHFFFAOYSA-N 0.000 description 2
- 208000027418 Wounds and injury Diseases 0.000 description 2
- 230000001413 cellular effect Effects 0.000 description 2
- 238000006243 chemical reaction Methods 0.000 description 2
- 238000004891 communication Methods 0.000 description 2
- 239000010949 copper Substances 0.000 description 2
- 230000000875 corresponding effect Effects 0.000 description 2
- 230000006378 damage Effects 0.000 description 2
- 238000005137 deposition process Methods 0.000 description 2
- 238000010586 diagram Methods 0.000 description 2
- 238000006073 displacement reaction Methods 0.000 description 2
- 230000005684 electric field Effects 0.000 description 2
- 230000005284 excitation Effects 0.000 description 2
- 208000014674 injury Diseases 0.000 description 2
- 230000003902 lesion Effects 0.000 description 2
- 238000005457 optimization Methods 0.000 description 2
- 230000035515 penetration Effects 0.000 description 2
- 239000000243 solution Substances 0.000 description 2
- 238000012546 transfer Methods 0.000 description 2
- 230000002792 vascular Effects 0.000 description 2
- 206010067484 Adverse reaction Diseases 0.000 description 1
- JBRZTFJDHDCESZ-UHFFFAOYSA-N AsGa Chemical compound [As]#[Ga] JBRZTFJDHDCESZ-UHFFFAOYSA-N 0.000 description 1
- 208000034657 Convalescence Diseases 0.000 description 1
- RYGMFSIKBFXOCR-UHFFFAOYSA-N Copper Chemical compound [Cu] RYGMFSIKBFXOCR-UHFFFAOYSA-N 0.000 description 1
- 206010020649 Hyperkeratosis Diseases 0.000 description 1
- 206010061218 Inflammation Diseases 0.000 description 1
- 206010067268 Post procedural infection Diseases 0.000 description 1
- 208000002607 Pseudarthrosis Diseases 0.000 description 1
- 230000002159 abnormal effect Effects 0.000 description 1
- 230000006838 adverse reaction Effects 0.000 description 1
- 229910052782 aluminium Inorganic materials 0.000 description 1
- XAGFODPZIPBFFR-UHFFFAOYSA-N aluminium Chemical compound [Al] XAGFODPZIPBFFR-UHFFFAOYSA-N 0.000 description 1
- PNEYBMLMFCGWSK-UHFFFAOYSA-N aluminium oxide Inorganic materials [O-2].[O-2].[O-2].[Al+3].[Al+3] PNEYBMLMFCGWSK-UHFFFAOYSA-N 0.000 description 1
- 238000010171 animal model Methods 0.000 description 1
- 230000008901 benefit Effects 0.000 description 1
- 230000015572 biosynthetic process Effects 0.000 description 1
- 238000004364 calculation method Methods 0.000 description 1
- 210000004027 cell Anatomy 0.000 description 1
- 230000006835 compression Effects 0.000 description 1
- 238000007906 compression Methods 0.000 description 1
- 230000003750 conditioning effect Effects 0.000 description 1
- 238000010276 construction Methods 0.000 description 1
- 238000007796 conventional method Methods 0.000 description 1
- 229910052802 copper Inorganic materials 0.000 description 1
- 230000002596 correlated effect Effects 0.000 description 1
- 229910052593 corundum Inorganic materials 0.000 description 1
- 230000008878 coupling Effects 0.000 description 1
- 238000010168 coupling process Methods 0.000 description 1
- 238000005859 coupling reaction Methods 0.000 description 1
- 238000003745 diagnosis Methods 0.000 description 1
- 239000003814 drug Substances 0.000 description 1
- 239000012777 electrically insulating material Substances 0.000 description 1
- 230000005670 electromagnetic radiation Effects 0.000 description 1
- YQGOJNYOYNNSMM-UHFFFAOYSA-N eosin Chemical compound [Na+].OC(=O)C1=CC=CC=C1C1=C2C=C(Br)C(=O)C(Br)=C2OC2=C(Br)C(O)=C(Br)C=C21 YQGOJNYOYNNSMM-UHFFFAOYSA-N 0.000 description 1
- 230000004927 fusion Effects 0.000 description 1
- 239000003102 growth factor Substances 0.000 description 1
- 238000003384 imaging method Methods 0.000 description 1
- 230000001771 impaired effect Effects 0.000 description 1
- 230000006872 improvement Effects 0.000 description 1
- 238000001727 in vivo Methods 0.000 description 1
- 230000001939 inductive effect Effects 0.000 description 1
- 208000015181 infectious disease Diseases 0.000 description 1
- 230000004054 inflammatory process Effects 0.000 description 1
- 238000002347 injection Methods 0.000 description 1
- 239000007924 injection Substances 0.000 description 1
- 230000032631 intramembranous ossification Effects 0.000 description 1
- 238000011835 investigation Methods 0.000 description 1
- 238000011031 large-scale manufacturing process Methods 0.000 description 1
- 230000000527 lymphocytic effect Effects 0.000 description 1
- 210000002540 macrophage Anatomy 0.000 description 1
- 230000007246 mechanism Effects 0.000 description 1
- 238000001883 metal evaporation Methods 0.000 description 1
- 150000002739 metals Chemical class 0.000 description 1
- 238000007431 microscopic evaluation Methods 0.000 description 1
- 238000012986 modification Methods 0.000 description 1
- 230000004048 modification Effects 0.000 description 1
- 230000007935 neutral effect Effects 0.000 description 1
- 238000011587 new zealand white rabbit Methods 0.000 description 1
- 230000011164 ossification Effects 0.000 description 1
- 230000002138 osteoinductive effect Effects 0.000 description 1
- 239000012188 paraffin wax Substances 0.000 description 1
- 238000000059 patterning Methods 0.000 description 1
- 230000002980 postoperative effect Effects 0.000 description 1
- 230000003389 potentiating effect Effects 0.000 description 1
- 238000004321 preservation Methods 0.000 description 1
- 238000007639 printing Methods 0.000 description 1
- 238000004393 prognosis Methods 0.000 description 1
- 238000011158 quantitative evaluation Methods 0.000 description 1
- 230000001105 regulatory effect Effects 0.000 description 1
- 238000001878 scanning electron micrograph Methods 0.000 description 1
- 239000004065 semiconductor Substances 0.000 description 1
- 239000011343 solid material Substances 0.000 description 1
- 125000006850 spacer group Chemical group 0.000 description 1
- 230000006641 stabilisation Effects 0.000 description 1
- 238000011105 stabilization Methods 0.000 description 1
- 238000003860 storage Methods 0.000 description 1
- 239000000126 substance Substances 0.000 description 1
- 230000004083 survival effect Effects 0.000 description 1
- 230000008685 targeting Effects 0.000 description 1
- 230000003868 tissue accumulation Effects 0.000 description 1
- 230000001988 toxicity Effects 0.000 description 1
- 231100000419 toxicity Toxicity 0.000 description 1
- 230000001131 transforming effect Effects 0.000 description 1
- 230000001052 transient effect Effects 0.000 description 1
- 229910001845 yogo sapphire Inorganic materials 0.000 description 1
Images
Classifications
-
- A—HUMAN NECESSITIES
- A61—MEDICAL OR VETERINARY SCIENCE; HYGIENE
- A61B—DIAGNOSIS; SURGERY; IDENTIFICATION
- A61B5/00—Measuring for diagnostic purposes; Identification of persons
-
- A—HUMAN NECESSITIES
- A61—MEDICAL OR VETERINARY SCIENCE; HYGIENE
- A61B—DIAGNOSIS; SURGERY; IDENTIFICATION
- A61B5/00—Measuring for diagnostic purposes; Identification of persons
- A61B5/103—Measuring devices for testing the shape, pattern, colour, size or movement of the body or parts thereof, for diagnostic purposes
-
- A—HUMAN NECESSITIES
- A61—MEDICAL OR VETERINARY SCIENCE; HYGIENE
- A61B—DIAGNOSIS; SURGERY; IDENTIFICATION
- A61B5/00—Measuring for diagnostic purposes; Identification of persons
- A61B5/0002—Remote monitoring of patients using telemetry, e.g. transmission of vital signals via a communication network
- A61B5/0031—Implanted circuitry
-
- A—HUMAN NECESSITIES
- A61—MEDICAL OR VETERINARY SCIENCE; HYGIENE
- A61B—DIAGNOSIS; SURGERY; IDENTIFICATION
- A61B17/00—Surgical instruments, devices or methods
- A61B17/56—Surgical instruments or methods for treatment of bones or joints; Devices specially adapted therefor
-
- A—HUMAN NECESSITIES
- A61—MEDICAL OR VETERINARY SCIENCE; HYGIENE
- A61B—DIAGNOSIS; SURGERY; IDENTIFICATION
- A61B5/00—Measuring for diagnostic purposes; Identification of persons
- A61B5/68—Arrangements of detecting, measuring or recording means, e.g. sensors, in relation to patient
- A61B5/6846—Arrangements of detecting, measuring or recording means, e.g. sensors, in relation to patient specially adapted to be brought in contact with an internal body part, i.e. invasive
-
- B—PERFORMING OPERATIONS; TRANSPORTING
- B81—MICROSTRUCTURAL TECHNOLOGY
- B81B—MICROSTRUCTURAL DEVICES OR SYSTEMS, e.g. MICROMECHANICAL DEVICES
- B81B7/00—Microstructural systems; Auxiliary parts of microstructural devices or systems
- B81B7/02—Microstructural systems; Auxiliary parts of microstructural devices or systems containing distinct electrical or optical devices of particular relevance for their function, e.g. microelectro-mechanical systems [MEMS]
-
- G—PHYSICS
- G01—MEASURING; TESTING
- G01L—MEASURING FORCE, STRESS, TORQUE, WORK, MECHANICAL POWER, MECHANICAL EFFICIENCY, OR FLUID PRESSURE
- G01L1/00—Measuring force or stress, in general
- G01L1/14—Measuring force or stress, in general by measuring variations in capacitance or inductance of electrical elements, e.g. by measuring variations of frequency of electrical oscillators
- G01L1/142—Measuring force or stress, in general by measuring variations in capacitance or inductance of electrical elements, e.g. by measuring variations of frequency of electrical oscillators using capacitors
- G01L1/144—Measuring force or stress, in general by measuring variations in capacitance or inductance of electrical elements, e.g. by measuring variations of frequency of electrical oscillators using capacitors with associated circuitry
-
- A—HUMAN NECESSITIES
- A61—MEDICAL OR VETERINARY SCIENCE; HYGIENE
- A61B—DIAGNOSIS; SURGERY; IDENTIFICATION
- A61B2562/00—Details of sensors; Constructional details of sensor housings or probes; Accessories for sensors
- A61B2562/02—Details of sensors specially adapted for in-vivo measurements
-
- A—HUMAN NECESSITIES
- A61—MEDICAL OR VETERINARY SCIENCE; HYGIENE
- A61B—DIAGNOSIS; SURGERY; IDENTIFICATION
- A61B2562/00—Details of sensors; Constructional details of sensor housings or probes; Accessories for sensors
- A61B2562/02—Details of sensors specially adapted for in-vivo measurements
- A61B2562/0261—Strain gauges
-
- A—HUMAN NECESSITIES
- A61—MEDICAL OR VETERINARY SCIENCE; HYGIENE
- A61B—DIAGNOSIS; SURGERY; IDENTIFICATION
- A61B2562/00—Details of sensors; Constructional details of sensor housings or probes; Accessories for sensors
- A61B2562/04—Arrangements of multiple sensors of the same type
- A61B2562/046—Arrangements of multiple sensors of the same type in a matrix array
-
- A—HUMAN NECESSITIES
- A61—MEDICAL OR VETERINARY SCIENCE; HYGIENE
- A61B—DIAGNOSIS; SURGERY; IDENTIFICATION
- A61B5/00—Measuring for diagnostic purposes; Identification of persons
- A61B5/45—For evaluating or diagnosing the musculoskeletal system or teeth
- A61B5/4504—Bones
-
- H—ELECTRICITY
- H01—ELECTRIC ELEMENTS
- H01F—MAGNETS; INDUCTANCES; TRANSFORMERS; SELECTION OF MATERIALS FOR THEIR MAGNETIC PROPERTIES
- H01F17/00—Fixed inductances of the signal type
- H01F17/0006—Printed inductances
- H01F2017/006—Printed inductances flexible printed inductors
-
- H—ELECTRICITY
- H01—ELECTRIC ELEMENTS
- H01F—MAGNETS; INDUCTANCES; TRANSFORMERS; SELECTION OF MATERIALS FOR THEIR MAGNETIC PROPERTIES
- H01F41/00—Apparatus or processes specially adapted for manufacturing or assembling magnets, inductances or transformers; Apparatus or processes specially adapted for manufacturing materials characterised by their magnetic properties
- H01F41/02—Apparatus or processes specially adapted for manufacturing or assembling magnets, inductances or transformers; Apparatus or processes specially adapted for manufacturing materials characterised by their magnetic properties for manufacturing cores, coils, or magnets
- H01F41/04—Apparatus or processes specially adapted for manufacturing or assembling magnets, inductances or transformers; Apparatus or processes specially adapted for manufacturing materials characterised by their magnetic properties for manufacturing cores, coils, or magnets for manufacturing coils
- H01F41/041—Printed circuit coils
- H01F41/042—Printed circuit coils by thin film techniques
-
- Y—GENERAL TAGGING OF NEW TECHNOLOGICAL DEVELOPMENTS; GENERAL TAGGING OF CROSS-SECTIONAL TECHNOLOGIES SPANNING OVER SEVERAL SECTIONS OF THE IPC; TECHNICAL SUBJECTS COVERED BY FORMER USPC CROSS-REFERENCE ART COLLECTIONS [XRACs] AND DIGESTS
- Y10—TECHNICAL SUBJECTS COVERED BY FORMER USPC
- Y10T—TECHNICAL SUBJECTS COVERED BY FORMER US CLASSIFICATION
- Y10T29/00—Metal working
- Y10T29/49—Method of mechanical manufacture
- Y10T29/49002—Electrical device making
- Y10T29/49082—Resistor making
- Y10T29/49103—Strain gauge making
Definitions
- This application relates generally to sensors and uses thereof, more particularly, to implantable sensors.
- Orthopaedic extremity injuries present a large medical and financial burden to both the United States and worldwide communities. Approximately 8 million bone fractures are reported per annum in the United States, and about 10% of these fractures do not heal properly. For injuries that involve a significant disturbance to the vascular supply, the rates of aberrant bone healing are nearly 50%. The most common complication is bony non-union. These non-unions can be very costly because of both the direct cost to revise as well as associated costs such as lost productivity due to absence from work. It has been estimated that these costs can be reduced by at least 50% if complications associated within the early healing can be avoided or addressed.
- a wireless sensor is configured to measure strain of a hardware device implanted in a biological subject, which can include human and animal. Temporal measurement of the hardware strain can be conducted using measurements that include monitoring changes of the resonant frequency of the sensor.
- the sensor can be realized as an inductively powered device that operates as an all-on-chip resonator, where the components of the sensor are biocompatible. Such a sensor can be operated with a variety of electronic devices, apparatus, and systems.
- a telemetry system having a biocompatible, implantable sensor leverages the relationships between implant strain and bone healing as a function of the healing pathway.
- a radio frequency (RF) strain sensor design includes features using micro-electro-mechanical systems (MEMS) technology for implantation in a biological subject.
- MEMS micro-electro-mechanical systems
- the sensor can be mounted on implantable hardware for the implantation in the biological subject.
- the sensor can be structured to be inductively-powered, with no implantable power source.
- the sensor can be arranged on implanted hardware such that the sensor monitors the surface bending strains on the implanted hardware.
- the sensor can be arranged as a wireless sensor such that internal-to-external physical connections are not used to sense and transmit the in vivo biological data. Further, the miniaturization of such a device may allow for its use in applications that otherwise would not be possible.
- Such a bio-MEMs sensor can be arranged as a device that uses inductive power without incorporating a power supply, passively providing power, and has a physical size such that the bio-MEMS sensor alleviates many of the issues associated with currently conventional devices and associated methods.
- the structure of such bio-MEMS sensors allows for manufacture on a production scale that can be significantly more cost effective than manufacture of the currently conventional devices.
- a sensor essentially acts as a wireless strain gauge attached to the surface of a hardware device, namely an orthopaedic or neurosurgical device, such as a fracture fixation plate posterior spinal pedicle screw fixation system, spinal interbody fixation device, a vertebral body replacement device, intramedullary rod/nail, allograft fracture fixation or vertebral spacer, spinal motion preservation systems (such as intervertebral disc replacement and dynamic stabilization systems), and craniofacial fixation and distraction osteogenesis hardware systems, that is implantable in a subject.
- an orthopaedic or neurosurgical device such as a fracture fixation plate posterior spinal pedicle screw fixation system, spinal interbody fixation device, a vertebral body replacement device, intramedullary rod/nail, allograft fracture fixation or vertebral spacer, spinal motion preservation systems (such as intervertebral disc replacement and dynamic stabilization systems), and craniofacial fixation and distraction osteogenesis hardware systems, that is implantable in a subject.
- the design of the bioMEMS sensor is such that straining the integrated circuit of the bioMEMS results in a shift in its resonant frequency. By detecting this frequency shift and implementing a pre-determined strain-frequency calibration, the temporal changes in hardware strain can be longitudinally monitored.
- the components of the sensing system can include an inductor or other means of applying electromagnetic fields, the implantable sensor, a receiving antenna.
- the implantable sensor can be also referred to as the "resonator" of the sensing system.
- the receiving antenna can be realized as a receiving antenna/spectrum analyzer apparatus.
- the inductor produces an alternating external magnetic field that induces an electric current in the sensor.
- the sensor has an associated resonance frequency that is uniquely related to the current configuration of the circuit formed of the sensor. The resonance frequency of the sensor changes as the sensor is deformed. Signals generated at the sensor, in response to the applied electromagnetic fields, can be received from the sensor at the attached antenna of the spectrum analyzer and can be used to determine the resonance frequency of the circuit formed by the sensor.
- Figure 1 illustrates features of an embodiment of a method for monitoring changes in hardware implanted in a subject.
- a shift in a resonant frequency of a sensor disposed on the hardware is determined.
- the sensor can be arranged as a biocompatible, inductively powered device.
- the resonant frequency of the sensor can be excited by subjecting the sensor to an alternating magnetic or electromagnetic field.
- temporal changes in strain of the hardware are determined based on the determined shift.
- the temporal changes can be determined by analyzing signals from the sensor, where the signals are generated from the sensor in response to subjecting the sensor to the alternating magnetic or electromagnetic field.
- the shift in resonant frequency is used without using the absolute values of the resonant frequencies with respect to determining the temporal changes in strain of the hardware. Based on the temporal changes in strain of the hardware, changes in the subject can be determined.
- Figure 2 illustrates features of an embodiment of a method for monitoring changes in hardware implanted in a subject, such as a biological subject.
- a resonant frequency of a sensor is determined where the sensor is disposed on the hardware implanted in the subject.
- the sensor can be being inductively powered by an electromagnetic field such that, with respect to power, the sensor operates as a contact-less device without an incorporated power supply.
- the sensor can be attached to the surface of a hardware device that is implantable in a subject.
- a shift in resonant frequency of the sensor is determined based on wireless signals from the sensor, where the wireless signals are generated from the sensor in response to electromagnetic fields applied at different times. These electromagnetic fields act as probes for read-out of the sensor configured as a way of determining strain on the implanted hardware device.
- the shift in resonant frequency can be determined from the signals from the sensor without considering the energizing signal used to power the sensor.
- temporal changes in strain of the hardware are determined, based on the shift in resonant frequency.
- Temporal changes in strain of the hardware device can be determined by implementing a strain-frequency calibration of the hardware.
- the temporal changes in strain of the hardware can be determined from monitoring surface strains of the hardware device.
- Changes in the biological subject can be determined based on the temporal changes in strain of the hardware device. For a fracture fixation plate implanted in a person, these changes can be monitored to be used in the diagnosis and the prognosis for the healing of the bone fractured in the person. For a spinal fixation device, these changes can be used to determine the course of fusion progression.
- FIG. 3 illustrates features of an embodiment of a wireless sensor 305 attachable to hardware 303 for implantation in a biological subject.
- Sensor 305 includes a substrate 307, a dielectric material 320 disposed on substrate 307, and a conductive coil 310 disposed on dielectric material 320 such that dielectric material 320 and conductive coil 310 are arranged as a resonator.
- Substrate 307 can also be arranged as part of the resonator.
- Substrate 307, dielectric material 320, and conductive coil 310 are structured as a biocompatible, inductively powered device attachable to hardware 303 for implantation in a biological subject.
- the response of sensor 305 inserted in soft tissue may be linear with respect to applied force over a wide range of forces.
- Dielectric material 320 can be solid material that includes biocompatible electrically insulating material. Dielectric material 320 can include, but is not limited to, silicon nitride. Conductive coil 310 includes biocompatible electrically conductive material. Conductive coil 310 can include, but is not limited to, gold. Conductive coil 310 can be arranged as an inductor and part of a capacitor that forms a resonator, where dielectric material 320 forms part of the capacitor. Substrate 307 can function as an effective plate of the capacitor with conductive coil 310 forming the other plate and with dielectric 320 between and contacting conductive coil 310 and substrate 307. Alternatively, one or more conductive materials can be used as part of the capacitor. For example, a conductive layer can be disposed between substrate 307 and dielectric material 320. A conductive layer can be disposed between coil 310 and dielectric 320.
- the resonator function of the sensor is conducted by a coil, such as conductive coil 310 of Figure 3 , providing inductance, and the on-chip capacitance provided by dielectric material 320.
- a coil such as conductive coil 310 of Figure 3
- dielectric material 320 provides inductance
- Q -factor the ratio of the stored energy to the lost energy for a circuit or device.
- structural arrangements for the conductive coil and dielectric material, along with choice of materials, can be used to design towards a maximum quality factor with minimum circuit spacing.
- An example embodiment includes a spiral geometry for a conductor coil implemented as an all-on-chip resonator based on Q-factor considerations.
- the chip with the spiral geometry can be formed with a chip size of about 500 square microns with a Q-factor of nearly 50 operating at a resonance frequency of about 7 GHz.
- a Q-factor of about 50 may be configured as a high Q-factor, which can enhance operation of sensor 305 as a wireless sensor attached to hardware to function essentially as a strain gauge.
- Structures based on spiral-coil inductors for a coil can be used to realize the reduced area for coil on a chip, while increasing the Q -factor.
- an on-chip resonator can be realized without a cavity on the chip.
- a self-tuning spiral-coil based architecture is used without a cavity on the chip using improved design parameters at a higher operating frequency.
- the Q-factor can be raised to more than 90 for a chip size of less than 200 square microns.
- significantly small-size and high- Q resonators can be achieved in comparison with convention resonators using external tuning capacitors and/or a cavity in a chip.
- Greater increases in the Q-factor can be attained by using a suspended architecture, which is obtained by removing (etching) silicon under the sensor.
- the suspended device When two sensors are compared, where all of the resonator features are of equal dimension, but one's substrate is etched (suspended architecture) and the other is not (planar architecture), the suspended device demonstrates a 10% increase in Q-factor over the planar device.
- the strain sensor can be configured to produce a resonance frequency shift that is sufficiently large so that small changes in strain can be detected by the sensor.
- a resonance frequency shift can be attained with isotropic circular strain sensor resonators that allow for higher Q-factors with smaller spacing compared to rectangular designs.
- the circular architecture enables a significantly higher resonance frequency shift, for example 500 MHz as opposed to 330 MHz, and higher sensitivity because of its isotropic geometry. This architecture can result in a substantial improvement in the performance of these resonators for use as bio-implant strain sensors.
- wireless inductively, powered strain sensors can be realized using architectures that provide effective metamaterial properties.
- a metamaterial affects electromagnetic waves by having structural features smaller than the wavelength of electromagnetic radiation with which it interacts.
- SRR split-ring-resonator
- the sensor can obtain high Q-factors, high transmission dips on resonance, high resonance frequency shifts, high sensitivities, and very good linearity, which are appropriate properties for an accurate wireless sensor.
- the sensor achieves significantly lower resonance frequencies (50 Mhz to 1 GHz) with sharper dips, which is useful for sensing applications involving soft tissue attenuation issues that can be associated with a biological subject.
- the strain readouts from the wireless sensor which are obtained telemetrically, are found to be comparable to those obtained using commercially-available wired strain sensors that are used in electrical contact applications.
- Various architectures for the conductive coil of the wireless sensor device can be used.
- multiple split-ring-resonators are incorporated into a compact nested architecture to lower the operating frequency of the sensor.
- This nested SRR sensor can outperform a non-nested SRR sensor in terms of sensitivity. This enhancement of sensitivity may be due to the occurrence of more gaps in the nested SRR as compared to the non-nested SRR.
- the substrate of the sensor may be a flexible substrate.
- a example of a flexible substrate is vacuum tape.
- Using a flexible substrate can make the wireless sensor more sensitive and linear compared to using a silicon substrate.
- a tape-based flexible metamaterial sensor can exhibit a significantly improved sensitivity level with a substantially reduced nonlinearity-error, in comparison to a silicon-based sensor of the same geometry.
- a coil for an inductively coupled sensor can be structured according to various embodiments.
- Figure 4 shows an embodiment of a coil 410 on a dielectric material 420.
- Coil 410 and dielectric material 420 can be composed of biocompatible materials if the sensor is used for implantation in a person or animal.
- biocompatible materials include, but are not limited to, gold and silicon nitride.
- a bioMEMS sensor having the coil structure of Figure 4 was attached to an implantable plate using hard epoxy to monitor the strain on the implantable plate in real time.
- the fixated device operates as a strain sensor to measure the strain on the implantable plate.
- the sensor was characterized, in a compression setup, with a minimum of 115 kgf and a maximum of 276 kgf in the range of 100-300 kgf load range applied by the setup. As the external load was increased from 115 kgf to 276 kgf, the resonance was observed to shift to larger frequencies.
- cast polyamide was used as the implantable plate, with a young modulus of 3.14 GPa. A sensitivity level of 0.306 MHz/kgf was obtained for the bioMEMS sensor using the coil of Figure 4 .
- Figure 5 shows an embodiment of a spiral coil 510.
- Spiral coil 510 can be arranged as a rectangular spiral coil that is a continuous coil with at least two turns.
- the square can have outer dimensions of 195 x 195 microns as an on-chip resonator.
- Such an on-chip resonator on silicon can operate at about 15 GHz with a Q-factor of 93.81.
- Other dimensions can be used.
- a square with dimensions of 540 x 540 microns can have a resonant frequency ( f 0 ) of 6.97 GHZ with a 3-dB bandwidth ( ⁇ f ) of 148 MHz and Q-factor of 47.10.
- a square with dimensions of 520 x 520 microns can have a resonant frequency ( f 0 ) of 7.12 GHZ with a 3-dB bandwidth ( ⁇ f ) of 178 and Q-factor of 38.48.
- FIG. 6 shows an embodiment of a split ring resonator architecture 610.
- Split ring resonator architecture 610 comprises a square inside a square. There is a gap in the outer square on one side and a gap in the inner square on the opposite side.
- FIG. 7 shows an embodiment of a chip having an array 710 of split ring resonators 712-1 ... 712-N.
- Each split ring resonator 712-1 ... 712-N can comprise a square inside a square.
- Each split ring resonator 712-1 ... 712-N can have an outer square that is 2.22 mm in length on each side and an inner square that is 1.5 mm in length on each side.
- Array 710 can be comprised of a 5 X 5 array of these squares as illustrated in Figure 7 .
- a 5 X 5 array SRR architecture can yield a sensitivity of 109 kHz/kgf (5.148 kHz/microstrain) with low nonlinearity-error of less than 200 microstrain.
- Array 710 can be realized as an N X N, where N is an integer other than 5.
- Nested SRR architecture 810 comprises many split ring resonators.
- each SRR can have the same width and can share a common base, but the height of each one can be different. Also, the side opposite the base of each SRR can have a gap in it.
- Nested SRR architecture 810 can have a difference in height, from one resonator to the next resonator, of 0.8 mm where the base rectangle can be 1.8 mm tall.
- Nested SRR architecture 810 can be realized having other dimensions.
- nested SRR architecture 810 can have 20 turns.
- Nested SRR architecture 810 can have a structure with turns other than 20 turns.
- Circular spiral coil resonator 910 can be a continuous coil, which can be formed with at least two spiral turns. It can be structured with a number of turns other than two turns. Circular spiral coil resonator 910 can have an outer diameter of 340 microns. It can have an outer diameter of a length other than 340 microns.
- Figure 10 shows an embodiment of a architecture in which resonator 1010 is suspended.
- the suspended architecture can help increase the resonance frequency shift of resonator 1010.
- the substrate With a solid biocompatible substrate used to fabricate the chip, such as silicon, the substrate can be etched to obtain the suspended architecture.
- a single suspended device can be obtained by etching the substrate of a single planar device. When applying a load to both a single planar device and a single suspended device, the single suspended device can yield a higher resonance frequency shift and Q-factor than the single planar device.
- Figure 11 shows a scanning electron microscope (SEM) view of a single suspended device.
- Table 1 shows preliminary data for a sensor fabricated with the suspended (etched) architecture as shown in Figure 10 and a sensor fabricated with the planar (non-etched) architecture of Figure 5 , using the same coil geometry for both sensors.
- the preliminary data at loads of 1960 N, 2940 N, and 3920 N, demonstrate that the resonance frequency shift using the suspended architecture is increased by 59%, 71%, and 45%, respectively, as compared to the unetched (planar) sensors.
- the signal quality factor is increased by almost 9% by employing the suspended architecture.
- Figure 12 shows an embodiment of a sensor structure having a triplet configuration.
- the triplet configuration can be arranged with triple rectangular coils, as three sensors arranged side-by-side.
- the sensors on the outside can act as a transmitter antenna 1214 and a receiver antenna 1216 for the middle sensor 1210.
- the individual coils in the triplet configuration can be constructed similar or identical to any of the coils discussed herein.
- Figure 13 shows another embodiment of a structure having a triplet configuration.
- the structure includes three circular spiral coils 1310, 1314, and 1316.
- Circular spiral coils 1314 and 1316 can act as transmitters and receivers for middle sensor 1310.
- circular spiral coils 1310, 1314, and 1316 each operate as sensor resonators.
- Figure 14 shows another embodiment of a structure having a triplet configuration.
- the structure includes three suspended rectangular coils 1410, 1414, and 1416.
- Spiral coils 1414 and 1416 can act as transmitters and receivers for middle sensor 1410.
- spiral coils 1410, 1414, and 1416 each operate as sensor resonators.
- Figures 15-17 show various arrays of resonators on a chip.
- Figure 15 shows four circular spiral coil resonators spaced relatively far apart.
- Figure 16 shows an array with a number of circular spiral coil resonators. With increasing number of resonators in an array structure, the spacing between resonators decreases for a fixed size substrate.
- Figure 17 shows an array with a number of circular spiral coil resonators and a rectangular coil resonator.
- Hybrid resonator arrays as shown in Figure 17 are not limited to one rectangular coil resonator with a plurrality of circular spiral coil resonators.
- a sensor can include a number of different type resonanators, where the number for each individual type can vary.
- FIG. 18 shows an embodiment of an apparatus 1800 that is implantable into a biological subject.
- the apparatus 1800 includes an orthopaedic hardware device 1803 and a sensor device 1805.
- the sensor device 1805 includes a substrate 1807, a dielectric material 1820 disposed over the substrate 1807, and a conductive coil 1810 disposed on the dielectric material 1820.
- the substrate 1807 can be disposed on the hardware device 1803.
- the dielectric material 1820 and the conductive coil 1810 are configured as a resonator.
- the substrate 1807 also can be arranged with the dielectric material 1820 and the conductive coil 1810 as a resonator.
- a solid biocompatible dielectric material can be used for the dielectric material 1820.
- the substrate 1807, the dielectric material 1820, and the conductive coil 1810 are configured or structured as a biocompatible, inductively powered sensor 1805.
- the hardware device1803 and the sensor device 1805 can be implanted in a biological subject, such as a person or animal, to monitor the condition of the subject.
- a biological subject such as a person or animal
- changes in the strain of the hardware device, as detected by the sensor device 1805 can be used to determine changes in the healing of the bone fracture of the subject.
- the sensor device 1805 can be attached to the hardware device using an epoxy 1804 for example.
- Solid biocompatible materials for the dielectric material 1820 can include, but are not limited to, silicon nitride.
- Solid biocompatible materials for the conductive coil 1810 can include, but are not limited to, gold.
- selection of materials for the sensor device 1805 can be based on capacitive and inductor properties.
- the sensor device 1805 can be similar to or identical to various embodiments of sensors described herein.
- an external epoxy 1804 need not be used, because the tape can have its own epoxy or other attachment material or other ways of attachment.
- FIG 19 illustrates an embodiment of a monitoring system 1900 for determining changes in hardware strain.
- Monitoring system 1900 includes a source 1915 operable to generate an electromagnetic field, a receiver 1925, a spectrum analyzer 1935, and an analyzer 1945.
- Source 1915 can generate an electromagnetic field to power a sensor 1905 with sensor 1905 attached to or integral with hardware 1903 implanted in a biological subject 1901.
- a sensor 1905 powered by the electromagnetic field is a biocompatible, inductively powered device that is used as a strain gauge for monitoring system 1900.
- Sensor 1905 can be similar to the sensors described with respect to various embodiments of sensors described herein.
- Receiver 1925 is operable to receive signals from sensor 1905 generated in response to sensor 1905 being excited by electromagnetic fields at different times.
- Spectrum analyzer 1935 is operable to determine resonant frequencies of sensor 1905 from the received signals.
- Analyzer 1945 is operable to determine a temporal change in strain of the hardware, based on a shift in resonant frequency of sensor 1905 over time. The determination of the changes in hardware strain can be conducted based on a strain-frequency calibration of the hardware. Data from a strain-frequency calibration, performed prior to implantation, can be stored in memory accessible by analyzer 1945. Based on temporal changes in strain of the hardware, analyzer 1945 is operable to determine changes in the biological subject.
- Monitoring system 1900 can include a machine-readable medium that stores instructions, which, when executed by a processor of the monitoring system, cause the monitoring system to perform various operations. These operations include, but are not limited to, controlling the excitation of sensor 1905, directing the determination of the resonant frequency of sensor 1905, controlling the determination of a shift in resonant frequency of sensor 1905 based on wireless signals from sensor 1905, where the wireless signals are generated from sensor 1905 in response to electromagnetic probe signals/fields applied at different times, and controlling the determination of a temporal change in strain of the hardware, based on the shift in resonant frequency.
- the machine-readable medium can include instructions to generate data representing fracture healing of the biological subject, where the data is based on the temporal changes in strain of the hardware implanted in the biological subject relative to the fracture.
- the machine-readable medium can be of any form that stores data, including instructions.
- the machine-readable can be a computer-readable medium.
- the machine-readable may be separable from monitoring system 1900.
- the machine-readable can be a stand-alone apparatus that can be used in different systems.
- a coil geometry for an inductor can be used and transmission line theory applied to model this structure as a resonator.
- the design can be directed to obtaining a high quality RF signal using bio-compatible materials with a maximum, relative to various design trade-offs, possible resonance frequency shift per unit strain.
- a number of parameters are considered. Such factors include substrate effects, dielectric thickness, dielectric material, choice of metal, metal layer thickness, line width and spacing, number of circuit turns, and total chip area.
- This approach utilizes the film capacitance of the sensor as the LC (inductance-capacitance) tank circuit capacitance.
- the main driver of the observed change in the resonance frequency of the sensor is the capacitance change, as opposed to targeting changes in inductance. Since the sensor has a substrate and metal layer with a relatively high Young's modulus (stiffness), the resonance frequency shift is mainly due to the change in the capacitor area, and thus, overall capacitance.
- Figure 20 shows an embodiment of an inductively powered sensor 2005.
- Figure 21 shows a side view of sensor 2005 of Figure 20 including lumped-element representations of the physical model.
- Figure 22 shows an equivalent circuit of the resonator of sensor 2005.
- the following design parameters are considered: the outer dimensional length ( L c ) and width ( W c ) of the coil; the total coil length ( l ); the total coil width ( w ); the line spacing ( s ); the number of turns ( N ); the coil thickness ( t ); and the thickness of the dielectric thin film between the substrate and the gold metal layer ( t film ).
- the geometrical design parameters L c , W c , N , w, and s set the coil inner diameter.
- L S and R S correspond to the coil inductance and resistance, respectively.
- C film represents the capacitance between the substrate and the coil.
- C Si and R si are the substrate capacitance and resistance, respectively.
- C s denotes the capacitance between the coil segments.
- C si and R si which represent substrate effects, are calculated using the following equations:
- C S i 0.5 l w C s u b
- R S i 2 l w G s u b
- Q ind the maximum quality factor for the inductor
- Q ind ⁇ L s R s 2 R p 2 R p + ⁇ L s R s 2 + 1 R s 1 - R s 2 C p 2 + C s L s - w 2 L s C p 2 + C s
- SRF substrate loss factor
- the materials for a bio-implantable sensor are selected under criteria that include biocompatibility.
- gallium arsenide (GaAs) as a substrate material would enhance the Q-factor of the sensor, silicon (Si) can be used for its better biocompatibility characteristics.
- a highly resistive Si substrate can be used.
- the selection of the dielectric layer affects the capacitance and the Q-factor.
- Silicon nitride (Si 3 N 4 ) has a relatively high dielectric constant (as high as 8.0) and a low loss factor, and also it has been reported to be biocompatible.
- Si 3 N 4 can be used as the dielectric layer.
- Al aluminum
- Cu copper
- Au gold
- Sensor design constraints such as a high Q-factor and small allowable dimension are taken into consideration when deciding on the material layer thickness and overall sensor fabrication.
- One approach is to design towards maximizing capacitance, which can be obtained from the tank circuit capacitance, as opposed to considering this element as a parasitic capacitance.
- the factors with respect to designing to capacitance include dielectric film thickness, metal layer dimensions, number of turns of the coil, and chip area/diameter. Based on modeling, a dielectric film thickness (t film ) of approximately 0.1 ⁇ m can be used. Other thicknesses can be used.
- a substrate at 5-10 ⁇ ⁇ cm can be selected, which is sufficiently resistive to prevent excessive loss but still sufficiently conductive to serve as the second plate of a parallel-plate capacitor.
- the dielectric layer is also an important factor for a high- Q -factor design.
- a dielectric layer with a high dielectric constant is appropriate.
- a low-loss dielectric is appropriate.
- Si 3 N 4 with a dielectric constant of eight and a loss tangent of 5 ⁇ 10 -4 , can be an appropriate selection as the dielectric film.
- the thickness of the dielectric layer ( t film ) is another effective parameter to design a high- Q -factor resonator.
- the selected dielectric-layer thickness may depend on the target resonance frequency for the resonator.
- the thickness of the metal layer is also significant to determine Q ind .
- a metal thickness of 0.1 ⁇ m can be selected to limit use of special fabrication steps in a CMOS process.
- a high Q ind can be achieved by decreasing the substrate loss sufficiently. In that case, increasing the metal thickness would still affect the Q -factor but not as significantly as it would in a structure with a substrate resistance that is too low.
- the width of the metal layer can be an important design issue because an increase in the width produces an increase in the Q-factor and the resonance frequency, but this is associated with an inherent increase in the overall area (and dimension).
- the metal spacing affects the device performance. A lower spacing increases resonance frequency and leads to a more compact chip. However, an increased width and decreased spacing leads to parasitic effects which would decrease the overall Q-factor.
- the number of turns can be decreased. This decreases the net inductance, pushing the self-resonance frequency higher.
- the number of turns is set to two to produce a full coil.
- a coil with more or less turns can be used, which may depend on the architecture of the coil structure.
- the chip size can be influential to adjust the resonance frequency and Q ind . Decreasing the total area leads to an improved Q-factor and a higher resonance frequency. Also, a smaller inner diameter increases the Q-factor and resonance frequency. However, decreasing the inner diameter to a point where it is less than the spacing causes additional parasitic effects.
- the inner diameter can be selected to only decrease the inner diameter down to the thickness of the spacing s, since decreasing below this value causes the parasitic capacitance to dominate and degrade Q ind .
- the geometric factors can be used to determine the resistance and capacitance of a sensor for used as an implantable device operable as a wireless without an incorporated power supply.
- R p which is shown in Figure 22 , represents the combined resistance of the coil model of Figure 21 and is an effective component to determine the substrate losses.
- R Si With a high-resistivity silicon substrate, the value of R Si is high, which provides a high R p .
- C p corresponds to the capacitive component of the sensor and has a significant effect on the self-resonance factor. Lower C p results in enhancements to the resonance frequency, which aids in determining changes in strain as discussed herein.
- Biocompatible materials other than silicon and silicon nitride can be used with their corresponding parameters used in the equations discussed above.
- Various fabrication processes can be used to construct inductively, powered sensors to wirelessly report information for the transient load transfer profile between bone and implanted hardware.
- the fabrication process selected depends on the components for the chip-sized sensor. Variations in processes depend on such factors as coil design and whether the substrate includes a flexible tape or is structured without a tape.
- the fabrication process is a multi-step procedure that uses conventional MEMs processes.
- the sensor can be processed in a clean room environment using microwave-compatible, photolithographic microfabrication techniques.
- Figures 28-31 illustrate an embodiment for fabricating a tape-based flexible sensor.
- Figure 28 shows a vacuum tape 2807 for use as a flexible tape substrate.
- Figure 29 shows a thin gold layer 2811 deposited on flexible tape substrate 2807, where the deposition can use standard metallization techniques.
- PECVD plasma enhanced chemical vapor deposition
- an equally thin layer 2820 of Si 3 N 4 can be deposited as the dielectric thin film, as shown in Figure 30 .
- a gold layer 2810 can be deposited to form the sensor fabrication, as shown in Figure 31 .
- Vacuum tape 2807 can be used, since it can withstand the high temperatures encountered under PECVD.
- a difference of the fabrication procedure between the tape-based flexible sensor and the silicon-based sensor includes the deposition of the first gold layer 2811 onto the vacuum tape substrate 2807.
- the first gold layer 2811 increases the absorption of the sensor at the resonance frequency so that a large dip can be seen at the resonance frequency.
- the silicon itself increases absorption so that the sensor can be formed without the extra Au layer.
- Deposition of the first gold layer 2811 also provides for the parallel plate capacitor, which is the capacitor formed by between the first and final gold layers 2811, 2810 on opposite sides of thin layer 2820 of Si 3 N 4 of the tape-based flexible sensor.
- the parallel plate capacitor is formed without an extra Au layer, because the doped silicon is conductive.
- the parallel plate capacitor is an important feature for the sensor, because when the load is applied, the parallel plate capacitor will change and as a result, the resonance frequency will change.
- Figure 32 shows a final fabricated structure on a flexible tape substrate 3207.
- the final fabricated structure shown in Figure 32 includes a metamaterial sensor. Other geometrical arrangements can be formed on flexible tape substrate 3207.
- Figures 33-41 illustrate an embodiment of a method for forming a sensor in a suspended architecture.
- the process can be initiated with the selection of a substrate 3307, as shown in Figure 33 .
- a n-type 500 ⁇ m thick silicon substrate 3307 with a ⁇ 100> orientation can be used.
- Other materials and/or conductivity types can be used for the substrate.
- a Si 3 N 4 thin film 3321 can be deposited using a plasma-enhanced chemical vapor deposition system, as shown in Figure 34 .
- Other deposition processes and other dielectric materials can be used.
- Si 3 N 4 thin film 3321 can be 0.1 ⁇ m thick. Other thicknesses can be used.
- Figure 35 shows a first metal layer 3311 laid down on Si 3 N 4 thin film 3321.
- First metal layer 3311 formed as a contact layer, can be made of Au with a thickness of 0.1 ⁇ m. Other thicknesses can be used and/or other conductive materials can be implemented.
- Figure 36 shows a subsequently deposited dielectric film 3320.
- the dielectric film 3320 can be a 0.1 ⁇ m thick Si 3 N 4 thin film.
- Figure 37 shows film 3320 after patterning and forming vertical interconnection areas 3339, which can be opened for example using a wet etching process with HF.
- Figure 38 shows the structure after performing a gold metallization to form the interconnects 3313 and top coil construction 3310.
- a 0.8 ⁇ m thick Si 3 N 4 film 3323 can be deposited, as shown in Figure 39 .
- Silicon nitride film 3323 can be patterned and etched by HF, as shown in Figure 40.
- Figure 41 shows the structure after etching the silicon, such as using potassium hydroxide (KOH), to form the suspended sensor 3305.
- KOH potassium hydroxide
- the Si 3 N 4 thin film is initially formed to protect the contact metal layer, while silicon is being etched. Since KOH also etches the metal layer, the first and third Si 3 N 4 layers are used as etch-stop layers.
- the second Si 3 N 4 layer with the first Si 3 N 4 layer acts as the dielectric layer for sensor resonator 3305.
- Using a KOH solution with a concentration of 30 percent gives an etch rate of 1.1 ⁇ m/min, as expected from chemical kinetics simulations of silicon etching. After 70 minutes, a depth of 77 ⁇ m is etched.
- Figure 42 shows a simulation of a suspended resonator.
- Analytical and numerical models can be used to simulate the performance of a sensor as a function of the mechanical perturbations induced on the device.
- the modeling effort includes use of coupled electromechanical analysis involving two interdependent components.
- a first step involves a mechanical analysis that computes the device's strain profile resulting from applied loading exerted on the sensor.
- the second is an electrical analysis that computes the shift in the sensor resonant frequency given the changes in its physical dimensions.
- the strain induced in the device when different bending loads are applied, can be predicted.
- Figure 43 shows an example of a model prediction of the deformed device under application of a bending load, in terms of a resulting displacement field. From the simulation, it can be observed that the area of the dielectric film changes, modifying the value of C film . Based upon these dimensional changes, the inductance of a spiral coil (L s ) can be calculated, using a form of the equations above.
- Cast polyamide sticks can be used for testing, on to which the sensor is fixed using hard epoxy. Implantable sticks, having two holes, are secured in the set up by using fixation screws. Load is applied using the piston of the setup which pulls the secured stick. The applied load is tracked by the load cell as also shown in Figure 44 . Using this apparatus, loads can be applied up to 300 kgf. Other testing apparatus, which can apply higher loads, can be used.
- the antennas in Figure 44 are made of coaxial probes with the same ground to decrease the noise in the characterization. Baluns can also be used, which use can decrease the general noise, caused by vibrations in the room, to a negligible level.
- the length of these probes can be set to 2.5 cm. Because the sensor is so small in size in comparison to the operating wavelength, it is rather difficult to use standard antennas with sizes comparable to the sensor to measure its transmission spectra.
- these probe antennas are placed 0.5 cm away from the sensor. In this configuration, the best signal may be obtained when the probes are parallel to the sensor. In various arrangements, these distance parameters are kept fixed throughout the calibration process and characterization process.
- the transmission of the stick which is the hardware to which the sensor is attached, is measured first with no sensor chip attached on to the stick. Subsequently the same measurement is repeated with the sensor attached to the stick under no load and then also varying the external load applied with the mechanical apparatus. Calibrated with respect to the case of no sensor, the relative transmission spectra are obtained as a function of the applied load.
- L C and W C represent the total length and total width of the device, respectively; N is the number of turns; w is the width of each coil; s is the spacing between coils; t film and t metal represent the thickness of the dielectric film and the thickness of the metal, respectively; and theoretical L s and numerical L s represent the inductance values from analytical and simulation models, respectively.
- Figures 45-48 show the differences between the sensor responses of sensor-1 and sensor-2 without any deformation (no load) and under different applied loads.
- the resonance frequency was measured to be 11.48 GHz with an associated Q-factor of 59.98 prior to load application.
- the resonance frequency shifted by 240 MHz.
- application of 2940 N and 3920 N resulted in resonance frequency shifts of 300 MHz and 330 MHz, respectively, relative to the unloaded configuration.
- Figure 49 illustrates the resonant frequency as a function of load. Such load can be appropriate to represent physiological loads.
- a biocompatible resonator which can be used as a bio-MEMS sensor, can include silicon as the substrate with gold used as the metal layer for the coil.
- Biocompatible silicon nitride (Si 3 N 4 ) as a dielectric thin film of the resonator features a low loss tangent (as low as 5 x10 -4 ) and a high dielectric constant (as high as 8) in the microwave frequency range.
- the low loss tangent significantly decreases the loss, whereas the high dielectric constant increases the dielectric film capacitance.
- High- Q factor is achieved by using the capacitance of the dielectric thin film between the coil and the substrate for on-chip tuning to obtain an all on-chip, small-size microwave resonator.
- a spiral inductor configuration for the coil can be utilized in a manner in which a cavity resonator would be used.
- a high Q -factor can be obtained, comparable to the results of cavity resonator studies, but without sacrificing small chip area.
- a sensor can effectively combine two different approaches: a spiral inductor structure and cavity resonator design techniques.
- the losses can be designed towards minimization with a Q -factor designed towards maximization at a selected resonance frequency, such as 7 GHz.
- Parameters for bio-implantable resonator sensors can be determined for various coil configurations such that the sensors have a resonance frequency other than 7 Ghz.
- Figures 50-51 show experimentally measured S 21 parameter (in decibels) along with the numerically simulated parameter. These figures show an excellent agreement between the experimental and theoretical results. In particular, there are matches between the experimental and theoretical resonance frequency ( f 0 ) and the resonator Q -factor.
- the resonator Q -factor is calculated from the experimental results by examining the dip in the transmitted power. The minimum point of S 21 is shown in the Figure 50 , which corresponds to f 0 . A strong dip of greater than 30 dB in transmission is observed. To calculate the resonator Q -factor from the experimental data, those frequencies with S 21 parameters 3 dB above the resonance frequency are used.
- ⁇ f is equal to 160 MHz, yielding a Q -factor of 93.81, in comparison to a theoretical Q-factor of 98.77. Both resonance frequencies are near 15 GHz. Theoretical calculations and experimental data are in good agreement.
- a fully on-chip resonator can lead to a high Q -factor and a strong dip in transmission, such that the fully on-chip resonator can be used for telemetric-sensing applications.
- a suspended architecture for a resonator can be used, which helps increase the measured resonance frequency shift of the resonator.
- a silicon substrate When a silicon substrate is used to fabricate the chip, it can be etched to obtain the suspended architecture. A wet etching process can be used to remove some of the substrate and dielectric. Other etching processes can be conducted.
- By etching the substrate there is a decrease in the substrate loss.
- R si silicon resistance
- C si silicon capacitance
- the overall result is an increase in the parallel resistance (R p ).
- the chip with the higher f 0 has the higher ⁇ f 0 as well.
- the chip, with its etched substrate and with its higher f 0 also has a higher ⁇ f 0 .
- a triplet configuration can be used consisting of three sensors side-by-side.
- the individual sensors can be realized by any of the resonator structures discussed herein.
- the sensors on the outside act as the transmitter and receiver antennas for the middle sensor.
- Tables 3-6 show a comparison of four chips, a single configuration and a triplet configuration with both a planar architecture and a suspended architecture, with respect to resonance frequency (Table 3), resonance frequency shift (Table 4), Q-factor (Table 5), and sensitivity (Table 6).
- the increase in the resonance frequency shift can be approached from two perspectives.
- the deformation is equally effective in any direction, due to isotropic geometry.
- there is a preferential, anisotropic deformation which dominates unilaterally (effective on only one side at a time).
- the capacitance change in the circular case can be higher than that in the rectangular case with the same starting initial capacitance value because the deformation acts to change the whole geometry. Therefore, the associated resonance frequency shift can be larger.
- the frequency shift can be higher in the circular geometry, since it possesses a higher f 0 . If these two aspects are combined, there can be a much higher shift for the circular case. Simulating S 21 parameters for the rectangular and circular devices and their triplet configurations, higher resonance frequencies and higher Q-factors for the circular geometry are also attained. Thus, better performance may be accomplished with the circular architecture.
- Figures 52-55 present S 21 (in dB) as a function of operating frequency for a single rectangular, a single circular, a triplet rectangular, and a triplet circular configuration, respectively. It can be seen, in the inset of each figure, that the resonance frequency shift 9to the right as viewed) can be much greater for the circular geometry in both configurations (single and triplet) than the rectangular. In the inset of each figure, the resonance frequency at no load is lowest and the resonance frequency at the load of 3920 N is highest, with the resonance frequency at the loads of 1960 N and 2940 N shifting to the right respectively.
- Table 7 also provides Q-factor data, which are observed to be high despite the relatively small chip sizes. These Q-factors are particularly higher in the circular case with a smaller area. The Q-factor is increased as the load magnitude is increased due to a lower C film . The Q-factor also increases for the telemetric case (triplet) of the circular case compared to the rectangular case.
- a strain sensor can be realized by a metamaterial-based RF-MEMS strain sensor that is highly sensitive to mechanical deformation.
- split-ring-resonators lower resonance frequencies per unit area can be achieved compared to other RF structures, allowing for bio-implant sensing in soft tissue applications, which include fracture healing.
- the wireless sensors yield high sensitivity with low nonlinearity-error.
- a SRR geometry can be more sensitive compared to the spiral case because of its additional gaps. These gaps can produce additional capacitance, which is changed when the load is applied. Hence, it makes SRR more sensitive than a spiral coil geometry.
- the electric field density is much higher in the gaps, so these gaps are important to obtain strong resonances. When the load is applied, these gaps change and hence the resonance frequency changes. This leads to higher sensitivity in SRRs compared to a spiral coil structure. Also, as a result of these gaps, SRRs yield higher dips and higher Q-factors compared to the spiral structure. This enables telemetric measurement and observation of the resonance frequency more easily. As a result, the SRR sensor can have increased linearity over that of the spiral coil sensor.
- Figures 56-60 illustrate different split ring resonators.
- Figure 56 shows a one turn SRR.
- Figure 57 shows a SRR with two turns.
- Figure 58 shows a SRR with four turns.
- Figure 59 shows a nested SRR architecture.
- Figure 60 shows a SRR having a comb-like structure.
- SRR structures can be combined to form compact nested metamaterial-based strain sensors on a single chip to achieve significantly enhanced sensitivity in telemetric sensing.
- This architecture features substantially more gaps compared to the structure of a non-nested SRR. This decreases the operating resonance frequency of the resulting nested SRR sensor compared to a non-nested SRR sensor.
- the capacitance of the nested SRR sensor can be changed more than the non-nested SRR, resulting in larger shifts in the transmission spectrum. This can make the nested SRR more sensitive than non-nested SRR for sensing.
- Figures 61-63 and Figures 64-66 different sets of relative transmission spectra (in dB) are presented for the non-nested SRR and nested SRR sensors, respectively, with respect to the case of no sensor on semi-log scale.
- Figure 61 shows the relative transmission spectra of the non-nested SRR under different levels of the applied load
- Figure 62 zooms into the transmission shift that is observed with the applied load.
- the operating frequency is approximately 530 MHz.
- the applied load the operating frequency decreases as seen in Figures 61 and 62 .
- the capacitance is increased.
- Figure 63 illustrates the operating frequency shift vs. the applied load.
- Figure 64 shows the transmission spectra of the nested SRR structure for different levels of the applied load, with their zoomed transmission shifts in Figure 65 .
- the operating frequency is significantly less than the non-nested SRR under no load.
- Figure 66 plots the change in the operating frequency as a function of the applied load.
- the sensitivity of the nested SRR ( Figure 66 ) can be significantly increased compared to the non-nested SRR ( Figure 63 ) as a result of the multiple gaps used in the nested SRR.
- a sensor using silicon, silicon nitride, and gold have been shown to be biocompatible, as the result of a study using New Zealand White Rabbits. It produces no tissue reaction after being implanted in these animals for six months.
- each implant was removed from the tissue envelope and the tissue specimens were routinely processed, embedded in paraffin, sectioned, and stained with Hematoxylin and Eosin (H&E) for semi-quantitative evaluation of the cellular and tissue response to the sensor and control materials.
- H&E Hematoxylin and Eosin
- the sensor is shown to perform well in the presence of soft tissue filling up the space between the antennas and the sensor.
- the operating frequency is about 475 MHz under no load, which is lower than the nested SRR in free space. This is because the soft tissue has a very high dielectric constant around 500 MHz, and this decreases the resonance frequency.
- the nested SRR sensor also can also present a high sensitivity level of 4 kHz/kgf, since the soft tissue better focuses electromagnetic waves compared to the free space because of its high dielectric constant at low frequencies. As a result, the mechanical deformation under load affects the operating frequency more strongly, which leads to better sensitivity in the soft tissue.
- the sensors were designed and tested approximately in the range of 100 MHz to 6 GHz resonance frequencies at no load. It is desirable to operate in the low to middle MHz range for use in a biological environment. Moreover, it is further desirable to fabricate sensor providing 50 MHz to 2 GHz resonance frequencies at no load for the physiological applications. If the natural frequency is to high, such as 6 GHz, while the RF signal (loaded or unloaded) from the sensor is detectable when the sensor it is not implanted, the RF signal is not detectable (loaded or unloaded) because the signal will be lost in the body tissues at this operating frequency. If the operating frequency is in the low to middle MHz range then the signal (and resultant shift in the signal with loading) is easily detectable.
- the operating resonance frequency range can be the sub-GHz, and perhaps even in the low GHz. As the operating resonance frequency is further lowered, the background loss can be reduced further. But this comes at the cost of increasing the size of the sensor to be able to operate at such low frequency. In this respect, the desirable operating range can go below 100 MHz, preferably to 50 MHz.
- the physiological load range can range from 0-3000N (3000 being approximately 4x the average person's body weight of 750N). The physiological load range can range from 0-3000N (3000 being approximately 4x the average person's body weight of 750N).
- the soft tissue medium is advantageous for the sensing application, since the operating frequency is lowered. In various embodiments, large spacing between the soft tissue and the antennae of the sensor are avoided. If there is sufficient free space between the soft tissue and the antennae, then the antenna signal decreases.
- a flexible substrate such as a vacuum tape
- a difference in the fabrication procedure between the tape-based flexible sensor and the silicon-based sensor includes the deposition of a first gold layer onto the vacuum tape substrate.
- the first gold layer increases the absorption of the sensor at the resonance frequency, so that there is a high dip at the resonance frequency.
- the silicon substrate the silicon itself increases absorption without an extra gold layer.
- Deposition of the first gold layer also forms the parallel plate capacitor with the dielectric between the first and final gold layers of the tape-based flexible sensor.
- a parallel plate capacitor can be formed without an extra gold layer, since a doped silicon substrate can be used.
- hard epoxy can be used to fix the sensor to the hardware.
- no external epoxy is needed because the tape has its own epoxy or other fixation material.
- Figures 69-70 shows the performance of a silicon-based sensor, which demonstrates over 10dB transmission dip in all cases of the strain examined. The sensitivity is shown in Figure 69 . In this figure, ⁇ f 0 is used as the shift of resonance frequency with respect to no load resonance frequency and F is used as the applied force. Figures 70 and 71 show the nonlinearity-error.
- Figure 72 shows S 21 parameters of the tape-based flexible sensor, which shows more than 10dB dip in transmission spectra for the different cases of the strain examined.
- Figure 73 shows a graph of ⁇ f 0 versus F. Then, using the Young's modulus of the cast polyamide test stick used as hardware, the microstrain is determined and plotted vs ⁇ f 0 in Figure 74 . There is less than 80 microstrain nonlinearity-error as shown in Figure 75 and less than 3% nonlinearity-error as can be seen in Figure 76 . Overall, there can be better sensitivity and better linearity in the tape-based flexible sensor compared to the silicon-based sensor.
- an inductively-powered wireless sensor can be used to monitor strain on hardware that is implanted in the body.
- An inductively-powered wireless sensor with a lateral area of less than 1 cm 2 , can operate at resonance frequencies around 500 MHz. Such a sensor can have a sensitivity of up to 4 kHz/kgf in the presence of soft tissue.
- an inductively-powered wireless sensor can be constructed of materials that are biocompatible, which makes this sensor an excellent bio-MEMS device.
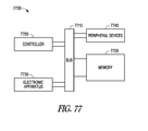
- Figure 77 shows a block diagram of various features of an embodiment of a system 7700.
- System 7700 can be configured to control the probing of an inductively powered sensor implanted in a biological subject, such as a person. This controlled probing can be used to monitor changes in strain in hardware implanted in the subject, where the hardware has the sensor attached thereto. As a fracture in a person heals, an implanted plate, to aid in the healing process, is subjected to less stress, with subsequent changes in strain in the hardware. With changes in hardware strain, there are changes to the capacitive structure of the sensor, which is exhibited by a shift in resonant frequency of a resonator or resonators of the sensor.
- System 7700 can be used to regulate excitation of the sensor over time, to direct the collection of resonant frequency data, to store relevant data including appropriate parameters, calibration data, and collected data, and to analyze the collected resonant frequency data with respect to changes in load supported by the hardware and load supported by the healing bone of the fracture.
- System 7700 can include monitoring system of Figure 19 .
- System 7700 can include a controller 7705, bus 7715, memory 7725, an apparatus 7735, and peripheral devices 7745.
- System 7700 can be formed in various ways such as coupling the individual components of system 7700 together or integrating the components into one or a number of units using conventional techniques.
- Bus 7715 can provide electrical conductivity between the various components of system 7700.
- bus 7715 includes an address bus, a data bus, and a control bus, each independently configured.
- bus 7715 uses common conductive lines for providing one or more of address, data, or control, the use of which is regulated by controller 7705.
- Apparatus 7735 can include probes for generating electromagnetic stimuli to the sensor on the hardware implanted in a subject. The stimuli can power on the sensor. Apparatus 7735 can also include receivers to receive the electromagnetic signals from the sensor in response to the stimuli. Apparatus 7735 can include circuitry to determine the resonant frequency of the signal received from the sensor.
- the sensor may be realized in accordance with various embodiments described herein.
- Memory 7725 can include any form of memory having the capacity to store and receive data and to store and receive instructions for operation of system 7700.
- Memory 7725 can include, but are not limited to, magnetic memory, removable memory, and all forms of semiconductor-based memory.
- Memory 7725 can be arranged as a machine-readable medium that stores instructions, which, when performed by system 7700, cause system 7700 to perform operations to manage the monitoring and analysis of the healing of a fracture of a subject.
- the instructions can be processed by controller 7705.
- controller 7705 includes a processor.
- peripheral device or devices 7745 are coupled to bus 7715.
- Peripheral devices 7745 may include keyboards, displays, imaging devices, printing devices, wireless devices, wireless interfaces (e.g. wireless transceivers), additional storage memory, and control devices that may operate in conjunction with controller 7705 or other components of system 7700.
- Bus 7715 can also include or be connected to a communication interface, such as an ethernet, a USB, or a Firewire, which can be used to communicate with the electronic network for connecting to an electronic network, public network, such as the Internet, or private network, such as a corporate Local Area Network (LAN) or Wide Area Network (WAN), or a virtual private network.
- a communication interface such as an ethernet, a USB, or a Firewire
- LAN Local Area Network
- WAN Wide Area Network
- Other computer systems can also be linked to this system for enabling remote monitoring, observing, and even analyzing the results obtained from the sensor.
- a wireless communication system can also be used.
- system and network disclosed herein can be programmed and configured, by one skilled in the art, to implement the methods, system, and software discussed further herein, as well as provide requisite computer data and electronic signals to implement the present invention.
Landscapes
- Health & Medical Sciences (AREA)
- Life Sciences & Earth Sciences (AREA)
- Engineering & Computer Science (AREA)
- Surgery (AREA)
- Physics & Mathematics (AREA)
- Molecular Biology (AREA)
- Public Health (AREA)
- Veterinary Medicine (AREA)
- General Health & Medical Sciences (AREA)
- Biomedical Technology (AREA)
- Heart & Thoracic Surgery (AREA)
- Medical Informatics (AREA)
- Animal Behavior & Ethology (AREA)
- Biophysics (AREA)
- Pathology (AREA)
- Computer Networks & Wireless Communication (AREA)
- General Physics & Mathematics (AREA)
- Power Engineering (AREA)
- Dentistry (AREA)
- Oral & Maxillofacial Surgery (AREA)
- Microelectronics & Electronic Packaging (AREA)
- Computer Hardware Design (AREA)
- Orthopedic Medicine & Surgery (AREA)
- Nuclear Medicine, Radiotherapy & Molecular Imaging (AREA)
- Prostheses (AREA)
- Measuring And Recording Apparatus For Diagnosis (AREA)
Applications Claiming Priority (3)
| Application Number | Priority Date | Filing Date | Title |
|---|---|---|---|
| US9368808P | 2008-09-02 | 2008-09-02 | |
| US18754809P | 2009-06-16 | 2009-06-16 | |
| EP09792188.6A EP2317912B1 (en) | 2008-09-02 | 2009-09-02 | Biomems sensor and apparatuses and methods thereof |
Related Parent Applications (1)
| Application Number | Title | Priority Date | Filing Date |
|---|---|---|---|
| EP09792188.6A Division EP2317912B1 (en) | 2008-09-02 | 2009-09-02 | Biomems sensor and apparatuses and methods thereof |
Publications (1)
| Publication Number | Publication Date |
|---|---|
| EP3009067A1 true EP3009067A1 (en) | 2016-04-20 |
Family
ID=41172386
Family Applications (2)
| Application Number | Title | Priority Date | Filing Date |
|---|---|---|---|
| EP15186883.3A Withdrawn EP3009067A1 (en) | 2008-09-02 | 2009-09-02 | Biomems sensor and apparatuses and methods thereof |
| EP09792188.6A Not-in-force EP2317912B1 (en) | 2008-09-02 | 2009-09-02 | Biomems sensor and apparatuses and methods thereof |
Family Applications After (1)
| Application Number | Title | Priority Date | Filing Date |
|---|---|---|---|
| EP09792188.6A Not-in-force EP2317912B1 (en) | 2008-09-02 | 2009-09-02 | Biomems sensor and apparatuses and methods thereof |
Country Status (9)
| Country | Link |
|---|---|
| US (2) | US9326728B2 (enExample) |
| EP (2) | EP3009067A1 (enExample) |
| JP (1) | JP5715951B2 (enExample) |
| KR (1) | KR101332239B1 (enExample) |
| CN (1) | CN102123657B (enExample) |
| BR (1) | BRPI0917288A2 (enExample) |
| CA (1) | CA2734690C (enExample) |
| ES (1) | ES2557496T3 (enExample) |
| WO (1) | WO2010028077A1 (enExample) |
Cited By (2)
| Publication number | Priority date | Publication date | Assignee | Title |
|---|---|---|---|---|
| EP3251586A1 (en) * | 2016-05-30 | 2017-12-06 | ETH Zurich | Implantable analgoue device and system comprising such device |
| DE102020121954A1 (de) | 2020-08-21 | 2022-02-24 | Universität Rostock | Anordnung zur Ermittlung des Zustandes von Implantaten umgebenden Geweben, des Einwachsverhaltens sowie des Lockerungszustandes von Implantaten |
Families Citing this family (110)
| Publication number | Priority date | Publication date | Assignee | Title |
|---|---|---|---|---|
| WO2000015273A1 (de) | 1998-09-11 | 2000-03-23 | Gerhard Schmidmaier | Biologisch aktive implantate |
| US7955357B2 (en) | 2004-07-02 | 2011-06-07 | Ellipse Technologies, Inc. | Expandable rod system to treat scoliosis and method of using the same |
| EP1924211B1 (en) | 2005-08-23 | 2019-12-18 | Smith & Nephew, Inc. | Telemetric orthopaedic implant |
| US7862502B2 (en) | 2006-10-20 | 2011-01-04 | Ellipse Technologies, Inc. | Method and apparatus for adjusting a gastrointestinal restriction device |
| US20090112263A1 (en) | 2007-10-30 | 2009-04-30 | Scott Pool | Skeletal manipulation system |
| US11202707B2 (en) | 2008-03-25 | 2021-12-21 | Nuvasive Specialized Orthopedics, Inc. | Adjustable implant system |
| KR101332239B1 (ko) * | 2008-09-02 | 2013-11-25 | 크리스티안 엠. 푸트릿츠 컨설팅, 엘엘씨 | 바이오mems 센서와 이의 장치 및 방법 |
| US11241257B2 (en) | 2008-10-13 | 2022-02-08 | Nuvasive Specialized Orthopedics, Inc. | Spinal distraction system |
| RU2545424C2 (ru) | 2008-10-15 | 2015-03-27 | Смит Энд Нефью, Инк. | Композитный внутренний фиксатор |
| US8382756B2 (en) | 2008-11-10 | 2013-02-26 | Ellipse Technologies, Inc. | External adjustment device for distraction device |
| US8197490B2 (en) | 2009-02-23 | 2012-06-12 | Ellipse Technologies, Inc. | Non-invasive adjustable distraction system |
| US9622792B2 (en) | 2009-04-29 | 2017-04-18 | Nuvasive Specialized Orthopedics, Inc. | Interspinous process device and method |
| TWI420739B (zh) * | 2009-05-21 | 2013-12-21 | Ind Tech Res Inst | 輻射場型隔離器及其天線系統與使用該天線系統的通訊裝置 |
| CN102905625B (zh) | 2009-09-04 | 2015-09-09 | 埃利普斯科技有限公司 | 骨生长装置及方法 |
| WO2011044220A1 (en) * | 2009-10-06 | 2011-04-14 | University Of Massachusetts Medical School | Device and method to measure bone healing |
| US9248043B2 (en) | 2010-06-30 | 2016-02-02 | Ellipse Technologies, Inc. | External adjustment device for distraction device |
| WO2012021378A2 (en) | 2010-08-09 | 2012-02-16 | Ellipse Technologies, Inc. | Maintenance feature in magnetic implant |
| US8715282B2 (en) | 2011-02-14 | 2014-05-06 | Ellipse Technologies, Inc. | System and method for altering rotational alignment of bone sections |
| US8700199B2 (en) * | 2011-03-21 | 2014-04-15 | International Business Machines Corporation | Passive resonator, a system incorporating the passive resonator for real-time intra-process monitoring and control and an associated method |
| US9855081B2 (en) | 2011-07-15 | 2018-01-02 | Smith & Nephew, Inc. | Fiber-reinforced composite orthopaedic device having embedded electronics |
| CN102903397B (zh) * | 2011-07-29 | 2015-07-22 | 深圳光启高等理工研究院 | 一种宽频吸波的人工电磁材料 |
| KR101214731B1 (ko) * | 2011-07-29 | 2012-12-21 | 삼성전기주식회사 | 적층형 인덕터 및 이의 제조 방법 |
| US10743794B2 (en) | 2011-10-04 | 2020-08-18 | Nuvasive Specialized Orthopedics, Inc. | Devices and methods for non-invasive implant length sensing |
| KR101308104B1 (ko) * | 2011-10-24 | 2013-09-12 | 한국과학기술연구원 | 생체용 압력 센서 및 그 제조 방법 |
| US10016220B2 (en) | 2011-11-01 | 2018-07-10 | Nuvasive Specialized Orthopedics, Inc. | Adjustable magnetic devices and methods of using same |
| US9795423B2 (en) * | 2012-01-23 | 2017-10-24 | DePuy Synthes Products, Inc. | Device and method for normalizing implant strain readings to assess bone healing |
| WO2013119528A1 (en) * | 2012-02-07 | 2013-08-15 | Io Surgical, Llc | Sensor system, implantable sensor and method for remote sensing of a stimulus in vivo |
| CN102593599B (zh) * | 2012-02-29 | 2015-02-04 | 深圳光启高等理工研究院 | 一种负磁导率超材料 |
| US9078711B2 (en) | 2012-06-06 | 2015-07-14 | Ellipse Technologies, Inc. | Devices and methods for detection of slippage of magnetic coupling in implantable medical devices |
| US20130338714A1 (en) | 2012-06-15 | 2013-12-19 | Arvin Chang | Magnetic implants with improved anatomical compatibility |
| WO2014043418A1 (en) * | 2012-09-12 | 2014-03-20 | Innovative In Vivo Sensing, Llc | Strain sensor device with a biological substrate and method of manufacturing thereof |
| US9044281B2 (en) | 2012-10-18 | 2015-06-02 | Ellipse Technologies, Inc. | Intramedullary implants for replacing lost bone |
| US10130405B2 (en) | 2012-10-29 | 2018-11-20 | Nuvasive Specialized Orthopedics, Inc. | Adjustable devices for treating arthritis of the knee |
| US9179938B2 (en) | 2013-03-08 | 2015-11-10 | Ellipse Technologies, Inc. | Distraction devices and method of assembling the same |
| US9848775B2 (en) * | 2013-05-22 | 2017-12-26 | The Board Of Trustees Of The Leland Stanford Junior University | Passive and wireless pressure sensor |
| US10226242B2 (en) | 2013-07-31 | 2019-03-12 | Nuvasive Specialized Orthopedics, Inc. | Noninvasively adjustable suture anchors |
| US9801734B1 (en) | 2013-08-09 | 2017-10-31 | Nuvasive, Inc. | Lordotic expandable interbody implant |
| US9506848B2 (en) | 2013-08-13 | 2016-11-29 | Georgia Tech Research Corporation | Frequency doubling antenna sensor for wireless strain and crack sensing |
| US10751094B2 (en) | 2013-10-10 | 2020-08-25 | Nuvasive Specialized Orthopedics, Inc. | Adjustable spinal implant |
| US9274075B2 (en) | 2014-01-30 | 2016-03-01 | Mitsubishi Electric Research Laboratories, Inc. | Proximity sensor detecting metallic and non-metallic objects |
| GB2523741A (en) * | 2014-02-26 | 2015-09-09 | Medical Wireless Sensing Ltd | Sensor |
| CN106456215B (zh) | 2014-04-28 | 2020-04-10 | 诺威适骨科专科公司 | 用于调整医疗植入物的外部调整装置 |
| EP3198263B1 (en) | 2014-09-24 | 2020-02-12 | Bogazici Universitesi | A biosensor with integrated antenna and measurement method for biosensing applications |
| DK3209226T3 (da) | 2014-10-23 | 2021-02-01 | Nuvasive Specialized Orthopedics Inc | Interaktivt knogleomstruktureringsimplant, som kan fjernjusteres |
| KR102560581B1 (ko) | 2014-12-26 | 2023-07-26 | 누베이시브 스페셜라이즈드 오소페딕스, 인크. | 신연을 위한 시스템 및 방법 |
| KR102358589B1 (ko) | 2015-02-12 | 2022-02-03 | 파운드리 이노베이션 앤드 리서치 1 리미티드 | 심부전 모니터링을 위한 이식가능 장치 및 관련 방법 |
| US12465324B2 (en) | 2015-02-12 | 2025-11-11 | Foundry Innovation & Research 1, Ltd. | Patient fluid management systems and methods employing integrated fluid status sensing |
| US10238427B2 (en) | 2015-02-19 | 2019-03-26 | Nuvasive Specialized Orthopedics, Inc. | Systems and methods for vertebral adjustment |
| US20160354174A1 (en) * | 2015-06-05 | 2016-12-08 | Innovative In Vivo Sensing, Llc | Wireless strain sensing device |
| WO2017024051A1 (en) | 2015-08-03 | 2017-02-09 | Foundry Innovation & Research 1, Ltd. | Devices and methods for measurement of vena cava dimensions, pressure, and oxygen saturation |
| JP2018534983A (ja) | 2015-10-16 | 2018-11-29 | ニューベイシブ スペシャライズド オーソペディックス,インコーポレイテッド | 膝の関節炎を治療する調整可能なデバイス |
| EP4275631B1 (en) | 2015-12-10 | 2025-10-01 | NuVasive Specialized Orthopedics, Inc. | External adjustment device for distraction device |
| EP3656323B1 (en) | 2016-01-28 | 2021-06-23 | NuVasive Specialized Orthopedics, Inc. | Systems for bone transport |
| WO2017139548A1 (en) | 2016-02-10 | 2017-08-17 | Nuvasive Specialized Orthopedics, Inc. | Systems and methods for controlling multiple surgical variables |
| AU2017224828A1 (en) * | 2016-02-26 | 2018-05-10 | Macquarie University | Implanted sensing system for joint replacements |
| US10147248B2 (en) * | 2016-03-18 | 2018-12-04 | Vivokey Technologies Inc. | In vivo identity and security application implant and method |
| CN106197766A (zh) * | 2016-06-21 | 2016-12-07 | 合肥联宝信息技术有限公司 | 一种拉力感应材料及其测量拉力的方法 |
| US11701018B2 (en) | 2016-08-11 | 2023-07-18 | Foundry Innovation & Research 1, Ltd. | Wireless resonant circuit and variable inductance vascular monitoring implants and anchoring structures therefore |
| EP3496606A1 (en) | 2016-08-11 | 2019-06-19 | Foundry Innovation & Research 1, Ltd. | Systems and methods for patient fluid management |
| US11206992B2 (en) | 2016-08-11 | 2021-12-28 | Foundry Innovation & Research 1, Ltd. | Wireless resonant circuit and variable inductance vascular monitoring implants and anchoring structures therefore |
| WO2018077657A1 (en) | 2016-10-25 | 2018-05-03 | Vigilitech Ag | Sensor device |
| CN110300546B (zh) | 2016-11-29 | 2023-03-31 | 铸造创新&研究第一有限责任公司 | 用于监测患者脉管系统和流体状态的系统和方法 |
| US10293481B1 (en) | 2016-12-14 | 2019-05-21 | The United States Of America As Represented By The Administrator Of The National Aeronautics And Space Administration | Relative deflection detector |
| EP3612810A4 (en) | 2017-04-21 | 2021-01-13 | Colorado State University Research Foundation | DISPLACEMENT AND DEFORMATION MONITORING PROCESS AND SYSTEM NOT USING A STRAIN SENSOR, AND ASSOCIATED COMPONENTS |
| US11779238B2 (en) | 2017-05-31 | 2023-10-10 | Foundry Innovation & Research 1, Ltd. | Implantable sensors for vascular monitoring |
| US11944495B2 (en) | 2017-05-31 | 2024-04-02 | Foundry Innovation & Research 1, Ltd. | Implantable ultrasonic vascular sensor |
| US10758142B2 (en) * | 2017-07-17 | 2020-09-01 | San Diego State University Research Foundation | Apparatus and method of real-time health and exercise sensor mechanism with biopotential electrode integrated double 3D gyroscope network |
| EP3664692A1 (en) * | 2017-08-07 | 2020-06-17 | DePuy Synthes Products, Inc. | Sensors implantable into a patient's body, systems, and methods of using the same |
| US10804850B2 (en) * | 2017-08-26 | 2020-10-13 | Innovative Micro Technology | Gas sensor using mm wave cavity |
| US11451093B2 (en) * | 2017-09-05 | 2022-09-20 | University Of Florida Research Foundation, Incorporated | Wireless power transfer to biomedical implants |
| US10694999B2 (en) | 2017-10-13 | 2020-06-30 | Case Western Reserve University | Conductive layer formed strain gauge and method of making same |
| WO2019083807A1 (en) * | 2017-10-26 | 2019-05-02 | Wellinks, Inc. | GAUGE SYSTEM BASED ON PRINTED CIRCUIT BOARD |
| US10709889B2 (en) * | 2018-02-28 | 2020-07-14 | Palo Alto Research Center Incorporated | Localized electromagnetic field control in implantable biomedical probes using smart polymers |
| WO2019191725A1 (en) | 2018-03-30 | 2019-10-03 | Colorado State University Research Foundation | Loading device for measuring stiffness of structural member over time, monitoring system, and method thereof |
| US11228114B2 (en) * | 2018-06-06 | 2022-01-18 | Netgear, Inc. | Antenna enhancing holding structure for an internet-of-things (IoT) device |
| CN109171671B (zh) * | 2018-06-26 | 2020-08-14 | 浙江大学 | 一种基于极化转换超表面的生命体征检测方法 |
| WO2020040709A1 (en) * | 2018-08-23 | 2020-02-27 | Glakolens Bi̇yomedi̇kal Bi̇yoteknoloji̇ Ti̇c. Ve San. A.Ş. | Contact lens embedded sensor system for monitoring changes in intraocular pressure and method for implementing the same |
| JP7189426B2 (ja) * | 2018-12-05 | 2022-12-14 | 日本電信電話株式会社 | 表面変化検出体及びそれを用いた表面変化検出方法 |
| WO2020128627A2 (en) * | 2018-12-21 | 2020-06-25 | Cochlear Limited | Therapeutic sound through bone conduction |
| CN109737863B (zh) * | 2019-01-24 | 2020-10-23 | 深圳市腾基建设工程有限公司 | 一种幕墙松动监测传感器、监测系统及监测方法 |
| EP3922039A1 (en) | 2019-02-07 | 2021-12-15 | NuVasive Specialized Orthopedics, Inc. | Ultrasonic communication in medical devices |
| US11589901B2 (en) | 2019-02-08 | 2023-02-28 | Nuvasive Specialized Orthopedics, Inc. | External adjustment device |
| US11118984B2 (en) * | 2019-06-05 | 2021-09-14 | Google Llc | Use of actuator as sensor for input |
| US11402193B2 (en) | 2019-10-01 | 2022-08-02 | Colorado State University Research Foundation | Method and system for measuring deflections of structural member at multiple locations using multiple antennae |
| US10892558B1 (en) | 2019-10-01 | 2021-01-12 | Colorado State University Research Foundation | Method and system for measuring deflections of structural member at multiple locations and antenna thereof |
| US11850068B2 (en) * | 2019-11-27 | 2023-12-26 | International Business Machines Corporation | Modular sensing unit |
| IT201900023088A1 (it) * | 2019-12-05 | 2021-06-05 | Leonardo Spa | Sistema e procedimento per la misurazione di una deformazione di una struttura di un velivolo |
| EP3838118A1 (en) * | 2019-12-20 | 2021-06-23 | Endotact | Connected implant with reflector |
| US12224807B2 (en) * | 2019-12-20 | 2025-02-11 | Bogazici Universitesi | System and method which provides wireless communication between bio-nano elements and macro/micro devices |
| US12303290B2 (en) * | 2020-01-27 | 2025-05-20 | Howmedica Osteonics Corp. | Medical sensor and method |
| CN111289169B (zh) * | 2020-02-13 | 2021-05-07 | 大连理工大学 | 基于lc谐振的无源无线温度压强集成式传感器及其制备方法 |
| US12376787B2 (en) | 2020-07-21 | 2025-08-05 | DePuy Synthes Products, Inc. | Bone fixation monitoring system |
| WO2022040102A1 (en) * | 2020-08-17 | 2022-02-24 | Arizona Board Of Regents On Behalf Of The University Of Arizona | An implantable miniaturized and soft wireless sensing device to monitor tissue and bone deformation |
| WO2022055678A1 (en) | 2020-09-08 | 2022-03-17 | Nuvasive Specialized Orthopedics, Inc. | Remote control module for adjustable implants |
| CN112097700B (zh) * | 2020-09-10 | 2021-11-02 | 中国科学院重庆绿色智能技术研究院 | 一种基于频率可重构天线的无线应变传感系统及监测方法 |
| US11786125B2 (en) | 2020-12-15 | 2023-10-17 | DePuy Synthes Products, Inc. | Implantable sensor electronics packaging |
| US11806054B2 (en) | 2021-02-23 | 2023-11-07 | Nuvasive Specialized Orthopedics, Inc. | Adjustable implant, system and methods |
| US11737787B1 (en) | 2021-05-27 | 2023-08-29 | Nuvasive, Inc. | Bone elongating devices and methods of use |
| CN113394566B (zh) * | 2021-05-28 | 2022-09-06 | 哈尔滨工业大学 | 一种全金属超材料透镜及其移相量设计方法 |
| KR102555977B1 (ko) * | 2021-07-15 | 2023-07-13 | 가천대학교 산학협력단 | 공진기를 포함하는 탐지용 디바이스 및 이를 이용하는 방법 |
| JP2024528989A (ja) | 2021-08-03 | 2024-08-01 | ニューベイシブ スペシャライズド オーソペディックス,インコーポレイテッド | 調整可能なインプラント |
| US12313581B2 (en) * | 2021-09-01 | 2025-05-27 | Iowa State University Research Foundation, Inc. | Position independent and long read range resonant sensor |
| KR20230118349A (ko) * | 2022-02-04 | 2023-08-11 | 주식회사 에스비솔루션 | 전자기 기반 삽입형 센서 |
| CN114608429A (zh) * | 2022-03-18 | 2022-06-10 | 北京京东方技术开发有限公司 | 一种位移传感器、位移检测方法及位移检测系统 |
| EP4561673A1 (en) | 2022-07-29 | 2025-06-04 | Foundry Innovation & Research 1, Ltd. | Multistranded conductors adapted to dynamic in vivo environments |
| US12458417B2 (en) * | 2022-08-15 | 2025-11-04 | Nuvasive Specialized Orthopedics Inc. | Intermedullary lengthening implant with integrated load sensor |
| CN115353961A (zh) * | 2022-09-14 | 2022-11-18 | 领伟创新智能系统(浙江)有限公司 | 一种基于超材料的心肌组织力学传感器 |
| WO2024094188A1 (zh) * | 2022-11-04 | 2024-05-10 | 清华大学 | 骨科植入物、应变监测系统、加工方法、设备及介质 |
| CN115414137A (zh) * | 2022-11-04 | 2022-12-02 | 清华大学 | 标签电路、骨植入物、骨骼应变检测系统及方法 |
| CN117906486A (zh) * | 2023-12-25 | 2024-04-19 | 东南大学 | 基于可重构超材料阵列的应变传感器 |
Citations (3)
| Publication number | Priority date | Publication date | Assignee | Title |
|---|---|---|---|---|
| DE102005045739A1 (de) * | 2005-09-23 | 2007-04-19 | Universitätsklinikum Freiburg | Osteosynthesehilfsmittel |
| US20080077016A1 (en) * | 2006-09-22 | 2008-03-27 | Integrated Sensing Systems, Inc. | Monitoring system having implantable inductive sensor |
| US20080169883A1 (en) * | 2006-06-28 | 2008-07-17 | Richwave Technology Corp. | LC resonant circuit |
Family Cites Families (13)
| Publication number | Priority date | Publication date | Assignee | Title |
|---|---|---|---|---|
| EP0618435A3 (de) * | 1993-03-30 | 1995-02-01 | Siemens Ag | Kapazitiver Drucksensor. |
| JPH10335675A (ja) * | 1997-05-30 | 1998-12-18 | Aisin Seiki Co Ltd | 半導体マイクロマシン |
| US6855115B2 (en) * | 2002-01-22 | 2005-02-15 | Cardiomems, Inc. | Implantable wireless sensor for pressure measurement within the heart |
| DE60334459D1 (de) * | 2002-07-10 | 2010-11-18 | Orthodata Inc | Belastungsmesssystem |
| US7357037B2 (en) * | 2002-07-10 | 2008-04-15 | Orthodata Technologies Llc | Strain sensing system |
| US7256695B2 (en) * | 2002-09-23 | 2007-08-14 | Microstrain, Inc. | Remotely powered and remotely interrogated wireless digital sensor telemetry system |
| ZA200700096B (en) * | 2004-06-07 | 2008-05-28 | Synthes Gmbh | Orthopaedic implant with sensors |
| EP1773186A4 (en) * | 2004-07-08 | 2009-08-12 | Deborah Schenberger | LOAD MONITORING SYSTEM AND DEVICE |
| US7181975B1 (en) * | 2005-09-13 | 2007-02-27 | Honeywell International | Wireless capacitance pressure sensor |
| US8104358B1 (en) * | 2006-01-23 | 2012-01-31 | University Of Puerto Rico | High sensitivity passive wireless strain sensor |
| DE102006051173A1 (de) * | 2006-08-25 | 2008-03-20 | Fraunhofer-Gesellschaft zur Förderung der angewandten Forschung e.V. | Gelenkprothese und Verfahren zum Messen einer Abnutzung in dieser Gelenkprothese |
| US7913569B2 (en) * | 2007-12-11 | 2011-03-29 | Israel Aerospace Industries Ltd. | Magnetostrictive type strain sensing means and methods |
| KR101332239B1 (ko) * | 2008-09-02 | 2013-11-25 | 크리스티안 엠. 푸트릿츠 컨설팅, 엘엘씨 | 바이오mems 센서와 이의 장치 및 방법 |
-
2009
- 2009-09-02 KR KR1020117003823A patent/KR101332239B1/ko not_active Expired - Fee Related
- 2009-09-02 WO PCT/US2009/055772 patent/WO2010028077A1/en not_active Ceased
- 2009-09-02 EP EP15186883.3A patent/EP3009067A1/en not_active Withdrawn
- 2009-09-02 EP EP09792188.6A patent/EP2317912B1/en not_active Not-in-force
- 2009-09-02 JP JP2011525295A patent/JP5715951B2/ja not_active Expired - Fee Related
- 2009-09-02 ES ES09792188.6T patent/ES2557496T3/es active Active
- 2009-09-02 CA CA2734690A patent/CA2734690C/en not_active Expired - Fee Related
- 2009-09-02 BR BRPI0917288A patent/BRPI0917288A2/pt not_active IP Right Cessation
- 2009-09-02 CN CN200980132226.4A patent/CN102123657B/zh not_active Expired - Fee Related
-
2011
- 2011-02-25 US US13/035,662 patent/US9326728B2/en not_active Expired - Fee Related
-
2016
- 2016-03-22 US US15/077,376 patent/US20160198981A1/en not_active Abandoned
Patent Citations (3)
| Publication number | Priority date | Publication date | Assignee | Title |
|---|---|---|---|---|
| DE102005045739A1 (de) * | 2005-09-23 | 2007-04-19 | Universitätsklinikum Freiburg | Osteosynthesehilfsmittel |
| US20080169883A1 (en) * | 2006-06-28 | 2008-07-17 | Richwave Technology Corp. | LC resonant circuit |
| US20080077016A1 (en) * | 2006-09-22 | 2008-03-27 | Integrated Sensing Systems, Inc. | Monitoring system having implantable inductive sensor |
Non-Patent Citations (1)
| Title |
|---|
| ROHAT MELIK ET AL: "Bio-implantable passive on-chip RF-MEMS strain sensing resonators for orthopaedic applications", JOURNAL OF MICROMECHANICS & MICROENGINEERING, INSTITUTE OF PHYSICS PUBLISHING, BRISTOL, GB, vol. 18, no. 11, 1 November 2008 (2008-11-01), pages 115017, XP020145035, ISSN: 0960-1317, DOI: 10.1088/0960-1317/18/11/115017 * |
Cited By (3)
| Publication number | Priority date | Publication date | Assignee | Title |
|---|---|---|---|---|
| EP3251586A1 (en) * | 2016-05-30 | 2017-12-06 | ETH Zurich | Implantable analgoue device and system comprising such device |
| WO2017207490A1 (en) * | 2016-05-30 | 2017-12-07 | Eth Zurich | Implantable analogue device and system comprising such device |
| DE102020121954A1 (de) | 2020-08-21 | 2022-02-24 | Universität Rostock | Anordnung zur Ermittlung des Zustandes von Implantaten umgebenden Geweben, des Einwachsverhaltens sowie des Lockerungszustandes von Implantaten |
Also Published As
| Publication number | Publication date |
|---|---|
| KR20110044758A (ko) | 2011-04-29 |
| CN102123657A (zh) | 2011-07-13 |
| EP2317912B1 (en) | 2015-11-04 |
| US20110152725A1 (en) | 2011-06-23 |
| KR101332239B1 (ko) | 2013-11-25 |
| EP2317912A1 (en) | 2011-05-11 |
| CA2734690A1 (en) | 2010-03-11 |
| ES2557496T3 (es) | 2016-01-26 |
| US20160198981A1 (en) | 2016-07-14 |
| BRPI0917288A2 (pt) | 2015-11-10 |
| JP5715951B2 (ja) | 2015-05-13 |
| US9326728B2 (en) | 2016-05-03 |
| CA2734690C (en) | 2016-01-05 |
| CN102123657B (zh) | 2014-12-03 |
| WO2010028077A1 (en) | 2010-03-11 |
| JP2012501237A (ja) | 2012-01-19 |
Similar Documents
| Publication | Publication Date | Title |
|---|---|---|
| EP2317912B1 (en) | Biomems sensor and apparatuses and methods thereof | |
| EP2268218B1 (en) | System and apparatus for in-vivo assessment of relative position of an implant | |
| US8896324B2 (en) | System, apparatus, and method for in-vivo assessment of relative position of an implant | |
| US20140084943A1 (en) | Strain monitoring system and apparatus | |
| Denisov et al. | Ultrasonic vs. inductive power delivery for miniature biomedical implants | |
| Melik et al. | Nested metamaterials for wireless strain sensing | |
| US8622936B2 (en) | Strain monitoring system and apparatus | |
| EP2972442B1 (en) | Enhancement of magnetic resonance image resolution by using bio-compatible, passive resonator hardware | |
| Wachs et al. | Elementary implantable force sensor: for smart orthopaedic implants | |
| Rizwan et al. | A compact textile monopole antenna for monitoring the healing of bone fractures using un-supervised machine learning algorithm | |
| Kiriş et al. | Study of helical antenna as a bone fracture sensor | |
| Singh et al. | A Trapezoidal Ground-based Truncated Rectangular Patch Antenna for Non-Invasive Monitoring of Bone Fracture Healing | |
| CN115379810B (zh) | 具有反射器的牵张设备 | |
| Melik et al. | Implementation of high quality‐factor on‐chip tuned microwave resonators at 7 GHz | |
| Melik | Novel wireless RF-bioMEMS implant sensors of metamaterials | |
| Kudaibergenova et al. | Experimental Performance Evaluation of Compact WPT System for Biomedical Applications | |
| US20040082851A1 (en) | Tunable electromagnetic device and method of use | |
| US7771351B1 (en) | Method and apparatus for eddy current compensation in a radio frequency probe | |
| Wachs et al. | Elementary Implantable Force Sensor | |
| CN116531150A (zh) | 一种骨植入物裂纹检测系统及其可植入式射频识别传感器 | |
| Sasikala et al. | Simulation of RF-MEMS bio implantable sensor for orthopedic application |
Legal Events
| Date | Code | Title | Description |
|---|---|---|---|
| PUAI | Public reference made under article 153(3) epc to a published international application that has entered the european phase |
Free format text: ORIGINAL CODE: 0009012 |
|
| 17P | Request for examination filed |
Effective date: 20150925 |
|
| AC | Divisional application: reference to earlier application |
Ref document number: 2317912 Country of ref document: EP Kind code of ref document: P |
|
| AK | Designated contracting states |
Kind code of ref document: A1 Designated state(s): AT BE BG CH CY CZ DE DK EE ES FI FR GB GR HR HU IE IS IT LI LT LU LV MC MK MT NL NO PL PT RO SE SI SK SM TR |
|
| 17Q | First examination report despatched |
Effective date: 20170216 |
|
| GRAP | Despatch of communication of intention to grant a patent |
Free format text: ORIGINAL CODE: EPIDOSNIGR1 |
|
| INTG | Intention to grant announced |
Effective date: 20171123 |
|
| STAA | Information on the status of an ep patent application or granted ep patent |
Free format text: STATUS: THE APPLICATION IS DEEMED TO BE WITHDRAWN |
|
| 18D | Application deemed to be withdrawn |
Effective date: 20180404 |