EP2998071B1 - Wrench with a lockable torque-setting mechanism - Google Patents

Wrench with a lockable torque-setting mechanism Download PDF

Info

Publication number
EP2998071B1
EP2998071B1 EP14185438.0A EP14185438A EP2998071B1 EP 2998071 B1 EP2998071 B1 EP 2998071B1 EP 14185438 A EP14185438 A EP 14185438A EP 2998071 B1 EP2998071 B1 EP 2998071B1
Authority
EP
European Patent Office
Prior art keywords
torque
lever
pawl
teeth
setting mechanism
Prior art date
Legal status (The legal status is an assumption and is not a legal conclusion. Google has not performed a legal analysis and makes no representation as to the accuracy of the status listed.)
Active
Application number
EP14185438.0A
Other languages
German (de)
English (en)
French (fr)
Other versions
EP2998071A1 (en
Inventor
Yi-Min Wu
Current Assignee (The listed assignees may be inaccurate. Google has not performed a legal analysis and makes no representation or warranty as to the accuracy of the list.)
Matatakitoyo Tool Co Ltd
Original Assignee
Matatakitoyo Tool Co Ltd
Priority date (The priority date is an assumption and is not a legal conclusion. Google has not performed a legal analysis and makes no representation as to the accuracy of the date listed.)
Filing date
Publication date
Application filed by Matatakitoyo Tool Co Ltd filed Critical Matatakitoyo Tool Co Ltd
Priority to EP14185438.0A priority Critical patent/EP2998071B1/en
Priority to DK14185438.0T priority patent/DK2998071T3/da
Priority to HUE14185438A priority patent/HUE043321T2/hu
Priority to PL14185438T priority patent/PL2998071T3/pl
Publication of EP2998071A1 publication Critical patent/EP2998071A1/en
Application granted granted Critical
Publication of EP2998071B1 publication Critical patent/EP2998071B1/en
Active legal-status Critical Current
Anticipated expiration legal-status Critical

Links

Images

Classifications

    • BPERFORMING OPERATIONS; TRANSPORTING
    • B25HAND TOOLS; PORTABLE POWER-DRIVEN TOOLS; MANIPULATORS
    • B25BTOOLS OR BENCH DEVICES NOT OTHERWISE PROVIDED FOR, FOR FASTENING, CONNECTING, DISENGAGING OR HOLDING
    • B25B23/00Details of, or accessories for, spanners, wrenches, screwdrivers
    • B25B23/14Arrangement of torque limiters or torque indicators in wrenches or screwdrivers
    • B25B23/142Arrangement of torque limiters or torque indicators in wrenches or screwdrivers specially adapted for hand operated wrenches or screwdrivers
    • B25B23/1422Arrangement of torque limiters or torque indicators in wrenches or screwdrivers specially adapted for hand operated wrenches or screwdrivers torque indicators or adjustable torque limiters
    • B25B23/1427Arrangement of torque limiters or torque indicators in wrenches or screwdrivers specially adapted for hand operated wrenches or screwdrivers torque indicators or adjustable torque limiters by mechanical means

Definitions

  • the present invention relates to a wrench equipped with a torque-setting mechanism and, more particularly, to a wrench equipped with a lockable torque-setting mechanism.
  • Wrenches are used to exert torque on fasteners such as threaded bolts and nuts to fasten work-pieces. It is important to exert a proper value of torque. In some applications, it is particularly important to have the value of torque close to but under a limit to effectively fasten the work-pieces without the risks of damaging the work-pieces.
  • Some wrenches are equipped with torque-setting mechanisms. Such a torque-setting mechanism is used to set a maximum value of torque that can be exerted via such a wrench.
  • a typical torque-setting mechanism includes a knob connected to a handle of a wrench. The maximum value of torque is set by rotating the knob relative to the handle. The knob might however be accidentally rotated relative to the handle in operation.
  • the knob is formed with teeth for engagement with teeth formed on the handle.
  • the knob can be translated relative to the handle between two positions. In the first position, the teeth of the knob are engaged with the teeth of the handle so that the knob cannot be rotated relative to the handle. In the second position, the teeth of the knob are disengaged from the teeth of the handle so that the knob can be rotated relative to the handle. The knob might however be excessively translated and hence removed from the handle.
  • a spring-biased detent is connected to the knob and a recess is made in the handle.
  • the spring-biased detent is intended for insertion in the recess to keep the knob connected to the handle.
  • the insertion of the spring-biased detent in the recess has however been proven to be ineffective to keep the knob connected to the handle.
  • a locking mechanism of a wrench that comprises a grip as well as two sleeves arranged in the grip and being capable of engaging each other through teeth formed on their axial surfaces facing the other sleeve, respectively.
  • the two sleeves are engaged with each other by pivoting a switch, thereby blocking a rotation of the grip.
  • the two sleeves are disengaged by pivoting the switch back so as to allow for the grip to be rotated.
  • the present invention is intended to obviate or at least alleviate the problems encountered in prior art.
  • the lockable torque-setting mechanism includes a locking mechanism.
  • the locking mechanism includes a sleeve, a body, a pawl and a lever.
  • the sleeve is non-movably connected to a grip of the wrench and formed with teeth.
  • the body is non-movably connected to a knob, partially inserted in the sleeve, and includes a recess in communication with a cavity.
  • the pawl is movably inserted in the recess and formed with teeth.
  • the lever includes an end for pressing the pawl and another end pivotally connected to the body.
  • the lever is movable in the cavity of the body between a first position to press a first portion of the pawl to engage the teeth of the pawl with the teeth of the sleeve and a second position to press a second portion of the pawl to disengage the teeth of the pawl from the teeth of the sleeve.
  • the wrench 100 includes a head 10, a grip 40, a torque-relaying mechanism 102 for delivering torque to the head 10 from the grip 40, a torque-setting mechanism 101 operable for setting a maximum value of torque deliverable via the torque-relaying mechanism 102, and a locking mechanism (not numbered) operable for locking the torque-setting mechanism 101.
  • the head 10 is operatively connected to an insert 11 via a ratchet mechanism that is not shown for being conventional.
  • the grip 40 is a tubular element with two windows 42 and 49 made in the periphery.
  • a lens 21 is attached to the grip 40 to cover the window 42.
  • the lens 21 is made or printed with a scale.
  • the scale includes two unit systems such as lb-ft and N-m.
  • a lens 29 is attached to the grip 40 to cover the window 49.
  • the torque-setting mechanism 101 includes a threaded rod 34, a threaded sleeve 35, a bearing 38, a knob 70 and an indicator 28.
  • the threaded rod 34 is connected to the knob 70.
  • the threaded rod 34 can be rotated but cannot be translated in the grip 40.
  • the threaded sleeve 35 can be translated but cannot be rotated in the grip 40.
  • the threaded sleeve 35 is engaged with the threaded rod 34.
  • the knob 70 is operable to rotate the threaded rod 34 to translate the threaded sleeve 35.
  • the indicator 28 is connected to the threaded sleeve 35 so that they can be translated together.
  • the indicator 28 is observable via the lens 21.
  • the position of the indicator 28 relative to the scale made or printed on the lens 21 represents the maximum value of torque set by the torque-setting mechanism.
  • the torque-relaying mechanism 102 includes a shank 20, a lever 30, a rolling unit 32 and a spring 36.
  • the spring 36 is compressed between the threaded sleeve 35 and the rolling unit 32.
  • the rolling unit 32 is in detachable contact with an inclined face formed at an end of the lever 30.
  • the lever 30 is pivotally inserted in the shank 20, which is connected to the grip 40.
  • the head 10 is formed at another end of the lever 30.
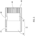
  • the locking mechanism includes a sleeve 44, a body 50, a lever 60, a spring 64, two caps 63, two pawls 65 and a switch 72.
  • Each of the pawls 65 is formed with teeth 66.
  • the sleeve 44 includes an axial space 41, two radial apertures 47 and 48 and teeth 46.
  • the axial space 41 includes a large portion 43 and a small portion 45, with a shoulder formed between them.
  • the large portion 43 of the axial space 41 is in communication with the radial aperture 47.
  • the small portion 45 of the axial space 41 is in communication with the radial aperture 48.
  • the teeth 46 are formed on an internal face of the sleeve 44, in the small portion 45 of the axial space 41.
  • the body 50 includes two axial cavities 51 and 58, a neck 52 formed at an end, an annular flange 54 formed near the neck 52, and two recesses 53 made near the annular flange 54.
  • the axial cavity 58 is made in the neck 52.
  • the recesses 53 are in communication with the axial cavity 58 via a bore 55.
  • the recess 53, the bore 55 and the axial cavity 58 together form a T-shaped channel.
  • the body 50 further includes an axial aperture 56 in communication with the axial cavity 51.
  • the body 50 includes two more radial apertures 59 in communication with the axial cavity 58.
  • Two screw holes 57 are made in the annular flange 54.
  • the knob 70 includes two axial cavities 71 and 75, an axial bore 78 via which the axial cavity 71 is in communication with the axial cavity 75, and a countersink hole 73.
  • the knob 70 further includes teeth 76 formed on an internal face, in the axial cavity 75.
  • a scale ring 22 includes a scale 24 formed or printed with on an external face and teeth 26 formed on the external face.
  • the scale 24 includes smaller units than the scale formed or printed on the lens 21.
  • the sleeve 44 is secured to the shank 20 via a screw (not numbered).
  • the scale ring 22 is placed on the sleeve 44.
  • the pawls 65 are placed in the recesses 53 and pivotally connected to the annular flange 54 by two pins 68.
  • the body 50 except the annular flange 54 and the neck 52, is inserted in the sleeve 44.
  • the teeth 66 of the pawls 65 can be engaged with the teeth 46 of the sleeve 44.
  • the spring 64 includes a middle portion inserted in an aperture 62 made in the lever 60 and two ends inserted in the caps 63.
  • the lever 60 includes a portion inserted in the axial cavity 58 and the bore 55 of the body 50.
  • a pin 67 is inserted in the radial apertures 59 of the neck 52 and an aperture 61 made in the lever 60 to pivotally connect the lever 60 to the body 50.
  • the caps 63 are in contact with the pawls 65.
  • the lever 60 includes another portion inserted in axial bore 78 of the knob 70.
  • a screw 74 is inserted in the lever 60 via an axial aperture (not numbered) made in the switch 72 to connect the switch 72 to the lever 60.
  • a screw (not shown) is inserted in the countersink hole 73 of the knob 70 and one of the screw holes 57 of the body 50 to connect the knob 70 to the body 50 so that they are rotatable together.
  • the switch 72 is pivoted into a first position like a seesaw.
  • the lever 60 is pivoted into a first position.
  • Each of the caps 63 is abutted against a first portion of a corresponding one of the pawls 65 so that the teeth 66 of the pawls 65 are engaged with the teeth 46 of the sleeve 44.
  • the body 50 cannot be rotated relative to the sleeve 44. Therefore, the knob 70 cannot be rotated relative to the shank 20.
  • the switch 72 is switched into a second position.
  • the lever 60 is pivoted into a second position.
  • Each of the caps 63 is abutted against a second portion of a corresponding one of the pawls 65 so that the teeth 66 of the pawls 65 are disengaged from the teeth 46 of the sleeve 44.
  • the body 50 can be rotated relative to the sleeve 44.
  • the knob 70 can be rotated relative to the shank 20.
  • FIGS. 14 to 16 there is a locking mechanism operable for locking a torque-setting mechanism of a wrench according to a second embodiment of the present invention.
  • the second embodiment is like the first embodiment except several features.
  • a switch 80 that can be translated relative to the grip 40 is used instead of the switch 72 that can be pivoted relative to the grip 40.
  • the switch 80 includes a bore 82 for receiving an end of the lever 60.
  • the lever 60 can be translated, instead of pivoted, relative to the body 50.
  • the axial cavity 58 is a groove adapted for movably receiving an end of the lever 60.
  • the neck 52 is made with two slots 90 for movably receiving two bosses 92 formed on the lever 60.

Landscapes

  • Engineering & Computer Science (AREA)
  • Mechanical Engineering (AREA)
  • Details Of Spanners, Wrenches, And Screw Drivers And Accessories (AREA)
EP14185438.0A 2014-09-18 2014-09-18 Wrench with a lockable torque-setting mechanism Active EP2998071B1 (en)

Priority Applications (4)

Application Number Priority Date Filing Date Title
EP14185438.0A EP2998071B1 (en) 2014-09-18 2014-09-18 Wrench with a lockable torque-setting mechanism
DK14185438.0T DK2998071T3 (da) 2014-09-18 2014-09-18 Skruenøgle med låsbar momentindstillingsmekanisme
HUE14185438A HUE043321T2 (hu) 2014-09-18 2014-09-18 Csavarkulcs reteszelõ nyomatékbeállító szerkezettel
PL14185438T PL2998071T3 (pl) 2014-09-18 2014-09-18 Klucz z blokowalnym mechanizmem ustawiajÄ…cym moment obrotowy

Applications Claiming Priority (1)

Application Number Priority Date Filing Date Title
EP14185438.0A EP2998071B1 (en) 2014-09-18 2014-09-18 Wrench with a lockable torque-setting mechanism

Publications (2)

Publication Number Publication Date
EP2998071A1 EP2998071A1 (en) 2016-03-23
EP2998071B1 true EP2998071B1 (en) 2019-02-20

Family

ID=51584982

Family Applications (1)

Application Number Title Priority Date Filing Date
EP14185438.0A Active EP2998071B1 (en) 2014-09-18 2014-09-18 Wrench with a lockable torque-setting mechanism

Country Status (4)

Country Link
EP (1) EP2998071B1 (pl)
DK (1) DK2998071T3 (pl)
HU (1) HUE043321T2 (pl)
PL (1) PL2998071T3 (pl)

Families Citing this family (1)

* Cited by examiner, † Cited by third party
Publication number Priority date Publication date Assignee Title
ES2797249T3 (es) * 2017-08-08 2020-12-01 Matatakitoyo Tool Co Ltd Aparato de regulación de par

Family Cites Families (6)

* Cited by examiner, † Cited by third party
Publication number Priority date Publication date Assignee Title
DE4428972C1 (de) * 1994-08-16 1996-02-08 Hazet Werk Zerver Hermann Vorrichtung zur lösbaren Festlegung eines zu Verstellzwecken verdrehbaren Handgriffes
US5497682A (en) * 1995-07-10 1996-03-12 Hsu; Frank Torsion wrench
FR2841491B1 (fr) * 2002-06-28 2005-01-28 Facom Outil,notamment cle, dynamometrique comprenant des moyens cliquetants de reglage du couple
US7182006B1 (en) 2006-08-16 2007-02-27 Matatakitoyo Tool Co., Ltd. Torque-controlling wrench
US7836781B1 (en) * 2009-05-03 2010-11-23 Mikawa Co., Ltd. Torque-setting device
US8245606B2 (en) * 2009-11-16 2012-08-21 William Tools Co., Ltd. Adjustable torque wrench having lock device

Non-Patent Citations (1)

* Cited by examiner, † Cited by third party
Title
None *

Also Published As

Publication number Publication date
DK2998071T3 (da) 2019-05-13
HUE043321T2 (hu) 2019-08-28
EP2998071A1 (en) 2016-03-23
PL2998071T3 (pl) 2019-07-31

Similar Documents

Publication Publication Date Title
US7836781B1 (en) Torque-setting device
AU2008201152B2 (en) Wrench
US10611006B2 (en) Lockable torque wrench providing acoustic indication
US7765900B2 (en) Torque wrench whose torque values can be adjusted easily and quickly
US10093007B2 (en) Torque setting device for torque wrench
US20160332284A1 (en) Ratchet wrench providing combined functions of ordinary ratchet wrenches
US20180043512A1 (en) Ratchet wrench providing combined functions of ordinary ratchet wrenches
US9056391B1 (en) Wrench with a lockable torque-setting mechanism
US8960054B2 (en) Selective one-way wrench
US20160067848A1 (en) Socket wrench
EP2543904A2 (en) Clutch capable of force transmission in a selected one of two directions
US6732613B2 (en) Screwdriver with changeable operation modes
US20090044668A1 (en) Torque device for use in tools
EP2998071B1 (en) Wrench with a lockable torque-setting mechanism
US20120000328A1 (en) Torque-Setting Device
US9364940B2 (en) Multi-mode wrench
EP2248634B1 (en) Torque-setting device
US11311984B2 (en) Direction controller for a ratchet wrench
US11338412B2 (en) Direction controller for a ratchet screw driver
US9868195B2 (en) Hand tool assembly
US6902047B2 (en) Ratchet device comprising two sets of symmetrical pawls to enhance torsion thereof
US9707668B2 (en) Multi-mode wrench
EP2138276B1 (en) Torque wrench whose torque values can be adjusted easily and quickly
EP3056313B1 (en) Multi-mode wrench
EP2886252B1 (en) Multi-mode wrench

Legal Events

Date Code Title Description
PUAI Public reference made under article 153(3) epc to a published international application that has entered the european phase

Free format text: ORIGINAL CODE: 0009012

17P Request for examination filed

Effective date: 20150427

AK Designated contracting states

Kind code of ref document: A1

Designated state(s): AL AT BE BG CH CY CZ DE DK EE ES FI FR GB GR HR HU IE IS IT LI LT LU LV MC MK MT NL NO PL PT RO RS SE SI SK SM TR

AX Request for extension of the european patent

Extension state: BA ME

17Q First examination report despatched

Effective date: 20160825

STAA Information on the status of an ep patent application or granted ep patent

Free format text: STATUS: EXAMINATION IS IN PROGRESS

GRAP Despatch of communication of intention to grant a patent

Free format text: ORIGINAL CODE: EPIDOSNIGR1

STAA Information on the status of an ep patent application or granted ep patent

Free format text: STATUS: GRANT OF PATENT IS INTENDED

INTG Intention to grant announced

Effective date: 20180814

GRAS Grant fee paid

Free format text: ORIGINAL CODE: EPIDOSNIGR3

GRAA (expected) grant

Free format text: ORIGINAL CODE: 0009210

STAA Information on the status of an ep patent application or granted ep patent

Free format text: STATUS: THE PATENT HAS BEEN GRANTED

AK Designated contracting states

Kind code of ref document: B1

Designated state(s): AL AT BE BG CH CY CZ DE DK EE ES FI FR GB GR HR HU IE IS IT LI LT LU LV MC MK MT NL NO PL PT RO RS SE SI SK SM TR

REG Reference to a national code

Ref country code: GB

Ref legal event code: FG4D

REG Reference to a national code

Ref country code: CH

Ref legal event code: EP

REG Reference to a national code

Ref country code: DE

Ref legal event code: R096

Ref document number: 602014041168

Country of ref document: DE

REG Reference to a national code

Ref country code: AT

Ref legal event code: REF

Ref document number: 1097571

Country of ref document: AT

Kind code of ref document: T

Effective date: 20190315

REG Reference to a national code

Ref country code: IE

Ref legal event code: FG4D

REG Reference to a national code

Ref country code: NL

Ref legal event code: FP

REG Reference to a national code

Ref country code: DK

Ref legal event code: T3

Effective date: 20190506

Ref country code: RO

Ref legal event code: EPE

REG Reference to a national code

Ref country code: SE

Ref legal event code: TRGR

REG Reference to a national code

Ref country code: NO

Ref legal event code: T2

Effective date: 20190220

REG Reference to a national code

Ref country code: LT

Ref legal event code: MG4D

PG25 Lapsed in a contracting state [announced via postgrant information from national office to epo]

Ref country code: PT

Free format text: LAPSE BECAUSE OF FAILURE TO SUBMIT A TRANSLATION OF THE DESCRIPTION OR TO PAY THE FEE WITHIN THE PRESCRIBED TIME-LIMIT

Effective date: 20190620

Ref country code: LT

Free format text: LAPSE BECAUSE OF FAILURE TO SUBMIT A TRANSLATION OF THE DESCRIPTION OR TO PAY THE FEE WITHIN THE PRESCRIBED TIME-LIMIT

Effective date: 20190220

REG Reference to a national code

Ref country code: HU

Ref legal event code: AG4A

Ref document number: E043321

Country of ref document: HU

PG25 Lapsed in a contracting state [announced via postgrant information from national office to epo]

Ref country code: HR

Free format text: LAPSE BECAUSE OF FAILURE TO SUBMIT A TRANSLATION OF THE DESCRIPTION OR TO PAY THE FEE WITHIN THE PRESCRIBED TIME-LIMIT

Effective date: 20190220

Ref country code: BG

Free format text: LAPSE BECAUSE OF FAILURE TO SUBMIT A TRANSLATION OF THE DESCRIPTION OR TO PAY THE FEE WITHIN THE PRESCRIBED TIME-LIMIT

Effective date: 20190520

Ref country code: GR

Free format text: LAPSE BECAUSE OF FAILURE TO SUBMIT A TRANSLATION OF THE DESCRIPTION OR TO PAY THE FEE WITHIN THE PRESCRIBED TIME-LIMIT

Effective date: 20190521

Ref country code: IS

Free format text: LAPSE BECAUSE OF FAILURE TO SUBMIT A TRANSLATION OF THE DESCRIPTION OR TO PAY THE FEE WITHIN THE PRESCRIBED TIME-LIMIT

Effective date: 20190620

Ref country code: LV

Free format text: LAPSE BECAUSE OF FAILURE TO SUBMIT A TRANSLATION OF THE DESCRIPTION OR TO PAY THE FEE WITHIN THE PRESCRIBED TIME-LIMIT

Effective date: 20190220

Ref country code: RS

Free format text: LAPSE BECAUSE OF FAILURE TO SUBMIT A TRANSLATION OF THE DESCRIPTION OR TO PAY THE FEE WITHIN THE PRESCRIBED TIME-LIMIT

Effective date: 20190220

REG Reference to a national code

Ref country code: AT

Ref legal event code: MK05

Ref document number: 1097571

Country of ref document: AT

Kind code of ref document: T

Effective date: 20190220

PG25 Lapsed in a contracting state [announced via postgrant information from national office to epo]

Ref country code: SK

Free format text: LAPSE BECAUSE OF FAILURE TO SUBMIT A TRANSLATION OF THE DESCRIPTION OR TO PAY THE FEE WITHIN THE PRESCRIBED TIME-LIMIT

Effective date: 20190220

Ref country code: EE

Free format text: LAPSE BECAUSE OF FAILURE TO SUBMIT A TRANSLATION OF THE DESCRIPTION OR TO PAY THE FEE WITHIN THE PRESCRIBED TIME-LIMIT

Effective date: 20190220

Ref country code: ES

Free format text: LAPSE BECAUSE OF FAILURE TO SUBMIT A TRANSLATION OF THE DESCRIPTION OR TO PAY THE FEE WITHIN THE PRESCRIBED TIME-LIMIT

Effective date: 20190220

Ref country code: AL

Free format text: LAPSE BECAUSE OF FAILURE TO SUBMIT A TRANSLATION OF THE DESCRIPTION OR TO PAY THE FEE WITHIN THE PRESCRIBED TIME-LIMIT

Effective date: 20190220

REG Reference to a national code

Ref country code: DE

Ref legal event code: R097

Ref document number: 602014041168

Country of ref document: DE

PG25 Lapsed in a contracting state [announced via postgrant information from national office to epo]

Ref country code: SM

Free format text: LAPSE BECAUSE OF FAILURE TO SUBMIT A TRANSLATION OF THE DESCRIPTION OR TO PAY THE FEE WITHIN THE PRESCRIBED TIME-LIMIT

Effective date: 20190220

PLBE No opposition filed within time limit

Free format text: ORIGINAL CODE: 0009261

STAA Information on the status of an ep patent application or granted ep patent

Free format text: STATUS: NO OPPOSITION FILED WITHIN TIME LIMIT

PG25 Lapsed in a contracting state [announced via postgrant information from national office to epo]

Ref country code: AT

Free format text: LAPSE BECAUSE OF FAILURE TO SUBMIT A TRANSLATION OF THE DESCRIPTION OR TO PAY THE FEE WITHIN THE PRESCRIBED TIME-LIMIT

Effective date: 20190220

26N No opposition filed

Effective date: 20191121

PG25 Lapsed in a contracting state [announced via postgrant information from national office to epo]

Ref country code: SI

Free format text: LAPSE BECAUSE OF FAILURE TO SUBMIT A TRANSLATION OF THE DESCRIPTION OR TO PAY THE FEE WITHIN THE PRESCRIBED TIME-LIMIT

Effective date: 20190220

PG25 Lapsed in a contracting state [announced via postgrant information from national office to epo]

Ref country code: MC

Free format text: LAPSE BECAUSE OF FAILURE TO SUBMIT A TRANSLATION OF THE DESCRIPTION OR TO PAY THE FEE WITHIN THE PRESCRIBED TIME-LIMIT

Effective date: 20190220

REG Reference to a national code

Ref country code: CH

Ref legal event code: PL

PG25 Lapsed in a contracting state [announced via postgrant information from national office to epo]

Ref country code: LU

Free format text: LAPSE BECAUSE OF NON-PAYMENT OF DUE FEES

Effective date: 20190918

Ref country code: LI

Free format text: LAPSE BECAUSE OF NON-PAYMENT OF DUE FEES

Effective date: 20190930

Ref country code: CH

Free format text: LAPSE BECAUSE OF NON-PAYMENT OF DUE FEES

Effective date: 20190930

Ref country code: IE

Free format text: LAPSE BECAUSE OF NON-PAYMENT OF DUE FEES

Effective date: 20190918

REG Reference to a national code

Ref country code: BE

Ref legal event code: MM

Effective date: 20190930

PG25 Lapsed in a contracting state [announced via postgrant information from national office to epo]

Ref country code: BE

Free format text: LAPSE BECAUSE OF NON-PAYMENT OF DUE FEES

Effective date: 20190930

PG25 Lapsed in a contracting state [announced via postgrant information from national office to epo]

Ref country code: CY

Free format text: LAPSE BECAUSE OF FAILURE TO SUBMIT A TRANSLATION OF THE DESCRIPTION OR TO PAY THE FEE WITHIN THE PRESCRIBED TIME-LIMIT

Effective date: 20190220

PG25 Lapsed in a contracting state [announced via postgrant information from national office to epo]

Ref country code: MT

Free format text: LAPSE BECAUSE OF FAILURE TO SUBMIT A TRANSLATION OF THE DESCRIPTION OR TO PAY THE FEE WITHIN THE PRESCRIBED TIME-LIMIT

Effective date: 20190220

PG25 Lapsed in a contracting state [announced via postgrant information from national office to epo]

Ref country code: MK

Free format text: LAPSE BECAUSE OF FAILURE TO SUBMIT A TRANSLATION OF THE DESCRIPTION OR TO PAY THE FEE WITHIN THE PRESCRIBED TIME-LIMIT

Effective date: 20190220

PGFP Annual fee paid to national office [announced via postgrant information from national office to epo]

Ref country code: RO

Payment date: 20220912

Year of fee payment: 9

Ref country code: NO

Payment date: 20220922

Year of fee payment: 9

Ref country code: FI

Payment date: 20220920

Year of fee payment: 9

Ref country code: DK

Payment date: 20220921

Year of fee payment: 9

PGFP Annual fee paid to national office [announced via postgrant information from national office to epo]

Ref country code: PL

Payment date: 20220727

Year of fee payment: 9

Ref country code: HU

Payment date: 20220905

Year of fee payment: 9

REG Reference to a national code

Ref country code: DK

Ref legal event code: EBP

Effective date: 20230930

PG25 Lapsed in a contracting state [announced via postgrant information from national office to epo]

Ref country code: RO

Free format text: LAPSE BECAUSE OF NON-PAYMENT OF DUE FEES

Effective date: 20230918

Ref country code: FI

Free format text: LAPSE BECAUSE OF NON-PAYMENT OF DUE FEES

Effective date: 20230918

PG25 Lapsed in a contracting state [announced via postgrant information from national office to epo]

Ref country code: NO

Free format text: LAPSE BECAUSE OF NON-PAYMENT OF DUE FEES

Effective date: 20230930

PG25 Lapsed in a contracting state [announced via postgrant information from national office to epo]

Ref country code: HU

Free format text: LAPSE BECAUSE OF NON-PAYMENT OF DUE FEES

Effective date: 20230919

PG25 Lapsed in a contracting state [announced via postgrant information from national office to epo]

Ref country code: DK

Free format text: LAPSE BECAUSE OF NON-PAYMENT OF DUE FEES

Effective date: 20230930

PG25 Lapsed in a contracting state [announced via postgrant information from national office to epo]

Ref country code: DK

Free format text: LAPSE BECAUSE OF NON-PAYMENT OF DUE FEES

Effective date: 20230930

PG25 Lapsed in a contracting state [announced via postgrant information from national office to epo]

Ref country code: PL

Free format text: LAPSE BECAUSE OF NON-PAYMENT OF DUE FEES

Effective date: 20230918

PGFP Annual fee paid to national office [announced via postgrant information from national office to epo]

Ref country code: DE

Payment date: 20250924

Year of fee payment: 12

PGFP Annual fee paid to national office [announced via postgrant information from national office to epo]

Ref country code: TR

Payment date: 20250801

Year of fee payment: 12

Ref country code: NL

Payment date: 20250911

Year of fee payment: 12

Ref country code: IT

Payment date: 20250922

Year of fee payment: 12

PGFP Annual fee paid to national office [announced via postgrant information from national office to epo]

Ref country code: GB

Payment date: 20250922

Year of fee payment: 12

PGFP Annual fee paid to national office [announced via postgrant information from national office to epo]

Ref country code: FR

Payment date: 20250912

Year of fee payment: 12

PGFP Annual fee paid to national office [announced via postgrant information from national office to epo]

Ref country code: SE

Payment date: 20250912

Year of fee payment: 12

PGFP Annual fee paid to national office [announced via postgrant information from national office to epo]

Ref country code: CZ

Payment date: 20250902

Year of fee payment: 12