EP2806448B1 - Schutzschalter für verdrahtung - Google Patents

Schutzschalter für verdrahtung Download PDF

Info

Publication number
EP2806448B1
EP2806448B1 EP12865704.6A EP12865704A EP2806448B1 EP 2806448 B1 EP2806448 B1 EP 2806448B1 EP 12865704 A EP12865704 A EP 12865704A EP 2806448 B1 EP2806448 B1 EP 2806448B1
Authority
EP
European Patent Office
Prior art keywords
instant
unit
circuit breaker
trip
contact
Prior art date
Legal status (The legal status is an assumption and is not a legal conclusion. Google has not performed a legal analysis and makes no representation as to the accuracy of the status listed.)
Active
Application number
EP12865704.6A
Other languages
English (en)
French (fr)
Other versions
EP2806448A4 (de
EP2806448A1 (de
Inventor
Byung Soo An
Current Assignee (The listed assignees may be inaccurate. Google has not performed a legal analysis and makes no representation or warranty as to the accuracy of the list.)
HD Hyundai Heavy Industries Co Ltd
Original Assignee
Hyundai Heavy Industries Co Ltd
Priority date (The priority date is an assumption and is not a legal conclusion. Google has not performed a legal analysis and makes no representation as to the accuracy of the date listed.)
Filing date
Publication date
Application filed by Hyundai Heavy Industries Co Ltd filed Critical Hyundai Heavy Industries Co Ltd
Publication of EP2806448A1 publication Critical patent/EP2806448A1/de
Publication of EP2806448A4 publication Critical patent/EP2806448A4/de
Application granted granted Critical
Publication of EP2806448B1 publication Critical patent/EP2806448B1/de
Active legal-status Critical Current
Anticipated expiration legal-status Critical

Links

Images

Classifications

    • HELECTRICITY
    • H01ELECTRIC ELEMENTS
    • H01HELECTRIC SWITCHES; RELAYS; SELECTORS; EMERGENCY PROTECTIVE DEVICES
    • H01H71/00Details of the protective switches or relays covered by groups H01H73/00 - H01H83/00
    • H01H71/74Means for adjusting the conditions under which the device will function to provide protection
    • H01H71/7463Adjusting only the electromagnetic mechanism
    • HELECTRICITY
    • H01ELECTRIC ELEMENTS
    • H01HELECTRIC SWITCHES; RELAYS; SELECTORS; EMERGENCY PROTECTIVE DEVICES
    • H01H73/00Protective overload circuit-breaking switches in which excess current opens the contacts by automatic release of mechanical energy stored by previous operation of a hand reset mechanism
    • H01H73/36Protective overload circuit-breaking switches in which excess current opens the contacts by automatic release of mechanical energy stored by previous operation of a hand reset mechanism having electromagnetic release and no other automatic release
    • HELECTRICITY
    • H01ELECTRIC ELEMENTS
    • H01HELECTRIC SWITCHES; RELAYS; SELECTORS; EMERGENCY PROTECTIVE DEVICES
    • H01H71/00Details of the protective switches or relays covered by groups H01H73/00 - H01H83/00
    • H01H71/10Operating or release mechanisms
    • H01H71/12Automatic release mechanisms with or without manual release

Definitions

  • This application relates to a circuit breaker and more particularly to a circuit breaker that may connect or disconnect electrical path by a manual operation or an electrical operation and may block a current when an abnormal current such as overload current and short circuit current is generated thereby the circuit breaker may change instantaneous characteristic through simple operation, may enlarge temporary adjustment range and increase product reliability.
  • a circuit breaker according to the preamble of claim 1 is known from WO 03/054898 A1 .
  • Korean Patent Publication No. 10-2009-0099891 discloses a molded case circuit breaker with an instantaneous trip device that is provided to rapidly and reliably perform an instantaneous trip by installing a main circuit unit on a lower compartment and a mechanical instantaneous trip device and a switch on an upper compartment.
  • the molded case circuit breaker with the instantaneous trip device comprises a main circuit unit be positioned on a lower compartment of a molded case circuit breaker and including a fixed contact and a movable contact.
  • a switch is positioned on an upper compartment of the molded case circuit breaker and has an open driving position to open a circuit and a closed driving position to form a closed circuit.
  • a mechanical instantaneous trip triggers the switch to operate at the open driving position by an electromagnetic absorption force due to an abnormal current on a circuit.
  • An insulation partition is installed between the upper compartment and the lower compartment.
  • Korean Utility Model Registration No. 20-1999-0031458 discloses a technology that implements a structure of a trip device operating a switchgear when a fault current is detected to cause the switchgear to be properly operated although a trip current is detected in an any phase of a RST phase.
  • the technology includes a trip case where a detection unit detecting an overload current and a short circuit current is embedded in each phase, a trip bar being installed inner side of upper part of the trip case to be rotatable in a certain angle and being interlocked by an operation of the detection unit of the overload current and the short circuit current to resist a spring restitution force and turning toward the power side to be integrally connected across each phase, a trip cover being equipped with the trip case and forming a shutter rotation supporting unit on an outside of the trip cover, a shutter being rotatably installed on the shutter rotation supporting and including a nail hitting unit hitting a nail in a trip operation, a handle contact being in contact with a handle for opening and closing on a reset and a locking unit being locked on a upper side of a shutter control unit of the trip bar on a reset and being locked in the shutter control unit of trip bar on reset and turn on and deviating the shutter control unit on a manual trip or an automatic trip and an elastic member being contracted until the locking unit of the shutter is released from the trip bar
  • Korean Patent Publication No. 10-2008-0008920 relates to a trip device of an earth leakage circuit breaker and more particularly to secure safety of the earth leakage circuit breaker by having a button protruded in trip of the earth leakage circuit breaker to allow a user to recognize cut-off of power.
  • the technology comprises a trip device of the earth leakage circuit breaker being equipped in a case and includes two bimetals of which one ends are connected to a power connection terminal and a driving trip bar with upper and lower insertion grooves to insert the other ends of the bimetals.
  • a zero-phase current transformer is installed between the two bimetals.
  • An operating trip bar is placed at the other side of the driving trip bar, mounted to an axis of a case, and rotated around the axis by vertical movement of the driving trip bar.
  • a leakage current trip unit is mounted on an upper part of the overcurrent trip unit and has a printed circuit board with a trip circuit which pulls an upper end of the operating trip bar to rotate the operating trip bar around the axis at a predetermined angle.
  • a contact bus is mounted on the other side of the operating trip bar.
  • One end of a pressing plate is mounted on a stopping protrusion of the operating trip bar, and the other end thereof is mounted on a pushing plate of the contact bus to press the operating trip bar and the contact bus. The pressing plate releases pressing by being separated from the stopping protrusion during rotation of the operating trip bar.
  • a handle is connected to the pressing plate to press the pressing plate.
  • the circuit breaker automatically blocks a circuit when an abnormal current (e.g., overload current and short circuit current) occurs in an electric circuit to protect the circuit and includes a terminal unit connecting a power side and a load side, a main circuit formed with a fixable contact and a movable contact in the circuit breaker, a switch unit connecting or disconnecting the main circuit and a trip unit automatically actuating the switch unit when the abnormal current occurs to block the main circuit.
  • the trip unit detects the abnormal current in the circuit breaker independently of a manual operation when the abnormal current occurs thereby the trip unit automatically shorts a circuit.
  • a trip detects current amount therein to block the main circuit within current amount exceeding predetermined percent of a rated current and a proper time when an instantaneous current flows, that is, when a current exceeds the predetermined percent of a rated current.
  • Such function is referred to as a instantaneous trip function.
  • a general trip device has a disadvantage of not variously and constantly adjusting the predetermined percent of a rated current and such problem may cause trip function reliability.
  • This application proposes to provide a circuit breaker capable of adjusting an instantaneous current as a predetermined percent of a rated current through a simple operation of an instant dial and the instantaneous current being a main circuit blocking current when an abnormal current occurs in a circuit breaker.
  • This application proposes to provide a circuit breaker capable of adjusting a moment arm length between an instant spring and an armature through a plurality of local depressions, each corresponding to instantaneous value of an instant dial and adjusting an instantaneous current where a trip occurs as a wide percent range of a rated current.
  • This application proposes to provide a circuit breaker capable of detecting an abnormal current when an abnormal current occurs in a circuit breaker to automatically actuate a switch and to block a main circuit for main circuit protection.
  • a circuit breaker includes a fixable contact unit, a movable contact unit opposing the fixable contact unit, a switch unit actuating the movable contact unit and a trip unit blocking a main circuit through the switch unit when an abnormal current occurs,
  • the trip unit includes an instant dial and an instant spring, the instant dial including a magnet, an armature opposing the magnet, a temporary adjustment unit, an instant bar actuating the temporary adjustment unit and a cam being in contact with the instant bar and the instant spring connecting one side of the temporary adjustment unit and one side of the armature,
  • the cam may include a plurality of local depressions, each corresponding to an instantaneous value and adjusts a moment arm length between the instant spring and the armature through the plurality of the local depressions.
  • the instant bar may further include a shaft for a rotation with an arm being in contact with the cam and the instant bar.
  • the instant bar may determine a contact surface of the cam being in contact with the arm through the instant dial to adjust a rotation angle of the temporary adjustment unit.
  • the instant spring may be expanded or contracted according to the rotation angle of the temporary adjustment unit.
  • the moment arm length may be defined as a vertical length between the instant spring and the armature.
  • the magnet may be electrically connected with the main circuit to generate an electromagnetic force when the abnormal current occurs.
  • the armature may be rotated by the electromagnetic force to be electrically connected with the magnet.
  • the circuit breaker and related technologies may adjust an instantaneous current as a predetermined percent of a rated current through a simple operation of an instant dial and the instantaneous current being a main circuit blocking current when an abnormal current occurs in a circuit breaker.
  • the circuit breaker and related technologies may adjust a moment arm length between an instant spring and an armature through a plurality of local depressions, each corresponding to instantaneous value of an instant dial and adjusting an instantaneous current where a trip occurs as a wide percent range of a rated current.
  • the circuit breaker and related technologies may detect an abnormal current when an abnormal current occurs in a circuit breaker to automatically actuate a switch and to block a main circuit for main circuit protection.
  • first and second can be used to refer to various components, but the components may not be limited to the above terms. The terms will be used to discriminate one component from the other component. For instance, the first component may be referred to the second component and vice versa without departing from the right of the disclosure.
  • a component When a component is referred to as being “connected to” or “linked to” another component, the component may be directly connected to or linked to another component or an intervening component may be present therebetween. In contrast, if a component is referred to as being “directly connected to” or “directly linked to” another component, an intervening component may not be present therebetween.
  • the terms used in the specification are for the purpose of explaining specific embodiments and have no intention to limit the disclosure. Unless the context indicates otherwise, the singular expression may include the plural expression.
  • the term "include” or “has” will be used to refer to the feature, the number, the step, the operation, the component, the part or the combination thereof without excluding the presence or addition of one or more features, the numbers, the steps, the operations, the components, the parts or the combinations thereof.
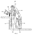
  • FIG. 1 is a cross sectional diagram illustrating a circuit breaker according to an example embodiment of the described technology.
  • a circuit breaker 100 includes a fixable contact unit 110, a movable contact unit 120, a switch unit 130 and a trip unit 140.
  • the fixable contact unit 110 is fixedly installed inner of the circuit breaker 100 to form a fixed contact.
  • the fixable contact unit 110 may be formed by bending the fixed contact into U shape.
  • the U shape bending may wind a current flow direction of the fixable contact unit 110 and the movable contact unit 120 when an abnormal current (i.e., overload current, instantaneous current and short circuit current) occurs to increase an electric repulsion between the fixable contact unit 110 and the movable contact unit 120.
  • an abnormal current i.e., overload current, instantaneous current and short circuit current
  • the movable contact unit 120 may oppose the fixable contact unit 110 and may be rotated through the switch unit 130 to be connected or disconnected with the fixable contact unit 110. In one embodiment, the movable contact unit 120 may be moved through a manual operation of the switch unit 130 or may be automatically moved through the trip unit 140.
  • the switch unit 130 may be connected with the movable contact unit 120 and may rotate the movable contact unit 120 to be connected or disconnected with the fixable contact unit 110.
  • the switch unit 130 may be manually actuated to connect or block a main circuit and may be automatically actuated through the trip unit 140 to connect or block the main circuit.
  • the trip unit 140 may detect the abnormal current when the abnormal current occurs and may automatically actuate the switch unit 130 to block the main circuit.
  • the trip unit 140 includes a magnet 141, an armature 142, a temporary adjustment unit 143, an instant bar 144, an instant dial 145 and an instant spring 146.
  • the trip unit 140 may further include a hitter and a bimetal.
  • the armature 142 may be actuated when the abnormal current more than or equal to about 10 times of the rated current in the main circuit flows to actuate the trip unit 140.
  • the bimetal may be actuated when the abnormal current more than or equal to about 1.3 through 8 times of the rated current in the main circuit flows to actuate the trip unit 140.
  • FIG. 2 is a cross sectional diagram illustrating the trip unit 140 of the circuit breaker 100 in FIG. 1 not adjusted through the instant dial 145
  • FIG. 3 is a cross sectional diagram illustrating the trip unit 140 of the circuit breaker 100 in FIG. 1 adjusted through the instant dial 145.
  • the trip unit 140 includes the instant dial 145 including the magnet 141, the armature 142 opposing the magnet 141, the temporary adjustment unit 143, the instant bar 144 actuating the temporary adjustment unit 143 and a cam 145a being in contact with the instant bar 144 and the instant spring 146 connecting one side of the armature 142 with one side of the temporary adjustment unit 143.
  • the trip unit 140 may further include a shutter 147 actuating the switch unit 130 and a cross bar 148 limiting a movement of the shutter 147.
  • the magnet 141 may be electrically connected to the main circuit and may generate an electromagnetic force when the abnormal current occurs in the main circuit. In one embodiment, the magnet 141 may generate the electromagnetic force sufficient to pull the armature 142 when the abnormal current more than or equal to about 10 times of the rated current in the main circuit flows. An electromagnetic force strength capable of pulling the armature 142 may be adjusted through the instant dial 145.
  • the armature 142 may be rotated by the electromagnetic force being generated in the magnet 141 to be electrically connected with the magnet 141 and may rotate the cross bar 148. In one embodiment, the armature 142 rotated by the electromagnetic force may return to a position before rotation by an elasticity of the instant spring 146 after the abnormal current is removed.
  • the temporary adjustment unit 143 opposes the armature 142 and one side of the temporary adjustment unit 143 is connected with one side of the armature 142 by the instant spring 146. In one embodiment, another side of the temporary adjustment unit 143 may be in contact with the instant bar 144 and the temporary adjustment unit 143 may be rotated by a rotation of the instant bar 144.
  • the instant bar 144 may acutate the temporary adjustment unit 143 and may further include an arm 144a contacting the cam 145a and a shaft for a rotation of the instant bar 144.
  • the instant bar 144a may determine a contact surface of the cam 145a being in contact with the arm 144a through the instant dial 145 to adjust a rotation angle of the temporary adjustment unit 143.
  • the instant bar 144 may be rotated to clockwise direction through the instant dial 145 and may rotate the temporary adjustment unit 143 to counterclockwise direction.
  • the instant dial 145 includes the cam 145a being in contact with the arm 144a of the instant bar 144 and the cam 145a includes a plurality of local depressions145b, each corresponding to an instantaneous value.
  • FIG. 4 is an enlarged diagram illustrating an instant dial in FIG. 2 through FIG. 3 .
  • the instant dial 145 includes the cam 145a where a radius of the cam is gradually increased along a circumference thereof and the circumference forms the plurality of the local depressions 145b, each corresponding to the instantaneous value.
  • the cam 145a may contact the instant bar 144 to adjust a rotation of the instant bar 144 and the temporary adjustment unit 143.
  • the instant spring 146 is expanded or contracted by the instant bar 144 and the temporary adjustment unit 143 being rotated through the instant dial 145.
  • a vertical length between the instant spring 146 and the armature 142 is defined as a moment arm length and the moment arm length is adjusted through a contact between the instant bar 144 and the plurality of the local depressions 145b of the instant dial 145.
  • the instant dial 145 may determine a current level actuating the trip unit 140 through adjustment of the moment arm length when the abnormal current occurs in the main circuit.
  • the trip unit 140 rotates the armature 142 by the electromagnetic force being generated in the magnet 141.
  • the armature 142 is rotated to counterclockwise direction by the electromagnetic force generated in the magnet 141 and rotates the cross bar 148.
  • the cross bar 148 is rotated to release bondage of the shutter 147 and rotates the shutter 147.
  • the shutter 147 actuates the switch unit 130 through the rotation of the shutter 147.

Landscapes

  • Physics & Mathematics (AREA)
  • Electromagnetism (AREA)
  • Breakers (AREA)

Claims (8)

  1. Leistungstrennschalter (100), Folgendes umfassend:
    eine feststellbare Kontakteinheit (110), eine bewegliche Kontakteinheit (120) gegenüber der feststellbaren Kontakteinheit, eine Schaltereinheit (130), welche die bewegliche Kontakteinheit betätigt und eine Auslöseeinheit (140), die einen Hauptstromkreis durch die Schaltereinheit blockiert, wenn ein abnormaler Strom anliegt,
    wobei die Auslöseeinheit einen direktwirkenden Drehregler (145) und eine direktwirkende Feder (146) umfasst, wobei der direktwirkende Drehregler einen Magneten (141) umfasst, eine Armatur (142) gegenüber dem Magneten, eine temporäre Einstelleinheit (143), eine direktwirkende Leiste (144), welche die temporäre Einstelleinheit betätigt und einen Nocken (145a), der in Kontakt mit der direktwirkenden Leiste steht und die direktwirkende Feder eine Seite der temporären Einstelleinheit mit einer Seite der Armatur verbindet, dadurch gekennzeichnet, dass
    der Nocken eine Vielzahl von lokalen Vertiefungen (145b) umfasst, die jeweils einem momentanen Wert entsprechen und er durch die Vielzahl von lokalen Vertiefungen eine Hebelarmlänge zwischen der direktwirkenden Feder und der Armatur einstellt.
  2. Leistungstrennschalter nach Anspruch 1, wobei ein Radius des Nockens (145a) graduell entlang eines Umfangs davon zunimmt, und der Umfang die Vielzahl von lokalen Vertiefungen (145b) bildet.
  3. Leistungstrennschalter nach Anspruch 1, wobei die direktwirkende Leiste (145) darüber hinaus eine Welle für eine Rotation mit einem Arm umfasst, der in Kontakt mit dem Nocken und der direktwirkenden Leiste steht.
  4. Leistungstrennschalter nach Anspruch 3, wobei die direktwirkende Leiste (144) eine Kontaktfläche des Nockens bestimmt, die durch den direktwirkenden Drehregler in Kontakt mit dem Arm steht, um einen Rotationswinkel der temporären Einstelleinheit einzustellen.
  5. Leistungstrennschalter nach Anspruch 4, wobei die direktwirkende Feder (146) je nach Rotationswinkel der temporären Einstelleinheit gedehnt oder komprimiert ist.
  6. Leistungstrennschalter nach Anspruch 5, wobei die Hebelarmlänge als eine vertikale Länge zwischen der direktwirkenden Feder und der Armatur definiert wird.
  7. Leistungstrennschalter nach Anspruch 1, wobei der Magnet (141) elektrisch mit dem Hauptstromkreis verbunden ist, um eine elektromagnetische Kraft zu erzeugen, wenn der abnormale Strom anliegt.
  8. Leistungstrennschalter nach Anspruch 6, wobei die Armatur (142) durch die elektromagnetische Kraft verdreht wird, um elektrisch mit dem Magneten verbunden zu werden.
EP12865704.6A 2012-01-17 2012-12-21 Schutzschalter für verdrahtung Active EP2806448B1 (de)

Applications Claiming Priority (2)

Application Number Priority Date Filing Date Title
KR1020120005249A KR101276370B1 (ko) 2012-01-17 2012-01-17 배선용 차단기
PCT/KR2012/011307 WO2013108998A1 (ko) 2012-01-17 2012-12-21 배선용 차단기

Publications (3)

Publication Number Publication Date
EP2806448A1 EP2806448A1 (de) 2014-11-26
EP2806448A4 EP2806448A4 (de) 2015-10-14
EP2806448B1 true EP2806448B1 (de) 2016-08-31

Family

ID=48799393

Family Applications (1)

Application Number Title Priority Date Filing Date
EP12865704.6A Active EP2806448B1 (de) 2012-01-17 2012-12-21 Schutzschalter für verdrahtung

Country Status (4)

Country Link
EP (1) EP2806448B1 (de)
KR (1) KR101276370B1 (de)
CN (1) CN104040674B (de)
WO (1) WO2013108998A1 (de)

Families Citing this family (5)

* Cited by examiner, † Cited by third party
Publication number Priority date Publication date Assignee Title
CN106158531B (zh) * 2015-05-12 2018-06-26 现代电力与能源系统株式会社 断路器的闭合弹簧加载装置
KR101829317B1 (ko) * 2015-10-30 2018-02-20 현대일렉트릭앤에너지시스템(주) 배선용 차단기의 트립장치
KR102067393B1 (ko) * 2015-12-18 2020-01-20 현대일렉트릭앤에너지시스템(주) 배선용 차단기의 트립장치
CN112133616B (zh) * 2020-10-27 2023-10-20 贵州众联新能源科技有限公司 一种能够非接触分合闸的塑壳式断路器
CN112509882B (zh) * 2020-11-23 2023-10-03 湖北炜耀电气有限公司 一种防电源线脱落的断路器

Family Cites Families (11)

* Cited by examiner, † Cited by third party
Publication number Priority date Publication date Assignee Title
DE448516C (de) * 1926-09-01 1927-08-16 Voigt & Haeffner Akt Ges UEberstromschutzapparat
US4691182A (en) * 1986-04-30 1987-09-01 Westinghouse Electric Corp. Circuit breaker with adjustable magnetic trip unit
JP3357963B2 (ja) * 1993-09-16 2002-12-16 株式会社日立製作所 回路遮断器
KR200224242Y1 (ko) 1997-12-31 2001-07-19 이종수 배선용차단기의트립장치
ITMI20012717A1 (it) * 2001-12-20 2003-06-20 Abb Service Srl Rele' elettromagnetico per un interruttore di bassa tensione
KR100479437B1 (ko) * 2003-02-18 2005-03-31 엘지산전 주식회사 배선용 차단기
US6788174B1 (en) * 2004-02-03 2004-09-07 Eaton Corporation Adjustable magnetic trip unit and a circuit breaker incorporating the same
KR100652236B1 (ko) * 2005-03-18 2006-12-01 엘에스산전 주식회사 배선용차단기의 순시트립장치
KR100823528B1 (ko) * 2006-03-14 2008-04-24 상도전기통신 주식회사 과부하 및 단락보호 겸용 소형 누전 차단기
KR20080008920A (ko) 2006-07-20 2008-01-24 김경일 무궁화 식, 약재 분말 및 이의 제조방법
KR100949909B1 (ko) 2008-03-19 2010-03-25 이현광 돼지용 사료 첨가제 및 사육방법

Also Published As

Publication number Publication date
KR101276370B1 (ko) 2013-06-18
EP2806448A4 (de) 2015-10-14
CN104040674A (zh) 2014-09-10
CN104040674B (zh) 2016-04-20
EP2806448A1 (de) 2014-11-26
WO2013108998A1 (ko) 2013-07-25

Similar Documents

Publication Publication Date Title
EP2806448B1 (de) Schutzschalter für verdrahtung
EP1939912B1 (de) Aktivierung einer Schaltvorrichtung
CN105609386B (zh) 控制与保护开关电器
EP2315228A1 (de) Formgehäuse-Schutzschalter mit Sofortauslösungsmechanismus
KR20150030620A (ko) 수동 리셋을 갖는 원격 동작 회로 차단기
EP2455961B1 (de) Elektrische Schaltvorrichtung
CN111326366A (zh) 带双重脱扣器的故障电弧保护断路器及其脱扣方法
KR100996806B1 (ko) 모터 보호용 차단기의 개폐기구
CN102820179B (zh) 用于电开关装置的触发器
EP2136383B1 (de) Steuervorrichtung für eine automatische Rückstellungsvorrichtung
CN107818891B (zh) 具有在触点熔焊时可靠显示开关位置的装置的开关设备
KR101728759B1 (ko) 과전류 보호버튼이 구비된 소형 배선용 차단기
EP2509092B1 (de) Elektrische Schaltvorrichtung
CN102568948B (zh) 一种改进的断路器
CN101552161B (zh) 全保护开关
EP2669923B1 (de) Schutzschalter und Verfahren zur Auslösung eines Schutzschalters
KR101751947B1 (ko) 회로 차단기의 트립 구동 유닛
CN203760401U (zh) 一种改进的断路器
EP3255648B1 (de) Kompaktes steuermodul zum automatischen rücksetzen von vorrichtungen
KR200224242Y1 (ko) 배선용차단기의트립장치
EP3107112B1 (de) Kontaktsystem eines schutzschalters, sowie schutzschalter
EP4428893A1 (de) Betätigungsmechanismus für null-volt-spule-feder in einem schutzschalter
US12308193B2 (en) Resetting RCD mechanism by the handle
EP1805776B1 (de) Mechanismus für einen schutzschalter
CA2938492C (en) Interruption apparatus employing actuator having movable engagement element

Legal Events

Date Code Title Description
PUAI Public reference made under article 153(3) epc to a published international application that has entered the european phase

Free format text: ORIGINAL CODE: 0009012

17P Request for examination filed

Effective date: 20140630

AK Designated contracting states

Kind code of ref document: A1

Designated state(s): AL AT BE BG CH CY CZ DE DK EE ES FI FR GB GR HR HU IE IS IT LI LT LU LV MC MK MT NL NO PL PT RO RS SE SI SK SM TR

DAX Request for extension of the european patent (deleted)
RA4 Supplementary search report drawn up and despatched (corrected)

Effective date: 20150914

RIC1 Information provided on ipc code assigned before grant

Ipc: H01H 73/36 20060101AFI20150908BHEP

Ipc: H01H 71/12 20060101ALI20150908BHEP

GRAP Despatch of communication of intention to grant a patent

Free format text: ORIGINAL CODE: EPIDOSNIGR1

INTG Intention to grant announced

Effective date: 20160413

GRAS Grant fee paid

Free format text: ORIGINAL CODE: EPIDOSNIGR3

GRAA (expected) grant

Free format text: ORIGINAL CODE: 0009210

AK Designated contracting states

Kind code of ref document: B1

Designated state(s): AL AT BE BG CH CY CZ DE DK EE ES FI FR GB GR HR HU IE IS IT LI LT LU LV MC MK MT NL NO PL PT RO RS SE SI SK SM TR

REG Reference to a national code

Ref country code: CH

Ref legal event code: EP

Ref country code: GB

Ref legal event code: FG4D

REG Reference to a national code

Ref country code: IE

Ref legal event code: FG4D

REG Reference to a national code

Ref country code: DE

Ref legal event code: R096

Ref document number: 602012022512

Country of ref document: DE

REG Reference to a national code

Ref country code: AT

Ref legal event code: REF

Ref document number: 825626

Country of ref document: AT

Kind code of ref document: T

Effective date: 20161015

REG Reference to a national code

Ref country code: FR

Ref legal event code: PLFP

Year of fee payment: 5

REG Reference to a national code

Ref country code: LT

Ref legal event code: MG4D

REG Reference to a national code

Ref country code: NL

Ref legal event code: MP

Effective date: 20160831

REG Reference to a national code

Ref country code: AT

Ref legal event code: MK05

Ref document number: 825626

Country of ref document: AT

Kind code of ref document: T

Effective date: 20160831

PG25 Lapsed in a contracting state [announced via postgrant information from national office to epo]

Ref country code: HR

Free format text: LAPSE BECAUSE OF FAILURE TO SUBMIT A TRANSLATION OF THE DESCRIPTION OR TO PAY THE FEE WITHIN THE PRESCRIBED TIME-LIMIT

Effective date: 20160831

Ref country code: FI

Free format text: LAPSE BECAUSE OF FAILURE TO SUBMIT A TRANSLATION OF THE DESCRIPTION OR TO PAY THE FEE WITHIN THE PRESCRIBED TIME-LIMIT

Effective date: 20160831

Ref country code: RS

Free format text: LAPSE BECAUSE OF FAILURE TO SUBMIT A TRANSLATION OF THE DESCRIPTION OR TO PAY THE FEE WITHIN THE PRESCRIBED TIME-LIMIT

Effective date: 20160831

Ref country code: NO

Free format text: LAPSE BECAUSE OF FAILURE TO SUBMIT A TRANSLATION OF THE DESCRIPTION OR TO PAY THE FEE WITHIN THE PRESCRIBED TIME-LIMIT

Effective date: 20161130

Ref country code: LT

Free format text: LAPSE BECAUSE OF FAILURE TO SUBMIT A TRANSLATION OF THE DESCRIPTION OR TO PAY THE FEE WITHIN THE PRESCRIBED TIME-LIMIT

Effective date: 20160831

PG25 Lapsed in a contracting state [announced via postgrant information from national office to epo]

Ref country code: GR

Free format text: LAPSE BECAUSE OF FAILURE TO SUBMIT A TRANSLATION OF THE DESCRIPTION OR TO PAY THE FEE WITHIN THE PRESCRIBED TIME-LIMIT

Effective date: 20161201

Ref country code: SE

Free format text: LAPSE BECAUSE OF FAILURE TO SUBMIT A TRANSLATION OF THE DESCRIPTION OR TO PAY THE FEE WITHIN THE PRESCRIBED TIME-LIMIT

Effective date: 20160831

Ref country code: LV

Free format text: LAPSE BECAUSE OF FAILURE TO SUBMIT A TRANSLATION OF THE DESCRIPTION OR TO PAY THE FEE WITHIN THE PRESCRIBED TIME-LIMIT

Effective date: 20160831

Ref country code: AT

Free format text: LAPSE BECAUSE OF FAILURE TO SUBMIT A TRANSLATION OF THE DESCRIPTION OR TO PAY THE FEE WITHIN THE PRESCRIBED TIME-LIMIT

Effective date: 20160831

Ref country code: ES

Free format text: LAPSE BECAUSE OF FAILURE TO SUBMIT A TRANSLATION OF THE DESCRIPTION OR TO PAY THE FEE WITHIN THE PRESCRIBED TIME-LIMIT

Effective date: 20160831

Ref country code: NL

Free format text: LAPSE BECAUSE OF FAILURE TO SUBMIT A TRANSLATION OF THE DESCRIPTION OR TO PAY THE FEE WITHIN THE PRESCRIBED TIME-LIMIT

Effective date: 20160831

PG25 Lapsed in a contracting state [announced via postgrant information from national office to epo]

Ref country code: EE

Free format text: LAPSE BECAUSE OF FAILURE TO SUBMIT A TRANSLATION OF THE DESCRIPTION OR TO PAY THE FEE WITHIN THE PRESCRIBED TIME-LIMIT

Effective date: 20160831

Ref country code: RO

Free format text: LAPSE BECAUSE OF FAILURE TO SUBMIT A TRANSLATION OF THE DESCRIPTION OR TO PAY THE FEE WITHIN THE PRESCRIBED TIME-LIMIT

Effective date: 20160831

REG Reference to a national code

Ref country code: DE

Ref legal event code: R082

Ref document number: 602012022512

Country of ref document: DE

Representative=s name: PRINZ & PARTNER MBB PATENTANWAELTE RECHTSANWAE, DE

Ref country code: DE

Ref legal event code: R081

Ref document number: 602012022512

Country of ref document: DE

Owner name: HYUNDAI ELECTRIC & ENERGY SYSTEMS CO.,LTD., KR

Free format text: FORMER OWNER: HYUNDAI HEAVY INDUSTRIES CO. LTD., ULSAN, KR

PG25 Lapsed in a contracting state [announced via postgrant information from national office to epo]

Ref country code: BE

Free format text: LAPSE BECAUSE OF FAILURE TO SUBMIT A TRANSLATION OF THE DESCRIPTION OR TO PAY THE FEE WITHIN THE PRESCRIBED TIME-LIMIT

Effective date: 20160831

Ref country code: SM

Free format text: LAPSE BECAUSE OF FAILURE TO SUBMIT A TRANSLATION OF THE DESCRIPTION OR TO PAY THE FEE WITHIN THE PRESCRIBED TIME-LIMIT

Effective date: 20160831

Ref country code: SK

Free format text: LAPSE BECAUSE OF FAILURE TO SUBMIT A TRANSLATION OF THE DESCRIPTION OR TO PAY THE FEE WITHIN THE PRESCRIBED TIME-LIMIT

Effective date: 20160831

Ref country code: DK

Free format text: LAPSE BECAUSE OF FAILURE TO SUBMIT A TRANSLATION OF THE DESCRIPTION OR TO PAY THE FEE WITHIN THE PRESCRIBED TIME-LIMIT

Effective date: 20160831

Ref country code: PL

Free format text: LAPSE BECAUSE OF FAILURE TO SUBMIT A TRANSLATION OF THE DESCRIPTION OR TO PAY THE FEE WITHIN THE PRESCRIBED TIME-LIMIT

Effective date: 20160831

Ref country code: BG

Free format text: LAPSE BECAUSE OF FAILURE TO SUBMIT A TRANSLATION OF THE DESCRIPTION OR TO PAY THE FEE WITHIN THE PRESCRIBED TIME-LIMIT

Effective date: 20161130

Ref country code: PT

Free format text: LAPSE BECAUSE OF FAILURE TO SUBMIT A TRANSLATION OF THE DESCRIPTION OR TO PAY THE FEE WITHIN THE PRESCRIBED TIME-LIMIT

Effective date: 20170102

Ref country code: CZ

Free format text: LAPSE BECAUSE OF FAILURE TO SUBMIT A TRANSLATION OF THE DESCRIPTION OR TO PAY THE FEE WITHIN THE PRESCRIBED TIME-LIMIT

Effective date: 20160831

REG Reference to a national code

Ref country code: DE

Ref legal event code: R097

Ref document number: 602012022512

Country of ref document: DE

PG25 Lapsed in a contracting state [announced via postgrant information from national office to epo]

Ref country code: IT

Free format text: LAPSE BECAUSE OF FAILURE TO SUBMIT A TRANSLATION OF THE DESCRIPTION OR TO PAY THE FEE WITHIN THE PRESCRIBED TIME-LIMIT

Effective date: 20160831

PLBE No opposition filed within time limit

Free format text: ORIGINAL CODE: 0009261

STAA Information on the status of an ep patent application or granted ep patent

Free format text: STATUS: NO OPPOSITION FILED WITHIN TIME LIMIT

REG Reference to a national code

Ref country code: CH

Ref legal event code: PL

26N No opposition filed

Effective date: 20170601

GBPC Gb: european patent ceased through non-payment of renewal fee

Effective date: 20161221

PG25 Lapsed in a contracting state [announced via postgrant information from national office to epo]

Ref country code: SI

Free format text: LAPSE BECAUSE OF FAILURE TO SUBMIT A TRANSLATION OF THE DESCRIPTION OR TO PAY THE FEE WITHIN THE PRESCRIBED TIME-LIMIT

Effective date: 20160831

PG25 Lapsed in a contracting state [announced via postgrant information from national office to epo]

Ref country code: MC

Free format text: LAPSE BECAUSE OF FAILURE TO SUBMIT A TRANSLATION OF THE DESCRIPTION OR TO PAY THE FEE WITHIN THE PRESCRIBED TIME-LIMIT

Effective date: 20160831

REG Reference to a national code

Ref country code: IE

Ref legal event code: MM4A

PG25 Lapsed in a contracting state [announced via postgrant information from national office to epo]

Ref country code: LU

Free format text: LAPSE BECAUSE OF NON-PAYMENT OF DUE FEES

Effective date: 20161221

Ref country code: LI

Free format text: LAPSE BECAUSE OF NON-PAYMENT OF DUE FEES

Effective date: 20161231

Ref country code: CH

Free format text: LAPSE BECAUSE OF NON-PAYMENT OF DUE FEES

Effective date: 20161231

REG Reference to a national code

Ref country code: FR

Ref legal event code: PLFP

Year of fee payment: 6

PG25 Lapsed in a contracting state [announced via postgrant information from national office to epo]

Ref country code: IE

Free format text: LAPSE BECAUSE OF NON-PAYMENT OF DUE FEES

Effective date: 20161221

Ref country code: GB

Free format text: LAPSE BECAUSE OF NON-PAYMENT OF DUE FEES

Effective date: 20161221

REG Reference to a national code

Ref country code: FR

Ref legal event code: TP

Owner name: HYUNDAI ELECTRIC & ENERGY SYSTEMS CO.,LTD., KR

Effective date: 20171110

PG25 Lapsed in a contracting state [announced via postgrant information from national office to epo]

Ref country code: HU

Free format text: LAPSE BECAUSE OF FAILURE TO SUBMIT A TRANSLATION OF THE DESCRIPTION OR TO PAY THE FEE WITHIN THE PRESCRIBED TIME-LIMIT; INVALID AB INITIO

Effective date: 20121221

PG25 Lapsed in a contracting state [announced via postgrant information from national office to epo]

Ref country code: CY

Free format text: LAPSE BECAUSE OF FAILURE TO SUBMIT A TRANSLATION OF THE DESCRIPTION OR TO PAY THE FEE WITHIN THE PRESCRIBED TIME-LIMIT

Effective date: 20160831

Ref country code: IS

Free format text: LAPSE BECAUSE OF FAILURE TO SUBMIT A TRANSLATION OF THE DESCRIPTION OR TO PAY THE FEE WITHIN THE PRESCRIBED TIME-LIMIT

Effective date: 20160831

Ref country code: MK

Free format text: LAPSE BECAUSE OF FAILURE TO SUBMIT A TRANSLATION OF THE DESCRIPTION OR TO PAY THE FEE WITHIN THE PRESCRIBED TIME-LIMIT

Effective date: 20160831

PG25 Lapsed in a contracting state [announced via postgrant information from national office to epo]

Ref country code: MT

Free format text: LAPSE BECAUSE OF NON-PAYMENT OF DUE FEES

Effective date: 20161221

PG25 Lapsed in a contracting state [announced via postgrant information from national office to epo]

Ref country code: TR

Free format text: LAPSE BECAUSE OF FAILURE TO SUBMIT A TRANSLATION OF THE DESCRIPTION OR TO PAY THE FEE WITHIN THE PRESCRIBED TIME-LIMIT

Effective date: 20160831

Ref country code: AL

Free format text: LAPSE BECAUSE OF FAILURE TO SUBMIT A TRANSLATION OF THE DESCRIPTION OR TO PAY THE FEE WITHIN THE PRESCRIBED TIME-LIMIT

Effective date: 20160831

PGFP Annual fee paid to national office [announced via postgrant information from national office to epo]

Ref country code: FR

Payment date: 20250925

Year of fee payment: 14

PGFP Annual fee paid to national office [announced via postgrant information from national office to epo]

Ref country code: DE

Payment date: 20250922

Year of fee payment: 14