EP2682011A1 - Mundstück - Google Patents

Mundstück Download PDF

Info

Publication number
EP2682011A1
EP2682011A1 EP11860031.1A EP11860031A EP2682011A1 EP 2682011 A1 EP2682011 A1 EP 2682011A1 EP 11860031 A EP11860031 A EP 11860031A EP 2682011 A1 EP2682011 A1 EP 2682011A1
Authority
EP
European Patent Office
Prior art keywords
cigarette
mouthpiece
filter
nicotine
air flow
Prior art date
Legal status (The legal status is an assumption and is not a legal conclusion. Google has not performed a legal analysis and makes no representation as to the accuracy of the status listed.)
Withdrawn
Application number
EP11860031.1A
Other languages
English (en)
French (fr)
Other versions
EP2682011A4 (de
Inventor
Kazuhiko Shimizu
Current Assignee (The listed assignees may be inaccurate. Google has not performed a legal analysis and makes no representation or warranty as to the accuracy of the list.)
Individual
Original Assignee
Individual
Priority date (The priority date is an assumption and is not a legal conclusion. Google has not performed a legal analysis and makes no representation as to the accuracy of the date listed.)
Filing date
Publication date
Priority claimed from JP2011044750A external-priority patent/JP5070562B2/ja
Application filed by Individual filed Critical Individual
Publication of EP2682011A1 publication Critical patent/EP2682011A1/de
Publication of EP2682011A4 publication Critical patent/EP2682011A4/de
Withdrawn legal-status Critical Current

Links

Images

Classifications

    • AHUMAN NECESSITIES
    • A24TOBACCO; CIGARS; CIGARETTES; SIMULATED SMOKING DEVICES; SMOKERS' REQUISITES
    • A24FSMOKERS' REQUISITES; MATCH BOXES; SIMULATED SMOKING DEVICES
    • A24F13/00Appliances for smoking cigars or cigarettes
    • AHUMAN NECESSITIES
    • A24TOBACCO; CIGARS; CIGARETTES; SIMULATED SMOKING DEVICES; SMOKERS' REQUISITES
    • A24FSMOKERS' REQUISITES; MATCH BOXES; SIMULATED SMOKING DEVICES
    • A24F13/00Appliances for smoking cigars or cigarettes
    • A24F13/02Cigar or cigarette holders
    • AHUMAN NECESSITIES
    • A24TOBACCO; CIGARS; CIGARETTES; SIMULATED SMOKING DEVICES; SMOKERS' REQUISITES
    • A24FSMOKERS' REQUISITES; MATCH BOXES; SIMULATED SMOKING DEVICES
    • A24F40/00Electrically operated smoking devices; Component parts thereof; Manufacture thereof; Maintenance or testing thereof; Charging means specially adapted therefor
    • A24F40/40Constructional details, e.g. connection of cartridges and battery parts
    • A24F40/48Fluid transfer means, e.g. pumps
    • A24F40/485Valves; Apertures
    • AHUMAN NECESSITIES
    • A24TOBACCO; CIGARS; CIGARETTES; SIMULATED SMOKING DEVICES; SMOKERS' REQUISITES
    • A24FSMOKERS' REQUISITES; MATCH BOXES; SIMULATED SMOKING DEVICES
    • A24F40/00Electrically operated smoking devices; Component parts thereof; Manufacture thereof; Maintenance or testing thereof; Charging means specially adapted therefor
    • A24F40/20Devices using solid inhalable precursors

Definitions

  • the present invention relates to a mouthpiece provided for non-combustion smoking tools and used in combination with a non-combustion smoking tool of Japanese Patent Application 2009-049879 or Japanese Patent Application 2009-293338 made by the present applicant (each hereinafter referred to as "tool- of the earlier application of the present application"), a non-combustion cigarette system disclosed in Japanese Translation of PCT Application 2009-509521 or a pipe-type non-combustion smoking tool.
  • a filter cigarette is heated from the outside by a cylindrical heater.
  • the paper of the filter cigarette is first heated to vaporize harmful substances from the wrapping paper, so that a mixture of the harmful substances and nicotine vaporized from the tobacco leaves is supplied to the smoker.
  • a mouthpiece having a novel structure has been conceived to solve the above problems which are caused when the tool of the earlier application of the present application described above or the non-combustion smoking tool proposed in Patent Document 3 is used for a filter cigarette.
  • a mouthpiece has been conceived, such that in the mouthpiece having the novel structure, a hole is formed on the surface of the air flow control structure or the air control element which contacts the filter so as to produce an air flow through the filter, allowing the filter to absorb a part of produced nicotine.
  • a cigarette guide tube with the mouthpiece having the novel structure makes it easier to make a non-combustion smoking tool, and provides an easy-to-use mouthpiece with an attached cigarette guide tube.
  • FIG 3 shows a cross-sectional view of an example of a mouthpiece used as a mouthpiece having a novel structure adopted in the present invention.
  • an air flow control element is formed between an inhalation inlet and a filter of an inserted filter cigarette. If the air flow control element has no through-hole, air passing through the filter part cannot directly reach the inhalation inlet when a smoker inhales through the mouthpiece.
  • nicotine vaporized from the tobacco leaves by heating the tobacco leaves goes out of the wrapping paper of the tobacco, and passes through a space formed between an inner wall of a non-combustion smoking tool and the wrapping paper of the tobacco and the filter, and further passes through the air control element so as to be brought to the inhalation inlet.
  • This is advantageous because, due to the air flow containing the nicotine, the nicotine vaporized from the tobacco leaves is prevented from being absorbed by the filter, so that the smoker can inhale most of the nicotine vaporized from the tobacco leaves.
  • FIG. 8 , FIG. 13 and FIG. 14 show cross-sectional views of other examples of mouthpieces having the novel structure adopted in the present invention, in which each of them has an advantage that the rate at which the filter absorbs the produced nicotine can be controlled between zero and an arbitrary rate.
  • a cigarette guide tube with these mouthpieces having the novel structure is advantageous because it provides easy-to-use mouthpieces with an attached cigarette guide tube.
  • the mouthpiece having the novel structure adopted in the present invention and provided with the attached cigarette guide tube it is advantageous to bend an end of the cigarette guide tube inward because the mouthpiece with the attached cigarette guide tube can be taken out of the non-combustion smoking tool together with the inserted filter cigarette.
  • the present inventor has used commercially available "MILD SEVEN 10" and a gas chromatography mass spectrometer (TG-GC/MS) to perform measurements of the amount of nicotine taken in, depending on the presence or absence of a filter, according to a normal smoking method to light them. It has been found that based on 15.463 mg in the case of the absence of a filter and 0.775 mg in the case of the presence of a filter, 95% of nicotine produced is in fact absorbed by a filter.
  • TG-GC/MS gas chromatography mass spectrometer
  • a normal smoking method to light tobacco leaves for smoking burns tobacco leaves or a wrapping paper, thereby producing much harmful substances to a human body such as tar and carbon monoxide in addition to nicotine.
  • a filter is required to prevent these harmful substances from being taken in the body.
  • a filter only serves to extremely reduce the amount of the produced nicotine which is taken in.
  • the tool of the earlier application of the present application is designed to be usable even if the filter of the filter cigarette is removed.
  • a filter may be unnecessary, it is laborious to smoke after removing the filter when using a non-combustion smoking tool.
  • the present application has been conceived to enable a smoker to sufficiently take in nicotine produced by heating tobacco leaves when a non-combustion smoking tool is used with a filter cigarette as it is.
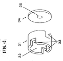
  • FIG. 3 shows a cross-sectional view of a mouthpiece of EXAMPLE 1 of the present application.
  • the mouthpiece 1 comprises an inhalation inlet 2, an air flow control element 3 and a filter housing part 4.
  • the air flow control element 3 comprises a combination of two components 31 and 34.
  • the outer diameter of the component 31 is designed to be substantially the same as the inner diameter of the filter housing part 4.
  • the outer diameter of the component 34 is designed to be substantially equal to or smaller than the outer diameter of the component 31, and equal to or larger than the diameter of an axial hole 32.
  • the mouthpiece 1 has an outer diameter designed to tightly fit an insertion opening 103 of the non-combustion smoking tool shown in FIGs. 1 and 2 so as to prevent air leakage.
  • FIG 5 shows an appearance view of another example of an air control component 3.
  • This air control component 3 has a shape similar to a normal gear, and comprises six gear teeth 37 and an axial hole 38.
  • the outer diameter of the gear teeth 37 is made substantially equal to the inner diameter of the filter housing part 4. It is needless to say that the number of gear teeth is not limited to six as shown, but can be an arbitrary number as a usable one.
  • FIG 1 is a view immediately before a commercially available filter cigarette (filter part 20 and cigarette part 21) set in the mouthpiece 1 shown in FIG 3 is inserted into an insertion opening 103 of a tool 100 of the earlier application of the present application.
  • FIG. 2 is a cross-sectional view of the tool 100 of the earlier application of the present application shown in FIG 1 .
  • This tool comprises a printed circuit board 111 with a built-in electronic circuit, a heater 110, a thermal insulation material 9 and a plastic case.
  • FIG. 7 and FIG 8 of Patent Document 2 describes in detail a specific circuit diagram and voltage waveforms applied to a heater.
  • FIG 6 is a cross-sectional view when the filter cigarette set in the mouthpiece shown in FIG 3 is inserted into the tool 100 of the earlier application of the present application.
  • FIG 6 is used to describe the case where a hole 35 of FIG. 4 or an axial hole 38 of FIG 5 is not present.
  • a cigarette part 21 of the filter cigarette allows the heater 110 in the non-combustion smoking tool 100 to be inserted therein, and is heated by the heater or preheated by a linear part of the heater. Since the end surface of the filter part 21 is covered with the air flow control element 3, nicotine vaporized from the tobacco leaves by the hot air heated by the coil part of the heater upon inhalation by a smoker cannot pass through the filter part 21, and thus passes through the wrapping paper to go out of the wrapping paper and pass through a space between an inner surface of the thermal insulation material 9 and the wrapping paper.
  • the nicotine then passes through a space between an inner surface of the mouthpiece 1 and an outer surface of the filter part 20, which in the case of FIG. 4 further passes through the axial hole 32 via windows 33 of the air flow control element 3 so as to be brought to the mouth of the smoker through the inhalation inlet 2, and which in the case of FIG. 5 further passes through the gear teeth 37 of an air flow control element 36 so as to be brought into the mouth of the smoker through the inhalation inlet 2.
  • the nicotine vaporized and extracted from the inserted tobacco leaves is not absorbed by the filter of the filter cigarette, and substantially 100% of the produced nicotine is brought into the mouth of the smoker.
  • a cigarette part 21 of the filter cigarette allows the slender heater 110 in the non-combustion smoking tool 100 to be inserted therein, and is heated by the heater or preheated by the linear part of the heater. Nicotine vaporized from the tobacco leaves by the hot air heated by the coil part of the heater upon inhalation by a smoker passes through the wrapping paper from a central portion to go out of the wrapping paper and pass through the space between the inner surface of the thermal insulation material 9 and the wrapping paper.
  • the nicotine then passes through a space between the inner surface of the mouthpiece 1 and the wrapping paper of the filter, and further passes through the axial hole 32 via the windows 33 of the air flow control element 3 so as to be brought to the mouth of the smoker through the inhalation inlet 2, or alternatively passes through the gear teeth 37 of the air flow control element 36 so as to be brought to the mouth of the smoker through the inhalation inlet 2.
  • the hole 35 and the axial hole 38 are present, a part of the nicotine vaporized from the tobacco leaves can pass through the hole 35 or the axial hole 38 through the cigarette part 21 and through the filter part 20, thus producing a flow of nicotine, as well, that reaches the mouth of the smoker while a part of the nicotine is absorbed by the filter.
  • the rate at which the filter absorbs the nicotine vaporized and extracted by heating the tobacco leaves can be varied between zero and the intrinsic absorption rate of the filter, which is very effective because the smoker can smoke with a desired concentration.
  • the shapes of the windows 33 and the gear teeth 37 are not limited to those shown, and can have any size and shape if they have a function to allow air to flow.
  • FIG. 7 shows an appearance view of a mouthpiece of EXAMPLE 2 of the present application.
  • FIG. 8 is an A-A' cross-sectional view of FIG. 7 .
  • This mouthpiece comprises a mouthpiece outer case, an air flow control element 3-1 and a filter housing part 4.
  • the mouthpiece 1 has two slits 6.
  • the slits 6 serve to guide produced nicotine to the inhalation inlet 2, and facilitate insertion into the non-combustion smoking tool or facilitate insertion of a cigarette guide tube 10 by allowing the outer diameter of the mouthpiece 1 to be virtually reduced when the mouthpiece 1 is pressed from outside upon insertion into the non-combustion smoking tool or upon insertion of the cigarette guide tube 10 into the mouthpiece 1 as described later.
  • FIG. 7 describes the case of two, the same effect can be obtained with three or more.
  • the slits have length L1 which is designed to be longer than insertion length L2 of the filter cigarette in the mouthpiece 1 as shown in FIG. 8 .
  • the entire length of the slits 6 is required to be inserted into the tool through the insertion opening 103.
  • the mouthpiece 1 is required to have an outer diameter to tightly fit the insertion opening 103 to prevent air leakage.
  • the air flow control element 3-1 has four holes 7 (which can be any number) and a rod 8 for positioning the insertion position of the inserted filter cigarette.
  • the rod 8 has a function to position the insertion position of the inserted filter cigarette. Further, the rod 8 has another function.
  • the rate at which the filter 20 absorbs a part of the nicotine extracted from the tobacco leaves can be varied by varying the hole diameter of the rod 8.
  • FIG. 7 shows another air flow control element 3-2. This example designs a rod 8 with a larger end portion.
  • this end portion is made substantially equal to the diameter of the filter cigarette, substantially 100% of nicotine produced by heating the inserted cigarette is brought to the mouth of the smoker without being absorbed by the filter part.
  • the diameter of the end portion of the rod 8 By making the diameter of the end portion of the rod 8 smaller than the diameter of the filter part, the produced nicotine can be absorbed by the filter at an arbitrary rate.
  • the air flow control elements 3, 3-1, 3-2 have been described above as separate elements. However, when making the mouthpiece 1, it is easy to make mouthpiece molds to produce similar effects. Thus, it is needless to say that they can be made either as separate elements to be combined with the mouthpiece, or made integrally with the mouthpiece.
  • the present inventor has made the air flow control elements 3, 3-1, 3-2 described above and so on, and has conducted experiments. If the hole 35 or the hole 38 is not present, or if the rod 8 is substantially equal in diameter to the filter, it has been found that substantially 100% of nicotine vaporized from the cigarette part 21 enters the mouth of the smoker when the smoker inserts the filter cigarette to allow the front end of the filter of the filter cigarette to tightly contact these elements, while when the filter cigarette is not inserted to tightly contact these elements, a part of nicotine vaporized from the cigarette part 21 is absorbed by the filter part 20.
  • the cause of this is that the bottom surface of the filter part 20 does not intimately contact the air flow control element, which produces, between the air flow control element and the bottom surface of the filter part 20, a gap forming a path of air flow from the cigarette part 21 through the filter part 20, so that when the smoker inhales, a part of vaporized nicotine rides on the air flow to pass through the filter part 20, causing the nicotine contained in the air flow to be absorbed by the filter part 20.
  • the rod 8 of the air flow control element 3-2 is a rod 81.
  • the rod 81 is a cylinder designed to have a depth of at least 2 mm and at most substantially the length of the filter part 20 for housing the filter part 20.
  • the cylinder has either no or at least one hole 97 at a bottom thereof ( FIG. 10 shows two).
  • the use of the rod 81 substantially prevents air flow through the filter part as long as the front end of the filter is inserted in the cylinder of the rod 81 even if the filter cigarette is roughly inserted into the rod, allowing substantially 100% of produced nicotine to be brought to the mouth of the smoker.
  • the hole 97 it has been found that if the hole 97 is present, air flow to pass through the filter part is produced, enabling a part of produced nicotine to be absorbed by the filter, and in addition, the rate at which the filter part absorbs the nicotine can be varied by varying the hole diameter of the hole 97.
  • FIG 11 is an appearance view of a novel mouthpiece 1 of EXAMPLE 3 of the present application.
  • FIG. 12 is a right side view of FIG. 11 .
  • This mouthpiece is an embodiment of the subject matter of the present invention based on the structure of the mouthpiece instead of the air flow control element.
  • the mouthpiece 1 comprises four parts, in which 93 is a filter housing part, and has a portion to fit a part 92 as shown in a cross-sectional view of FIG 13 . This portion is rotated by a smoker for use so that a groove 94 is rotated to match one of holes 95-1, 2, 3.
  • a hole 97 is formed in a central wall of the filter housing part 93. As shown in the cross-sectional view of FIG.
  • the part 92 is designed to fit a part 91 as well, and has the holes 95-1, 2, 3.
  • a right side of the part 92 is a cover which has two holes 99 of different sizes.
  • the smoker can rotate the part 93 to allow the groove 94 to match one of the holes 95-1, 2, 3 so as to change the rate at which the filter absorbs nicotine.
  • a resin different in color from the part 91 because, while a filter cigarette set in the mouthpiece needs to be inserted beyond the part 92 when inserted into the non-combustion smoking tool, the color change allows the smoker to know at a glance how far it should be inserted.
  • the color change allows the smoker to know at a glance how far it should be inserted.
  • the parts 93, 91, 90 are preferably made from a little flexible resin material such as polypropylene and silicone resin.
  • a little flexible resin material such as polypropylene and silicone resin.
  • the part 91 is designed to fit the part 92. Further, as shown, the part 91 is made to increase slightly in diameter toward the mouth. Thus, when the filter cigarette set in the mouthpiece is inserted into the non-combustion smoking tool 100 or 101, the insertion opening 103, even with variations in diameter, fits the mouthpiece with no gap at an appropriate position upon insertion. Further, also when the cigarette guide tube 10 described later is attached to the mouthpiece, the cigarette guide tube 10, even with variations in inner diameter, can fit the mouthpiece with no gap at an appropriate position upon insertion. However, if the insertion opening 103 and the inner diameter of the cigarette guide tube 10 are accurately made, it is not necessary that the diameter of the part 91 increases slightly in diameter toward the mouth.
  • the groove 94 with a depth smaller than the wall thickness of the filter housing part 93 is formed as shown, and has an end connected at the part 92 to hollows 96 by the holes 95-1, 2, 3. Further, slits 98 are formed in the filter housing part 93. The slits 98 facilitate insertion of the cigarette guide tube 10 when the filter housing part 93 is pressed by fingers to virtually reduce the diameter upon insertion of the cigarette guide tube 10 into the mouthpiece 1 as described later.
  • FIG. 14 is a mouthpiece of EXAMPLE 4 of the present application.
  • This novel mouthpiece is also an embodiment of the subject matter of the present invention as obtained by changing the structure.
  • a first difference is that the filter housing part 93 has been changed to a tube 93-1.
  • the tube 93-1 is, for example, like a straw made of polypropylene, and is formed to just fit the projecting portion of the part 92, while 4 is a filter housing part.
  • the tube 93-1 has an outer diameter smaller than the outer diameter of the fat portion of the part 92.
  • a cover or bottom is formed on the projecting portion (on the filter side) of the part 92.
  • the hole 97 to change the rate at which the filter absorbs nicotine is formed in this cover or bottom. Holes 95 are formed with the part 92 and the tube 93-1 combined and fit together.
  • the holes 95 are formed with the part 92 and the tube 93-1 combined and fit together, so that the smoker can allow the holes 95 to have an arbitrary opening area by slightly rotating the tube 93-1 after the smoker combines the tube 93-1 and the part 92 (the amount of air flow then being determined by the diameter of the holes 95), making it possible for the smoker to smoke with a desired amount of air.
  • a second difference is that the part 90 and the part 91 are not straight and have an angle.
  • this angle is about 5 degrees to 50 degrees, the bending allows the non-combustion smoking tool to be positioned below eye level when the smoker uses the mouthpiece and the non-combustion smoking tool, thus enabling the smoker to smoke comfortably, and also allows the outline shape of the pipe-type non-combustion smoking tool 101 to much resemble a real pipe.
  • this angle can either be provided between the part 91 and the part 90, or can be formed by bending a portion of the part 92, to obtain the same effect.
  • FIG 15 is an appearance view immediately before a filter cigarette set in the mouthpiece 1 shown in FIG. 14 is inserted into a pipe-type non-combustion smoking tool 101. It has a part 102 which corresponds to where tobacco leaves would be placed in the case of a normal pipe, and which is a display part for displaying various information by guiding light from a light emitting diode 118 which is driven by a drive circuit to blink. Alternatively, it can be designed to detect inhalation (by a detector not shown) upon smoking/inhalation, allowing it to light red as if upon smoking/inhalation by normal lighting.
  • FIG. 16 is an axial cross-sectional view where a filter cigarette set in the mouthpiece 1 shown in FIG 14 is inserted into the pipe-type non-combustion smoking tool 101.
  • a cigarette part 21 is heated by the heating heater 110 or by high temperature air produced by the coil part to vaporize nicotine.
  • the vaporized nicotine goes out of the wrapping paper of the tobacco and passes through a space formed between the outside of the wrapping paper and the inside of the insulation material 9 or the inside of the non-combustion smoking tool 101, and then passes through a space formed between the tube 93-1 and the inside of the non-combustion smoking tool 101, and further passes through the holes 95 and through the hollows 96, allowing substantially 100% of the produced nicotine to be brought to the mouth of the smoker.
  • the insertion opening 103 and the part 91 of the mouthpiece are formed to tightly fit together to prevent air leakage.
  • the hole 97 is present, the vaporized nicotine is partially absorbed by the filter when the smoker inhales because it is brought to the mouth of the smoker through the filter part 20 and through the hole 97. Consequently, the rate at which the filter absorbs produced nicotine is changed by the hole diameter of the hole 97, making it possible for the smoker to inhale nicotine with a desired concentration.
  • FIG 17 is an axial cross-sectional view where a filter cigarette set in the mouthpiece 1 shown in FIG. 13 is inserted into the non-combustion smoking tool 101. It is different from FIG. 16 in that it has an angle of 5 degrees to 50 degrees at the neck of the pipe while the part 90 and the part 91 of the mouthpiece 1 are straight through. Thus, the heater 110 is bent at the same angle. In addition, the heater has no coil part, and, needless to say, can be similarly bent even if it has a coil part.
  • the axial hole 32 of the air flow control element 3 of FIG. 4 , the axial hole 38 of FIG. 5 , the air flow control elements 3-1, 3-2 of FIG. 7 and the parts 92 of FIGs. 13 , 14 can be drilled inside to create a space for housing various fragrances to produce a tobacco flavor, a menthol flavor, a mint flavor, a lemon flavor and so on, or materials to produce water.
  • FIG 9 shows that the rod 8 of the air flow control element 3-1 is drilled inside to create a space 12.
  • the axial hole 32 of FIG. 4 and the axial hole 38 of FIG 5 can be used as spaces for placing these. This is advantageous because by placing fragrances and materials to produce water in these spaces, a smoker can smoke more comfortably since the flavors of these fragrances and water in addition to nicotine vaporized from the tobacco leaves enter the mouth of the smoker upon smoking using a non-combustion smoking tool.
  • the hole 35 of FIG 4 , the axial hole 38 of FIG. 5 , the diameter of the rod 8 of FIG 8 , the hole 97 of FIG. 13 and the hole 97 of FIG. 14 have a function to determine the rate at which the filter absorbs nicotine upon smoking.
  • the mouthpiece 1 is made as a molded product of plastic or the like. If the wall thickness of the molded product is made small, and the internal components with them are colored or made of colored materials, it is easy to make the mouthpiece 1 so that the colors of the components, when inserted therein, can be recognized from outside. If this is used to make three kinds of them different in nicotine absorption rate, large, medium and small absorption rates, that are made e.g. of pink, orange and red colors, then the smoker can see from the outside which one of the air flow control elements with a certain nicotine absorption rate is placed in the mouthpiece 1, so that the smoker can easily understand it.
  • the total area of the windows 33 of FIG 4 , the total area between the gear teeth of FIG 5 , the total hole area of the holes 7 and the area of the hole diameter of the hole 95 of FIG 13 or FIG. 14 exert a significant influence when the smoker smokes. If the hole diameter is too small, a strong inhalation force is required when smoking. If it is too large, a problem arises in that the speed of inhalation by the smoker exceeds the speed of vaporization of nicotine when the tobacco leaves are heated by the heater, causing the speed of vaporization of nicotine to be insufficient. It has been found from experiment results that the total area or the area of the total hole diameter is preferably 0.01 square mm to 12 square mm.
  • the smoker can change the rate at which the filter absorbs vaporized nicotine, if a mechanism shown as an example in FIG. 25 is used instead of the air flow control element B 34 of FIG. 4 , and instead of the rod 8 which is shown in the element 3-2 of FIG. 7 and which has an outer diameter substantially equal to the diameter of the filter, and instead of the cover of the part 92 of FIG 14 .
  • a disc A and a disc B have elongated holes 53 formed therein, and the discs A, B are designed to be rotatable about a shaft 50 as a center. When they are stopped where the two elongated holes exactly match, maximum absorption occurs in the filter. As the matching area of the two elongated holes is decreased by rotating the discs, the rate at which the filter absorbs nicotine decreases. When there is no matching area, substantially 100% of the vaporized nicotine is brought to the smoker.
  • FIG. 6 When a smoker inhales upon smoking, air enters through the air inlet 105, and passes through the section of the circuit, and then enters the thermal insulation material 9 from an opening on the right side of the thermal insulation material 9, and further goes through the space between the inner surface of the thermal insulation material 9 and the outside of the wrapping paper along with nicotine heated and vaporized by the heater 110 so as to be brought to the mouth of the smoker through the space formed between the outside of the filter part 21 and the inside of the mouthpiece 1 and through the windows 33 of the air flow control element 3.
  • FIG. 18 is an axial cross-sectional view where a filter cigarette is set in the mouthpiece 1 of EXAMPLE 3 shown in FIG 13 and a cigarette guide tube 10 is set therein.
  • the cigarette guide tube can be either outside or inside the mouthpiece.
  • EXAMPLES 2, 3 and 4 the cigarette guide tube is inserted outside the mouthpiece.
  • the inner diameter of the cigarette guide tube 10 shown in FIG. 18 is designed to be the outer diameter of the inserted filter cigarette plus 0.01 mm to 1.6 mm. It is advantageous to finish the inner diameter of the cigarette guide tube to this size because when a heater of the tool of the earlier application of the present application is inserted into the cigarette part 21, the outer diameter of the cigarette part 21 increases a little, making it harder for it to fall out of the cigarette guide tube.
  • a further cigarette guide tube A 13 can be inserted to occupy the space between the outer diameter of the cigarette part 21 and the inner diameter of the cigarette guide tube 10, making it even harder for it to fall out, and reducing the amount of air passing therethrough so as to allow most of air to pass in the cigarette part 21.
  • the inner diameter of the cigarette guide tube 10 in this position can be reduced to obtain similar effects.
  • the cigarette guide tube preferably has a wall thickness of 0.01 mm to 0.4 mm, and is made of materials such as metal and metal alloy materials including stainless steel, copper, brass and aluminum, or plastic materials including polypropylene and ABS, or glass.
  • metal and metal alloy materials including stainless steel, copper, brass and aluminum, or plastic materials including polypropylene and ABS, or glass.
  • plastic materials including polypropylene and ABS, or glass.
  • the cigarette guide tube becomes more convenient in practical use if it is made of a transparent material of plastic, glass or the like because this makes it possible to check whether or not the heater is inserted the cigarette.
  • a transparent resin to make the housing of the pipe-type non-combustion smoking tool 101 so as to make a drive circuit with a built-in heater transparent and visible, because this makes it possible to determine from the outside whether the heater is correctly inserted into the cigarette part 21, and because this provides an attractive product.
  • the heater is inserted inside the inserted cigarette to heat the tobacco leaves, so that the temperature of the outside (wrapping paper) of the cigarette is 150°C or lower, making it possible to use a plastic material as a transparent material for the material of the cigarette guide tube 10 instead of a glass tube. This allows it to be a very safe tool which, in contrast to glass, would not break if the tool should fall.
  • the tool 100 of the earlier application of the present application and the pipe-type non-combustion smoking tool 101 are by far larger in shape. This may motivate a person using these tools to want to take out, from the non-combustion smoking tool, the inserted filter cigarette and smoke it while it is heated enough to produce nicotine. Since the inner diameter of the cigarette guide tube is designed to be the outer diameter of the inserted filter cigarette plus 0.01 mm to 1.6 mm, it is harder for the inserted cigarette to fall out of the cigarette guide tube when the outer diameter of the cigarette increases a little due to the influence of the heater inserted into the cigarette. However, as shown by reference numeral 11 in FIG.
  • the design of the cigarette guide tube which has an end 11 bent inward as shown is advantageous because the filter cigarette inside can be prevented from ever falling out of the mouthpiece with the attached cigarette guide tube when the mouthpiece with the attached cigarette guide tube is taken out of the tool.
  • a filterless cigarette, a cigar or tobacco leaves for a hand-rolled cigarette can be similarly used instead to enable the use of a mouthpiece with an attached cigarette guide tube, although the effect of nicotine absorption by the filter part is lost. These are shorter in length than a filter cigarette.
  • a spacer 40 is placed therein which has a diameter substantially equal to that of the filter cigarette and which makes an adjustment to the length substantially equal to that of the filter cigarette, it is possible to use the mouthpiece with an attached cigarette guide tube in a similar way.
  • a hole or through-hole 41 is a space to accommodate a redundant part of the heater if the space 42 is short when the heater is inserted. This is not necessary if the space 42 is longer than the heater.
  • the smoker can smoke more comfortably since the flavors of the fragrances and water are added to nicotine.
  • the hole or through-hole 41 ends halfway in the spacer 40 in FIG. 22 (SIC FIG. 20 )
  • the hole 41 can be formed over the entire length of the spacer 40.
  • FIG. 21 shows that the cigarette guide tube 10 of FIG 18 is shortened in the entire length by "L" by removing the inward bending at the end portion. It is needless to say that instead of inserting a heater into the cigarette part 21, the cigarette part 21 can be heated from the outside of the part "L” or only the end portion of the cigarette part 21 can be heated by using a heater so as to vaporize nicotine from the cigarette part 21 and enable the smoker to similarly inhale nicotine.
  • the combination of the cigarette guide tube and the mouthpiece has an advantage that it can use the method of heating the cigarette part from outside or heating only an end portion of the cigarette part, other than inserting a heater into the cigarette part to heat the tobacco leaves.
  • FIG 22 is an axial cross-sectional view when a filter cigarette set in the mouthpiece 1 shown in FIG 14 with a cigarette guide tube 10 set therein, is inserted into the pipe-type non-combustion smoking tool 101.
  • air enters from the air inlet 105 through an opening on the right side of the thermal insulation material 9, and enters the cigarette guide tube through an end portion 11 of the cigarette guide tube 10, and then flows, along with vaporized nicotine, through a space formed between an inner wall of the cigarette guide tube and an outer wall of the tube 93-1 so as to be brought to the mouth of the smoker through the holes 95 and through the hollows 96.
  • air inlet 105 when the smoker inhales, air passes through the gap between the insertion opening 103 and the cigarette guide tube, and passes through the space formed between the outside of the cigarette guide tube 10 and the inside of the non-combustion smoking tool and through the space formed between it and the inside of the thermal insulation material so as to enter the cigarette guide tube through the end portion 11 and so as to be brought to the mouth of the smoker along with vaporized nicotine.
  • This air flow is very effective to cool the cigarette guide tube and the thermal insulation material.
  • the presence of a gap allowed between the insertion opening 103 and the cigarette guide tube is also advantageous because the insertion opening 103 of the non-combustion smoking tool is not required to extend to where the mouthpiece is located, so that in FIG 25 (SIC FIG. 22 ), the pipe-type non-combustion smoking tool 101 can be shorted in length to be able to hold the thermal insulation material 9, making the tool small in its entirety and convenient to carry.
  • FIG 23 shows a drive circuit 130 with a built-in heater, which is built in the pipe-type non-combustion smoking tool 101.
  • the drive circuit 130 with the built-in heater comprises a heater 110 and two printed circuit boards 111 placed to hold its sleeve part 122 therebetween.
  • Mounted on the printed circuit boards 111 are an input connector 112, a switch 113, a present variable resistor 115 for setting the heating temperature of the heater, a microcomputer 116 with a written drive software, an output transistor 117 for supplying power to the heater, an LED 118 for indicating the operation mode, a connector 114 for electrically connecting the upper and lower printed circuit boards, and others such as resistors and capacitors.
  • a software to receive inputs such as an input voltage, a set value of the preset variable resistor, a set value of the switch, a measured value of the amount of vaporized nicotine, a measured value of ambient temperature where the tool is used, and the like to control a voltage waveform supplied to the heater.
  • FIG. 24 is an appearance view of the heater 110. It has an end portion 119 which is formed in a semicircular shape or at an acute angle to facilitate its insertion into tobacco leaves, and which is located where a heating wire of the heater is not present.
  • the heating wire is placed in a linear part 120 and a coil part 121.
  • the sleeve part 122 is where the heating wire and a lead wire 123 are connected together.
  • the coil part 121 shown in the figure has 1.5 turns, the one actually used has a certain number of turns between 0.5 turn and 4.5 turns, depending on the drive voltage used. Further, if it is desired to reduce the drive voltage, a heater consisting only of the linear part without the coil part 121 may be used.
  • FIG. 15 shows an appearance view of the pipe-type non-combustion smoking tool 101
  • the appearance of the non-combustion smoking tool is not limited to those shown by 100 or 101, and those with any appearance can be used, if they accommodate a drive unit 130 with a built-in heater as shown in FIG 23 .
  • the present invention relates to a mouthpiece which enables a smoker to take in an amount of nicotine vaporized from tobacco leaves adapted to the amount which it desires, by combining the mouthpiece with non-combustion smoking tools which make it possible to use a commercially available filter cigarette or cigar in the form as it is and to inhale nicotine contained in the tobacco leaves without burning it, and which were filed by the present applicant, or by combining the mouthpiece with other non-combustion smoking tools (those which heat a cigarette from outside or those which heat an end of a cigarette).

Landscapes

  • Cigarettes, Filters, And Manufacturing Of Filters (AREA)
EP11860031.1A 2011-03-02 2011-06-16 Mundstück Withdrawn EP2682011A4 (de)

Applications Claiming Priority (2)

Application Number Priority Date Filing Date Title
JP2011044750A JP5070562B2 (ja) 2010-03-08 2011-03-02 マウスピース
PCT/JP2011/063833 WO2012117578A1 (ja) 2011-03-02 2011-06-16 マウスピース

Publications (2)

Publication Number Publication Date
EP2682011A1 true EP2682011A1 (de) 2014-01-08
EP2682011A4 EP2682011A4 (de) 2015-04-22

Family

ID=46758529

Family Applications (1)

Application Number Title Priority Date Filing Date
EP11860031.1A Withdrawn EP2682011A4 (de) 2011-03-02 2011-06-16 Mundstück

Country Status (3)

Country Link
EP (1) EP2682011A4 (de)
CN (1) CN103338662A (de)
WO (1) WO2012117578A1 (de)

Cited By (3)

* Cited by examiner, † Cited by third party
Publication number Priority date Publication date Assignee Title
WO2016015712A1 (de) * 2014-07-29 2016-02-04 Klaus Hagen Hüllkörper für elektronische zigaretten
CN107072301A (zh) * 2014-09-30 2017-08-18 惠州市吉瑞科技有限公司 电子烟
US11839239B2 (en) 2020-08-12 2023-12-12 DES Products Ltd. Adjustable airflow cartridge for electronic vaporizer

Families Citing this family (17)

* Cited by examiner, † Cited by third party
Publication number Priority date Publication date Assignee Title
UA111630C2 (uk) * 2011-10-06 2016-05-25 Сіс Рісорсез Лтд. Система для паління
US9854839B2 (en) * 2012-01-31 2018-01-02 Altria Client Services Llc Electronic vaping device and method
CN102972866B (zh) * 2012-12-14 2015-09-16 湖北中烟工业有限责任公司 一种过滤嘴
GB2511305A (en) 2013-02-27 2014-09-03 British American Tobacco Co A smoking device and a component for a smoking device
GB2511303A (en) * 2013-02-27 2014-09-03 British American Tobacco Co Smoking apparatus
AU2013382371B2 (en) * 2013-03-15 2018-09-27 Philip Morris Products S.A. An aerosol-generating system with a replacable mouthpiece cover
CN106535681B (zh) * 2014-07-11 2020-01-17 菲利普莫里斯生产公司 包括液体尼古丁源的气溶胶形成筒
EP3135137B1 (de) 2015-08-28 2021-04-28 Fontem Holdings 1 B.V. Elektronische rauchvorrichtung mit additivreservoir
CN205648910U (zh) * 2016-03-14 2016-10-19 深圳市合元科技有限公司 烟支加热装置及其加热组件
CN106213587A (zh) * 2016-08-29 2016-12-14 广西中烟工业有限责任公司 一种内置加热装置的非燃烧卷烟
GB201700136D0 (en) 2017-01-05 2017-02-22 British American Tobacco Investments Ltd Aerosol generating device and article
GB201700620D0 (en) 2017-01-13 2017-03-01 British American Tobacco Investments Ltd Aerosol generating device and article
ES2893115T3 (es) * 2017-07-14 2022-02-08 Philip Morris Products Sa Un sistema generador de aerosol con flujo de aire de ventilación oculto
WO2019049194A1 (ja) * 2017-09-05 2019-03-14 秀輝 角島 二段階フレーバー式電子タバコ
GB201720338D0 (en) 2017-12-06 2018-01-17 British American Tobacco Investments Ltd Component for an aerosol-generating apparatus
CN109924545B (zh) * 2017-12-19 2024-05-28 上海新型烟草制品研究院有限公司 一种气雾产生装置
JP7325980B2 (ja) * 2019-03-19 2023-08-15 インテレクチュアルディスカバリーシーオー.,エルティーディー 喫煙治具

Family Cites Families (20)

* Cited by examiner, † Cited by third party
Publication number Priority date Publication date Assignee Title
US4938236A (en) * 1989-09-18 1990-07-03 R. J. Reynolds Tobacco Company Tobacco smoking article
JPH06114105A (ja) 1992-10-02 1994-04-26 Masanobu Iguchi タバコまたは薬品成分の無煙吸引摂取用具および方法
CN2234704Y (zh) * 1995-09-22 1996-09-11 上海浦佳应用技术研究所 一种过滤烟嘴
US5944025A (en) * 1996-12-30 1999-08-31 Brown & Williamson Tobacco Company Smokeless method and article utilizing catalytic heat source for controlling products of combustion
DE19854009C2 (de) * 1998-11-12 2001-04-26 Reemtsma H F & Ph System zur Bereitstellung eines inhalierbaren Aerosols
JP3060809U (ja) * 1999-01-13 1999-09-07 景三 尤 球技用具
CN2640260Y (zh) * 2003-07-25 2004-09-15 官鹏 一种可调节尼古丁吸入浓度的香烟
JP4671601B2 (ja) * 2003-12-26 2011-04-20 プランテックス株式会社 離煙用パイプのインサータの微小空気孔加工法と離煙用パイプ
CN2686350Y (zh) * 2004-02-13 2005-03-23 冯宇 尼古丁吸入器所使用的吸入量可调节的吸嘴
CN2719043Y (zh) * 2004-04-14 2005-08-24 韩力 雾化电子烟
EP1859694B1 (de) * 2005-03-17 2011-05-11 Japan Tobacco, Inc. Für das rauchen verwendeter filterhalter, eine pfeife zum rauchen und eine einheit für eine pfeife zum rauchen
DE102005034169B4 (de) * 2005-07-21 2008-05-29 NjoyNic Ltd., Glen Parva Rauchfreie Zigarette
US20070074734A1 (en) * 2005-09-30 2007-04-05 Philip Morris Usa Inc. Smokeless cigarette system
CN200987359Y (zh) * 2005-12-16 2007-12-12 黄首征 助戒香烟过滤器
WO2008133091A1 (ja) * 2007-04-18 2008-11-06 Japan Tobacco Inc. 喫煙具
JP4793350B2 (ja) 2007-08-22 2011-10-12 株式会社村田製作所 2ポート型非可逆回路素子
JP2009293338A (ja) 2008-06-09 2009-12-17 Ishikawajima Transport Machinery Co Ltd 機械式駐車装置
CN201222976Y (zh) * 2008-07-14 2009-04-22 陈水华 带开关的烟嘴
JP4739433B2 (ja) * 2009-02-07 2011-08-03 和彦 清水 無煙喫煙治具
JP3160809U (ja) * 2010-04-26 2010-07-08 実治世 福岡 喫煙パイプ

Cited By (4)

* Cited by examiner, † Cited by third party
Publication number Priority date Publication date Assignee Title
WO2016015712A1 (de) * 2014-07-29 2016-02-04 Klaus Hagen Hüllkörper für elektronische zigaretten
CN107072301A (zh) * 2014-09-30 2017-08-18 惠州市吉瑞科技有限公司 电子烟
CN107072301B (zh) * 2014-09-30 2019-10-15 惠州市吉瑞科技有限公司 电子烟
US11839239B2 (en) 2020-08-12 2023-12-12 DES Products Ltd. Adjustable airflow cartridge for electronic vaporizer

Also Published As

Publication number Publication date
WO2012117578A1 (ja) 2012-09-07
CN103338662A (zh) 2013-10-02
EP2682011A4 (de) 2015-04-22

Similar Documents

Publication Publication Date Title
US20130333709A1 (en) Mouthpiece
EP2682011A1 (de) Mundstück
US12550938B2 (en) Aerosol delivery devices including a selector and related methods
RU2608277C2 (ru) Электронная сигарета
CN109567279A (zh) 用于电子吸烟制品的用完的筒检测方法和系统
EP3941247B1 (de) Rauchersatzsystem
WO2020193222A1 (en) Smoking substitute system
EP3941250B1 (de) Rauchersatzsystem
ES2968794T3 (es) Sistema de sustitución del fumar tabaco
EP3711569A1 (de) Rauchersatzsystem
WO2020193225A1 (en) Smoking substitute system
WO2020193179A1 (en) Smoking substitute system
EP3711529A1 (de) Rauchersatzsystem
EP3711590A1 (de) Rauchersatzsystem
WO2021028561A1 (en) Smoking substitute system
EP3711524A1 (de) Rauchersatzsystem
EP4447734A1 (de) Rauchersatzsystem
HK1187214A (en) Mouthpiece
EP3711518A1 (de) Rauchersatzsystem
EP3711587A1 (de) Rauchersatzsystem
EP3941258B1 (de) Rauchersatzsystem
RU2845903C1 (ru) Устройство доставки аэрозоля, содержащее устройство выбора атомайзера, и способ получения пара с помощью устройства доставки аэрозоля
EP3711543A1 (de) Rauchersatzsystem

Legal Events

Date Code Title Description
PUAI Public reference made under article 153(3) epc to a published international application that has entered the european phase

Free format text: ORIGINAL CODE: 0009012

17P Request for examination filed

Effective date: 20130502

AK Designated contracting states

Kind code of ref document: A1

Designated state(s): AL AT BE BG CH CY CZ DE DK EE ES FI FR GB GR HR HU IE IS IT LI LT LU LV MC MK MT NL NO PL PT RO RS SE SI SK SM TR

REG Reference to a national code

Ref country code: HK

Ref legal event code: DE

Ref document number: 1187214

Country of ref document: HK

DAX Request for extension of the european patent (deleted)
RA4 Supplementary search report drawn up and despatched (corrected)

Effective date: 20150323

RIC1 Information provided on ipc code assigned before grant

Ipc: A24F 13/02 20060101AFI20150317BHEP

Ipc: A24F 47/00 20060101ALI20150317BHEP

STAA Information on the status of an ep patent application or granted ep patent

Free format text: STATUS: THE APPLICATION HAS BEEN WITHDRAWN

18W Application withdrawn

Effective date: 20150729

REG Reference to a national code

Ref country code: HK

Ref legal event code: WD

Ref document number: 1187214

Country of ref document: HK