EP2492459A3 - Cam shaft phase adjuster with improved locking device - Google Patents
Cam shaft phase adjuster with improved locking device Download PDFInfo
- Publication number
- EP2492459A3 EP2492459A3 EP12156574A EP12156574A EP2492459A3 EP 2492459 A3 EP2492459 A3 EP 2492459A3 EP 12156574 A EP12156574 A EP 12156574A EP 12156574 A EP12156574 A EP 12156574A EP 2492459 A3 EP2492459 A3 EP 2492459A3
- Authority
- EP
- European Patent Office
- Prior art keywords
- locking
- engagement
- rotor
- pin portion
- stator
- Prior art date
- Legal status (The legal status is an assumption and is not a legal conclusion. Google has not performed a legal analysis and makes no representation as to the accuracy of the status listed.)
- Granted
Links
- 238000002485 combustion reaction Methods 0.000 abstract 1
- RDYMFSUJUZBWLH-UHFFFAOYSA-N endosulfan Chemical compound C12COS(=O)OCC2C2(Cl)C(Cl)=C(Cl)C1(Cl)C2(Cl)Cl RDYMFSUJUZBWLH-UHFFFAOYSA-N 0.000 abstract 1
- 239000012530 fluid Substances 0.000 abstract 1
Classifications
-
- F—MECHANICAL ENGINEERING; LIGHTING; HEATING; WEAPONS; BLASTING
- F01—MACHINES OR ENGINES IN GENERAL; ENGINE PLANTS IN GENERAL; STEAM ENGINES
- F01L—CYCLICALLY OPERATING VALVES FOR MACHINES OR ENGINES
- F01L1/00—Valve-gear or valve arrangements, e.g. lift-valve gear
- F01L1/34—Valve-gear or valve arrangements, e.g. lift-valve gear characterised by the provision of means for changing the timing of the valves without changing the duration of opening and without affecting the magnitude of the valve lift
- F01L1/344—Valve-gear or valve arrangements, e.g. lift-valve gear characterised by the provision of means for changing the timing of the valves without changing the duration of opening and without affecting the magnitude of the valve lift changing the angular relationship between crankshaft and camshaft, e.g. using helicoidal gear
- F01L1/3442—Valve-gear or valve arrangements, e.g. lift-valve gear characterised by the provision of means for changing the timing of the valves without changing the duration of opening and without affecting the magnitude of the valve lift changing the angular relationship between crankshaft and camshaft, e.g. using helicoidal gear using hydraulic chambers with variable volume to transmit the rotating force
-
- F—MECHANICAL ENGINEERING; LIGHTING; HEATING; WEAPONS; BLASTING
- F01—MACHINES OR ENGINES IN GENERAL; ENGINE PLANTS IN GENERAL; STEAM ENGINES
- F01L—CYCLICALLY OPERATING VALVES FOR MACHINES OR ENGINES
- F01L1/00—Valve-gear or valve arrangements, e.g. lift-valve gear
- F01L1/02—Valve drive
- F01L1/04—Valve drive by means of cams, camshafts, cam discs, eccentrics or the like
- F01L1/047—Camshafts
- F01L2001/0476—Camshaft bearings
-
- F—MECHANICAL ENGINEERING; LIGHTING; HEATING; WEAPONS; BLASTING
- F01—MACHINES OR ENGINES IN GENERAL; ENGINE PLANTS IN GENERAL; STEAM ENGINES
- F01L—CYCLICALLY OPERATING VALVES FOR MACHINES OR ENGINES
- F01L1/00—Valve-gear or valve arrangements, e.g. lift-valve gear
- F01L1/34—Valve-gear or valve arrangements, e.g. lift-valve gear characterised by the provision of means for changing the timing of the valves without changing the duration of opening and without affecting the magnitude of the valve lift
- F01L1/344—Valve-gear or valve arrangements, e.g. lift-valve gear characterised by the provision of means for changing the timing of the valves without changing the duration of opening and without affecting the magnitude of the valve lift changing the angular relationship between crankshaft and camshaft, e.g. using helicoidal gear
- F01L1/3442—Valve-gear or valve arrangements, e.g. lift-valve gear characterised by the provision of means for changing the timing of the valves without changing the duration of opening and without affecting the magnitude of the valve lift changing the angular relationship between crankshaft and camshaft, e.g. using helicoidal gear using hydraulic chambers with variable volume to transmit the rotating force
- F01L2001/34423—Details relating to the hydraulic feeding circuit
- F01L2001/34426—Oil control valves
- F01L2001/34433—Location oil control valves
-
- F—MECHANICAL ENGINEERING; LIGHTING; HEATING; WEAPONS; BLASTING
- F01—MACHINES OR ENGINES IN GENERAL; ENGINE PLANTS IN GENERAL; STEAM ENGINES
- F01L—CYCLICALLY OPERATING VALVES FOR MACHINES OR ENGINES
- F01L1/00—Valve-gear or valve arrangements, e.g. lift-valve gear
- F01L1/34—Valve-gear or valve arrangements, e.g. lift-valve gear characterised by the provision of means for changing the timing of the valves without changing the duration of opening and without affecting the magnitude of the valve lift
- F01L1/344—Valve-gear or valve arrangements, e.g. lift-valve gear characterised by the provision of means for changing the timing of the valves without changing the duration of opening and without affecting the magnitude of the valve lift changing the angular relationship between crankshaft and camshaft, e.g. using helicoidal gear
- F01L1/3442—Valve-gear or valve arrangements, e.g. lift-valve gear characterised by the provision of means for changing the timing of the valves without changing the duration of opening and without affecting the magnitude of the valve lift changing the angular relationship between crankshaft and camshaft, e.g. using helicoidal gear using hydraulic chambers with variable volume to transmit the rotating force
- F01L2001/34423—Details relating to the hydraulic feeding circuit
- F01L2001/34446—Fluid accumulators for the feeding circuit
-
- F—MECHANICAL ENGINEERING; LIGHTING; HEATING; WEAPONS; BLASTING
- F01—MACHINES OR ENGINES IN GENERAL; ENGINE PLANTS IN GENERAL; STEAM ENGINES
- F01L—CYCLICALLY OPERATING VALVES FOR MACHINES OR ENGINES
- F01L1/00—Valve-gear or valve arrangements, e.g. lift-valve gear
- F01L1/34—Valve-gear or valve arrangements, e.g. lift-valve gear characterised by the provision of means for changing the timing of the valves without changing the duration of opening and without affecting the magnitude of the valve lift
- F01L1/344—Valve-gear or valve arrangements, e.g. lift-valve gear characterised by the provision of means for changing the timing of the valves without changing the duration of opening and without affecting the magnitude of the valve lift changing the angular relationship between crankshaft and camshaft, e.g. using helicoidal gear
- F01L1/3442—Valve-gear or valve arrangements, e.g. lift-valve gear characterised by the provision of means for changing the timing of the valves without changing the duration of opening and without affecting the magnitude of the valve lift changing the angular relationship between crankshaft and camshaft, e.g. using helicoidal gear using hydraulic chambers with variable volume to transmit the rotating force
- F01L2001/3445—Details relating to the hydraulic means for changing the angular relationship
- F01L2001/34453—Locking means between driving and driven members
-
- F—MECHANICAL ENGINEERING; LIGHTING; HEATING; WEAPONS; BLASTING
- F01—MACHINES OR ENGINES IN GENERAL; ENGINE PLANTS IN GENERAL; STEAM ENGINES
- F01L—CYCLICALLY OPERATING VALVES FOR MACHINES OR ENGINES
- F01L1/00—Valve-gear or valve arrangements, e.g. lift-valve gear
- F01L1/34—Valve-gear or valve arrangements, e.g. lift-valve gear characterised by the provision of means for changing the timing of the valves without changing the duration of opening and without affecting the magnitude of the valve lift
- F01L1/344—Valve-gear or valve arrangements, e.g. lift-valve gear characterised by the provision of means for changing the timing of the valves without changing the duration of opening and without affecting the magnitude of the valve lift changing the angular relationship between crankshaft and camshaft, e.g. using helicoidal gear
- F01L1/3442—Valve-gear or valve arrangements, e.g. lift-valve gear characterised by the provision of means for changing the timing of the valves without changing the duration of opening and without affecting the magnitude of the valve lift changing the angular relationship between crankshaft and camshaft, e.g. using helicoidal gear using hydraulic chambers with variable volume to transmit the rotating force
- F01L2001/3445—Details relating to the hydraulic means for changing the angular relationship
- F01L2001/34453—Locking means between driving and driven members
- F01L2001/34456—Locking in only one position
-
- F—MECHANICAL ENGINEERING; LIGHTING; HEATING; WEAPONS; BLASTING
- F01—MACHINES OR ENGINES IN GENERAL; ENGINE PLANTS IN GENERAL; STEAM ENGINES
- F01L—CYCLICALLY OPERATING VALVES FOR MACHINES OR ENGINES
- F01L1/00—Valve-gear or valve arrangements, e.g. lift-valve gear
- F01L1/34—Valve-gear or valve arrangements, e.g. lift-valve gear characterised by the provision of means for changing the timing of the valves without changing the duration of opening and without affecting the magnitude of the valve lift
- F01L1/344—Valve-gear or valve arrangements, e.g. lift-valve gear characterised by the provision of means for changing the timing of the valves without changing the duration of opening and without affecting the magnitude of the valve lift changing the angular relationship between crankshaft and camshaft, e.g. using helicoidal gear
- F01L1/3442—Valve-gear or valve arrangements, e.g. lift-valve gear characterised by the provision of means for changing the timing of the valves without changing the duration of opening and without affecting the magnitude of the valve lift changing the angular relationship between crankshaft and camshaft, e.g. using helicoidal gear using hydraulic chambers with variable volume to transmit the rotating force
- F01L2001/3445—Details relating to the hydraulic means for changing the angular relationship
- F01L2001/34453—Locking means between driving and driven members
- F01L2001/34469—Lock movement parallel to camshaft axis
Landscapes
- Engineering & Computer Science (AREA)
- Mechanical Engineering (AREA)
- General Engineering & Computer Science (AREA)
- Valve Device For Special Equipments (AREA)
Abstract
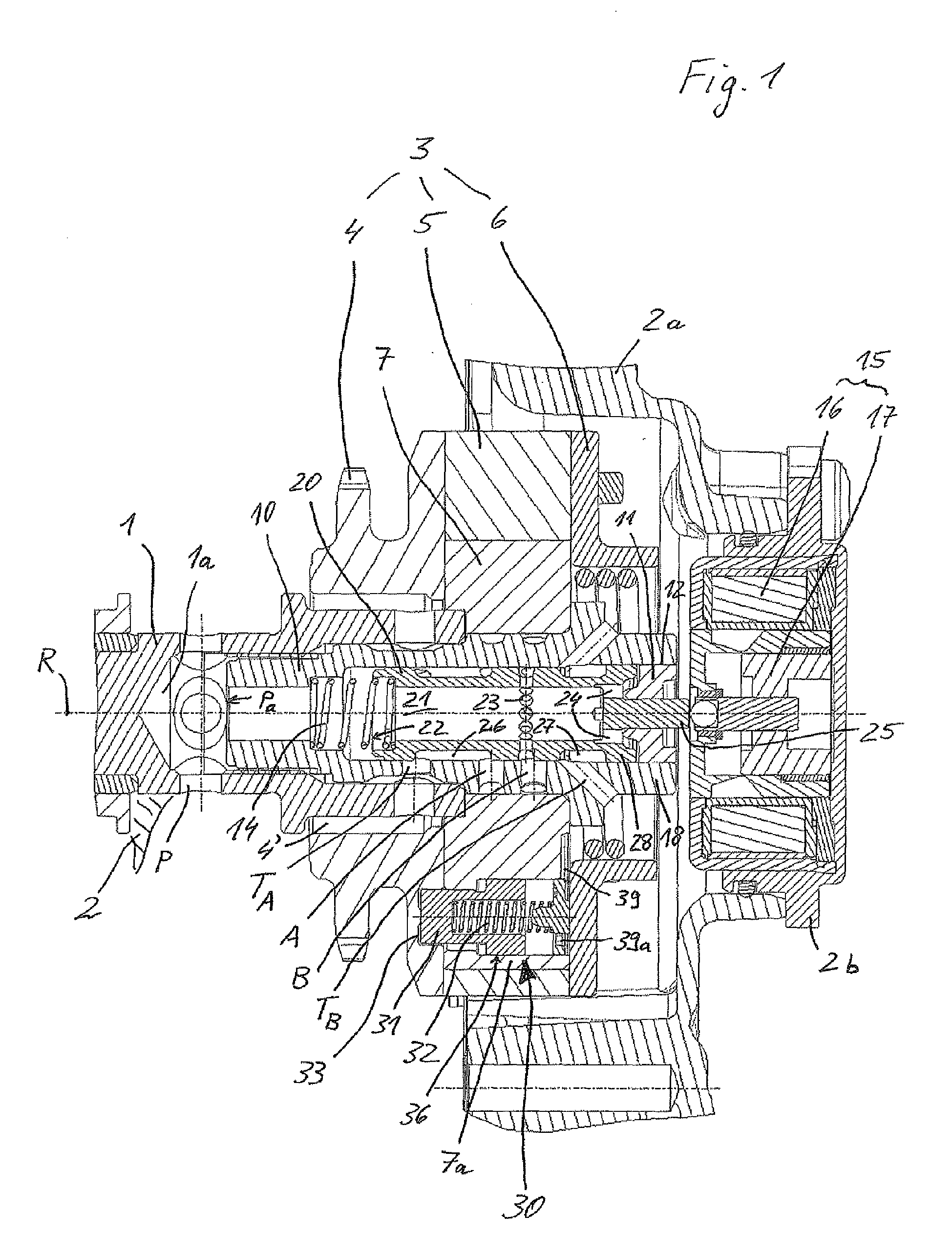
Phasensteller zur Verstellung der Drehwinkelposition einer Nockenwelle relativ zu einer Kurbelwelle einer Brennkraftmaschine, der Phasensteller umfassend:
einen von der Kurbelwelle drehantreibbaren Stator (3) und einen Rotor (7),
eine Frühstellkammer (8) zur Erzeugung eines auf den Rotor (7) relativ zum Stator (3) in Richtung Voreilung wirkenden Drehmoments und eine Spätstellkammer (9) zur Erzeugung eines auf den Rotor (7) relativ zum Stator (3) in Richtung Nacheilung wirkenden Drehmoments,
einen Verriegelungspin (60; 70; 100), der an einem aus Stator (3) und Rotor (7) in eine Ver- und
Entriegelungsrichtung (± L) in und aus einem Verriegelungseingriff hin und her beweglich abgestützt und durch Beaufschlagung mit dem Druckfluid gegen Federkraft aus dem Verriegelungseingriff bewegbar ist,
und eine von dem anderen aus Stator (3) und Rotor (7) gebildete Aufnahme (80; 90; 110), in die der Verriegelungspin (60; 70; 100) im Verriegelungseingriff mit einem bis zu einem freien Ende des Verriegelungspins (60; 70; 100) reichenden vorderen Pinabschnitt (61; 71; 101) und einem vom freien Ende entfernten hinteren Pinabschnitt (62; 72; 102) eingreift und dadurch den Rotor (7) gegen ein Verdrehen relativ zum Stator (3) blockiert,
wobei der hintere Pinabschnitt (62; 72; 102) eine im Verriegelungseingriff in die Aufnahme (80; 90; 110) eingreifende, bis zu einem Öffnungsrand (83; 93; 113) der Aufnahme (80; 90; 110) gemessene Länge (L62; L72; L102) aufweist, die höchstens fünfmal, vorzugsweise höchstens dreimal oder höchstens halb so groß wie die Länge (L61; L71; L101) des vorderen Pinabschitts (61; 71; 101) ist, und die Aufnahme (80; 90; 110) mit jeweils korrespondierender Länge einen im Verriegelungseingriff mit dem vorderen Pinabschnitt (61; 71; 101) überlappenden unteren Aufnahmeabschnitt (81; 31; 111) und einen im Verriegelungseingriff mit dem hinteren Pinabschnitt (62; 72; 102) überlappenden, den Öffnungsrand (83; 93; 113) aufweisenden oberen Aufnahmeabschnitt (82; 92; 112) aufweist.Phase adjuster for adjusting the rotational angular position of a camshaft relative to a crankshaft of an internal combustion engine, the phaser comprises:
a rotatably driven by the crankshaft stator (3) and a rotor (7),
a Frühstellkammer (8) for generating a on the rotor (7) relative to the stator (3) acting in the direction of advance torque and a late setting chamber (9) for generating a on the rotor (7) relative to the stator (3) in the direction of retardation torque
a locking pin (60; 70; 100) connected to one of stator (3) and rotor (7) in a supply and
Unlocking direction (± L) is reciprocally movably supported in and out of a locking engagement and is movable out of the locking engagement by application of the pressure fluid against spring force,
and a receptacle (80; 90; 110) formed by the other one of the stator (3) and rotor (7) into which the locking pin (60; 70; 100) is locked in engagement with a free end of the locking pin (60; 70; 100) engages the front pin portion (61; 71; 101) and a rear pin portion (62; 72; 102) remote from the free end and thereby blocks the rotor (7) from rotating relative to the stator (3).
wherein the rearward pin portion (62; 72; 102) engages a length (L. 1) engaged in locking engagement with the receptacle (80; 90; 110) and extending to an opening edge (83; 93; 113) of the receptacle (80; 62; L 72; L 102) which is at most five times, preferably at most three, or at most half as great as the length (L 61; L 71; L 101) of the front Pinabschitts (61; 71; 101), and recording (80; 90; 110) each having a respective length, a lower receiving portion (81; 31; 111) overlapping in locking engagement with the front pin portion (61; 71; 101) and in locking engagement with the rear pin portion (62; 72; 102). has overlapping, the opening edge (83; 93; 113) having the upper receiving portion (82; 92; 112).
Entweder weist der vordere Pinabschnitt (61; 101) an einem äußeren Umfang zur Ver- und Entriegelungsrichtung (± L) eine Neigung (α) auf, die über die gesamte Länge (L61; L101) des vorderen Pinabschnitts (61; 101) so groß ist, dass der Rotor (7) nur durch den Eingriff des vorderen Pinabschnitts (61; 101) nicht blockierbar ist, und der Eingriff des hinteren Pinabschnitts (62; 102) die Blockierung bewirkt,
oder der obere Aufnahmeabschnitt (92) weist an einem inneren Umfang zur Ver- und Entriegelungsrichtung (± L) eine Neigung (β) auf, die über die gesamte Länge (L72) des oberen Aufnahmeabschnitts (92) so groß ist, dass der Rotor (7) nur durch Eingriff des vorderen Pinabschnitts (71) in den oberen Aufnahmeabschnitt (92) nicht blockierbar ist, und der Eingriff des vorderen Pinabschnitts (71) in den unteren Aufnahmeabschnitt (91) die Blockierung bewirkt.
Either the front pin portion (61, 101) has an inclination (α) on an outer circumference of the locking and unlocking direction (± L), which extends over the entire length (L 61 , L 101 ) of the front pin portion (61, 101). is so large that the rotor (7) can not be blocked only by the engagement of the front pin portion (61; 101), and the engagement of the rear pin portion (62; 102) causes the locking,
or the upper receiving portion (92) has an inclination (β) at an inner circumference of the locking and unlocking direction (± L), which is so large over the entire length (L 72 ) of the upper receiving portion (92) that the rotor (7) is not lockable only by engagement of the front pin portion (71) in the upper receiving portion (92), and the engagement of the front pin portion (71) in the lower receiving portion (91) causes the blockage.
Applications Claiming Priority (1)
| Application Number | Priority Date | Filing Date | Title |
|---|---|---|---|
| DE201110004539 DE102011004539A1 (en) | 2011-02-22 | 2011-02-22 | Camshaft phaser with improved locking device |
Publications (3)
| Publication Number | Publication Date |
|---|---|
| EP2492459A2 EP2492459A2 (en) | 2012-08-29 |
| EP2492459A3 true EP2492459A3 (en) | 2013-01-23 |
| EP2492459B1 EP2492459B1 (en) | 2014-12-10 |
Family
ID=45656466
Family Applications (1)
| Application Number | Title | Priority Date | Filing Date |
|---|---|---|---|
| EP12156574.1A Not-in-force EP2492459B1 (en) | 2011-02-22 | 2012-02-22 | Cam shaft phase adjuster with improved locking device |
Country Status (2)
| Country | Link |
|---|---|
| EP (1) | EP2492459B1 (en) |
| DE (1) | DE102011004539A1 (en) |
Families Citing this family (10)
| Publication number | Priority date | Publication date | Assignee | Title |
|---|---|---|---|---|
| DE102011076652B4 (en) | 2011-05-27 | 2017-06-01 | Schwäbische Hüttenwerke Automotive GmbH | Device for adjusting the relative angular position of nested camshafts |
| DE102011084059B4 (en) | 2011-10-05 | 2016-12-08 | Schwäbische Hüttenwerke Automotive GmbH | Control valve with integrated filter and camshaft phaser with the control valve |
| DE102012213002A1 (en) | 2012-07-24 | 2014-01-30 | Schwäbische Hüttenwerke Automotive GmbH | Camshaft phaser with sealing sleeve |
| FR3001255B1 (en) * | 2013-01-24 | 2016-07-29 | Delphi Automotive Systems Lux | CAMSHAFT DEHASTER |
| DE102013204869A1 (en) * | 2013-03-20 | 2014-10-09 | Schaeffler Technologies Gmbh & Co. Kg | Control valve for a central valve and manufacturing method for a control piston of a central valve |
| DE102013219075B4 (en) | 2013-09-23 | 2020-11-26 | Schaeffler Technologies AG & Co. KG | Multi-locking of a camshaft adjuster |
| DE102013219078B4 (en) * | 2013-09-23 | 2021-02-18 | Schaeffler Technologies AG & Co. KG | Multi-locking of a camshaft adjuster |
| DE102014003933A1 (en) | 2014-03-20 | 2015-09-24 | Gkn Sinter Metals Engineering Gmbh | Variable camshaft adjuster with locking disc, locking disc and method of making the same |
| CN114396239B (en) * | 2022-01-29 | 2023-06-13 | 深圳大学 | Pressure-preserving and gas-preserving coring device and high-pressure pipe safe pressure relief and sealing drainage transfer sleeve |
| EP4332356A1 (en) * | 2022-09-01 | 2024-03-06 | Mechadyne International Ltd. | Mechanical locking pin assembly |
Citations (4)
| Publication number | Priority date | Publication date | Assignee | Title |
|---|---|---|---|---|
| DE19825288A1 (en) * | 1997-06-05 | 1998-12-10 | Aisin Seiki | Valve adjustment control apparatus for IC engine |
| EP1008729A2 (en) * | 1998-12-07 | 2000-06-14 | Mitsubishi Denki Kabushiki Kaisha | A vane type hydraulic actuator |
| DE10150856A1 (en) * | 2001-10-15 | 2003-04-24 | Ina Schaeffler Kg | Device for changing the timing of gas exchange valves of an internal combustion engine, in particular a rotary piston adjusting device for adjusting the angle of rotation of a camshaft relative to a crankshaft |
| WO2005049976A1 (en) * | 2003-11-21 | 2005-06-02 | Schaeffler Kg | Hydraulic camshaft adjuster, and method for the operation thereof |
Family Cites Families (8)
| Publication number | Priority date | Publication date | Assignee | Title |
|---|---|---|---|---|
| US5823152A (en) | 1995-06-14 | 1998-10-20 | Nippondenso Co., Ltd. | Control apparatus for varying a rotational or angular phase between two rotational shafts, preferably applicable to a valve timing control apparatus for an internal combustion engine |
| EP2320037B8 (en) * | 1996-03-28 | 2013-11-13 | Aisin Seiki Kabushiki Kaisha | Camshaft phasing device |
| DE102004028015A1 (en) | 2004-06-08 | 2006-01-19 | Daimlerchrysler Ag | Hydraulic rotary motor used in motor vehicle, has blocking device arranged and fitted in taper portion, and led in one rotor through guide for interlocking two rotors together |
| DE102005004281B3 (en) * | 2005-01-28 | 2006-01-05 | Hydraulik-Ring Gmbh | Camshaft setter with no-clearance locking for internal combustion engine is in form of slide valve with two sectors, between which power transfer takes place |
| DE102005034320B4 (en) * | 2005-07-22 | 2017-09-07 | Schaeffler Technologies AG & Co. KG | Locking device for a camshaft adjuster |
| DE102005051692A1 (en) | 2005-10-28 | 2007-05-10 | Schaeffler Kg | Camshaft adjuster with locking device |
| DE102007020431B4 (en) | 2007-04-27 | 2010-07-22 | Schwäbische Hüttenwerke Automotive GmbH & Co. KG | Camshaft phaser and vacuum pump for an internal combustion engine |
| DE102008025506A1 (en) * | 2008-05-28 | 2009-12-03 | Schaeffler Kg | Camshaft adjusting device for internal combustion engine, has insertion element provided for wear protection, and forming thin separating wall that is arranged between output part and side part |
-
2011
- 2011-02-22 DE DE201110004539 patent/DE102011004539A1/en not_active Ceased
-
2012
- 2012-02-22 EP EP12156574.1A patent/EP2492459B1/en not_active Not-in-force
Patent Citations (4)
| Publication number | Priority date | Publication date | Assignee | Title |
|---|---|---|---|---|
| DE19825288A1 (en) * | 1997-06-05 | 1998-12-10 | Aisin Seiki | Valve adjustment control apparatus for IC engine |
| EP1008729A2 (en) * | 1998-12-07 | 2000-06-14 | Mitsubishi Denki Kabushiki Kaisha | A vane type hydraulic actuator |
| DE10150856A1 (en) * | 2001-10-15 | 2003-04-24 | Ina Schaeffler Kg | Device for changing the timing of gas exchange valves of an internal combustion engine, in particular a rotary piston adjusting device for adjusting the angle of rotation of a camshaft relative to a crankshaft |
| WO2005049976A1 (en) * | 2003-11-21 | 2005-06-02 | Schaeffler Kg | Hydraulic camshaft adjuster, and method for the operation thereof |
Also Published As
| Publication number | Publication date |
|---|---|
| DE102011004539A1 (en) | 2012-08-23 |
| EP2492459B1 (en) | 2014-12-10 |
| EP2492459A2 (en) | 2012-08-29 |
Similar Documents
| Publication | Publication Date | Title |
|---|---|---|
| EP2492459A3 (en) | Cam shaft phase adjuster with improved locking device | |
| EP2527607A3 (en) | Device for adjusting a rotation angle position of nested camshafts relative to one another | |
| EP1762706A3 (en) | Vane-type cam phaser having increased rotational authority, intermediate position locking, and dedicated oil supply | |
| EP2363247A3 (en) | Torque tool | |
| DE102012203025A1 (en) | ROCKER ASSEMBLY WITH GAME ADJUSTMENT ARM AND ASSEMBLY PROCEDURE | |
| DE102014107459A1 (en) | Valve control system with an adjustable camshaft | |
| DE60302926T2 (en) | Locking pin of a camshaft adjuster with curved venting path for generating a hydraulic delay | |
| DE102014212615A1 (en) | Phaser | |
| EP2500533A3 (en) | Combustion engine with mixed cam shaft | |
| DE102011078818A1 (en) | Cam shaft adjustment system for internal combustion engine, comprises outer camshaft, in which inner camshaft is arranged concentric to outer camshaft, and rotation changing element is directly or indirectly attached to cylinder head | |
| JP5711202B2 (en) | Lock pin for variable valve timing mechanism | |
| DE102011079609A1 (en) | Phaser | |
| EP2476824A3 (en) | Closing device | |
| EP2824260A3 (en) | Door handle fitting with a digital door fitting with adjustable inclination of the handle | |
| WO2013029814A1 (en) | Camshaft adjuster | |
| DE102010052426A1 (en) | Pump gear crank | |
| DE102011086162A1 (en) | Slide cam shaft for variable valve drive of internal combustion engine, has cam element that is centered with respect to base shaft directly through the radial region which is provided between cam element and base shaft | |
| EP2441945A3 (en) | Carburettor | |
| WO2014146625A1 (en) | Camshaft adjuster | |
| EP3300510B1 (en) | Valve arrangement with slow rotating rotary valve for internal combustion engine | |
| DE698244C (en) | Starting decompression device | |
| DE102016217356A1 (en) | Device for the temporary rotationally fixed locking of at least one shaft | |
| DE102013210495B4 (en) | Camshaft adjuster | |
| DE102009036392A1 (en) | Variable valve type inter-locking pin type vehicle and continuous variable valve timing device using the unit | |
| DE102010009392A1 (en) | Device for the variable adjustment of the timing of gas exchange valves of an internal combustion engine |
Legal Events
| Date | Code | Title | Description |
|---|---|---|---|
| PUAI | Public reference made under article 153(3) epc to a published international application that has entered the european phase |
Free format text: ORIGINAL CODE: 0009012 |
|
| AK | Designated contracting states |
Kind code of ref document: A2 Designated state(s): AL AT BE BG CH CY CZ DE DK EE ES FI FR GB GR HR HU IE IS IT LI LT LU LV MC MK MT NL NO PL PT RO RS SE SI SK SM TR |
|
| AX | Request for extension of the european patent |
Extension state: BA ME |
|
| PUAL | Search report despatched |
Free format text: ORIGINAL CODE: 0009013 |
|
| AK | Designated contracting states |
Kind code of ref document: A3 Designated state(s): AL AT BE BG CH CY CZ DE DK EE ES FI FR GB GR HR HU IE IS IT LI LT LU LV MC MK MT NL NO PL PT RO RS SE SI SK SM TR |
|
| AX | Request for extension of the european patent |
Extension state: BA ME |
|
| RIC1 | Information provided on ipc code assigned before grant |
Ipc: F01L 1/344 20060101AFI20121217BHEP |
|
| 17P | Request for examination filed |
Effective date: 20130719 |
|
| RBV | Designated contracting states (corrected) |
Designated state(s): AL AT BE BG CH CY CZ DE DK EE ES FI FR GB GR HR HU IE IS IT LI LT LU LV MC MK MT NL NO PL PT RO RS SE SI SK SM TR |
|
| REG | Reference to a national code |
Ref country code: DE Ref legal event code: R079 Ref document number: 502012001760 Country of ref document: DE Free format text: PREVIOUS MAIN CLASS: F01L0001344000 Ipc: F01L0001047000 |
|
| RIC1 | Information provided on ipc code assigned before grant |
Ipc: F01L 1/047 20060101AFI20131015BHEP Ipc: F01L 1/344 20060101ALI20131015BHEP |
|
| GRAP | Despatch of communication of intention to grant a patent |
Free format text: ORIGINAL CODE: EPIDOSNIGR1 |
|
| INTG | Intention to grant announced |
Effective date: 20140307 |
|
| GRAS | Grant fee paid |
Free format text: ORIGINAL CODE: EPIDOSNIGR3 |
|
| GRAP | Despatch of communication of intention to grant a patent |
Free format text: ORIGINAL CODE: EPIDOSNIGR1 |
|
| GRAA | (expected) grant |
Free format text: ORIGINAL CODE: 0009210 |
|
| INTG | Intention to grant announced |
Effective date: 20141029 |
|
| AK | Designated contracting states |
Kind code of ref document: B1 Designated state(s): AL AT BE BG CH CY CZ DE DK EE ES FI FR GB GR HR HU IE IS IT LI LT LU LV MC MK MT NL NO PL PT RO RS SE SI SK SM TR |
|
| REG | Reference to a national code |
Ref country code: GB Ref legal event code: FG4D Free format text: NOT ENGLISH |
|
| REG | Reference to a national code |
Ref country code: CH Ref legal event code: EP |
|
| REG | Reference to a national code |
Ref country code: IE Ref legal event code: FG4D Free format text: LANGUAGE OF EP DOCUMENT: GERMAN |
|
| REG | Reference to a national code |
Ref country code: AT Ref legal event code: REF Ref document number: 700770 Country of ref document: AT Kind code of ref document: T Effective date: 20150115 |
|
| REG | Reference to a national code |
Ref country code: DE Ref legal event code: R096 Ref document number: 502012001760 Country of ref document: DE Effective date: 20150122 |
|
| REG | Reference to a national code |
Ref country code: NL Ref legal event code: VDEP Effective date: 20141210 |
|
| REG | Reference to a national code |
Ref country code: NL Ref legal event code: VDEP Effective date: 20141210 |
|
| PG25 | Lapsed in a contracting state [announced via postgrant information from national office to epo] |
Ref country code: NO Free format text: LAPSE BECAUSE OF FAILURE TO SUBMIT A TRANSLATION OF THE DESCRIPTION OR TO PAY THE FEE WITHIN THE PRESCRIBED TIME-LIMIT Effective date: 20150310 Ref country code: ES Free format text: LAPSE BECAUSE OF FAILURE TO SUBMIT A TRANSLATION OF THE DESCRIPTION OR TO PAY THE FEE WITHIN THE PRESCRIBED TIME-LIMIT Effective date: 20141210 Ref country code: LT Free format text: LAPSE BECAUSE OF FAILURE TO SUBMIT A TRANSLATION OF THE DESCRIPTION OR TO PAY THE FEE WITHIN THE PRESCRIBED TIME-LIMIT Effective date: 20141210 Ref country code: FI Free format text: LAPSE BECAUSE OF FAILURE TO SUBMIT A TRANSLATION OF THE DESCRIPTION OR TO PAY THE FEE WITHIN THE PRESCRIBED TIME-LIMIT Effective date: 20141210 |
|
| REG | Reference to a national code |
Ref country code: LT Ref legal event code: MG4D |
|
| PG25 | Lapsed in a contracting state [announced via postgrant information from national office to epo] |
Ref country code: SE Free format text: LAPSE BECAUSE OF FAILURE TO SUBMIT A TRANSLATION OF THE DESCRIPTION OR TO PAY THE FEE WITHIN THE PRESCRIBED TIME-LIMIT Effective date: 20141210 Ref country code: GR Free format text: LAPSE BECAUSE OF FAILURE TO SUBMIT A TRANSLATION OF THE DESCRIPTION OR TO PAY THE FEE WITHIN THE PRESCRIBED TIME-LIMIT Effective date: 20150311 Ref country code: LV Free format text: LAPSE BECAUSE OF FAILURE TO SUBMIT A TRANSLATION OF THE DESCRIPTION OR TO PAY THE FEE WITHIN THE PRESCRIBED TIME-LIMIT Effective date: 20141210 Ref country code: RS Free format text: LAPSE BECAUSE OF FAILURE TO SUBMIT A TRANSLATION OF THE DESCRIPTION OR TO PAY THE FEE WITHIN THE PRESCRIBED TIME-LIMIT Effective date: 20141210 Ref country code: HR Free format text: LAPSE BECAUSE OF FAILURE TO SUBMIT A TRANSLATION OF THE DESCRIPTION OR TO PAY THE FEE WITHIN THE PRESCRIBED TIME-LIMIT Effective date: 20141210 |
|
| PG25 | Lapsed in a contracting state [announced via postgrant information from national office to epo] |
Ref country code: NL Free format text: LAPSE BECAUSE OF FAILURE TO SUBMIT A TRANSLATION OF THE DESCRIPTION OR TO PAY THE FEE WITHIN THE PRESCRIBED TIME-LIMIT Effective date: 20141210 |
|
| PG25 | Lapsed in a contracting state [announced via postgrant information from national office to epo] |
Ref country code: RO Free format text: LAPSE BECAUSE OF FAILURE TO SUBMIT A TRANSLATION OF THE DESCRIPTION OR TO PAY THE FEE WITHIN THE PRESCRIBED TIME-LIMIT Effective date: 20141210 Ref country code: PT Free format text: LAPSE BECAUSE OF FAILURE TO SUBMIT A TRANSLATION OF THE DESCRIPTION OR TO PAY THE FEE WITHIN THE PRESCRIBED TIME-LIMIT Effective date: 20150410 Ref country code: EE Free format text: LAPSE BECAUSE OF FAILURE TO SUBMIT A TRANSLATION OF THE DESCRIPTION OR TO PAY THE FEE WITHIN THE PRESCRIBED TIME-LIMIT Effective date: 20141210 Ref country code: SK Free format text: LAPSE BECAUSE OF FAILURE TO SUBMIT A TRANSLATION OF THE DESCRIPTION OR TO PAY THE FEE WITHIN THE PRESCRIBED TIME-LIMIT Effective date: 20141210 Ref country code: CZ Free format text: LAPSE BECAUSE OF FAILURE TO SUBMIT A TRANSLATION OF THE DESCRIPTION OR TO PAY THE FEE WITHIN THE PRESCRIBED TIME-LIMIT Effective date: 20141210 |
|
| PG25 | Lapsed in a contracting state [announced via postgrant information from national office to epo] |
Ref country code: PL Free format text: LAPSE BECAUSE OF FAILURE TO SUBMIT A TRANSLATION OF THE DESCRIPTION OR TO PAY THE FEE WITHIN THE PRESCRIBED TIME-LIMIT Effective date: 20141210 Ref country code: IS Free format text: LAPSE BECAUSE OF FAILURE TO SUBMIT A TRANSLATION OF THE DESCRIPTION OR TO PAY THE FEE WITHIN THE PRESCRIBED TIME-LIMIT Effective date: 20150410 |
|
| REG | Reference to a national code |
Ref country code: DE Ref legal event code: R097 Ref document number: 502012001760 Country of ref document: DE |
|
| PG25 | Lapsed in a contracting state [announced via postgrant information from national office to epo] |
Ref country code: LU Free format text: LAPSE BECAUSE OF FAILURE TO SUBMIT A TRANSLATION OF THE DESCRIPTION OR TO PAY THE FEE WITHIN THE PRESCRIBED TIME-LIMIT Effective date: 20150222 |
|
| REG | Reference to a national code |
Ref country code: CH Ref legal event code: PL |
|
| PLBE | No opposition filed within time limit |
Free format text: ORIGINAL CODE: 0009261 |
|
| STAA | Information on the status of an ep patent application or granted ep patent |
Free format text: STATUS: NO OPPOSITION FILED WITHIN TIME LIMIT |
|
| PG25 | Lapsed in a contracting state [announced via postgrant information from national office to epo] |
Ref country code: DK Free format text: LAPSE BECAUSE OF FAILURE TO SUBMIT A TRANSLATION OF THE DESCRIPTION OR TO PAY THE FEE WITHIN THE PRESCRIBED TIME-LIMIT Effective date: 20141210 Ref country code: MC Free format text: LAPSE BECAUSE OF FAILURE TO SUBMIT A TRANSLATION OF THE DESCRIPTION OR TO PAY THE FEE WITHIN THE PRESCRIBED TIME-LIMIT Effective date: 20141210 Ref country code: LI Free format text: LAPSE BECAUSE OF NON-PAYMENT OF DUE FEES Effective date: 20150228 Ref country code: CH Free format text: LAPSE BECAUSE OF NON-PAYMENT OF DUE FEES Effective date: 20150228 |
|
| 26N | No opposition filed |
Effective date: 20150911 |
|
| REG | Reference to a national code |
Ref country code: IE Ref legal event code: MM4A |
|
| PG25 | Lapsed in a contracting state [announced via postgrant information from national office to epo] |
Ref country code: IT Free format text: LAPSE BECAUSE OF FAILURE TO SUBMIT A TRANSLATION OF THE DESCRIPTION OR TO PAY THE FEE WITHIN THE PRESCRIBED TIME-LIMIT Effective date: 20141210 |
|
| PG25 | Lapsed in a contracting state [announced via postgrant information from national office to epo] |
Ref country code: IE Free format text: LAPSE BECAUSE OF NON-PAYMENT OF DUE FEES Effective date: 20150222 |
|
| REG | Reference to a national code |
Ref country code: FR Ref legal event code: PLFP Year of fee payment: 5 |
|
| PG25 | Lapsed in a contracting state [announced via postgrant information from national office to epo] |
Ref country code: SI Free format text: LAPSE BECAUSE OF FAILURE TO SUBMIT A TRANSLATION OF THE DESCRIPTION OR TO PAY THE FEE WITHIN THE PRESCRIBED TIME-LIMIT Effective date: 20141210 |
|
| PGFP | Annual fee paid to national office [announced via postgrant information from national office to epo] |
Ref country code: FR Payment date: 20160218 Year of fee payment: 5 |
|
| GBPC | Gb: european patent ceased through non-payment of renewal fee |
Effective date: 20160222 |
|
| PG25 | Lapsed in a contracting state [announced via postgrant information from national office to epo] |
Ref country code: MT Free format text: LAPSE BECAUSE OF FAILURE TO SUBMIT A TRANSLATION OF THE DESCRIPTION OR TO PAY THE FEE WITHIN THE PRESCRIBED TIME-LIMIT Effective date: 20141210 |
|
| PG25 | Lapsed in a contracting state [announced via postgrant information from national office to epo] |
Ref country code: GB Free format text: LAPSE BECAUSE OF NON-PAYMENT OF DUE FEES Effective date: 20160222 |
|
| PG25 | Lapsed in a contracting state [announced via postgrant information from national office to epo] |
Ref country code: HU Free format text: LAPSE BECAUSE OF FAILURE TO SUBMIT A TRANSLATION OF THE DESCRIPTION OR TO PAY THE FEE WITHIN THE PRESCRIBED TIME-LIMIT; INVALID AB INITIO Effective date: 20120222 Ref country code: SM Free format text: LAPSE BECAUSE OF FAILURE TO SUBMIT A TRANSLATION OF THE DESCRIPTION OR TO PAY THE FEE WITHIN THE PRESCRIBED TIME-LIMIT Effective date: 20141210 Ref country code: BG Free format text: LAPSE BECAUSE OF FAILURE TO SUBMIT A TRANSLATION OF THE DESCRIPTION OR TO PAY THE FEE WITHIN THE PRESCRIBED TIME-LIMIT Effective date: 20141210 |
|
| PG25 | Lapsed in a contracting state [announced via postgrant information from national office to epo] |
Ref country code: CY Free format text: LAPSE BECAUSE OF FAILURE TO SUBMIT A TRANSLATION OF THE DESCRIPTION OR TO PAY THE FEE WITHIN THE PRESCRIBED TIME-LIMIT Effective date: 20141210 |
|
| PG25 | Lapsed in a contracting state [announced via postgrant information from national office to epo] |
Ref country code: BE Free format text: LAPSE BECAUSE OF NON-PAYMENT OF DUE FEES Effective date: 20150228 |
|
| PG25 | Lapsed in a contracting state [announced via postgrant information from national office to epo] |
Ref country code: TR Free format text: LAPSE BECAUSE OF FAILURE TO SUBMIT A TRANSLATION OF THE DESCRIPTION OR TO PAY THE FEE WITHIN THE PRESCRIBED TIME-LIMIT Effective date: 20141210 |
|
| REG | Reference to a national code |
Ref country code: FR Ref legal event code: ST Effective date: 20171031 |
|
| PG25 | Lapsed in a contracting state [announced via postgrant information from national office to epo] |
Ref country code: FR Free format text: LAPSE BECAUSE OF NON-PAYMENT OF DUE FEES Effective date: 20170228 |
|
| REG | Reference to a national code |
Ref country code: AT Ref legal event code: MM01 Ref document number: 700770 Country of ref document: AT Kind code of ref document: T Effective date: 20170222 |
|
| PG25 | Lapsed in a contracting state [announced via postgrant information from national office to epo] |
Ref country code: AT Free format text: LAPSE BECAUSE OF NON-PAYMENT OF DUE FEES Effective date: 20170222 |
|
| PG25 | Lapsed in a contracting state [announced via postgrant information from national office to epo] |
Ref country code: MK Free format text: LAPSE BECAUSE OF FAILURE TO SUBMIT A TRANSLATION OF THE DESCRIPTION OR TO PAY THE FEE WITHIN THE PRESCRIBED TIME-LIMIT Effective date: 20141210 |
|
| PG25 | Lapsed in a contracting state [announced via postgrant information from national office to epo] |
Ref country code: AL Free format text: LAPSE BECAUSE OF FAILURE TO SUBMIT A TRANSLATION OF THE DESCRIPTION OR TO PAY THE FEE WITHIN THE PRESCRIBED TIME-LIMIT Effective date: 20141210 |
|
| PGFP | Annual fee paid to national office [announced via postgrant information from national office to epo] |
Ref country code: DE Payment date: 20200219 Year of fee payment: 9 |
|
| REG | Reference to a national code |
Ref country code: DE Ref legal event code: R119 Ref document number: 502012001760 Country of ref document: DE |
|
| PG25 | Lapsed in a contracting state [announced via postgrant information from national office to epo] |
Ref country code: DE Free format text: LAPSE BECAUSE OF NON-PAYMENT OF DUE FEES Effective date: 20210901 |
