EP2492429A3 - Staff angle and building corner with staff angle - Google Patents
Staff angle and building corner with staff angle Download PDFInfo
- Publication number
- EP2492429A3 EP2492429A3 EP12155983.5A EP12155983A EP2492429A3 EP 2492429 A3 EP2492429 A3 EP 2492429A3 EP 12155983 A EP12155983 A EP 12155983A EP 2492429 A3 EP2492429 A3 EP 2492429A3
- Authority
- EP
- European Patent Office
- Prior art keywords
- extension
- base
- region
- component
- area
- Prior art date
- Legal status (The legal status is an assumption and is not a legal conclusion. Google has not performed a legal analysis and makes no representation as to the accuracy of the status listed.)
- Granted
Links
Classifications
-
- E—FIXED CONSTRUCTIONS
- E06—DOORS, WINDOWS, SHUTTERS, OR ROLLER BLINDS IN GENERAL; LADDERS
- E06B—FIXED OR MOVABLE CLOSURES FOR OPENINGS IN BUILDINGS, VEHICLES, FENCES OR LIKE ENCLOSURES IN GENERAL, e.g. DOORS, WINDOWS, BLINDS, GATES
- E06B1/00—Border constructions of openings in walls, floors, or ceilings; Frames to be rigidly mounted in such openings
- E06B1/62—Tightening or covering joints between the border of openings and the frame or between contiguous frames
-
- E—FIXED CONSTRUCTIONS
- E06—DOORS, WINDOWS, SHUTTERS, OR ROLLER BLINDS IN GENERAL; LADDERS
- E06B—FIXED OR MOVABLE CLOSURES FOR OPENINGS IN BUILDINGS, VEHICLES, FENCES OR LIKE ENCLOSURES IN GENERAL, e.g. DOORS, WINDOWS, BLINDS, GATES
- E06B1/00—Border constructions of openings in walls, floors, or ceilings; Frames to be rigidly mounted in such openings
- E06B1/62—Tightening or covering joints between the border of openings and the frame or between contiguous frames
- E06B2001/624—Tightening or covering joints between the border of openings and the frame or between contiguous frames with parts to be embedded in the stucco layer or otherwise linked to this layer
Landscapes
- Engineering & Computer Science (AREA)
- Civil Engineering (AREA)
- Structural Engineering (AREA)
- Building Environments (AREA)
- Acyclic And Carbocyclic Compounds In Medicinal Compositions (AREA)
- Door And Window Frames Mounted To Openings (AREA)
Abstract
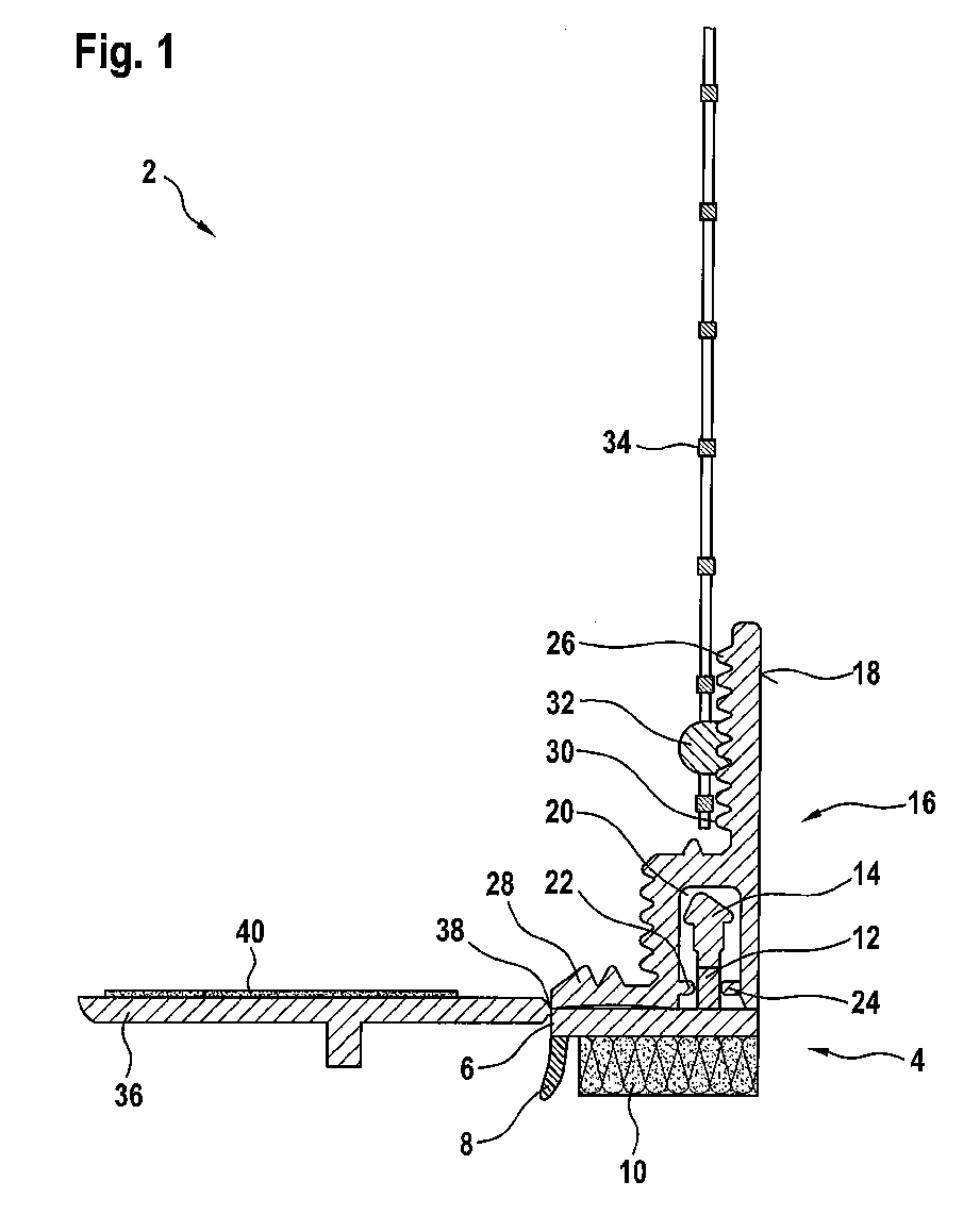
Eine erfindungsgemäße Anputzleiste (2) zur Platzierung an einem Übergang zwischen einem Bauteil eines Gebäudes (46), insbesondere einem Fenster- oder Türrahmen, einer Fensterbank, einem Balken, einer Metallverbindung oder eine Lisene, und einer Wärmedämmung und/oder einer Putzschicht, umfasst einen Basisbereich (4), mit dem die Anputzleiste (2) an dem Bauteil (46) befestigbar ist; und einen Vorderbereich (16), der zum Einputzen in die Putzschicht und/oder zur festen Verbindung mit der Wärmedämmung bestimmt ist und der eine Führungsverbindung mit dem Basisbereich (4) hat, die, gegebenenfalls nach Lösen eines Verbindungselements (38), eine Relativbewegung zu dem Basisbereich (4) zulässt. Die Führungsverbindung ist ausgebildet als ein mit dem Basisbereich (4) verbundener und von diesem in Richtung Vorderbereich und in eine Richtung im Wesentlichen senkrecht zur Haupterstreckungsrichtung des Bauteils wegstehender Fortsatz (12) und als ein diesen Fortsatz (12) wenigstens teilweise aufnehmender Aufnahmebereich (20) des Vorderbereichs (16). Dieser Aufnahmebereich (20) weist an seinem unterem, dem Basisbereich (4) zugewandten Abschnitt wenigstens einen Führungsvorsprung (22, 24) für den Fortsatz (12) auf, sodass bei einer Relativbewegung des Vorderbereichs (16) zu dem Basisbereich (4) in Richtung Abstandsänderung zwischen dem Vorderbereich (16) und dem Basisbereich (4) der Fortsatz (12) entlang eines Fortsatzwandbereichs an dem Führungsvorsprung (22, 24) geführt wird. Wenigstens ein Teil des Fortsatzes (12) weist ein weiches Kunststoffmaterial auf, um eine Relativbewegung des Vorderbereichs (16) zu dem Basisbereich (4) in einer Richtung parallel zur Haupterstreckungsrichtung des Bauteils (46) zu ermöglichen. An inventive cleaning strip (2) for placement at a transition between a component of a building (46), in particular a window or door frame, a window sill, a beam, a metal connection or a Lisene, and a thermal insulation and / or a plaster layer comprises a Base region (4), with which the plaster strip (2) on the component (46) can be fastened; and a front area (16) intended for plastering into the plaster layer and / or for firm connection with the thermal insulation and which has a guide connection with the base area (4), which, if appropriate after releasing a connecting element (38), moves relative to the base area (4) permits. The guide connection is formed as an extension (12) connected to the base region (4) and extending therefrom in the direction of the front region and in a direction substantially perpendicular to the main extension direction of the component, and as a receiving region (20) at least partially receiving this extension (12). of the front area (16). This receiving region (20) has at its lower, the base region (4) facing portion at least one guide projection (22, 24) for the extension (12), so at a relative movement of the front portion (16) to the base region (4) in the direction Distance change between the front portion (16) and the base portion (4) of the extension (12) along a continuation wall portion on the guide projection (22, 24) is guided. At least a portion of the extension (12) comprises a soft plastic material to allow relative movement of the front portion (16) to the base portion (4) in a direction parallel to the main extension direction of the component (46).
Priority Applications (1)
| Application Number | Priority Date | Filing Date | Title |
|---|---|---|---|
| PL12155983.5T PL2492429T6 (en) | 2011-02-25 | 2012-02-17 | Staff angle and building corner with staff angle |
Applications Claiming Priority (1)
| Application Number | Priority Date | Filing Date | Title |
|---|---|---|---|
| DE102011004764A DE102011004764A1 (en) | 2011-02-25 | 2011-02-25 | Plastering bar and building corner with plaster molding |
Publications (5)
| Publication Number | Publication Date |
|---|---|
| EP2492429A2 EP2492429A2 (en) | 2012-08-29 |
| EP2492429A3 true EP2492429A3 (en) | 2015-03-25 |
| EP2492429B1 EP2492429B1 (en) | 2016-12-28 |
| EP2492429B8 EP2492429B8 (en) | 2017-03-29 |
| EP2492429B3 EP2492429B3 (en) | 2024-02-21 |
Family
ID=45656072
Family Applications (1)
| Application Number | Title | Priority Date | Filing Date |
|---|---|---|---|
| EP12155983.5A Active EP2492429B3 (en) | 2011-02-25 | 2012-02-17 | Staff angle and building corner with staff angle |
Country Status (4)
| Country | Link |
|---|---|
| EP (1) | EP2492429B3 (en) |
| DE (1) | DE102011004764A1 (en) |
| HU (1) | HUE033505T2 (en) |
| PL (1) | PL2492429T6 (en) |
Families Citing this family (6)
| Publication number | Priority date | Publication date | Assignee | Title |
|---|---|---|---|---|
| DE202013104371U1 (en) | 2013-09-26 | 2013-10-09 | 3Ks Profile Gmbh | Profile connecting element |
| DE102020100251A1 (en) * | 2020-01-08 | 2021-07-08 | August Braun | Plaster strip and building transition with plaster strip |
| EP4092239A1 (en) * | 2021-05-17 | 2022-11-23 | STO SE & Co. KGaA | Plastering strip for a thermal insulation composite system, thermal insulation composite system and method for manufacturing a thermal insulation composite system |
| EP4446551B1 (en) * | 2023-04-11 | 2026-03-04 | K-Uni Kunststoffproduktions- und Handels-GmbH | Connection profile for components bordering plaster |
| DE102023135176A1 (en) * | 2023-12-14 | 2025-06-18 | Protektorwerk Florenz Maisch Gmbh & Co. Kg | plaster sealing strip |
| EP4707492A1 (en) | 2024-09-10 | 2026-03-11 | Braun, Magdalena | Plastering strip and building junction with plastering strip |
Citations (6)
| Publication number | Priority date | Publication date | Assignee | Title |
|---|---|---|---|---|
| EP0274640A2 (en) * | 1987-01-10 | 1988-07-20 | Werner Schlüter | Device for the execution of a transitional connection between two right-angled contiguous surfaces |
| DE19605467A1 (en) * | 1996-02-14 | 1997-08-21 | Braun August | Plastering strip for window frames, door frames or the like at the transition to plaster |
| DE20103282U1 (en) * | 2001-02-24 | 2001-05-31 | Wörner, Eckard, 72805 Lichtenstein | Reveal profile for fastening a covering material to a building opening |
| AT501438A1 (en) * | 2004-11-25 | 2006-09-15 | Peter Kassmannhuber | LOCATION CONNECTION PROFILE FOR COMPONENTS TO BE ADJUSTED TO PUTZ |
| EP1898022A1 (en) * | 2006-08-18 | 2008-03-12 | Richard Malcher | Profile strip for incorporating movements |
| EP1942237A2 (en) * | 2006-12-28 | 2008-07-09 | Peter Kassmannhuber | Two-piece plastering strip |
Family Cites Families (2)
| Publication number | Priority date | Publication date | Assignee | Title |
|---|---|---|---|---|
| AT501439B1 (en) * | 2004-12-29 | 2009-07-15 | Peter Kassmannhuber | LOCATION CONNECTION PROFILE FOR COMPONENTS TO BE ADJUSTED TO PUTT AND AN INSULATION LAYER |
| DE102007009945A1 (en) * | 2007-03-01 | 2008-09-04 | Tremco Illbruck Produktion Gmbh | Cleaning strip for door or window frames has a frame-fastening limb in a cross-section crosswise to the frame-fastening limb and bridge sections extending over a base section with a clearance from each other |
-
2011
- 2011-02-25 DE DE102011004764A patent/DE102011004764A1/en not_active Ceased
-
2012
- 2012-02-17 PL PL12155983.5T patent/PL2492429T6/en unknown
- 2012-02-17 HU HUE12155983A patent/HUE033505T2/en unknown
- 2012-02-17 EP EP12155983.5A patent/EP2492429B3/en active Active
Patent Citations (6)
| Publication number | Priority date | Publication date | Assignee | Title |
|---|---|---|---|---|
| EP0274640A2 (en) * | 1987-01-10 | 1988-07-20 | Werner Schlüter | Device for the execution of a transitional connection between two right-angled contiguous surfaces |
| DE19605467A1 (en) * | 1996-02-14 | 1997-08-21 | Braun August | Plastering strip for window frames, door frames or the like at the transition to plaster |
| DE20103282U1 (en) * | 2001-02-24 | 2001-05-31 | Wörner, Eckard, 72805 Lichtenstein | Reveal profile for fastening a covering material to a building opening |
| AT501438A1 (en) * | 2004-11-25 | 2006-09-15 | Peter Kassmannhuber | LOCATION CONNECTION PROFILE FOR COMPONENTS TO BE ADJUSTED TO PUTZ |
| EP1898022A1 (en) * | 2006-08-18 | 2008-03-12 | Richard Malcher | Profile strip for incorporating movements |
| EP1942237A2 (en) * | 2006-12-28 | 2008-07-09 | Peter Kassmannhuber | Two-piece plastering strip |
Also Published As
| Publication number | Publication date |
|---|---|
| PL2492429T3 (en) | 2017-06-30 |
| EP2492429B8 (en) | 2017-03-29 |
| HUE033505T2 (en) | 2017-12-28 |
| EP2492429B1 (en) | 2016-12-28 |
| EP2492429A2 (en) | 2012-08-29 |
| EP2492429B3 (en) | 2024-02-21 |
| DE102011004764A1 (en) | 2012-08-30 |
| PL2492429T6 (en) | 2024-05-13 |
Similar Documents
| Publication | Publication Date | Title |
|---|---|---|
| EP2492429A3 (en) | Staff angle and building corner with staff angle | |
| EP2492428A3 (en) | Staff angle and building corner with staff angle | |
| EP2853654A3 (en) | Console and façade substructure with the console | |
| EP2348187A3 (en) | Roller blind box | |
| EP2853653A3 (en) | Plastering bar, bar and end rail | |
| EP2725164A3 (en) | Fastening structure for a building with a parapet wall | |
| EP3056414A3 (en) | Rain cover for excavator | |
| DE10114233B4 (en) | Wood-aluminum windows | |
| EP2634341A3 (en) | Folding door with two or more inherently rigid folding shutter elements with alternate element edges that do not bend out and element edges that bend out in alternation and operating device for the same | |
| AT516186B1 (en) | Connection profile for components adjacent to plaster | |
| EP2527763A3 (en) | Cladding system for cladding the external surface of a building | |
| EP0497320A1 (en) | Device to form regularly continuing projecting edges, for example on buildings | |
| EP2671489A3 (en) | Filling element for creating a wall termination and method for producing a wall termination and sanitary device produced using a filling element | |
| EP2708674A3 (en) | Plastering strip, final rail and plaster chamfer | |
| EP2392749A3 (en) | Holder frame and set with holder frame | |
| EP2522787A3 (en) | Fastening element | |
| EP3015621A3 (en) | Skirting board, ceiling strip and window or doorway insulating strip and method for manufacturing such strips | |
| EP1983138A3 (en) | Building element with a bracing element sealed in a frame | |
| AT413416B (en) | CONNECTION PROFILE FOR WINDOWS | |
| EP2354055A3 (en) | Door seal with seal for a HGV door gap | |
| EP2706184A8 (en) | Window or door, in particular for a low energy or passive house, with a glued-in glazing construction element and a method for producing such a window or such a door | |
| EP2578786A3 (en) | Device for holding a door or window | |
| EP2620306A3 (en) | Hinge reinforcement device for a vehicle door | |
| EP2092853A3 (en) | Profile rail | |
| EP2623703A3 (en) | Mounting profile |
Legal Events
| Date | Code | Title | Description |
|---|---|---|---|
| PUAI | Public reference made under article 153(3) epc to a published international application that has entered the european phase |
Free format text: ORIGINAL CODE: 0009012 |
|
| AK | Designated contracting states |
Kind code of ref document: A2 Designated state(s): AL AT BE BG CH CY CZ DE DK EE ES FI FR GB GR HR HU IE IS IT LI LT LU LV MC MK MT NL NO PL PT RO RS SE SI SK SM TR |
|
| AX | Request for extension of the european patent |
Extension state: BA ME |
|
| PUAL | Search report despatched |
Free format text: ORIGINAL CODE: 0009013 |
|
| AK | Designated contracting states |
Kind code of ref document: A3 Designated state(s): AL AT BE BG CH CY CZ DE DK EE ES FI FR GB GR HR HU IE IS IT LI LT LU LV MC MK MT NL NO PL PT RO RS SE SI SK SM TR |
|
| AX | Request for extension of the european patent |
Extension state: BA ME |
|
| RIC1 | Information provided on ipc code assigned before grant |
Ipc: E06B 1/62 20060101AFI20150213BHEP |
|
| 17P | Request for examination filed |
Effective date: 20150810 |
|
| RBV | Designated contracting states (corrected) |
Designated state(s): AL AT BE BG CH CY CZ DE DK EE ES FI FR GB GR HR HU IE IS IT LI LT LU LV MC MK MT NL NO PL PT RO RS SE SI SK SM TR |
|
| GRAP | Despatch of communication of intention to grant a patent |
Free format text: ORIGINAL CODE: EPIDOSNIGR1 |
|
| INTG | Intention to grant announced |
Effective date: 20160729 |
|
| GRAS | Grant fee paid |
Free format text: ORIGINAL CODE: EPIDOSNIGR3 |
|
| STAA | Information on the status of an ep patent application or granted ep patent |
Free format text: STATUS: GRANT OF PATENT IS INTENDED |
|
| GRAA | (expected) grant |
Free format text: ORIGINAL CODE: 0009210 |
|
| STAA | Information on the status of an ep patent application or granted ep patent |
Free format text: STATUS: THE PATENT HAS BEEN GRANTED |
|
| AK | Designated contracting states |
Kind code of ref document: B1 Designated state(s): AL AT BE BG CH CY CZ DE DK EE ES FI FR GB GR HR HU IE IS IT LI LT LU LV MC MK MT NL NO PL PT RO RS SE SI SK SM TR |
|
| REG | Reference to a national code |
Ref country code: GB Ref legal event code: FG4D Free format text: NOT ENGLISH |
|
| REG | Reference to a national code |
Ref country code: CH Ref legal event code: EP |
|
| REG | Reference to a national code |
Ref country code: AT Ref legal event code: REF Ref document number: 857458 Country of ref document: AT Kind code of ref document: T Effective date: 20170115 |
|
| RAP2 | Party data changed (patent owner data changed or rights of a patent transferred) |
Owner name: BRAUN, AUGUST |
|
| REG | Reference to a national code |
Ref country code: IE Ref legal event code: FG4D Free format text: LANGUAGE OF EP DOCUMENT: GERMAN Ref country code: NL Ref legal event code: FP |
|
| RIN2 | Information on inventor provided after grant (corrected) |
Inventor name: BRAUN, AUGUST |
|
| REG | Reference to a national code |
Ref country code: DE Ref legal event code: R096 Ref document number: 502012009124 Country of ref document: DE |
|
| REG | Reference to a national code |
Ref country code: FR Ref legal event code: PLFP Year of fee payment: 6 |
|
| PG25 | Lapsed in a contracting state [announced via postgrant information from national office to epo] |
Ref country code: LV Free format text: LAPSE BECAUSE OF FAILURE TO SUBMIT A TRANSLATION OF THE DESCRIPTION OR TO PAY THE FEE WITHIN THE PRESCRIBED TIME-LIMIT Effective date: 20161228 |
|
| REG | Reference to a national code |
Ref country code: CH Ref legal event code: NV Representative=s name: THOMANNFISCHER ADVOKATUR AND NOTARIAT, CH |
|
| REG | Reference to a national code |
Ref country code: DE Ref legal event code: R081 Ref document number: 502012009124 Country of ref document: DE Owner name: BRAUN, AUGUST, CZ Free format text: FORMER OWNER: BRAUN, AUGUST, SCHAFFHAUSEN, CH Ref country code: DE Ref legal event code: R082 Ref document number: 502012009124 Country of ref document: DE Representative=s name: SCHMITT-NILSON SCHRAUD WAIBEL WOHLFROM PATENTA, DE Ref country code: DE Ref legal event code: R082 Ref document number: 502012009124 Country of ref document: DE Representative=s name: KSNH PATENTANWAELTE KLUNKER/SCHMITT-NILSON/HIR, DE |
|
| REG | Reference to a national code |
Ref country code: LT Ref legal event code: MG4D |
|
| PG25 | Lapsed in a contracting state [announced via postgrant information from national office to epo] |
Ref country code: GR Free format text: LAPSE BECAUSE OF FAILURE TO SUBMIT A TRANSLATION OF THE DESCRIPTION OR TO PAY THE FEE WITHIN THE PRESCRIBED TIME-LIMIT Effective date: 20170329 Ref country code: NO Free format text: LAPSE BECAUSE OF FAILURE TO SUBMIT A TRANSLATION OF THE DESCRIPTION OR TO PAY THE FEE WITHIN THE PRESCRIBED TIME-LIMIT Effective date: 20170328 Ref country code: SE Free format text: LAPSE BECAUSE OF FAILURE TO SUBMIT A TRANSLATION OF THE DESCRIPTION OR TO PAY THE FEE WITHIN THE PRESCRIBED TIME-LIMIT Effective date: 20161228 Ref country code: LT Free format text: LAPSE BECAUSE OF FAILURE TO SUBMIT A TRANSLATION OF THE DESCRIPTION OR TO PAY THE FEE WITHIN THE PRESCRIBED TIME-LIMIT Effective date: 20161228 |
|
| PG25 | Lapsed in a contracting state [announced via postgrant information from national office to epo] |
Ref country code: RS Free format text: LAPSE BECAUSE OF FAILURE TO SUBMIT A TRANSLATION OF THE DESCRIPTION OR TO PAY THE FEE WITHIN THE PRESCRIBED TIME-LIMIT Effective date: 20161228 Ref country code: FI Free format text: LAPSE BECAUSE OF FAILURE TO SUBMIT A TRANSLATION OF THE DESCRIPTION OR TO PAY THE FEE WITHIN THE PRESCRIBED TIME-LIMIT Effective date: 20161228 Ref country code: HR Free format text: LAPSE BECAUSE OF FAILURE TO SUBMIT A TRANSLATION OF THE DESCRIPTION OR TO PAY THE FEE WITHIN THE PRESCRIBED TIME-LIMIT Effective date: 20161228 |
|
| REG | Reference to a national code |
Ref country code: DE Ref legal event code: R082 Ref document number: 502012009124 Country of ref document: DE Representative=s name: SCHMITT-NILSON SCHRAUD WAIBEL WOHLFROM PATENTA, DE |
|
| PG25 | Lapsed in a contracting state [announced via postgrant information from national office to epo] |
Ref country code: IS Free format text: LAPSE BECAUSE OF FAILURE TO SUBMIT A TRANSLATION OF THE DESCRIPTION OR TO PAY THE FEE WITHIN THE PRESCRIBED TIME-LIMIT Effective date: 20170428 Ref country code: EE Free format text: LAPSE BECAUSE OF FAILURE TO SUBMIT A TRANSLATION OF THE DESCRIPTION OR TO PAY THE FEE WITHIN THE PRESCRIBED TIME-LIMIT Effective date: 20161228 Ref country code: RO Free format text: LAPSE BECAUSE OF FAILURE TO SUBMIT A TRANSLATION OF THE DESCRIPTION OR TO PAY THE FEE WITHIN THE PRESCRIBED TIME-LIMIT Effective date: 20161228 |
|
| PG25 | Lapsed in a contracting state [announced via postgrant information from national office to epo] |
Ref country code: PT Free format text: LAPSE BECAUSE OF FAILURE TO SUBMIT A TRANSLATION OF THE DESCRIPTION OR TO PAY THE FEE WITHIN THE PRESCRIBED TIME-LIMIT Effective date: 20170428 Ref country code: ES Free format text: LAPSE BECAUSE OF FAILURE TO SUBMIT A TRANSLATION OF THE DESCRIPTION OR TO PAY THE FEE WITHIN THE PRESCRIBED TIME-LIMIT Effective date: 20161228 Ref country code: BG Free format text: LAPSE BECAUSE OF FAILURE TO SUBMIT A TRANSLATION OF THE DESCRIPTION OR TO PAY THE FEE WITHIN THE PRESCRIBED TIME-LIMIT Effective date: 20170328 Ref country code: SM Free format text: LAPSE BECAUSE OF FAILURE TO SUBMIT A TRANSLATION OF THE DESCRIPTION OR TO PAY THE FEE WITHIN THE PRESCRIBED TIME-LIMIT Effective date: 20161228 |
|
| PG25 | Lapsed in a contracting state [announced via postgrant information from national office to epo] |
Ref country code: MC Free format text: LAPSE BECAUSE OF FAILURE TO SUBMIT A TRANSLATION OF THE DESCRIPTION OR TO PAY THE FEE WITHIN THE PRESCRIBED TIME-LIMIT Effective date: 20161228 |
|
| REG | Reference to a national code |
Ref country code: DE Ref legal event code: R097 Ref document number: 502012009124 Country of ref document: DE |
|
| REG | Reference to a national code |
Ref country code: SK Ref legal event code: T3 Ref document number: E 24168 Country of ref document: SK |
|
| PLBE | No opposition filed within time limit |
Free format text: ORIGINAL CODE: 0009261 |
|
| STAA | Information on the status of an ep patent application or granted ep patent |
Free format text: STATUS: NO OPPOSITION FILED WITHIN TIME LIMIT |
|
| GBPC | Gb: european patent ceased through non-payment of renewal fee |
Effective date: 20170328 |
|
| REG | Reference to a national code |
Ref country code: IE Ref legal event code: MM4A |
|
| PG25 | Lapsed in a contracting state [announced via postgrant information from national office to epo] |
Ref country code: DK Free format text: LAPSE BECAUSE OF FAILURE TO SUBMIT A TRANSLATION OF THE DESCRIPTION OR TO PAY THE FEE WITHIN THE PRESCRIBED TIME-LIMIT Effective date: 20161228 |
|
| 26N | No opposition filed |
Effective date: 20170929 |
|
| REG | Reference to a national code |
Ref country code: HU Ref legal event code: AG4A Ref document number: E033505 Country of ref document: HU |
|
| PG25 | Lapsed in a contracting state [announced via postgrant information from national office to epo] |
Ref country code: LU Free format text: LAPSE BECAUSE OF NON-PAYMENT OF DUE FEES Effective date: 20170217 |
|
| REG | Reference to a national code |
Ref country code: FR Ref legal event code: PLFP Year of fee payment: 7 |
|
| PG25 | Lapsed in a contracting state [announced via postgrant information from national office to epo] |
Ref country code: GB Free format text: LAPSE BECAUSE OF NON-PAYMENT OF DUE FEES Effective date: 20170328 Ref country code: SI Free format text: LAPSE BECAUSE OF FAILURE TO SUBMIT A TRANSLATION OF THE DESCRIPTION OR TO PAY THE FEE WITHIN THE PRESCRIBED TIME-LIMIT Effective date: 20161228 Ref country code: IE Free format text: LAPSE BECAUSE OF NON-PAYMENT OF DUE FEES Effective date: 20170217 |
|
| PG25 | Lapsed in a contracting state [announced via postgrant information from national office to epo] |
Ref country code: MT Free format text: LAPSE BECAUSE OF FAILURE TO SUBMIT A TRANSLATION OF THE DESCRIPTION OR TO PAY THE FEE WITHIN THE PRESCRIBED TIME-LIMIT Effective date: 20161228 |
|
| PG25 | Lapsed in a contracting state [announced via postgrant information from national office to epo] |
Ref country code: CY Free format text: LAPSE BECAUSE OF NON-PAYMENT OF DUE FEES Effective date: 20161228 |
|
| PG25 | Lapsed in a contracting state [announced via postgrant information from national office to epo] |
Ref country code: MK Free format text: LAPSE BECAUSE OF FAILURE TO SUBMIT A TRANSLATION OF THE DESCRIPTION OR TO PAY THE FEE WITHIN THE PRESCRIBED TIME-LIMIT Effective date: 20161228 |
|
| PG25 | Lapsed in a contracting state [announced via postgrant information from national office to epo] |
Ref country code: TR Free format text: LAPSE BECAUSE OF FAILURE TO SUBMIT A TRANSLATION OF THE DESCRIPTION OR TO PAY THE FEE WITHIN THE PRESCRIBED TIME-LIMIT Effective date: 20161228 |
|
| PG25 | Lapsed in a contracting state [announced via postgrant information from national office to epo] |
Ref country code: AL Free format text: LAPSE BECAUSE OF FAILURE TO SUBMIT A TRANSLATION OF THE DESCRIPTION OR TO PAY THE FEE WITHIN THE PRESCRIBED TIME-LIMIT Effective date: 20161228 |
|
| REG | Reference to a national code |
Ref country code: DE Ref legal event code: R055 Ref document number: 502012009124 Country of ref document: DE |
|
| PLCP | Request for limitation filed |
Free format text: ORIGINAL CODE: EPIDOSNLIM1 |
|
| PLCQ | Request for limitation of patent found admissible |
Free format text: ORIGINAL CODE: 0009231 |
|
| LIM1 | Request for limitation found admissible |
Free format text: SEQUENCE NO: 1; FILED AFTER OPPOSITION PERIOD Filing date: 20210517 Effective date: 20210517 |
|
| REG | Reference to a national code |
Ref country code: DE Ref legal event code: R081 Ref document number: 502012009124 Country of ref document: DE Owner name: BRAUN, MAGDALENA, CH Free format text: FORMER OWNER: BRAUN, AUGUST, CESKE BUDEJOVICE, CZ |
|
| REG | Reference to a national code |
Ref country code: FR Ref legal event code: PLFP Year of fee payment: 12 |
|
| REG | Reference to a national code |
Ref country code: HU Ref legal event code: GB9C Owner name: MAGDALENA BRAUN, CH Free format text: FORMER OWNER(S): BRAUN, AUGUST, CZ Ref country code: HU Ref legal event code: FH1C Free format text: FORMER REPRESENTATIVE(S): DANUBIA SZABADALMI ES JOGI IRODA KFT., HU Representative=s name: DANUBIA SZABADALMI ES JOGI IRODA KFT., HU |
|
| REG | Reference to a national code |
Ref country code: BE Ref legal event code: PD Owner name: BRAUN MAGDALENA; CH Free format text: DETAILS ASSIGNMENT: CHANGE OF OWNER(S), SUCCESSION; FORMER OWNER NAME: BRAUN, AUGUST Effective date: 20230306 |
|
| REG | Reference to a national code |
Ref country code: NL Ref legal event code: PD Owner name: MAGDALENA BRAUN; CH Free format text: DETAILS ASSIGNMENT: CHANGE OF OWNER(S), SUCCESSION; FORMER OWNER NAME: BRAUN, AUGUST Effective date: 20230504 |
|
| REG | Reference to a national code |
Ref country code: SK Ref legal event code: PC4A Ref document number: E 24168 Country of ref document: SK Owner name: BRAUN MAGDALENA, EGG, CH Free format text: FORMER OWNER: BRAUN AUGUST, CESKE BUDEJOVICE, CZ Effective date: 20230523 |
|
| REG | Reference to a national code |
Ref country code: AT Ref legal event code: PC Ref document number: 857458 Country of ref document: AT Kind code of ref document: T Owner name: MAGDALENA BRAUN, CH Effective date: 20230508 |
|
| P01 | Opt-out of the competence of the unified patent court (upc) registered |
Effective date: 20230527 |
|
| PLCR | Communication despatched that request for limitation of patent was allowed |
Free format text: ORIGINAL CODE: 0009245 |
|
| REG | Reference to a national code |
Ref country code: DE Ref legal event code: R056 Ref document number: 502012009124 Country of ref document: DE |
|
| PLCN | Payment of fee for limitation of patent |
Free format text: ORIGINAL CODE: EPIDOSNRAL3 |
|
| PUAM | (expected) publication of b3 document |
Free format text: ORIGINAL CODE: 0009410 |
|
| STAA | Information on the status of an ep patent application or granted ep patent |
Free format text: STATUS: THE PATENT HAS BEEN LIMITED |
|
| REG | Reference to a national code |
Ref country code: NL Ref legal event code: FP |
|
| REG | Reference to a national code |
Ref country code: SK Ref legal event code: T5 Ref document number: E 24168 Country of ref document: SK |
|
| PGFP | Annual fee paid to national office [announced via postgrant information from national office to epo] |
Ref country code: AT Payment date: 20250217 Year of fee payment: 14 Ref country code: BE Payment date: 20250218 Year of fee payment: 14 Ref country code: CH Payment date: 20250301 Year of fee payment: 14 |
|
| PGFP | Annual fee paid to national office [announced via postgrant information from national office to epo] |
Ref country code: FR Payment date: 20250219 Year of fee payment: 14 Ref country code: CZ Payment date: 20250205 Year of fee payment: 14 Ref country code: PL Payment date: 20250207 Year of fee payment: 14 |
|
| PGFP | Annual fee paid to national office [announced via postgrant information from national office to epo] |
Ref country code: IT Payment date: 20250228 Year of fee payment: 14 Ref country code: SK Payment date: 20250212 Year of fee payment: 14 |
|
| PGFP | Annual fee paid to national office [announced via postgrant information from national office to epo] |
Ref country code: DE Payment date: 20250423 Year of fee payment: 14 |
|
| REG | Reference to a national code |
Ref country code: CH Ref legal event code: R18 Free format text: ST27 STATUS EVENT CODE: U-0-0-R10-R18 (AS PROVIDED BY THE NATIONAL OFFICE) Effective date: 20260211 |
|
| REG | Reference to a national code |
Ref country code: CH Ref legal event code: U11 Free format text: ST27 STATUS EVENT CODE: U-0-0-U10-U11 (AS PROVIDED BY THE NATIONAL OFFICE) Effective date: 20260301 |
|
| PGFP | Annual fee paid to national office [announced via postgrant information from national office to epo] |
Ref country code: NL Payment date: 20260218 Year of fee payment: 15 |
|
| PGFP | Annual fee paid to national office [announced via postgrant information from national office to epo] |
Ref country code: HU Payment date: 20260213 Year of fee payment: 15 |
