EP2449942A2 - Geschirrspülmaschine, insbesondere Haushalts-Geschirrspülmaschine - Google Patents
Geschirrspülmaschine, insbesondere Haushalts-Geschirrspülmaschine Download PDFInfo
- Publication number
- EP2449942A2 EP2449942A2 EP11186159A EP11186159A EP2449942A2 EP 2449942 A2 EP2449942 A2 EP 2449942A2 EP 11186159 A EP11186159 A EP 11186159A EP 11186159 A EP11186159 A EP 11186159A EP 2449942 A2 EP2449942 A2 EP 2449942A2
- Authority
- EP
- European Patent Office
- Prior art keywords
- fat
- dishwasher
- program
- liquor
- sensor
- Prior art date
- Legal status (The legal status is an assumption and is not a legal conclusion. Google has not performed a legal analysis and makes no representation as to the accuracy of the status listed.)
- Withdrawn
Links
- 238000010438 heat treatment Methods 0.000 claims abstract description 32
- 230000008021 deposition Effects 0.000 claims abstract description 21
- 238000000034 method Methods 0.000 claims abstract description 15
- 239000003925 fat Substances 0.000 claims description 103
- 238000004140 cleaning Methods 0.000 claims description 23
- 239000007788 liquid Substances 0.000 claims description 15
- 239000007787 solid Substances 0.000 claims description 15
- 238000005086 pumping Methods 0.000 claims description 8
- 239000012459 cleaning agent Substances 0.000 claims description 6
- 239000003599 detergent Substances 0.000 claims description 5
- 238000005259 measurement Methods 0.000 claims description 2
- 239000008237 rinsing water Substances 0.000 abstract description 5
- 238000001035 drying Methods 0.000 description 13
- XLYOFNOQVPJJNP-UHFFFAOYSA-N water Substances O XLYOFNOQVPJJNP-UHFFFAOYSA-N 0.000 description 13
- 238000005406 washing Methods 0.000 description 8
- 239000004519 grease Substances 0.000 description 5
- 239000007921 spray Substances 0.000 description 5
- 230000000694 effects Effects 0.000 description 4
- 208000008589 Obesity Diseases 0.000 description 2
- 238000011109 contamination Methods 0.000 description 2
- 238000004851 dishwashing Methods 0.000 description 2
- 238000005265 energy consumption Methods 0.000 description 2
- 235000020824 obesity Nutrition 0.000 description 2
- 239000013042 solid detergent Substances 0.000 description 2
- 230000001960 triggered effect Effects 0.000 description 2
- 229910021536 Zeolite Inorganic materials 0.000 description 1
- 230000006978 adaptation Effects 0.000 description 1
- 238000004891 communication Methods 0.000 description 1
- 238000001514 detection method Methods 0.000 description 1
- 238000011161 development Methods 0.000 description 1
- 230000018109 developmental process Effects 0.000 description 1
- HNPSIPDUKPIQMN-UHFFFAOYSA-N dioxosilane;oxo(oxoalumanyloxy)alumane Chemical compound O=[Si]=O.O=[Al]O[Al]=O HNPSIPDUKPIQMN-UHFFFAOYSA-N 0.000 description 1
- 238000005516 engineering process Methods 0.000 description 1
- 239000012530 fluid Substances 0.000 description 1
- 238000011010 flushing procedure Methods 0.000 description 1
- 238000011086 high cleaning Methods 0.000 description 1
- 238000003780 insertion Methods 0.000 description 1
- 230000037431 insertion Effects 0.000 description 1
- 239000000463 material Substances 0.000 description 1
- 230000003287 optical effect Effects 0.000 description 1
- 239000002244 precipitate Substances 0.000 description 1
- 238000001556 precipitation Methods 0.000 description 1
- 230000002441 reversible effect Effects 0.000 description 1
- 230000033764 rhythmic process Effects 0.000 description 1
- 230000001953 sensory effect Effects 0.000 description 1
- 239000010457 zeolite Substances 0.000 description 1
Images
Classifications
-
- A—HUMAN NECESSITIES
- A47—FURNITURE; DOMESTIC ARTICLES OR APPLIANCES; COFFEE MILLS; SPICE MILLS; SUCTION CLEANERS IN GENERAL
- A47L—DOMESTIC WASHING OR CLEANING; SUCTION CLEANERS IN GENERAL
- A47L15/00—Washing or rinsing machines for crockery or tableware
- A47L15/0018—Controlling processes, i.e. processes to control the operation of the machine characterised by the purpose or target of the control
- A47L15/0057—Cleaning of machines parts, e.g. removal of deposits like lime scale or proteins from piping or tub
-
- A—HUMAN NECESSITIES
- A47—FURNITURE; DOMESTIC ARTICLES OR APPLIANCES; COFFEE MILLS; SPICE MILLS; SUCTION CLEANERS IN GENERAL
- A47L—DOMESTIC WASHING OR CLEANING; SUCTION CLEANERS IN GENERAL
- A47L15/00—Washing or rinsing machines for crockery or tableware
- A47L15/0018—Controlling processes, i.e. processes to control the operation of the machine characterised by the purpose or target of the control
- A47L15/0021—Regulation of operational steps within the washing processes, e.g. optimisation or improvement of operational steps depending from the detergent nature or from the condition of the crockery
-
- A—HUMAN NECESSITIES
- A47—FURNITURE; DOMESTIC ARTICLES OR APPLIANCES; COFFEE MILLS; SPICE MILLS; SUCTION CLEANERS IN GENERAL
- A47L—DOMESTIC WASHING OR CLEANING; SUCTION CLEANERS IN GENERAL
- A47L2401/00—Automatic detection in controlling methods of washing or rinsing machines for crockery or tableware, e.g. information provided by sensors entered into controlling devices
- A47L2401/10—Water cloudiness or dirtiness, e.g. turbidity, foaming or level of bacteria
-
- A—HUMAN NECESSITIES
- A47—FURNITURE; DOMESTIC ARTICLES OR APPLIANCES; COFFEE MILLS; SPICE MILLS; SUCTION CLEANERS IN GENERAL
- A47L—DOMESTIC WASHING OR CLEANING; SUCTION CLEANERS IN GENERAL
- A47L2401/00—Automatic detection in controlling methods of washing or rinsing machines for crockery or tableware, e.g. information provided by sensors entered into controlling devices
- A47L2401/34—Other automatic detections
-
- A—HUMAN NECESSITIES
- A47—FURNITURE; DOMESTIC ARTICLES OR APPLIANCES; COFFEE MILLS; SPICE MILLS; SUCTION CLEANERS IN GENERAL
- A47L—DOMESTIC WASHING OR CLEANING; SUCTION CLEANERS IN GENERAL
- A47L2501/00—Output in controlling method of washing or rinsing machines for crockery or tableware, i.e. quantities or components controlled, or actions performed by the controlling device executing the controlling method
- A47L2501/06—Water heaters
-
- A—HUMAN NECESSITIES
- A47—FURNITURE; DOMESTIC ARTICLES OR APPLIANCES; COFFEE MILLS; SPICE MILLS; SUCTION CLEANERS IN GENERAL
- A47L—DOMESTIC WASHING OR CLEANING; SUCTION CLEANERS IN GENERAL
- A47L2501/00—Output in controlling method of washing or rinsing machines for crockery or tableware, i.e. quantities or components controlled, or actions performed by the controlling device executing the controlling method
- A47L2501/34—Change machine operation from normal operational mode into special mode, e.g. service mode, resin regeneration mode, sterilizing mode, steam mode, odour eliminating mode or special cleaning mode to clean the hydraulic circuit
Definitions
- the invention relates to a dishwasher, in particular a domestic dishwasher, with the at least one program section for dissolving fat deposits on to be cleaned and / or dried items to be washed and / or in the hydraulic circuit of the dishwasher can be carried out during the program section to release fat deposits in the hydraulic circuit circulated rinsing liquor is heated to a Fettablinatetemperatur at least with a heater.
- Dishwashers in particular domestic dishwashers, continuous wash programs for cleaning and drying of items to be washed, a plurality of part program steps, such.
- prewash cleaning, intermediate rinsing, rinsing and drying may include.
- the energy consumption of dishwashers can be reduced, in the z.
- the maximum temperature to the rinsing liquor ie water added to cleaning agents, heated during the cleaning part program step, is reduced. Due to their high cleaning performance at a comparatively low temperature in the range of 40 ° C., so-called low-temperature cleaners allow the cleaning performance to be kept substantially constant despite the lowered temperature. However, this has the consequence that it can lead to unwanted fat deposition, z. B.
- the temperature of the rinsing liquor for a predetermined period of time at least to the value of Fettabinatetemperatur, wherein the predetermined period of time until one end of a pumpdown of rinsing liquor for conveying out It therefore no longer deactivates the heating of the dishwasher after reaching a maximum temperature with the result that the rinsing liquor cools with increasing time until it is conveyed by pumping out of the dishwasher at the end of the respective program section, but it becomes by a continuous or temporary, z.
- the circulated rinsing liquor with the dissolved fats is kept at the fat removal temperature until this rinsing liquor has been conveyed out of the dishwasher by a pumping operation, so that back soiling is prevented. Therefore, it is expediently during the pumping process to a complete Abpumpvorgang in which the entire circulating in the dishwasher rinsing liquor is conveyed from the dishwasher to prevent pollanschmutzung by remaining in the dishwasher Spülflottenreste.
- the fat removal temperature is selected such that an added detergent for cleaning the items to be washed reaches its maximum effect.
- the fat removal temperature may be in the range of 40 ° C to 70 ° C.
- a solid fat sensor is preferably provided. With this solid fat sensor, the implementation of such a program section for releasing fat deposition can be triggered automatically, ie without intervention of an operator. Further, during a heating operation during a program portion for releasing grease deposit with such a solid-state grease sensor are detected, whether a sufficient temperature has been reached at which dissolve the fat deposits, as this can be detected by such a solid fat sensor.
- the solid fat sensor is designed as a turbidity sensor whose output signal can be influenced by fat deposition on measuring surfaces of the turbidity sensor.
- the advantage here is that z. B. such a turbidity sensor can also be used to detect the degree of contamination of the circulating wash liquor, and to adapt to the detected degree of soiling the program flow of the dishwasher, in the automatically heavy soiling a particularly intensive cleaning is made and vice versa with a low pollution z. B. the water consumption of the dishwasher is reduced.
- a liquid fat sensor for detecting fats dissolved in the rinsing liquor is preferably provided.
- the fats dissolved by the fat disbonding program section can be detected directly in the rinsing liquor, and not only conversely, as by using a solid fat sensor for detecting fat deposition.
- a liquid fat sensor for detecting fats dissolved in the rinsing liquor allows a more precise adaptation of the program segment with respect to its temperature, to which the rinsing liquor must be heated in order to dissolve fat deposits.
- the program section for releasing grease deposits is a partial program step of a washing program having a plurality of partial program steps, while the items to be washed can be whipped with heated wash liquor.
- the program section for releasing fat deposits is an integral part of at least one washing program for cleaning and / or drying items to be washed.
- the program section for releasing fat deposits may be stored as an integral part in one of a plurality of selectable washing programs that are then selected by the operator, or the program section for releasing fat deposits into one of an operator is triggered by corresponding sensor signals or at a fixed rhythm selected wash program inserted.
- the program section for releasing fatty deposits is a partial program section having a wash program having a plurality of partial program sections, while wash ware to be cleaned can be acted upon by washing liquor mixed with cleaning agents.
- the program section for dissolving fat deposits is integrated in a part program section cleaning a wash program, in which by cleaning agent addition while heating the wash liquor maximum cleaning performance is achieved.
- cleaning agents also increase the fat-dissolving effect of the rinsing liquor.
- the solid fat sensor for detecting fat deposition and / or the liquid fat sensor for detecting fats dissolved in the rinsing liquor is connected in a transferring manner to a heating control / measuring signal, the heating control being at least above and / or below a predetermined limit value for the Measuring signal activates and / or deactivates the heater control associated with the heating.
- the solid fat sensor for detecting fat deposition and / or the liquid fat sensor for detecting fats dissolved in the washing liquor allows the fat removal temperature to be attained to be adjusted during the program step for dissolving fat deposition to the type of the respective fat deposit and associated fat removal temperature. Thus, unnecessarily high temperatures are avoided and energy saved.
- the invention further relates to a method for operating a dishwasher, in particular a domestic dishwasher, during which at least one program section for dissolving fat deposits on to be cleaned and / or to be dried items and / or in the hydraulic circuit of the dishwasher is performed, during the program section to Dissolving fat deposition in the hydraulic circuit circulated rinsing liquor is heated with the heater at least to a Fettablinatetemperatur, which is provided according to the invention that during the program section to dissolve fat deposits by at least temporary operation of the heating, the temperature of the rinsing water for a predetermined period of time at least to the value of Fettablinatetemperatur is maintained, wherein the predetermined period of time extends to the end of a Abpumpvorgangs of wash liquor for feeding out of wash liquor from the dishwasher.
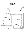
- FIG. 1 Referenced.
- a dishwasher designed as a household dishwasher GS which has a washing container SB, in the dishes to be cleaned on extendable crockery baskets (not shown) can be arranged.
- a hydraulic system is provided, the z. B. may have rotating spray arms (not shown), the liquid-conducting with a circulating pump (not shown) are connected, can be promoted with the dripping of the items to be washed water to the spray arms.
- a heating device (not shown) is provided for heating the water in the hydraulic system.
- a door TU is provided to open the rinse container in order to load and / or unload the baskets.
- the dishwasher GS has a control panel BL with wash program selection switches (not shown) and optical display means AZ.
- an addition unit ZU On the inside of the door TU, d. H. with the door TU in the interior of the washing container SB, an addition unit ZU is arranged, which can be provided with detergent and rinse aid before starting the dishwasher.
- the addition unit ZU communicates with the control means SM of the dishwasher GS, for example in the form of control electronics, in order to effect cleaning at least during a partial program step cleaning R and during a partial program step rinsing K a rinse aid addition.
- the addition unit ZU is designed to dispense a pulverulent or tablet-form solid detergent while the rinse aid is in liquid form.
- an addition unit which allows the delivery of both solid detergent and rinse aid or a solid rinse aid and a liquid detergent.
- the dishwasher GS has a turbidity sensor (not shown) arranged in the sump, with which, on the one hand, the degree of contamination of the circulated rinsing liquor can be detected, and on the other hand serves as a solid fat sensor for detecting fat deposition, since these fat deposits influence the measuring surface of the turbidity sensor.
- the turbidity sensor is connected by measuring signal technology by a corresponding signal line (not shown) to a heating control (not shown), which in turn is connected to the heating by lines (not shown).
- a liquid fat sensor (not shown) for detection is dissolved Fats provided, which is arranged in a portion of a supply line (not shown) to the spray arm and also via signal lines (not shown) is messsignaltechnisch with the heating control in communication.
- the heating control can be an independent module or part of a control electronics of a control unit for controlling the dishwasher GS, in particular for carrying out one or more washing programs, each having a plurality of part program sections.
- washing program which in addition to the partial program steps cleaning R and rinse K includes the further partial program steps pre-wash V, intermediate rinse Z and drying T, wherein said individual sub-program steps can also be hidden and / or executed multiple times.
- the items to be washed are pre-cleaned with unheated water without the addition of detergent or rinse aid, in order to dissolve and remove coarse soiling.
- detergent or rinse aid in order to dissolve and remove coarse soiling.
- a refilling of the dishwasher GS is performed before the subprogram cleaning R, in which by the heating the recirculated rinsing liquor or water up to a maximum temperature T MAX of eg 70 ° C is heated and then slowly cooled again when the heater is turned off.
- T MAX a maximum temperature of eg 70 ° C is heated and then slowly cooled again when the heater is turned off.
- the maximum temperature T MAX is above a fat-dissolving temperature FT, so that it is ensured that dissolve fat deposits.
- the heating control deactivates the heating, so that the rinsing fluid circulated by the circulating pump slowly cools down to a value which corresponds to the fat removal temperature FT.
- the achievement of the fat removal temperature FT can by circulating the temperature Rinse liquor by means of a temperature sensor (not shown), or by the fact that fat deposits are detected on the turbidity sensor or a decrease in the dissolved fats in the rinsing liquor are detected with the liquid fat sensor for detecting dissolved in the rinsing fats, wherein both the measurement signals of the heating control performed become.
- the heating control makes a comparison with selected, stored reference values, in order to re-activate the heating on an over and / or underruns, so that the circulated rinsing liquor is maintained at least at a temperature corresponding to the fat removal temperature, so that remindanschmutzisme by fat deposition are avoided.
- the subprogram step cleaning R is followed by a subprogram step intermediate rinsing Z, which is connected to a draining process of the used rinse liquor and a refill of the dishwasher GS with water and during which the cleaned ware is treated with water to remove cleaner residues and rinse aid residues.
- the dissolved fats from the dishwasher GS are promoted by the pumping. It is thus achieved that the items to be cleaned and / or plastic parts of the dishwasher, such as pumps, sieves or hoses, which form the hydraulic circuit of the dishwasher, are substantially free of fatty deposits.
- the rinse K which is again introduced by a pumpdown and refilling the dishwashing GS with water.
- the water added with rinse aid is heated up to a drying temperature TT by starting up the heating and during this time the wash ware is charged with this liquid.
- the drying temperature TT is chosen so high that a substantially stain-free drying of the items to be washed is ensured by self-drying.
- the dishwasher GS has a drying system for drying items that, for example, a reversible dehydratable material such. B. zeolite has, is passed through the humid air from the washing compartment of the dishwasher for dehumidifying, heating to the high temperatures is not necessary.
- the last part program step drying T during which no loading of the now cleaned items with rinse liquid takes place, but the items to be washed z. B. dries due to its own heat or dried by commissioning of the drying system, so that at the end of the partial program step drying T cleaned and dried items can be removed from the washing container SB of the dishwasher GS.
- z. B. during the sub-program step cleaning R may be additionally provided that during the wash program, the maximum cleaning temperature T MAX is raised in the presence of obesity when z. B. this has been detected sensory or rinsing of the dishwasher GS is provided by the program.
- the energy consumption can be provided to control the hydraulic system with the spray arm and the circulation pump such that an admission of items to be washed with a heated flushing front is avoided in the z. B. the circulating pump is operated at low speed and so exits the spray arm so that it does not reach the ware.
Landscapes
- Washing And Drying Of Tableware (AREA)
Abstract
Description
- Die Erfindung betrifft eine Geschirrspülmaschine, insbesondere eine Haushalts-Geschirrspülmaschine, mit der wenigstens ein Programmabschnitt zum Lösen von Fettablagerungen an zu reinigenden und/oder zu trocknenden Spülgut und/oder im Hydraulikkreislauf der Geschirrspülmaschine durchführbar ist, wobei während des Programmabschnitts zum Lösen von Fettablagerungen im Hydraulikkreislauf umgewälzte Spülflotte wenigstens mit einer Heizung auf eine Fettablösetemperatur aufgeheizt wird.
- Geschirrspülmaschinen, insbesondere Haushalts-Geschirrspülmaschinen, durchlaufende Spülprogramme zur Reinigung und Trocknung von Spülgut, die eine Mehrzahl von Teilprogrammschritten, wie z. B. Vorspülen, Reinigen, Zwischenspülen, Klarspülen und Trocknen umfassen können. Der Energieverbrauch von Geschirrspülmaschinen kann reduziert werden, in dem z. B. die Maximaltemperatur, auf die Spülflotte, d. h. mit Reinigungsmitteln versetztes Wasser, während des Teilprogrammschritts Reinigen aufgeheizt wird, reduziert wird. Dabei erlauben sogenannte Niedertemperaturreiniger aufgrund ihrer hohen Reinigungsleistung bei vergleichsweise niedriger Temperatur im Bereich von 40°C die Reinigungsleistung trotz der abgesenkten Temperatur im Wesentlichen konstant zu halten. Jedoch hat dies zur Folge, dass es zu ungewünschten Fettablagerung kommen kann, z. B. an dem zu reinigenden Spülgut und/oder an Kunststoffteilen der Geschirrspülmaschine, wie z. B. Pumpen, Siebe oder Schläuche im Hydraulikkreislauf einer Geschirrspülmaschine, mit dem das zu reinigende Spülgut mit z. B. erwärmten Wassers beaufschlagt wird. Durch die Wahl von sogenannten Intensivprogrammen, bei denen die Spülflotte auf besonders hohen Temperaturen aufgeheizt wird, z. B. 70 bis 80°C, können derartige Fettablagerung gelöst werden. Jedoch wird nach Erreichen dieser Maximaltemperatur die Heizung der Geschirrspülmaschine deaktiviert mit der Folge, dass sich die Spülflotte langsam abkühlt und dabei vor dem Abpumpen dieser Spülflotte Temperaturen erreichen kann, die unterhalb der Fettablösetemperatur liegen, so dass es wieder zum Ausfallen des gelösten Fetts kommen kann. Derartige Verfettung können auch mittels eines Programmabschnitts zum Entfernen von Fettablagerungen entfernt werden, während dem z. B. fettlösende Reinigungsmittel hinzugefügt werden oder die umgewälzte Spülflotte auf eine Temperatur aufgeheizt wird, bei der sich Fettablagerung lösen. Jedoch kühlt die Spülflotte nach Deaktivieren der Heizung wieder ab mit der Folge, dass das gelöste Fett aus der Spülflotte ausfällt und sich Rückanfettungen bilden können.
- Es ist daher Aufgabe der Erfindung hier Abhilfe zu schaffen.
- Es ist erfindungsgemäß vorgesehen, dass während des Programmabschnitts zum Lösen von Fettablagerungen durch zumindest zeitweisen Betrieb der Heizung die Temperatur der Spülflotte für eine vorgegebene Zeitdauer mindestens auf den Wert der Fettablösetemperatur ist, wobei die vorgegebene Zeitdauer sich bis zu einem Ende eines Abpumpvorgangs von Spülflotte zum Herausfördern von Spülflotte aus der Geschirrspülmaschine erstreckt Es wird also nicht mehr nach Erreichen einer Maximaltemperatur die Heizung der Geschirrspülmaschine deaktiviert mit der Folge, dass mit zunehmender Zeitdauer die Spülflotte abkühlt, bis sie am Ende des jeweiligen Programmabschnitts durch Abpumpen aus der Geschirrspülmaschine gefördert wird, sondern es wird durch einen kontinuierlichen oder zeitweisen, z. B. getakteten, Betrieb der Heizung sichergestellt, dass die Spülflotte eine Temperatur aufweist, die oberhalb der Fettablösetemperatur ist, so dass sichergestellt ist, dass sich gelöste Fettablagerung nicht wieder anlagern können. Es wird die umgewälzte Spülflotte mit den gelösten Fetten solange auf der Fettablösetemperatur gehalten, bis durch einen Abpumpvorgang diese Spülflotte aus der Geschirrspülmaschine gefördert wurde, so dass eine Rückanschmutzung ausgeschlossen ist. Daher handelt es sich zweckmäßigerweise bei dem Abpumpvorgang um einen vollständigen Abpumpvorgang, bei dem die gesamte in der Geschirrspülmaschine umgewälzte Spülflotte aus der Geschirrspülmaschine gefördert wird, um Rückanschmutzung durch in der Geschirrspülmaschine verbleibende Spülflottenreste verhindern. Dabei ist die Fettablösetemperatur derart gewählt, dass ein zugegebenes Reinigungsmittel zum Reinigen des Spülguts sein Wirkungsmaximum erreicht. Z.B. kann die Fettablösetemperatur im Bereich von 40°c bis 70°C liegen.
- Zur Erfassung von Fettablagerung ist vorzugsweise ein Festfettsensor vorgesehen. Mit diesem Festfettsensor kann die Durchführung eines derartigen Programmabschnitts zum Lösen von Fettablagerung automatisch, d. h. ohne Eingriff einer Bedienperson, ausgelöst werden. Ferner kann während eines Aufheizvorgangs während eines Programmabschnitts zum Lösen von Fettablagerung mit einem derartigen Festfettsensor erfasst werden, ob eine ausreichende Temperatur erreicht wurde, bei der sich die Fettablagerungen lösen, da dies von einem derartigen Festfettsensor erfasst werden kann.
- Dabei ist vorzugsweise vorgesehen, dass der Festfettsensor als Trübungssensor ausgebildet ist, dessen Ausgangssignal durch Fettablagerung auf Messflächen des Trübungssensors beeinflussbar ist. Von Vorteil ist dabei, dass z. B. ein derartiger Trübungssensor auch dazu verwendet werden kann, den Verschmutzungsgrad der umgewälzten Spülflotte zu erfassen, und um auf den erfassten Verschmutzungsgrad hin den Programmablauf der Geschirrspülmaschine anzupassen, in dem automatisch bei starken Verschmutzungen eine besonders intensive Reinigung vorgenommen wird und umgekehrt bei einer geringen Verschmutzung z. B. der Wasserbedarf der Geschirrspülmaschine reduziert wird.
- Ferner ist vorzugsweise ein Flüssigfettsensor zur Erfassung von in der Spülflotte gelösten Fetten vorgesehen. Mit einem derartigen Flüssigfettsensor können die durch den Programmabschnitt zum Lösen von Fettablagerung gelösten Fette direkt in der Spülflotte erfasst werden und nicht nur im Umkehrschluss wie durch Verwendung eines Festfettsensors zur Erfassung von Fettablagerung. Somit erlaubt ein derartiger Flüssigfettsensor zur Erfassung von in der Spülflotte gelösten Fetten eine genauere Anpassung des Programmabschnitts hinsichtlich seiner Temperatur, auf die die Spülflotte aufgeheizt werden muss, um Fettablagerung zu lösen.
- Ferner ist vorzugsweise vorgesehen, dass der Programmabschnitt zum Lösen von Fettablagerungen ein Teilprogrammschritt eines eine Mehrzahl von Teilprogrammschritten aufweisenden Spülprogramms ist, während dem zu reinigenden Spülgut mit erwärmter Spülflotte aufschlagbar ist. Somit ist der Programmabschnitt zum Lösen von Fettablagerung integraler Bestandteil wenigstens eines Spülprogramms zum Reinigen und/oder Trocknen von Spülgut. Dabei kann der Programmabschnitt zum Lösen von Fettablagerung als fester Bestandteil in einem einer Vielzahl von auswählbaren Spülprogrammen hinterlegt sein, dass dann bedienerseitig ausgewählt wird, oder es wird auf entsprechende Sensorsignale hin oder in einem festen Rhythmus der Programmabschnitt zum Lösen von Fettablagerung in ein von einer Bedienperson ausgewähltes Spülprogramm eingefügt. Dabei reduziert das Einfügen des Programmabschnitts zum Lösen von Fettablagerung in ein Spülprogramm den Gesamtenergiebedarf, da keine gesondert Inbetriebnahme zur Durchführung des Programmabschnitts zum Lösen von Fettablagerung erforderlich ist, sondern nur zusätzlicher Energiebedarf für das Aufheizen der Spülflotte auf die Fettablösetemperatur besteht, wenn diese höher sein sollte, als die im jeweiligen Spülprogramm vorgesehene Maximaltemperatur.
- Ferner ist vorzugsweise vorgesehen, dass der Programmabschnitt zum Lösen von Fettablagerungen ein Teilprogrammabschnitt mit eines einer Mehrzahl von Teilprogrammabschnitten aufweisendes Spülprogramms ist, während dem zu reinigendes Spülgut mit mit Reinigungsmitteln versetzte Spülflotte beaufschlagbar ist. Somit wird der Programmabschnitt zum Lösen von Fettablagerung in einem Teilprogrammabschnitt Reinigen eines Spülprogramms integriert, in dem durch Reinigungsmittelzugabe bei gleichzeitiger Erwärmung der Spülflotte eine maximale Reinigungsleistung erzielt wird. Ferner kann aufgrund der großen Reinigungswirkung während des Teilprogrammschritts Reinigen und der damit stark verschmutzten Spülflotte Rückanschmutzungen dadurch verhindert werden, dass die im Teilprogrammschritt Reinigen verwendete Spülflotte vollständig am Ende des Teilprogrammschritts Reinigen aus der Geschirrspülmaschine gefördert wird, bevor eine Neubefüllung erfolgt. Zugleich steigern die Reinigungsmittel auch die Fettlösewirkung der Spülflotte.
- Schließlich ist vorzugsweise vorgesehen, dass der Festfettsensor zur Erfassung von Fettablagerung und/oder der Flüssigfettsensor zur Erfassung von in der Spülflotte gelösten Fetten mit einer Heizungssteuerung / Messsignale übertragend verbunden ist, wobei die Heizungssteuerung auf ein Über und/oder Unterschreiten wenigstens eines vorgegebenen Grenzwertes für das Messsignal die mit der Heizung in Verbindung stehende Heizungssteuerung aktiviert und/oder deaktiviert. Somit erlaubt der Festfettsensor zur Erfassung von Fettablagerung und/oder der Flüssigfettsensor zur Erfassung von in der Spülflotte gelösten Fetten, die zu erreichende Fettablösetemperatur während des Programmschritts zum Lösen von Fettablagerung an die Art der jeweiligen Fettablagerung und damit verbundenen Fettablösetemperatur anzupassen. Somit werden unnötig hohe Temperaturen vermieden und damit Energie eingespart.
- Ferner gehört zur Erfindung ein Verfahren zum Betreiben einer Geschirrspülmaschine, insbesondere einer Haushalts-Geschirrspülmaschine, während dem wenigstens ein Programmabschnitt zum Lösen von Fettablagerung an zu reinigenden und/oder zu trocknenden Spülgut und/oder im Hydraulikkreislauf der Geschirrspülmaschine durchgeführt wird, wobei während des Programmabschnitts zum Lösen von Fettablagerung im Hydraulikkreislauf umgewälzte Spülflotte mit der Heizung mindestens auf eine Fettablösetemperatur aufgeheizt wird, wobei erfindungsgemäß vorgesehen ist, dass während des Programmabschnitts zum Lösen von Fettablagerungen durch zum zumindest zeitweisen Betrieb der Heizung die Temperatur der Spülflotte für eine vorgegebene Zeitdauer mindestens auf den Wert der Fettablösetemperatur gehalten wird, wobei die vorgegebene Zeitdauer sich bis zu einem Ende eines Abpumpvorgangs von Spülflotte zum Herausfördern von Spülflotte aus der Geschirrspülmaschine erstreckt.
- Vorteilhafte Weiterbildungen des Verfahrens zum Betreiben einer Geschirrspülmaschine, insbesondere einer Haushalts-Geschirrspülmaschine, sind in den Unteransprüchen angegeben.
- Im Folgenden wird die Erfindung unter Bezugnahme einer Zeichnung erläutert:
- Es zeigen:
- Figur 1
- eine schematische Darstellung eines Ausführungsbeispiels einer erfindungsgemäßen Geschirrspülmaschine, und
- Figur 2
- einen Temperaturverlauf eines Ausführungsbeispiels gemäß dem Verfahren zum Betreiben einer Geschirrspülmaschine.
- Es wird zunächst auf
Figur 1 Bezug genommen. - Dargestellt ist im vorliegenden Ausführungsbeispiel eine als Haushalts-Geschirrspülmaschine ausgebildete Geschirrspülmaschine GS, die einen Spülbehälter SB aufweist, in dem zu reinigendes Spülgut auf ausziehbaren Geschirrkörben (nicht dargestellt) angeordnet werden kann. Zur Beaufschlagung des in den Geschirrkörben angeordneten Spülguts mit z.B. Wasser ist ein Hydrauliksystem vorgesehen, das z. B. rotierende Sprüharme aufweisen kann (nicht dargestellt), die flüssigkeitsleitend mit einer Umwälzpumpe (nicht dargestellt) verbunden sind, mit der von dem Spülgut abtropfendes Wasser zu den Sprüharmen gefördert werden kann. Dabei ist im Hydrauliksystem eine Heizeinrichtung (nicht dargestellt) zum Erwärmen des Wassers vorgesehen. Zum Öffnen des Spülbehälters, um die Geschirrkörbe be- und/oder entladen zu können, ist eine Tür TU vorgesehen. Zur Auswahl eines Spülprogramms von einer Mehrzahl von Spülprogrammen mit unterschiedlicher Reinigungsleistung und/oder Programmdauer und Starten dieses Spülprogramms weist die Geschirrspülmaschine GS eine Bedienblende BL mit Spülprogramm-Auswahlschaltern (nicht dargestellt) sowie optischen Anzeigemitteln AZ auf.
- An der Innenseite der Tür TU, d. h. bei geschlossener Tür TU im Inneren des Spülbehälters SB, ist eine Zugabeeinheit ZU angeordnet, die vor Inbetriebnahme der Geschirrspülmaschine mit Reinigungsmittel und Klarspüler versehen werden kann. Dabei steht die Zugabeeinheit ZU über nicht dargestellte Steuersignalleitungen mit den Steuermitteln SM der Geschirrspülmaschine GS, beispielsweise in Form einer Steuerelektronik, in Verbindung, um zumindest während eines Teilprogrammschritts Reinigen R eine Reinigungsmittel und während eines Teilprogrammschritts Klarspülen K eine Klarspülerzugabe zu bewirken.
- Dabei ist die Zugabeeinheit ZU zur Abgabe eines pulverförmigen oder in Tablettenform vorliegenden festen Reinigungsmittels ausgebildet, während der Klarspüler in flüssiger Form vorliegt. Es ist jedoch auch denkbar, eine Zugabeeinheit zu verwenden, die die Abgabe eines sowohl festen Reinigungsmittels als auch Klarspülers erlaubt oder eines festen Klarspülers und eines flüssigen Reinigungsmittels.
- Ferner weist die Geschirrspülmaschine GS einen im Pumpentopf angeordneten Trübungssensor (nicht dargestellt) auf, mit der zum einen der Verschmutzungsgrad der umgewälzten Spülflotte erfasst werden kann, und zum anderen als Festfettsensor zur Erfassung von Fettablagerung dient, da diese Fettablagerung die Messfläche des Trübungssensors beeinflussen. Der Trübungssensor ist messsignaltechnisch durch eine entsprechende Signalleitung (nicht dargestellt) mit einer Heizungssteuerung (nicht dargestellt) verbunden, die wiederum mit der Heizung durch Leitungen (nicht dargestellt) verbunden ist. Ferner ist ein Flüssigfettsensor (nicht dargestellt) zur Erfassung gelöster Fette vorgesehen, der in einem Abschnitt einer Zuführleitung (nicht dargestellt) zum Sprüharm angeordnet ist und der ebenfalls über Signalleitungen (nicht dargestellt) messsignaltechnisch mit der Heizungssteuerung in Verbindung steht.
- Die Heizungssteuerung kann eine eigenständige Baugruppe sein oder Teil einer Steuerelektronik einer Steuereinheit zur Steuerung der Geschirrspülmaschine GS sein, insbesondere zur Durchführung eines oder mehrerer Spülprogramme, die jeweils eine Vielzahl von Teilprogrammabschnitten aufweisen.
- Es wird nun zusätzlich auf
Figur 2 Bezug genommen. - Dargestellt ist ein Ausführungsbeispiel eines Spülprogramms, das neben den Teilprogrammschritten Reinigen R und Klarspülen K die weiteren Teilprogrammschritte Vorspülen V, Zwischenspülen Z und Trocknen T umfasst, wobei einzelne dieser genannten Teilprogrammschritte auch ausgeblendet und/oder mehrfach ausgeführt werden können.
- Dabei wird während des Teilprogrammschritts Vorspülen V das Spülgut mit unerwärmtem Wasser ohne Reinigungsmittel- oder Klarspülerzugabe vorgereinigt, um grobe Anschmutzung zu lösen und zu entfernen. Um die Reinigungsleistung während des Teilprogrammschritts Vorspülen V zu steigern kann es jedoch auch vorgesehen sein, dass Wasser zu erwärmen.
- Nach einem Spülflottenwechsel, d. h. einem teilweisen oder vollständigen Abpumpen des während des Teilprogrammschritts Vorspülen V verwendeten Wassers, wird eine Neubefüllung der Geschirrspülmaschine GS vor dem Teilprogrammschritt Reinigen R durchgeführt, bei dem durch die Heizung die umgewälzte Spülflotte oder Wasser bis zu einer Maximaltemperatur TMAX von z.B. 70°C erwärmt wird und anschließend bei abgestellter Heizung wieder langsam abkühlt. Dabei liegt die Maximaltemperatur TMAX über einer Fettlösetemperatur FT, so dass sichergestellt ist, dass sich Fettablagerung lösen. Mit Erreichen der Maximaltemperatur TMAX wird durch die Heizungssteuerung die Heizung deaktiviert, so dass die durch die Umwälzpumpe umgewälzte Spülflotte sich langsam abkühlt auf einen Wert, der der Fettablösetemperatur FT entspricht. Das Erreichen der Fettablösetemperatur FT kann durch Temperaturmessung der umgewälzten Spülflotte mittels eines Temperatursensor (nicht dargestellt) erfolgen, oder dadurch, dass Fettanlagerungen an dem Trübungssensor erfasst werden oder eine Abnahme der gelösten Fette in der Spülflotte mit dem Flüssigfettsensor zur Erfassung von in der Spülflotte gelösten Fette erfasst werden, wobei sowohl die Messsignale der Heizungssteuerung durchgeführt werden. Die Heizungssteuerung nimmt dabei einen Vergleich mit ausgewählten, abgespeicherten Referenzwerten vor, um auf ein Über-und/oder Unterschreitungen die Heizung wieder zu aktivieren, so dass die umgewälzte Spülflotte mindestens auf einer Temperatur gehalten wird, die der Fettablösetemperatur entspricht, so dass Rückanschmutzungen durch Fettablagerung vermieden sind.
- Zum Fettablösen ist vorgesehen, dass während des Teilprogrammschritts Reinigen R die Spülflotte auf eine Temperatur TMAX aufgeheizt wird, die über der zu erwartenden Fettablösetemperatur FT ist, um die Fettablagerung zu lösen.
- An den Teilprogrammschritt Reinigen R schließt sich ein Teilprogrammschritt Zwischenspülen Z an, der mit einem Abpumpvorgang der verwendeten Spülflotte und einer Neufüllung der Geschirrspülmaschine GS mit Wasser verbunden ist und während dem das gereinigte Spülgut mit Wasser beaufschlagt wird, um Reinigerreste und Klarspülerreste zu entfernen. Dabei werden durch den Abpumpvorgang die gelösten Fette aus der Geschirrspülmaschine GS gefördert. So wird erreicht, dass an dem zu reinigenden Spülgut und/oder an Kunststoffteilen der Geschirrspülmaschine wie beispielsweise Pumpen, Siebe oder Schläuche, die den Hydraulikkreislauf der Geschirrspülmaschine bilden, im Wesentlichen frei von Fettablagerungen sind.
- Es folgt der vorletzte Teilprogrammschritt das Klarspülen K, der wieder durch einen Abpumpvorgang und einen Neufüllvorgang der Geschirrspülvorgang GS mit Wasser eingeleitet wird. Während des Klarspülens K wird das mit Klarspüler versetzte Wasser durch Inbetriebnahme der Heizung bis auf eine Trockentemperatur TT aufgeheizt und während dieser Zeit das Spülgut mit dieser Flüssigkeit beaufschlagt. Dabei wird die Trockentemperatur TT so hoch gewählt, dass eine im Wesentlichen fleckenfreie Trocknung des Spülguts durch Eigen-Trocknung sichergestellt ist. Wenn die Geschirrspülmaschine GS jedoch ein Trocknungssystem zur Trocknung von Spülgut aufweist, dass beispielsweise ein reversibles dehydrierbares Material, wie z. B. Zeolith aufweist, durch das feuchte Luft aus dem Spülbehälter der Geschirrspülmaschine zum Entfeuchten geleitet wird, ist eine Erwärmung auf den zu hohen Temperaturen nicht nötig.
- Anschließend erfolgt der letzte Teilprogrammschritt Trocknen T, während dem keine Beaufschlagung des nunmehr gereinigten Spülguts mit Spülflüssigkeit erfolgt, sondern das Spülgut z. B. auf Grund seiner Eigenwärme abtrocknet oder durch Inbetriebnahme des Trocknungssystems getrocknet wird, so dass am Ende des Teilprogrammschritts Trocknen T gereinigtes und getrocknetes Spülgut aus dem Spülbehälter SB der Geschirrspülmaschine GS entnommen werden kann.
- Zur Fettablösung, z. B. während des Teilprogrammschritts Reinigen R, kann zusätzlich vorgesehen sein, dass während des Spülprogramms die maximale Reinigungstemperatur TMAX bei Vorliegen von Verfettungen angehoben wird, wenn z. B. diese sensorisch erfasst worden oder spülprogrammtechnisch eine Entfettung der Geschirrspülmaschine GS vorgesehen ist. Um dabei ferner den Energieverbrauch zu reduzieren kann dabei vorgesehen sein, das Hydrauliksystem mit dem Sprüharm und der Umwälzpumpe derart anzusteuern, dass eine Beaufschlagung von Spülgut mit einer erwärmten Spülfront vermieden wird, in dem z. B. die Umwälzpumpe mit niedriger Drehzahl betrieben wird und so derart aus dem Sprüharm austritt, dass sie das Spülgut nicht erreicht.
-
- AZ
- Anzeigemittel
- BL
- Blende
- FS
- Fehlersignal
- GS
- Geschirrspülmaschine
- K
- Klarspülen
- KZ1
- Klarspülerzugabe
- KZ2
- Klarspülerzugabe
- R
- Reinigen
- RZ
- Reinigerzugabe
- SB
- Spülbehälter
- SM
- Steuermittel
- T
- Trocknen
- TMAx
- Maximaltemperatur
- TT
- Trockentemperatur
- TU
- Tür
- V
- Vorspülen
- Z
- Zwischenspülen
- ZU
- Zugabeeinheit
Claims (14)
- Geschirrspülmaschine (GS), insbesondere Haushalts-Geschirrspülmaschine, mit der wenigstens ein Programmabschnitt zum Lösen von Fettablagerung an zu reinigenden und/oder zu trocknenden Spülgut und/oder im Hydraulikkreislauf der Geschirrspülmaschine (GS) durchführbar ist, wobei während des Programmabschnitts zum Lösen von Fettablagerung im Hydraulikkreislauf umgewälzte Spülflotte mindestens mit einer Heizung auf eine Fettablösetemperatur (FT) aufgeheizt wird, dadurch gekennzeichnet, dass während des Programmabschnitts zum Lösen von Fettablagerungen durch zumindest zeitweisen Betrieb der Heizung die Temperatur der Spülflotte für eine vorgegebene Zeitdauer mindestens auf den Wert der Fettablösetemperatur (FT) aufgeheizt ist, wobei die vorgegebene Zeitdauer sich bis zu einem Ende eines Abpumpvorgangs von Spülflotte zum Herausfördern von Spülflotte aus der Geschirrspülmaschine (GS) erstreckt.
- Geschirrspülmaschine (GS) nach Anspruch 1, dadurch gekennzeichnet, dass ein Festfettsensor zur Erfassung von Fettablagerung vorgesehen ist.
- Geschirrspülmaschine (GS) nach Anspruch 2, dadurch gekennzeichnet, dass der Festfettsensor als Trübungssensor ausgebildet ist, dessen Ausgangssignal durch Fettablagerung auf Messflächen des Trübungssensors beeinflussbar ist.
- Geschirrspülmaschine (GS) nach einem der Ansprüche 1 bis 3, dadurch gekennzeichnet, dass ein Flüssigfettsensor zur Erfassung von in der Spülflotte gelösten Fetten vorgesehen ist.
- Geschirrspülmaschine (GS) nach einem der Ansprüche 1 bis 4, dadurch gekennzeichnet, dass der Programmabschnitt zum Lösen von Fettablagerungen ein Teilprogrammschritt (V, R) eines eine Mehrzahl von Teilprogrammschritten (V, R, Z, K, T) aufweisenden Spülprogramms ist, während dem zu reinigendes Spülgut mit erwärmter Spülflotte beaufschlagbar ist.
- Geschirrspülmaschine (GS) nach einem der Ansprüche 1 bis 5, dadurch gekennzeichnet, dass der Programmabschnitt zum Lösen von Fettablagerungen ein Teilprogrammschritt (R) eines eine Mehrzahl von Teilprogrammschritten (V, R, Z, K, T) aufweisenden Spülprogramms ist, während dem zu reinigendes Spülgut mit Reinigungsmitteln versetzter Spülflotte beaufschlagbar ist.
- Geschirrspülmaschine (GS) nach einem der Ansprüche 2 bis 6, dadurch gekennzeichnet, dass der Festfettsensor zur Erfassung von Fettablagerung und/oder der Flüssigfettsensor zur Erfassung von in der Spülflotte gelösten Fetten mit einer Heizungssteuerung Messsignale übertragend verbunden ist, wobei auf ein Über-und/oder Unterschreiten wenigstens eines vorgegebenen Grenzwertes für das Messsignal die mit der Heizungssteuerung in Wirkverbindung stehende Heizung aktivier- und/oder deaktivierbar ist.
- Verfahren zum Betreiben einer Geschirrspülmaschine (GS), insbesondere einer Haushalts-Geschirrspülmaschine, während dem wenigstens ein Programmabschnitt zum Lösen von Fettablagerung an zu reinigenden und/oder zu trocknenden Spülgut und/oder im Hydraulikkreislauf der Geschirrspülmaschine (GS) durchgeführt wird, wobei während des Programmabschnitts zum Lösen von Fettablagerung im Hydraulikkreislauf umgewälzte Spülflotte mindestens mit einer Heizung auf eine Fettablösetemperatur aufgeheizt wird, dadurch gekennzeichnet, dass während des Programmabschnitts zum Lösen von Fettablagerungen durch zumindest zeitweisen Betrieb der Heizung die Temperatur der Spülflotte für eine vorgegebene Zeitdauer mindestens auf den Wert der Fettablösetemperatur gehalten wird, wobei die vorgegebene Zeitdauer sich bis zu einem Ende eines Abpumpvorgangs von Spülflotte zum Herausfördern von Spülflotte aus der Geschirrspülmaschine (GS) erstreckt
- Verfahren nach Anspruch 8, dadurch gekennzeichnet, dass ein Festfettsensor zur Erfassung von Fettablagerung verwendet wird.
- Verfahren nach Anspruch 9, dadurch gekennzeichnet, dass als Festfettsensor ein Trübungssensor verwendet wird, dessen Ausgangssignal durch Fettablagerung auf Messflächen des Trübungssensors beeinflussbar ist.
- Verfahren nach einem der Ansprüche 9 bis 10, dadurch gekennzeichnet, dass ein Flüssigfettsensor zur Erfassung von in der Spülflotte gelösten Fetten verwendet wird.
- Verfahren nach einem der Ansprüche 9 bis 11, dadurch gekennzeichnet, dass der Programmabschnitt zum Lösen von Fettablagerungen ein Teilprogrammschritt (V, R) eines eine Mehrzahl von Teilprogrammschritten (V, R, Z, K, T) aufweisendes Spülprogramms ist, während dem zu reinigendes Spülgut mit erwärmter Spülflotte beaufschlagt wird.
- Verfahren nach einem der Ansprüche 9 bis 12, dadurch gekennzeichnet, dass der Programmabschnitt zum Lösen von Fettablagerungen ein Teilprogrammschritt (R) eines eine Mehrzahl von Teilprogrammabschnitten (V, R, Z, K, T) aufweisendes Spülprogramms ist, während dem zu reinigendes Spülgut mit mit Reinigungsmitteln versetzter Spülflotte beaufschlagt wird.
- Verfahren nach einem der Ansprüche 10 bis 13, dadurch gekennzeichnet, dass der Festfettsensor zur Erfassung von Fettablagerung und/oder der Flüssigfettsensor zur Erfassung von in der Spülflotte gelösten Fetten mit einer Heizungssteuerung Messsignal übertragend verbunden ist, wobei auf ein Über- und/oder Unterschreiten wenigstens eines vorgegebenen Grenzwertes für das Messsignal die mit der Heizungssteuerung in Verbindung stehenden Heizung aktiviert und/oder deaktiviert wird.
Applications Claiming Priority (1)
| Application Number | Priority Date | Filing Date | Title |
|---|---|---|---|
| DE102010043330A DE102010043330A1 (de) | 2010-11-03 | 2010-11-03 | Geschirrspülmaschine, insbesondere Haushalts-Geschirrspülmaschine |
Publications (2)
| Publication Number | Publication Date |
|---|---|
| EP2449942A2 true EP2449942A2 (de) | 2012-05-09 |
| EP2449942A3 EP2449942A3 (de) | 2017-06-07 |
Family
ID=45098854
Family Applications (1)
| Application Number | Title | Priority Date | Filing Date |
|---|---|---|---|
| EP11186159.7A Withdrawn EP2449942A3 (de) | 2010-11-03 | 2011-10-21 | Geschirrspülmaschine, insbesondere Haushalts-Geschirrspülmaschine |
Country Status (2)
| Country | Link |
|---|---|
| EP (1) | EP2449942A3 (de) |
| DE (1) | DE102010043330A1 (de) |
Cited By (2)
| Publication number | Priority date | Publication date | Assignee | Title |
|---|---|---|---|---|
| EP3944804A1 (de) * | 2020-07-28 | 2022-02-02 | Arçelik Anonim Sirketi | Geschirrspülmaschine mit einer heizeinrichtung |
| US20230042630A1 (en) * | 2021-08-06 | 2023-02-09 | Haier Us Appliance Solutions, Inc. | Dishwashing appliance clogged drain line prevention |
Family Cites Families (4)
| Publication number | Priority date | Publication date | Assignee | Title |
|---|---|---|---|---|
| DE19758064B4 (de) * | 1997-12-29 | 2016-11-24 | BSH Hausgeräte GmbH | Verfahren zur Programmsteuerung von wasserführenden Haushaltgeräten, insbesondere Geschirrspülmaschinen |
| DE10257826A1 (de) * | 2002-05-16 | 2003-11-27 | Electrolux Home Prod Corp | Geschirrspülmaschine und Verfahren zum Betreiben einer Geschirrspülmaschine bei Verwendung von einem Kombinationspräparat mit mehreren Wirkstoffen |
| DE102008040647A1 (de) * | 2008-07-23 | 2010-01-28 | BSH Bosch und Siemens Hausgeräte GmbH | Wasserführendes Haushaltsgerät, insbesondere Geschirrspül- oder Waschmaschine |
| DE102009002147A1 (de) * | 2009-04-02 | 2010-10-14 | BSH Bosch und Siemens Hausgeräte GmbH | Geschirrspülmaschine |
-
2010
- 2010-11-03 DE DE102010043330A patent/DE102010043330A1/de active Pending
-
2011
- 2011-10-21 EP EP11186159.7A patent/EP2449942A3/de not_active Withdrawn
Non-Patent Citations (1)
| Title |
|---|
| None |
Cited By (3)
| Publication number | Priority date | Publication date | Assignee | Title |
|---|---|---|---|---|
| EP3944804A1 (de) * | 2020-07-28 | 2022-02-02 | Arçelik Anonim Sirketi | Geschirrspülmaschine mit einer heizeinrichtung |
| US20230042630A1 (en) * | 2021-08-06 | 2023-02-09 | Haier Us Appliance Solutions, Inc. | Dishwashing appliance clogged drain line prevention |
| US11839340B2 (en) * | 2021-08-06 | 2023-12-12 | Haier Us Appliance Solutions, Inc. | Dishwashing appliance clogged drain line prevention |
Also Published As
| Publication number | Publication date |
|---|---|
| DE102010043330A1 (de) | 2012-05-03 |
| EP2449942A3 (de) | 2017-06-07 |
Similar Documents
| Publication | Publication Date | Title |
|---|---|---|
| EP2413773B1 (de) | Geschirrspülmaschine | |
| EP2312987B1 (de) | Wasserführendes haushaltsgerät, insbesondere geschirrspül- oder waschmaschine | |
| EP2323532B1 (de) | Wasserführendes haushaltsgerät, insbesondere geschirrspül- oder waschmaschine | |
| DE102008057178A1 (de) | Anlage zum Spülen von Spülgut und Verfahren zum Betreiben einer solchen Anlage | |
| DE202009018994U1 (de) | Transportspülmaschine | |
| EP2407078B1 (de) | Geschirrspülmaschine | |
| DE102007009252A1 (de) | Verfahren zum Betrieb einer Durchlaufgeschirrspülmaschine | |
| EP2072000A1 (de) | Geschirrspülmaschine in Form eines Programmautomaten und Verfahren zu deren Betrieb | |
| EP2323533B1 (de) | Spülverfahren für ein wasserführendes haushaltsgerät, insbesondere eine geschirrspülmaschine | |
| DE102011081246A1 (de) | Spülmaschine sowie Verfahren zum automatischen Reinigen einer Spülmaschine | |
| DE102009024569A1 (de) | Transportspülmaschine zum Spülen von Spülgut sowie Verfahren zum Betrieb einer derartigen Transportspülmaschine | |
| DE102018106340A1 (de) | Transportspülmaschine | |
| WO2009156332A1 (de) | Verfahren zum betreiben eines wasserführenden haushaltsgeräts | |
| EP2919637B1 (de) | Geschirrspülmaschine mit einer mehrkammerigen speichereinrichtung für spülflotte | |
| EP2449943B1 (de) | Geschirrspülmaschine | |
| DE102012213271A1 (de) | Spülmaschine sowie Verfahren zum Betreiben einer Spülmaschine | |
| EP2326230B1 (de) | Spülverfahren für ein wasserführendes haushaltsgerät | |
| DE112016006161T5 (de) | Geschirrspülmaschine und steuerverfahren dafür | |
| EP2449942A2 (de) | Geschirrspülmaschine, insbesondere Haushalts-Geschirrspülmaschine | |
| EP2570068A1 (de) | Verfahren zur Reinigung eines Spülflotten-Speicherbehälters | |
| EP1362546A2 (de) | Verfahren zum Betreiben einer Geschirrspülmaschine und entsprechende Geschirrspülmaschine | |
| EP2315546B1 (de) | Geschirrspülmaschine mit zwei umwälzkreisläufen | |
| EP2420174B1 (de) | Geschirrspülmaschine mit einer verbesserten Abpumpsequenz | |
| DE102008028304A1 (de) | Transportspülmaschine, insbesondere gewerbliche Korbtransportspülmaschine, und Verfahren zu deren Betrieb | |
| EP2105080A1 (de) | Verfahren zur Durchführung eines Spülprogramms mit Teilaustausch der im Spülbehälter befindlichen Spülflüssigkeit |
Legal Events
| Date | Code | Title | Description |
|---|---|---|---|
| PUAI | Public reference made under article 153(3) epc to a published international application that has entered the european phase |
Free format text: ORIGINAL CODE: 0009012 |
|
| AK | Designated contracting states |
Kind code of ref document: A2 Designated state(s): AL AT BE BG CH CY CZ DE DK EE ES FI FR GB GR HR HU IE IS IT LI LT LU LV MC MK MT NL NO PL PT RO RS SE SI SK SM TR |
|
| AX | Request for extension of the european patent |
Extension state: BA ME |
|
| RAP1 | Party data changed (applicant data changed or rights of an application transferred) |
Owner name: BSH HAUSGERAETE GMBH |
|
| PUAL | Search report despatched |
Free format text: ORIGINAL CODE: 0009013 |
|
| AK | Designated contracting states |
Kind code of ref document: A3 Designated state(s): AL AT BE BG CH CY CZ DE DK EE ES FI FR GB GR HR HU IE IS IT LI LT LU LV MC MK MT NL NO PL PT RO RS SE SI SK SM TR |
|
| AX | Request for extension of the european patent |
Extension state: BA ME |
|
| RIC1 | Information provided on ipc code assigned before grant |
Ipc: A47L 15/46 20060101ALI20170502BHEP Ipc: A47L 15/00 20060101AFI20170502BHEP |
|
| PUAL | Search report despatched |
Free format text: ORIGINAL CODE: 0009013 |
|
| STAA | Information on the status of an ep patent application or granted ep patent |
Free format text: STATUS: THE APPLICATION HAS BEEN PUBLISHED |
|
| STAA | Information on the status of an ep patent application or granted ep patent |
Free format text: STATUS: THE APPLICATION IS DEEMED TO BE WITHDRAWN |
|
| 18D | Application deemed to be withdrawn |
Effective date: 20171208 |