EP2314524A2 - Spruhvorrichtung und Herstellungsverfahren Dafur - Google Patents
Spruhvorrichtung und Herstellungsverfahren Dafur Download PDFInfo
- Publication number
- EP2314524A2 EP2314524A2 EP10173700A EP10173700A EP2314524A2 EP 2314524 A2 EP2314524 A2 EP 2314524A2 EP 10173700 A EP10173700 A EP 10173700A EP 10173700 A EP10173700 A EP 10173700A EP 2314524 A2 EP2314524 A2 EP 2314524A2
- Authority
- EP
- European Patent Office
- Prior art keywords
- spray head
- refill
- detection means
- interrogation
- fluid
- Prior art date
- Legal status (The legal status is an assumption and is not a legal conclusion. Google has not performed a legal analysis and makes no representation as to the accuracy of the status listed.)
- Granted
Links
Images
Classifications
-
- B—PERFORMING OPERATIONS; TRANSPORTING
- B65—CONVEYING; PACKING; STORING; HANDLING THIN OR FILAMENTARY MATERIAL
- B65D—CONTAINERS FOR STORAGE OR TRANSPORT OF ARTICLES OR MATERIALS, e.g. BAGS, BARRELS, BOTTLES, BOXES, CANS, CARTONS, CRATES, DRUMS, JARS, TANKS, HOPPERS, FORWARDING CONTAINERS; ACCESSORIES, CLOSURES, OR FITTINGS THEREFOR; PACKAGING ELEMENTS; PACKAGES
- B65D83/00—Containers or packages with special means for dispensing contents
- B65D83/14—Containers for dispensing liquid or semi-liquid contents by internal gaseous pressure, i.e. aerosol containers comprising propellant
- B65D83/16—Actuating means
-
- B—PERFORMING OPERATIONS; TRANSPORTING
- B65—CONVEYING; PACKING; STORING; HANDLING THIN OR FILAMENTARY MATERIAL
- B65D—CONTAINERS FOR STORAGE OR TRANSPORT OF ARTICLES OR MATERIALS, e.g. BAGS, BARRELS, BOTTLES, BOXES, CANS, CARTONS, CRATES, DRUMS, JARS, TANKS, HOPPERS, FORWARDING CONTAINERS; ACCESSORIES, CLOSURES, OR FITTINGS THEREFOR; PACKAGING ELEMENTS; PACKAGES
- B65D83/00—Containers or packages with special means for dispensing contents
- B65D83/14—Containers for dispensing liquid or semi-liquid contents by internal gaseous pressure, i.e. aerosol containers comprising propellant
- B65D83/16—Actuating means
- B65D83/26—Actuating means operating automatically, e.g. periodically
- B65D83/262—Actuating means operating automatically, e.g. periodically by clockwork, motor, electric or magnetic means operating without repeated human input
-
- B—PERFORMING OPERATIONS; TRANSPORTING
- B05—SPRAYING OR ATOMISING IN GENERAL; APPLYING FLUENT MATERIALS TO SURFACES, IN GENERAL
- B05B—SPRAYING APPARATUS; ATOMISING APPARATUS; NOZZLES
- B05B1/00—Nozzles, spray heads or other outlets, with or without auxiliary devices such as valves, heating means
- B05B1/02—Nozzles, spray heads or other outlets, with or without auxiliary devices such as valves, heating means designed to produce a jet, spray, or other discharge of particular shape or nature, e.g. in single drops, or having an outlet of particular shape
- B05B1/08—Nozzles, spray heads or other outlets, with or without auxiliary devices such as valves, heating means designed to produce a jet, spray, or other discharge of particular shape or nature, e.g. in single drops, or having an outlet of particular shape of pulsating nature, e.g. delivering liquid in successive separate quantities
-
- B—PERFORMING OPERATIONS; TRANSPORTING
- B05—SPRAYING OR ATOMISING IN GENERAL; APPLYING FLUENT MATERIALS TO SURFACES, IN GENERAL
- B05B—SPRAYING APPARATUS; ATOMISING APPARATUS; NOZZLES
- B05B11/00—Single-unit hand-held apparatus in which flow of contents is produced by the muscular force of the operator at the moment of use
-
- B—PERFORMING OPERATIONS; TRANSPORTING
- B05—SPRAYING OR ATOMISING IN GENERAL; APPLYING FLUENT MATERIALS TO SURFACES, IN GENERAL
- B05B—SPRAYING APPARATUS; ATOMISING APPARATUS; NOZZLES
- B05B12/00—Arrangements for controlling delivery; Arrangements for controlling the spray area
- B05B12/02—Arrangements for controlling delivery; Arrangements for controlling the spray area for controlling time, or sequence, of delivery
-
- B—PERFORMING OPERATIONS; TRANSPORTING
- B05—SPRAYING OR ATOMISING IN GENERAL; APPLYING FLUENT MATERIALS TO SURFACES, IN GENERAL
- B05B—SPRAYING APPARATUS; ATOMISING APPARATUS; NOZZLES
- B05B12/00—Arrangements for controlling delivery; Arrangements for controlling the spray area
- B05B12/08—Arrangements for controlling delivery; Arrangements for controlling the spray area responsive to condition of liquid or other fluent material to be discharged, of ambient medium or of target ; responsive to condition of spray devices or of supply means, e.g. pipes, pumps or their drive means
- B05B12/12—Arrangements for controlling delivery; Arrangements for controlling the spray area responsive to condition of liquid or other fluent material to be discharged, of ambient medium or of target ; responsive to condition of spray devices or of supply means, e.g. pipes, pumps or their drive means responsive to conditions of ambient medium or target, e.g. humidity, temperature position or movement of the target relative to the spray apparatus
-
- B—PERFORMING OPERATIONS; TRANSPORTING
- B05—SPRAYING OR ATOMISING IN GENERAL; APPLYING FLUENT MATERIALS TO SURFACES, IN GENERAL
- B05B—SPRAYING APPARATUS; ATOMISING APPARATUS; NOZZLES
- B05B17/00—Apparatus for spraying or atomising liquids or other fluent materials, not covered by the preceding groups
- B05B17/04—Apparatus for spraying or atomising liquids or other fluent materials, not covered by the preceding groups operating with special methods
-
- B—PERFORMING OPERATIONS; TRANSPORTING
- B05—SPRAYING OR ATOMISING IN GENERAL; APPLYING FLUENT MATERIALS TO SURFACES, IN GENERAL
- B05B—SPRAYING APPARATUS; ATOMISING APPARATUS; NOZZLES
- B05B9/00—Spraying apparatus for discharge of liquids or other fluent material, without essentially mixing with gas or vapour
- B05B9/01—Spray pistols, discharge devices
-
- B—PERFORMING OPERATIONS; TRANSPORTING
- B65—CONVEYING; PACKING; STORING; HANDLING THIN OR FILAMENTARY MATERIAL
- B65D—CONTAINERS FOR STORAGE OR TRANSPORT OF ARTICLES OR MATERIALS, e.g. BAGS, BARRELS, BOTTLES, BOXES, CANS, CARTONS, CRATES, DRUMS, JARS, TANKS, HOPPERS, FORWARDING CONTAINERS; ACCESSORIES, CLOSURES, OR FITTINGS THEREFOR; PACKAGING ELEMENTS; PACKAGES
- B65D83/00—Containers or packages with special means for dispensing contents
- B65D83/14—Containers for dispensing liquid or semi-liquid contents by internal gaseous pressure, i.e. aerosol containers comprising propellant
-
- B—PERFORMING OPERATIONS; TRANSPORTING
- B65—CONVEYING; PACKING; STORING; HANDLING THIN OR FILAMENTARY MATERIAL
- B65D—CONTAINERS FOR STORAGE OR TRANSPORT OF ARTICLES OR MATERIALS, e.g. BAGS, BARRELS, BOTTLES, BOXES, CANS, CARTONS, CRATES, DRUMS, JARS, TANKS, HOPPERS, FORWARDING CONTAINERS; ACCESSORIES, CLOSURES, OR FITTINGS THEREFOR; PACKAGING ELEMENTS; PACKAGES
- B65D83/00—Containers or packages with special means for dispensing contents
- B65D83/14—Containers for dispensing liquid or semi-liquid contents by internal gaseous pressure, i.e. aerosol containers comprising propellant
- B65D83/145—Containers for dispensing liquid or semi-liquid contents by internal gaseous pressure, i.e. aerosol containers comprising propellant with tamper-indicating means, e.g. located in front of nozzle outlets
-
- B—PERFORMING OPERATIONS; TRANSPORTING
- B65—CONVEYING; PACKING; STORING; HANDLING THIN OR FILAMENTARY MATERIAL
- B65D—CONTAINERS FOR STORAGE OR TRANSPORT OF ARTICLES OR MATERIALS, e.g. BAGS, BARRELS, BOTTLES, BOXES, CANS, CARTONS, CRATES, DRUMS, JARS, TANKS, HOPPERS, FORWARDING CONTAINERS; ACCESSORIES, CLOSURES, OR FITTINGS THEREFOR; PACKAGING ELEMENTS; PACKAGES
- B65D83/00—Containers or packages with special means for dispensing contents
- B65D83/14—Containers for dispensing liquid or semi-liquid contents by internal gaseous pressure, i.e. aerosol containers comprising propellant
- B65D83/16—Actuating means
- B65D83/20—Actuator caps
-
- B—PERFORMING OPERATIONS; TRANSPORTING
- B65—CONVEYING; PACKING; STORING; HANDLING THIN OR FILAMENTARY MATERIAL
- B65D—CONTAINERS FOR STORAGE OR TRANSPORT OF ARTICLES OR MATERIALS, e.g. BAGS, BARRELS, BOTTLES, BOXES, CANS, CARTONS, CRATES, DRUMS, JARS, TANKS, HOPPERS, FORWARDING CONTAINERS; ACCESSORIES, CLOSURES, OR FITTINGS THEREFOR; PACKAGING ELEMENTS; PACKAGES
- B65D83/00—Containers or packages with special means for dispensing contents
- B65D83/14—Containers for dispensing liquid or semi-liquid contents by internal gaseous pressure, i.e. aerosol containers comprising propellant
- B65D83/75—Aerosol containers not provided for in groups B65D83/16 - B65D83/74
Definitions
- the present invention relates to a device for spraying a fluid and particularly, but not exclusively to a device for spraying fluids such as fragrances deodorizing fluids and/or a pest control materials or the like.
- the present invention also relates to a method of using such a device.
- Prior art devices for spraying fragrances, deodorising agents and sanitising fluids into a room generally consist of a device containing a removable source of fluid. With such an arrangement once the source of fluid has been completely exhausted, the source can be replaced rather than replacing the entire device.
- sources come in many forms, including containers. bottles, cans and cartridges (generically, all such containers, bottles, cans and cartridges hereinafter will be referred to as "refills").
- Such refills can be pump sprays or aerosols, including metered and non-metered versions thereof.
- Known prior art devices typically comprise a housing having an opening through which the fluid is sprayed. A part of the housing is movable/removable to permit a refill to be introduced and subsequently removed from the interior of the device.
- the device further comprises a mechanically actuated arm or the like therein which is adapted to periodically activate in order to press down on a spray head connected to the refill, resulting in fluid passing from the body of the refill, through the spray head and out of the opening in the housing into the surrounding environment.
- a refill is typically standardised to a certain degree, as such, spraying devices may unwittingly provide an opportunity to facilitate vandalism or dangerous behaviour.
- vandals or the like may seek to intentionally insert a dangerous source of sprayable fluid into a spraying device.
- vandalism and/or intentional abuse could be the insertion of a paint aerosol into the device.
- the resulting damage from such abuse could be substantial.
- Such abuse would likely be associated with a significant health and safety risk.
- a spraying device with a refill of fluid therein, wherein the refill comprises a body forming a reservoir for the fluid and a spray head located at the uppermost part of the refill in fluid communication with the reservoir, and wherein the device comprises a housing adapted to receive the refill therein and having an aperture suitable for permitting, in use, the spraying of the fluid from an exit orifice of the spray head therethrough, the device further comprising actuation means configured for periodic actuation of the refill, wherein the device is provided with detection means configured to distinguish between at least one area of lower reflectance and at least one area of relatively higher reflectance on the spray head of said refill.
- Reflectance relates to radiation stnking a surface, some of it is absorbed and some is reflected, Reflectance is expressed as a unitless proportion.
- the term “lower reflectance” is used herein as a relative term with reference to the term “higher reflectance”: “lower” may include areas of zero or near zero reflectance.
- the body of the refill may be elongate, and the body may be provided with a valve stem at an upper portion of the body remote from the base of the body. At least a portion of the valve stem may be connected to the spray head to permit, in use, fluid to pass from the body of the refill, through the valve stem and through the spray head to the exit orifice where the fluid is sprayed into the surrounding environment.
- the spray head is provided with one area of lower reflectance and one area of relatively higher reflectance.
- the detection means are configured to operate to distinguish between areas of differing reflectance during movement of the spray head.
- the device according to the present invention may be able to detect when a user attempts to use the device with a potentially dangerous refill and, further, the device is preferably configured to deny the actuation means from activating and/or deny subsequent activation whilst such a refill is loaded in the device to prevent and/or limit any damage that could result from actuating the refill.
- a further advantage of the devices of the present invention is that they may be able to provide an improved end of life indication.
- a counting mechanism may be triggered.
- the counting mechanism may be calibrated to allow a pre-determined number of actuations of the refill which corresponds to the quantity of fluid stored in a refill.
- the counting mechanism may be operable in use, and after the pre-determined number of actuations has been reached, to prevent the device from causing further actuations of that refill until a user replaces the refill and/or resets the device
- the device may automatically reset every time a refill is loaded into the device. This end of life indication may be advantageous as the power consumption of the device will be minimised, this would be particularly advantageous where the device is battery powered or the like.
- the counting mechanism may be linked to an indicator that is adapted to communicate to the user of the device that a used or spent refill needs to be replaced.
- the pre-defined number of actuations is calculated to correspond to the quantity of fluid in the refill.
- the detection means are in direct communication with the actuation means such that, in use, the detection means may instruct the actuation means not to activate.
- control means may be provided that is in direct communication with both the detection means and the actuation means, said control means being operative to receive an input from the detection means and being operative to instruct the actuation means to activate or not depending on the received input
- the control means may be provided in the form of a micro processor, a circuit provided on a PCB or in the form of another convenient component(s).
- the actuation means are operable to cause actuation of the refill spray head by imparting a substantially downward force on the spray head.
- Said substantially downward force is preferably sufficient to cause the spray head to move in a substantially downward direction to open the fluid pathway between the body of the refill and the exit orifice of the spray head to spray a quantity of fluid out of the opening in the housing into the surrounding environment.
- the device may be configured such that the refill's inherent resilience and/or internal pressure is capable of applying a substantially upward force on the spray head sufficient to return the actuation means to its starting position without the need for power to be applied to said means.
- the detection means of the present invention is adapted, in use, to distinguish between areas of differing reflectance on a spray head of a refill, Preferably the detection means is capable of distinguishing as mentioned by interrogating the refill.
- the refill spray head may be interrogated by the detection means emitting radiation toward the spray head and collecting reflected radiation such that the amount of reflectance can be attributed specifically or approximately or generally to one or more portions of the spray head. Such attribution may permit it the detection means to directly, or in combination with a control unit, to determine whether any areas of differing reflectance are present on the spray head. If there are no areas of differing reflectance on the spray head of the refill there should be a substantially constant level of reflected radiation.
- the interrogation of the refill by the detection means may permit the detection means to detect whether at least one differing level of reflected radiation is detected without attributing the detected level of reflectance to a specific portion of the spray head.
- Such detection may permit the detection means to directly, or in combination with a control unit, determine whether any areas of differing reflectance are present on the spray head.
- the detection means may be configured to make a determination that there are differing levels of reflectance between at least two separate portions of the spray head when the reflectance from one portion is at least 0.5 times greater than from the a separate portion of the spray head, and preferably at least 2 times greater, and more preferably at least 5 times greater, and even more preferably at least 10 times greater, and even more preferably still at least 50 times greater and most preferably at least 100 times greater.
- the detection means it is preferable for the detection means to be configured to be operable to distinguish between areas of differing reflectance during the movement of the spray head. Even more preferably the detection means is configured to only be so operable during the movement of the spray head. This may be advantageous since this would permit the detection means to have a fixed location within the device and have no moving parts, thus reducing the cost of the detection means and rendering them less likely to fail during the life of the device. Additionally, with such an arrangement the detection means may have a predefined field of view allowing a refill manufacturer more defined parameters for ensuring the spray head is suitably detectable by the detection means. A further advantage exists where the device is to be battery powered as the detection means will only draw power during the actuation of the refill.
- the detection means may be confined to only be operable to distinguish between areas of differing reflectance during the substantially upward movement of the spray head, i.e the upward movement of the spray head after the downward movement caused by the actuation means.
- the inherent resilience and/or internal pressure of the refill may be sufficient to return the actuation means to its starting position without power being applied to said means.
- Such an arrangement may be particularly advantageous since the substantially upward movement of the spray head may be achieved without power being applied to the activation means thus reducing or eliminating electrical noise/interference produced by the device
- the reduction in electrical noise/interference may improve the ability of the detection means to distinguish areas of differing reflectance on the spray head, thus improving the reliability of the detection means whilst allowing a relatively inexpensive detection means to be used.
- the detection means may be operable to determine whether a refill is loaded into the device before being operable to distinguish between areas of differing reflectance
- the detection means may be operable to interrogate the location within the device normally occupied by a spray head of a refill when loaded into the device, if the detection means does not detect any reflectance, or a predetermined level of reflectance, this situation may be indicative of the absence of a refill in the device and the detection means will prevent the actuation means from activating.
- This arrangement may also be advantageous as it will prevent the actuation means from periodically activating after a user has removed a spent refill and before a new refill is loaded into the device.
- the detection means are provided with a fixed location within the device and preferably, have a fixed field of view with respect to the spray head of a refill or the area normally occupied by the spray head when a refill is loaded in the device.
- the detection means may be configured to move in order to interrogate the spray head or the area normally occupied by the spray head.
- the detection may be movable in a substantially horizontal direction and/or a substantially vertical direction and/or in at least two directions.
- the detection means may be able to pivot about a single position to perform the scan.
- the detection means may be provided with a wide-angle lens, such as a fish eye lens to provide a wide field of view when performing the interrogation of the refill.
- the detection means may be provided in the form of one or more sensors.
- the sensor(s) is preferably provided with an integrated radiation emitter that is adapted to emit radiation and further provided with a collecting portion that is adapted to collect any reflected radiation.
- the sensor may only comprise the collecting portion, the radiation emitter being a separate component that is positioned so that it is capable of emitting radiation toward the spray head such that at least some of the reflected radiation may be collected by the collecting portion.
- the sensor(s) is an optical sensor in the form of an infra-Red sensor, more preferably a passive lnfra-Red sensor.
- the optical sensor(s) may be provided in the form of a light sensor or laser sensor.
- the detection means may be configured to interrogate with an effective range of up to 100mm the effective range being the distance any interrogation must travel once reflected by the spray head in order to be detected by the detection means, ie, the distance between the detection means or source of the interrogation to the spray head in addition to the distance the reflected interrogation must travel to the detection means to be collected and detected.
- the detection means with an effective range of up to 50mm, and more preferably up to 20mm, and even more preferably up to 10mm and most preferably up to 5mm.
- a spraying device with a refill of fluid therein, wherein the refill comprises a body forming a reservoir for the fluid and a spray head located at the uppermost part of the refill in fluid communication with the reservoir, and wherein the device comprises a housing adapted to receive the refill therein and having an aperture suitable for permitting, in use, the spraying of the fluid from an exit orifice of the spray head therethrough, the device further comprising actuation means configured for periodic actuation of the refill, wherein the device is provided with detection means configured, in use, to interrogate the spray head to distinguish between at least one area of lower reflectance and at least one area of relatively higher reflectance on the spray head of said refill, characterised in that the spray head is provided with at least one portion shaped to substantially reflect the detection means interrogation back toward said means and is provided with at least one portion shaped to substantially deflect the detector means interrogation away from said means.
- the at least one area of lower reflectance is provided by the at least one portion of the spray head that is shaped to deflect the interrogation from the detection means away from the detection means such that a lower amount of the interrogation (be it radiation for example) is detected by said means in comparison to the amount of interrogation detected by the detection means when the interrogation of the at least one portion shaped to reflect said interrogation toward said means, the area of higher reflectance.
- a spraying device with a refill of fluid therein, wherein the refill comprises a body forming a reservoir for the fluid and a spray head located at the uppermost part of the refill in fluid communication with the reservoir, and wherein the device comprises a housing adapted to receive the refill therein and having an aperture suitable for permitting, in use, the spraying of the fluid from an exit orifice of the spray head therethrough, the device further comprising actuation means configured for periodic actuation of the refill, wherein the device is provided with detection means configured, in use, to interrogate the spray head to distinguish between at least one area of lower reflectance and at least one area of relatively higher reflectance on the spray head of said refill characterised in that the spray head is provided with at least one portion shaped to substantially reflect the detection means interrogation back toward said means and is provided with at least one portion shaped or cutaway to avoid the interrogation of the detector means.
- the at least one area of lower reflectance is provided by the at least one portion of the spray head that is shaped or cutaway to avoid the interrogation from the detection means such that a lower or zero amount of the interrogation (be it radiation for example) is detected by said means in comparison to the amount of interrogation detected by the detection means when the interrogation of the at least one portion shaped to reflect said interrogation toward said means the area of higher reflectance.
- a spraying device with a refill of fluid therein, wherein the refill comprises a body forming a reservoir for the fluid and a spray head located at the uppermost part of the refill in fluid communication with the reservoir and wherein the device comprises a housing adapted to receive the refill therein and having an aperture suitable for permitting in use, the spraying of the fluid from an exit orifice of the spray head therethrough, the device further comprising actuation means configured for periodic actuation of the refill, wherein the device is provided with detection means configured, in use, to interrogate the spray head to distinguish between at least one area of lower reflectance and at least one area of relatively higher reflectance on the spray head of said refill, characterised in that the interrogation emitted from detection means is configured to be detectable over a predefined distance that is substantially equal to the effective range and wherein the spray head is provided with at least one portion shaped to substantially reflect the detection means interrogation back toward said means and is provided with at least one portion shaped or
- the effective range is used herein to relate to the distance any interrogation must travel in order to be detected by the detection means, ie, the distance between the detection means or source of the interrogation to the spray head in addition to the distance the deflected interrogation must travel once reflected by the spray head to the detection means to be collected and detected.
- the tuning of the distance or the intensity of the interrogation is capable of travelling could be made greater or smaller than the abovementioned distance, what is important is that the interrogation is tuned such that the cutaway portion of the spray head produces a lesser amount of reflected interrogation compared with the non-cutaway portion which is collectable and detectable by the detection means.
- a spraying device comprising a housing adapted to receive a refill of fluid therein and having an aperture suitable for permitting, in use the spraying of the fluid from the refill therethrough, the device further comprising actuation means configured for periodic actuation of the refill, wherein the device is provided with detection means configured to distinguish, in use, between at least one area of lower reflectance and at least one area of relatively higher reflectance on a spray head of said refill.
- a spraying device adapted to receive a refill of fluid therein and having an aperture suitable for permitting, in use, the spraying of the fluid from the refill therethrough, the device further comprising actuation means configured for periodic actuation of the refill, wherein the device is provided with detection means configured in use, to interrogate a spray head of the refill, characterised in that the device is configured to interrogate a refill having a spray head wherein at least one portion of the spray head is shaped to substantially reflect the detection means interrogation back toward said means and at least one portion of the spray head is shaped to substantially deflect the detector means interrogation away from said means such that, in use the device can distinguish between at least one area of lower reflectance and at least one area of relatively higher reflectance on the spray head of said refill.
- a spraying device adapted to receive a refill of fluid therein and having an aperture suitable for permitting, in use, the spraying of the fluid from the refill therethrough, the device further comprising actuation means configured for periodic actuation of the refill, wherein the device is provided with detection means configured, in use, to interrogate a spray head of the refill, characterised in that the device is configured to interrogate a refill having a spray head wherein at least one portion of the spray head is shaped to substantially reflect the detection means interrogation back toward said means and at least one portion of the spray head is shaped or cutaway to avoid interrogation by the detector means such that, in use, the device can distinguish between at least one area of lower reflectance and at least one area of relatively higher reflectance on the spray head of said refill.
- a spraying device adapted to receive a refill of fluid therein and having an aperture suitable for permitting in use, the spraying of the fluid from an exit orifice of the spray head therethrough, the device further comprising actuation means configured for periodic actuation of the refill, wherein the device is provided with detection means configured, in use, to interrogate a spray head on the refill to distinguish between at least one area of lower reflectance and at least one area of relatively higher reflectance on the spray head of said refill characterised in that the interrogation emitted from detection means is configured to be detectable over a predefined distance that is substantially equal to the effective range and wherein the spray head for use with the device is provided with at least one portion shaped to substantially reflect the detection means interrogation back toward said means and is provided with at least one portion shaped or cutaway relative to the location of the detection means.
- a method of spraying a fluid from a device comprising the steps of loading a refill of fluid in a spray device according to any of the first or second aspects of the present invention, placing the device in an operation mode said mode being configured to cause activation of the actuation means, said actuation means periodically operating to bear against a spray head of the refill and causing the movement thereof to release a quantity of fluid from the refill, said released fluid being sprayed from the device through an aperture in the housing into the surrounding environment, characterised in that detection means provided in the device are operable in the operation mode to detect and distinguish between at least one area of lower reflectance and at least one area of relatively higher reflectance on a spray head of said refill or within the area normally occupied by said spray head.
- the detection means are operable during the activation of the actuation means and the movement of the refill spray head. Even more preferably the detection means are only operable during the activation of the actuation means. Most preferably the detection means are configured to only be operable during the substantially upward movement of the refill spray head, i.e the upward movement of the spray head after the downward movement caused by the actuation means.
- the method may comprise a preceding step before activation of the actuation means wherein the detection means performs an initial interrogation of the area within the housing normally occupied by the spray head of a refill when a refill is loaded in the device.
- the detection means does not detect any reflectance, or a predetermined level of reflectance, this may be indicative of the absence of a refill in the device and the detection means will prevent the actuation means from activating.
- the method is preferably operable to prevent the activation of the actuation means if the detection means is unable to detect and distinguish between said at least two areas of differing reflectance.
- the method of the third aspect of the present invention is preferably operable to prevent the further activation of the actuation means if the detection means is unable to detect and distinguish between said at least two areas of differing reflectance. The prevention of activation or further activation may be maintained until a user resets the device and/or initiates a manual override of the ongoing prevention.
- the areas of differing reflectance on the spray head may be provided by areas of different colours.
- Preferable colour combinations providing the required difference of reflectance are combinations of a light colour with a dark colour wherein the light colour provides an area possessing a higher level of reflectance of radiation than the dark colour which provides a an area possessing a greater tendency to absorb radiation thus an area of lower reflectance.
- a particularly preferable combination is that of a substantially white colour and a substantially black colour.
- the spray head is provided in a substantially white colour with a substantially black colouration (eg. a mark, a dot, a square, a rectangle, a triangle, or the like) being provided on the stem of the spray head.
- a substantially black colouration eg. a mark, a dot, a square, a rectangle, a triangle, or the like
- the areas of differing reflectance on the spray head may be provided by areas of different Infra Red (lR) reflectance.
- lR Infra Red
- Particularly preferred means of providing areas of diffenng lR reflectance include the use of inks/paints/lacquers that are absorbers or reflectors of lR radiation and, preferably, are invisible to the naked eye under normal light conditions.
- the sensor may be operable to detect wavelengths in the range of 700-1350 nm.
- the sensor is operable to detect wavelengths in the range of 800-1100 nm. More preferably the sensor is operable to detect wavelengths in the range of 850-1000 nm. Most preferably the sensor is operable to detect wavelengths in the range of substantially 940 nm.
- the areas of differing reflectance may be applied to, or incorporated in the spray head by any suitable means. Particularly preferred methods include the initial application of the at least one area of differing reflectance to a label which is subsequently attached to the spray head. Alternatively, the at least one area of differing reflectance may be printed, engraved and/or applied directly on to the spray head. As a further alternative, the spray head could be manufactured from two or more component parts, wherein at least two of said parts are provided with external areas thereof having distinguishable reflective properties with respect to each other.
- the spray head is opaque, however, in an alternative arrangement the spray head may be substantially transparent and the valve stem of the refill could be provided with the area of differing reflectance.
- the valve stem could have a dark colouration, and this may create a detectable difference for the detection means.
- the spray head may be provided with a substantially transparent window in registration with the valve stem to permit the valve stem to be viewed by the detection means to provide the areas of differing reflectance.
- the spray head of a refill typically has a generally L-shaped profile wherein the shorter part of the L-shape engages with the free end of the valve stem.
- the spray head of the refill for use with the device of the present invention is generally L-shaped with an angle of substantially 90° between the part of the spray head connected to the valve stem and the part of the spray head possessing the exit orifice, this angle may be between 60-120° however.
- the spray head could be shaped to deflect any interrogation away from the detection means of the device.
- the detection means may be provided in a fixed position and will therefore, only have a limited filed of view of the spray head to interrogate and will only have a limited field or area in which it will be able to detect reflected interrogation. Therefore, the spray head may be shaped such that one portion of the spray head viewable by the device's detection means is shaped to substantially reflect the detector means' interrogation (eg. by being generally flat and substantially parallel with the detection means or curved, preferably with a gentle curvature) and at least one portion of the spray head viewable by the device's detection means is shaped to substantially deflect the detector mean interrogation (eg. by being angled relative to the direction of the interrogation and the location of the detection means such that the reflected interrogation is reflected away from a collection part of the detection means thus being substantially non-detectable or less detectable).
- the lower portion of the spray head (the portion of the spray head connected to the valve stem) to be the reflecting portion by having a generally flat and parallel or gently curved outer surface relative to the fixed location of the detection means in the device of the present invention to reflect, in use, interrogation toward the detection means.
- the deflecting portion would preferably be an upper portion of this spray head having a generally flat or gently curved outer surface angled away from the fixed location of the detection means in the device of the present invention to deflect in use, interrogation away form the detection means.
- the surface may be shaped to deflect the interrogation at 90° away from the normal, and preferably to deflect the interrogation at >90° away from the normal.
- the deflection portion may have a V-shaped profile aligned with a source of interrogation to deflect the interrogation away in two different directions, neither of those directions being toward the detection means, preferably being at 90° away from the normal, or more preferably at >90° away from the normal.
- Upper and lower portion of the spray head referred to for this alternative arrangement of the spray head are used interchangeably, indeed, the upper portion may be the reflecting portion and the lower part the deflecting portion and vice versa as described.
- the spray head could be provided with a cutaway to avoid interrogation, in use, by a detection means.
- a cutaway may be located within the area of the spray head that is interrogated by the detection means such that the detection means' may detect the difference in the reflectance of the interrogation from a portion (eg. a reflecting portion) of the spray head against the absence of any reflectance in the cutaway.
- the cutaway may be provided by the spray head being shaped to have a non-typical shape (i.e.
- the spray head may comprise a short substantially vertical section for engaging the free end of the valve stem and have a short substantially horizontal section for directing the spray of fluid through the aperture of the device, and the spray head may have a longer transverse section between said short sections.
- the result of this unusual configuration of the spray head may result in the same effect as the cutaway such that the detection means' scan of the spray head detects the difference in the reflectance of the short substantially vertical section of the spray head against the absence of any reflectance above the short substantially vertical section.
- the spray head could be provided with a portion cutaway to provide a greater distance for reflected interrogation to travel, in use, to a detection means in comparison to the distance for reflected interrogation to travel from a non-cutaway portion of the spray head.
- the interrogation say by radiation emitted from the detection means, should be tuned such that it is capable of travelling the distance between the non-cutaway portion of the spray head and back again after reflection, however, should that distance be increased the radiation is less capable of travelling the increased distance.
- the amount of radiation being collected by the detection means would be less for the radiation reflected from the cutaway portion than from the non-cutaway portion of the spray head, this difference in reflectance being detectable by the detection means, thus indicating two areas of differing reflectance.
- the areas of differing reflectance on the spray head may be provided in the form of at least one line of differing reflectance Said one or more lines preferably being substantially perpendicular relative to an inlet section of the spray head; in other words, in a substantially horizontal direction when the refill is placed on a flat surface.
- Such orientation of the lines may be advantageous since it could improve the likelihood that the detection means could distinguish between lines having differing reflectance, particularly where said detection means are operable during the movement of the spray head.
- the areas of differing reflectance on the spray head may be provided in the form of two lines of differing reflectance.
- the areas of differing reflectance on the spray head may be provided in the form of a plurality of lines of differing reflectance.
- the use of two or a plurality of lines may be advantageous as these may be able to operate as a code capable of imparting additional information to the device beyond whether the refill is a safe refill or not.
- the areas of differing reflectance could be provided in the form of one or more patterns and/or one or more shapes and/or one or more letters and/or one or more numerals,
- Such further information could include the particular type of refill to permit the device to alter its mode of operation.
- the spraying frequency may desirably be different to when the device is spraying an air freshener or the like.
- the further information may relate to a specific end of life period for that particular refill.
- the device may be able to adjust the pre-determined number of actuations depending on the amount of fluid stored in the refill and the number of actuations that quantity of fluid will permit, wherein the pre-determined number for that particular type of refill is stored in said further information
- areas of reflectance could impart said further information wherein the detection means is adapted to recognize the presence of a specific reflective property, said specific reflective property may be referenced against an internal memory of such properties in order to permit the device to recognize the further information.
- the device of any of the above-mentioned aspects may be provided with an indicator wherein said indicator is operable to indicate information to a user.
- information may include: whether the refill loaded in the device is potentially dangerous as it is not intended for use with the device; whether the refill needs to be changed: whether the battery or batteries need to be changed (where the device is to be battery powered); and other potentially useful information.
- the indicator may be operable to provide a visual indication and/or provide an audible indication.
- the indicator is configured to provide a visual indication by emitting light from one or more light sources, preferably one or more LEDs
- the one or more light sources may be adapted to emit a different colour of light to indicate the current function the device is performing. Additionally or alternatively, the one or more light sources may blink or flash to indicate the current function the device is performing.
- a visual indicator may be provided in the form of an LCD screen or the linke wherein the screen is adapted to provide a message to a user for instance such messages could include “ON”. "DANGEROUS REFILL INSERTED”, “CHANGE REFILL”, “CHANGE BATTERIES”, “NUMBER OF SPRAYS REMAINING”, “LIFE OF REFILL”, “OFF”.
- the device may be provided with a boost mechanism.
- the boost mechanism may be linked to a user operated switch or button or the like. On operating the boost mechanism the actuation means may activate to cause the immediate actuations of a refill.
- the device may be power by mains-supplied electricity and/or be battery powered and/or be powered by solar cells located on the device. Most preferably the device is battery powered.
- a spray head for a refill of fluid for use with a device or method according to any preceding aspect of the present invention wherein the spray head comprises an inlet section and an exit orifice, wherein the inlet section is adapted to connect with a valve stem of a refill and the exit orifice is capable of directing a spray of fluid away from the refill body, characterised in that the spray head has an external surface having at least one area of lower reflectance and at least one area of relatively higher reflectance.
- a refill of fluid for use with a device or method according to any preceding aspect of the present invention
- the refill comprises a body for containing a quantity of fluid and a valve stem with a spray head connected thereto, the spray head comprising an inlet section and an exit orifice defining a fluid pathway from the body to the exit orifice, characterised in that the spray head has an external surface having at least one area of lower reflectance and at least one area of relatively higher reflectance.
- a device configured to operate in accordance with the method of the second aspect of the present invention.
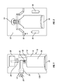
- a fragrance spraying device 10 comprises a housing 12 with a removable front section 12a through which there is an opening 14.
- the front section 12a may be hinged to permit access to the interior of the device 10.
- a refill 16 in this example an aerosol spray canister, is held within the housing 12 on a platform 18.
- An outlet stem 20 of the spray canister 16 is received in a lower opening of a spray head 22.
- An actuation means 24 is located above the refill 16 and possesses an arm 24 that is moveable to apply substantially downward pressure on the spray head 22 and cause actuation of the refill 16.
- fluid held within the body 26 of the refill 16 is forced through the valve stem 20. into the spray head exiting the spray head via an exit orifice in the form of a nozzle 28 into the external environment.
- the actuation means 26 is powered by batteries 30.
- the device is further provided with a detection means 38 located substantially adjacent to the normal location of a spray head when a refill is loaded into the device 10.
- the detection means 38 includes a sensor configured to face the spray head 22 the sensor being adapted to emit radiation in this embodiment, preferably IR radiation, toward the spray head 22 to interrogate it.
- the sensor is also capable of collecting reflected radiation in order to distinguish between different areas of reflectance on the spray head 22 with the sensor's field of view.
- the detection means 38 can be in direct communication with the actuation means 26 or, alternatively, in communication with a control unit (not shown) which is in communication with the actuation means 26.
- the refill 16 is placed on the platform 18 and the valve stem 20 is engaged in an inlet 34 of the spray head 22.
- the refill 16 is a replaceable item and the spray head 22 is typically supplied with the refill 16
- a fluid path for fragrance (or other material, such as sterilising material/insecticide material/bactericide material or the like) for spraying is formed from the refill 16 through the spray head 22 and past the opening 14 in the front section of the housing 12a and out into the surrounding environment.
- the actuation means is activated causing the arm 24 to move down onto the spray head 22 and pushing the spray head in a substantially downward direction.
- the downward movement of the spray head 22 effects corresponding downward movement of the valve stem 20 which opens the valve and permits fluid to flow through the valve stem, spray head and out of opening 14 into the surrounding environment.
- the actuation means 26 has numerous selectable settings which a user may select via a user input means 32.
- the user input means 32 can be operable to allow a user to select whether the device is turned on or off, the specific operation mode of the device such as its spray frequency, timer delay or other such feature.
- Preferred frequency settings would be the option of the fluid being sprayed from the refill every nine minutes, or every eighteen minutes, or every thirty-six minutes.
- the areas of differing reflectance on the spray head 22 can be seen. Specifically, a portion of the neck 34 of the spray head 22 is coated with a layer of dark ink/paint/lacquer 35 which is of a lower reflectance than the remainder of the neck 34 which is uncoated.
- the detection means 38 can be operable to detect the presence of the spray head 22 and, further, detect whether there is at least one area of low reflectance and at least one area of higher reflectance on the spray head 22.
- the detection means 38 may be operable to detect whether a refill 16 is loaded in the device by interrogating the area normally occupied by a spray head 22 when a refill is loaded therein. Prior to permitting the actuation means 24 to activate, the detection means 38 may perform an initial interrogation of the location within the device normally occupied by a spray head of a refill when loaded into the device, if the detection means does not detect any reflectance, or a predetermined level of reflectance, this situation may be indicative of the absence of a refill in the device and the detection means 38 will prevent the actuation means from activating, either directly by communicating therewith or indirectly via a control unit. Preferably the detection means would interrogate an area normally occupied by lower portion of the neck of the spray head, as indicated by arrow 40 on Fig. 3B .
- the detection means is further configured to interrogate further portions of the spray head 22.
- the detection means 38 may be capable of interrogating the spray head 22 by emitting radiation toward the spray head, such as lR radiation. across one or more portions thereof, such as across a field of view as indicated by arrow 42.
- the detection means is capable of collecting reflected radiation such that the amount of reflectance collected can be attributed specifically or approximately or generally to a portion or portions of the spray head 22. Such attribution may permit the detection means 38 to directly, or in combination with the control unit (not shown), determine whether any areas of differing reflectance are present on the spray head 22.
- the interrogation of the refill by the detection means 38 may permit the detection means to detect whether at least one differing level of reflected radiation is detected without attributing the detected level of reflectance to a specific section of the spray head, Any such detection may permit the detection means 38 to directly, or in combination with the control unit (not shown), determine whether any areas of differing reflectance are present on the spray head or in the area normally occupied thereby.
- the detection means 38 will communicate directly with the actuation means 26, or indirectly via a control unit (not shown), to permit the actuation means 26 to operate in accordance with the user input command to cause the spraying of fluid
- the direct or indirect communication from the detection means 38 will call for the actuation means 26 to enter a dormant mode.
- the actuation means 26 will not activate and not cause the spraying of fluid.
- the dormant mode will be maintained until a user initiates a resetting of the device. The resetting may be facilitated by the user loading a new refill into the device and/or the user operating a reset button or the like.
- the detection means 38 scans the spray head 22 and fails to find the required reflectance, the actuation means 26 will again be placed in the dormant mode.
- the detection means can be operable to detect the presence of the spray head 22 and detect whether there is at least one area of low reflectance and at least one area of higher reflectance on the spray head 22 only during the movement of the spray head 22 following activation by the actuation means 26.
- This movement permits the detection means 38 the opportunity to view a defined proportion of the spray head 22, thus fixing the field of view of the detection means (eg. as defined by arrow 42 in Fig. 3B ). If during the interrogation of the spray head 22 differing areas of reflectance are detected by the detection means 38, these means will communicate with the actuation means 26, either directly or indirectly, to permit the actuation means 26 to operate in accordance with the user input command to cause the spraying of fluid.
- the communication from the detection means 38 will call for the actuations means 26 to enter a dormant mode, as discussed above.
- the control means or the like may initiate a counting mechanism.
- the counting mechanism may be calibrated to permit it a pre-determined number of actuations of the refill which corresponds to the quantity of fluid stored in a refill.
- the counting mechanism can be operable in use, and after the pre-determined number of actuations has been reached, to cause the device 10 to enter the dormant mode, thus prevent further actuations of that refill until a user replaces the refill and/or resets the device.
- the counting mechanism may automatically reset every time a refill is loaded into the device.
- Figs. 3-6 illustrate various embodiments of refill spray heads.
- Fig. 3 illustrates a first embodiment wherein spray head has a generally L-shaped profile, wherein the shorter part of the L-shape, the neck portion 34. engages with the free end of the valve stem.
- the angle between the part of the spray head connected to the valve stem and the part of the spray head possessing the exit orifice is illustrated as being substantially 90°, however this angle may be between 60-120o, the key aspect is that the exit office directs the spray of fluid through the opening 14 and away from the housing of the device.
- the neck portion 34 of the spray head 22 is coated with a layer of dark ink/paint/lacquer 35 which is of a lower reflectance than the remainder of the neck 34 which is uncoated.
- the layer of dark is substantially black and the rest of the spray head, including the remainder of the neck portion 34, is substantiate white.
- the layer of dark ink/paint/lacquer is coated on to the spray head but this may be applied or incorporated by any suitable means such as by application of a label, printing, engraving or the spray head could be manufactured from two or more component parts which are fixed together.
- the spray head 22 is shaped to deflect any interrogation away from the detection means 38 of the device.
- the detection means for use with the spray head shown in Fig. 4 will have a fixed position and a limited filed of view of the spray head to interrogate as indicated by arrow 46.
- Arrow 48 shows the field of view detection means may detect to determine whether a refill 16 is loaded in the device by interrogating the area normally occupied by a spray head 22 when a refill is loaded therein.
- the detection means is operable to emit interrogation in the direction of arrow 44 and a V-shaped portion 50 of the spray head is shaped to substantially deflect the detector means' interrogation not back toward the detection means but away therefrom in the direction of arrows 44.
- the neck portion 4 of the spray head is shaped to substantially reflect the interrogation back toward the detection means to be collected thereby.
- the deflection of interrogation 44 by the V-shaped portion 50 may be shaped to deflect the interrogation at 90° away from the normal or >90 ° away from the normal.
- the spray head illustrated in Fig. 5 is similar to that as shown in Fig. 4 save for the 90° orientation of the V-shaped potion 54, thus causing, in use, a different direction of deflection of interrogation 52 in the direction of arrows 52'.
- a yet further alternative arrangement of the spray head is illustrated could be provided with a portion cutaway to provide a greater distance for reflected interrogation to travel, in use, to a detection means in comparison to the distance for reflected interrogation to travel from a non-cutaway portion of the spray head.
- the detection means for use with the spray head shown in Fig. 6 will have a fixed position and a limited filed of view of the spray head to interrogate as ind icated by arrow 60.
- Arrow 58 shows the field of view detection means may detect to determine whether a refill is loaded in the device by interrogating the area normally occupied by a spray head 22 when a refill is loaded therein.
- the interrogation, shown by arrows 62.62', emitted from the detection means should be tuned such that it is capable of travelling the distance between the non-cutaway portion of the spray head and back again after reflection, however should that distance be increased the radiation is less capable of travelling the increased distance. Due to the tuning of the radiation, the amount of radiation being collected by the detection means along arrow 62 would be less than from the radiation travelling along arrow 62', this difference in reflectance being detectable by the detection means, thus indicating two areas of differing reflectance.
Landscapes
- Chemical & Material Sciences (AREA)
- Dispersion Chemistry (AREA)
- Engineering & Computer Science (AREA)
- Mechanical Engineering (AREA)
- Containers And Packaging Bodies Having A Special Means To Remove Contents (AREA)
- Nozzles (AREA)
- Special Spraying Apparatus (AREA)
- Reciprocating Pumps (AREA)
- Catching Or Destruction (AREA)
Priority Applications (2)
| Application Number | Priority Date | Filing Date | Title |
|---|---|---|---|
| EP10173700.5A EP2314524B1 (de) | 2007-09-21 | 2008-09-22 | Spruhvorrichtung und Herstellungsverfahren Dafur |
| PL10173700T PL2314524T3 (pl) | 2007-09-21 | 2008-09-22 | Urządzenie rozpylające oraz sposób użycia urządzenia rozpylającego |
Applications Claiming Priority (4)
| Application Number | Priority Date | Filing Date | Title |
|---|---|---|---|
| GB0718458A GB2452970A (en) | 2007-09-21 | 2007-09-21 | Spraying device and method utilizing reflectance spray head |
| EP08007448A EP2039625A1 (de) | 2007-09-21 | 2008-04-16 | Sprühvorrichtung und Verfahren zu ihrer Verwendung |
| EP10173700.5A EP2314524B1 (de) | 2007-09-21 | 2008-09-22 | Spruhvorrichtung und Herstellungsverfahren Dafur |
| EP08806366A EP2086859B1 (de) | 2007-09-21 | 2008-09-22 | Sprühvorrichtung und herstellungsverfahren dafür |
Related Parent Applications (2)
| Application Number | Title | Priority Date | Filing Date |
|---|---|---|---|
| EP08806366.4 Division | 2008-09-22 | ||
| EP08806366A Division EP2086859B1 (de) | 2007-09-21 | 2008-09-22 | Sprühvorrichtung und herstellungsverfahren dafür |
Publications (3)
| Publication Number | Publication Date |
|---|---|
| EP2314524A2 true EP2314524A2 (de) | 2011-04-27 |
| EP2314524A3 EP2314524A3 (de) | 2011-06-15 |
| EP2314524B1 EP2314524B1 (de) | 2016-11-09 |
Family
ID=38670307
Family Applications (5)
| Application Number | Title | Priority Date | Filing Date |
|---|---|---|---|
| EP08007448A Withdrawn EP2039625A1 (de) | 2007-09-21 | 2008-04-16 | Sprühvorrichtung und Verfahren zu ihrer Verwendung |
| EP10173703A Withdrawn EP2301862A3 (de) | 2007-09-21 | 2008-09-22 | Sprühvorrichtung und Verfahren zu ihrer Verwendung |
| EP08806366A Active EP2086859B1 (de) | 2007-09-21 | 2008-09-22 | Sprühvorrichtung und herstellungsverfahren dafür |
| EP10173700.5A Active EP2314524B1 (de) | 2007-09-21 | 2008-09-22 | Spruhvorrichtung und Herstellungsverfahren Dafur |
| EP20100173709 Active EP2256063B1 (de) | 2007-09-21 | 2008-09-22 | Sprühvorrichtung und Verfahren zu ihrer Verwendung |
Family Applications Before (3)
| Application Number | Title | Priority Date | Filing Date |
|---|---|---|---|
| EP08007448A Withdrawn EP2039625A1 (de) | 2007-09-21 | 2008-04-16 | Sprühvorrichtung und Verfahren zu ihrer Verwendung |
| EP10173703A Withdrawn EP2301862A3 (de) | 2007-09-21 | 2008-09-22 | Sprühvorrichtung und Verfahren zu ihrer Verwendung |
| EP08806366A Active EP2086859B1 (de) | 2007-09-21 | 2008-09-22 | Sprühvorrichtung und herstellungsverfahren dafür |
Family Applications After (1)
| Application Number | Title | Priority Date | Filing Date |
|---|---|---|---|
| EP20100173709 Active EP2256063B1 (de) | 2007-09-21 | 2008-09-22 | Sprühvorrichtung und Verfahren zu ihrer Verwendung |
Country Status (21)
| Country | Link |
|---|---|
| US (2) | US8695890B2 (de) |
| EP (5) | EP2039625A1 (de) |
| JP (1) | JP5244187B2 (de) |
| KR (1) | KR101119071B1 (de) |
| CN (1) | CN101801811B (de) |
| AR (1) | AR068250A1 (de) |
| AT (1) | ATE514637T1 (de) |
| AU (3) | AU2008300355B2 (de) |
| BR (1) | BRPI0816835A2 (de) |
| CA (2) | CA2746040C (de) |
| CO (1) | CO6260124A2 (de) |
| DE (1) | DE202008017744U1 (de) |
| ES (4) | ES2614609T3 (de) |
| GB (1) | GB2452970A (de) |
| IL (1) | IL204070A (de) |
| MX (1) | MX2010003088A (de) |
| MY (1) | MY151254A (de) |
| PL (3) | PL2086859T3 (de) |
| RU (2) | RU122646U1 (de) |
| WO (1) | WO2009037491A1 (de) |
| ZA (1) | ZA201001181B (de) |
Families Citing this family (19)
| Publication number | Priority date | Publication date | Assignee | Title |
|---|---|---|---|---|
| GB2471830A (en) * | 2009-06-30 | 2011-01-19 | Reckitt & Colmann Prod Ltd | An anti-vandalism spray device with detector to verify if acceptable refill has been used |
| USD648216S1 (en) | 2010-01-14 | 2011-11-08 | S.C. Johnson & Son, Inc. | Actuator nozzle for a diffusion device |
| USD657242S1 (en) | 2010-01-14 | 2012-04-10 | S.C. Johnson & Son, Inc. | Container with nozzle |
| US8475769B2 (en) | 2010-06-25 | 2013-07-02 | S.C. Johnson & Son, Inc. | Aerosol composition with enhanced dispersion effects |
| GB201018572D0 (en) * | 2010-11-04 | 2010-12-15 | Reckitt & Colman Overseas | Refill recognition system and circuit |
| GB201104525D0 (en) | 2011-03-17 | 2011-05-04 | Reckitt & Colman Overseas | Dispenser and refill unit |
| US9387501B2 (en) * | 2014-05-21 | 2016-07-12 | Derrick Gale | Flying insect spray apparatus |
| US20150345122A1 (en) * | 2014-05-28 | 2015-12-03 | Rose Talbot | Toilet flush lever sanitizing device |
| US9623429B1 (en) * | 2015-12-01 | 2017-04-18 | Caterpillar Inc. | Spray pattern adjustment system for a spray head |
| DE102016206995A1 (de) | 2016-04-25 | 2017-10-26 | Rehm Thermal Systems Gmbh | Vorrichtung und Verfahren zur Vermessung eines Lackstrahls zum Beschichten von Platinen |
| GB2549767A (en) * | 2016-04-28 | 2017-11-01 | Reckitt Benckiser Brands Ltd | Modified spray head |
| USD881365S1 (en) | 2018-02-28 | 2020-04-14 | S. C. Johnson & Son, Inc. | Dispenser |
| USD880670S1 (en) | 2018-02-28 | 2020-04-07 | S. C. Johnson & Son, Inc. | Overcap |
| USD872847S1 (en) | 2018-02-28 | 2020-01-14 | S. C. Johnson & Son, Inc. | Dispenser |
| USD872245S1 (en) | 2018-02-28 | 2020-01-07 | S. C. Johnson & Son, Inc. | Dispenser |
| USD852938S1 (en) | 2018-05-07 | 2019-07-02 | S. C. Johnson & Son, Inc. | Dispenser |
| USD853548S1 (en) | 2018-05-07 | 2019-07-09 | S. C. Johnson & Son, Inc. | Dispenser |
| RU200962U1 (ru) * | 2020-06-08 | 2020-11-20 | Общество с ограниченной ответственностью "БЭРИНГ ПЛЮС" | Пульверизатор |
| US20220096687A1 (en) * | 2020-09-29 | 2022-03-31 | Tabitha Angel Bryant | Sanitizer Aerosol Dispensing Apparatus |
Family Cites Families (24)
| Publication number | Priority date | Publication date | Assignee | Title |
|---|---|---|---|---|
| US2612994A (en) | 1949-10-20 | 1952-10-07 | Norman J Woodland | Classifying apparatus and method |
| US3586243A (en) * | 1969-11-20 | 1971-06-22 | Precision Valve Canada Ltd | Two-piece dispensing button |
| US4063664A (en) | 1976-09-13 | 1977-12-20 | The Risdon Manufacturing Company | Device for indicating when automatic, periodic operation has emptied an aerosol container |
| GR65081B (en) * | 1980-04-19 | 1980-06-28 | Houstoulakis Nikitas | Apparatus for evaporation of insecticidal,deodorants a.t.c materials in planned times |
| JPH0659437B2 (ja) * | 1986-01-22 | 1994-08-10 | ポーラ化成工業株式会社 | 芳香剤等の自動噴霧装置 |
| FR2603558B1 (fr) * | 1986-09-04 | 1988-11-18 | Oreal | Tete de distribution d'un produit pateux resultant du melange de deux composants stockes separement et ensemble de conditionnement dote d'une telle tete de distribution |
| FR2667509B1 (fr) | 1990-10-04 | 1995-08-25 | Valois | Inhalateur a poudre, dispositif de conditionnement de microdoses de poudre sous forme de bandes adaptees a etre utilisees dans un inhalateur a poudre, et procede de fabrication de ces bandes. |
| FR2667508B1 (fr) * | 1990-10-09 | 1993-12-17 | Sabatini Serge | Dispositif electronique de desodorisation de wc. |
| ES1016857Y (es) | 1991-03-05 | 1992-06-01 | Cooper-Zeltia, S.A. | Cabezal difusor para aerosoles. |
| NL9400660A (nl) * | 1994-04-25 | 1995-12-01 | Averyck Eng Consultants Bv | Afgeefinrichting voor een spuitbus. |
| GB2314890A (en) * | 1996-07-04 | 1998-01-14 | Kae Chuang International Co Lt | A power device for a perfume sprayer |
| JP2000070797A (ja) * | 1998-08-31 | 2000-03-07 | Bio Chem Kk | 自動噴霧装置とその制御装置及びその自動噴霧方法 |
| CN1540601A (zh) * | 1999-03-30 | 2004-10-27 | 3M | 用于标志材料的增强粘合力的表面 |
| US6216925B1 (en) * | 1999-06-04 | 2001-04-17 | Multi-Vet Ltd. | Automatic aerosol dispenser |
| US6401990B1 (en) * | 2000-06-19 | 2002-06-11 | Seaquist Closures Foreign, Inc. | Finger-operable pump actuator with finger pad |
| JP2002113398A (ja) * | 2000-10-05 | 2002-04-16 | Yasushi Kobayashi | エアゾール缶の自動噴霧装置 |
| NZ527653A (en) * | 2001-03-14 | 2005-01-28 | Johnson Diversey Inc | Automatic air freshener with dynamically variable dispensing interval |
| FR2832134B1 (fr) * | 2001-11-09 | 2004-06-11 | Valois Sa | Organe de distribution de produit fluide et distributeur comprenant un tel organe |
| US20050028815A1 (en) * | 2003-07-23 | 2005-02-10 | Deaton Daniel M. | Apparatus for electronic dosage counter |
| US20070235555A1 (en) | 2006-04-11 | 2007-10-11 | Helf Thomas A | Electronic aerosol device |
| US20050252930A1 (en) * | 2004-05-11 | 2005-11-17 | Contadini Carl D | Dispensing system, a dispenser and a source of material to be used therewith |
| GB0416801D0 (en) | 2004-07-28 | 2004-09-01 | Reckitt Benckiser Uk Ltd | Apparatus and method of using the same |
| DE602005012152D1 (de) * | 2004-10-12 | 2009-02-12 | Johnson & Son Inc S C | Verfahren zum Betreiben einer Abgabevorrichtung |
| GB0622088D0 (en) | 2006-11-07 | 2006-12-13 | Reckitt Benckiser Uk Ltd | Apparatus |
-
2007
- 2007-09-21 GB GB0718458A patent/GB2452970A/en not_active Withdrawn
-
2008
- 2008-04-16 EP EP08007448A patent/EP2039625A1/de not_active Withdrawn
- 2008-09-22 CA CA2746040A patent/CA2746040C/en not_active Expired - Fee Related
- 2008-09-22 MX MX2010003088A patent/MX2010003088A/es active IP Right Grant
- 2008-09-22 ES ES10173700.5T patent/ES2614609T3/es active Active
- 2008-09-22 PL PL08806366T patent/PL2086859T3/pl unknown
- 2008-09-22 EP EP10173703A patent/EP2301862A3/de not_active Withdrawn
- 2008-09-22 JP JP2010525440A patent/JP5244187B2/ja not_active Expired - Fee Related
- 2008-09-22 RU RU2012113719/12U patent/RU122646U1/ru active
- 2008-09-22 PL PL10173700T patent/PL2314524T3/pl unknown
- 2008-09-22 BR BRPI0816835A patent/BRPI0816835A2/pt active Search and Examination
- 2008-09-22 US US12/513,444 patent/US8695890B2/en active Active
- 2008-09-22 ES ES08806366T patent/ES2366318T4/es active Active
- 2008-09-22 EP EP08806366A patent/EP2086859B1/de active Active
- 2008-09-22 ES ES201090001U patent/ES1071961U/es not_active Withdrawn
- 2008-09-22 AT AT08806366T patent/ATE514637T1/de not_active IP Right Cessation
- 2008-09-22 CA CA2700323A patent/CA2700323C/en not_active Expired - Fee Related
- 2008-09-22 WO PCT/GB2008/003212 patent/WO2009037491A1/en not_active Ceased
- 2008-09-22 CN CN2008801076674A patent/CN101801811B/zh active Active
- 2008-09-22 PL PL10173709T patent/PL2256063T3/pl unknown
- 2008-09-22 DE DE202008017744U patent/DE202008017744U1/de not_active Expired - Lifetime
- 2008-09-22 MY MYPI20100939 patent/MY151254A/en unknown
- 2008-09-22 KR KR1020107007972A patent/KR101119071B1/ko not_active Expired - Fee Related
- 2008-09-22 ES ES10173709.6T patent/ES2541594T3/es active Active
- 2008-09-22 EP EP10173700.5A patent/EP2314524B1/de active Active
- 2008-09-22 RU RU2010114568/12A patent/RU2464213C2/ru active
- 2008-09-22 EP EP20100173709 patent/EP2256063B1/de active Active
- 2008-09-22 AR ARP080104120A patent/AR068250A1/es not_active Application Discontinuation
- 2008-09-22 AU AU2008300355A patent/AU2008300355B2/en not_active Ceased
-
2010
- 2010-02-18 ZA ZA2010/01181A patent/ZA201001181B/en unknown
- 2010-02-21 IL IL204070A patent/IL204070A/en unknown
- 2010-03-24 CO CO10034532A patent/CO6260124A2/es active IP Right Grant
-
2011
- 2011-04-27 AU AU2011201899A patent/AU2011201899B2/en not_active Ceased
- 2011-04-27 AU AU2011201897A patent/AU2011201897B2/en not_active Ceased
-
2013
- 2013-11-13 US US14/079,206 patent/US20140070016A1/en not_active Abandoned
Non-Patent Citations (1)
| Title |
|---|
| None |
Also Published As
Similar Documents
| Publication | Publication Date | Title |
|---|---|---|
| CA2700323C (en) | Spraying device and method of using same | |
| AU2008300351B2 (en) | Spraying device and method of using same | |
| US20120111446A1 (en) | Spraying Device and Refill Therefor | |
| GB2453227A (en) | Spraying device |
Legal Events
| Date | Code | Title | Description |
|---|---|---|---|
| PUAI | Public reference made under article 153(3) epc to a published international application that has entered the european phase |
Free format text: ORIGINAL CODE: 0009012 |
|
| 17P | Request for examination filed |
Effective date: 20100823 |
|
| AC | Divisional application: reference to earlier application |
Ref document number: 2086859 Country of ref document: EP Kind code of ref document: P |
|
| AK | Designated contracting states |
Kind code of ref document: A2 Designated state(s): AT BE BG CH CY CZ DE DK EE ES FI FR GR HR HU IE IS IT LI LT LU LV MC MT NL NO PL PT RO SE SI SK TR |
|
| PUAL | Search report despatched |
Free format text: ORIGINAL CODE: 0009013 |
|
| AK | Designated contracting states |
Kind code of ref document: A3 Designated state(s): AT BE BG CH CY CZ DE DK EE ES FI FR GR HR HU IE IS IT LI LT LU LV MC MT NL NO PL PT RO SE SI SK TR |
|
| RIC1 | Information provided on ipc code assigned before grant |
Ipc: B65D 83/26 20060101ALI20160606BHEP Ipc: B65D 83/20 20060101ALI20160606BHEP Ipc: B65D 83/16 20060101AFI20160606BHEP Ipc: B65D 83/14 20060101ALI20160606BHEP |
|
| GRAP | Despatch of communication of intention to grant a patent |
Free format text: ORIGINAL CODE: EPIDOSNIGR1 |
|
| INTG | Intention to grant announced |
Effective date: 20160715 |
|
| GRAS | Grant fee paid |
Free format text: ORIGINAL CODE: EPIDOSNIGR3 |
|
| GRAA | (expected) grant |
Free format text: ORIGINAL CODE: 0009210 |
|
| AC | Divisional application: reference to earlier application |
Ref document number: 2086859 Country of ref document: EP Kind code of ref document: P |
|
| AK | Designated contracting states |
Kind code of ref document: B1 Designated state(s): AT BE BG CH CY CZ DE DK EE ES FI FR GR HR HU IE IS IT LI LT LU LV MC MT NL NO PL PT RO SE SI SK TR |
|
| REG | Reference to a national code |
Ref country code: AT Ref legal event code: REF Ref document number: 843693 Country of ref document: AT Kind code of ref document: T Effective date: 20161115 Ref country code: CH Ref legal event code: EP |
|
| REG | Reference to a national code |
Ref country code: IE Ref legal event code: FG4D |
|
| REG | Reference to a national code |
Ref country code: DE Ref legal event code: R096 Ref document number: 602008047339 Country of ref document: DE |
|
| PG25 | Lapsed in a contracting state [announced via postgrant information from national office to epo] |
Ref country code: LV Free format text: LAPSE BECAUSE OF FAILURE TO SUBMIT A TRANSLATION OF THE DESCRIPTION OR TO PAY THE FEE WITHIN THE PRESCRIBED TIME-LIMIT Effective date: 20161109 |
|
| REG | Reference to a national code |
Ref country code: LT Ref legal event code: MG4D |
|
| REG | Reference to a national code |
Ref country code: NL Ref legal event code: MP Effective date: 20161109 |
|
| REG | Reference to a national code |
Ref country code: AT Ref legal event code: MK05 Ref document number: 843693 Country of ref document: AT Kind code of ref document: T Effective date: 20161109 |
|
| PG25 | Lapsed in a contracting state [announced via postgrant information from national office to epo] |
Ref country code: NO Free format text: LAPSE BECAUSE OF FAILURE TO SUBMIT A TRANSLATION OF THE DESCRIPTION OR TO PAY THE FEE WITHIN THE PRESCRIBED TIME-LIMIT Effective date: 20170209 Ref country code: SE Free format text: LAPSE BECAUSE OF FAILURE TO SUBMIT A TRANSLATION OF THE DESCRIPTION OR TO PAY THE FEE WITHIN THE PRESCRIBED TIME-LIMIT Effective date: 20161109 Ref country code: GR Free format text: LAPSE BECAUSE OF FAILURE TO SUBMIT A TRANSLATION OF THE DESCRIPTION OR TO PAY THE FEE WITHIN THE PRESCRIBED TIME-LIMIT Effective date: 20170210 Ref country code: LT Free format text: LAPSE BECAUSE OF FAILURE TO SUBMIT A TRANSLATION OF THE DESCRIPTION OR TO PAY THE FEE WITHIN THE PRESCRIBED TIME-LIMIT Effective date: 20161109 Ref country code: NL Free format text: LAPSE BECAUSE OF FAILURE TO SUBMIT A TRANSLATION OF THE DESCRIPTION OR TO PAY THE FEE WITHIN THE PRESCRIBED TIME-LIMIT Effective date: 20161109 |
|
| PG25 | Lapsed in a contracting state [announced via postgrant information from national office to epo] |
Ref country code: IS Free format text: LAPSE BECAUSE OF FAILURE TO SUBMIT A TRANSLATION OF THE DESCRIPTION OR TO PAY THE FEE WITHIN THE PRESCRIBED TIME-LIMIT Effective date: 20170309 Ref country code: PT Free format text: LAPSE BECAUSE OF FAILURE TO SUBMIT A TRANSLATION OF THE DESCRIPTION OR TO PAY THE FEE WITHIN THE PRESCRIBED TIME-LIMIT Effective date: 20170309 Ref country code: FI Free format text: LAPSE BECAUSE OF FAILURE TO SUBMIT A TRANSLATION OF THE DESCRIPTION OR TO PAY THE FEE WITHIN THE PRESCRIBED TIME-LIMIT Effective date: 20161109 Ref country code: HR Free format text: LAPSE BECAUSE OF FAILURE TO SUBMIT A TRANSLATION OF THE DESCRIPTION OR TO PAY THE FEE WITHIN THE PRESCRIBED TIME-LIMIT Effective date: 20161109 Ref country code: AT Free format text: LAPSE BECAUSE OF FAILURE TO SUBMIT A TRANSLATION OF THE DESCRIPTION OR TO PAY THE FEE WITHIN THE PRESCRIBED TIME-LIMIT Effective date: 20161109 |
|
| REG | Reference to a national code |
Ref country code: ES Ref legal event code: FG2A Ref document number: 2614609 Country of ref document: ES Kind code of ref document: T3 Effective date: 20170601 |
|
| PG25 | Lapsed in a contracting state [announced via postgrant information from national office to epo] |
Ref country code: DK Free format text: LAPSE BECAUSE OF FAILURE TO SUBMIT A TRANSLATION OF THE DESCRIPTION OR TO PAY THE FEE WITHIN THE PRESCRIBED TIME-LIMIT Effective date: 20161109 Ref country code: RO Free format text: LAPSE BECAUSE OF FAILURE TO SUBMIT A TRANSLATION OF THE DESCRIPTION OR TO PAY THE FEE WITHIN THE PRESCRIBED TIME-LIMIT Effective date: 20161109 Ref country code: CZ Free format text: LAPSE BECAUSE OF FAILURE TO SUBMIT A TRANSLATION OF THE DESCRIPTION OR TO PAY THE FEE WITHIN THE PRESCRIBED TIME-LIMIT Effective date: 20161109 Ref country code: EE Free format text: LAPSE BECAUSE OF FAILURE TO SUBMIT A TRANSLATION OF THE DESCRIPTION OR TO PAY THE FEE WITHIN THE PRESCRIBED TIME-LIMIT Effective date: 20161109 Ref country code: SK Free format text: LAPSE BECAUSE OF FAILURE TO SUBMIT A TRANSLATION OF THE DESCRIPTION OR TO PAY THE FEE WITHIN THE PRESCRIBED TIME-LIMIT Effective date: 20161109 |
|
| REG | Reference to a national code |
Ref country code: FR Ref legal event code: PLFP Year of fee payment: 10 Ref country code: DE Ref legal event code: R097 Ref document number: 602008047339 Country of ref document: DE |
|
| PG25 | Lapsed in a contracting state [announced via postgrant information from national office to epo] |
Ref country code: BG Free format text: LAPSE BECAUSE OF FAILURE TO SUBMIT A TRANSLATION OF THE DESCRIPTION OR TO PAY THE FEE WITHIN THE PRESCRIBED TIME-LIMIT Effective date: 20170209 Ref country code: BE Free format text: LAPSE BECAUSE OF FAILURE TO SUBMIT A TRANSLATION OF THE DESCRIPTION OR TO PAY THE FEE WITHIN THE PRESCRIBED TIME-LIMIT Effective date: 20161109 |
|
| PLBE | No opposition filed within time limit |
Free format text: ORIGINAL CODE: 0009261 |
|
| STAA | Information on the status of an ep patent application or granted ep patent |
Free format text: STATUS: NO OPPOSITION FILED WITHIN TIME LIMIT |
|
| 26N | No opposition filed |
Effective date: 20170810 |
|
| PG25 | Lapsed in a contracting state [announced via postgrant information from national office to epo] |
Ref country code: SI Free format text: LAPSE BECAUSE OF FAILURE TO SUBMIT A TRANSLATION OF THE DESCRIPTION OR TO PAY THE FEE WITHIN THE PRESCRIBED TIME-LIMIT Effective date: 20161109 |
|
| REG | Reference to a national code |
Ref country code: CH Ref legal event code: PL |
|
| PG25 | Lapsed in a contracting state [announced via postgrant information from national office to epo] |
Ref country code: MC Free format text: LAPSE BECAUSE OF FAILURE TO SUBMIT A TRANSLATION OF THE DESCRIPTION OR TO PAY THE FEE WITHIN THE PRESCRIBED TIME-LIMIT Effective date: 20161109 |
|
| REG | Reference to a national code |
Ref country code: IE Ref legal event code: MM4A |
|
| PG25 | Lapsed in a contracting state [announced via postgrant information from national office to epo] |
Ref country code: LU Free format text: LAPSE BECAUSE OF NON-PAYMENT OF DUE FEES Effective date: 20170922 |
|
| PG25 | Lapsed in a contracting state [announced via postgrant information from national office to epo] |
Ref country code: LI Free format text: LAPSE BECAUSE OF NON-PAYMENT OF DUE FEES Effective date: 20170930 Ref country code: CH Free format text: LAPSE BECAUSE OF NON-PAYMENT OF DUE FEES Effective date: 20170930 Ref country code: IE Free format text: LAPSE BECAUSE OF NON-PAYMENT OF DUE FEES Effective date: 20170922 |
|
| REG | Reference to a national code |
Ref country code: FR Ref legal event code: PLFP Year of fee payment: 11 |
|
| PGFP | Annual fee paid to national office [announced via postgrant information from national office to epo] |
Ref country code: PL Payment date: 20180627 Year of fee payment: 11 |
|
| PG25 | Lapsed in a contracting state [announced via postgrant information from national office to epo] |
Ref country code: MT Free format text: LAPSE BECAUSE OF NON-PAYMENT OF DUE FEES Effective date: 20170922 |
|
| PGFP | Annual fee paid to national office [announced via postgrant information from national office to epo] |
Ref country code: NL Payment date: 20180731 Year of fee payment: 9 |
|
| PGFP | Annual fee paid to national office [announced via postgrant information from national office to epo] |
Ref country code: TR Payment date: 20180906 Year of fee payment: 11 |
|
| PGFP | Annual fee paid to national office [announced via postgrant information from national office to epo] |
Ref country code: ES Payment date: 20181001 Year of fee payment: 11 |
|
| PG25 | Lapsed in a contracting state [announced via postgrant information from national office to epo] |
Ref country code: HU Free format text: LAPSE BECAUSE OF FAILURE TO SUBMIT A TRANSLATION OF THE DESCRIPTION OR TO PAY THE FEE WITHIN THE PRESCRIBED TIME-LIMIT; INVALID AB INITIO Effective date: 20080922 |
|
| REG | Reference to a national code |
Ref country code: DE Ref legal event code: R081 Ref document number: 602008047339 Country of ref document: DE Owner name: RECKITT & COLMAN (OVERSEAS) HYGIENE HOME LIMIT, GB Free format text: FORMER OWNER: RECKITT & COLMAN (OVERSEAS) LIMITED, SLOUGH, BERKSHIRE, GB |
|
| PG25 | Lapsed in a contracting state [announced via postgrant information from national office to epo] |
Ref country code: CY Free format text: LAPSE BECAUSE OF NON-PAYMENT OF DUE FEES Effective date: 20161109 |
|
| PG25 | Lapsed in a contracting state [announced via postgrant information from national office to epo] |
Ref country code: IT Free format text: LAPSE BECAUSE OF NON-PAYMENT OF DUE FEES Effective date: 20190922 |
|
| REG | Reference to a national code |
Ref country code: ES Ref legal event code: FD2A Effective date: 20210129 |
|
| PG25 | Lapsed in a contracting state [announced via postgrant information from national office to epo] |
Ref country code: ES Free format text: LAPSE BECAUSE OF NON-PAYMENT OF DUE FEES Effective date: 20190923 |
|
| PG25 | Lapsed in a contracting state [announced via postgrant information from national office to epo] |
Ref country code: PL Free format text: LAPSE BECAUSE OF NON-PAYMENT OF DUE FEES Effective date: 20190922 |
|
| PG25 | Lapsed in a contracting state [announced via postgrant information from national office to epo] |
Ref country code: TR Free format text: LAPSE BECAUSE OF NON-PAYMENT OF DUE FEES Effective date: 20190922 |
|
| P01 | Opt-out of the competence of the unified patent court (upc) registered |
Effective date: 20230513 |
|
| PGFP | Annual fee paid to national office [announced via postgrant information from national office to epo] |
Ref country code: DE Payment date: 20250702 Year of fee payment: 18 |
|
| PGFP | Annual fee paid to national office [announced via postgrant information from national office to epo] |
Ref country code: FR Payment date: 20250808 Year of fee payment: 18 |