EP2093492A2 - Hausgerätvorrichtung - Google Patents

Hausgerätvorrichtung Download PDF

Info

Publication number
EP2093492A2
EP2093492A2 EP09100116A EP09100116A EP2093492A2 EP 2093492 A2 EP2093492 A2 EP 2093492A2 EP 09100116 A EP09100116 A EP 09100116A EP 09100116 A EP09100116 A EP 09100116A EP 2093492 A2 EP2093492 A2 EP 2093492A2
Authority
EP
European Patent Office
Prior art keywords
door
domestic appliance
unit
spring
torque
Prior art date
Legal status (The legal status is an assumption and is not a legal conclusion. Google has not performed a legal analysis and makes no representation as to the accuracy of the status listed.)
Granted
Application number
EP09100116A
Other languages
English (en)
French (fr)
Other versions
EP2093492A3 (de
EP2093492B1 (de
Inventor
Frank Wittrock
Current Assignee (The listed assignees may be inaccurate. Google has not performed a legal analysis and makes no representation or warranty as to the accuracy of the list.)
BSH Hausgeraete GmbH
Original Assignee
BSH Bosch und Siemens Hausgeraete GmbH
Priority date (The priority date is an assumption and is not a legal conclusion. Google has not performed a legal analysis and makes no representation as to the accuracy of the date listed.)
Filing date
Publication date
Application filed by BSH Bosch und Siemens Hausgeraete GmbH filed Critical BSH Bosch und Siemens Hausgeraete GmbH
Publication of EP2093492A2 publication Critical patent/EP2093492A2/de
Publication of EP2093492A3 publication Critical patent/EP2093492A3/de
Application granted granted Critical
Publication of EP2093492B1 publication Critical patent/EP2093492B1/de
Active legal-status Critical Current
Anticipated expiration legal-status Critical

Links

Images

Classifications

    • FMECHANICAL ENGINEERING; LIGHTING; HEATING; WEAPONS; BLASTING
    • F24HEATING; RANGES; VENTILATING
    • F24CDOMESTIC STOVES OR RANGES ; DETAILS OF DOMESTIC STOVES OR RANGES, OF GENERAL APPLICATION
    • F24C15/00Details
    • F24C15/02Doors specially adapted for stoves or ranges
    • F24C15/024Handles
    • AHUMAN NECESSITIES
    • A47FURNITURE; DOMESTIC ARTICLES OR APPLIANCES; COFFEE MILLS; SPICE MILLS; SUCTION CLEANERS IN GENERAL
    • A47LDOMESTIC WASHING OR CLEANING; SUCTION CLEANERS IN GENERAL
    • A47L15/00Washing or rinsing machines for crockery or tableware
    • A47L15/42Details
    • A47L15/4251Details of the casing
    • A47L15/4257Details of the loading door
    • A47L15/4261Connections of the door to the casing, e.g. door hinges
    • DTEXTILES; PAPER
    • D06TREATMENT OF TEXTILES OR THE LIKE; LAUNDERING; FLEXIBLE MATERIALS NOT OTHERWISE PROVIDED FOR
    • D06FLAUNDERING, DRYING, IRONING, PRESSING OR FOLDING TEXTILE ARTICLES
    • D06F37/00Details specific to washing machines covered by groups D06F21/00 - D06F25/00
    • D06F37/02Rotary receptacles, e.g. drums
    • D06F37/04Rotary receptacles, e.g. drums adapted for rotation or oscillation about a horizontal or inclined axis
    • D06F37/10Doors; Securing means therefor
    • FMECHANICAL ENGINEERING; LIGHTING; HEATING; WEAPONS; BLASTING
    • F24HEATING; RANGES; VENTILATING
    • F24CDOMESTIC STOVES OR RANGES ; DETAILS OF DOMESTIC STOVES OR RANGES, OF GENERAL APPLICATION
    • F24C15/00Details
    • F24C15/02Doors specially adapted for stoves or ranges
    • F24C15/022Latches
    • FMECHANICAL ENGINEERING; LIGHTING; HEATING; WEAPONS; BLASTING
    • F24HEATING; RANGES; VENTILATING
    • F24CDOMESTIC STOVES OR RANGES ; DETAILS OF DOMESTIC STOVES OR RANGES, OF GENERAL APPLICATION
    • F24C15/00Details
    • F24C15/02Doors specially adapted for stoves or ranges
    • F24C15/026Doors specially adapted for stoves or ranges stowing of door in open position
    • AHUMAN NECESSITIES
    • A47FURNITURE; DOMESTIC ARTICLES OR APPLIANCES; COFFEE MILLS; SPICE MILLS; SUCTION CLEANERS IN GENERAL
    • A47LDOMESTIC WASHING OR CLEANING; SUCTION CLEANERS IN GENERAL
    • A47L15/00Washing or rinsing machines for crockery or tableware
    • A47L15/42Details
    • A47L15/4251Details of the casing
    • A47L15/4274Arrangement of electrical components, e.g. control units or cables

Definitions

  • the invention relates to a domestic appliance device according to the preamble of claim 1.
  • a home appliance device with a cable whose first end is directly connected to a first spring and whose second end is indirectly connected to a second spring and which transmits a torque in an operating state, is known.
  • One of the springs is deflected in the transmission of torque, while the remaining spring ensures a tension of the cable with a constant force.
  • the object of the invention is in particular to provide a generic device with improved properties in terms of a simple design.
  • the invention relates to a domestic appliance device having at least one door unit, which at least one door handle, which is rotatably mounted about an axis, at least one torque transmitting means, which transmits at least one torque in at least one operating state in cooperation with the door handle, a first spring means, which at least attached to a mounting portion of a fastening means of the door unit, which is immovable in at least one operating sequence relative to the axis, and at least one second spring means, which is attached at least to a mounting region of a fastening means of the door unit comprises.
  • a "fastening region" of a fastening means, to which a spring means is fastened, is to be understood, in particular, as a region of the fastening means to which the fastening means touches the spring means and / or on which Spring means transmits a force to the fastener.
  • a “torque transmission means” is to be understood in particular a means which transmits torque in at least one operating state to a unit and / or a component.
  • An “operating procedure” is to be understood in particular as meaning a sequence and / or a process in which the torque transmission means moves relative to the axis.
  • first and the second spring means are fastened to the same fastening means of the door unit. As a result, components can be saved.
  • the domestic appliance device has at least one functional means on which the torque transmission means is positively secured in at least one operating state.
  • a functional means is meant in particular a bearing means, guide means, holding means and / or drive means.
  • a “bearing means” is to be understood in particular as a rolling bearing means and / or a sliding bearing means.
  • a “holding means” is to be understood in particular as meaning a means which, in at least one state of use, receives at least one load and transmits it to a supporting building means.
  • drive means is meant in particular a means which transmits a drive from one means to another means.
  • a “drive” should be understood in particular a rotary drive and / or a linear drive. This can be a simple installation can be achieved.
  • the domestic appliance device has at least one locking unit which can be locked by the torque transmitted to the functional means. As a result, other components can be saved.
  • the functional means is provided to rotatably support the door unit. In this way, a simple construction can be achieved.
  • the functional means is provided to cause a change in the deflections of both spring means in an operating sequence in which the door unit is rotated. This can be achieved in a simple construction, an advantageous operation of the spring means.
  • the domestic appliance device has at least one pane fastening means to which at least one of the spring means is fastened in at least one operating state. In this way, a simple construction can be achieved.
  • the first spring means have a spring force that is many times greater than the second spring means.
  • the spring stiffness of the first spring means is at least twice as large, in particular at least five times as large and particularly advantageously twenty times as great Spring hardness of the second spring means. This allows a user to operate the door handle in a comfortable manner, in particular when opening or closing the door unit. In particular, when the door unit is closed, the first spring means brings the door handle into a position in which the door handle is located when the door unit is closed.
  • the door unit is closed in an operating state in which the first spring means has a smallest deflection.
  • the spring means has a "smallest" deflection in an operating state, should be understood in particular that the spring means in the operating state has a smaller deflection than in all other operating states.
  • the spring means can store energy when opening the door unit.
  • the torque transmission means has at least one cable pull. This allows a cost-effective and stable construction can be achieved.
  • the domestic appliance device has at least one storage space in which the unit is introduced in at least one state of use at least to a large extent.
  • the home appliance door "for the most part" in the storage space is introduced, should be understood in particular that at least a portion of the appliance door, which forms at least sixty percent, in particular at least seventy-five percent and more preferably at least ninety percent of a vertical extension of the appliance door in a closed state in an operating position, is arranged in the storage space In this way, a compact arrangement can be achieved.
  • the home appliance device has at least one door storage unit, which is provided to introduce the door unit by means of a sliding movement to a large extent in a storage space.
  • a simple Verstaules the door unit can be achieved.
  • FIG. 1 shows a household appliance 26 formed by an oven with a domestic appliance device having a pivotally mounted in pivoting directions 10, 12 household appliance door 14 with a door handle 62, which is shown in a disconnected state.
  • the household appliance 26 has an oven muffle 30, which is arranged in a household appliance housing 28 and encloses a usable space 16 formed by a cooking chamber on five sides.
  • the useful space 16 can be closed by the appliance door 14.
  • the household appliance 26 a below the oven muffle 30 arranged storage space 18, in which the household appliance door 14 guided via a door storage unit 20 of the home appliance device is largely retractable by means of a pivoting movement and a subsequent sliding movement in a horizontal direction.
  • the door storage unit 20 has two basically corresponding, each with lateral end faces of the appliance door 14 in the pivoting directions 10, 12 fixed and in a surface extension 22 of the appliance door 14 movably coupled guide means 24 with two rollers 171, 173, wherein only one of the two guide means 24 is shown.
  • the surface extension 22 extends in closed home appliance door 14 in a vertical direction when the domestic appliance 26 is arranged in an operating position.
  • the door storage unit 20 for receiving a portion of the weight of the appliance door 14 a relative to the appliance housing 28 movably mounted storage unit 38.
  • FIG. 2 In addition to a door unit 64 with the door handle 62, the domestic appliance door 14 for transmitting the part of the weight of a coupling unit 34 with a contact portion 36 which the domestic appliance door 14 in an assembled state with the storage unit 38th coupled.
  • the door unit 64 has an outer surface 32, which laterally delimits the domestic appliance door 14 in an operating position and in particular in a closed state of the appliance door 14 and when the household appliance door 14 is pushed into the storage space 18 in a horizontal direction.
  • the contact region 36 is arranged.
  • the contact region 36 is formed by an end section 56 of the axis unit 54 (FIG. FIG. 2 ).
  • the bearing units 68 have elevations 72 with flat surface parts 74, which extend mainly in a direction perpendicular to the axis 76.
  • a surface of the projections 72 and in particular the surface parts 74 form the contact region 36.
  • FIG. 3 shows a schematic representation of the household appliance 26 without the appliance door 14 in a lateral frontal view.
  • the bearing unit 38 is movably supported by two guide slots 44 of the household appliance 26 relative to the domestic appliance housing 28.
  • the guide slots 44 which are formed mirror-inverted to each other, limit a portion of the storage space 18 in a front view of the domestic appliance on a right and a left side.
  • the torque transmission means 48, 50 each have a receiving area 40, which in a mounted state of the appliance door 14, the elevations 72 of the storage units 68th and thus the contact areas 36 receives.
  • the receiving region 40 is partially delimited by a contact surface 49 of the torque-transmitting means 48, 50, which rests against the contact region 36 in an assembled state of the appliance door 14 and transmits a torque to the contact region 36 and thus the coupling unit 34, which occurs when the appliance door 14 moves on the coupling unit 34 exerts a torque by which the coupling unit 34 is rotated relative to the door unit 64.
  • the elevations 72 ( FIG. 2 ) as bearing means 86 by transmitting a portion of the weight of the appliance door 14 and the door unit 64 to the abutment surface 49 and to a lower confining surface 80 of the torque transmitting means 48, 50 which partially defines the receiving region 40 in the vertical downward direction.
  • the torque transmission means 48, 50 thus function as holding means 90, which in particular hold the closed household appliance door 14 in position.
  • the door unit 64 is designed as a profiled rail door and has two profiled rails 121, 123.
  • the bearing units 68 are partially arranged in recesses 163 of the profile rails 121, 123.
  • the recesses 163 are bounded by non-illustrated bearing surfaces of the rails 121, 123.
  • the sliding bearing surfaces 84 of the bearing units 68 slide against the corresponding bearing surfaces of the profiled rails 121, 123.
  • the rollers 111, 113 and thus the door handle 62 are rotatably supported by means of the profiled rails 121, 123.
  • On the profile rails 121, 123 each one fastening means 98 is fixed relative to the rails 121, 123 immovably.
  • An eyelet 125 of the fastener 98 which is integrally formed and, in a fully assembled state, functions as a disc attachment means for the inner disc 141 and the washer, has first and second attachment portions 100, 104 which are immovable relative to the axle 92.
  • the door unit 64 also has a first and a second spring means 96, 102, which are formed as coil springs.
  • a first end of the first spring means 96 is hooked to the first attachment portion 100, a first end of the second spring means 102 is hooked to the second attachment portion 104.
  • At two ends of the cable 181 eyelets 117, 119 of the torque transmission means 94, 95 are further attached.
  • a second end of the spring means 96 is further attached to the eyelet 117.
  • the spring means 96 is disposed between the eyelet 125 and the roller 113.
  • a second end of the second spring means 102 is attached to the eyelet 119.
  • the second spring means 102 is disposed between the eyelet 125 and the bearing unit 68.
  • Main extension directions of the spring means 96, 102 are parallel to the surface extension 22.
  • a portion 129 of the torque transmitting means 94 which is attached to the eyelet 117, runs parallel and directly adjacent to an outer disk 133 of the door unit 64.
  • a second section 131 extends parallel to the first section 129 and parallel to the inner pane 141 of the door unit 64 and is arranged directly next to the inner pane 141.
  • the partial section 129 is arranged between the partial section 131 and the outer plate 133.
  • FIG. 8 schematically shows the closed state of the appliance door 14.
  • the first spring means 96 has in this case compared to all other possible operating positions a smallest deflection.
  • a main extension direction 135 of the door handle 62 perpendicular to the axis 92 is in this case arranged perpendicular to the subsections 129, 131 and to the outer disk 133.
  • the bearing units 68 remain stationary when opening the appliance door 14 relative to the bearing unit 38 and rotate relative to the rails 121, 123 about the axis 76.
  • the bearing units 68 transmit thereby by means of the receiving portion 116 and the bolt 115, a torque and thus a drive to the torque transmission means 94, 95, which is why the bearing unit 68 is identical to a trained as a drive means 60 functional means 106.
  • the torque transmitting means 94, 95 and the rollers 111, 113 transfer the drive to the door handle 62, which causes the main extension direction 135 of the door handle in each opening position of the door unit 64 to extend substantially in a horizontal direction when the domestic appliance 26 is in an operating position is arranged.
  • the spring means 96 is stretched as the spring means 102 contracts.
  • the storage unit 68 and the torque transmitting means 48 form a locking unit 108.
  • the locking unit 108 is in FIG a release state ( FIG. 10 ), in which the appliance door 14 in a partially open position of the storage unit 38 can be decoupled when the surface extension 22 (see FIG. 1 ) includes an angle of about twenty degrees with a vertical.
  • the surface extension 22 see FIG. 1
  • a user or a fitter can the home appliance door 14 on outer surfaces 183 of the rails 121, 123, which surfaces of the rails 121, 123 and the home appliance door 14 in a front view partially limit laterally, and on outer surfaces 185, 187 of the inner pane 141 and the Outer disk 133, which partially laterally delimit the outer disk 133 and the inner disk 141 in the front view, and hold the household appliance door 14 in a straight line in the direction of the surface extension 22 upwards.
  • the elevations 72 slide through indentations 162 of the torque transmission means 48, 50 (FIG. FIG. 5 ) and are thereby removed from the receiving areas 40, whereby the household appliance door 14 is disconnected from the storage unit 38.
  • the bearing unit 38 can optionally be detected by a locking unit 161 in a position in which the bearing unit 38 is arranged immediately before uncoupling. If this option is used, after disconnecting the household appliance door 14, guide surfaces 143, 145 of the storage unit 38 facilitate coupling the household appliance door 14 to the storage unit 38, by guiding the raised portions 72 when introduced into the receiving area 40 and thus also the storage units 68. Furthermore, in the coupling operation, the rollers 171, 173 of the guide means 24 (see FIG FIG. 1 ) in lateral grooves 175 of the household appliance door 14, which partially delimit the household appliance door 14 in an operating position laterally ( FIG. 2 ).
  • a groove bottom 177 of the groove 175 has a recess 179, in which the elevation 72 is arranged.
  • the locking unit 108 is further provided to prevent removal of the appliance door 14 from the storage unit 38 in an at least partially open position of the appliance door 14.
  • a user or a fitter brings the appliance door 14 in a position in which the surface extension 22 forms an angle of about twenty degrees with a vertical, and moves the door handle 62 in the direction of the surface extension 22, the door handle 62 rotates by means a coupling unit 139, which is formed by the rollers 111, 113, the torque transmission means 94, 95 and the bolts 115, the bearing units 68 relative to the rails 121, 123 about the axis 76.
  • the protrusions 72 move to a locking position (FIG. FIG.
  • undercuts 147 of the torque transmitting means 48, 50 which are formed by formed by the torque transmission means 48, 50 boundaries of the receiving areas 40, screwing.
  • the screwing in of the elevations 72 is guided by guide surfaces 157, 159 which are formed by the receiving areas 40 delimiting surface parts of the torque transmission means 48, 50.
  • One of the guide surfaces 159 is formed by the undercut 147.
  • the screwing in of the elevations 72 is stopped in that two surface parts 149, 151 of the elevations 72 abut against two surface parts 153, 155 of the torque transmission means 48, which partially delimit the receiving region 40.
  • the projections 72 are in the locking position. If a user then attempts to move the appliance door 14 in the direction of the surface extension 22 away from the storage unit 38, this is prevented by the projections 72 abutting the undercuts 147, as a result of which the projections 72 remain in the receiving areas 40.
  • FIG. 12 shows a schematic representation of the appliance door 14 in an open position with the inner pane 141, which the utility space 16 (see FIG. 1 ) closes in a closed position of the appliance door 14.
  • the protrusions 72 are inserted into the receiving areas 40 and the locking unit 108 is in the unlocked state. If an operator attempts to decouple the appliance door 14 from the storage unit 38 in the open position by attempting to guide the elevations 72 out of the receiving areas 40 through the indentations 162, then the outer pane 133 acts as a locking element, since the torque transmission means 48, 50 contact the Outer disk abut and this prevents removal of the projections 72 from the receiving areas 40.
  • the bearing units 68 are attached to the ends of the steel rod 66 and compressed so far until the bearing units 68 abut the ends of the steel rod 66. A first of the bearing units 68 is then inserted into one of the recesses 163 of one of the profile rails 121, 123. By means of a movement of the second of the bearing units 68 and a movement of the steel rod 66, the second bearing unit 68 is inserted into the remaining recess. The steel bar 66 and the bearing units 68 are then in their mounted position.
  • the bearing units 68 each have a recess 165.
  • one of the bearing units 68 is fastened by means of the steel clamp and the other bearing unit 68 is fastened in another way to the steel rod 66 or is formed integrally therewith.
  • a further alternative possibility for fastening the bearing units 68 by means of the steel clamps would also be to arrange in receiving areas of the bearing units 68, in which the steel rod 66 is inserted in an assembled state, spring elements, such as compression springs, which upon compression of the bearing units 68 be compressed. By compressing these spring elements, an assembly of the coupling unit 34 is possible even with already glued rails 121, 123 by the bearing units 68 compressed and the spring elements are thus compressed.
  • the bearing units 68 In an assembled state, the bearing units 68 would be pushed apart from these spring elements and thus attached to the rails 121, 123.
  • the steel bar 66 could also have a different number of edges.
  • the steel rod 66 can also be designed to be round, in which case the bearing units 68 would be rotatable relative to each other about the axis 76. In one embodiment of the coupling unit 34 without the steel rod 66, the bearing units 68 would otherwise be attached to the rails 121, 123.
  • the locking unit 161 is provided to fix the home appliance door storage unit 191 in a pivotal position.
  • the locking unit 161 has a locking means 195 designed as a bolt and an elastic actuating means 197, which is provided for locking the locking means 195 from a starting position (FIG. FIG. 13 ) in a locking position ( FIG. 14 ) in which the locking means detects the home appliance door bearing unit 191 in the pivotal position.
  • the actuating means 197 is designed as an adjusting bracket.
  • the locking means 195 engages a recess 201 of a locking means 200 of the locking unit 161, which is fixed to the guide means 24, that the guide means 24 and the locking means 200 relative to each other about an axis 204 which is parallel to the axis 193 and is rotated at a rotation of the guide means 24 with the guide means 24 are rotatable.
  • the locking means 195 is with respect to the directions of rotation about the axis 193 on a housing-fixed guide member 203 (see FIG. 16 ) of the home appliance device. Therefore, when the locking means 195 is in the locking position, rotation of the guide means 24 about the axis 193 is prevented and the guide means 24 is thus fixed in a certain rotational position.
  • the locking means 200 is provided to transmit a spring force to the guide means 24.
  • a coil spring 207 is mounted, which is expanded upon opening of the appliance door 14 and a part of the potential energy, which the appliance door 14 has in a closed state, stores and thus serves as an energy storage unit.
  • the torque transmission means 48, 50 are also parts of the domestic appliance door storage unit 191. They each have a recess 205 (FIG. FIG. 5 ) into which a locking means 189 (FIG. FIG. 1 ) of the guide means 24 in pivotal positions of the appliance door 14 and in particular in a pivot position of the appliance door 14, in which the locking means 195 is arranged in the locking position, engages.
  • the guide means 24 and the bearing unit 38 are substantially immovable relative to each other. Accordingly, if the locking means 195 is in the locking state in a mounted state of the domestic appliance, the domestic appliance door storage unit 191 is fixed in a take-out swinging position. In this pivoting position, the domestic appliance door 14 can be decoupled from the domestic appliance door storage unit 191 by the rectilinear movement in the direction of the surface extension 22.
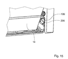
  • an operator or fitter for fixing the appliance door storage unit 191 for example with the aid of a coin, can insert into a groove 206 of an actuating means 199 (FIG. FIG. 15 ), which is designed as a pivot, the locking unit 161 penetrate and this starting from a starting position, in which an opening and closing of the appliance door 14 is possible to rotate by ninety degrees ( Figures 13 and 14 ). If the home appliance door storage unit 191 is in a swing position different from the take-off swing position, the actuator 197 is cocked and thereby expanded by this rotation of the operation means 199 since the operation means 197 is fixed to the operation means 199.
  • the home appliance door 14 can be decoupled by the linear movement of the bearing unit 38 and the guide means 24. Will a user the disconnected household appliance door 14 in an operating position such. B. bring in the closed position, the rollers 171, 173 are introduced into the groove 175 and the projections 72 in the receiving areas 40 and the actuating means 199 again turned back by one hundred eighty degrees, whereby the locking means 195 is moved back to the starting position and the appliance door 14 is pivotable, for example, in the closed position.
  • FIG. 16 shows a portion of the home appliance device with the fixed to the housing guide member 203 to which the guide means 24 is rotatably mounted about the axis 193.
  • the guide element 203 has slots formed as recesses 208, which the locking means 195 during the displacement of the starting position ( FIG. 13 ) in the locking position ( FIG. 14 ) and back again.
  • the home appliance 26 further includes a home appliance door guide device.
  • FIG. 17 shows an integrally formed first door guide means 209 of the household appliance door guide device.
  • the household appliance 26 has a further door guide means 209, which is mirror-inverted compared to the first door guide means 209.
  • the two door guide means 209 limit in a frontal view of the household appliance, the storage space 18 laterally (see FIG. 3 ).
  • the door guide means 209 each form a guide slot, which is identical to the guide slot 44 or is mirror-inverted to this and which has a guide surface made of plastic with long glass fibers 210 for guiding the bearing unit 38.
  • the guide slot 44 has a plurality of areas 256, 258, 260, which limit the storage space 18 partially laterally in an assembled state of the domestic appliance.
  • the first area 256 is arranged on a front area of the household appliance and runs obliquely upward in an operating position of the household appliance.
  • the second area 258 is arranged in a middle area 258 of the domestic appliance between the front area and the rear side of the household appliance and runs in a horizontal direction.
  • the third area 260 limits the storage space 18 in a rear area partially laterally and extends obliquely downwards.
  • the domestic appliance door guide device When introducing the household appliance door 14 into the storage space 18, the domestic appliance door 14 is at least partially braked by the household appliance door guide device.
  • the domestic appliance door guide device has a damping means 212 ( FIG. 3 ), which is formed from a cuboid formed of polyurethane.
  • the door guide means 209 At an end region of the guide slot 44 facing the rear of the household appliance, the door guide means 209 has a receiving area 214.
  • the damping means 212 is engaged on a latching means 216 of the door guide means 209, which is arranged in the receiving region 214, and is partially arranged in the receiving region 214.
  • the torque transmission means 50 see FIG. 4
  • the damping means 212 transmits kinetic energy to the damping means 212, which partially converts the energy into heat and partially passes it on to the door guide means 209, which is thereby slightly deformed.
  • a portion of the door guide means 209 partially surrounding the guide slot 44 has a rib structure 218 formed by a honeycomb cell pattern 230. Furthermore, the door guide means 209 forms a receiving area 228 which directly adjoins a front side of the storage space. In a mounted state is in the Receiving portion 228, the actuating means 199 arranged and rotatably supported by the door guide means 209 (see FIG. 15 ).
  • the bearing means 222 could have a margin in a lateral, horizontal direction away from the storage space 18 in comparison to a new state of the domestic appliance. Due to a sliding surface 220 ( FIG. 18 ) of the door guide means 209, the bearing means 222 despite the margin perform a safe rotational movement. In this case, an outer region 234 of the bearing means 222 slides on the sliding surface 220 (FIG. FIG. 19 ), wherein the bearing means 222 is supported by the sliding surface 220.
  • the sliding surface 220 is a segment of a cylinder jacket whose axis of symmetry corresponds to the axis 193.
  • the door guide means 209 On one side of the door guide means 209, which in an assembled state faces an outer region of the domestic appliance, the door guide means 209 has a fastening means 224 for fastening a cable 236 to a lighting of the domestic appliance ( FIG. 20 ).
  • the fastening means 224 is designed as a clamping means and clamps the cable 236 in a mounted state on the rib structure 218.
  • Parts of the household appliance housing 28 are screwed directly to the door guide means 209 ( FIG. 3 ). These are in particular a floor 238, side walls 240, an intermediate floor 242, which limits the storage space 18 partially upwards, a trim panel and a Lisene.
  • the bottom 238 has a fold 244, which expands in an operating position upwards and surrounds the door guide means 209.
  • the fold 244 is screwed to the door guide means 209 at three points 246.
  • the three points 246 are evenly distributed over a depth dimension of the household appliance.
  • the door guide means 209 has an indentation at one end section of the guide slot 44, through which the bearing unit 38 can be removed from the guide slot 44. Before such removal of the bearing unit 38, the coupling of the bearing unit 38 with the locking means 189 designed as a tooth must be canceled.
  • the door guide means 209 has an elevation 254 ( FIG. 17 ), which engages in a mounted state in the drip groove 250.

Landscapes

  • Engineering & Computer Science (AREA)
  • Chemical & Material Sciences (AREA)
  • Combustion & Propulsion (AREA)
  • Mechanical Engineering (AREA)
  • General Engineering & Computer Science (AREA)
  • Textile Engineering (AREA)
  • Power-Operated Mechanisms For Wings (AREA)
  • Support Devices For Sliding Doors (AREA)
  • Electric Ovens (AREA)

Abstract

Die Erfindung geht aus von einer Hausgerätvorrichtung mit wenigstens einer Türeinheit (64), welche zumindest einen Türgriff (62), welcher drehbar um eine Achse (92) gelagert ist, zumindest ein Drehmomentübertragungsmittel (94, 95), welches in wenigstens einem Betriebszustand in einem Zusammenwirken mit dem Türgriff (62) zumindest ein Drehmoment überträgt, ein erstes Federmittel (96), welches zumindest an einem Befestigungsbereich (100) eines Befestigungsmittels (98) der Türeinheit (64) befestigt ist, welcher in zumindest einem Betriebsablauf relativ zu der Achse (92) unbeweglich ist, und zumindest ein zweites Federmittel (102), welches wenigstens an einem Befestigungsbereich (104) eines Befestigungsmittels (98) der Türeinheit (64) befestigt ist, aufweist.
Um eine einfache Bauweise zu erreichen, wird vorgeschlagen, dass der Befestigungsbereich (104), an welchem das zweite Federmittel (102) befestigt ist, in zumindest einem Betriebsablauf relativ zu der Achse (92) unbeweglich ist.

Description

  • Die Erfindung geht aus von einer Hausgerätvorrichtung nach dem Oberbegriff des Anspruchs 1.
  • Bekannt ist eine Hausgerätvorrichtung mit einem Seilzug, dessen erstes Ende direkt mit einer ersten Feder und dessen zweites Ende indirekt mit einer zweiten Feder verbunden ist und der in einem Betriebszustand ein Drehmoment überträgt. Eine der Federn wird bei der Übertragung des Drehmoments ausgelenkt, während die verbleibende Feder für eine Spannung des Seilzugs mit einer gleich bleibenden Kraft sorgt.
  • Die Aufgabe der Erfindung besteht insbesondere darin, eine gattungsgemäße Vorrichtung mit verbesserten Eigenschaften hinsichtlich einer einfachen Bauweise bereitzustellen.
  • Die Aufgabe wird erfindungsgemäß durch die Merkmale des Patentanspruchs 1 gelöst, während vorteilhafte Ausgestaltungen und Weiterbildungen der Erfindung den Unteransprüchen entnommen werden können.
  • Die Erfindung geht aus von einer Hausgerätvorrichtung mit wenigstens einer Türeinheit, welche zumindest einen Türgriff, welcher drehbar um eine Achse gelagert ist, zumindest ein Drehmomentübertragungsmittel, welches in wenigstens einem Betriebszustand in einem Zusammenwirken mit dem Türgriff zumindest ein Drehmoment überträgt, ein erstes Federmittel, welches zumindest an einem Befestigungsbereich eines Befestigungsmittels der Türeinheit befestigt ist, welcher in zumindest einem Betriebsablauf relativ zu der Achse unbeweglich ist, und zumindest ein zweites Federmittel, welches wenigstens an einem Befestigungsbereich eines Befestigungsmittels der Türeinheit befestigt ist, aufweist.
  • Es wird vorgeschlagen, dass der Befestigungsbereich, an welchem das zweite Federmittel befestigt ist, in zumindest einem Betriebsablauf relativ zu der Achse unbeweglich ist. Unter einem "Befestigungsbereich" eines Befestigungsmittels, an welchem ein Federmittel befestigt ist, soll insbesondere ein Bereich des Befestigungsmittels verstanden werden, an welchem das Befestigungsmittel das Federmittel berührt und/oder an welchem das Federmittel eine Kraft auf das Befestigungsmittel überträgt. Unter einem "Drehmomentübertragungsmittel" soll insbesondere ein Mittel verstanden werden, welches in wenigstens einem Betriebszustand ein Drehmoment auf eine Einheit und/oder ein Bauteil überträgt. Unter einem "Betriebsablauf" soll insbesondere ein Ablauf und/oder ein Vorgang verstanden werden, bei welchem sich das Drehmomentübertragungsmittel relativ zu der Achse bewegt. Durch eine erfindungsgemäße Ausgestaltung kann eine einfache Bauweise erreicht werden.
  • Ferner wird vorgeschlagen, dass das erste und das zweite Federmittel an demselben Befestigungsmittel der Türeinheit befestigt sind. Hierdurch können Bauteile eingespart werden.
  • Vorzugsweise weist die Hausgerätvorrichtung wenigstens ein Funktionsmittel auf, an welchem das Drehmomentübertragungsmittel in wenigstens einem Betriebszustand formschlüssig befestigt ist. Unter einem "Funktionsmittel" soll insbesondere ein Lagermittel, Führungsmittel, Haltemittel und/oder Antriebsmittel verstanden werden. Unter einem "Lagermittel" soll insbesondere ein Wälzlagermittel und/oder ein Gleitlagermittel verstanden werden. Unter einem "Haltemittel" soll insbesondere ein Mittel verstanden werden, welches in wenigstens einem Benutzungszustand zumindest eine Last aufnimmt und auf ein stützendes Baumittel überträgt. Unter einem "Antriebsmittel" soll im Besonderen ein Mittel verstanden werden, welches einen Antrieb von einem Mittel auf ein weiteres Mittel überträgt. Unter einem "Antrieb" soll insbesondere ein Rotationsantrieb und/oder ein Linearantrieb verstanden werden. Hiermit kann eine einfache Montage erreicht werden.
  • Mit Vorteil überträgt das Drehmomentübertragungsmittel in wenigstens einem Betriebszustand ein Drehmoment auf das Funktionsmittel. Damit kann auf konstruktiv einfache Weise eine Position des Funktionsmittels verändert werden.
  • Weiterhin wird vorgeschlagen, dass die Hausgerätvorrichtung wenigstens eine Verriegelungseinheit aufweist, welche durch das auf das Funktionsmittel übertragene Drehmoment verriegelbar ist. Hierdurch können weitere Bauteile eingespart werden.
  • Vorzugsweise ist das Funktionsmittel dazu vorgesehen ist, die Türeinheit drehbar zu lagern. Auf diese Weise kann eine einfache Bauweise erreicht werden.
  • In einer bevorzugten Ausführungsform der Erfindung ist das Funktionsmittel dazu vorgesehen, bei einem Betriebsablauf, bei welchem die Türeinheit gedreht wird, eine Veränderung der Auslenkungen beider Federmittel zu bewirken. Hierdurch kann bei einer einfachen Bauweise eine vorteilhafte Funktionsweise der Federmittel erreicht werden.
  • Vorzugsweise weist die Hausgerätvorrichtung wenigstens ein Scheibenbefestigungsmittel auf, an welchem zumindest eines der Federmittel in wenigstens einem Betriebszustand befestigt ist. Auf diese Weise kann eine einfache Konstruktion erreicht werden.
  • Ferner wird vorgeschlagen, dass das erste Federmittel eine um ein Vielfaches größere Federhärte aufweist als das zweite Federmittel. Darunter, dass das erste Federmittel eine "um ein Vielfaches größere" Federhärte aufweist als das zweite Federmittel, soll insbesondere verstanden werden, dass die Federhärte des ersten Federmittels wenigstens doppelt so groß, insbesondere zumindest fünfmal so groß und besonders vorteilhaft zwanzigmal so groß ist wie die Federhärte des zweiten Federmittels. Damit kann ein Benutzer den Türgriff auf komfortable Weise, insbesondere bei einem Öffnen bzw. Schließen der Türeinheit, betätigen. Im Besonderen bringt das erste Federmittel den Türgriff bei einem Schließen der Türeinheit in eine Stellung, in welcher sich der Türgriff bei geschlossener Türeinheit befindet.
  • In einer bevorzugten Ausführungsvariante der Erfindung ist die Türeinheit in einem Betriebszustand, in welchem das erste Federmittel eine kleinste Auslenkung aufweist, geschlossen. Darunter, dass das Federmittel eine "kleinste" Auslenkung in einem Betriebszustand aufweist, soll insbesondere verstanden werden, dass das Federmittel in dem Betriebszustand eine kleinere Auslenkung aufweist als in allen anderen Betriebszuständen. Hierdurch kann das Federmittel bei einem Öffnen der Türeinheit Energie speichern.
  • Mit Vorteil weist das Drehmomentübertragungsmittel wenigstens einen Seilzug auf. Damit kann eine kostengünstige und stabile Bauweise erreicht werden.
  • Außerdem wird vorgeschlagen, dass die Hausgerätvorrichtung zumindest einen Stauraum aufweist, in welchen die Einheit in wenigstens einem Benutzungszustand zumindest zu einem Großteil eingebracht ist. Darunter, dass die Hausgerätetür "zu einem Großteil" in den Stauraum eingebracht ist, soll insbesondere verstanden werden, dass wenigstens ein Teil der Hausgerätetür, welcher zumindest sechzig Prozent, insbesondere wenigstens fünfundsiebzig Prozent und besonders vorteilhaft wenigstens neunzig Prozent einer Vertikalerstreckung der Hausgerätetür in einem geschlossenen Zustand in einer Bedienposition bildet, in dem Stauraum angeordnet ist.Auf diese Weise kann eine kompakte Anordnung erreicht werden.
  • Vorzugsweise weist die Hausgerätevorrichtung wenigstens eine Türlagereinheit auf, welche dazu vorgesehen ist, die Türeinheit mittels einer Schiebebewegung zu einem Großteil in einen Stauraum einzuführen. Hierdurch kann eine einfache Verstaubarkeit der Türeinheit erreicht werden.
  • Weitere Vorteile ergeben sich aus der folgenden Zeichnungsbeschreibung. In der Zeichnung sind Ausführungsbeispiele der Erfindung dargestellt. Die Zeichnung, die Beschreibung und die Ansprüche enthalten zahlreiche Merkmale in Kombination. Der Fachmann wird die Merkmale zweckmäßigerweise auch einzeln betrachten und zu sinnvollen weiteren Kombinationen zusammenfassen.
  • Es zeigen:
  • Fig. 1
    ein schematisiert dargestelltes, als Backofen ausgebildetes Hausgerät mit einer erfindungsgemäßen Hausgerätvorrichtung bei entnommener Hausgerätetür,
    Fig. 2
    ein Ende der Hausgerätetür,
    Fig. 3
    eine schematische Darstellung des Hausgeräts in einem unvollständig montierten Zustand, insbesondere ohne die Hausgerätetür,
    Fig. 4
    eine schematische Darstellung einer Lagereinheit,
    Fig. 5
    ein Drehmomentübertragungsmittel der Lagereinheit,
    Fig. 6
    eine Ansicht des Endes der Hausgerätetür mit einer Achseneinheit bei demontierten Innen- und Zwischenscheiben schräg unten,
    Fig. 7
    eine schematische Darstellung der von der Lagereinheit abgekoppelten Hausgerätetür ohne eine Zwischenscheibe und eine Innenscheibe,
    Fig. 8
    eine schematische Darstellung der geschlossenen Hausgerätetür in einer seitlichen Ansicht,
    Fig. 9
    eine schematische Darstellung der offenen Hausgerätetür in einer seitlichen Ansicht,
    Fig. 10
    eine schematische Darstellung eines Entriegelungszustands einer Verriegelungseinheit,
    Fig. 11
    eine schematische Darstellung einer Verriegelungsposition der Verriegelungseinheit,
    Fig. 12
    eine schematische Darstellung des Drehmomentübertragungsmittels und der Hausgerätetür in einer geöffneten Position,
    Fig. 13
    eine Arretierungseinheit der Hausgerätvorrichtung mit einem Feststellmittel in einer Ausgangsstellung, wobei sich die Hausgerätvorrichtung in einem teilweise demontierten Zustand befindet,
    Fig. 14
    eine Arretierungseinheit der Hausgerätvorrichtung mit einem Feststellmittel in einer Arretierungsposition, wobei sich die Hausgerätvorrichtung in einem teilweise demontierten Zustand befindet,
    Fig. 15
    ein unteres Ende des Hausgeräts mit einem Teil der teilweise geöffneten Hausgerätetür und einem Betätigungsmittel der Arretierungseinheit,
    Fig. 16
    ein Führungsmittel und ein gehäusefestes Führelement der Hausgerätvorrichtung,
    Fig. 17
    ein Türführungsmittel einer Hausgerätetürführungsvorrichtung des Hausgeräts,
    Fig. 18
    eine Teilansicht des Türführungsmittels,
    Fig. 19
    ein an dem Türführungsmittel befestigtes Lagermittel und das Türführungsmittel und
    Fig. 20
    eine Außenseite des Türführungsmittels.
  • Figur 1 zeigt ein von einem Backofen gebildetes Hausgerät 26 mit einer Hausgerätvorrichtung, die eine in Schwenkrichtungen 10, 12 schwenkbar gelagerte Hausgerätetür 14 mit einem Türgriff 62 aufweist, welche in einem abgekoppelten Zustand dargestellt ist. Das Hausgerät 26 weist eine in einem Hausgerätegehäuse 28 angeordnete Backofenmuffel 30 auf, die einen von einem Garraum gebildeten Nutzraum 16 von fünf Seiten umschließt. An einer sechsten Seite, und zwar an einer Vorderseite des Hausgeräts 26, ist der Nutzraum 16 von der Hausgerätetür 14 verschließbar. Ferner weist das Hausgerät 26 einen unter der Backofenmuffel 30 angeordneten Stauraum 18 auf, in den die Hausgerätetür 14 geführt über eine Türlagereinheit 20 der Hausgerätvorrichtung zu einem Großteil mittels einer Schwenkbewegung und einer anschließenden Schiebebewegung in eine horizontale Richtung versenkbar ist. Die Türlagereinheit 20 weist zwei sich grundsätzlich entsprechende, jeweils mit seitlichen Stirnseiten der Hausgerätetür 14 in die Schwenkrichtungen 10, 12 fest und in eine Flächenerstreckung 22 der Hausgerätetür 14 beweglich gekoppelte Führungsmittel 24 mit jeweils zwei Rollen 171, 173 auf, wobei nur eines der beiden Führungsmittel 24 dargestellt ist. Die Flächenerstreckung 22 verläuft bei geschlossener Hausgerätetür 14 in eine vertikale Richtung, wenn das Hausgerät 26 in einer Bedienposition angeordnet ist. Ferner weist die Türlagereinheit 20 zu einer Aufnahme eines Teils der Gewichtskraft der Hausgerätetür 14 eine relativ zu dem Hausgerätegehäuse 28 beweglich gelagerte Lagereinheit 38 auf.
  • Figur 2 zeigt ein dem Türgriff 62 gegenüberliegendes Ende der Hausgerätetür 14. Außer einer Türeinheit 64 mit dem Türgriff 62 weist die Hausgerätetür 14 zur Übertragung des Teils der Gewichtskraft eine Koppeleinheit 34 mit einem Kontaktbereich 36 auf, welcher die Hausgerätetür 14 in einem montierten Zustand mit der Lagereinheit 38 koppelt. Die Türeinheit 64 weist eine Außenfläche 32 auf, welche die Hausgerätetür 14 in einer Bedienposition und insbesondere in einem geschlossenen Zustand der Hausgerätetür 14 und bei einem Einschieben der Hausgerätetür 14 in den Stauraum 18 teilweise in einer horizontalen Richtung seitlich begrenzt. Neben der Außenfläche 32 ist der Kontaktbereich 36 angeordnet.
  • Die Koppeleinheit 34, welche ein Teil der Türlagereinheit 20 ist, ist von einer Achseneinheit 54 gebildet, welche eine sechskantige Stahlstange 66 und zwei aus Kunststoff einstückig ausgebildete Lagereinheiten 68 aufweist, welche jeweils an einem Ende der Stahlstange 66 formschlüssig befestigt sind und zueinander spiegelverkehrt ausgebildet sind. In eine Umfangsrichtung 70 der Stahlstange 66 ist die Türeinheit 64 von den Lagereinheiten 68 drehbar um eine Achse 76 gelagert, welche in eine horizontale Richtung verläuft. Hierzu weisen die Lagereinheiten 68 Gleitlagerflächen 84 auf (Figur 6), welche zusammen mit korrespondierenden Gleitlagerflächen der Türeinheit 64 ein Gleitlager bilden. Gleichzeitig bilden die Lagereinheiten 68 Haltemittel, welche insbesondere in einer geschlossenen Position der Hausgerätetür 14 eine Gewichtskraft der Hausgerätetür 14 aufnehmen und die Hausgerätetür 14 - in einem Zusammenwirken mit anderen Haltemitteln - in der geschlossenen Position halten. Die Lagereinheiten 68 sind in der Umfangsrichtung 70 gegen die Stahlstange 66 aufgrund einer Abkantung der Stahlstange 66 unverdrehbar. Prinzipiell ist auch eine Ausführung der Achseneinheit 54 denkbar, in der auf die Stahlstange 66 verzichtet wird. Ferner ist denkbar, dass die Lagereinheiten 68 einstückig mit der Stahlstange 66 ausgebildet und ebenfalls aus Stahl gefertigt sind.
  • Der Kontaktbereich 36 ist von einem Endabschnitt 56 der Achseneinheit 54 gebildet (Figur 2). Hierzu weisen die Lagereinheiten 68 Erhebungen 72 mit ebenen Oberflächenteilen 74 auf, die sich hauptsächlich in eine Richtung senkrecht zur Achse 76 erstrecken. Eine Oberfläche der Erhebungen 72 und insbesondere die Oberflächenteile 74 bilden den Kontaktbereich 36.
    Figur 3 zeigt eine schematische Darstellung des Hausgeräts 26 ohne die Hausgerätetür 14 in einer seitlichen Frontalansicht. Die Lagereinheit 38 ist von zwei Führungskulissen 44 des Hausgeräts 26 beweglich relativ zu dem Hausgerätegehäuse 28 gelagert. Die Führungskulissen 44, welche zueinander spiegelverkehrt ausgebildet sind, begrenzen einen Teil des Stauraums 18 in einer Frontalansicht des Hausgeräts auf einer rechten und einer linken Seite. Bei einem Einschieben der Hausgerätetür 14 in den Stauraum 18 wird diese indirekt von den Führungskulissen 44 geführt. Dazu weist die Lagereinheit 38 als Kugellager ausgebildete Wälzlager 42 mit Stahlaußenringen auf (Figur 4), welche bei dem Einschieben der Hausgerätetür 14 an der aus Polypropylen und Langglasfasern gebildeten Führungskulisse 44 abrollen und auf diese Weise geführt werden. Die Wälzlager 42 sind an zwei Drehmomentübertragungsmitteln 48, 50 der Lagereinheit 38 befestigt. Ferner weist die Lagereinheit 38 ein durch eine Stange gebildetes Kopplungsmittel 52 auf, an dessen Enden die Drehmomentübertragungsmittel 48, 50 in Haupterstreckungsrichtungen 78 des Kopplungsmittels 52 mit Hilfe von Ausnehmungen 51 (Figur 5) aufgesteckt sind. Eine Bewegung eines der Drehmomentübertragungsmittel 48, 50 führt aufgrund des Kopplungsmittels 52 automatisch zu einer Bewegung des anderen Drehmomentübertragungsmittels 48, 50. Die Drehmomentübertragungsmittel 48, 50 weisen jeweils einen Aufnahmebereich 40 auf, welcher in einem montierten Zustand der Hausgerätetür 14 die Erhebungen 72 der Lagereinheiten 68 und damit die Kontaktbereiche 36 aufnimmt. Der Aufnahmebereich 40 wird teilweise von einer Anlagefläche 49 des Drehmomentübertragungsmittels 48, 50 begrenzt, welche in einem montierten Zustand der Hausgerätetür 14 an dem Kontaktbereich 36 anliegt und auf den Kontaktbereich 36 und damit die Koppeleinheit 34 ein Drehmoment überträgt, welches bei einer Bewegung der Hausgerätetür 14 auf die Koppeleinheit 34 ein Drehmoment ausübt, durch welches die Koppeleinheit 34 relativ zur Türeinheit 64 gedreht wird. Bei der Übertragung des Drehmoments wirkt ferner ein dem ebenen Oberflächenteil 74 gegenüberliegender Oberflächenteil der Erhebung 72 mit, welcher hierbei an einer Anlagefläche 46 des Drehmomentübertragungsmittels 48, 50 anliegt. In dem montierten Zustand der Hausgerätetür 14 wirken die Erhebungen 72 (Figur 2) als Lagermittel 86, indem sie einen Teil der Gewichtskraft der Hausgerätetür 14 bzw. der Türeinheit 64 auf die Anlagefläche 49 und auf eine untere Begrenzungsfläche 80 der Drehmomentübertragungsmittel 48, 50, welche den Aufnahmebereich 40 in der vertikalen Richtung nach unten teilweise begrenzt, übertragen. Die Drehmomentübertragungsmittel 48, 50 fungieren auf diese Weise als Haltemittel 90, welche insbesondere die geschlossene Hausgerätetür 14 in Position halten.
  • Des Weiteren bildet die Erhebung 72 ein weiteres Funktionsmittel 88 - nämlich ein Führungsmittel 58 - der Lagereinheit 68, indem der Kontaktbereich 36 bei einem Abkoppeln der Hausgerätetür 14 von der Lagereinheit 38 an der Anlagefläche 46 gleitet und dabei die Hausgerätetür 14 führt. Der Kontaktbereich 36 fungiert demzufolge als Führungsfläche 82. Eine Wartung bzw. Reinigung der Hausgerätetür 14 kann durch das Abkoppeln vorteilhaft erfolgen.
  • Figur 7 zeigt eine schematische Darstellung der von der Lagereinheit 38 abgekoppelten Hausgerätetür 14, wobei eine Zwischenscheibe und eine Innenscheibe 141 (siehe Figur 1) der Türeinheit 64 entfernt wurden. Der Türgriff 62 ist an Rollen 111, 113 befestigt, welche ihn drehbar um eine Achse 92 lagern. In einer Bedienposition verläuft die Achse 92 in eine horizontale Richtung. An den Rollen 111, 113 ist jeweils ein Drehmomentübertragungsmittel 94, 95 derart befestigt, dass mittels der Drehmomentübertragungsmittel 94, 95 jeweils ein Drehmoment auf die Rollen 111, 113 übertragbar ist, welches den Türgriff 62 um die Achse 92 dreht. Umgekehrt kann ein Drehmoment mittels des Türgriffs 62 auf die Drehmomentübertragungsmittel 94, 95 übertragen werden. Ferner weisen die Drehmomentübertragungsmittel 94, 95 jeweils einen Seilzug 181 auf, welcher um hundertachtzig Grad durch die Rolle 111 bzw. 113 umgelenkt wird. Jeweils ein Bolzen 115 ist an einem der Drehmomentübertragungsmittel 94, 95 befestigt (siehe Figur 6) und greift in einen Aufnahmebereich 116 der Lagereinheiten 68 ein, wodurch die Drehmomentübertragungsmittel 94, 95 formschlüssig an den Lagereinheiten 68 befestigt sind. Die Drehmomentübertragungsmittel 94, 95 verlaufen in Nuten 127 der Lagereinheiten 68 und sind so formschlüssig entlang der Achse 76 befestigt.
  • Die Türeinheit 64 ist als Profilschienentür ausgebildet und weist zwei Profilschienen 121, 123 auf. Die Lagereinheiten 68 sind teilweise in Ausnehmungen 163 der Profilschienen 121, 123 angeordnet. Die Ausnehmungen 163 werden von nicht näher dargestellten Lagerflächen der Profilschienen 121, 123 begrenzt. Bei einem Öffnen der Hausgerätetür 14 gleiten die Gleitlagerflächen 84 der Lagereinheiten 68 an den korrespondierenden Lagerflächen der Profilschienen 121, 123. Ferner sind mittels der Profilschienen 121, 123 die Rollen 111, 113 und damit der Türgriff 62 drehbar gelagert. An den Profilschienen 121, 123 ist je ein Befestigungsmittel 98 relativ zu den Profilschienen 121, 123 unbeweglich befestigt. Eine Öse 125 des Befestigungsmittels 98, welches einstückig ausgebildet ist und in einem vollständig montierten Zustand als Scheibenbefestigungsmittel für die Innenscheibe 141 und die Zwischenscheibe fungiert, weist einen ersten und einen zweiten Befestigungsbereich 100, 104 auf, welche relativ zu der Achse 92 unbeweglich sind.
  • Die Türeinheit 64 weist außerdem ein erstes und ein zweites Federmittel 96, 102 auf, welche als Spiralfedern ausgebildet sind. Ein erstes Ende des ersten Federmittels 96 ist an dem ersten Befestigungsbereich 100 eingehängt, ein erstes Ende des zweiten Federmittels 102 ist an dem zweiten Befestigungsbereich 104 eingehängt. An zwei Enden des Seilzugs 181 sind ferner Ösen 117, 119 der Drehmomentübertragungsmittel 94, 95 befestigt. Ein zweites Ende des Federmittels 96 ist ferner an der Öse 117 befestigt. Das Federmittel 96 ist zwischen der Öse 125 und der Rolle 113 angeordnet. Ein zweites Ende des zweiten Federmittels 102 ist an der Öse 119 befestigt. Das zweite Federmittel 102 ist zwischen der Öse 125 und der Lagereinheit 68 angeordnet. Haupterstreckungsrichtungen der Federmittel 96, 102 sind parallel zu der Flächenerstreckung 22. Ein Teilabschnitt 129 des Drehmomentübertragungsmittels 94, welcher an der Öse 117 befestigt ist, verläuft parallel und direkt neben einer Außenscheibe 133 der Türeinheit 64. Ein zweiter Teilabschnitt 131 verläuft parallel zu dem ersten Teilabschnitt 129 und parallel zu der Innenscheibe 141 der Türeinheit 64 und ist direkt neben der Innenscheibe 141 angeordnet. Der Teilabschnitt 129 ist zwischen dem Teilabschnitt 131 und der Außenscheibe 133 angeordnet.
  • Das erste Federmittel 96 weist eine deutlich größere Federhärte auf als das zweite Federmittel 102. Die Federmittel 96, 102 halten den Seilzug 181 in einem montierten Zustand gespannt. Mittels einer Drehung des Türgriffs 62 relativ zu den Profilschienen 121, 123 um die Achse 92 wird mit Hilfe der Rollen 111, 113 und der Drehmomentübertragungsmittel 94, 95 ein Drehmoment auf die Lagereinheiten 68 übertragen.
  • Außerdem wird bei einer Drehung der Lagereinheiten 68 um die Achse 76 relativ zu den Profilschienen 121, 123 mittels der Drehmomentübertragungsmittel 94, 95 und der Rollen 111, 113 ein Drehmoment auf den Türgriff 62 übertragen. Eine Drehung der Profilschienen 121, 123 relativ zu den Lagereinheiten 68 findet beim Öffnen und Schließen der Hausgerätetür 14 statt.
  • Figur 8 zeigt schematisch den geschlossenen Zustand der Hausgerätetür 14. Das erste Federmittel 96 weist hierbei im Vergleich zu allen weiteren möglichen Bedienpositionen eine kleinste Auslenkung auf. Eine Haupterstreckungsrichtung 135 des Türgriffs 62 senkrecht zu der Achse 92 ist hierbei senkrecht zu den Teilabschnitten 129, 131 und zu der Außenscheibe 133 angeordnet. Bei dem Öffnen der Hausgerätetür 14 übertragen die Drehmomentübertragungsmittel 48, 50 mittels der Anlageflächen 46, 49 (siehe Figur 5) ein Drehmoment auf die Erhebung 72 und damit auf die Lagereinheit 68, da die durch das Federmittel 96 auf das Drehmomentübertragungsmittel 94 ausgeübte Kraft und die Gewichtskraft des Türgriffs 62 die Erhebung 72 gegen die Anlageflächen 46, 49 drückt. Auf diese Weise bleiben die Lagereinheiten 68 bei einem Öffnen der Hausgerätetür 14 relativ zu der Lagereinheit 38 unbewegt und drehen sich relativ zu den Profilschienen 121, 123 um die Achse 76. Die Lagereinheiten 68 übertragen dabei mittels des Aufnahmebereichs 116 und des Bolzens 115 ein Drehmoment und damit einen Antrieb auf die Drehmomentübertragungsmittel 94, 95, weshalb die Lagereinheit 68 mit einem als Antriebsmittel 60 ausgebildeten Funktionsmittel 106 identisch ist. Bei dem Öffnen übertragen die Drehmomentübertragungsmittel 94, 95 und die Rollen 111, 113 den Antrieb auf den Türgriff 62, welcher bewirkt, dass die Haupterstreckungsrichtung 135 des Türgriffs in jeder Öffnungsposition der Türeinheit 64 im Wesentlichen in eine horizontale Richtung verläuft, wenn das Hausgerät 26 in einer Bedienposition angeordnet ist. Bei dem Öffnen wird ferner das Federmittel 96 gedehnt, während sich das Federmittel 102 zusammenzieht.
  • Die Lagereinheit 68 und das Drehmomentübertragungsmittel 48 bilden eine Verriegelungseinheit 108. In einem Benutzungszustand, in welchem das Hausgerät 26 vollständig montiert ist und in welchem der Benutzer den Türgriff 62 nur zu einem Öffnen bzw. einem Schließen der Hausgerätetür 14 verwendet, ist die Verriegelungseinheit 108 in einem Entriegelungszustand (Figur 10), in welchem die Hausgerätetür 14 in einer teilweise geöffneten Position von der Lagereinheit 38 abkoppelbar ist, wenn die Flächenerstreckung 22 (siehe Figur 1) einen Winkel von etwa zwanzig Grad mit einer Vertikalen einschließt. Zu einem Abkoppeln wird die Hausgerätetür 14 zunächst in eine der Schwenkrichtungen 10, 12 in die teilweise geöffnete Position geschwenkt. Danach kann ein Benutzer bzw. ein Monteur die Hausgerätetür 14 an Außenflächen 183 der Profilschienen 121, 123, welche Oberflächen der Profilschienen 121, 123 bilden und die Hausgerätetür 14 in einer Frontalansicht teilweise seitlich begrenzen, und an Außenflächen 185, 187 der Innenscheibe 141 und der Außenscheibe 133, welche die Außenscheibe 133 bzw. die Innenscheibe 141 in der Frontalansicht teilweise seitlich begrenzen, festhalten und die Hausgerätetür 14 geradlinig in Richtung der Flächenerstreckung 22 nach oben bewegen. Hierdurch gleiten die Erhebungen 72 durch Einbuchtungen 162 der Drehmomentübertragungsmittel 48, 50 (Figur 5) und werden dabei aus den Aufnahmebereichen 40 entfernt, wodurch die Hausgerätetür 14 von der Lagereinheit 38 abgekoppelt wird. Während des Abkoppelns und nach dem Abkoppeln kann die Lagereinheit 38 optional von einer Arretierungseinheit 161 in einer Position festgestellt werden, in welcher die Lagereinheit 38 unmittelbar vor dem Abkoppeln angeordnet ist. Wird diese Option verwendet, so erleichtern nach dem Abkoppeln der Hausgerätetür 14 Führflächen 143, 145 der Lagereinheit 38 ein Ankoppeln der Hausgerätetür 14 an die Lagereinheit 38, indem sie die Erhebungen 72 bei einem Einbringen in den Aufnahmebereich 40 und damit auch die Lagereinheiten 68 führen. Bei dem Ankoppeln fahren des Weiteren die Rollen 171, 173 des Führungsmittels 24 (siehe Figur 1) in seitliche Nuten 175 der Hausgerätetür 14, welche die Hausgerätetür 14 in einer Bedienposition teilweise seitlich begrenzen ein (Figur 2). Ein Nutgrund 177 der Nut 175 weist eine Einbuchtung 179 auf, in welcher die Erhebung 72 angeordnet ist. Bei dem Ankoppeln der Hausgerätetür 14 fahren die Rollen 171, 173 in die Nut 175 ein und an den Lagereinheiten 68 vorbei, so dass eine bewegliche Kopplung der Hausgerätetür 14 mit dem Führungsmittel 24 durch die Lagereinheiten 68 unbeeinträchtigt bleibt.
  • Die Verriegelungseinheit 108 ist ferner dazu vorgesehen, in einer wenigstens teilweise geöffneten Position der Hausgerätetür 14 ein Entfernen der Hausgerätetür 14 von der Lagereinheit 38 zu verhindern. Bringt beispielsweise ein Benutzer bzw. ein Monteur die Hausgerätetür 14 in eine Position, in welcher die Flächenerstreckung 22 einen Winkel von etwa zwanzig Grad mit einer Vertikalen einschließt, und bewegt den Türgriff 62 in Richtung der Flächenerstreckung 22 nach oben, so dreht der Türgriff 62 mittels einer Kopplungseinheit 139, welche durch die Rollen 111, 113, die Drehmomentübertragungsmittel 94, 95 und die Bolzen 115 gebildet ist, die Lagereinheiten 68 relativ zu den Profilschienen 121, 123 um die Achse 76. Hierdurch bewegen sich die Erhebungen 72 in eine Verriegelungsposition (Figur 11), wobei sie hinter Hinterschneidungen 147 der Drehmomentübertragungsmittel 48, 50, welche von durch die Drehmomentübertragungsmittel 48, 50 gebildeten Begrenzungen der Aufnahmebereiche 40 gebildet sind, eindrehen. Das Eindrehen der Erhebungen 72 wird durch Führflächen 157, 159, welche von den Aufnahmebereichen 40 begrenzenden Oberflächenteilen der Drehmomentübertragungsmittel 48, 50 gebildet werden, geführt. Eine der Führflächen 159 ist durch die Hinterschneidung 147 gebildet. Das Eindrehen der Erhebungen 72 wird dadurch gestoppt, dass zwei Oberflächenteile 149, 151 der Erhebungen 72 an zwei Oberflächenteile 153, 155 des Drehmomentübertragungsmittels 48, welche den Aufnahmebereich 40 teilweise begrenzen, anstößt. Liegen die Oberflächenteile 149, 151 der Erhebungen 72 an den Oberflächenteilen 153, 155 des Drehmomentübertragungsmittels 48 an, so befinden sich die Erhebungen 72 in der Verriegelungsposition. Versucht dann ein Benutzer die Hausgerätetür 14 in Richtung der Flächenerstreckung 22 weg von der Lagereinheit 38 zu bewegen, so wird dies dadurch verhindert, dass die Erhebungen 72 an die Hinterschneidungen 147 anstoßen, wodurch die Erhebungen 72 in den Aufnahmebereichen 40 verbleiben.
  • Figur 12 zeigt eine schematische Darstellung der Hausgerätetür 14 in einer geöffneten Position mit der Innenscheibe 141, welche den Nutzraum 16 (siehe Figur 1) in einer geschlossenen Position der Hausgerätetür 14 verschließt. Die Erhebungen 72 sind in die Aufnahmebereiche 40 eingebracht und die Verriegelungseinheit 108 befindet sich in dem Entriegelungszustand. Versucht ein Bediener, die Hausgerätetür 14 in der geöffneten Position von der Lagereinheit 38 abzukoppeln, indem er versucht, die Erhebungen 72 durch die Einbuchtungen 162 aus den Aufnahmebereichen 40 herauszuführen, so wirkt die Außenscheibe 133 als Verriegelungselement, da die Drehmomentübertragungsmittel 48, 50 an die Außenscheibe anstoßen und diese dadurch ein Entfernen der Erhebungen 72 aus den Aufnahmebereichen 40 verhindert.
  • Bei einer Montage der Hausgerätetür 14 werden zunächst die Profilschienen 121, 123 auf die Außenscheibe 133 aufgeklebt (Figur 6). Zur Montage der Koppeleinheit 34 werden die Lagereinheiten 68 auf die Enden der Stahlstange 66 aufgesteckt und so weit zusammengedrückt, bis die Lagereinheiten 68 an die Enden der Stahlstange 66 anstoßen. Eine erste der Lagereinheiten 68 wird danach in eine der Ausnehmungen 163 einer der Profilschienen 121, 123 eingesteckt. Mittels einer Bewegung der zweiten der Lagereinheiten 68 und einer Bewegung der Stahlstange 66 wird die zweite Lagereinheit 68 in die verbleibende Ausnehmung gesteckt. Die Stahlstange 66 und die Lagereinheiten 68 sind dann in ihrer montierten Position. Die Lagereinheiten 68 weisen jeweils eine Ausnehmung 165 auf. Zur Fixierung der Lagereinheiten 68 und der Stahlstange 66, welche als Kopplungsmittel 169 wirkt, in der montierten Position werden durch die Ausnehmungen 165 als Stahlklammern ausgebildete Befestigungsmittel 167 gesteckt und damit eingerastet, so dass die Befestigungsmittel 167 an den Lagereinheiten 68 befestigt sind. Die Befestigungsmittel 167 liegen an den Enden der Stahlstange 66 an, so dass eine Relativbewegung und insbesondere eine Relativbewegung der Lagereinheiten 68 aufeinander zu verhindert wird. Prinzipiell ist auch denkbar, dass die Lagereinheiten 68 auf eine andere Weise an der Stahlstange 66 befestigt werden bzw. dass die Koppeleinheit 34 vor dem Aufkleben der Profilschienen 121, 123 montiert wird. Ferner ist denkbar, dass eine der Lagereinheiten 68 mittels der Stahlklammer befestigt und die andere Lagereinheit 68 auf eine andere Weise an der Stahlstange 66 befestigt bzw. einteilig mit ihr ausgebildet ist. Eine weitere alternative Möglichkeit zur Befestigung der Lagereinheiten 68 mittels der Stahlklammern bestünde außerdem darin, in Aufnahmebereichen der Lagereinheiten 68, in welchen die Stahlstange 66 in einem montierten Zustand eingeführt ist, Federelemente, wie zum Beispiel Druckfedern, anzuordnen, welche bei einem Zusammendrücken der Lagereinheiten 68 komprimiert werden. Durch das Komprimieren dieser Federelemente ist eine Montage der Koppeleinheit 34 auch bei bereits aufgeklebten Profilschienen 121, 123 möglich, indem die Lagereinheiten 68 zusammengedrückt und die Federelemente damit komprimiert werden. In einem montierten Zustand würden die Lagereinheiten 68 von diesen Federelementen auseinandergedrückt und damit an den Profilschienen 121, 123 befestigt werden. Als weiter Alternative könnte die Stahlstange 66 auch eine andere Anzahl von Kanten aufweisen. Insbesondere kann die Stahlstange 66 auch rund ausgebildet sein, wobei in diesem Fall die Lagereinheiten 68 gegeneinander um die Achse 76 verdrehbar wären. Bei einer Ausführung der Koppeleinheit 34 ohne die Stahlstange 66 müssten die Lagereinheiten 68 anderweitig an den Profilschienen 121, 123 befestigt sein. Dies könnte beispielsweise durch ein Einrasten der Lagereinheiten 68 in die Profilschienen 121, 123 oder durch Einstecken der Lagereinheiten 68 in die Profilschienen 121, 123 und ein Befestigen von Sicherungsringen an den Lagereinheiten 68, welche die Lagereinheiten 68 formschlüssig an den Profilschienen 121, 123 entlang der Achse 76 befestigen, geschehen.
  • Das Führungsmittel 24, welches drehbar um eine horizontal verlaufende Achse 193 gelagert ist, und die Lagereinheit 38 bilden eine Hausgerätetürlagereinheit 191, welche die Hausgerätetür 14 schwenkbar um die Achse 193 lagert (Figur 1). Die Arretierungseinheit 161 ist dazu vorgesehen, die Hausgerätetürlagereinheit 191 in einer Schwenklage zu fixieren. Hierzu weist die Arretierungseinheit 161 ein als Bolzen ausgebildetes Feststellmittel 195 und ein elastisches Betätigungsmittel 197 auf, welches dazu vorgesehen ist, das Feststellmittel 195 von einer Ausgangsstellung (Figur 13) in eine Arretierposition (Figur 14) zu verschieben, in welcher das Feststellmittel die Hausgerätetürlagereinheit 191 in der Schwenklage feststellt. Das Betätigungsmittel 197 ist als Stellbügel ausgebildet. In der Arretierungsposition greift das Feststellmittel 195 in eine Ausnehmung 201 eines Arretiermittels 200 der Arretierungseinheit 161 ein, welches derart an dem Führungsmittel 24 befestigt ist, dass das Führungsmittel 24 und das Arretiermittel 200 relativ zueinander um eine Achse 204, welche parallel zu der Achse 193 ist und bei einer Drehung des Führungsmittels 24 mit dem Führungsmittel 24 mitgedreht wird, drehbar sind. Das Feststellmittel 195 ist bezüglich der Drehrichtungen um die Achse 193 an einem gehäusefesten Führelement 203 (siehe Figur 16) der Hausgerätvorrichtung befestigt. Wenn sich das Feststellmittel 195 in der Arretierposition befindet, wird deshalb eine Drehung des Führungsmittels 24 um die Achse 193 verhindert und das Führungsmittel 24 damit in einer bestimmten Drehposition fixiert.
  • Ferner ist das Arretiermittel 200 dazu vorgesehen, eine Federkraft auf das Führungsmittel 24 zu übertragen. An dem Arretiermittel 200 ist eine Spiralfeder 207 eingehängt, welche bei einem Öffnen der Hausgerätetür 14 ausgedehnt wird und einen Teil der Lageenergie, welchen die Hausgerätetür 14 in einem geschlossenen Zustand besitzt, speichert und somit als Energiespeichereinheit dient.
  • Die Drehmomentübertragungsmittel 48, 50 sind ferner Teile der Hausgerätetürlagereinheit 191. Sie weisen jeweils eine Einbuchtung 205 (Figur 5) auf, in welche ein als Zahn ausgebildetes Arretiermittel 189 (Figur 1) des Führungsmittels 24 in Schwenkpositionen der Hausgerätetür 14 und insbesondere in einer Schwenkposition der Hausgerätetür 14, in welcher das Feststellmittel 195 in der Arretierposition angeordnet ist, eingreift. Durch das Eingreifen des Arretiermittels 189 in die Einbuchtung 205 sind das Führmittel 24 und die Lagereinheit 38 relativ zueinander im Wesentlichen unbeweglich. Befindet sich das Feststellmittel 195 folglich in einem montierten Zustand des Hausgeräts in der Arretierposition, so ist die Hausgerätetürlagereinheit 191 in einer Entnahmeschwenkposition fixiert. In dieser Schwenkposition ist die Hausgerätetür 14 durch die geradlinige Bewegung in Richtung der Flächenerstreckung 22 nach oben von der Hausgerätetürlagereinheit 191 abkoppelbar.
  • Befindet sich die Hausgerätetür 14 in einer teilweise geöffnete Position, so kann ein Bediener bzw. Monteur zur Fixierung der Hausgerätetürlagereinheit 191 beispielsweise mit Hilfe eines Geldstücks in eine Nut 206 eines Betätigungsmittels 199 (Figur 15), welches als Drehzapfen ausgebildet ist, der Arretierungseinheit 161 eindringen und dieses ausgehend von einer Ausgangsstellung, bei welcher ein Öffnen und Schließen der Hausgerätetür 14 möglich ist, um neunzig Grad drehen (Figuren 13 und 14). Ist die Hausgerätetürlagereinheit 191 in einer Schwenkposition, welche von der Entnahmeschwenkposition verschieden ist, so wird das Betätigungsmittel 197 durch dieses Drehen des Betätigungsmittels 199 angespannt und dabei ausgedehnt, da das Betätigungsmittel 197 an dem Betätigungsmittel 199 befestigt ist. Auf Grund des Anspannens des Betätigungsmittels 197 wird das Feststellmittel 195, welches an dem Betätigungsmittel 197 befestigt ist, in vertikaler Richtung nach unten gegen eine Gleitfläche 202 des Arretiermittels 200, welche an einer Oberseite des Arretiermittels 200 angeordnet ist, gedrückt. Zu einem Einrasten des Feststellmittels 195 in die Ausnehmung 201 schwenkt der Bediener bzw. Monteur die Hausgerätetür 14 in die Schwenkrichtungen 10, 12 (siehe Figur 1), wobei das Feststellmittel 195 auf der Gleitfläche 202 gleitet, bis sich die Hausgerätetürlagereinheit 191 in der Entnahmeschwenkposition befindet und das Feststellmittel 195 aufgrund eines Drucks, welchen das Betätigungsmittel 197 auf das Feststellmittel 195 nach unten ausübt, in die Ausnehmung 201 einrastet. Danach kann die Hausgerätetür 14 durch die geradlinige Bewegung von der Lagereinheit 38 und dem Führmittel 24 abgekoppelt werden. Will ein Benutzer die abgekoppelte Hausgerätetür 14 in eine Betriebsposition wie z. B. in die geschlossene Position bringen, so werden die Rollen 171, 173 in die Nut 175 und die Erhebungen 72 in die Aufnahmebereiche 40 eingebracht und das Betätigungsmittel 199 wieder um hundertachtzig Grad zurückgedreht, wodurch das Feststellmittel 195 in die Ausgangsstellung zurückverschoben wird und die Hausgerätetür 14 beispielsweise in die geschlossene Position schwenkbar ist.
  • Figur 16 zeigt einen Teil der Hausgerätvorrichtung mit dem gehäusefest montierten Führelement 203, an welchem das Führmittel 24 drehbar um die Achse 193 befestigt ist. Das Führelement 203 weist als Langlöcher ausgebildete Ausnehmungen 208 auf, welche das Feststellmittel 195 bei der Verschiebung von der Ausgangsstellung (Figur 13) in die Arretierposition (Figur 14) und wieder zurückführt.
  • Das Hausgerät 26 weist weiterhin eine Hausgerätetürführungsvorrichtung auf. Figur 17 zeigt ein einstückig ausgebildetes erstes Türführungsmittel 209 der Hausgerätetürführungsvorrichtung. Zur Führung der Hausgerätetür 14 weist das Hausgerät 26 ein weiteres Türführungsmittel 209 auf, welches im Vergleich zu dem ersten Türführungsmittel 209 spiegelverkehrt ausgebildet ist. Die beiden Türführungsmittel 209 begrenzen in einer Frontalansicht des Hausgeräts den Stauraum 18 seitlich (siehe Figur 3). Die Türführungsmittel 209 bilden jeweils eine Führungskulisse, welche mit der Führungskulisse 44 identisch ist bzw. spiegelverkehrt zu dieser ausgebildet ist und welche eine aus Kunststoff mit Langglasfasern gebildete Führungsfläche 210 zur Führung der Lagereinheit 38 aufweist. Die Führungskulisse 44 weist mehrere Bereiche 256, 258, 260 auf, welche in einem montierten Zustand des Hausgeräts den Stauraum 18 teilweise seitlich begrenzen. Der erste Bereich 256 ist an einem Frontbereich des Hausgeräts angeordnet und verläuft in einer Betriebsposition des Hausgeräts schräg nach oben. Der zweite Bereich 258 ist in einem mittleren Bereich 258 des Hausgeräts zwischen dem Frontbereich und der Rückseite des Hausgeräts angeordnet und verläuft in einer horizontalen Richtung. Der dritte Bereich 260 begrenzt den Stauraum 18 in einem hinteren Bereich teilweise seitlich und verläuft schräg nach unten.
  • Bei einem Einbringen der Hausgerätetür 14 in den Stauraum 18 wird die Hausgerätetür 14 zumindest teilweise durch die Hausgerätetürführungsvorrichtung abgebremst. Zu diesem Zweck weist die Hausgerätetürführungsvorrichtung ein Dämpfungsmittel 212 auf (Figur 3), welches aus einem aus Polyurethan gebildeten Quader gebildet ist. An einem der Rückseite des Hausgeräts zugewandten Endbereich der Führungskulisse 44 weist das Türführungsmittel 209 einen Aufnahmebereich 214 auf. Das Dämpfungsmittel 212 ist an einem Rastmittel 216 des Türführungsmittels 209, welches in dem Aufnahmebereich 214 angeordnet ist, eingerastet und ist teilweise in dem Aufnahmebereich 214 angeordnet. Am Ende eines Einführungsvorgangs der Hausgerätetür 14 in den Stauraum 18 stößt das Drehmomentübertragungsmittel 50 (siehe Figur 4) an das Dämpfungsmittel 212 an und überträgt kinetische Energie auf das Dämpfungsmittel 212, welches die Energie teilweise in Wärme umwandelt und teilweise an das Türführungsmittel 209 weitergibt, welches dadurch geringfügig verformt wird.
  • Ein Teil des Türführungsmittels 209, welches die Führungskulisse 44 teilweise umgibt, weist eine Rippenstruktur 218 auf, welche durch ein Muster mit wabenförmigen Zellen 230 gebildet ist. Ferner bildet das Türführungsmittel 209 einen Aufnahmebereich 228, welcher an eine Frontseite des Stauraums direkt angrenzt. In einem montierten Zustand ist in dem Aufnahmebereich 228 das Betätigungsmittel 199 angeordnet und von dem Türführungsmittel 209 drehbar gelagert (siehe Figur 15).
  • Das Führungsmittel 24, welches ein Lagermittel 222 bildet und ein Schwenken der Hausgerätetür 14 erlaubt, wird von dem Türführungsmittel 209 drehbar gelagert. In einem Verschleißzustand der drehbaren Lagerung des Lagermittels 222 könnte das Lagermittel 222 in einem Vergleich zu einem Neuzustand des Hausgeräts einen Spielraum in eine seitliche, horizontale Richtung weg von dem Stauraum 18 haben. Aufgrund einer Gleitfläche 220 (Figur 18) des Türführungsmittels 209 kann das Lagermittel 222 trotz des Spielraums eine sichere Drehbewegung durchführen. Dabei gleitet ein Außenbereich 234 des Lagermittels 222 an der Gleitfläche 220 (Figur 19), wobei das Lagermittel 222 durch die Gleitfläche 220 abgestützt wird. Die Gleitfläche 220 ist ein Segment eines Zylindermantels, dessen Symmetrieachse der Achse 193 entspricht.
  • An einer Seite des Türführungsmittels 209, welche in einem montierten Zustand einem Außenbereich des Hausgeräts zugewandt ist, weist das Türführungsmittel 209 ein Befestigungsmittel 224 zu einer Befestigung eines Kabels 236 einer Beleuchtung des Hausgeräts auf (Figur 20). Das Befestigungsmittel 224 ist als Klemmmittel ausgebildet und klemmt das Kabel 236 in einem montierten Zustand an der Rippenstruktur 218 fest.
  • Teile des Hausgerätegehäuses 28 sind direkt an das Türführungsmittels 209 angeschraubt (Figur 3). Dies sind insbesondere ein Boden 238, Seitenwände 240, ein Zwischenboden 242, welcher den Stauraum 18 teilweise nach oben begrenzt, eine Zierblende und eine Lisene. Der Boden 238 weist eine Abkantung 244 auf, welche sich in einer Bedienposition nach oben ausdehnt und das Türführungsmittels 209 umgreift. Die Abkantung 244 ist an drei Punkten 246 mit dem Türführungsmittel 209 verschraubt. Die drei Punkte 246 sind gleichmäßig über eine Tiefenausdehnung des Hausgeräts verteilt.
  • An einem an die Frontseite des Hausgeräts angrenzenden Bereich 248 weist das Türführungsmittel 209 an einem Endabschnitt der Führungskulisse 44 eine Einbuchtung auf, durch welche die Lagereinheit 38 aus der Führungskulisse 44 entnehmbar ist. Vor einem solchen Entnehmen der Lagereinheit 38 muss die Kopplung der Lagereinheit 38 mit dem als Zahn ausgebildeten Arretiermittel 189 aufgehoben werden.
  • Wird das Hausgerät 26 angehoben und auf den Boden 238 bzw. eine Kante des Bodens 238 fallen gelassen, so werden bei einem Aufprall des Hausgeräts 26 auf Teile des Hausgeräts 26 wirkende Kräfte an das Türführungsmittel 209 weitergegeben. Diese Teile sind in einem hinteren Bereich des Hausgeräts 26 beispielsweise die Seitenwände 240, in einem mittleren Bereich des Hausgeräts 26 der Zwischenboden 242 und die Seitenwände 240 und in einem vorderen Bereich des Hausgeräts 26 ein Backrohrflansch 252, die Lisene und eine Tropfrinne 250, welche von dem Boden 238 gebildet ist. Das Türführungsmittel 209 weist eine Erhebung 254 auf (Figur 17), welche in einem montierten Zustand in die Tropfrinne 250 eingreift.
  • Das Türführungsmittel 209 wird in einem Spritzverfahren hergestellt.
  • Bezugszeichen
  • 10
    Schwenkrichtung
    12
    Schwenkrichtung
    14
    Hausgerätetür
    16
    Nutzraum
    18
    Stauraum
    20
    Türlagereinheit
    22
    Flächenerstreckung
    24
    Führungsmittel
    26
    Hausgerät
    28
    Hausgerätegehäuse
    30
    Backofenmuffel
    32
    Außenfläche
    34
    Koppeleinheit
    36
    Kontaktbereich
    38
    Lagereinheit
    40
    Aufnahmebereich
    42
    Wälzlager
    44
    Führungskulisse
    46
    Anlagefläche
    48
    Drehmomentübertragungsmittel
    49
    Anlagefläche
    50
    Drehmomentübertragungsmittel
    51
    Ausnehmung
    52
    Kopplungsmittel
    54
    Achseneinheit
    56
    Endabschnitt
    58
    Führungsmittel
    60
    Antriebsmittel
    62
    Türgriff
    64
    Türeinheit
    66
    Stahlstange
    68
    Lagereinheit
    70
    Umfangsrichtung
    72
    Erhebung
    74
    Oberflächenteil
    76
    Achse
    78
    Haupterstreckungsrichtung
    80
    Begrenzungsfläche
    82
    Führungsfläche
    84
    Gleitlagerfläche
    86
    Lagermittel
    88
    Funktionsmittel
    90
    Haltemittel
    92
    Achse
    94
    Drehmomentübertragungsmittel
    95
    Drehmomentübertragungsmittel
    96
    Federmittel
    98
    Befestigungsmittel
    100
    Befestigungsbereich
    102
    Federmittel
    104
    Befestigungsbereich
    106
    Funktionsmittel
    108
    Verriegelungseinheit
    111
    Rolle
    113
    Rolle
    115
    Bolzen
    116
    Aufnahmebereich
    117
    Öse
    119
    Öse
    121
    Profilschiene
    123
    Profilschiene
    125
    Öse
    127
    Nut
    129
    Teilabschnitt
    131
    Teilabschnitt
    133
    Außenscheibe
    135
    Haupterstreckungsrichtung
    139
    Kopplungseinheit
    141
    Innenscheibe
    143
    Führfläche
    145
    Führfläche
    147
    Hinterschneidung
    149
    Oberflächenteil
    151
    Oberflächenteil
    153
    Oberflächenteil
    155
    Oberflächenteil
    157
    Führfläche
    159
    Führfläche
    161
    Arretierungseinheit
    162
    Einbuchtung
    163
    Ausnehmung
    165
    Ausnehmung
    167
    Befestigungsmittel
    169
    Kopplungsmittel
    171
    Rolle
    173
    Rolle
    175
    Nut
    177
    Nutgrund
    179
    Einbuchtung
    181
    Seilzug
    183
    Außenfläche
    185
    Außenfläche
    187
    Außenfläche
    189
    Arretiermittel
    191
    Hausgerätetürlagereinheit
    193
    Achse
    195
    Feststellmittel
    197
    Betätigungsmittel
    199
    Betätigungsmittel
    200
    Arretiermittel
    201
    Ausnehmung
    202
    Gleitfläche
    203
    Führelement
    204
    Achse
    205
    Einbuchtung
    206
    Nut
    207
    Spiralfeder
    208
    Ausnehmung
    209
    Türführungsmittel
    210
    Führungsfläche
    212
    Dämpfungsmittel
    214
    Aufnahmebereich
    216
    Rastmittel
    218
    Rippenstruktur
    220
    Gleitfläche
    222
    Lagermittel
    224
    Befestigungsmittel
    228
    Aufnahmebereich
    230
    Zelle
    234
    Außenbereich
    236
    Kabel
    238
    Boden
    240
    Seitenwand
    242
    Zwischenboden
    244
    Abkantung
    246
    Punkt
    248
    Bereich
    250
    Tropfrinne
    252
    Backrohrflansch
    254
    Erhebung
    256
    Bereich
    258
    Bereich
    260
    Bereich

Claims (14)

  1. Hausgerätvorrichtung mit wenigstens einer Türeinheit (64), welche zumindest einen Türgriff (62), welcher drehbar um eine Achse (92) gelagert ist, zumindest ein Drehmomentübertragungsmittel (94, 95), welches in wenigstens einem Betriebszustand in einem Zusammenwirken mit dem Türgriff (62) zumindest ein Drehmoment überträgt, ein erstes Federmittel (96), welches zumindest an einem Befestigungsbereich (100) eines Befestigungsmittels (98) der Türeinheit (64) befestigt ist, welcher in zumindest einem Betriebsablauf relativ zu der Achse (92) unbeweglich ist, und zumindest ein zweites Federmittel (102), welches wenigstens an einem Befestigungsbereich (104) eines Befestigungsmittels (98) der Türeinheit (64) befestigt ist, aufweist,
    dadurch gekennzeichnet, dass
    der Befestigungsbereich (104), an welchem das zweite Federmittel (102) befestigt ist, in zumindest einem Betriebsablauf relativ zu der Achse (92) unbeweglich ist.
  2. Hausgerätvorrichtung nach Anspruch 1,
    dadurch gekennzeichnet, dass
    das erste und das zweite Federmittel (96, 102) an demselben Befestigungsmittel (98) der Türeinheit (64) befestigt sind.
  3. Hausgerätvorrichtung nach einem der vorherigen Ansprüche,
    gekennzeichnet durch
    wenigstens ein Funktionsmittel (106), an welchem das Drehmomentübertragungsmittel (94) in wenigstens einem Betriebszustand formschlüssig befestigt ist.
  4. Hausgerätvorrichtung nach Anspruch 3,
    dadurch gekennzeichnet, dass
    das Drehmomentübertragungsmittel (94) in wenigstens einem Betriebszustand ein Drehmoment auf das Funktionsmittel (106) überträgt.
  5. Hausgerätvorrichtung nach einem der Ansprüche 3 oder 4,
    gekennzeichnet durch
    wenigstens eine Verriegelungseinheit (108), welche durch das auf das Funktionsmittel (106) übertragene Drehmoment verriegelbar ist.
  6. Hausgerätvorrichtung nach einem der Ansprüche 3 bis 5,
    dadurch gekennzeichnet, dass
    das Funktionsmittel (106) dazu vorgesehen ist, die Türeinheit (64) drehbar zu lagern.
  7. Hausgerätvorrichtung nach Anspruch 6,
    dadurch gekennzeichnet, dass
    das Funktionsmittel (106) dazu vorgesehen ist, bei einem Betriebsablauf, bei welchem die Türeinheit (64) gedreht wird, eine Veränderung der Auslenkungen beider Federmittel (96, 102) zu bewirken.
  8. Hausgerätvorrichtung nach einem der vorherigen Ansprüche,
    gekennzeichnet durch
    wenigstens ein Scheibenbefestigungsmittel (98), an welchem zumindest eines der Federmittel (96, 102) in wenigstens einem Betriebszustand befestigt ist.
  9. Hausgerätvorrichtung nach einem der vorherigen Ansprüche,
    dadurch gekennzeichnet, dass
    das erste Federmittel (96) eine um ein Vielfaches größere Federhärte aufweist als das zweite Federmittel (102).
  10. Hausgerätvorrichtung nach Anspruch 9,
    dadurch gekennzeichnet, dass
    die Türeinheit (64) in einem Betriebszustand, in welchem das erste Federmittel (96) eine kleinste Auslenkung aufweist, geschlossen ist.
  11. Hausgerätvorrichtung nach einem der vorherigen Ansprüche,
    dadurch gekennzeichnet, dass
    das Drehmomentübertragungsmittel (94, 95) wenigstens einen Seilzug aufweist.
  12. Hausgerätvorrichtung nach einem der vorherigen Ansprüche,
    gekennzeichnet durch
    zumindest einen Stauraum (18), in welchen die Türeinheit (64) in wenigstens einem Benutzungszustand zumindest zu einem Großteil eingebracht ist.
  13. Hausgerätevorrichtung nach einem der vorherigen Ansprüche,
    gekennzeichnet durch
    wenigstens eine Türlagereinheit (20), welche dazu vorgesehen ist, die Türeinheit (64) mittels einer Schiebebewegung zu einem Großteil in einen Stauraum (18) einzuführen.
  14. Hausgerät mit einer Hausgerätvorrichtung nach einem der vorherigen Ansprüche.
EP09100116.4A 2008-02-22 2009-02-17 Hausgerätvorrichtung Active EP2093492B1 (de)

Applications Claiming Priority (1)

Application Number Priority Date Filing Date Title
DE102008010525A DE102008010525A1 (de) 2008-02-22 2008-02-22 Hausgerätvorrichtung

Publications (3)

Publication Number Publication Date
EP2093492A2 true EP2093492A2 (de) 2009-08-26
EP2093492A3 EP2093492A3 (de) 2014-04-02
EP2093492B1 EP2093492B1 (de) 2016-04-13

Family

ID=40639781

Family Applications (1)

Application Number Title Priority Date Filing Date
EP09100116.4A Active EP2093492B1 (de) 2008-02-22 2009-02-17 Hausgerätvorrichtung

Country Status (2)

Country Link
EP (1) EP2093492B1 (de)
DE (1) DE102008010525A1 (de)

Cited By (7)

* Cited by examiner, † Cited by third party
Publication number Priority date Publication date Assignee Title
EP2581666A1 (de) * 2011-10-11 2013-04-17 BSH Bosch und Siemens Hausgeräte GmbH Tür für ein Haushaltsgerät, Haushaltsgerät mit einer Tür und Verfahren zum Bewegen eines Griffs einer Tür eines Haushaltsgeräts
US20140035453A1 (en) * 2012-08-02 2014-02-06 Hongsik Kwon Home Appliance Having Movable Door Handle
US20160091209A1 (en) * 2014-09-26 2016-03-31 Lg Electronics Inc. Cooking Appliance
EP2740871A3 (de) * 2012-12-04 2016-05-18 BSH Hausgeräte GmbH Vorrichtung für ein Haushaltsgerät mit einem Scharnier und einer Koppeleinrichtung sowie Haushaltsgerät mit einer derartigen Vorrichtung
CN111246787A (zh) * 2017-10-17 2020-06-05 Bsh家用电器有限公司 家用电器
US11136798B2 (en) * 2016-12-08 2021-10-05 Samsung Electronics Co., Ltd. Home appliance having leveling door handle
EP3658824B1 (de) * 2017-07-28 2023-11-01 BSH Hausgeräte GmbH Gargerät mit versenkbarer tür, die eine spezifische haltefeder für eine lagerbuchse aufweist

Families Citing this family (1)

* Cited by examiner, † Cited by third party
Publication number Priority date Publication date Assignee Title
DE102015206576A1 (de) * 2015-04-13 2016-10-13 BSH Hausgeräte GmbH Haushaltsgerät mit einer in einem Verstauraum versenkbaren Tür mit spezifischer Lagereinheit

Family Cites Families (5)

* Cited by examiner, † Cited by third party
Publication number Priority date Publication date Assignee Title
US2833270A (en) * 1952-04-05 1958-05-06 Wrought Iron Range Company Oven door hinge assembly
DE4344337A1 (de) * 1993-12-23 1995-06-29 Bosch Siemens Hausgeraete Schwenkbar gelagerte Tür, insbesondere für Haushaltsgeräte
DE10208490A1 (de) * 2002-02-27 2004-02-05 BSH Bosch und Siemens Hausgeräte GmbH Haushaltsgerät
DE102004006764A1 (de) * 2004-02-11 2005-09-08 BSH Bosch und Siemens Hausgeräte GmbH Tür
DE102004059563A1 (de) * 2004-12-10 2006-02-23 Miele & Cie. Kg Haushaltsgerät mit einem Korpus und einer daran um eine Schwenkachse schwenkbar gehaltenen Tür mit einem Türgriff

Cited By (12)

* Cited by examiner, † Cited by third party
Publication number Priority date Publication date Assignee Title
EP2581666A1 (de) * 2011-10-11 2013-04-17 BSH Bosch und Siemens Hausgeräte GmbH Tür für ein Haushaltsgerät, Haushaltsgerät mit einer Tür und Verfahren zum Bewegen eines Griffs einer Tür eines Haushaltsgeräts
US20140035453A1 (en) * 2012-08-02 2014-02-06 Hongsik Kwon Home Appliance Having Movable Door Handle
US9138056B2 (en) * 2012-08-02 2015-09-22 Lg Electronics Inc. Home appliance having movable door handle
EP2740871A3 (de) * 2012-12-04 2016-05-18 BSH Hausgeräte GmbH Vorrichtung für ein Haushaltsgerät mit einem Scharnier und einer Koppeleinrichtung sowie Haushaltsgerät mit einer derartigen Vorrichtung
US20160091209A1 (en) * 2014-09-26 2016-03-31 Lg Electronics Inc. Cooking Appliance
US10443857B2 (en) * 2014-09-26 2019-10-15 Lg Electronics Inc. Cooking appliance
US11054143B2 (en) 2014-09-26 2021-07-06 Lg Electronics Inc. Cooking appliance
US11946648B2 (en) 2014-09-26 2024-04-02 Lg Electronics Inc. Cooking appliance
US11136798B2 (en) * 2016-12-08 2021-10-05 Samsung Electronics Co., Ltd. Home appliance having leveling door handle
EP3658824B1 (de) * 2017-07-28 2023-11-01 BSH Hausgeräte GmbH Gargerät mit versenkbarer tür, die eine spezifische haltefeder für eine lagerbuchse aufweist
CN111246787A (zh) * 2017-10-17 2020-06-05 Bsh家用电器有限公司 家用电器
CN111246787B (zh) * 2017-10-17 2023-04-07 Bsh家用电器有限公司 家用电器

Also Published As

Publication number Publication date
EP2093492A3 (de) 2014-04-02
EP2093492B1 (de) 2016-04-13
DE102008010525A1 (de) 2009-08-27

Similar Documents

Publication Publication Date Title
EP2093492B1 (de) Hausgerätvorrichtung
EP1979684B1 (de) Haushaltsgerät
EP1481142B1 (de) Haushaltsgerät sowie haushaltsgerätetür
EP2093495B1 (de) Türführungsvorrichtung für Hausgerät
EP2189725A2 (de) Hausgerätvorrichtung
EP1481198B1 (de) Haushaltsgerät
EP2093493B1 (de) Hausgerätvorrichtung
EP1481141B1 (de) Haushaltsger t sowie haushaltsger tet r
EP1481197B1 (de) Haushaltsgerät
EP2362050A2 (de) Scharniervorrichtung, Haushaltsgerät mit einer Tür und Verfahren zum Nachrüsten eines Dämpfers
EP1481199B1 (de) Verfahren zur herstellung eines haushaltsgeräts sowie ein haushaltgerät
EP2093496B1 (de) Hausgerätvorrichtung
DE102008010498B4 (de) Hausgerätvorrichtung
EP2806769B1 (de) Einziehsystem für mehrere ausziehbare möbelteile
EP3143227B1 (de) Lageranordnung für eine tür
EP3356629A1 (de) Beschlag für eine schiebetür und verfahren zur montage einer schiebetür
EP2093494B1 (de) Hausgerätvorrichtung
DE102005002822B4 (de) Türscharnier für ein Haushaltsgerät
WO2023110169A1 (de) Aufhänganordnung für eine schiebetür
CH701926B1 (de) Drehflügeltürantrieb mit Kurvenscheibe.
DE10208473B4 (de) Haushaltsgerät
DE102019214760B4 (de) Schutzvorrichtung für einen Kraftfahrzeuginnenraum

Legal Events

Date Code Title Description
PUAI Public reference made under article 153(3) epc to a published international application that has entered the european phase

Free format text: ORIGINAL CODE: 0009012

AK Designated contracting states

Kind code of ref document: A2

Designated state(s): AT BE BG CH CY CZ DE DK EE ES FI FR GB GR HR HU IE IS IT LI LT LU LV MC MK MT NL NO PL PT RO SE SI SK TR

AX Request for extension of the european patent

Extension state: AL BA RS

PUAL Search report despatched

Free format text: ORIGINAL CODE: 0009013

AK Designated contracting states

Kind code of ref document: A3

Designated state(s): AT BE BG CH CY CZ DE DK EE ES FI FR GB GR HR HU IE IS IT LI LT LU LV MC MK MT NL NO PL PT RO SE SI SK TR

AX Request for extension of the european patent

Extension state: AL BA RS

RIC1 Information provided on ipc code assigned before grant

Ipc: A47L 15/42 20060101ALI20140225BHEP

Ipc: F25D 23/02 20060101ALI20140225BHEP

Ipc: F24C 15/02 20060101AFI20140225BHEP

Ipc: D06F 37/10 20060101ALI20140225BHEP

17P Request for examination filed

Effective date: 20141002

RBV Designated contracting states (corrected)

Designated state(s): AT BE BG CH CY CZ DE DK EE ES FI FR GB GR HR HU IE IS IT LI LT LU LV MC MK MT NL NO PL PT RO SE SI SK TR

AKX Designation fees paid

Designated state(s): AT BE BG CH CY CZ DE DK EE ES FI FR GB GR HR HU IE IS IT LI LT LU LV MC MK MT NL NO PL PT RO SE SI SK TR

AXX Extension fees paid

Extension state: AL

Extension state: BA

Extension state: RS

RAP1 Party data changed (applicant data changed or rights of an application transferred)

Owner name: BSH HAUSGERAETE GMBH

17Q First examination report despatched

Effective date: 20150409

GRAP Despatch of communication of intention to grant a patent

Free format text: ORIGINAL CODE: EPIDOSNIGR1

INTG Intention to grant announced

Effective date: 20151019

GRAS Grant fee paid

Free format text: ORIGINAL CODE: EPIDOSNIGR3

GRAA (expected) grant

Free format text: ORIGINAL CODE: 0009210

AK Designated contracting states

Kind code of ref document: B1

Designated state(s): AT BE BG CH CY CZ DE DK EE ES FI FR GB GR HR HU IE IS IT LI LT LU LV MC MK MT NL NO PL PT RO SE SI SK TR

REG Reference to a national code

Ref country code: GB

Ref legal event code: FG4D

Free format text: NOT ENGLISH

REG Reference to a national code

Ref country code: AT

Ref legal event code: REF

Ref document number: 790560

Country of ref document: AT

Kind code of ref document: T

Effective date: 20160415

Ref country code: CH

Ref legal event code: EP

REG Reference to a national code

Ref country code: IE

Ref legal event code: FG4D

Free format text: LANGUAGE OF EP DOCUMENT: GERMAN

REG Reference to a national code

Ref country code: DE

Ref legal event code: R096

Ref document number: 502009012403

Country of ref document: DE

REG Reference to a national code

Ref country code: LT

Ref legal event code: MG4D

REG Reference to a national code

Ref country code: NL

Ref legal event code: MP

Effective date: 20160413

PG25 Lapsed in a contracting state [announced via postgrant information from national office to epo]

Ref country code: NL

Free format text: LAPSE BECAUSE OF FAILURE TO SUBMIT A TRANSLATION OF THE DESCRIPTION OR TO PAY THE FEE WITHIN THE PRESCRIBED TIME-LIMIT

Effective date: 20160413

Ref country code: FI

Free format text: LAPSE BECAUSE OF FAILURE TO SUBMIT A TRANSLATION OF THE DESCRIPTION OR TO PAY THE FEE WITHIN THE PRESCRIBED TIME-LIMIT

Effective date: 20160413

Ref country code: LT

Free format text: LAPSE BECAUSE OF FAILURE TO SUBMIT A TRANSLATION OF THE DESCRIPTION OR TO PAY THE FEE WITHIN THE PRESCRIBED TIME-LIMIT

Effective date: 20160413

Ref country code: PL

Free format text: LAPSE BECAUSE OF FAILURE TO SUBMIT A TRANSLATION OF THE DESCRIPTION OR TO PAY THE FEE WITHIN THE PRESCRIBED TIME-LIMIT

Effective date: 20160413

Ref country code: NO

Free format text: LAPSE BECAUSE OF FAILURE TO SUBMIT A TRANSLATION OF THE DESCRIPTION OR TO PAY THE FEE WITHIN THE PRESCRIBED TIME-LIMIT

Effective date: 20160713

PG25 Lapsed in a contracting state [announced via postgrant information from national office to epo]

Ref country code: PT

Free format text: LAPSE BECAUSE OF FAILURE TO SUBMIT A TRANSLATION OF THE DESCRIPTION OR TO PAY THE FEE WITHIN THE PRESCRIBED TIME-LIMIT

Effective date: 20160816

Ref country code: ES

Free format text: LAPSE BECAUSE OF FAILURE TO SUBMIT A TRANSLATION OF THE DESCRIPTION OR TO PAY THE FEE WITHIN THE PRESCRIBED TIME-LIMIT

Effective date: 20160413

Ref country code: GR

Free format text: LAPSE BECAUSE OF FAILURE TO SUBMIT A TRANSLATION OF THE DESCRIPTION OR TO PAY THE FEE WITHIN THE PRESCRIBED TIME-LIMIT

Effective date: 20160714

Ref country code: HR

Free format text: LAPSE BECAUSE OF FAILURE TO SUBMIT A TRANSLATION OF THE DESCRIPTION OR TO PAY THE FEE WITHIN THE PRESCRIBED TIME-LIMIT

Effective date: 20160413

Ref country code: LV

Free format text: LAPSE BECAUSE OF FAILURE TO SUBMIT A TRANSLATION OF THE DESCRIPTION OR TO PAY THE FEE WITHIN THE PRESCRIBED TIME-LIMIT

Effective date: 20160413

Ref country code: SE

Free format text: LAPSE BECAUSE OF FAILURE TO SUBMIT A TRANSLATION OF THE DESCRIPTION OR TO PAY THE FEE WITHIN THE PRESCRIBED TIME-LIMIT

Effective date: 20160413

PG25 Lapsed in a contracting state [announced via postgrant information from national office to epo]

Ref country code: IT

Free format text: LAPSE BECAUSE OF FAILURE TO SUBMIT A TRANSLATION OF THE DESCRIPTION OR TO PAY THE FEE WITHIN THE PRESCRIBED TIME-LIMIT

Effective date: 20160413

REG Reference to a national code

Ref country code: DE

Ref legal event code: R097

Ref document number: 502009012403

Country of ref document: DE

PG25 Lapsed in a contracting state [announced via postgrant information from national office to epo]

Ref country code: DK

Free format text: LAPSE BECAUSE OF FAILURE TO SUBMIT A TRANSLATION OF THE DESCRIPTION OR TO PAY THE FEE WITHIN THE PRESCRIBED TIME-LIMIT

Effective date: 20160413

Ref country code: RO

Free format text: LAPSE BECAUSE OF FAILURE TO SUBMIT A TRANSLATION OF THE DESCRIPTION OR TO PAY THE FEE WITHIN THE PRESCRIBED TIME-LIMIT

Effective date: 20160413

Ref country code: EE

Free format text: LAPSE BECAUSE OF FAILURE TO SUBMIT A TRANSLATION OF THE DESCRIPTION OR TO PAY THE FEE WITHIN THE PRESCRIBED TIME-LIMIT

Effective date: 20160413

Ref country code: CZ

Free format text: LAPSE BECAUSE OF FAILURE TO SUBMIT A TRANSLATION OF THE DESCRIPTION OR TO PAY THE FEE WITHIN THE PRESCRIBED TIME-LIMIT

Effective date: 20160413

Ref country code: SK

Free format text: LAPSE BECAUSE OF FAILURE TO SUBMIT A TRANSLATION OF THE DESCRIPTION OR TO PAY THE FEE WITHIN THE PRESCRIBED TIME-LIMIT

Effective date: 20160413

PLBE No opposition filed within time limit

Free format text: ORIGINAL CODE: 0009261

STAA Information on the status of an ep patent application or granted ep patent

Free format text: STATUS: NO OPPOSITION FILED WITHIN TIME LIMIT

26N No opposition filed

Effective date: 20170116

PG25 Lapsed in a contracting state [announced via postgrant information from national office to epo]

Ref country code: SI

Free format text: LAPSE BECAUSE OF FAILURE TO SUBMIT A TRANSLATION OF THE DESCRIPTION OR TO PAY THE FEE WITHIN THE PRESCRIBED TIME-LIMIT

Effective date: 20160413

Ref country code: BE

Free format text: LAPSE BECAUSE OF NON-PAYMENT OF DUE FEES

Effective date: 20170228

PG25 Lapsed in a contracting state [announced via postgrant information from national office to epo]

Ref country code: MC

Free format text: LAPSE BECAUSE OF FAILURE TO SUBMIT A TRANSLATION OF THE DESCRIPTION OR TO PAY THE FEE WITHIN THE PRESCRIBED TIME-LIMIT

Effective date: 20160413

REG Reference to a national code

Ref country code: CH

Ref legal event code: PL

GBPC Gb: european patent ceased through non-payment of renewal fee

Effective date: 20170217

PG25 Lapsed in a contracting state [announced via postgrant information from national office to epo]

Ref country code: LI

Free format text: LAPSE BECAUSE OF NON-PAYMENT OF DUE FEES

Effective date: 20170228

Ref country code: CH

Free format text: LAPSE BECAUSE OF NON-PAYMENT OF DUE FEES

Effective date: 20170228

REG Reference to a national code

Ref country code: IE

Ref legal event code: MM4A

REG Reference to a national code

Ref country code: FR

Ref legal event code: ST

Effective date: 20171031

PG25 Lapsed in a contracting state [announced via postgrant information from national office to epo]

Ref country code: LU

Free format text: LAPSE BECAUSE OF NON-PAYMENT OF DUE FEES

Effective date: 20170217

PG25 Lapsed in a contracting state [announced via postgrant information from national office to epo]

Ref country code: FR

Free format text: LAPSE BECAUSE OF NON-PAYMENT OF DUE FEES

Effective date: 20170228

REG Reference to a national code

Ref country code: BE

Ref legal event code: MM

Effective date: 20170228

PG25 Lapsed in a contracting state [announced via postgrant information from national office to epo]

Ref country code: IE

Free format text: LAPSE BECAUSE OF NON-PAYMENT OF DUE FEES

Effective date: 20170217

Ref country code: GB

Free format text: LAPSE BECAUSE OF NON-PAYMENT OF DUE FEES

Effective date: 20170217

REG Reference to a national code

Ref country code: AT

Ref legal event code: MM01

Ref document number: 790560

Country of ref document: AT

Kind code of ref document: T

Effective date: 20170217

PG25 Lapsed in a contracting state [announced via postgrant information from national office to epo]

Ref country code: AT

Free format text: LAPSE BECAUSE OF NON-PAYMENT OF DUE FEES

Effective date: 20170217

PG25 Lapsed in a contracting state [announced via postgrant information from national office to epo]

Ref country code: MT

Free format text: LAPSE BECAUSE OF FAILURE TO SUBMIT A TRANSLATION OF THE DESCRIPTION OR TO PAY THE FEE WITHIN THE PRESCRIBED TIME-LIMIT

Effective date: 20160413

PG25 Lapsed in a contracting state [announced via postgrant information from national office to epo]

Ref country code: HU

Free format text: LAPSE BECAUSE OF FAILURE TO SUBMIT A TRANSLATION OF THE DESCRIPTION OR TO PAY THE FEE WITHIN THE PRESCRIBED TIME-LIMIT; INVALID AB INITIO

Effective date: 20090217

PG25 Lapsed in a contracting state [announced via postgrant information from national office to epo]

Ref country code: BG

Free format text: LAPSE BECAUSE OF FAILURE TO SUBMIT A TRANSLATION OF THE DESCRIPTION OR TO PAY THE FEE WITHIN THE PRESCRIBED TIME-LIMIT

Effective date: 20160413

PG25 Lapsed in a contracting state [announced via postgrant information from national office to epo]

Ref country code: CY

Free format text: LAPSE BECAUSE OF NON-PAYMENT OF DUE FEES

Effective date: 20160413

PG25 Lapsed in a contracting state [announced via postgrant information from national office to epo]

Ref country code: MK

Free format text: LAPSE BECAUSE OF FAILURE TO SUBMIT A TRANSLATION OF THE DESCRIPTION OR TO PAY THE FEE WITHIN THE PRESCRIBED TIME-LIMIT

Effective date: 20160413

PG25 Lapsed in a contracting state [announced via postgrant information from national office to epo]

Ref country code: TR

Free format text: LAPSE BECAUSE OF FAILURE TO SUBMIT A TRANSLATION OF THE DESCRIPTION OR TO PAY THE FEE WITHIN THE PRESCRIBED TIME-LIMIT

Effective date: 20160413

PG25 Lapsed in a contracting state [announced via postgrant information from national office to epo]

Ref country code: IS

Free format text: LAPSE BECAUSE OF FAILURE TO SUBMIT A TRANSLATION OF THE DESCRIPTION OR TO PAY THE FEE WITHIN THE PRESCRIBED TIME-LIMIT

Effective date: 20160813

REG Reference to a national code

Ref country code: DE

Ref legal event code: R084

Ref document number: 502009012403

Country of ref document: DE

PGFP Annual fee paid to national office [announced via postgrant information from national office to epo]

Ref country code: DE

Payment date: 20250228

Year of fee payment: 17