EP2072829B1 - Tauchpumpe - Google Patents

Tauchpumpe Download PDF

Info

Publication number
EP2072829B1
EP2072829B1 EP07024940.4A EP07024940A EP2072829B1 EP 2072829 B1 EP2072829 B1 EP 2072829B1 EP 07024940 A EP07024940 A EP 07024940A EP 2072829 B1 EP2072829 B1 EP 2072829B1
Authority
EP
European Patent Office
Prior art keywords
pump
housing
sensor
bore
fluid
Prior art date
Legal status (The legal status is an assumption and is not a legal conclusion. Google has not performed a legal analysis and makes no representation as to the accuracy of the status listed.)
Not-in-force
Application number
EP07024940.4A
Other languages
English (en)
French (fr)
Other versions
EP2072829B2 (de
EP2072829A1 (de
Inventor
Jan Lyngholm
Current Assignee (The listed assignees may be inaccurate. Google has not performed a legal analysis and makes no representation or warranty as to the accuracy of the list.)
Grundfos Management AS
Original Assignee
Grundfos Management AS
Priority date (The priority date is an assumption and is not a legal conclusion. Google has not performed a legal analysis and makes no representation as to the accuracy of the date listed.)
Filing date
Publication date
Family has litigation
First worldwide family litigation filed litigation Critical https://patents.darts-ip.com/?family=39477558&utm_source=google_patent&utm_medium=platform_link&utm_campaign=public_patent_search&patent=EP2072829(B1) "Global patent litigation dataset” by Darts-ip is licensed under a Creative Commons Attribution 4.0 International License.
Application filed by Grundfos Management AS filed Critical Grundfos Management AS
Priority to EP07024940.4A priority Critical patent/EP2072829B2/de
Priority to US12/339,201 priority patent/US8454330B2/en
Priority to CN2008101853538A priority patent/CN101487473B/zh
Publication of EP2072829A1 publication Critical patent/EP2072829A1/de
Application granted granted Critical
Publication of EP2072829B1 publication Critical patent/EP2072829B1/de
Publication of EP2072829B2 publication Critical patent/EP2072829B2/de
Not-in-force legal-status Critical Current
Anticipated expiration legal-status Critical

Links

Images

Classifications

    • FMECHANICAL ENGINEERING; LIGHTING; HEATING; WEAPONS; BLASTING
    • F04POSITIVE - DISPLACEMENT MACHINES FOR LIQUIDS; PUMPS FOR LIQUIDS OR ELASTIC FLUIDS
    • F04DNON-POSITIVE-DISPLACEMENT PUMPS
    • F04D13/00Pumping installations or systems
    • F04D13/02Units comprising pumps and their driving means
    • F04D13/06Units comprising pumps and their driving means the pump being electrically driven
    • F04D13/08Units comprising pumps and their driving means the pump being electrically driven for submerged use
    • F04D13/10Units comprising pumps and their driving means the pump being electrically driven for submerged use adapted for use in mining bore holes
    • EFIXED CONSTRUCTIONS
    • E21EARTH OR ROCK DRILLING; MINING
    • E21BEARTH OR ROCK DRILLING; OBTAINING OIL, GAS, WATER, SOLUBLE OR MELTABLE MATERIALS OR A SLURRY OF MINERALS FROM WELLS
    • E21B43/00Methods or apparatus for obtaining oil, gas, water, soluble or meltable materials or a slurry of minerals from wells
    • E21B43/12Methods or apparatus for controlling the flow of the obtained fluid to or in wells
    • E21B43/121Lifting well fluids
    • E21B43/128Adaptation of pump systems with down-hole electric drives
    • EFIXED CONSTRUCTIONS
    • E21EARTH OR ROCK DRILLING; MINING
    • E21BEARTH OR ROCK DRILLING; OBTAINING OIL, GAS, WATER, SOLUBLE OR MELTABLE MATERIALS OR A SLURRY OF MINERALS FROM WELLS
    • E21B47/00Survey of boreholes or wells
    • E21B47/008Monitoring of down-hole pump systems, e.g. for the detection of "pumped-off" conditions
    • FMECHANICAL ENGINEERING; LIGHTING; HEATING; WEAPONS; BLASTING
    • F04POSITIVE - DISPLACEMENT MACHINES FOR LIQUIDS; PUMPS FOR LIQUIDS OR ELASTIC FLUIDS
    • F04DNON-POSITIVE-DISPLACEMENT PUMPS
    • F04D13/00Pumping installations or systems
    • F04D13/02Units comprising pumps and their driving means
    • F04D13/06Units comprising pumps and their driving means the pump being electrically driven
    • F04D13/08Units comprising pumps and their driving means the pump being electrically driven for submerged use

Definitions

  • the invention relates to a borehole pump according to the features specified in the preamble of claim 1.
  • the invention has the object, a generic borehole pump in such a way that one or more sensors can be arranged inexpensively at a suitable location and corresponding signal or data connected.
  • the borehole pump according to the invention has an electric drive motor and a single-stage or multi-stage centrifugal pump driven by it.
  • one or more sensors of the pump are arranged in a sensor housing, which is liquid-flowed and liquid surrounds.
  • the sensor housing is located between the motor and the pump, at the end of the pump or inside the pump.
  • the sensor housing can either be arranged as a separate housing at the end of the pump or form part of the pump housing, so be formed integrally with this.
  • the basic idea of the present invention is, if possible, to accommodate the complete sensor system, but at least one or more sensors in a separate sensor housing, which at the end the pump, within the pump or between the motor and the pump, that is arranged at the other end of the pump.
  • This sensor housing may have a modular design, so that it can optionally be retrofitted to existing pumps or at least pumps of the same series can be equipped with or without sensor housing, so can be shipped with and without sensors. Since the sensor housing is arranged between the motor and pump, within the pump or at the end of the pump, the borehole pump is thereby not changed in its outer contour, but only in their length, which is particularly important for borehole pumps.
  • the sensor housing according to the invention is advantageously designed and arranged so that on the one hand flows through liquid and on the other hand surrounded by liquid. For example, temperatures and / or pressure can be detected by both the surrounding and the delivered fluid.
  • the entire sensor system or at least a large part is arranged inside the sensor housing. if at all, only this sensor housing needs to be provided with an externally routed cable, which is an advantage in downhole pumps when the sensor housing is located at the top of the pump, where anyway only the power cable is adjacent to the delivery line.
  • the wiring can be done above the engine, which anyway requires a cable to the outside to the electrical power supply and possibly also to the control electronics.
  • the sensor housing is divided into a liquid-conducting housing part and a liquid-free housing part, which are separated by a preferably formed by stainless steel sheet housing wall.
  • a housing wall may be formed in the manner of a split tube comparatively thin but absolutely liquid-tight be, so that, with the exception of the pressure and / or differential pressure sensors, if necessary, through the housing wall can be measured through, for example, temperature, vibration and the like.
  • an induction arrangement is provided in the sensor housing, with which electrical energy is generated during operation of the pump.
  • the induction arrangement has at least one magnet arranged rotatably in the liquid-conducting housing part and at least one induction coil arranged in the liquid-free housing part such that a current is induced in the coil by the magnet moving past the coil, which current can be used for the aforementioned purposes .
  • two or more magnets are arranged, which cooperate with possibly a plurality of induction coils and thus form a kind of electrical generator.
  • the sensor housing is formed quasi as a further passive pump stage, the flow passing through it drives the pump impeller arranged therein with the magnets attached thereto, thereby inducing a voltage in the one or more coils or generate a current and thus the sensor within the housing supply electricity.
  • such a passive pump impeller which is arranged freely rotatable within the sensor housing, and on which at least one magnet is arranged, also form part of a flow meter, wherein then within the liquid-free housing part, an inductive pickup, such as a coil is arranged , so that the speed of the pump impeller can be detected and above the flow rate can be determined.
  • an inductive pickup such as a coil is arranged , so that the speed of the pump impeller can be detected and above the flow rate can be determined.
  • It does not necessarily have a pump impeller rotatably arranged, it can be arranged rotatably a kind of wing, at the end of a magnet sits, which rotates faster or slower depending on the flow rate.
  • the pump can be structurally adapted thereto, then instead of a passive impeller advantageously the drive shaft can be extended into the sensor housing inside and there are provided with a holder which the or Magnets and is rotated by the drive shaft itself, also an active pump impeller may be provided which carries magnets.
  • any desired pump stage can be designed as a sensor housing by appropriate modification. So it is also conceivable, not just one, but to provide a plurality of sensor housing to monitor, for example, the pressure of each pump stage.
  • Such a cable for the electrical supply of the engine anyway required to use for data transmission is expedient, it is to transmit from the sensor housing out a corresponding signal on at least one conductor in the cable, which must be such that it by suitable filters of the Frequency of the power supply can be separated.
  • a radio transmission can be provided from the sensor housing, either to a receiver in the motor housing or to a typically arranged above the water surface E-lektronikgenosuse, which includes the control and regulating electronics for the engine.
  • the motor is anyway an electrical supply cable, this can be used by appropriate design in a simple manner for data transmission, either by modulating the signal or by providing a further conductor. It is then expedient to transmit the electrical signals of the sensors or the data derived therefrom from the sensor housing into the motor housing.
  • an electroacoustic transducer can be provided, which converts the electrical signal into a sound signal, typically an ultrasonic signal, and transmits it directly or indirectly to the shaft.
  • an acoustoelectric transducer is then provided, which converts this signal back into an electrical signal, which is then led out in a suitable manner.
  • sensors may be arranged, typically one or more temperature sensors for detecting the temperature of the flow and / or the surrounding medium, a vibration sensor for detecting mechanical vibrations, a pressure or differential pressure sensor for detecting the ambient pressure and / or the delivery pressure. This list is only an example and can be supplemented by any other sensors.
  • At least these sensors are particularly advantageous, which need not necessarily be in communication with the surrounding or conveyed liquid, such.
  • the housing wall of the temperature sensor can be separated by the housing wall of the liquid, as well as the vibration sensor, which brings obvious benefits.
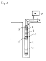
  • Fig. 1 illustrated well pump 1 is lowered in a borehole 2. It consists of a lower engine part 3, of which in Fig. 1 only the motor housing is visible, this is followed up to a multi-stage centrifugal pump 4, the pump stages in Fig. 1 are indicated. Between engine 3 and pump 4 there are suction openings 5 through which the liquid located in the borehole 2 is sucked, conveyed upwards by the multistage centrifugal pump 4 and finally conveyed via a pressure line 6 to the point of consumption.
  • the motor 3 is supplied via a cable 7, which is guided long in the area of the centrifugal pump 4 on the outside and next to the pressure line 6 extends to a supply and control housing 8, via which the motor is supplied with power.
  • a control housing 8 can For example, a frequency converter may be provided, as well as all means for controlling and monitoring the pump.
  • a sensor housing 9 is arranged, the structure of which is explained below by way of example.
  • sensor housing 9a is constructed rotationally symmetrical, adapted in the outer periphery to the outer periphery of the pump stages and has on its underside a threaded connector 10 which is provided for incorporation into the end-side thread of the centrifugal pump 4. From the threaded connector 10, the housing wall projects radially outward, so that it is aligned with the circumferential housing wall of the underlying pump stages 4. Towards the upper end, the housing wall is retracted and provided on the inside with an internal thread 11 which corresponds in pitch and diameter to the internal thread at the upper end of the pump, so that the pressure line 6 either directly to the upper end of the pump or under inclusion of the sensor housing 9a can be connected.
  • the sensor housing 9a has a liquid-conducting inner housing part 12 and a liquid-free outer housing part 13, which are separated from one another by a gap-like wall 14.
  • the liquid-carrying housing part 12 is substantially tubular and continues to expand the cross section of the pressure line 6, in order then again to pass into the threaded neck 10.
  • In the extended area of the liquid-free housing part 13 is arranged, which forms a circumferential annular space in which sensors, namely a temperature sensor on the wall 14 adjacent to detecting the temperature of the fluid, a pressure sensor, the wall 14 penetrating to detect the pressure of the pumped liquid , a pressure sensor penetrates the outer wall for detection the ambient pressure and a vibration sensor are arranged.
  • the electronics required for conditioning of the electrical signals emitted by the sensors are provided within this liquid-free housing part 13.
  • the cable 15 may be merged with the cable 7 or run parallel thereto.
  • dargillon sensor housing 9b has the same outer contour as the sensor housing 9a, but stored in the inner liquid-conducting part 12, a passive, ie non-driven pump impeller 16 which is driven by the flowing through liquid, ie rotated.
  • magnets 17 are arranged, which run at a small distance to the wall 1.
  • coils 18 are provided, in which when passing the magnets 16, a current is generated, which is used for the electrical power supply of the sensor housing 9b sensors and electronics.
  • the sensor signals or the data determined therefrom are either inductively fed into the cable 7 guided there on the housing 9b via a data cable or else inductively.
  • a two-armed wing 19 is provided, which carries at its ends magnet 17, in the same manner as with reference to Fig. 3 previously described serve to generate electricity.
  • the wings 19 are inclined with their end faces, so that they are also set in flow in rotation, but have a relation to the impeller 16 significantly lower flow resistance.
  • the sensor housing is an integral part of the pump housing or is inextricably connected to the pump housing.
  • the drive shaft for the wheels of the centrifugal pump 4 extended upward and carries at the top of a pump impeller 16, which is an active impeller due to the drive through the shaft 20.
  • a sensor housing 9d whose wall 14 separates the liquid-free housing part 13 from the rest of the pump housing.
  • magnets are arranged at the bottom, in the same way as with reference to Fig. 3 previously described cooperate with corresponding coils 18 in the liquid-free housing part 13 and provide for the power supply within the sensor housing 9d.
  • the sensor housing 9d can also be formed by modifying any pump stage. It can therefore be provided 9d also a plurality of sensor housing, if z. B. several pump stages to be monitored.
  • the sensor housing 9e is also firmly connected to the last stage of the centrifugal pump 4, but there is the pump impeller 16 mounted within the sensor housing 9e freely rotatable, ie as a passive pump impeller similar to the arrangement according to Fig. 3 educated. Again, the power supply of the sensor via magnets 17 on the underside of the pump impeller 16, which cooperate with arranged within the liquid-free housing part 13 coils.
  • a multi-stage centrifugal pump 4 In the illustration according to Fig. 7 the upper end of a multi-stage centrifugal pump 4 is shown on the left, the lower end connects to the engine part 3, which is shown on the right. Through the housing part performs a common shaft 20, which continues in the engine part 3.
  • the attached at the upper end of the pump 4 sensor housing 9f corresponds essentially based on Fig. 3 presented and explained. However, here is a signal transmission from the liquid-free housing part 13 out through the liquid through to the shaft 20 by mechanical waves.
  • an electroacoustic transducer is provided within the liquid-free housing part 13 of the sensor housing 9f, which converts the sensor signals into ultrasonic signals, which are transmitted via the liquid to the shaft 20.
  • an acoustoelectric transducer 21 At the motor end of the shaft 20, an acoustoelectric transducer 21 is provided, which converts these mechanical vibrations back into an electrical signal, which is then passed through the supply cable 7 of the motor to the supply and control housing 8.
  • the shaft 20 is guided into the sensor housing 9g, on which a pump impeller 16 of the above-described embodiment according to Fig. 3 sitting.
  • This pump impeller 16 is thus actively driven by the shaft 20.

Landscapes

  • Engineering & Computer Science (AREA)
  • Mining & Mineral Resources (AREA)
  • Geology (AREA)
  • Life Sciences & Earth Sciences (AREA)
  • Physics & Mathematics (AREA)
  • Environmental & Geological Engineering (AREA)
  • Fluid Mechanics (AREA)
  • General Life Sciences & Earth Sciences (AREA)
  • Geochemistry & Mineralogy (AREA)
  • Mechanical Engineering (AREA)
  • General Engineering & Computer Science (AREA)
  • Geophysics (AREA)
  • Structures Of Non-Positive Displacement Pumps (AREA)
  • Control Of Non-Positive-Displacement Pumps (AREA)

Description

  • Die Erfindung betrifft eine Bohrlochpume gemäß den im Oberbegriff des Anspruchs 1 angegebenen Merkmalen.
  • Bei Tauchpumpen zählt es heutzutage zum Stand der Technik, diese mit mit einem Frequenzumrichter anzusteuern, sie weisen somit in der Regel eine Motorelektronik auf, die es erforderlich oder zumindest zweckmäßig erscheinen lässt, wesentliche Betriebsgrößen der Pumpe zu erfassen und bei der Ansteuerung zu berücksichtigen und ggf. zu verarbeiten. Hierzu zählen beispielsweise die Wicklungstemperatur des Motors, die Temperatur des zu fördernden Mediums, der Förderdruck, der Umgebungsdruck und dergleichen. Zur Erfassung dieser Größen wird entsprechende Sensorik in die Tauchpumpen integriert. Aus EP 1 324 011 A2 . US 3,021,788 und US 2,969.740 zählt es zum Stand der Technik, bei Tauchpumpen, insbesondere Schmutzwasserpumpen ein oder mehrere Sensoren in den Strömungsweg einzugliedern.
  • Die Anordnung derartiger Sensoren in Tauchpumpen ist aufwendig, da einerseits eine Datenverbindung zu der Steuer- und Ragelelektronik des Motors bestehen muss, andererseits eine elektrische Versorgung erforderlich ist und schließlich eine zuverlässige Abdichtung gegenüber dem Fördermedium gewährleistet sein muss. Allerdings bereitet bei Tauchpumpen der vorgenannten Art (Schmutzwasserpumpen) die Sensoranordnung konstruktiv weniger Probleme, da der Bauraum der Pumpe verglelchswelse groß ist und die Sensorik In der Regel an geeigneter Stelle innerhalb des Pumpengehäuses eingegliedert werden kann, ohne dass hierzu wesentliche konstruktive Änderungen des Pumpenaggregats selbst erforderlich sind. Anders ist dies hingegen bei Bohrlochpumpen, bei denen der Bauraum insbesondere in radialer Richtung eng begrenzt ist und bei denen nach Möglichkeit ein modulartiger Aufbau zum Vorsehen verschiedener Anzahl von Pumpenstufen gegeben sein sollte. Bei Bohrlochpumpen stellt dies also ein räumliches Problem dar, weshalb man bisher auf den Einbau solcher Sensorik entweder verzichtet hat oder einen enormen Bauaufwand kalkulieren musste.
  • Vor diesem Hintergrund liegt der Erfindung die Aufgabe zugrunde, eine gattungsgemäße Bohrlochpumpe so auszubilden, dass ein oder mehrere Sensoren kostengünstig an geeigneter Stelle angeordnet und entsprechend signal- bzw. datenverbunden werden können.
  • Diese Aufgabe wird gemäß der Erfindung durch die in Anspruch 1 angegebenen Merkmale gelöst. Vorteilhafte Ausgestaltungen der Erfindung ergeben sich aus den Unteransprüchen, der nachfolgenden Beschreibung und der Zeichnung.
  • Die erfindungsgemäße Bohrlochpumpe weist einen elektrischen Antriebsmotor und eine davon angetriebene ein- oder mehrstufige Kreiselpumpe auf. Gemäß der Erfindung sind ein oder mehrere Sensoren der Pumpe in einem Sensorgehäuse angeordnet, welches flüssigkeitsdurchströmt ist und flüssigkeitsumgeben ist. Das Sensorgehäuse ist zwischen Motor und Pumpe, am Ende der Pumpe oder innerhalb der Pumpe angeordnet. Dabei kann das Sensorgehäuse entweder als gesondertes Gehäuse am Ende Pumpe angeordnet sein oder auch Teil des Pumpengehäuses bilden, also integral mit diesem ausgebildet sein.
  • Grundgedanke der vorliegenden Erfindung ist es, nach Möglichkeit die komplette Sensorik, zumindest jedoch einen oder mehrere Sensoren in einem gesonderten Sensorgehäuse unterzubringen, welches am Ende der Pumpe, innerhalb der Pumpe oder zwischen Motor und Pumpe, also am anderen Ende der Pumpe angeordnet ist. Dieses Sensorgehäuse kann modulartig ausgebildet sein, sodass es ggf. auch bei vorhandenen Pumpen nachgerüstet werden kann oder zumindest Pumpen der gleichen Serie mit oder ohne Sensorgehäuse ausgestattet werden können, also mit und ohne Sensorik ausgeliefert können. Da das Sensorgehäuse zwischen Motor und Pumpe, innerhalb der Pumpe oder am Ende der Pumpe angeordnet ist, wird die Bohrlochpumpe hierdurch in ihrer Außenkontur nicht verändert, sondern lediglich in ihrer Länge, was für Bohrlochpumpen besonders wichtig ist. Da die Sensorik typischerweise mit dem Förderstrom der Pumpe einerseits und dem umgebenden Medium andererseits in Verbindung steht, ist das erfindungsgemaße Sensorgehäuse vorteilhaft so ausgebildet und angeordnet, dass es einerseits flüssigkeitsdurchströmt und andererseits von Flüssigkeit umgeben ist. So können beispielsweise Temperaturen und/oder Druck sowohl vom umgebenden als auch vom geförderten Fluid erfasst werden. Da nach Möglichkeit die gesamte Sensorik oder zumindest ein Großteil innerhalb des Sensorgehäuses angeordnet ist. braucht wenn überhaupt, nur dieses Sensorgehäuse mit einem nach außen geführten Kabel versehen zu sein, was bei Bohrlochpumpen von Vorteil ist, wenn das Sensorgehäuse am oberen Ende der Pumpe angeordnet ist, an welchem ohnehin nur das Netzkabel neben der Förderleitung verläuft. Bei der Anordnung zwischen Motor und Pumpe ergibt sich der Vorteil, dass die Verkabelung Ober den Motor erfolgen kann, der ohnehin eine Kabelführung nach außen zur elektrischen Stromversorgung und ggf. auch zur Steuer- und Regelelektronik benötigt.
  • Vorteilhaft ist das Sensorgehäuse in einen flüssigkeitsführenden Gehäuseteil und einen flüssigkeitsfreien Gehäuseteil aufgeteilt, die durch eine vorzugsweise durch Edelstahlblech gebildete Gehäusewand voneinander getrennt sind. Eine solche Gehäusewand kann nach Art eines Spaltrohres vergleichsweise dünn aber absolut flüssigkeitsdicht ausgebildet sein, sodass mit Ausnahme der Druck- und/oder Differenzdrucksensoren ggf. auch durch die Gehäusewand hindurch gemessen werden kann, beispielsweise Temperatur, Vibration und dergleichen. Dies hat den erheblichen Vorteil, dass die hoch feuchtigkeitsempfindliche Elektronik und Sensorik in einem zuverlässig flüssigkeitsfreien Gehäuseteil angeordnet werden kann, wohingegen durch die Gehäusewand praktisch auch Zugriff auf das Fördermedium und/oder das umgebende Medium besteht.
  • Zweckmäßigerweise wird nicht nur ein Teilstrom sondern der gesamte Förderstrom der Pumpe durch das flüssigkeitsführende Gehäuseteil geleitet, wobei das Gehäuseteil so ausgebildet ist, dass es quasi eine weitere Pumpenstufe oder eine Rohverlängerung darstellt, also möglichst wenig Strömungswiderstand bietet. Die im Sensorgehäuse befindliche Sensorik und ggf. Elektronik benötigt vergleichsweise wenig Platz, sodass ein kleiner umlaufender Freiraum in der Regel ausreicht, um diese Bauelemente unterzubringen.
  • Gemäß einer vorteilhaften Weiterbildung der Erfindung ist es vorgesehen, die elektrische Energie, die erforderlich ist, um die im Sensorgehäuse angeordneten Sensoren zu betreiben und ggf. die davon ausgehenden elektrischen Signale aufzubereiten, weiterzuverarbeiten und in digitale Daten umzusetzen, unmittelbar innerhalb des Sensorgehäuses zu erzeugen, um damit auf eine Leitung zur Stromversorgung des Sensorgehäuses völlig verzichten zu können. Hierzu ist gemäß der Erfindung im Sensorgehäuse eine Induktionsanordnung vorgesehen, mit der beim Betrieb der Pumpe elektrische Energie erzeugt wird.
  • Zweckmäßigerweise weist die Induktionsanordnung mindestens einen im flüssigkeitsführenden Gehäuseteil rotierbar angeordneten Magneten auf und mindestens eine im flüssigkeitsfreien Gehäuseteil angeordnete Induktionsspule auf, derart, dass durch den sich an der Spule vorbei bewegenden Magneten ein Strom in der Spule induziert wird, der für die vorgenannten Zwecke nutzbar ist. Zweckmäßigerweise werden zwei oder mehr Magneten angeordnet sein, die mit ggf. mehreren Induktionsspulen zusammenwirken und somit eine Art elektrischen Generator bilden.
  • Um einen Antrieb für die Magneten zu bilden ist gemäß einer Weiterbildung der Erfindung vorgesehen, innerhalb des flüssigkeitsführenden Gehäuseteils ein Pumpenlaufrad drehbar zu lagern und so anzuordnen, dass es durch den Förderstrom der Pumpe in Rotation versetzt wird. Bei einer solchen Ausbildung ist das Sensorgehäuse quasi als weitere passive Pumpenstufe ausgebildet, der durchströmende Förderstrom treibt das darin angeordnete Pumpenlaufrad mit den daran befestigten Magneten, die dadurch in der oder den Spulen eine Spannung induzieren bzw. einen Strom erzeugen und somit die Sensorik innerhalb des Gehäuses mit Strom versorgen.
  • Gemäß einer Weiterbildung der Erfindung kann ein solches passives Pumpenlaufrad, das innerhalb des Sensorgehäuses frei drehbar angeordnet ist, und an dem mindestens ein Magnet angeordnet ist, auch Teil eines Durchflussmessers bilden, wobei dann innerhalb des flüssigkeitsfreien Gehäuseteils ein induktiver Aufnehmer, beispielsweise eine Spule angeordnet ist, so dass die Drehzahl des Pumpenlaufrads erfasst werden kann und darüber die Durchflussmenge ermittelt werden kann. Es muss nicht zwingend notwendig ein Pumpenlaufrad drehbar angeordnet sein, es kann eine Art Flügel rotierbar angeordnet sein, an dessen Ende ein Magnet sitzt, welcher in Abhängigkeit der Strömungsmenge schneller oder langsamer rotiert.
  • Wenn hingegen das Sensorgehäuse mehr oder weniger integraler Bestandteil der Pumpe ist, also die Pumpe konstruktiv daran angepasst werden kann, dann kann statt eines passiven Laufrads vorteilhaft die Antriebswelle bis in das Sensorgehäuse hinein verlängert werden und dort mit einem Halter versehen werden, welcher den oder die Magneten trägt und der durch die Antriebwelle selbst rotiert wird, auch kann ein aktives Pumpenlaufrad vorgesehen sein, das Magneten trägt.
  • Bei integraler Ausbildung des Sensorgehäuses im Pumpengehäuse kann prinzipiell beispielsweise bei einer mehrstufigen Bohrlochpumpe jede beliebige Pumpenstufe durch entsprechende Modifizierung als Sensorgehäuse ausgebildet werden. So ist es auch denkbar, nicht nur ein, sondern mehrere Sensorgehäuse vorzusehen, um beispielsweise den Druck jeder einzelnen Pumpenstufe überwachen zu können.
  • Wenn beispielsweise durch die vorgenannten konstruktiven Maßnahmen auf eine elektrische Stromversorgung des Sensorgehäuses von außen verzichtet werden kann, dann ist es besonders zweckmäßig, auch die aus dem Sensorgehäuse herauszuführenden elektrischen Signale und/oder Sensordaten kabellos herauszuführen. Gemäß einer Weiterbildung der Erfindung ist daher vorgesehen, entsprechende Sendemittel innerhalb des Sensorgehäuses vorzusehen um die elektrischen Signale de Sensoren bzw. die daraus abgeleiteten Daten induktiv in einen außen am Sensorgehäuse geführtes elektrisches Kabel einzukoppeln. Ein solches Kabel läuft insbesondere bei Bohrlochpumpen stets parallel zur Pumpe. Einem solchen für die elektrische Versorgung des Motors ohnehin erforderlichen Kabel für die Datenübertragung zu nutzen ist zweckmäßig, dabei ist aus dem Sensorgehäuse heraus ein entsprechendes Signal auf mindestens einen Leiter im Kabel zu übertragen, das so beschaffen sein muss, dass es durch geeignete Filter von der Frequenz der Stromversorgung abgeschieden werden kann.
  • Alternativ kann eine Funkübertragung aus dem Sensorgehäuse vorgesehen sein, sei es zu einem Empfänger im Motorgehäuse hin oder auch zu einem typischerweise über der Wasseroberfläche angeordneten E-lektronikgehäuse, welches die Steuer- und Regelelektronik für den Motor umfasst.
  • Da zum Motor hin ohnehin ein elektrisches Versorgungskabel liegt, kann dieses durch entsprechende Ausgestaltung in einfacher Weise auch zur Datenübertragung genutzt werden, sei es durch Aufmodulieren des Signals oder durch Vorsehen eines weiteren Leiters. Dann ist es zweckmäßig, die elektrischen Signale der Sensoren bzw. die daraus abgeleiteten Daten vom Sensorgehäuse in das Motorgehäuse zu übertragen.
  • Dies kann per Funk, aber auch mechanisch durch das Pumpengehäuse, bevorzugt jedoch über die gemeinsame Welle übertragen werden. Hierzu kann im Bereich des Sensorgehäuses ein elektroakustischer Wandler vorgesehen sein, welcher das elektrische Signal in ein Schallsignal, typischerweise ein Ultraschallsignal umwandelt und direkt oder indirekt auf die Welle überträgt. Motorseitig ist dann ein akustoelektrischer Wandler vorzusehen, der dieses Signal wieder in ein elektrisches Signal umwandelt, das dann in geeigneter Weise herausgeführt wird.
  • Innerhalb des Sensorgehäuses können unterschiedlichste Sensoren angeordnet sein, typischerweise ein oder mehrere Temperatursensoren zur Erfassung der Temperatur des Förderstroms und/oder des umgebenden Mediums, ein Vibrationssensor zur Erfassung mechanischer Schwingungen, ein Druck- oder Differenzdrucksensor zur Erfassung des Umgebungsdrucks und/oder des Förderdrucks. Diese Aufzählung ist nur beispielhaft und kann durch beliebige weitere Sensoren ergänzt werden.
  • Besonders vorteilhaft werden zumindest dies Sensoren, die nicht zwingend mit der umgebenden oder geförderten Flüssigkeit in Verbindung stehen müssen, wie z. B. der Druck- oder Differenzdrucksensor, in dem flüssigkeitsfreien Gehäuseteil angeordnet. So kann bei geeigneter Ausbildung der Gehäusewand der Temperatursensor durch die Gehäusewand von der Flüssigkeit getrennt angeordnet werden, ebenso der Vibrationssensor, was ersichtlich Vorteile mit sich bringt.
  • Die Erfindung ist nachfolgend anhand von in der Zeichnung dargestellten Ausführungsbeispielen näher erläutert. Es zeigen:
  • Fig. 1
    in stark vereinfachter schematischer Darstellung die Anordnung einer Bohrlochpumpe in einem Bohrloch,
    Fig. 2
    eine erste Ausführung eines Sensorgehäuses im Schnitt,
    Fig. 3
    eine zweite Ausführung eines Sensorgehäuses im Schnitt,
    Fig. 4
    eine dritte Ausführung eines Sensorgehäuses im Schnitt,
    Fig. 5
    den oberen Teil einer Bohrlochpumpe mit integriertem Sensorgehäuse im Schnitt,
    Fig. 6
    eine alternative Bauform mit im Pumpengehäuse integriertem Sensorgehäuse im Schnitt,
    Fig. 7
    eine erste Ausführung einer Bohrlochpumpe mit mechanischer Signalübertragung vom Sensorgehäuse zum Motorgehäuse in Schnittdarstellung und
    Fig. 8
    eine weitere Ausführung in Darstellung nach Fig. 7
  • Die anhand von Fig. 1 dargestellte Bohrlochpumpe 1 ist in einem Bohrloch 2 abgesenkt. Sie besteht aus einem unteren Motorteil 3, von dem in Fig. 1 nur das Motorgehäuse sichtbar ist, daran schließt sich nach oben eine mehrstufige Kreiselpumpe 4 an, deren Pumpenstufen in Fig. 1 angedeutet sind. Zwischen Motor 3 und Pumpe 4 befinden sich Ansaugöffnungen 5 über welche die im Bohrloch 2 befindliche Flüssigkeit angesaugt, durch die mehrstufige Kreiselpumpe 4 nach oben gefördert und schließlich über eine Druckleitung 6 bis zur Verbrauchsstelle gefördert wird.
  • Der Motor 3 wird über ein Kabel 7 versorgt, das im Bereich der Kreiselpumpe 4 an der Außenseite lang geführt ist und neben der Druckleitung 6 verläuft bis zu einem Versorgungs- und Steuergehäuse 8, über den der Motor stromversorgt wird. Innerhalb des Steuergehäuses 8 kann beispielsweise ein Frequenzumrichter vorgesehen sein, sowie sämtliche Mittel zum Steuern und überwachen der Pumpe. Zwischen dem oberen Ende der Kreiselpumpe und dem unteren Ende der Druckleitung 6 ist ein Sensorgehäuse 9 angeordnet, dessen Aufbau beispielhaft im Folgenden erläutert ist.
  • Das in Fig. 2 dargestellte Sensorgehäuse 9a ist rotationssymmetrisch aufgebaut, im Außenumfang an den Außenumfang der Pumpenstufen angepasst und weist an seiner Unterseite einen Gewindestutzen 10 auf, der zum Eingliedern in das endseitige Gewinde der Kreiselpumpe 4 vorgesehen ist. Vom Gewindestutzen 10 springt die Gehäusewand radial nach außen vor, sodass sie mit der umfänglichen Gehäusewandung der darunterliegenden Pumpenstufen 4 fluchtet. Zum oberen Ende hin ist die Gehäusewand eingezogen und an der Innenseite mit einen Innengewinde 11 versehen, welches in Steigung und Durchmesser dem Innengewinde am oberen Ende der Pumpe entspricht, sodass die Druckleitung 6 wahlweise direkt an das obere Ende der Pumpe oder unter Eingliederung des Sensorgehäuses 9a angeschlossen werden kann.
  • Das Sensorgehäuse 9a weist einen flüssigkeitsführenden inneren Gehäuseteil 12 und einen flüssigkeitsfreien äußeren Gehäuseteil 13 auf, die durch eine spaltrohrähnliche dünne Wandung 14 voneinander getrennt sind. Der flüssigkeitsführende Gehäuseteil 12 ist im Wesentlichen rohrförmig ausgebildet und setzt den Querschnitt der Druckleitung 6 erweiternd fort, um dann wieder in den Gewindestutzen 10 überzugehen. In dem erweiterten Bereich ist der flüssigkeitsfreie Gehäuseteil 13 angeordnet, der einen umlaufenden ringförmigen Raum bildet, in dem Sensoren, nämlich ein Temperatursensor an der Wandung 14 anliegend zur Erfassung der Temperatur des Fördermediums, ein Drucksensor, die Wandung 14 durchdringend zur Erfassung des Drucks der Förderflüssigkeit, ein Drucksensor die Außenwandung durchdringend zur Erfassung des Umgebungsdrucks und ein Vibrationssensor angeordnet sind. Weiterhin ist innerhalb dieses flüssigkeitsfreien Gehäuseteils 13 die zur Aufbereitung der von den Sensoren abgegebenen elektrischen Signale erforderliche Elektronik vorgesehen. Die Stromversorgung der innerhalb des Sensorgehäuses 9a befindlichen Sensorik erfolgt über ein Kabel 15, über welches auch die elektrischen Signale der Sensoren herausgeführt werden. Das Kabel 15 kann mit dem Kabel 7 zusammengeführt sein oder parallel dazu laufen.
  • Das anhand der Fig. 3 dargstellte Sensorgehäuse 9b weist die gleiche Außenkontur wie das Sensorgehäuse 9a auf, lagert jedoch in dem inneren flüssigkeitsführenden Teil 12 ein passives, d.h. nicht angetriebenes Pumpenlaufrad 16, das durch die durchströmende Förderflüssigkeit angetrieben, d.h. in Rotation versetzt wird. An der Unterseite des Pumpenlaufrads 16 sind Magneten 17 angeordnet, die mit geringem Abstand zur Wandung 1 laufen. Unmittelbar benachbart innerhalb des flüssigkeitsfreien Gehäuseteils 13 sind an der Wandung 14 anliegend Spulen 18 vorgesehen, in denen beim Vorbeilaufen der Magneten 16 ein Strom erzeugt wird, welcher für die elektrische Stromversorgung der im Sensorgehäuse 9b befindlichen Sensoren und Elektronik dient. Die Sensorsignale bzw. die daraus ermittelten Daten werden entweder über ein Datenkabel oder aber induktiv in das dort am Gehäuse 9b geführte Kabel 7 eingespeist.
  • Bei der anhand von Fig. 4 dargestellten Ausführungsvariante des Sensorgehäuses 9c ist anstelle des Pumpenlaufrads 16 ein zweiarmiger Flügel 19 vorgesehen, der an seinen Enden Magneten 17 trägt, die in gleicher Weise wie anhand von Fig. 3 vorbeschrieben zur Stromerzeugung dienen. Die Flügel 19 sind mit ihren Endflächen schräg gestellt, sodass sie bei Durchströmung ebenfalls in Rotation versetzt werden, jedoch einen gegenüber dem Laufrad 16 deutlich geringerem Strömungswiderstand aufweisen.
  • Anhand der Fig. 5-8 sind Ausführungsvarianten beschrieben, bei welchen das Sensorgehäuse integraler Bestandteil des Pumpengehäuses ist bzw. unlösbar mit dem Pumpengehäuse verbunden ist. Bei der Ausführung gemäß Fig. 5 ist die Antriebswelle für die Laufräder der Kreiselpumpe 4 nach oben verlängert und trägt am oberen Ende ein Pumpenlaufrad 16, welches aufgrund des Antriebs durch die Welle 20 ein aktives Laufrad ist. Es ist jedoch innerhalb eines Sensorgehäuses 9d eingegliedert, dessen Wandung 14 den flüssigkeitsfreien Gehäuseteil 13 vom übrigen Pumpengehäuse trennt. An dem Pumpenlaufrad 16 sind an der Unterseite Magneten 17 angeordnet, die in gleicher Weise wie anhand von Fig. 3 vorbeschrieben mit entsprechenden Spulen 18 im flüssigkeitsfreien Gehäuseteil 13 zusammenwirken und für die Stromversorgung innerhalb des Sensorgehäuses 9d sorgen. Das Sensorgehäuse 9d kann auch durch Modifizierung einer beliebigen Pumpenstufe gebildet sein. Es können somit auch mehrere Sensorgehäuse 9d vorgesehen sein, wenn z. B. mehrere Pumpenstufen überwacht werden sollen.
  • Bei der Ausführungsvariante gemäß Fig. 6 ist das Sensorgehäuse 9e ebenfalls fest mit der letzten Stufe der Kreiselpumpe 4 verbunden, jedoch ist dort das innerhalb des Sensorgehäuses 9e gelagerte Pumpenlaufrad 16 frei drehbar, also als passives Pumpenlaufrad ähnlich der Anordnung gemäß Fig. 3 ausgebildet. Auch hier erfolgt die Stromversorgung der Sensorik über Magnete 17 an der Unterseite des Pumpenlaufrads 16, welche mit innerhalb des flüssigkeitsfreien Gehäuseteils 13 angeordneten Spulen zusammenwirken.
  • In der Darstellung gemäß Fig. 7 ist links das obere Ende einer mehrstufigen Kreiselpumpe 4 dargestellt, dessen unteres Ende an den Motorenteil 3 anschließt, der rechts dargestellt ist. Durch das Gehäuseteil führt eine gemeinsame Welle 20, die sich im Motorenteil 3 fortsetzt. Das am oberen Ende der Pumpe 4 angebrachte Sensorgehäuse 9f entspricht im Wesentlichen dem anhand von Fig. 3 dargstellten und erläuterten. Allerdings erfolgt hier eine Signalübertragung aus dem flüssigkeitsfreien Gehäuseteil 13 heraus durch die Flüssigkeit hindurch bis zur Welle 20 durch mechanische Wellen. Hierzu ist innerhalb des flüssigkeitsfreien Gehäuseteils 13 des Sensorgehäuses 9f ein elektroakustischer Wandler vorgesehen, welcher die Sensorsignale in Ultraschallsignale umwandelt, die über die Flüssigkeit bis auf die Welle 20 übertragen werden. Am motorseitigen Ende der Welle 20 ist ein akustoelektrischer Wandler 21 vorgesehen, der diese mechanischen Schwingungen wieder in ein elektrisches Signal umwandelt, das dann über das Versorgungskabel 7 des Motors zum Versorgungs- und Steuergehäuse 8 geleitet wird.
  • Bei der anhand von Fig. 8 dargstellten Ausführungsvariante ist die Welle 20 bis in das Sensorgehäuse 9g geführt, auf dem ein Pumpenlaufrad 16 der vorbeschriebenen Ausbildung gemäß Fig. 3 sitzt. Dieses Pumpenlaufrad 16 wird somit aktiv durch die Welle 20 angetrieben. Zur Übertragung der Ultraschallschwingungen genügt es hier, die Wandung 14 oder ein anderes Gehäuseteil in Schwingung zu versetzen, die sich aufgrund der Körperschallausbreitung auf die Welle 20 übertragen.
  • Bezugszeichenliste
  • 1 -
    Bohrlochpumpe
    2 -
    Bohrloch
    3 -
    Motorteil
    4 -
    Kreiselpumpe
    5 -
    Ansaugöffnungen
    6 -
    Druckleitung
    7 -
    Kabel
    8 -
    Versorgungs- und Steuergehäuse
    9 -
    Sensorgehäuse in Fig. 1
    9a -
    Sensorgehäuse in Fig. 2
    9b -
    Sensorgehäuse in Fig. 3
    9c -
    Sensorgehäuse in Fig. 4
    9d -
    Sensorgehäuse in Fig. 5
    9e -
    Sensorgehäuse in Fig. 6
    9f -
    Sensorgehäuse in Fig. 7
    9g -
    Sensorgehäuse in Fig. 8
    10 -
    Gewindestutzen
    11 -
    Innengewinde
    12 -
    flüssigkeitsführender Gehäuseteil
    13 -
    flüssigkeitsfreier Gehäuseteil
    14 -
    Wandung
    15 -
    Kabel
    16 -
    Pumpenlaufrad
    17 -
    Magneten
    18 -
    Spulen
    19 -
    Flügel
    20 -
    Welle
    21 -
    akustoelektrischer Wandler

Claims (12)

  1. Bohrlochpumpe(1) mit einem elektrischen Antriebsmotor (3) und einer davon angetriebenen ein- oder mehrstufigen Kreiselpumpe (4) mit einem oder mehreren Sensoren, dadurch gekennzeichnet, dass einer oder mehrere Sensoren in einem flüssigkeitsdurchströmten und flüssigkeitsumgebenen Sensorgehäuse (9) angeordnet sind, welches zwischen Motor (3) und Pumpe (4), am Ende der Pumpe (4) oder innerhalb der Pumpe (4) angeordnet ist.
  2. Bohrlochpumpe(1) nach Anspruch 1. dadurch gekennzeichnet, dass das Sensorgehäuse (9) einen flüssigkeitführenden Gehäuseteil (12) und einen flüssigkeitsfreien Gehäuseteil (13) aufweist, die durch eine vorzugsweise aus Edelstahlblech gebildete Gehäusewand (14) voneinander getrennt sind.
  3. Bohrlochpumpe(1) nach einem der vorhergehenden Ansprüche, dadurch gekennzeichnet, dass der flüssigkeitsführende Gehäuseteil (12) vom Förderstrom der Pumpe (4) durchsetzt ist.
  4. Bohrlochpumpe(1) nach einem der vorhergehenden Ansprüche, dadurch gekennzeichnet, dass eine Induktionsanordnung (17,18) im Sensorgehäuse (9) vorgesehen ist, mit der beim Betrieb der Pumpe (4) elektrische Energie erzeugt wird.
  5. Bohrlochpumpe(1) nach einem der vorhergehenden Ansprüche, dadurch gekennzeichnet, dass die Induktionsanordnung (17,18) mindestens einen im flüssigkeitsführenden Gehäuseteil (12) rotierbar angeordneten Magneten (17) aufweist und dass in dem flüssigkeltsfrelen Gehäuseteil mindestens eine Induktionsspule (18) angeordnet ist.
  6. Bohrlochpumpe(1) nach einem der vorhergehenden Ansprüche, dadurch gekennzeichnet, dass der oder die Magneten (17) an einem im flüssigkeitsführenden Gehäuseteil (12) angeordneten Pumpenlaufrad (16) angeordnet ist, das durch den Förderstrom der Pumpe (4) in Rotation versetzt wird.
  7. Bohrlochpumpe(1) nach einem der vorhergehenden Ansprüche, dadurch gekennzeichnet, dass in dem flüssigkeitsführenden Gehäuseteil (12) ein durch den Förderstrom rotierbares Bauteil, insbesondere ein Pumpenlaufrad (16) angeordnet ist, das mit mindestens einem Magneten (17) versehen ist, der mit einem innerhalb des flüssigkeitsfreien Gehäuseteils (12) angeordneten induktiven Aufnehmer zusammen wirkt und Teil eines Durchflussmessers bildet.
  8. Bohrlochpumpe(1) nach einem der vorhergehenden Ansprüche, dadurch gekennzeichnet, dass der oder die Magneten (17) an einem im flüssigkeitsführenden Gehäuseteil (12) rotierbar angeordneten Pumpenlaufrad (16) sitzen, das auf der bis ins flüssigkeitsführende Gehäuseteil (12) verlängerten Antriebswelle (20) der Pumpe (4) drehfest angeordnet ist.
  9. Bohrlochpumpe(1) nach einem der vorhergehenden Ansprüche, dadurch gekennzeichnet, dass Mittel innerhalb des Sensorgehäuses vorgesehen sind, um die elektrischen Signale der Sensoren bzw. daraus abgeleiteten Daten induktiv in ein außen am Sensorgehäuse (9) geführtes elektrisches Kabel (7) einzukoppeln.
  10. Bohrlochpumpe(1) nach einem der vorhergehenden Ansprüche, dadurch gekennzeichnet, dass Mittel (20,21) zur Signal- und/oder Datenübertragung vom Sensorgehäuse (9) zum Motorgehäuse vorgesehen sind.
  11. Bohrlochpumpe(1) nach einem der vorhergehenden Ansprüche, dadurch gekennzeichnet, dass sensorgehäuseseitig ein die Welle (20) beaufschlagender elektroakustischer Wandler und motorseitig ein akustoelektrischer Wandler (21) vorgesehen ist, und die Signal- und/oder Datenübertragung mechanisch durch die Welle(20) erfolgt.
  12. Bohrlochpumpe(1) noch einem der vorhergehenden Ansprüche, dadurch gekennzeichnet, dass das Sensorgehäuse (9) einen Temperatursensor, einen Vibrationssensor, einen Durchflusssensor und/oder einen Druck- oder Differenzdrucksensor aufweist.
EP07024940.4A 2007-12-21 2007-12-21 Tauchpumpe Not-in-force EP2072829B2 (de)

Priority Applications (3)

Application Number Priority Date Filing Date Title
EP07024940.4A EP2072829B2 (de) 2007-12-21 2007-12-21 Tauchpumpe
US12/339,201 US8454330B2 (en) 2007-12-21 2008-12-19 Submersible pump
CN2008101853538A CN101487473B (zh) 2007-12-21 2008-12-22 深井泵

Applications Claiming Priority (1)

Application Number Priority Date Filing Date Title
EP07024940.4A EP2072829B2 (de) 2007-12-21 2007-12-21 Tauchpumpe

Publications (3)

Publication Number Publication Date
EP2072829A1 EP2072829A1 (de) 2009-06-24
EP2072829B1 true EP2072829B1 (de) 2014-12-17
EP2072829B2 EP2072829B2 (de) 2017-12-20

Family

ID=39477558

Family Applications (1)

Application Number Title Priority Date Filing Date
EP07024940.4A Not-in-force EP2072829B2 (de) 2007-12-21 2007-12-21 Tauchpumpe

Country Status (3)

Country Link
US (1) US8454330B2 (de)
EP (1) EP2072829B2 (de)
CN (1) CN101487473B (de)

Families Citing this family (19)

* Cited by examiner, † Cited by third party
Publication number Priority date Publication date Assignee Title
EP2309133B1 (de) * 2009-10-05 2015-07-15 Grundfos Management A/S Tauchpumpenaggregat
US8347953B1 (en) * 2009-12-11 2013-01-08 Ge Oil & Gas Esp, Inc. Inline monitoring package for electrical submersible pump
CN101915243B (zh) * 2010-07-09 2012-07-11 美的集团有限公司 冷风扇潜水泵的排空装置及控制方法
US8727737B2 (en) * 2010-10-22 2014-05-20 Grundfos Pumps Corporation Submersible pump system
US9121270B2 (en) 2011-05-26 2015-09-01 Grundfos Pumps Corporation Pump system
DE102012200806B4 (de) * 2012-01-20 2014-07-31 Yasa Motors Poland Sp. z.o.o. Nassläuferpumpe mit Leistungselektronik
GB2515263B (en) * 2013-04-26 2015-09-09 Rotech Group Ltd Improved turbine
WO2015153621A1 (en) 2014-04-03 2015-10-08 Schlumberger Canada Limited State estimation and run life prediction for pumping system
CN104165135B (zh) * 2014-07-08 2016-03-09 中国石油天然气集团公司 潜油电泵传感器免注油快速连接装置
EP3184823B1 (de) 2015-12-21 2019-03-27 Grundfos Holding A/S Kreiselpumpe
US11643911B2 (en) 2016-07-26 2023-05-09 Schlumberger Technology Corporation Integrated electric submersible pumping system with electromagnetically driven impeller
DK3563062T3 (da) * 2016-12-30 2021-10-11 Grundfos Holding As Sensoranordning og fremgangsmåde til fejldetektering i pumper og pumpeanordning med en sådan sensoranordning
US10876534B2 (en) * 2017-08-01 2020-12-29 Baker Hughes, A Ge Company, Llc Combined pump and motor with a stator forming a cavity which houses an impeller between upper and lower diffusers with the impeller having a circumferential magnet array extending upward and downward into diffuser annular clearances
ES2827500T3 (es) * 2018-03-26 2021-05-21 Xylem Europe Gmbh Máquina eléctrica sumergible
WO2020198446A1 (en) 2019-03-26 2020-10-01 Schlumberger Technology Corporation Electrical submersible pumping systems
EP3744981B1 (de) * 2019-05-28 2024-08-07 Grundfos Holding A/S Tauchpumpenanordnung und verfahren zum betreiben der tauchpumpenanordnung
DE102019004263A1 (de) * 2019-06-18 2020-12-24 KSB SE & Co. KGaA Kreiselpumpe und Verfahren zur Zustandserkennung einer Kreiselpumpe
EP4337867B1 (de) 2021-05-12 2025-07-02 Grundfos Holding A/S Kreiselpumpe
CN115788919A (zh) 2021-09-09 2023-03-14 创科无线普通合伙 潜水泵

Family Cites Families (18)

* Cited by examiner, † Cited by third party
Publication number Priority date Publication date Assignee Title
US2550667A (en) * 1944-08-01 1951-05-01 Byron Jackson Co Seal structure
US3021788A (en) 1957-05-02 1962-02-20 American Crucible Products Com Submersible pump
US2969740A (en) 1957-05-27 1961-01-31 American Crucible Products Com Pump control
US3867655A (en) * 1973-11-21 1975-02-18 Entropy Ltd Shaftless energy conversion device
EP0033192A1 (de) 1980-01-21 1981-08-05 Sperry Corporation System zur akustischen Datenweiterleitung entlang einem Bohrloch-Gestängestrang
DE4013978A1 (de) 1990-05-01 1991-11-07 Innotech Microelectronik Gmbh Datenuebertragung mittels ultraschall ueber sich bewegende maschinenelemente
US5148408A (en) 1990-11-05 1992-09-15 Teleco Oilfield Services Inc. Acoustic data transmission method
DE19728392A1 (de) 1997-07-03 1999-01-07 Mantel Juval Fluidströmungsmesser
US6811382B2 (en) * 2000-10-18 2004-11-02 Schlumberger Technology Corporation Integrated pumping system for use in pumping a variety of fluids
US6612188B2 (en) * 2001-01-03 2003-09-02 Neptune Technology Group Inc. Self-powered fluid meter
SE0104317L (sv) 2001-12-20 2002-11-26 Itt Mfg Enterprises Inc Avkänningsanordning för vätskeflödet i ett pumputlopp avsedd att styra strömtillförseln till den elektriskt drivan pumpmotorn
US6695052B2 (en) * 2002-01-08 2004-02-24 Schlumberger Technology Corporation Technique for sensing flow related parameters when using an electric submersible pumping system to produce a desired fluid
FI20041480A0 (fi) * 2004-11-17 2004-11-17 Pom Technology Oy Ab Anturilla varustettu kaasua erottava keskipakoislaite
JP2006170903A (ja) 2004-12-17 2006-06-29 Shin Nippon Air Technol Co Ltd 発電機付流量計
US7571770B2 (en) * 2005-03-23 2009-08-11 Baker Hughes Incorporated Downhole cooling based on thermo-tunneling of electrons
US7277026B2 (en) * 2005-05-21 2007-10-02 Hall David R Downhole component with multiple transmission elements
RU2285155C1 (ru) 2005-09-16 2006-10-10 Михаил Яковлевич Либкин Скважинная насосная установка
US7624800B2 (en) 2005-11-22 2009-12-01 Schlumberger Technology Corporation System and method for sensing parameters in a wellbore

Also Published As

Publication number Publication date
EP2072829B2 (de) 2017-12-20
EP2072829A1 (de) 2009-06-24
US8454330B2 (en) 2013-06-04
CN101487473A (zh) 2009-07-22
US20090162223A1 (en) 2009-06-25
CN101487473B (zh) 2011-12-07

Similar Documents

Publication Publication Date Title
EP2072829B1 (de) Tauchpumpe
EP1564411B1 (de) Verfahren zur Ermittlung von Fehlern beim Betrieb eines Pumpenaggregates
EP2024712B1 (de) Einrichtung zur messwertübertragung
EP2258949B1 (de) Verfahren zur Ermittlung von charakteristischen Werten, insbesondere Werten , insbesondere von Parametern, eines in einer Anlage eingebundenen elektromotorisch angetriebenen Kreiselpumpenaggregates
EP3315784B1 (de) Tauchpumpenaggregat und verfahren zum betreiben eines tauchpumpenaggregates
DE102009022107A1 (de) Verfahren und Vorrichtung zur Betriebspunktbestimmung einer Arbeitsmaschine
WO2016173896A1 (de) Pumpeneinrichtung sowie verfahren zum betrieb einer pumpe für flüssigkeiten
DE102014007690A1 (de) Schleifringeinheit und Verfahren zur Zustandsüberwachung einer Schleifringeinheit
EP2397656A1 (de) Verfahren zur Einstellung der zwischen Schaufelblattspitzen von Laufschaufeln und einer Kanalwand vorhandenen Radialspalte sowie Vorrichtung zur Messung eines Radialspalts einer axial durchströmbaren Turbomaschine
EP2426360A2 (de) Pumpenanordnung mit integrierter Vibrationsmessung
EP3527829B1 (de) Pumpensystem und pumpensteuerungsverfahren
EP3430711B1 (de) Vorrichtung zur überwachung des luftspalts einer elektrischen maschine
WO2018050380A1 (de) Maschine mit gekühlter hohlwelle und konzentrischem drehgeber
DE102009001353A1 (de) Elektromaschine mit Rotorlagesensor
EP2122177B1 (de) Pumpenaggregat
EP0742372B1 (de) Überwachungssystem zur Feststellung einer Kavitationsintensität
WO2016166114A1 (de) Pumpe sowie verfahren zum betrieb einer pumpe für flüssigkeiten
EP4065853B1 (de) Lageranordnung
EP3994339B1 (de) Drehschieber-aggregat sowie verfahren zur überwachung des verschleisses eines schiebers in einem solchen aggregat
EP3686432B1 (de) Vakuumpumpe
DE10251496B4 (de) Einrichtung zur Erzeugung von elektrischer Energie und von Druckimpulsen zur Signalübertragung
DE102006051441A1 (de) Mechanische Einrichtung mit Schmiermittelsensor für schmiermittelmengenunabhängige Eigenschaft des Schmiermittels
DE102005042776A1 (de) Sensoranordnung
EP2060793B1 (de) Vakuumpumpe
EP4386150A1 (de) Verfahren zur informationsgewinnung bei einem abwasserpumpenaggregat und/oder einem abwasserpumpensystem

Legal Events

Date Code Title Description
PUAI Public reference made under article 153(3) epc to a published international application that has entered the european phase

Free format text: ORIGINAL CODE: 0009012

AK Designated contracting states

Kind code of ref document: A1

Designated state(s): AT BE BG CH CY CZ DE DK EE ES FI FR GB GR HU IE IS IT LI LT LU LV MC MT NL PL PT RO SE SI SK TR

AX Request for extension of the european patent

Extension state: AL BA HR MK RS

17P Request for examination filed

Effective date: 20091028

17Q First examination report despatched

Effective date: 20091125

AKX Designation fees paid

Designated state(s): AT BE BG CH CY CZ DE DK EE ES FI FR GB GR HU IE IS IT LI LT LU LV MC MT NL PL PT RO SE SI SK TR

GRAP Despatch of communication of intention to grant a patent

Free format text: ORIGINAL CODE: EPIDOSNIGR1

INTG Intention to grant announced

Effective date: 20140716

GRAS Grant fee paid

Free format text: ORIGINAL CODE: EPIDOSNIGR3

GRAA (expected) grant

Free format text: ORIGINAL CODE: 0009210

AK Designated contracting states

Kind code of ref document: B1

Designated state(s): AT BE BG CH CY CZ DE DK EE ES FI FR GB GR HU IE IS IT LI LT LU LV MC MT NL PL PT RO SE SI SK TR

REG Reference to a national code

Ref country code: GB

Ref legal event code: FG4D

Free format text: NOT ENGLISH

REG Reference to a national code

Ref country code: CH

Ref legal event code: EP

REG Reference to a national code

Ref country code: IE

Ref legal event code: FG4D

Free format text: LANGUAGE OF EP DOCUMENT: GERMAN

REG Reference to a national code

Ref country code: AT

Ref legal event code: REF

Ref document number: 702148

Country of ref document: AT

Kind code of ref document: T

Effective date: 20150115

REG Reference to a national code

Ref country code: DE

Ref legal event code: R096

Ref document number: 502007013627

Country of ref document: DE

Effective date: 20150129

PG25 Lapsed in a contracting state [announced via postgrant information from national office to epo]

Ref country code: LT

Free format text: LAPSE BECAUSE OF FAILURE TO SUBMIT A TRANSLATION OF THE DESCRIPTION OR TO PAY THE FEE WITHIN THE PRESCRIBED TIME-LIMIT

Effective date: 20141217

Ref country code: FI

Free format text: LAPSE BECAUSE OF FAILURE TO SUBMIT A TRANSLATION OF THE DESCRIPTION OR TO PAY THE FEE WITHIN THE PRESCRIBED TIME-LIMIT

Effective date: 20141217

REG Reference to a national code

Ref country code: LT

Ref legal event code: MG4D

PG25 Lapsed in a contracting state [announced via postgrant information from national office to epo]

Ref country code: LV

Free format text: LAPSE BECAUSE OF FAILURE TO SUBMIT A TRANSLATION OF THE DESCRIPTION OR TO PAY THE FEE WITHIN THE PRESCRIBED TIME-LIMIT

Effective date: 20141217

Ref country code: SE

Free format text: LAPSE BECAUSE OF FAILURE TO SUBMIT A TRANSLATION OF THE DESCRIPTION OR TO PAY THE FEE WITHIN THE PRESCRIBED TIME-LIMIT

Effective date: 20141217

Ref country code: GR

Free format text: LAPSE BECAUSE OF FAILURE TO SUBMIT A TRANSLATION OF THE DESCRIPTION OR TO PAY THE FEE WITHIN THE PRESCRIBED TIME-LIMIT

Effective date: 20150318

PG25 Lapsed in a contracting state [announced via postgrant information from national office to epo]

Ref country code: BE

Free format text: LAPSE BECAUSE OF NON-PAYMENT OF DUE FEES

Effective date: 20141231

Ref country code: NL

Free format text: LAPSE BECAUSE OF FAILURE TO SUBMIT A TRANSLATION OF THE DESCRIPTION OR TO PAY THE FEE WITHIN THE PRESCRIBED TIME-LIMIT

Effective date: 20141217

PG25 Lapsed in a contracting state [announced via postgrant information from national office to epo]

Ref country code: CZ

Free format text: LAPSE BECAUSE OF FAILURE TO SUBMIT A TRANSLATION OF THE DESCRIPTION OR TO PAY THE FEE WITHIN THE PRESCRIBED TIME-LIMIT

Effective date: 20141217

Ref country code: EE

Free format text: LAPSE BECAUSE OF FAILURE TO SUBMIT A TRANSLATION OF THE DESCRIPTION OR TO PAY THE FEE WITHIN THE PRESCRIBED TIME-LIMIT

Effective date: 20141217

Ref country code: SK

Free format text: LAPSE BECAUSE OF FAILURE TO SUBMIT A TRANSLATION OF THE DESCRIPTION OR TO PAY THE FEE WITHIN THE PRESCRIBED TIME-LIMIT

Effective date: 20141217

Ref country code: ES

Free format text: LAPSE BECAUSE OF FAILURE TO SUBMIT A TRANSLATION OF THE DESCRIPTION OR TO PAY THE FEE WITHIN THE PRESCRIBED TIME-LIMIT

Effective date: 20141217

Ref country code: RO

Free format text: LAPSE BECAUSE OF FAILURE TO SUBMIT A TRANSLATION OF THE DESCRIPTION OR TO PAY THE FEE WITHIN THE PRESCRIBED TIME-LIMIT

Effective date: 20141217

REG Reference to a national code

Ref country code: CH

Ref legal event code: PL

PG25 Lapsed in a contracting state [announced via postgrant information from national office to epo]

Ref country code: PL

Free format text: LAPSE BECAUSE OF FAILURE TO SUBMIT A TRANSLATION OF THE DESCRIPTION OR TO PAY THE FEE WITHIN THE PRESCRIBED TIME-LIMIT

Effective date: 20141217

Ref country code: IS

Free format text: LAPSE BECAUSE OF FAILURE TO SUBMIT A TRANSLATION OF THE DESCRIPTION OR TO PAY THE FEE WITHIN THE PRESCRIBED TIME-LIMIT

Effective date: 20150417

REG Reference to a national code

Ref country code: DE

Ref legal event code: R026

Ref document number: 502007013627

Country of ref document: DE

REG Reference to a national code

Ref country code: IE

Ref legal event code: MM4A

PLBI Opposition filed

Free format text: ORIGINAL CODE: 0009260

PG25 Lapsed in a contracting state [announced via postgrant information from national office to epo]

Ref country code: MC

Free format text: LAPSE BECAUSE OF FAILURE TO SUBMIT A TRANSLATION OF THE DESCRIPTION OR TO PAY THE FEE WITHIN THE PRESCRIBED TIME-LIMIT

Effective date: 20141217

REG Reference to a national code

Ref country code: FR

Ref legal event code: PLFP

Year of fee payment: 9

PLAX Notice of opposition and request to file observation + time limit sent

Free format text: ORIGINAL CODE: EPIDOSNOBS2

26 Opposition filed

Opponent name: KSB AKTIENGESELLSCHAFT

Effective date: 20150916

PG25 Lapsed in a contracting state [announced via postgrant information from national office to epo]

Ref country code: CH

Free format text: LAPSE BECAUSE OF NON-PAYMENT OF DUE FEES

Effective date: 20141231

Ref country code: IE

Free format text: LAPSE BECAUSE OF NON-PAYMENT OF DUE FEES

Effective date: 20141221

Ref country code: DK

Free format text: LAPSE BECAUSE OF FAILURE TO SUBMIT A TRANSLATION OF THE DESCRIPTION OR TO PAY THE FEE WITHIN THE PRESCRIBED TIME-LIMIT

Effective date: 20141217

Ref country code: LI

Free format text: LAPSE BECAUSE OF NON-PAYMENT OF DUE FEES

Effective date: 20141231

REG Reference to a national code

Ref country code: AT

Ref legal event code: MM01

Ref document number: 702148

Country of ref document: AT

Kind code of ref document: T

Effective date: 20141221

PLBB Reply of patent proprietor to notice(s) of opposition received

Free format text: ORIGINAL CODE: EPIDOSNOBS3

PG25 Lapsed in a contracting state [announced via postgrant information from national office to epo]

Ref country code: SI

Free format text: LAPSE BECAUSE OF FAILURE TO SUBMIT A TRANSLATION OF THE DESCRIPTION OR TO PAY THE FEE WITHIN THE PRESCRIBED TIME-LIMIT

Effective date: 20141217

PG25 Lapsed in a contracting state [announced via postgrant information from national office to epo]

Ref country code: BG

Free format text: LAPSE BECAUSE OF FAILURE TO SUBMIT A TRANSLATION OF THE DESCRIPTION OR TO PAY THE FEE WITHIN THE PRESCRIBED TIME-LIMIT

Effective date: 20141217

Ref country code: AT

Free format text: LAPSE BECAUSE OF NON-PAYMENT OF DUE FEES

Effective date: 20141221

PG25 Lapsed in a contracting state [announced via postgrant information from national office to epo]

Ref country code: PT

Free format text: LAPSE BECAUSE OF FAILURE TO SUBMIT A TRANSLATION OF THE DESCRIPTION OR TO PAY THE FEE WITHIN THE PRESCRIBED TIME-LIMIT

Effective date: 20141217

Ref country code: CY

Free format text: LAPSE BECAUSE OF FAILURE TO SUBMIT A TRANSLATION OF THE DESCRIPTION OR TO PAY THE FEE WITHIN THE PRESCRIBED TIME-LIMIT

Effective date: 20141217

PG25 Lapsed in a contracting state [announced via postgrant information from national office to epo]

Ref country code: MT

Free format text: LAPSE BECAUSE OF FAILURE TO SUBMIT A TRANSLATION OF THE DESCRIPTION OR TO PAY THE FEE WITHIN THE PRESCRIBED TIME-LIMIT

Effective date: 20141217

Ref country code: HU

Free format text: LAPSE BECAUSE OF FAILURE TO SUBMIT A TRANSLATION OF THE DESCRIPTION OR TO PAY THE FEE WITHIN THE PRESCRIBED TIME-LIMIT; INVALID AB INITIO

Effective date: 20071221

Ref country code: LU

Free format text: LAPSE BECAUSE OF NON-PAYMENT OF DUE FEES

Effective date: 20141221

Ref country code: TR

Free format text: LAPSE BECAUSE OF FAILURE TO SUBMIT A TRANSLATION OF THE DESCRIPTION OR TO PAY THE FEE WITHIN THE PRESCRIBED TIME-LIMIT

Effective date: 20141217

REG Reference to a national code

Ref country code: FR

Ref legal event code: PLFP

Year of fee payment: 10

REG Reference to a national code

Ref country code: FR

Ref legal event code: PLFP

Year of fee payment: 11

PUAH Patent maintained in amended form

Free format text: ORIGINAL CODE: 0009272

STAA Information on the status of an ep patent application or granted ep patent

Free format text: STATUS: PATENT MAINTAINED AS AMENDED

27A Patent maintained in amended form

Effective date: 20171220

AK Designated contracting states

Kind code of ref document: B2

Designated state(s): AT BE BG CH CY CZ DE DK EE ES FI FR GB GR HU IE IS IT LI LT LU LV MC MT NL PL PT RO SE SI SK TR

REG Reference to a national code

Ref country code: DE

Ref legal event code: R102

Ref document number: 502007013627

Country of ref document: DE

PG25 Lapsed in a contracting state [announced via postgrant information from national office to epo]

Ref country code: LV

Free format text: LAPSE BECAUSE OF FAILURE TO SUBMIT A TRANSLATION OF THE DESCRIPTION OR TO PAY THE FEE WITHIN THE PRESCRIBED TIME-LIMIT

Effective date: 20141217

REG Reference to a national code

Ref country code: DE

Ref legal event code: R082

Ref document number: 502007013627

Country of ref document: DE

PGFP Annual fee paid to national office [announced via postgrant information from national office to epo]

Ref country code: GB

Payment date: 20231220

Year of fee payment: 17

PGFP Annual fee paid to national office [announced via postgrant information from national office to epo]

Ref country code: IT

Payment date: 20231228

Year of fee payment: 17

Ref country code: FR

Payment date: 20231221

Year of fee payment: 17

Ref country code: DE

Payment date: 20231214

Year of fee payment: 17

REG Reference to a national code

Ref country code: DE

Ref legal event code: R119

Ref document number: 502007013627

Country of ref document: DE

GBPC Gb: european patent ceased through non-payment of renewal fee

Effective date: 20241221

PG25 Lapsed in a contracting state [announced via postgrant information from national office to epo]

Ref country code: DE

Free format text: LAPSE BECAUSE OF NON-PAYMENT OF DUE FEES

Effective date: 20250701

PG25 Lapsed in a contracting state [announced via postgrant information from national office to epo]

Ref country code: IT

Free format text: LAPSE BECAUSE OF NON-PAYMENT OF DUE FEES

Effective date: 20241221

PG25 Lapsed in a contracting state [announced via postgrant information from national office to epo]

Ref country code: GB

Free format text: LAPSE BECAUSE OF NON-PAYMENT OF DUE FEES

Effective date: 20241221

PG25 Lapsed in a contracting state [announced via postgrant information from national office to epo]

Ref country code: FR

Free format text: LAPSE BECAUSE OF NON-PAYMENT OF DUE FEES

Effective date: 20241231