EP2000589A2 - Papier d'emballage pour cigarettes peu combustible - Google Patents
Papier d'emballage pour cigarettes peu combustible Download PDFInfo
- Publication number
- EP2000589A2 EP2000589A2 EP07739317A EP07739317A EP2000589A2 EP 2000589 A2 EP2000589 A2 EP 2000589A2 EP 07739317 A EP07739317 A EP 07739317A EP 07739317 A EP07739317 A EP 07739317A EP 2000589 A2 EP2000589 A2 EP 2000589A2
- Authority
- EP
- European Patent Office
- Prior art keywords
- cigarette paper
- tobacco rod
- cigarette
- burn
- base
- Prior art date
- Legal status (The legal status is an assumption and is not a legal conclusion. Google has not performed a legal analysis and makes no representation as to the accuracy of the status listed.)
- Granted
Links
Images
Classifications
-
- D—TEXTILES; PAPER
- D21—PAPER-MAKING; PRODUCTION OF CELLULOSE
- D21H—PULP COMPOSITIONS; PREPARATION THEREOF NOT COVERED BY SUBCLASSES D21C OR D21D; IMPREGNATING OR COATING OF PAPER; TREATMENT OF FINISHED PAPER NOT COVERED BY CLASS B31 OR SUBCLASS D21G; PAPER NOT OTHERWISE PROVIDED FOR
- D21H27/00—Special paper not otherwise provided for, e.g. made by multi-step processes
-
- A—HUMAN NECESSITIES
- A24—TOBACCO; CIGARS; CIGARETTES; SIMULATED SMOKING DEVICES; SMOKERS' REQUISITES
- A24D—CIGARS; CIGARETTES; TOBACCO SMOKE FILTERS; MOUTHPIECES FOR CIGARS OR CIGARETTES; MANUFACTURE OF TOBACCO SMOKE FILTERS OR MOUTHPIECES
- A24D1/00—Cigars; Cigarettes
- A24D1/10—Cigars; Cigarettes with extinguishers
-
- A—HUMAN NECESSITIES
- A24—TOBACCO; CIGARS; CIGARETTES; SIMULATED SMOKING DEVICES; SMOKERS' REQUISITES
- A24D—CIGARS; CIGARETTES; TOBACCO SMOKE FILTERS; MOUTHPIECES FOR CIGARS OR CIGARETTES; MANUFACTURE OF TOBACCO SMOKE FILTERS OR MOUTHPIECES
- A24D1/00—Cigars; Cigarettes
- A24D1/02—Cigars; Cigarettes with special covers
-
- A—HUMAN NECESSITIES
- A24—TOBACCO; CIGARS; CIGARETTES; SIMULATED SMOKING DEVICES; SMOKERS' REQUISITES
- A24D—CIGARS; CIGARETTES; TOBACCO SMOKE FILTERS; MOUTHPIECES FOR CIGARS OR CIGARETTES; MANUFACTURE OF TOBACCO SMOKE FILTERS OR MOUTHPIECES
- A24D1/00—Cigars; Cigarettes
- A24D1/02—Cigars; Cigarettes with special covers
- A24D1/025—Cigars; Cigarettes with special covers the covers having material applied to defined areas, e.g. bands for reducing the ignition propensity
-
- D—TEXTILES; PAPER
- D21—PAPER-MAKING; PRODUCTION OF CELLULOSE
- D21H—PULP COMPOSITIONS; PREPARATION THEREOF NOT COVERED BY SUBCLASSES D21C OR D21D; IMPREGNATING OR COATING OF PAPER; TREATMENT OF FINISHED PAPER NOT COVERED BY CLASS B31 OR SUBCLASS D21G; PAPER NOT OTHERWISE PROVIDED FOR
- D21H1/00—Paper; Cardboard
-
- D—TEXTILES; PAPER
- D21—PAPER-MAKING; PRODUCTION OF CELLULOSE
- D21H—PULP COMPOSITIONS; PREPARATION THEREOF NOT COVERED BY SUBCLASSES D21C OR D21D; IMPREGNATING OR COATING OF PAPER; TREATMENT OF FINISHED PAPER NOT COVERED BY CLASS B31 OR SUBCLASS D21G; PAPER NOT OTHERWISE PROVIDED FOR
- D21H19/00—Coated paper; Coating material
- D21H19/10—Coatings without pigments
-
- D—TEXTILES; PAPER
- D21—PAPER-MAKING; PRODUCTION OF CELLULOSE
- D21H—PULP COMPOSITIONS; PREPARATION THEREOF NOT COVERED BY SUBCLASSES D21C OR D21D; IMPREGNATING OR COATING OF PAPER; TREATMENT OF FINISHED PAPER NOT COVERED BY CLASS B31 OR SUBCLASS D21G; PAPER NOT OTHERWISE PROVIDED FOR
- D21H19/00—Coated paper; Coating material
- D21H19/10—Coatings without pigments
- D21H19/14—Coatings without pigments applied in a form other than the aqueous solution defined in group D21H19/12
- D21H19/24—Coatings without pigments applied in a form other than the aqueous solution defined in group D21H19/12 comprising macromolecular compounds obtained otherwise than by reactions only involving carbon-to-carbon unsaturated bonds
-
- D—TEXTILES; PAPER
- D21—PAPER-MAKING; PRODUCTION OF CELLULOSE
- D21H—PULP COMPOSITIONS; PREPARATION THEREOF NOT COVERED BY SUBCLASSES D21C OR D21D; IMPREGNATING OR COATING OF PAPER; TREATMENT OF FINISHED PAPER NOT COVERED BY CLASS B31 OR SUBCLASS D21G; PAPER NOT OTHERWISE PROVIDED FOR
- D21H19/00—Coated paper; Coating material
- D21H19/10—Coatings without pigments
- D21H19/12—Coatings without pigments applied as a solution using water as the only solvent, e.g. in the presence of acid or alkaline compounds
Definitions
- the present invention relates to a low ignition propensity cigarette paper.
- a cigarette paper has been proposed which is reduced in the air permeability of base cigarette paper by applying a salt of alginic acid to at least a part of the base cigarette paper such that a cigarette is restrained from causing, for example, a floor to catch fire from the burning butt when the cigarette falls on the floor because of, for example, carelessness by the smoker (see Jpn. Pat. Appln. KOKAI Publication No. 7-300795).
- the inventors of the present invention have made studies as to the effect of sodium alginate out of salts of alginic acid on the actual ignition propensities of cigarette paper, and as a result, have found that the coating required to exhibit the same ignition propensities differs depending on the degree of polymerization or viscosity of sodium alginate.
- a low ignition propensity cigarette paper comprising base cigarette paper having a basis weight exceeding 22 g/m 2 , and a plurality of burn limiting areas arranged apart from one another on one surface of the base cigarette paper, wherein the burn limiting areas are formed by applying sodium alginate having a degree of polymerization of about 500 to about 900.
- a low ignition propensity cigarette paper comprising base cigarette paper having a basis weight exceeding 22 g/m 2 , and a plurality of burn limiting areas arranged apart from one another on one surface of the base cigarette paper, wherein the burn limiting areas are each formed by applying sodium alginate whose 3% by weight aqueous solution exhibits a viscosity of 19000 cP or more as measured at 25°C.
- a low ignition propensity cigarette paper comprising base cigarette paper containing a filler in an amount of 2 g/m 2 or more, and having a basis weight exceeding 22 g/m 2 and an inherent air permeability of 30 to 60 CORESTA units, and a plurality of burn limiting areas arranged apart from one another on one surface of the base cigarette paper, wherein the burn limiting areas are each formed by applying sodium alginate in an amount less than 3 g/m 2 , and the cigarette paper provides a cigarette exhibiting a PFLB value of 0 to 10% when measured according to ASTM E-2187-04.
- a cigarette paper of the present invention is a paper in which a plurality of burn limiting areas where a burn limiting agent constituted of sodium alginate is applied are provided apart from on another on a base cigarette paper.
- the base cigarette paper is ordinary cigarette paper using, as the base, ordinary pulp such as flax pulp.
- Such base cigarette paper may contain a generally used filler, including a carbonate such as calcium carbonate or potassium carbonate and a hydroxide such as calcium hydroxide or magnesium hydroxide in an amount of 2 g/m 2 or more.
- the filler may be contained in an amount of 2 to 8 g/m 2 in the base cigarette paper.
- the base cigarette paper usually has a basis weight exceeding 22 g/m 2 .
- the basis weight is usually 80 g/m 2 or less and preferably more than 20 g/m 2 but 28 g/m 2 or less.
- the inherent air permeability of the base cigarette paper is usually 30 to 60 CORESTA units.
- the base cigarette paper may be added with a burn adjusting agent such as citric acid or its salt (a sodium salt, potassium salt).
- a burn adjusting agent such as citric acid or its salt (a sodium salt, potassium salt).
- the burn adjusting agent if added, is used in an amount of 2% by weight or less in the base paper.
- a plurality of burn limiting areas which are respectively formed by application of a burn limiting agent (sodium alginate), are arranged apart from one another on one surface of the base cigarette paper.
- these burn limiting areas may extend in the longitudinal direction of the tobacco rod, so that they are arranged in the form of plural stripes apart from one another in the direction of the circumference of the tobacco rod.
- these burning areas may extend in the circumferential direction of the tobacco rod, so that they are arranged in the form of plural circular bands apart from one another in the longitudinal direction of the tobacco rod.
- sodium alginate is used as the burn limiting agent.
- Alginic acid is polyuronic acid consisting of two types of monomers, ⁇ -D-mannuronic acid and ⁇ -L-guluronic acid.
- a sodium salt of alginic acid having a degree of polymerization of 500 to 900 is used.
- sodium alginate whose 3% by weight aqueous 3% solution exhibits a viscosity of 19000 cP or more when measured at 25°C is used. The degree of polymerization and viscosity of alginic acid are correlated with each other to some extent.
- the same level of reduced ignition propensities can be attained even in a smaller coating amount than in the case of using other sodium alginate.
- the above viscosity is usually 40000 cP or less.
- the total coating amount (dry basis) of the sodium alginate burn limiting agent is less than 3g per m 2 of the coating area.
- a coating amount of as low as 0.2 to 2 g/m 2 can achieve sufficiently reduced ignition propensities.
- the cigarette paper according to the invention can provide a cigarette (cigarette in which a tobacco filler is wrapped by the cigarette paper) exhibiting a percent full-length burn (PFLB) of 0 to 10% when measured according to ASTM E-2187-04.
- a cigarette paper according to one embodiment of the invention includes base cigarette paper containing a filler in an amount of 2 g/m 2 or more and having a basis weight exceeding 22 g/m 2 and an inherent air permeability of 30 to 60 CORESTA units, and a plurality of burn limiting areas arranged apart from one another on one surface of the base cigarette paper.
- the burn limiting area is formed by applying sodium alginate in an amount less than 3 g/m 2 .
- a cigarette prepared by winding the cigarette paper around wrapping a tobacco filler rod with this cigarette paper exhibits a PFLB value of 0 to 10% when measured according to ASTM E-2187-04.
- the low ignition propensity cigarette paper of the invention is used to wrap a tobacco rod constituted of a tobacco filler such as shredded tobacco, and usually, the surface to which the burn limiting agent is applied is brought into contact with the tobacco rod.
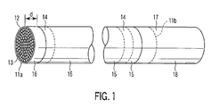
- FIG. 1 illustrates a cigarette wrapped with a cigarette paper to which the burn limiting agent is applied in the form of a circular band.
- a cigarette 10 has a tobacco rod 11 constituted of a tobacco filler 13 wrapped with a base cigarette paper 12 in a columnar shape.
- the tobacco rod 11 usually has a circumferential length of 17 mm to 26 mm and a length of 49 mm to 90 mm.
- An ordinary filter 18 may be fitted to a proximal end (i.e., the downstream end in the smoking direction) 11b of the tobacco rod 11 by using a tipping paper 17 according to an ordinary method.
- a plurality of circular band areas 14 to which burn limiting agents (sodium alginate) are applied are formed on the base cigarette paper 12 and respectively define burn limiting areas. These circular band burn limiting areas 14 are formed apart from one another in the longitudinal direction of the tobacco rod.
- a usual burn area 15 to which no burn adjusting agent is applied is defined between the adjacent band burn limiting areas 14. Since this area 15 is constituted of the part of the base cigarette paper 12, it can be burned in the usual smoking condition like the base cigarette paper 12 itself. Therefore, the area 15 acts as the usual burn area.
- the base cigarette paper 12 may be provided with, for example, two or three circular band burn limiting areas 14. Also, the circular band burn limiting area 14 may have a width of 4 mm to 7 mm in the longitudinal direction and its thickness may usually be 0.1 to 5 ⁇ m. The spacing between the adjacent burn limiting areas 14 is preferably 18 mm to 25 mm.
- no burn limiting agent is applied to an area 16 at a distance d from the distal end of the cigarette.
- the end part where no burn limiting agent is applied constitutes a usual burn area 16 and can correspond to the area burned by one or two puffs of the usual cigarette.
- the distance d may be designed to be 10 mm to 25 mm from the distal end 11a of the tobacco rod. It is not particularly necessary to form the burn limiting area 14 on the inside surface of the cigarette paper corresponding to the part of the cigarette paper 12 covered with the tipping paper 17.
- the cigarette 10 when the cigarette 10 is ignited at the distal end 11a of the cigarette rod 11 and smoked to burn the cigarette, the cigarette can be burned like a usual cigarette in the usual burn area 15 to be able to enjoy a smoking taste.
- inflammables such as a carpet, tatami, wood products, fabrics and clothes
- the fire is extinguished by the heat absorption of the burn limiting area 14 in a burning direction and inflammables in combination with tobacco shreds contained in the tobacco filler, which suppresses the inflammables to catch fire.
- the viscosities shown in Table 1 are results when 200g of a 3% by weight aqueous sodium alginate solution was placed in a 200 mL or 300 mL beaker, which was then placed in a constant-temperature water bath, the aqueous solution was kept at 25 ⁇ 0.5°C, the solution was stirred slowly with a glass rod for about one minute so as not to introduce air bubbles thereinto and was then allowed to stand for 10 minutes, followed by measuring the viscosity of the solution by a B-type viscometer.
- the 3% by weight aqueous sodium alginate solution was applied to (printed on) base cigarette paper (width: 27 mm, length: 1.500m) having a specification as shown in Table 2 so as to have a fixed width of 7 mm in the longitudinal direction in a stripe form at fixed intervals of 20 mm by using a direct gravure system, thereby forming a total of 56 burn limiting agent coating areas.
- the total coating amount of sodium alginate was measured using the following method. The results are shown also in Table 2.
- the cigarette papers obtained in Examples 1 to 6 had the coating amount of the burn limiting agent per m 2 of the area to which the burn limiting agent (sodium alginate) was applied was 1.5 to 2g.
- the coating amount of the burn limiting agent is calculated based on unit area of the cigarette paper, it is 0.39 to 0.52 g/m 2 because the coating amount should be multiplied by 7/27.
- the obtained cigarette paper was used to wrap a tobacco rod made of American blend shreds (amount of tar in the case of setting no filter: 19 to 20 mg) and the obtained tobacco rod was cut such that the first coating area was located with a band space of 5 mm from the burning tip end of the cigarette.
- the length of one cigarette was 59 mm and the cigarette had two burn limiting agent coating areas.
- the obtained cigarette was subjected to an ignition propensity test according to ASTM E-2187-04 to measure the PFLB value. The results are shown in Table 2.
- the coating amount of sodium alginate was measured in the following procedures according to " Quantitative analysis method for sodium alginate in foods" described in "Journal of Food Hygiene", vol. 5, pp. 297-302 (1988 ) without performing defatting, dilute sulfuric acid treatment and deproteinization treatment.
- the cigarette paper (length: 1.500m, width: 27 mm) (about 1.0g) coated with the above burn limiting agent was cut into 5 mm square, added with 40 mL of a 1% by weight aqueous sodium bicarbonate solution, heated at 60°C in a hot bath for 5 minutes and then sufficiently mixed and stirred, followed by centrifugation (3500 rpm, 10 minutes; the same as follows) to obtain a supernatant (extract).
- the extraction residue was extracted again in the same manner as above to obtain a supernatant (extract) and also, 20 mL of a 1% by weight aqueous sodium bicarbonate solution was added to the extraction residue, which was then sufficiently mixed and stirred to obtain a supernatant (extract).
- the obtained three extracts were combined and a 1% by weight aqueous sodium bicarbonate solution was added to the mixed extract to be 100 mL, which was used as a test solution.
- Table 1 Identification symbol of sodium alginate Polymerization degree of alginic acid (Number of monomers) Viscosity (cP) ALG-1 30-180 900 ALG-2 250-400 4700 ALG-3 550-580 19800 ALG-4 650-670 30000 [Table 2] Table 2: Examples Base cigarette paper Burn limiting agent Coating amount of burn limiting agent (g/m 2 ) PFLB (%) Amount of filler (g/m 2 ) Basis weight (g/m 2 ) Amount of burn adjusint agent (% by weight) Air permeability (C.U.) Comp.
- the present invention provides a cigarette paper exhibiting superior reduced ignition propensities.
Landscapes
- Chemical & Material Sciences (AREA)
- Chemical Kinetics & Catalysis (AREA)
- Paper (AREA)
- Cigarettes, Filters, And Manufacturing Of Filters (AREA)
Applications Claiming Priority (2)
| Application Number | Priority Date | Filing Date | Title |
|---|---|---|---|
| JP2006095825 | 2006-03-30 | ||
| PCT/JP2007/055874 WO2007119484A1 (fr) | 2006-03-30 | 2007-03-22 | papier d'emballage pour cigarettes peu combustible |
Publications (4)
| Publication Number | Publication Date |
|---|---|
| EP2000589A2 true EP2000589A2 (fr) | 2008-12-10 |
| EP2000589A9 EP2000589A9 (fr) | 2009-03-25 |
| EP2000589A4 EP2000589A4 (fr) | 2012-03-07 |
| EP2000589B1 EP2000589B1 (fr) | 2013-12-18 |
Family
ID=38609269
Family Applications (1)
| Application Number | Title | Priority Date | Filing Date |
|---|---|---|---|
| EP07739317.1A Not-in-force EP2000589B1 (fr) | 2006-03-30 | 2007-03-22 | Papier d'emballage pour cigarettes peu combustible |
Country Status (12)
| Country | Link |
|---|---|
| US (1) | US20090025742A1 (fr) |
| EP (1) | EP2000589B1 (fr) |
| JP (1) | JP4862041B2 (fr) |
| KR (1) | KR101059329B1 (fr) |
| CN (1) | CN101410571B (fr) |
| CA (1) | CA2645998C (fr) |
| ES (1) | ES2452320T3 (fr) |
| MY (1) | MY153407A (fr) |
| RU (1) | RU2372820C1 (fr) |
| TW (1) | TWI354048B (fr) |
| UA (1) | UA91125C2 (fr) |
| WO (1) | WO2007119484A1 (fr) |
Cited By (2)
| Publication number | Priority date | Publication date | Assignee | Title |
|---|---|---|---|---|
| RU2476128C1 (ru) * | 2009-07-07 | 2013-02-27 | Джапан Тобакко Инк. | Способ и устройство для изготовления оберточной бумаги для сигарет |
| US8568896B2 (en) | 2009-11-25 | 2013-10-29 | Japan Tobacco Inc. | Low ignition propensity wrapping paper and method and machine of manufacturing same |
Families Citing this family (15)
| Publication number | Priority date | Publication date | Assignee | Title |
|---|---|---|---|---|
| CA2713424C (fr) | 2008-02-08 | 2012-07-03 | Japan Tobacco Inc. | Procede de fabrication de materiau d'emballage de cigarette |
| JP2009191393A (ja) * | 2008-02-13 | 2009-08-27 | Rengo Co Ltd | たばこ用巻紙 |
| ES2556761T3 (es) * | 2008-05-16 | 2016-01-20 | Japan Tobacco, Inc. | Procedimiento para producir papel de fumar que tiene baja tendencia a la ignición |
| US8297786B2 (en) | 2008-07-10 | 2012-10-30 | Oree, Inc. | Slim waveguide coupling apparatus and method |
| DE102010026178A1 (de) | 2010-07-06 | 2012-01-12 | Tews Elektronik Gmbh & Co. Kg | Vorrichtung zur Herstellung von Zigaretten in der tabakverarbeitenden Industrie sowie ein Verfahren hierzu |
| CN102174779B (zh) * | 2011-03-18 | 2012-06-27 | 云南烟草科学研究院 | 一种降低低引燃倾向卷烟纸阻燃胶粘度的方法 |
| CN102493285B (zh) * | 2011-12-02 | 2013-10-30 | 牡丹江恒丰纸业股份有限公司 | 一种阻燃剂、具有阻燃带的卷烟纸及该卷烟纸的制备方法 |
| WO2014006501A1 (fr) | 2012-07-03 | 2014-01-09 | Yosi Shani | Appareil d'éclairage au phosphore distant planaire |
| DE102012106154B4 (de) * | 2012-07-09 | 2014-06-12 | Delfortgroup Ag | Zigarettenpapier mit verbesserter Luftdurchlässigkeit, Zigarette und Verfahren zum Herstellen eines Zigarettenpapiers |
| KR101480506B1 (ko) * | 2012-10-09 | 2015-01-08 | 주식회사 케이티앤지 | 저발화성 궐련지 및 이를 포함하는 담배 |
| PL3446573T3 (pl) * | 2017-08-24 | 2021-05-04 | Jt International S.A. | Papier owijający do wyrobu do palenia |
| AU2021253824A1 (en) * | 2020-04-07 | 2022-10-20 | Swm Luxembourg | Non-combustible wrapper for use in heat but not burn applications |
| CN112385883B (zh) * | 2020-11-17 | 2022-11-04 | 云南中烟工业有限责任公司 | 一种用于电磁加热的加热不燃烧卷烟纸及其制备和用途 |
| GB202115008D0 (en) * | 2021-10-20 | 2021-12-01 | Nicoventures Trading Ltd | Article with combustion retarding properties and uses thereof |
| WO2025115173A1 (fr) * | 2023-11-30 | 2025-06-05 | 日本たばこ産業株式会社 | Article de génération d'arôme de type sans combustion |
Family Cites Families (8)
| Publication number | Priority date | Publication date | Assignee | Title |
|---|---|---|---|---|
| GB1524211A (en) * | 1975-01-09 | 1978-09-06 | British American Tobacco Co | Smoking articles |
| US5820998A (en) * | 1994-03-08 | 1998-10-13 | Schweitzer-Mauduit International, Inc. | Coated paper and process for making the same |
| WO1997009483A1 (fr) * | 1995-09-07 | 1997-03-13 | Japan Tobacco Inc. | Papier a cigarette pour produits a base de tabac |
| JP2000157245A (ja) * | 1998-11-24 | 2000-06-13 | Mishima Paper Co Ltd | 高燃焼性たばこ用巻紙 |
| EP2127544B1 (fr) * | 2000-11-13 | 2012-06-27 | Schweitzer-Mauduit International | Papier d'emballage et article à fumer dotés de propriétés de propension à l'allumage réduites |
| US20020179106A1 (en) * | 2001-03-28 | 2002-12-05 | Zawadzki Michael A. | Reduced ignition propensity smoking article with a polysaccharide treated wrapper |
| US6779530B2 (en) * | 2002-01-23 | 2004-08-24 | Schweitzer-Mauduit International, Inc. | Smoking articles with reduced ignition proclivity characteristics |
| JP2003310232A (ja) * | 2002-04-24 | 2003-11-05 | Japan Tobacco Inc | 巻紙検査装置 |
-
2007
- 2007-03-22 KR KR1020087023240A patent/KR101059329B1/ko not_active Expired - Fee Related
- 2007-03-22 EP EP07739317.1A patent/EP2000589B1/fr not_active Not-in-force
- 2007-03-22 MY MYPI20083634A patent/MY153407A/en unknown
- 2007-03-22 WO PCT/JP2007/055874 patent/WO2007119484A1/fr not_active Ceased
- 2007-03-22 UA UAA200811650A patent/UA91125C2/uk unknown
- 2007-03-22 CA CA2645998A patent/CA2645998C/fr not_active Expired - Fee Related
- 2007-03-22 CN CN2007800114655A patent/CN101410571B/zh not_active Expired - Fee Related
- 2007-03-22 ES ES07739317.1T patent/ES2452320T3/es active Active
- 2007-03-22 JP JP2008510841A patent/JP4862041B2/ja not_active Expired - Fee Related
- 2007-03-22 RU RU2008138704/12A patent/RU2372820C1/ru not_active IP Right Cessation
- 2007-03-28 TW TW096110703A patent/TWI354048B/zh not_active IP Right Cessation
-
2008
- 2008-09-25 US US12/238,247 patent/US20090025742A1/en not_active Abandoned
Cited By (2)
| Publication number | Priority date | Publication date | Assignee | Title |
|---|---|---|---|---|
| RU2476128C1 (ru) * | 2009-07-07 | 2013-02-27 | Джапан Тобакко Инк. | Способ и устройство для изготовления оберточной бумаги для сигарет |
| US8568896B2 (en) | 2009-11-25 | 2013-10-29 | Japan Tobacco Inc. | Low ignition propensity wrapping paper and method and machine of manufacturing same |
Also Published As
| Publication number | Publication date |
|---|---|
| JPWO2007119484A1 (ja) | 2009-08-27 |
| CA2645998C (fr) | 2012-05-15 |
| KR101059329B1 (ko) | 2011-08-24 |
| EP2000589A4 (fr) | 2012-03-07 |
| EP2000589A9 (fr) | 2009-03-25 |
| CN101410571A (zh) | 2009-04-15 |
| UA91125C2 (uk) | 2010-06-25 |
| TWI354048B (en) | 2011-12-11 |
| US20090025742A1 (en) | 2009-01-29 |
| HK1126261A1 (en) | 2009-08-28 |
| TW200806853A (en) | 2008-02-01 |
| KR20080095304A (ko) | 2008-10-28 |
| JP4862041B2 (ja) | 2012-01-25 |
| WO2007119484A1 (fr) | 2007-10-25 |
| MY153407A (en) | 2015-02-13 |
| CA2645998A1 (fr) | 2007-10-25 |
| CN101410571B (zh) | 2012-05-30 |
| ES2452320T3 (es) | 2014-03-31 |
| EP2000589B1 (fr) | 2013-12-18 |
| RU2372820C1 (ru) | 2009-11-20 |
Similar Documents
| Publication | Publication Date | Title |
|---|---|---|
| EP2000589B1 (fr) | Papier d'emballage pour cigarettes peu combustible | |
| EP1867782B1 (fr) | Papier de cigarette a faible propagation du feu | |
| CN101646360B (zh) | 具有减小扩散导致降低引燃倾向特性的用于烟制品的包卷材料 | |
| EP2278069B1 (fr) | Processus de fabrication de papier pour filtres à cigarette à faible inflammabilité | |
| US9903071B2 (en) | Low flame-spreading cigarette paper | |
| US8302612B2 (en) | Low ignition propensity cigarette paper | |
| HK1126261B (en) | Low ignition propensity cigarette paper |
Legal Events
| Date | Code | Title | Description |
|---|---|---|---|
| PUAI | Public reference made under article 153(3) epc to a published international application that has entered the european phase |
Free format text: ORIGINAL CODE: 0009012 |
|
| 17P | Request for examination filed |
Effective date: 20080908 |
|
| AK | Designated contracting states |
Kind code of ref document: A2 Designated state(s): AT BE BG CH CY CZ DE DK EE ES FI FR GB GR HU IE IS IT LI LT LU LV MC MT NL PL PT RO SE SI SK TR |
|
| PUAB | Information related to the publication of an a document modified or deleted |
Free format text: ORIGINAL CODE: 0009199EPPU |
|
| A4 | Supplementary search report drawn up and despatched |
Effective date: 20120208 |
|
| RIC1 | Information provided on ipc code assigned before grant |
Ipc: D21H 27/00 20060101AFI20120203BHEP Ipc: A24D 1/02 20060101ALI20120203BHEP Ipc: A24D 1/10 20060101ALI20120203BHEP Ipc: D21H 19/24 20060101ALI20120203BHEP Ipc: D21H 19/10 20060101ALI20120203BHEP |
|
| DAX | Request for extension of the european patent (deleted) | ||
| 17Q | First examination report despatched |
Effective date: 20120727 |
|
| GRAP | Despatch of communication of intention to grant a patent |
Free format text: ORIGINAL CODE: EPIDOSNIGR1 |
|
| INTG | Intention to grant announced |
Effective date: 20130723 |
|
| GRAS | Grant fee paid |
Free format text: ORIGINAL CODE: EPIDOSNIGR3 |
|
| GRAA | (expected) grant |
Free format text: ORIGINAL CODE: 0009210 |
|
| AK | Designated contracting states |
Kind code of ref document: B1 Designated state(s): AT BE BG CH CY CZ DE DK EE ES FI FR GB GR HU IE IS IT LI LT LU LV MC MT NL PL PT RO SE SI SK TR |
|
| REG | Reference to a national code |
Ref country code: GB Ref legal event code: FG4D |
|
| REG | Reference to a national code |
Ref country code: CH Ref legal event code: NV Representative=s name: NOVAGRAAF INTERNATIONAL SA, CH Ref country code: CH Ref legal event code: EP |
|
| REG | Reference to a national code |
Ref country code: AT Ref legal event code: REF Ref document number: 645716 Country of ref document: AT Kind code of ref document: T Effective date: 20140115 |
|
| REG | Reference to a national code |
Ref country code: IE Ref legal event code: FG4D |
|
| REG | Reference to a national code |
Ref country code: RO Ref legal event code: EPE |
|
| REG | Reference to a national code |
Ref country code: DE Ref legal event code: R096 Ref document number: 602007034321 Country of ref document: DE Effective date: 20140213 |
|
| REG | Reference to a national code |
Ref country code: GR Ref legal event code: EP Ref document number: 20130402730 Country of ref document: GR Effective date: 20140124 |
|
| REG | Reference to a national code |
Ref country code: NL Ref legal event code: T3 |
|
| REG | Reference to a national code |
Ref country code: SE Ref legal event code: TRGR |
|
| REG | Reference to a national code |
Ref country code: ES Ref legal event code: FG2A Ref document number: 2452320 Country of ref document: ES Kind code of ref document: T3 Effective date: 20140331 |
|
| PG25 | Lapsed in a contracting state [announced via postgrant information from national office to epo] |
Ref country code: FI Free format text: LAPSE BECAUSE OF FAILURE TO SUBMIT A TRANSLATION OF THE DESCRIPTION OR TO PAY THE FEE WITHIN THE PRESCRIBED TIME-LIMIT Effective date: 20131218 Ref country code: LT Free format text: LAPSE BECAUSE OF FAILURE TO SUBMIT A TRANSLATION OF THE DESCRIPTION OR TO PAY THE FEE WITHIN THE PRESCRIBED TIME-LIMIT Effective date: 20131218 |
|
| REG | Reference to a national code |
Ref country code: LT Ref legal event code: MG4D |
|
| PG25 | Lapsed in a contracting state [announced via postgrant information from national office to epo] |
Ref country code: LV Free format text: LAPSE BECAUSE OF FAILURE TO SUBMIT A TRANSLATION OF THE DESCRIPTION OR TO PAY THE FEE WITHIN THE PRESCRIBED TIME-LIMIT Effective date: 20131218 |
|
| PG25 | Lapsed in a contracting state [announced via postgrant information from national office to epo] |
Ref country code: EE Free format text: LAPSE BECAUSE OF FAILURE TO SUBMIT A TRANSLATION OF THE DESCRIPTION OR TO PAY THE FEE WITHIN THE PRESCRIBED TIME-LIMIT Effective date: 20131218 Ref country code: IS Free format text: LAPSE BECAUSE OF FAILURE TO SUBMIT A TRANSLATION OF THE DESCRIPTION OR TO PAY THE FEE WITHIN THE PRESCRIBED TIME-LIMIT Effective date: 20140418 |
|
| PG25 | Lapsed in a contracting state [announced via postgrant information from national office to epo] |
Ref country code: PL Free format text: LAPSE BECAUSE OF FAILURE TO SUBMIT A TRANSLATION OF THE DESCRIPTION OR TO PAY THE FEE WITHIN THE PRESCRIBED TIME-LIMIT Effective date: 20131218 Ref country code: CY Free format text: LAPSE BECAUSE OF FAILURE TO SUBMIT A TRANSLATION OF THE DESCRIPTION OR TO PAY THE FEE WITHIN THE PRESCRIBED TIME-LIMIT Effective date: 20131218 Ref country code: PT Free format text: LAPSE BECAUSE OF FAILURE TO SUBMIT A TRANSLATION OF THE DESCRIPTION OR TO PAY THE FEE WITHIN THE PRESCRIBED TIME-LIMIT Effective date: 20140418 Ref country code: SK Free format text: LAPSE BECAUSE OF FAILURE TO SUBMIT A TRANSLATION OF THE DESCRIPTION OR TO PAY THE FEE WITHIN THE PRESCRIBED TIME-LIMIT Effective date: 20131218 Ref country code: CZ Free format text: LAPSE BECAUSE OF FAILURE TO SUBMIT A TRANSLATION OF THE DESCRIPTION OR TO PAY THE FEE WITHIN THE PRESCRIBED TIME-LIMIT Effective date: 20131218 |
|
| REG | Reference to a national code |
Ref country code: DE Ref legal event code: R097 Ref document number: 602007034321 Country of ref document: DE |
|
| PLBE | No opposition filed within time limit |
Free format text: ORIGINAL CODE: 0009261 |
|
| STAA | Information on the status of an ep patent application or granted ep patent |
Free format text: STATUS: NO OPPOSITION FILED WITHIN TIME LIMIT |
|
| PG25 | Lapsed in a contracting state [announced via postgrant information from national office to epo] |
Ref country code: DK Free format text: LAPSE BECAUSE OF FAILURE TO SUBMIT A TRANSLATION OF THE DESCRIPTION OR TO PAY THE FEE WITHIN THE PRESCRIBED TIME-LIMIT Effective date: 20131218 Ref country code: LU Free format text: LAPSE BECAUSE OF FAILURE TO SUBMIT A TRANSLATION OF THE DESCRIPTION OR TO PAY THE FEE WITHIN THE PRESCRIBED TIME-LIMIT Effective date: 20140322 |
|
| 26N | No opposition filed |
Effective date: 20140919 |
|
| REG | Reference to a national code |
Ref country code: DE Ref legal event code: R097 Ref document number: 602007034321 Country of ref document: DE Effective date: 20140919 |
|
| PG25 | Lapsed in a contracting state [announced via postgrant information from national office to epo] |
Ref country code: SI Free format text: LAPSE BECAUSE OF FAILURE TO SUBMIT A TRANSLATION OF THE DESCRIPTION OR TO PAY THE FEE WITHIN THE PRESCRIBED TIME-LIMIT Effective date: 20131218 |
|
| REG | Reference to a national code |
Ref country code: FR Ref legal event code: PLFP Year of fee payment: 10 |
|
| PG25 | Lapsed in a contracting state [announced via postgrant information from national office to epo] |
Ref country code: MT Free format text: LAPSE BECAUSE OF FAILURE TO SUBMIT A TRANSLATION OF THE DESCRIPTION OR TO PAY THE FEE WITHIN THE PRESCRIBED TIME-LIMIT Effective date: 20131218 |
|
| PG25 | Lapsed in a contracting state [announced via postgrant information from national office to epo] |
Ref country code: BG Free format text: LAPSE BECAUSE OF FAILURE TO SUBMIT A TRANSLATION OF THE DESCRIPTION OR TO PAY THE FEE WITHIN THE PRESCRIBED TIME-LIMIT Effective date: 20131218 Ref country code: MC Free format text: LAPSE BECAUSE OF FAILURE TO SUBMIT A TRANSLATION OF THE DESCRIPTION OR TO PAY THE FEE WITHIN THE PRESCRIBED TIME-LIMIT Effective date: 20131218 |
|
| PG25 | Lapsed in a contracting state [announced via postgrant information from national office to epo] |
Ref country code: HU Free format text: LAPSE BECAUSE OF FAILURE TO SUBMIT A TRANSLATION OF THE DESCRIPTION OR TO PAY THE FEE WITHIN THE PRESCRIBED TIME-LIMIT; INVALID AB INITIO Effective date: 20070322 |
|
| REG | Reference to a national code |
Ref country code: FR Ref legal event code: PLFP Year of fee payment: 11 |
|
| REG | Reference to a national code |
Ref country code: FR Ref legal event code: PLFP Year of fee payment: 12 |
|
| PGFP | Annual fee paid to national office [announced via postgrant information from national office to epo] |
Ref country code: IT Payment date: 20190322 Year of fee payment: 13 Ref country code: CH Payment date: 20190329 Year of fee payment: 13 Ref country code: GB Payment date: 20190320 Year of fee payment: 13 Ref country code: IE Payment date: 20190128 Year of fee payment: 13 Ref country code: DE Payment date: 20190329 Year of fee payment: 13 Ref country code: NL Payment date: 20190130 Year of fee payment: 13 Ref country code: RO Payment date: 20190319 Year of fee payment: 13 Ref country code: FR Payment date: 20190131 Year of fee payment: 13 |
|
| PGFP | Annual fee paid to national office [announced via postgrant information from national office to epo] |
Ref country code: AT Payment date: 20190220 Year of fee payment: 13 Ref country code: BE Payment date: 20190129 Year of fee payment: 13 Ref country code: GR Payment date: 20190124 Year of fee payment: 13 Ref country code: TR Payment date: 20190125 Year of fee payment: 13 Ref country code: SE Payment date: 20190318 Year of fee payment: 13 |
|
| PGFP | Annual fee paid to national office [announced via postgrant information from national office to epo] |
Ref country code: ES Payment date: 20190403 Year of fee payment: 13 |
|
| REG | Reference to a national code |
Ref country code: DE Ref legal event code: R119 Ref document number: 602007034321 Country of ref document: DE |
|
| PG25 | Lapsed in a contracting state [announced via postgrant information from national office to epo] |
Ref country code: RO Free format text: LAPSE BECAUSE OF NON-PAYMENT OF DUE FEES Effective date: 20200322 |
|
| REG | Reference to a national code |
Ref country code: CH Ref legal event code: PL |
|
| REG | Reference to a national code |
Ref country code: NL Ref legal event code: MM Effective date: 20200401 |
|
| REG | Reference to a national code |
Ref country code: AT Ref legal event code: MM01 Ref document number: 645716 Country of ref document: AT Kind code of ref document: T Effective date: 20200322 |
|
| REG | Reference to a national code |
Ref country code: BE Ref legal event code: MM Effective date: 20200331 |
|
| PG25 | Lapsed in a contracting state [announced via postgrant information from national office to epo] |
Ref country code: NL Free format text: LAPSE BECAUSE OF NON-PAYMENT OF DUE FEES Effective date: 20200401 |
|
| PG25 | Lapsed in a contracting state [announced via postgrant information from national office to epo] |
Ref country code: LI Free format text: LAPSE BECAUSE OF NON-PAYMENT OF DUE FEES Effective date: 20200331 Ref country code: DE Free format text: LAPSE BECAUSE OF NON-PAYMENT OF DUE FEES Effective date: 20201001 Ref country code: IE Free format text: LAPSE BECAUSE OF NON-PAYMENT OF DUE FEES Effective date: 20200322 Ref country code: GR Free format text: LAPSE BECAUSE OF NON-PAYMENT OF DUE FEES Effective date: 20201008 Ref country code: FR Free format text: LAPSE BECAUSE OF NON-PAYMENT OF DUE FEES Effective date: 20200331 Ref country code: CH Free format text: LAPSE BECAUSE OF NON-PAYMENT OF DUE FEES Effective date: 20200331 Ref country code: SE Free format text: LAPSE BECAUSE OF NON-PAYMENT OF DUE FEES Effective date: 20200323 Ref country code: AT Free format text: LAPSE BECAUSE OF NON-PAYMENT OF DUE FEES Effective date: 20200322 |
|
| PG25 | Lapsed in a contracting state [announced via postgrant information from national office to epo] |
Ref country code: BE Free format text: LAPSE BECAUSE OF NON-PAYMENT OF DUE FEES Effective date: 20200331 |
|
| GBPC | Gb: european patent ceased through non-payment of renewal fee |
Effective date: 20200322 |
|
| PG25 | Lapsed in a contracting state [announced via postgrant information from national office to epo] |
Ref country code: GB Free format text: LAPSE BECAUSE OF NON-PAYMENT OF DUE FEES Effective date: 20200322 |
|
| REG | Reference to a national code |
Ref country code: ES Ref legal event code: FD2A Effective date: 20210806 |
|
| PG25 | Lapsed in a contracting state [announced via postgrant information from national office to epo] |
Ref country code: IT Free format text: LAPSE BECAUSE OF NON-PAYMENT OF DUE FEES Effective date: 20200322 |
|
| PG25 | Lapsed in a contracting state [announced via postgrant information from national office to epo] |
Ref country code: ES Free format text: LAPSE BECAUSE OF NON-PAYMENT OF DUE FEES Effective date: 20200323 |
|
| PG25 | Lapsed in a contracting state [announced via postgrant information from national office to epo] |
Ref country code: TR Free format text: LAPSE BECAUSE OF NON-PAYMENT OF DUE FEES Effective date: 20200322 |