EP1997471B2 - Vorrichtung für die automatische Zubereitung eines Arzneimittels und entsprechendes Zubereitungsverfahren - Google Patents

Vorrichtung für die automatische Zubereitung eines Arzneimittels und entsprechendes Zubereitungsverfahren Download PDF

Info

Publication number
EP1997471B2
EP1997471B2 EP08157120.0A EP08157120A EP1997471B2 EP 1997471 B2 EP1997471 B2 EP 1997471B2 EP 08157120 A EP08157120 A EP 08157120A EP 1997471 B2 EP1997471 B2 EP 1997471B2
Authority
EP
European Patent Office
Prior art keywords
container
drug
intake
control unit
components
Prior art date
Legal status (The legal status is an assumption and is not a legal conclusion. Google has not performed a legal analysis and makes no representation as to the accuracy of the status listed.)
Active
Application number
EP08157120.0A
Other languages
English (en)
French (fr)
Other versions
EP1997471A1 (de
EP1997471B1 (de
Inventor
Luigino De Marco
Renzo Lazzarini
Current Assignee (The listed assignees may be inaccurate. Google has not performed a legal analysis and makes no representation or warranty as to the accuracy of the list.)
ISITEC Srl
Original Assignee
ISITEC Srl
Priority date (The priority date is an assumption and is not a legal conclusion. Google has not performed a legal analysis and makes no representation as to the accuracy of the date listed.)
Filing date
Publication date
Family has litigation
First worldwide family litigation filed litigation Critical https://patents.darts-ip.com/?family=39744037&utm_source=google_patent&utm_medium=platform_link&utm_campaign=public_patent_search&patent=EP1997471(B2) "Global patent litigation dataset” by Darts-ip is licensed under a Creative Commons Attribution 4.0 International License.
Application filed by ISITEC Srl filed Critical ISITEC Srl
Publication of EP1997471A1 publication Critical patent/EP1997471A1/de
Application granted granted Critical
Publication of EP1997471B1 publication Critical patent/EP1997471B1/de
Publication of EP1997471B2 publication Critical patent/EP1997471B2/de
Active legal-status Critical Current
Anticipated expiration legal-status Critical

Links

Images

Classifications

    • BPERFORMING OPERATIONS; TRANSPORTING
    • B01PHYSICAL OR CHEMICAL PROCESSES OR APPARATUS IN GENERAL
    • B01FMIXING, e.g. DISSOLVING, EMULSIFYING OR DISPERSING
    • B01F35/00Accessories for mixers; Auxiliary operations or auxiliary devices; Parts or details of general application
    • B01F35/71Feed mechanisms
    • B01F35/712Feed mechanisms for feeding fluids
    • AHUMAN NECESSITIES
    • A61MEDICAL OR VETERINARY SCIENCE; HYGIENE
    • A61JCONTAINERS SPECIALLY ADAPTED FOR MEDICAL OR PHARMACEUTICAL PURPOSES; DEVICES OR METHODS SPECIALLY ADAPTED FOR BRINGING PHARMACEUTICAL PRODUCTS INTO PARTICULAR PHYSICAL OR ADMINISTERING FORMS; DEVICES FOR ADMINISTERING FOOD OR MEDICINES ORALLY; BABY COMFORTERS; DEVICES FOR RECEIVING SPITTLE
    • A61J1/00Containers specially adapted for medical or pharmaceutical purposes
    • A61J1/14Details; Accessories therefor
    • A61J1/20Arrangements for transferring or mixing fluids, e.g. from vial to syringe
    • A61J1/2096Combination of a vial and a syringe for transferring or mixing their contents
    • BPERFORMING OPERATIONS; TRANSPORTING
    • B01PHYSICAL OR CHEMICAL PROCESSES OR APPARATUS IN GENERAL
    • B01FMIXING, e.g. DISSOLVING, EMULSIFYING OR DISPERSING
    • B01F33/00Other mixers; Mixing plants; Combinations of mixers
    • B01F33/50Movable or transportable mixing devices or plants
    • B01F33/501Movable mixing devices, i.e. readily shifted or displaced from one place to another, e.g. portable during use
    • B01F33/5011Movable mixing devices, i.e. readily shifted or displaced from one place to another, e.g. portable during use portable during use, e.g. hand-held
    • BPERFORMING OPERATIONS; TRANSPORTING
    • B01PHYSICAL OR CHEMICAL PROCESSES OR APPARATUS IN GENERAL
    • B01FMIXING, e.g. DISSOLVING, EMULSIFYING OR DISPERSING
    • B01F33/00Other mixers; Mixing plants; Combinations of mixers
    • B01F33/50Movable or transportable mixing devices or plants
    • B01F33/501Movable mixing devices, i.e. readily shifted or displaced from one place to another, e.g. portable during use
    • B01F33/5011Movable mixing devices, i.e. readily shifted or displaced from one place to another, e.g. portable during use portable during use, e.g. hand-held
    • B01F33/50112Movable mixing devices, i.e. readily shifted or displaced from one place to another, e.g. portable during use portable during use, e.g. hand-held of the syringe or cartridge type
    • BPERFORMING OPERATIONS; TRANSPORTING
    • B01PHYSICAL OR CHEMICAL PROCESSES OR APPARATUS IN GENERAL
    • B01FMIXING, e.g. DISSOLVING, EMULSIFYING OR DISPERSING
    • B01F33/00Other mixers; Mixing plants; Combinations of mixers
    • B01F33/80Mixing plants; Combinations of mixers
    • B01F33/84Mixing plants with mixing receptacles receiving material dispensed from several component receptacles, e.g. paint tins
    • BPERFORMING OPERATIONS; TRANSPORTING
    • B01PHYSICAL OR CHEMICAL PROCESSES OR APPARATUS IN GENERAL
    • B01FMIXING, e.g. DISSOLVING, EMULSIFYING OR DISPERSING
    • B01F35/00Accessories for mixers; Auxiliary operations or auxiliary devices; Parts or details of general application
    • B01F35/71Feed mechanisms
    • BPERFORMING OPERATIONS; TRANSPORTING
    • B01PHYSICAL OR CHEMICAL PROCESSES OR APPARATUS IN GENERAL
    • B01FMIXING, e.g. DISSOLVING, EMULSIFYING OR DISPERSING
    • B01F35/00Accessories for mixers; Auxiliary operations or auxiliary devices; Parts or details of general application
    • B01F35/71Feed mechanisms
    • B01F35/713Feed mechanisms comprising breaking packages or parts thereof, e.g. piercing or opening sealing elements between compartments or cartridges
    • B01F35/7131Breaking or perforating packages, containers or vials
    • BPERFORMING OPERATIONS; TRANSPORTING
    • B01PHYSICAL OR CHEMICAL PROCESSES OR APPARATUS IN GENERAL
    • B01FMIXING, e.g. DISSOLVING, EMULSIFYING OR DISPERSING
    • B01F35/00Accessories for mixers; Auxiliary operations or auxiliary devices; Parts or details of general application
    • B01F35/71Feed mechanisms
    • B01F35/714Feed mechanisms for feeding predetermined amounts
    • BPERFORMING OPERATIONS; TRANSPORTING
    • B01PHYSICAL OR CHEMICAL PROCESSES OR APPARATUS IN GENERAL
    • B01FMIXING, e.g. DISSOLVING, EMULSIFYING OR DISPERSING
    • B01F35/00Accessories for mixers; Auxiliary operations or auxiliary devices; Parts or details of general application
    • B01F35/71Feed mechanisms
    • B01F35/717Feed mechanisms characterised by the means for feeding the components to the mixer
    • B01F35/7174Feed mechanisms characterised by the means for feeding the components to the mixer using pistons, plungers or syringes
    • BPERFORMING OPERATIONS; TRANSPORTING
    • B01PHYSICAL OR CHEMICAL PROCESSES OR APPARATUS IN GENERAL
    • B01FMIXING, e.g. DISSOLVING, EMULSIFYING OR DISPERSING
    • B01F35/00Accessories for mixers; Auxiliary operations or auxiliary devices; Parts or details of general application
    • B01F35/75Discharge mechanisms
    • B01F35/754Discharge mechanisms characterised by the means for discharging the components from the mixer
    • B01F35/75425Discharge mechanisms characterised by the means for discharging the components from the mixer using pistons or plungers
    • B01F35/754251Discharge mechanisms characterised by the means for discharging the components from the mixer using pistons or plungers reciprocating in the mixing receptacle
    • AHUMAN NECESSITIES
    • A61MEDICAL OR VETERINARY SCIENCE; HYGIENE
    • A61JCONTAINERS SPECIALLY ADAPTED FOR MEDICAL OR PHARMACEUTICAL PURPOSES; DEVICES OR METHODS SPECIALLY ADAPTED FOR BRINGING PHARMACEUTICAL PRODUCTS INTO PARTICULAR PHYSICAL OR ADMINISTERING FORMS; DEVICES FOR ADMINISTERING FOOD OR MEDICINES ORALLY; BABY COMFORTERS; DEVICES FOR RECEIVING SPITTLE
    • A61J3/00Devices or methods specially adapted for bringing pharmaceutical products into particular physical or administering forms
    • A61J3/002Compounding apparatus specially for enteral or parenteral nutritive solutions

Definitions

  • the present invention concerns an apparatus for the automatic preparation of a drug and the relative method of preparation.
  • the present invention is used for the preparation and dosage of liquid homogeneous solutions or dispersions of chemical products, of synthetic or natural origin, in order to prepare solutions for clinical use in the human and veterinary field or for industrial use.
  • a first difficulty is connected to the fact that the prescription of a drug to a patient in chemotherapy occurs after his clinical state has been evaluated and the prescribed doses must be confirmed by a medical examination with every cycle. Consequently, the unit responsible for the preparation of the drug with the particular dosage must prepare solutions, which are always personalized and different each time, of the drug with the correct dosage. This has to be done very quickly, and often in great quantities, and so as to allow the nursing staff then to administer the therapies during working hours, often in a day hospital.
  • Another difficulty is connected to the variety of molecules used and the need to control the delivery of the preparations, according to how they will be used within the stability period that is characteristic of each preparation.
  • the number of solutions prepared a year can be in the order of several tens of thousands, with some dozens of different molecules, of which a large part in everyday use.
  • Another difficulty is the need to guarantee absolutely sterile conditions in every step of the preparation cycle.
  • the drugs, or their components, are supplied in containers with doses that vary between about 50% and 150% of the average individual daily dose.
  • doses that vary between about 50% and 150% of the average individual daily dose.
  • the complexity of the therapeutic protocols may even entail the use of five different active principles, distributed over several days.
  • the operation to prepare the drug consists in taking a solution containing the drug from a container located in an extractor hood, using a sterile syringe, and controlling visually, on the graduated scale of the syringe, the volume of the solution picked up.
  • the accuracy of the assessment depends on the optical aberrations due to the parallax error in the alignment between the operator's eye and the graduated scale of the syringe. This mistake can be accentuated, if the interference of the glass of the extractor hood is taken into account.
  • the solution taken is further diluted and infused through an injection point into a sac or container made of deformable plastic material.
  • the dosage must be extremely accurate, according to the measuring instruments used, such as sterile syringes and connection sets between the syringe and the containers. Care must also be taken to keep the products sterile by means of methodical disinfection standards. For example, the work place is protected by adequate techniques to prevent the production of spray during the dilution, intake and preparation of the drug.
  • extractor hoods and individual protection devices such as gloves, work uniform and mask, allows to protect the operator and the work spaces but, at the same time, it limits spaces available for maneuver and makes the dosing operations not very easy, especially if we consider that these operations are repeated by the operator many times in the course of the working day.
  • the repetitiveness of the operation and the familiarity acquired by the operator in handling the components of the drug also lead to a drop in attention of the operator, which increases the probability of mistakes.
  • the manual operation could be mistaken due to an exchange of the solutions used or to a mistake in the dosage. In fact, the solutions are mostly colorless or have similar colors and packaging. If a mistake is made, it would be impossible to detect it before the drug is administered.
  • the international application WO-A-99/63547 discloses an apparatus for the preparation of radioactive solutions in which a computer controlled syringe pump is used to transfer the solution between reagent vials and to dispense the reagents.
  • Purpose of the present invention is to achieve an apparatus and perfect a relative method that allows to prepare a drug automatically, starting from several components, in an accurate and safe way, both for the patient and for the operator, which is totally sterile, quick and with repeatable results in an accurate manner.
  • the Applicant has devised, tested and embodied the present invention to overcome the shortcomings of the state of the art and to obtain these and other purposes and advantages.
  • an apparatus for the automatic preparation of a drug consisting of at least two components comprises a first container for a first component, a second container for a second component and a third container to receive the drug thus prepared.
  • the apparatus also comprises an intermediate container for the preparation of the drug, connected both to the third container and also, by means of valve means selectively openable and closable, to the first and second containers; an intake/injection device, able to be activated in intake mode in order to take in dosed quantities of the first and second component inside the intermediate container, and able to be activated in injection mode in order to transfer the prepared drug from the intermediate container to the third container; and an electronic control unit suitable to manage automatically and in a coordinated manner the selective activation of the valve means and the intake/injection device.
  • the electronic unit comprises, or is associated with, memorization means able to memorize data relating to predetermined doses of the drug.
  • the apparatus according to the present invention is provided with sensor means able to detect the values of said dosed quantities and to transmit them to the electronic control unit. In this way, from a comparison between the memorized data and the values detected, it is possible to control the correctness of the quantities of the components actually taken in, thus preventing any toxic effect for the patient.
  • the whole preparation operation is automated and does not involve the operator directly, except for the preparation of the containers that feed the components and except in the startup and control of the preparation procedure managed by the electronic control unit.
  • the present invention thus allows to prepare a drug automatically, starting from several components, in an accurate and safe way, both for the patient and for the operator, which is quick and with repeatable results in an accurate manner.
  • the exact quantity of the component taken in is controlled by calibrating the intake/injection device, the containers and the relative connection circuits.
  • the calibration values are inserted into the electronic control unit by the operator responsible for starting each operation to prepare the drug or, preferably, memorized once only in the control unit.
  • any change in the intake/injection device, the containers and the relative connection circuits is detected by said sensor means and signaled to the control unit which, by means of suitable alarm means, for example, acoustic and/or visual, obliges the operator to insert or recall from the memory the corresponding calibration values.
  • suitable alarm means for example, acoustic and/or visual
  • the accuracy of intake and dosage that is thus determined also allows to reduce waste in the components of the drug, allowing a considerable saving in costs.
  • An advantageous variant of the present invention provides to use a dosing syringe, of the sterile type, as an intake/injection device.
  • the apparatus By using sterile containers, syringes and relative connection circuits, the apparatus in its entirety is rendered sterile and prevents contaminations of the drug prepared.
  • the apparatus can also be used as an injector-doser in the course of parenteral therapy according to a program controlled by the electronic control unit, by connecting the sterile syringe to an infusion line of suitable length.
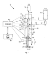
  • an apparatus 10 is used for the preparation of chemotherapy drugs formed by two or more components and used in oncological therapies.
  • the apparatus 10 comprises two containers 12 and 14, a first container 12 that contains a drug in solution, at a concentration such that it must be suitably diluted so as to be administered to the patient, and a second container 14 that contains a diluent for the drug in solution to be diluted.
  • the drug suitably prepared is sent, as shown hereafter, to a medical sac 16.
  • the containers 12 and 14 are of the sterile closing type, standard for medical applications, as is the medical sac 16.
  • the containers 12 and 14 and the medical sac 16 are put in communication with corresponding circuits 15, 17 and 19, of the sterile type, also standard for medical applications, which in turn converge into a hydraulic connection element 18, for example formed by a two-way Luer-Lock ramp.
  • a container 27 Downstream of the connection element 18 a container 27 is provided, selectively connected with the containers 12, 14 and 16, inside which, as will be shown hereafter, the drug is mixed and prepared.
  • connection element 18 Connected to the connection element 18 there are two taps 34 and 36, for example two-way or three-way, which are associated respectively with the circuits 15 and 17, in order to regulate the quantity of the stream of drug in solution and of diluent entering the connection element 18.
  • the circuits 15 and 17 can consist of needles or ventilated needles which perforate the containers 12 and 14 and which are attached, screwed or inserted into the respective taps 34 and 36.
  • the perforation of the containers 12 and 14 is guided by a slide or cradle or hopper on the bottom of which there are packings, either rigid or elastic, in such a number as to regulate the penetration of the points of the needles on the inner side of the containers 12 and 14, allowing maximum recoup of the content thereof.
  • the taps 34 and 36 are driven by relative independent motors 35 and 37, to operate in coordination with each other so as to determine all the possible combinations of quantities of drug in solution and diluent.
  • the motors 35 and 37 move shaped guides, not shown in the drawings, to house the external wings of the taps 34 and 36.
  • the exact dosage quantities of the drug in solution and of diluent are selectively taken in by a dosing syringe 20, whose hollow cylinder 26 defines inside it the container 27. Inside the cylinder 26 the drug in solution and the diluent are mixed, and from here the prepared drug is injected, through the element 18, into the medical sac 16.
  • the hollow cylinder 26 of the dosing syringe 20 has a Luer-Lock tip 21, inserted into the connection element 18, and a piston 22 inserted slidingly inside it.
  • the piston 22 and the cylinder 26 are able to slide one with respect to the other, along the common longitudinal axis X, to perform the known intake and injection of the syringe 20.
  • the piston 22 is provided with a piston-thrust portion 24, which is constrained to suitable retaining fins 32.
  • a suitable electric motor 28, shown schematically in fig. 1 is able to act by means of a transmission mechanism 29, on the fins 32, in order to drive the piston-thrust 24 and thus move the piston 22 in alternate mode, along its longitudinal axis X. If the piston 22 is moved in the direction of the arrow F in fig. 1 , the syringe 20 operates in intake mode, whereas if the piston 22 is moved in the direction of the arrow G in fig. 1 , the syringe 20 operates in injection mode.
  • the transmission mechanism 29 can consist of a worm screw, a screw pin, metal or polymer telescopic extensions, as required.
  • the base 23 of the cylinder 26 is constrained to other fins 30, mounted on the motor 28.
  • connection between the fins 30 and 32 and the base 23 and the piston-thrust 24 may be made by means of a screw, an elastic element, an attachment tooth or by means of vacuum.
  • the preparation of the drug according to the present invention is made according to updated dosages of the drugs to be administered to each patient.
  • the doses are memorized in a database 42 as drug preparation data, together with the chemical-physical characteristics of the components and possible other necessary data.
  • the containers 12 and 14 are prepared, block 52 in fig. 2 .
  • the medical sac 16 is prepared, into which the drug, prepared and ready to be administered, is introduced.
  • a step of opening at least one of the two taps 34 and 36, block 54 in fig. 2 to allow the passage of a determinate dosed quantity of drug in solution and/or diluent.
  • the method according to the invention provides an intake step by the syringe 20, block 55 in fig. 2 , which is simultaneous with the step of mixing the drug in solution and the diluent in the cylinder 26 of the syringe 20, so as to prepare the final drug.
  • the apparatus 10 In order to coordinate the opening and closing of the taps 34 and 36 with the movement of the piston 22 during the intake and injection steps, and to guarantee the correct dosage of the drug, the apparatus 10 is provided with a control unit 40, which is electronically connected also to the clinical database 42 which contains the dosages.
  • the control unit 40 commands the two motors 35 and 37 of the taps 34 and 36, in order to selectively control the opening and closing thereof, simultaneously or in sequence, according to the dosage provided for the preparation of a determinate drug to be administered.
  • control unit 40 is also able to command the activation of the electric motor that drives the piston-thrust 24, so as to determine the relative steps of intake and injection.
  • the entity of the travel of the piston 22 and the opening of the taps 34 and 36 determines the quantity of drug in solution and of diluent taken in, and is controlled by suitable electro-mechanical and/or electronic sensors 39, 41 and 43, shown schematically in the drawings.
  • the sensors 39, 41 and 43 detect signals relating to the dosed quantities and send them to the control unit 40, and also the sequence with which the components are taken in through the taps 34 and 36.
  • the signals are used for a safety check, block 57 in fig. 2 , by the control unit 40, which calculates the exact composition of the various components in the drug, and verifies if the doses are correct by comparing them with the pre-set ones in the database 42. If the doses are not correct, then the drug prepared in container 16 is expelled, block 58 in fig. 2 , and eliminated, with the restoration of a new container 16, block 53 in fig. 2 . On the contrary, if the doses are correct, the drug prepared is injected, block 59.
  • the quantity and speed of transfer of the drug in solution and diluent through the circuits 15, 17 and 19 depends on the speed of movement of the piston 22, commanded by the electric motor 28 which in turn is commanded by the unit 40.
  • the speed in particular, is adjustable according to the doses of drug prescribed, and also according to the nature of the components to be taken in, for example lyophilized drug or in solution, and the viscosity of the solutions prepared or injected, to prevent the formation of instantaneous over-pressure or back flows into the containers 12, 14 and 16.
  • the force applied by the motor to move the piston 22 is such as to allow operations in depression and to empty the containers 12 and 14 also without an air valve, with a considerable reduction of waste.
  • the depression operation allows to reduce the possibility of leakages in the subsequent operation of the feed container.
  • One advantage of the invention is that, all in all, the operating parts of the apparatus 10, that is, the motor that drives the syringe 20, the syringe 20 itself, the taps 34 and 36 with the relative motors 35 and 37 and part of the circuits 15, 17 and 19, have a limited overall bulk, such that they can easily be housed on the work surface of the chemical or microbiological hoods, or hoods for chemotherapy, and the isolators for advanced aseptic processing.
  • the containers 12, 14 and 16 used are provided with recognition labels, read optically or electromagnetically, for example a bar code, so that each operation to insert data relating to the components used in the control unit 40 can be validated by means of automatic reading, thus considerably reducing possibilities of mistakes that are found when said data is introduced manually by means of a keyboard.
  • the control unit 40 commands a bar code to be printed, which certifies the correct sequence and conformity of preparation and which contains the references of the final destination, the sequence of operations performed and the operators who intervened.
  • an RFID tag can be used, which also gives the advantage of traceability.
  • the apparatus 10 can be aligned with other identical apparatuses for a battery functioning on the work surface of the hoods, or on a surface suspended by a frame outside the hoods.
  • the modular nature of the apparatus 10 allows to associate several lines to prepare the drug in a battery under the same hood or insulator.
  • the connections and electric feeds and the electric control boards for the functioning of the apparatuses 10 can be disposed towards the outside of the work surface of the hoods and can converge independently, by means of an electric circuit, in the sole control unit 40. In this way, the simultaneous functioning of the individual lines is possible even in the event of an interruption or malfunction of an apparatus.
  • the motor 28 that commands the movement of the piston 22 is of the pneumatic type and that this movement is transmitted directly or by mechanical transmission and that it is controlled electro-mechanically.
  • motors 35 and 37 instead of shaped guides, may be provided with grippers or hooks or clamps, in order to drive the external wings of the taps 34 and 36.
  • the motor 28 may be conformed so as to collect the possible leaks from the circuits 15 and 17, and may be made of material resistant to corrosion from chemical substances used in the operation to decontaminate the work spaces and/or the chemical neutralization operation.
  • a transparent shell may be mounted on the motor 28, which surrounds the syringe 20 and the taps 34 and 36, to reveal and/or confine any sprays that develop.

Landscapes

  • Chemical & Material Sciences (AREA)
  • Chemical Kinetics & Catalysis (AREA)
  • Health & Medical Sciences (AREA)
  • Pharmacology & Pharmacy (AREA)
  • Life Sciences & Earth Sciences (AREA)
  • Animal Behavior & Ethology (AREA)
  • General Health & Medical Sciences (AREA)
  • Public Health (AREA)
  • Veterinary Medicine (AREA)
  • Infusion, Injection, And Reservoir Apparatuses (AREA)
  • Pharmaceuticals Containing Other Organic And Inorganic Compounds (AREA)
  • Medical Preparation Storing Or Oral Administration Devices (AREA)

Claims (10)

  1. Vorrichtung zum automatischen Herstellen eines Arzneimittels, das aus mindestens zwei Komponenten besteht, aufweisend einen ersten Behälter (12) für eine erste der Komponenten, einen zweiten Behälter (14) für eine zweite der Komponenten, einen dritten Behälter (16), um das hergestellte Arzneimittel aufzunehmen, dadurch gekennzeichnet, dass sie ferner aufweist:
    - eine Ansaug-/Injektionsvorrichtung, die in einem Ansaugmodus aktivierbar ist, um dosierte Mengen der ersten und der zweiten Komponente gleichzeitig anzusaugen und zu mischen, und in einem Injektionsmodus aktivierbar ist, um das gemischte Arzneimittel dem dritten Behälter (16) zuzuführen, und die aus einer sterilen Dosierspritze (20) besteht, die aufweist: einen hohlen Zylinder (26), der einen Zwischenbehälter (27) zum Mischen der mindestens zwei Komponenten definiert, um das Arzneimittel zu erhalten, der sowohl mit dem dritten Behälter (16) als auch mit dem ersten Behälter (12) und mit dem zweiten Behälter (14) mittels Ventilmitteln (34, 36), die von jeweiligen unabhängigen Motoren (35, 37) angetrieben werden und wahlweise geöffnet und geschlossen werden können, verbunden ist, und einen Kolben (22), der in der Lage ist, in dem hohlen Zylinder (26) zu gleiten, um die Ansaug-/Injektionsfunktion der Dosierspritze (20) durchzuführen,
    - einen ersten (15) und einen zweiten (17) sterilen Kreis, die mittels der Ventilmittel (34, 36) ein durch eine Zweiwege-Luer-Lock-Rampe (18) ausgebildetes Hydraulikanschlusselement jeweils mit dem jeweiligen ersten Behälter (12) und zweiten Behälter (14) verbinden, wobei bewirkt wird, dass aus dem ersten Behälter (12) und dem zweiten Behälter (14) angesaugte dosierte Mengen der mindestens zwei Komponenten innerhalb der Zweiwege-Luer-Lock-Rampe (18) hindurchströmen, bevor sie in den Zwischenbehälter (27) eintreten,
    - einen dritten (19) sterilen Kreis, der vorgesehen ist, um die Zweiwege-Luer-Lock-Rampe (18) mit dem dritten Behälter (16) zu verbinden,
    - wobei der hohle Zylinder (26) der Dosierspritze (20) eine Luer-Lock-Spitze (21) aufweist, die für die Verbindung der Dosierspritze (20) mit der Zweiwege-Luer-Lock-Rampe (18) in die Zweiwege-Luer-Lock-Rampe (18) eingesetzt ist,
    - eine elektronische Steuereinheit (40), die geeignet ist, um automatisch und auf koordinierte Weise die wahlweise Aktivierung der Ventilmittel (34, 36) und der Ansaug-/Injektionsvorrichtung (20) zu verwalten.
  2. Vorrichtung gemäß Anspruch 1, dadurch gekennzeichnet, dass die elektronische Steuereinheit (40) Speichermitteln (42) zugeordnet ist oder diese aufweist, die in der Lage sind, Daten zu speichern, die vorbestimmte Herstellungsdosen des Arzneimittels betreffen.
  3. Vorrichtung gemäß Anspruch 1 oder 2, dadurch gekennzeichnet, dass sie ferner Sensormittel (39, 41, 43) aufweist, die in der Lage sind, die Werte der dosierten Mengen zu erfassen und diese an die elektronische Steuereinheit (40) zu übermitteln.
  4. Vorrichtung gemäß irgendeinem vorhergehenden Anspruch, dadurch gekennzeichnet, dass sie ein durch die elektronische Steuereinheit (40) gesteuertes Antriebsmittel (28) aufweist, das in der Lage ist, die Ansaug-/Injektionsvorrichtung (20) anzutreiben.
  5. Vorrichtung gemäß Anspruch 4, dadurch gekennzeichnet, dass das Antriebsmittel (28) in der Lage ist, eine Kraft aufzubringen, um den Kolben (22) der Dosierspritze (20) zu bewegen, um Funktionen mit Unterdruck zu ermöglichen und den ersten Behälter (12) und den zweiten Behälter (14) zu leeren.
  6. Vorrichtung gemäß Anspruch 4 und 5 oder 6, dadurch gekennzeichnet, dass der Kolben (22) mit einem Kolbendruckabschnitt (24) versehen ist, der auf entsprechende Halterippen (32) beschränkt ist, wobei das Antriebsmittel einen Elektromotor (28) aufweist, der in der Lage ist, mittels eines Übertragungsmechanismus (29) auf die Rippen (32) einzuwirken, um den Kolbendruck (24) anzutreiben und somit den Kolben (22) in einem wechselnden Modus zu bewegen, um den Ansaug- oder Injektions-Funktionsmodus der Dosierspritze (20) zu bestimmen.
  7. Verfahren zum automatischen Herstellen eines aus mindestens zwei Komponenten bestehenden Arzneimittels, dadurch gekennzeichnet, dass es aufweist:
    - einen ersten Schritt, in dem die vorbestimmte Herstellungsdosen des Arzneimittels betreffenden Daten in Speichermitteln (42) gespeichert werden, die einer elektronischen Steuereinheit (40) zugeordnet sind,
    - einen zweiten Schritt, in dem mindestens ein erster Behälter (12) für eine erste der Komponenten, ein zweiter Behälter (14) für eine zweite der Komponenten und ein dritter Behälter (16) zum Aufnehmen des hergestellten Arzneimittels vorbereitet wird,
    - einen dritten Schritt, in dem mittels der elektronischen Steuereinheit (40) durch jeweilige unabhängige Motoren (35, 37) angetriebene Ventilmittel (34, 36), die einem Zwischenbehälter (27) zugeordnet sind, für das Mischen der mindestens zwei Komponenten wahlweise geöffnet werden, um das Arzneimittel zu erhalten, um den ersten Behälter (12) und den zweiten Behälter (14) mit dem Zwischenbehälter (27) in Kommunikation zu bringen, wobei ein durch eine Zweiwege-Luer-Lock-Rampe (18) gebildeter Hydraulikanschluss verwendet wird, um mittels der Ventilmittel (34, 36) einen ersten (15) und einen zweiten (17) sterilen Kreis mit dem jeweiligen ersten Behälter (12) und zweiten Behälter (14) zu verbinden, innerhalb welcher Zweiwege-Luer-Lock-Rampe (18) dosierte Mengen der mindestens zwei Komponenten, die aus dem ersten Behälter (12) und dem zweiten Behälter (14) angesaugt werden, zum Hindurchströmen gebracht werden, bevor sie in den zwischenbehälter (27) eintreten,
    - einen vierten Schritt, in dem mittels der elektronischen Steuereinheit (40) eine Ansaug-/Injektionsvorrichtung, die aus einer sterilen Dosierspritze (20) besteht, die einen hohlen Zylinder (26) aufweist, der den Zwischenbehälter (27) zum Mischen der mindestens zwei Komponenten zum Erhalten des Arzneimittels definiert und eine Luer-Lock-Spitze (21) aufweist, die für das Verbinden der Dosierspritze (20) mit der Zweiwege-Luer-Lock-Rampe (18) in die Zweiwege-Luer-Lock-Rampe (18) eingesetzt ist, in einem Ansaugmodus aktiviert wird, um wahlweise dosierte Mengen der ersten Komponente und der zweiten Komponente aus der Zweiwege-Luer-Lock-Rampe (18) innerhalb des Zwischenbehälters (27) anzusaugen, und in dem gleichzeitig mit dem Ansaugen die Komponenten gemischt werden und das Arzneimittel hergestellt wird,
    - einen fünften Schritt, in dem mittels der elektronischen Steuereinheit (40) die Ventilmittel (34, 36) geschlossen werden,
    - einen sechsten Schritt, in dem mittels der elektronischen Steuereinheit (40) die Ansaug-/Injektions-Vorrichtung (20) im Injektionsmodus aktiviert wird, um das hergestellte Arzneimittel aus dem Zwischenbehälter (27) durch die Zweiwege-Luer-Lock-Rampe (18) hindurch an den dritten Behälter (16) zu übertragen.
  8. Verfahren gemäß Anspruch 7, dadurch gekennzeichnet, dass es im vierten Schritt vorsieht, die Werte der dosierten Mengen mittels Sensormitteln (39, 41, 43) zu erfassen und die Werte an die elektronische Steuereinheit (40) zu übermitteln, und dass vor dem sechsten Schritt ein Schritt vorgesehen ist, um die dosierten Mengen gemäß den in den Speichermitteln (42) gespeicherten Daten zu verifizieren.
  9. Verfahren gemäß Anspruch 7 oder 8, gekennzeichnet durch die Verwendung einer sterilen Dosierspritze (20) als die Ansaug-/Injektionsvorrichtung, wobei die sterile Dosierspritze (20) aufweist: einen hohlen Zylinder (26), der den Zwischenbehälter (27) für das Herstellen des Arzneimittels definiert, und einen Kolben (22), der in der Lage ist, innerhalb des hohlen Zylinders (26) zu gleiten.
  10. Verfahren gemäß Anspruch 9, dadurch gekennzeichnet, dass die Dosierspritze (20) mittels eines Antriebsmittels (28) gesteuert durch die elektronische Steuereinheit (40) angetrieben wird, das eine Kraft ausbringt, um den Kolben (22) der Dosierspritze (20) zu bewegen, um Funktionen mit Unterdruck zu ermöglichen und den ersten Behälter (12) und den zweiten Behälter (14) zu leeren.
EP08157120.0A 2007-05-30 2008-05-28 Vorrichtung für die automatische Zubereitung eines Arzneimittels und entsprechendes Zubereitungsverfahren Active EP1997471B2 (de)

Applications Claiming Priority (1)

Application Number Priority Date Filing Date Title
IT000093A ITUD20070093A1 (it) 2007-05-30 2007-05-30 Apparecchiatura per la preparazione automatica di un farmaco e relativo procedimento per la preparazione

Publications (3)

Publication Number Publication Date
EP1997471A1 EP1997471A1 (de) 2008-12-03
EP1997471B1 EP1997471B1 (de) 2012-03-14
EP1997471B2 true EP1997471B2 (de) 2015-02-25

Family

ID=39744037

Family Applications (1)

Application Number Title Priority Date Filing Date
EP08157120.0A Active EP1997471B2 (de) 2007-05-30 2008-05-28 Vorrichtung für die automatische Zubereitung eines Arzneimittels und entsprechendes Zubereitungsverfahren

Country Status (4)

Country Link
EP (1) EP1997471B2 (de)
AT (1) ATE549008T1 (de)
ES (1) ES2384193T5 (de)
IT (1) ITUD20070093A1 (de)

Families Citing this family (19)

* Cited by examiner, † Cited by third party
Publication number Priority date Publication date Assignee Title
CN102724946B (zh) * 2009-07-29 2015-06-10 Icu医学有限公司 流体传输装置及使用方法
EP2446875B1 (de) * 2010-10-27 2013-10-02 Fresenius Kabi Deutschland GmbH Mischvorrichtung und Verfahren zum Rekonstruieren oder zum Mischen einer medizinischen Flüssigkeit
CN102430363B (zh) * 2011-09-20 2014-03-26 中国科学院深圳先进技术研究院 自动化配药设备及方法
ES2945322T3 (es) 2011-12-22 2023-06-30 Icu Medical Inc Dispositivos de transferencia de fluido y métodos de uso
US9475019B2 (en) 2013-03-15 2016-10-25 Baxter Corporation Englewood Systems and methods for compounding a preparation using a premix solution
AU2014353184B2 (en) 2013-11-25 2017-08-17 Icu Medical, Inc. Methods and system for filling IV bags with therapeutic fluid
WO2016010909A2 (en) * 2014-07-14 2016-01-21 Icu Medical, Inc. Fluid transfer devices and methods of use
ITUB20150371A1 (it) * 2015-05-05 2016-11-05 Masmec S P A Sistema per la preparazione ed il dosaggio di farmaci chemioterapici
CN108025271A (zh) * 2015-09-22 2018-05-11 费森尤斯卡比德国有限公司 配制药物制剂的方法和装置
JP6710758B2 (ja) 2015-12-04 2020-06-17 アイシーユー・メディカル・インコーポレーテッド 医療用流体を移送するための電子式医療用流体移送装置
ES2992953T3 (en) 2016-03-15 2024-12-20 Fresenius Kabi Deutschland Gmbh System for producing a medical preparation
USD851745S1 (en) 2016-07-19 2019-06-18 Icu Medical, Inc. Medical fluid transfer system
CA3031529A1 (en) 2016-07-25 2018-02-01 Icu Medical, Inc. Systems, methods, and components for trapping air bubbles in medical fluid transfer modules and systems
CN111065366A (zh) * 2017-08-23 2020-04-24 费森尤斯卡比德国有限公司 用于生产医疗制剂的设备的阀单元
US11590057B2 (en) 2020-04-03 2023-02-28 Icu Medical, Inc. Systems, methods, and components for transferring medical fluids
CA3237021A1 (en) * 2021-11-01 2023-05-04 Kasper Bosscher Compounding system
NL2031054B1 (en) * 2021-11-01 2023-05-31 The Compounding Company B V Compounding system
CA3248800A1 (en) * 2022-04-17 2023-10-26 The Compounding Company B.V. MIXING SYSTEM
NL2033305B1 (en) * 2022-04-17 2023-11-06 The Compounding Company B V Compounding system

Citations (4)

* Cited by examiner, † Cited by third party
Publication number Priority date Publication date Assignee Title
EP1074222A2 (de) 1999-08-04 2001-02-07 Grupo Grifols, S.A. Injektionseinrichtung von CO2 in Angiographie
EP1236644A1 (de) 2001-02-28 2002-09-04 Probitas Pharma, S.A. Vorrichtung zum Füllen von Behältern für pharmazeutische Zwecke und dergleichen
US6699232B2 (en) 2001-03-01 2004-03-02 Scimed Life Systems, Inc. Fluid injection apparatus with improved contrast visualization
WO2006001913A1 (en) 2004-06-15 2006-01-05 Mallinckrodt Inc. Automated dispensing system and associated method of use

Family Cites Families (4)

* Cited by examiner, † Cited by third party
Publication number Priority date Publication date Assignee Title
DE3602075C1 (de) * 1986-01-24 1987-07-23 Fresenius Ag Verfahren und Vorrichtung zum Herstellen von Gemischen pharmazeutischer Fluessigkeiten
US5911252A (en) * 1997-04-29 1999-06-15 Cassel; Douglas Automated syringe filling system for radiographic contrast agents and other injectable substances
AU5457399A (en) 1998-06-02 1999-12-20 Dow Chemical Company, The Apparatus for the preparation of radioactive solutions
EP1732808A2 (de) * 2004-04-07 2006-12-20 Forhealth Technologies, Inc. Vorrichtung zur wiederherstellung einer arzneimittelphiole und system zur erfassung der zu geringen füllung mit einer arzneimitteldosis zur anwendung in einem automatisierten spritzenherstellungssystem

Patent Citations (4)

* Cited by examiner, † Cited by third party
Publication number Priority date Publication date Assignee Title
EP1074222A2 (de) 1999-08-04 2001-02-07 Grupo Grifols, S.A. Injektionseinrichtung von CO2 in Angiographie
EP1236644A1 (de) 2001-02-28 2002-09-04 Probitas Pharma, S.A. Vorrichtung zum Füllen von Behältern für pharmazeutische Zwecke und dergleichen
US6699232B2 (en) 2001-03-01 2004-03-02 Scimed Life Systems, Inc. Fluid injection apparatus with improved contrast visualization
WO2006001913A1 (en) 2004-06-15 2006-01-05 Mallinckrodt Inc. Automated dispensing system and associated method of use

Also Published As

Publication number Publication date
ATE549008T1 (de) 2012-03-15
ES2384193T5 (es) 2015-06-05
ES2384193T3 (es) 2012-07-02
EP1997471A1 (de) 2008-12-03
EP1997471B1 (de) 2012-03-14
ITUD20070093A1 (it) 2008-11-30

Similar Documents

Publication Publication Date Title
EP1997471B2 (de) Vorrichtung für die automatische Zubereitung eines Arzneimittels und entsprechendes Zubereitungsverfahren
JP7401621B2 (ja) 調合デバイス、システム、キット、ソフトウエア、および方法
EP3302398B1 (de) Compounding-vorrichtung
CA2983610C (en) Compounding device, system, kit, software and method
EP3297597A2 (de) Compounding-vorrichtung, -system, -kit, -software und -verfahren

Legal Events

Date Code Title Description
PUAI Public reference made under article 153(3) epc to a published international application that has entered the european phase

Free format text: ORIGINAL CODE: 0009012

AK Designated contracting states

Kind code of ref document: A1

Designated state(s): AT BE BG CH CY CZ DE DK EE ES FI FR GB GR HR HU IE IS IT LI LT LU LV MC MT NL NO PL PT RO SE SI SK TR

AX Request for extension of the european patent

Extension state: AL BA MK RS

17P Request for examination filed

Effective date: 20090529

AKX Designation fees paid

Designated state(s): AT BE BG CH CY CZ DE DK EE ES FI FR GB GR HR HU IE IS IT LI LT LU LV MC MT NL NO PL PT RO SE SI SK TR

RAP1 Party data changed (applicant data changed or rights of an application transferred)

Owner name: FRISAN, ANDREA

Owner name: CADEL, DANIELE

Owner name: SNIDERO, PAOLA

Owner name: DE MARCO, LUIGINO

Owner name: LAZZARINI, RENZO

Owner name: PERIN, ANDREA

17Q First examination report despatched

Effective date: 20091228

GRAP Despatch of communication of intention to grant a patent

Free format text: ORIGINAL CODE: EPIDOSNIGR1

RIC1 Information provided on ipc code assigned before grant

Ipc: A61J 3/00 20060101ALN20110916BHEP

Ipc: B01F 15/02 20060101ALN20110916BHEP

Ipc: B01F 13/00 20060101ALN20110916BHEP

Ipc: B01F 13/10 20060101ALN20110916BHEP

Ipc: A61J 1/20 20060101AFI20110916BHEP

RAP1 Party data changed (applicant data changed or rights of an application transferred)

Owner name: ISITEC S.R.L.

GRAS Grant fee paid

Free format text: ORIGINAL CODE: EPIDOSNIGR3

GRAA (expected) grant

Free format text: ORIGINAL CODE: 0009210

AK Designated contracting states

Kind code of ref document: B1

Designated state(s): AT BE BG CH CY CZ DE DK EE ES FI FR GB GR HR HU IE IS IT LI LT LU LV MC MT NL NO PL PT RO SE SI SK TR

REG Reference to a national code

Ref country code: GB

Ref legal event code: FG4D

REG Reference to a national code

Ref country code: AT

Ref legal event code: REF

Ref document number: 549008

Country of ref document: AT

Kind code of ref document: T

Effective date: 20120315

Ref country code: CH

Ref legal event code: EP

REG Reference to a national code

Ref country code: IE

Ref legal event code: FG4D

REG Reference to a national code

Ref country code: DE

Ref legal event code: R096

Ref document number: 602008014066

Country of ref document: DE

Effective date: 20120510

REG Reference to a national code

Ref country code: ES

Ref legal event code: FG2A

Ref document number: 2384193

Country of ref document: ES

Kind code of ref document: T3

Effective date: 20120702

REG Reference to a national code

Ref country code: NL

Ref legal event code: VDEP

Effective date: 20120314

PG25 Lapsed in a contracting state [announced via postgrant information from national office to epo]

Ref country code: HR

Free format text: LAPSE BECAUSE OF FAILURE TO SUBMIT A TRANSLATION OF THE DESCRIPTION OR TO PAY THE FEE WITHIN THE PRESCRIBED TIME-LIMIT

Effective date: 20120314

Ref country code: LT

Free format text: LAPSE BECAUSE OF FAILURE TO SUBMIT A TRANSLATION OF THE DESCRIPTION OR TO PAY THE FEE WITHIN THE PRESCRIBED TIME-LIMIT

Effective date: 20120314

Ref country code: NO

Free format text: LAPSE BECAUSE OF FAILURE TO SUBMIT A TRANSLATION OF THE DESCRIPTION OR TO PAY THE FEE WITHIN THE PRESCRIBED TIME-LIMIT

Effective date: 20120614

LTIE Lt: invalidation of european patent or patent extension

Effective date: 20120314

PG25 Lapsed in a contracting state [announced via postgrant information from national office to epo]

Ref country code: LV

Free format text: LAPSE BECAUSE OF FAILURE TO SUBMIT A TRANSLATION OF THE DESCRIPTION OR TO PAY THE FEE WITHIN THE PRESCRIBED TIME-LIMIT

Effective date: 20120314

Ref country code: GR

Free format text: LAPSE BECAUSE OF FAILURE TO SUBMIT A TRANSLATION OF THE DESCRIPTION OR TO PAY THE FEE WITHIN THE PRESCRIBED TIME-LIMIT

Effective date: 20120615

Ref country code: FI

Free format text: LAPSE BECAUSE OF FAILURE TO SUBMIT A TRANSLATION OF THE DESCRIPTION OR TO PAY THE FEE WITHIN THE PRESCRIBED TIME-LIMIT

Effective date: 20120314

REG Reference to a national code

Ref country code: AT

Ref legal event code: MK05

Ref document number: 549008

Country of ref document: AT

Kind code of ref document: T

Effective date: 20120314

PG25 Lapsed in a contracting state [announced via postgrant information from national office to epo]

Ref country code: CY

Free format text: LAPSE BECAUSE OF FAILURE TO SUBMIT A TRANSLATION OF THE DESCRIPTION OR TO PAY THE FEE WITHIN THE PRESCRIBED TIME-LIMIT

Effective date: 20120314

PG25 Lapsed in a contracting state [announced via postgrant information from national office to epo]

Ref country code: RO

Free format text: LAPSE BECAUSE OF FAILURE TO SUBMIT A TRANSLATION OF THE DESCRIPTION OR TO PAY THE FEE WITHIN THE PRESCRIBED TIME-LIMIT

Effective date: 20120314

Ref country code: SE

Free format text: LAPSE BECAUSE OF FAILURE TO SUBMIT A TRANSLATION OF THE DESCRIPTION OR TO PAY THE FEE WITHIN THE PRESCRIBED TIME-LIMIT

Effective date: 20120314

Ref country code: EE

Free format text: LAPSE BECAUSE OF FAILURE TO SUBMIT A TRANSLATION OF THE DESCRIPTION OR TO PAY THE FEE WITHIN THE PRESCRIBED TIME-LIMIT

Effective date: 20120314

Ref country code: BE

Free format text: LAPSE BECAUSE OF FAILURE TO SUBMIT A TRANSLATION OF THE DESCRIPTION OR TO PAY THE FEE WITHIN THE PRESCRIBED TIME-LIMIT

Effective date: 20120314

Ref country code: CZ

Free format text: LAPSE BECAUSE OF FAILURE TO SUBMIT A TRANSLATION OF THE DESCRIPTION OR TO PAY THE FEE WITHIN THE PRESCRIBED TIME-LIMIT

Effective date: 20120314

Ref country code: SI

Free format text: LAPSE BECAUSE OF FAILURE TO SUBMIT A TRANSLATION OF THE DESCRIPTION OR TO PAY THE FEE WITHIN THE PRESCRIBED TIME-LIMIT

Effective date: 20120314

Ref country code: PL

Free format text: LAPSE BECAUSE OF FAILURE TO SUBMIT A TRANSLATION OF THE DESCRIPTION OR TO PAY THE FEE WITHIN THE PRESCRIBED TIME-LIMIT

Effective date: 20120314

Ref country code: IS

Free format text: LAPSE BECAUSE OF FAILURE TO SUBMIT A TRANSLATION OF THE DESCRIPTION OR TO PAY THE FEE WITHIN THE PRESCRIBED TIME-LIMIT

Effective date: 20120714

PG25 Lapsed in a contracting state [announced via postgrant information from national office to epo]

Ref country code: SK

Free format text: LAPSE BECAUSE OF FAILURE TO SUBMIT A TRANSLATION OF THE DESCRIPTION OR TO PAY THE FEE WITHIN THE PRESCRIBED TIME-LIMIT

Effective date: 20120314

Ref country code: PT

Free format text: LAPSE BECAUSE OF FAILURE TO SUBMIT A TRANSLATION OF THE DESCRIPTION OR TO PAY THE FEE WITHIN THE PRESCRIBED TIME-LIMIT

Effective date: 20120716

PLBI Opposition filed

Free format text: ORIGINAL CODE: 0009260

PG25 Lapsed in a contracting state [announced via postgrant information from national office to epo]

Ref country code: MC

Free format text: LAPSE BECAUSE OF NON-PAYMENT OF DUE FEES

Effective date: 20120531

REG Reference to a national code

Ref country code: CH

Ref legal event code: PL

26 Opposition filed

Opponent name: GRIFOLS, S.A.

Effective date: 20121214

PLAX Notice of opposition and request to file observation + time limit sent

Free format text: ORIGINAL CODE: EPIDOSNOBS2

PG25 Lapsed in a contracting state [announced via postgrant information from national office to epo]

Ref country code: AT

Free format text: LAPSE BECAUSE OF FAILURE TO SUBMIT A TRANSLATION OF THE DESCRIPTION OR TO PAY THE FEE WITHIN THE PRESCRIBED TIME-LIMIT

Effective date: 20120314

Ref country code: LI

Free format text: LAPSE BECAUSE OF NON-PAYMENT OF DUE FEES

Effective date: 20120531

Ref country code: CH

Free format text: LAPSE BECAUSE OF NON-PAYMENT OF DUE FEES

Effective date: 20120531

Ref country code: NL

Free format text: LAPSE BECAUSE OF FAILURE TO SUBMIT A TRANSLATION OF THE DESCRIPTION OR TO PAY THE FEE WITHIN THE PRESCRIBED TIME-LIMIT

Effective date: 20120314

Ref country code: DK

Free format text: LAPSE BECAUSE OF FAILURE TO SUBMIT A TRANSLATION OF THE DESCRIPTION OR TO PAY THE FEE WITHIN THE PRESCRIBED TIME-LIMIT

Effective date: 20120314

REG Reference to a national code

Ref country code: IE

Ref legal event code: MM4A

REG Reference to a national code

Ref country code: DE

Ref legal event code: R026

Ref document number: 602008014066

Country of ref document: DE

Effective date: 20121214

PG25 Lapsed in a contracting state [announced via postgrant information from national office to epo]

Ref country code: IE

Free format text: LAPSE BECAUSE OF NON-PAYMENT OF DUE FEES

Effective date: 20120528

PLBB Reply of patent proprietor to notice(s) of opposition received

Free format text: ORIGINAL CODE: EPIDOSNOBS3

PG25 Lapsed in a contracting state [announced via postgrant information from national office to epo]

Ref country code: BG

Free format text: LAPSE BECAUSE OF FAILURE TO SUBMIT A TRANSLATION OF THE DESCRIPTION OR TO PAY THE FEE WITHIN THE PRESCRIBED TIME-LIMIT

Effective date: 20120614

Ref country code: MT

Free format text: LAPSE BECAUSE OF FAILURE TO SUBMIT A TRANSLATION OF THE DESCRIPTION OR TO PAY THE FEE WITHIN THE PRESCRIBED TIME-LIMIT

Effective date: 20120314

PLBP Opposition withdrawn

Free format text: ORIGINAL CODE: 0009264

PG25 Lapsed in a contracting state [announced via postgrant information from national office to epo]

Ref country code: LU

Free format text: LAPSE BECAUSE OF NON-PAYMENT OF DUE FEES

Effective date: 20120528

PG25 Lapsed in a contracting state [announced via postgrant information from national office to epo]

Ref country code: HU

Free format text: LAPSE BECAUSE OF FAILURE TO SUBMIT A TRANSLATION OF THE DESCRIPTION OR TO PAY THE FEE WITHIN THE PRESCRIBED TIME-LIMIT

Effective date: 20080528

PUAH Patent maintained in amended form

Free format text: ORIGINAL CODE: 0009272

STAA Information on the status of an ep patent application or granted ep patent

Free format text: STATUS: PATENT MAINTAINED AS AMENDED

27A Patent maintained in amended form

Effective date: 20150225

AK Designated contracting states

Kind code of ref document: B2

Designated state(s): AT BE BG CH CY CZ DE DK EE ES FI FR GB GR HR HU IE IS IT LI LT LU LV MC MT NL NO PL PT RO SE SI SK TR

REG Reference to a national code

Ref country code: DE

Ref legal event code: R102

Ref document number: 602008014066

Country of ref document: DE

REG Reference to a national code

Ref country code: DE

Ref legal event code: R102

Ref document number: 602008014066

Country of ref document: DE

Effective date: 20150225

REG Reference to a national code

Ref country code: ES

Ref legal event code: DC2A

Ref document number: 2384193

Country of ref document: ES

Kind code of ref document: T5

Effective date: 20150605

PG25 Lapsed in a contracting state [announced via postgrant information from national office to epo]

Ref country code: LV

Free format text: LAPSE BECAUSE OF FAILURE TO SUBMIT A TRANSLATION OF THE DESCRIPTION OR TO PAY THE FEE WITHIN THE PRESCRIBED TIME-LIMIT

Effective date: 20150225

REG Reference to a national code

Ref country code: FR

Ref legal event code: PLFP

Year of fee payment: 9

REG Reference to a national code

Ref country code: FR

Ref legal event code: PLFP

Year of fee payment: 10

REG Reference to a national code

Ref country code: FR

Ref legal event code: PLFP

Year of fee payment: 11

PGFP Annual fee paid to national office [announced via postgrant information from national office to epo]

Ref country code: TR

Payment date: 20190522

Year of fee payment: 12

Ref country code: FR

Payment date: 20190523

Year of fee payment: 12

PGFP Annual fee paid to national office [announced via postgrant information from national office to epo]

Ref country code: DE

Payment date: 20200520

Year of fee payment: 13

PG25 Lapsed in a contracting state [announced via postgrant information from national office to epo]

Ref country code: FR

Free format text: LAPSE BECAUSE OF NON-PAYMENT OF DUE FEES

Effective date: 20200531

PGFP Annual fee paid to national office [announced via postgrant information from national office to epo]

Ref country code: ES

Payment date: 20210617

Year of fee payment: 14

Ref country code: GB

Payment date: 20210401

Year of fee payment: 14

REG Reference to a national code

Ref country code: DE

Ref legal event code: R119

Ref document number: 602008014066

Country of ref document: DE

PG25 Lapsed in a contracting state [announced via postgrant information from national office to epo]

Ref country code: DE

Free format text: LAPSE BECAUSE OF NON-PAYMENT OF DUE FEES

Effective date: 20211201

PG25 Lapsed in a contracting state [announced via postgrant information from national office to epo]

Ref country code: TR

Free format text: LAPSE BECAUSE OF NON-PAYMENT OF DUE FEES

Effective date: 20200528

GBPC Gb: european patent ceased through non-payment of renewal fee

Effective date: 20220528

PG25 Lapsed in a contracting state [announced via postgrant information from national office to epo]

Ref country code: GB

Free format text: LAPSE BECAUSE OF NON-PAYMENT OF DUE FEES

Effective date: 20220528

REG Reference to a national code

Ref country code: ES

Ref legal event code: FD2A

Effective date: 20230630

PG25 Lapsed in a contracting state [announced via postgrant information from national office to epo]

Ref country code: ES

Free format text: LAPSE BECAUSE OF NON-PAYMENT OF DUE FEES

Effective date: 20220529

PGFP Annual fee paid to national office [announced via postgrant information from national office to epo]

Ref country code: IT

Payment date: 20250317

Year of fee payment: 18