EP1990494A1 - Möbelbeschlag - Google Patents

Möbelbeschlag Download PDF

Info

Publication number
EP1990494A1
EP1990494A1 EP08008389A EP08008389A EP1990494A1 EP 1990494 A1 EP1990494 A1 EP 1990494A1 EP 08008389 A EP08008389 A EP 08008389A EP 08008389 A EP08008389 A EP 08008389A EP 1990494 A1 EP1990494 A1 EP 1990494A1
Authority
EP
European Patent Office
Prior art keywords
furniture
fitting according
hinge lever
furniture fitting
force
Prior art date
Legal status (The legal status is an assumption and is not a legal conclusion. Google has not performed a legal analysis and makes no representation as to the accuracy of the status listed.)
Granted
Application number
EP08008389A
Other languages
English (en)
French (fr)
Other versions
EP1990494B1 (de
Inventor
Dirk Telthörster
Reiner Kreyenkamp
Heiko Schnier
Current Assignee (The listed assignees may be inaccurate. Google has not performed a legal analysis and makes no representation or warranty as to the accuracy of the list.)
Kesseboehmer Holding OHG
Original Assignee
Heinrich J Kesseboehmer KG
Priority date (The priority date is an assumption and is not a legal conclusion. Google has not performed a legal analysis and makes no representation as to the accuracy of the date listed.)
Filing date
Publication date
Application filed by Heinrich J Kesseboehmer KG filed Critical Heinrich J Kesseboehmer KG
Publication of EP1990494A1 publication Critical patent/EP1990494A1/de
Application granted granted Critical
Publication of EP1990494B1 publication Critical patent/EP1990494B1/de
Not-in-force legal-status Critical Current
Anticipated expiration legal-status Critical

Links

Images

Classifications

    • EFIXED CONSTRUCTIONS
    • E05LOCKS; KEYS; WINDOW OR DOOR FITTINGS; SAFES
    • E05DHINGES OR SUSPENSION DEVICES FOR DOORS, WINDOWS OR WINGS
    • E05D15/00Suspension arrangements for wings
    • E05D15/40Suspension arrangements for wings supported on arms movable in vertical planes
    • E05D15/403Suspension arrangements for wings supported on arms movable in vertical planes with arms fixed on the wing pivoting about an axis outside the wing
    • EFIXED CONSTRUCTIONS
    • E05LOCKS; KEYS; WINDOW OR DOOR FITTINGS; SAFES
    • E05FDEVICES FOR MOVING WINGS INTO OPEN OR CLOSED POSITION; CHECKS FOR WINGS; WING FITTINGS NOT OTHERWISE PROVIDED FOR, CONCERNED WITH THE FUNCTIONING OF THE WING
    • E05F1/00Closers or openers for wings, not otherwise provided for in this subclass
    • E05F1/08Closers or openers for wings, not otherwise provided for in this subclass spring-actuated, e.g. for horizontally sliding wings
    • E05F1/10Closers or openers for wings, not otherwise provided for in this subclass spring-actuated, e.g. for horizontally sliding wings for swinging wings, e.g. counterbalance
    • E05F1/1041Closers or openers for wings, not otherwise provided for in this subclass spring-actuated, e.g. for horizontally sliding wings for swinging wings, e.g. counterbalance with a coil spring perpendicular to the pivot axis
    • E05F1/105Closers or openers for wings, not otherwise provided for in this subclass spring-actuated, e.g. for horizontally sliding wings for swinging wings, e.g. counterbalance with a coil spring perpendicular to the pivot axis with a compression spring
    • E05F1/1058Closers or openers for wings, not otherwise provided for in this subclass spring-actuated, e.g. for horizontally sliding wings for swinging wings, e.g. counterbalance with a coil spring perpendicular to the pivot axis with a compression spring for counterbalancing
    • EFIXED CONSTRUCTIONS
    • E05LOCKS; KEYS; WINDOW OR DOOR FITTINGS; SAFES
    • E05FDEVICES FOR MOVING WINGS INTO OPEN OR CLOSED POSITION; CHECKS FOR WINGS; WING FITTINGS NOT OTHERWISE PROVIDED FOR, CONCERNED WITH THE FUNCTIONING OF THE WING
    • E05F1/00Closers or openers for wings, not otherwise provided for in this subclass
    • E05F1/08Closers or openers for wings, not otherwise provided for in this subclass spring-actuated, e.g. for horizontally sliding wings
    • E05F1/10Closers or openers for wings, not otherwise provided for in this subclass spring-actuated, e.g. for horizontally sliding wings for swinging wings, e.g. counterbalance
    • E05F1/1041Closers or openers for wings, not otherwise provided for in this subclass spring-actuated, e.g. for horizontally sliding wings for swinging wings, e.g. counterbalance with a coil spring perpendicular to the pivot axis
    • E05F1/1066Closers or openers for wings, not otherwise provided for in this subclass spring-actuated, e.g. for horizontally sliding wings for swinging wings, e.g. counterbalance with a coil spring perpendicular to the pivot axis with a traction spring
    • E05F1/1075Closers or openers for wings, not otherwise provided for in this subclass spring-actuated, e.g. for horizontally sliding wings for swinging wings, e.g. counterbalance with a coil spring perpendicular to the pivot axis with a traction spring for counterbalancing
    • EFIXED CONSTRUCTIONS
    • E05LOCKS; KEYS; WINDOW OR DOOR FITTINGS; SAFES
    • E05YINDEXING SCHEME ASSOCIATED WITH SUBCLASSES E05D AND E05F, RELATING TO CONSTRUCTION ELEMENTS, ELECTRIC CONTROL, POWER SUPPLY, POWER SIGNAL OR TRANSMISSION, USER INTERFACES, MOUNTING OR COUPLING, DETAILS, ACCESSORIES, AUXILIARY OPERATIONS NOT OTHERWISE PROVIDED FOR, APPLICATION THEREOF
    • E05Y2201/00Constructional elements; Accessories therefor
    • E05Y2201/60Suspension or transmission members; Accessories therefor
    • E05Y2201/622Suspension or transmission members elements
    • E05Y2201/638Cams; Ramps
    • EFIXED CONSTRUCTIONS
    • E05LOCKS; KEYS; WINDOW OR DOOR FITTINGS; SAFES
    • E05YINDEXING SCHEME ASSOCIATED WITH SUBCLASSES E05D AND E05F, RELATING TO CONSTRUCTION ELEMENTS, ELECTRIC CONTROL, POWER SUPPLY, POWER SIGNAL OR TRANSMISSION, USER INTERFACES, MOUNTING OR COUPLING, DETAILS, ACCESSORIES, AUXILIARY OPERATIONS NOT OTHERWISE PROVIDED FOR, APPLICATION THEREOF
    • E05Y2201/00Constructional elements; Accessories therefor
    • E05Y2201/60Suspension or transmission members; Accessories therefor
    • E05Y2201/622Suspension or transmission members elements
    • E05Y2201/644Flexible elongated pulling elements
    • E05Y2201/654Cables
    • EFIXED CONSTRUCTIONS
    • E05LOCKS; KEYS; WINDOW OR DOOR FITTINGS; SAFES
    • E05YINDEXING SCHEME ASSOCIATED WITH SUBCLASSES E05D AND E05F, RELATING TO CONSTRUCTION ELEMENTS, ELECTRIC CONTROL, POWER SUPPLY, POWER SIGNAL OR TRANSMISSION, USER INTERFACES, MOUNTING OR COUPLING, DETAILS, ACCESSORIES, AUXILIARY OPERATIONS NOT OTHERWISE PROVIDED FOR, APPLICATION THEREOF
    • E05Y2900/00Application of doors, windows, wings or fittings thereof
    • E05Y2900/20Application of doors, windows, wings or fittings thereof for furniture, e.g. cabinets

Definitions

  • the present invention relates to a furniture fitting for pivoting a furniture part of a piece of furniture, for example for pivoting a furniture door of a kitchen cabinet furniture, with a pivotable about a pivot axis of the furniture fitting mounting arm of the furniture part, with a force storage and at least one pivotable about the pivot axis hinge lever, wherein on the hinge lever a Glaskraft- or a pressure force transmitting element with a power transmission direction (KR) engages and on the hinge lever and an adjusting device, the pivoting of the furniture part influencing torque is adjustable.
  • KR power transmission direction
  • Furniture fittings of the aforementioned type are used for example as lift fittings to swing a front door or another door element of a kitchen cabinet, such as a wall unit, from a closed position about a horizontal axis and hold in this open position. It is possible, for example, to make a part of the opening movement spring force support, for example, up to the maximum Aufschwenkgna or even to an open position, from the user then without appropriate opening force support has to be moved up the furniture door to be moved up.
  • the Opening and closing movements should be as controlled as possible and be as comfortable as possible for the user.
  • a kitchen cabinet with a liftable and lowerable support plate for shelves is known in which a pivotable by a pull and pressure element hinge lever is provided, with which the support plate is pivotally connected.
  • connecting parts are provided, where the hinge lever and the holding plate attack and in which the pivot axis is defined.
  • At these holding parts additionally engages a tether, which is also attached to the holding part, wherein at the opposite end of the holding plate of the hinge lever, the tether is fixed.
  • This retaining band is to be placed over a curved region of the retaining element, wherein this curved portion has a constant radius. However, since this radius extends at a distance from the pivot axis of the hinge lever, this results in a lever arm, so that a torque transmission is possible in the case of pivoting.
  • the furniture fitting of the type mentioned is characterized in that on the hinge lever, the tensile force or pressure force transmission element engages the adjusting device, wherein the adjusting device is pivotable about the pivot axis of the furniture fitting that the force application point (KA) of the train or Pressure force of the traction or pressure force transmission element on the adjustment of a positive or negative moment on the furniture part generating operating position and after passing through a zero point (extended position) in an opposite sense generating another operating position ( ⁇ page side change) can be transferred, the effective Krafthebelarm between the pivot axis and the force application point (KA) is variable and by the change of the Krafthebelarms on the adjusting and the hinge lever, the pivoting furniture part in the course of its opening or closing movement with a Opening movement and / or the closing movement and / or holding the furniture part supporting effective moment can be acted upon.
  • the force application point (KA) of the train or Pressure force of the traction or pressure force transmission element on the adjustment of a positive or negative moment on the furniture part generating operating position
  • a hinge lever arm is preferably provided on the hinge lever as an adjusting device, on which the traction or pressure force transmission element engages.
  • a fixed or a variable cam may be provided as an adjusting device on the hinge lever, to which the tensile and / or pressure force transmission element engages at a distance from the pivot axis of the hinge lever.
  • the opening movement, the closing movement or holding the furniture part supporting effective moment (support torque) to achieve which initially depends on the tensile or compressive force of the traction and / or pressure force transmission element or the energy storage , but also by the effective lever arm (KL), which is applied perpendicular to the direction of force (KR) of the tensile force or compressive force through the center of the pivot axis of the hinge lever.
  • KL effective lever arm
  • the adjustment for example, the cam can therefore consist of less solid material and also have a relatively rough surface.
  • the bearings of transmission and locking means are less loaded and low friction.
  • the adjustment can also be adjusted against the acting radial forces under load to change the effective Krafthebelarm.
  • the largest component of the adjustment of the force application point (KA) takes place in the direction of the pivot axis. As a result, essentially the lever arm and less the direction of force is adjusted. For the change of sign of the moment to be applied after passing through the zero position or the extended position can change the side of the furniture fitting of the mechanical force application point (KA) with respect to the pivot axis, so that it is thereby made possible on the one hand to adjust the closing movement supporting effective moment and the other a moment supporting the opening movement.
  • Preferred dimensions of the maximum swing angle is taken into account such that a closing movement supporting effective torque over an angular range of the maximum opening swing angle of 0 to 40 ° is taken into account, the opening movement of the pivoting furniture part supporting effective torque over a maximum swing angle range of 10 to 85% and in one area between 50% and 100% of the maximum opening swivel angle can be adjusted via a neutral moment of action, so that then the furniture door is held against the weight.
  • a furniture fitting is thus provided, in which individually a supported closing, a desired closing force against a desired opening, holding and / or the opening movement supporting lifts can be adjusted.
  • a tension band is provided that is at least regionally, but also completely flexible, which acts either on a hinge lever arm or on a cam disk, for example.
  • This tension band can, for example, wrap around a cam in its curve region, for example over a range of 180 °, so that in the course of the pivoting movement of the door to be pivoted with the lever arm and the cam, the tension band unwinds from the curve wall, and with the effective force application point in a situation is transferred in which the closing movement is no longer supported, but due to the force application points an opening movement is supported or a hold.
  • This can be done with simple means, depending on how the force application point position is selected or the cam is designed.
  • the furniture fitting has a hinge lever which is part of a hinged lever unit provided with at least one adjusting device, which allows an adjustment of a characteristic of the torque, in particular after installation of the furniture hinge, wherein the adjusting device for generating a maximum torque and / or Torque curve is formed during the pivoting.
  • the torque which rests on the axis of rotation on the mounting arm due to the weight of the furniture part, or acts on these, is thus influenced by a variable torque. In the superimposition of the two torques is then adjusted by the adjustment option optimal on the particular circumstances ease of use.
  • the mounting arm which is also referred to as an actuating arm, can hereby be connected to the hinge lever via a hinge connection, but it can also be a fastening arm connected in one piece with the hinge lever.
  • a four-hinge hinge is used, in which the hinge lever is hinged to the mounting arm and this is itself pivotally fixed to a second hinge lever, which in turn is pivotally mounted on the furniture. Together with the axis of rotation about which pivoted the pivot lever of the furniture hinge, thus resulting in a roughly parallelogram-like leadership of the furniture part.
  • the maximum torque may be adjustable to catch the weight of the furniture part. This takes place, for example, via a tension of a traction-force transmission element or via an adjustment of a pressure-force transmission element.
  • the tensile force transmission element is a flexible tension band, which is optionally supported by a spring.
  • the force which can be exerted on the hinge lever by this tensile force transmission element, but in the same way as that of a pressure force transmission element, is advantageously applied thereto via a force application point (KA) which can be varied relative to the axis of rotation and in a plane perpendicular thereto by the adjustment device.
  • KA force application point
  • this can lead to an increase or a weakening of the torque exerted by the tensile / compressive force transmission element, so that different phases of movement of the furniture part are passed in accordance with a desired characteristic of the force exerted on the mounting arm or caused by this on the furniture part torque.
  • the lane expired from the point of attack or this itself can vary over the adjusting means.
  • the force application point is the point of articulation of the tension band or of the tension lever, which in turn itself is pivotally fixed to the hinge lever at least in a partial area.
  • a varying torque is generated, which is superimposed in the different phases of motion generated by the weight of the furniture part torque and so support, for example, a closing phase as well as an opening phase can.
  • hinge lever unit with a replaceable or a variable via an actuating means relative to the axis of rotation cam.
  • tensile or compressive force transmission elements can run on the outer surface of the cam along a curved path, so that the different phases of the supported or influenced movement of the cabinet door or the furniture part result.
  • the curved path is to be designed so that in a first phase of the opening movement, a torque is generated, which acts in the closing direction.
  • a moment is generated which acts in the direction of opening. That is, with respect to the center of gravity of the system, the point of application has shifted to the other side of the rotation axis and supports the opening movement.
  • the outer surface of the cam track or that of the point of application about the axis of rotation be running track formed such that the resulting torque is approximately zero, that is, the movement of the furniture part is optionally also stopped by the system immanent friction and the furniture part remains in position.
  • a resultant torque of weight and by pulling / pushing means is about 0.
  • the adjustment of the torques can be made particularly preferably after installation of the furniture part, so that, for example, a resulting torque is exactly 0 if the furniture part is held at the desired height relative to the opening.
  • the cam which may optionally be formed integrally with the hinge lever or is also fixed to this, an adjustable part, which can be influenced via the actuating means.
  • This adjustable part can be flexibly and / or hingedly connected to the remaining part of the cam, which simplifies the assembly of the furniture hinge.
  • Fig. 1 an inventive piece of furniture is disclosed which has a designed as a front panel furniture part 1.
  • This furniture part 1 closes a forwardly directed opening of the designed in this case, for example, as a wall unit furniture whose body upper and lower sides 2, and a rear wall 3 includes.
  • the piece of furniture is, for example, a kitchen piece of furniture with a shelf 4 and has on at least one side, but advantageously also on both sides in Fig. 2 closer explained lever mimic the furniture hinge or furniture fitting on.
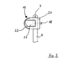
  • the furniture hinge according to the invention comprises in the in Fig. 2 illustrated embodiment a arranged on the furniture part 1 mounting arm 5, to which a hinge lever 6 is hinged.
  • the hinge lever 6 is pivotable about a rotary or pivot axis 7.
  • a further hinge lever 8 is hinged, which in turn pivots about a further pivot axis 9.
  • the rotary or pivot axes 7 and 9 form, together with the joints 10, a four-joint system, by means of which the movement of the front flap or of the furniture part 1 is forcibly guided.
  • a pressure cylinder 11 As a force storage a pressure cylinder 11 is used, which is fixed on the one hand as the pivot axes 7 and 9 movable on the side wall 12 and on the other hand via a slotted guide 13, which in turn is pivotable about an axis 14, acting on a tension band 15.
  • the drawstring 15 forms together with the slotted guide 13 and the impression cylinder 11 a generally numbered 16 tensile and / or pressure force transmission means.
  • the drawstring 15 with the tensile force KR is connected via a pivotally mounted on the hinge lever 6 pull lever 17 with the hinge lever 6.
  • An adjusting device 18 embodied as an eccentric here serves to set a torque exerted by the energy accumulator 11 on the link guide 13 and the drawstring 15 on the hinge lever 6, by means of an adjustable or variable lever arm KL perpendicular to the drawstring 15 with the traction force KR is applied through the center of the pivot axis 7.
  • the corresponding section can be formed as an extension of the tension band 15 also flexible, resulting in an additional Change in torque results.
  • the flexibility can be chosen so that this flexible part of the tension band 15 at least partially surrounds the eccentric 18.
  • the hinge lever unit 16 thus comprises at least the tension band 15 and the pull lever 17 and the eccentric or the adjusting means 18.
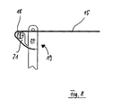
  • the hinge lever unit 16 has a cam disk 19, which is arranged on the hinge lever 6 and which is split in several parts and comprises, in addition to a base part 20, a part 21 which can now be adjusted by means of a screwing means 18. This part 21 is guided on two sides of the base part 20 and has an toward an elastic outer web 22 in the Fig. 3 differently shaped surface.
  • the cam By pushing out the adjustable part 21, which is also referred to as an extendable plunger with an outer curved track in the left direction in the figure and thereby taking place changing the elastic web 22, the cam is replaced by another peripheral shape, so that a running on this cam disc Tieback relative to the rotary or pivot axis 7 another torque on the pivot lever 6 exerts than in the non-extended and in the Fig. 3 shown (outer) shape of the cam 19th
  • At least a portion of the peripheral shape of the cam is thus variable relative to the pivot axis 7, which is characterized by varying between the articulation point of a tension band on the outer peripheral surface distance and the between Tieback attack point and pivot axis resulting angle other leverage and corresponding torques on the swing arm or hinge lever 6 result.
  • Fig. 4a is the cam 19 in the plane of the figure about the adjusting means 18 and pivotally fixed by this.
  • a double arrow 23 in this case indicates the direction in which the cam disc 19 can be adjusted and then changes according to the numbered in the figures by 24 cam track relative to the pivot axis 7, whereby the corresponding lever and the torque, which is different from the weight of the furniture part 1 applied torque superimposed, varies.
  • variable cam 19 via an adjusting means 18 variable cam 19 with an adjustable part 21 is in the Fig. 5 a, b, c, 7, 8, 9 and 10, in which changes the touched by a tension band 15 cam track changes.
  • the comparison of Fig. 5 a to c clearly shows to what extent the force application point 25 (KA) with respect to the pivot axis 7 changes.
  • the adjustable part 21 is in this case connected via a film hinge or an elastically configured part of the cam with the base part 20 fixedly connected to the hinge lever 6.
  • Fig. 7 illustrated variant of the cam 19 has a built-in cam 19 screw over which also the radius of the in the Fig. 7 shown left outer part of the curved path changes.
  • the variable, adjustable part 21 of the cam 19 is variable by means of a base-adjustable eccentric relative to the hinge lever 6 as adjusting means 18.
  • adjusting means such as latching means or the like.
  • steplessly adjustable adjusting means are preferred.
  • a variant of the cam in which two adjusting means 18 can change the curve or circumferential path in each case in different areas. While the closer to the axis of rotation 7 screw 18 has a greater influence on the maximum tensile force, the lower screw 18 is amplified a variation of the torque curve during movement.
  • the Fig. 6 a to c disclose a variant of the embodiment in which the adjustable cam has been replaced by an adjustably fixed to the pivot lever 6 pull lever 17, wherein the Fig. 6 a to c show different phase of the movement.
  • Fig. 6a acts on the pivot lever 6 acting torque in the direction of the closed position of the flap.
  • Fig. 6b Due to the large distance of the point of application to the pivot axis and also due to the almost right angle between the connection of point 25, pivot axis 7 and pull rod 26 a nearly maximum torque on the lever or swivel arm or hinge lever 6 is exercised.
  • This torque is in the Fig. 6c again lower, the opening movement is correspondingly less strongly supported and the flap or the furniture part 1 remains depending on the selected setting in its open position.
  • Fig. 11 a to g is in turn a pivotally mounted on the hinge lever 6 arranged cam 19, in which over other parts 27.1 and 27.2 and 27, the cam 19 can be variably held.
  • the torque acting on the furniture part can be changed during the pivoting process.
  • FIGS. 1 . 2 . 5a to 5c such as 7 . 8th . 9 . 10 such as 12a to 12c
  • a tension band 15 is provided, which engages in a slotted guide 13 at one end ( Fig. 2 ) and at the other end to a pull lever 17 is attached.
  • the cam 19 is pivoted about the pivot axis 7, whereupon the direction of pull KR and the lever arm KL change.
  • Fig. 12a, 12b, 12c seen.
  • a hinge lever arm 6.1 is provided, which is substantially in the starting position ( Fig. 12c ) extends at right angles to the pivotable furniture part not shown in detail.
  • a spring or the slide guide 13 which pulls the drawstring 15 in the direction of arrow 15.1.
  • Fig. 12a the closed position of the furniture part to be pivoted is shown. If this is now pivoted in the direction of the arrow P, the hinge lever 6.1 and the pivoted with this end of the drawstring 15 reaches the position in Fig. 12b is shown.
  • the drawstring exerts on the furniture part to be pivoted or on the hinge lever 6 a force which acts in the closing direction. The user therefore has to open the furniture part against this closing moment or against this closing force.
  • Fig. 13 is shown in two graphs, how the torque is adjustable. Shown by the solid line is the required power torque curve of a pivoting furniture part on the rotation angle of the pivoting furniture part, ie up to the maximum opening angle from the position "flap to" up to the position "flap open”. It can be seen that a closing phase is followed by a holding phase and then a lifting phase. In the in Fig. 13 In the lower illustration, the lift phase and the hold phase are swapped. This is followed by the closing phase, first a lift phase and then a holding phase. This can be displayed with different Switzerlandkurvenin.
  • the adjusting device comprises a fixed to the lever 6 bolt 31, which during the movement phase, by the Fig. 14 a, b, c is clarified, pivoted together with the lever 6 about the pivot axis 7.
  • the hinge lever 6 pivots this far until a balance between the caused by the weight of the furniture part and the drawstring 15 and caused by the bolt 31 and the point 25 on the pivot arm 6 moments is reached.
  • the Fig. 15 a, b, c disclose a variant in which the bolt 31 is fixedly arranged on the base plate of the furniture hinge. Only when pivoting the furniture part about the pivot axis 7 due to an extension of the printing cylinder 11 and a transmission of the resulting forces by means of the tension band 15 this passes with the bolt 31 in the Fig. 15b shown investment position.
  • the deflection caused by the bolt leads in this embodiment of the invention due to the fixed relative to the base plate position of the bolt 31, which does not mitverschwenkt to a deflection of the tensile forces around the bolt 31 so that this starting from the point of attack and considered on the pivot axis 7 a unfold optimal moment of action.
  • This moment of action can be adjusted as desired by arranging the bolt and shape of the cam 19 so that, for example, the pivoting movement is supported or favorable leverage for a rest position of the furniture part can be created.

Landscapes

  • Engineering & Computer Science (AREA)
  • Mechanical Engineering (AREA)
  • Hinges (AREA)
  • Closing And Opening Devices For Wings, And Checks For Wings (AREA)

Abstract

Bei einem Möbelbeschlag zur Verschwenkung eines Möbelteils 1 eines Möbelstücks, beispielsweise zur Verschwenkung einer Möbeltür eines Küchenschrankmöbels, mit einem um eine Schwenkachse 7 des Möbelbeschlags verschwenkbaren Befestigungsarm 5 des Möbelteils 1, mit einem Kraftspeicher 11 sowie mit wenigstens einem um die Schwenkachse 7 verschwenkbaren Scharnierhebei 6, 8, wobei an dem Scharnierhobel 6, 8 ein Zugkraft- oder ein Druckkraftübertragungselement 15 mit einer Kraftübertragungsrichtung KR angreift und über den Scharnierhebel und eine Verstelleinrichtung 18, 19 ein die Verschwenkung des Möbelteils 1 beeinflussendes Drehmoment einstellbar ist. Um ein Möbelbeschlag mit verbesserten Öffnungs- und Schließeigenschaften zur Verfügung zu stellen, ist vorgesehen, daß an dem Scharnierhebel 6 das Zugkraft- oder Druckkraftübertragungselement 15 über die Verstelleinrichtung 19 angreift, wobei die Verstelleinrichtung 19 um die Schwenkachse 7 des Möbelbeschlags verschwenkbar ist, daß der Kraftangriffspunkt 25 der Zug- bzw. Druckkraft des Zugkraft- oder Druckkraftübertragungselementes 15 an der Verstelleinrichtung 9 aus einer ein positives oder negatives Moment auf das Möbelteil 1 erzeugenden Betriebsstellung und Durchlaufen einer Nullpunktlage (Strecklage) in eine ein gegensinniges Moment erzeugende andere Betriebsstellung (± Lageseitenwechsel) überführbar ist und daß der wirksame Krafthebelarm KL zwischen der Schwenkachse 7 und dem Kraftangriffspunkt KA, 25 veränderbar ist und durch die Veränderung des Krafthebelarms KL über die Verstelleinrichtung 19 und den Scharnierhebel 6 das verschwenkbare Möbelteil 1 im Verlaufe dessen Öffnungs- oder Schließbewegung mit einem die Öffnungsbewegung und/oder die Schließbewegung und/oder ein Halten des Möbelteils 1 unterstützenden Wirkmoment beaufschlagbar ist. ( Fig. 2 )

Description

  • Die vorliegende Erfindung betrifft einen Möbelbeschlag zur Verschwenkung eines Möbelteils eines Möbelstücks, beispielsweise zur Verschwenkung einer Möbeltür eines Küchenschrankmöbels, mit einem um eine Schwenkachse des Möbelbeschlags verschwenkbaren Befestigungsarm des Möbelteils, mit einem Kraftspeicher sowie mit wenigstens einem um die Schwenkachse verschwenkbaren Scharnierhebel, wobei an dem Scharnierhebel ein Zugkraft- oder ein Druckkraftübertragungselement mit einer Kraftübertragungsrichtung (KR) angreift und über den Scharnierhebel und eine Verstelleinrichtung ein die Verschwenkung des Möbelteils beeinflussendes Drehmoment einstellbar ist.
  • Möbelbeschläge der vorgenannten Art werden beispielsweise als Liftbeschläge verwendet, um eine Frontklappe oder ein anderes Türelement eines Küchenschrankes, beispielsweise eines Oberschrankes, aus einer Schließstellung um eine horizontale Achse aufzuschwenken und in dieser Öffnungsstellung zu halten. Dabei ist es möglich, z.B. einen Teil der Öffnungsbewegung federkraftunterstützend zu gestalten, beispielsweise bis hin zur maximalen Aufschwenkstellung oder aber auch bis hin zu einer Öffnungsstellung, von der ab der Benutzer dann ohne entsprechende Öffnungskraftunterstützung die aufzuschwenkende Möbeltür hochzubewegen hat. Die Öffnungs- und Schließbewegungen sollen hierbei möglichst kontrolliert gestaltet und für den Benutzer möglichst komfortabel sein.
  • Aus der EP 1 172 048 A2 ist ein Küchenschrank mit einer anhebbaren und absenkbaren Halteplatte für Fachböden bekannt, bei der ein von einem Zug- und Druckelement verschwenkbarer Scharnierhebel vorgesehen ist, mit dem die Halteplatte gelenkig verbunden ist. Dazu sind Anbindungsteile vorgesehen, an denen der Scharnierhebel und die Halteplatte angreifen und in denen die Schwenkachse definiert ist. An diesen Halteteilen greift zusätzlich ein Halteband an, das ebenfalls an dem Halteteil befestigt ist, wobei an dem der Halteplatte gegenüberliegenden Ende des Scharnierhebels das Halteband festgelegt ist. Dieses Halteband ist über einen kurvenförmigen Bereich des Halteelementes zu legen, wobei dieser kurvenförmige Bereich einen konstanten Radius hat. Da sich jedoch dieser Radius mit Abstand zur Schwenkachse des Scharnierhebels erstreckt, ergibt sich daraus ein Hebelarm, so daß eine Drehmomentübertragung im Falle der Verschwenkung ermöglicht ist.
  • Damit ist jedoch kein sich änderndes Drehmoment zu erzeugen, um im Falle der Aufschwenkung einer Tür z.B. ein einer Schließbewegung entgegenwirkendes Drehmoment zu erzeugen.
  • Es ist Aufgabe der vorliegenden Erfindung, einen Möbelbeschlag der eingangs genannten Art zu schaffen, mit dem im Verlaufe der Öffnungsbewegung des Möbelteils unterschiedliche Drehmomente zu erzielen sind.
  • Zur Lösung dieser Aufgabe zeichnet sich der Möbelbeschlag der eingangs genannten Art dadurch aus, daß an dem Scharnierhebel das Zugkraft- oder Druckkraftübertragungselement über die Verstelleinrichtung angreift, wobei die Verstelleinrichtung um die Schwenkachse des Möbelbeschlags verschwenkbar ist, daß der Kraftangriffspunkt (KA) der Zug- bzw. Druckkraft des Zugkraft- oder Druckkraftübertragungselementes an der Verstelleinrichtung aus einer ein positives oder negatives Moment auf das Möbelteil erzeugenden Betriebsstellung und nach Durchlaufen einer Nullpunkt (Strecklage) in eine ein gegensinniges Moment erzeugende andere Betriebsstellung (± Lageseitenwechsel) überführbar ist, wobei der wirksame Krafthebelarm zwischen der Schwenkachse und dem Kraftangriffspunkt (KA) veränderbar ist und durch die Veränderung des Krafthebelarms über die Verstelleinrichtung und den Scharnierhebel das verschwenkbare Möbelteil im Verlaufe dessen Öffnungs- oder Schließbewegung mit einem die Öffnungsbewegung und/oder die Schließbewegung und/oder ein Halten des Möbelteils unterstützenden Wirkmoment beaufschlagbar ist.
  • Dazu ist bevorzugt an dem Scharnierhebel ein Scharnierhebelarm als Verstelleinrichtung vorgesehen, an dem das Zugkraft- oder Druckkraftübertragungselement angreift. Alternativ kann an dem Scharnierhebel eine fest oder auch eine veränderbare Kurvenscheibe als Verstelleinrichtung vorgesehen sein, an der das Zug- und/oder Druckkraftübertragungselement mit Abstand zu der Schwenkachse des Scharnierhebels angreift.
  • Über das Zug- oder Druckkraftelement und die Verstelleinrichtung ist ein die Öffnungsbewegung, die Schließbewegung oder ein Halten des Möbelteils unterstützendes Wirkmoment (Unterstützungsmoment) zu erzielen, die zunächst von der Zug- bzw. Druckkraft des Zugkraft- und/oder Druckkraftübertragungselementes bzw. des Kraftspeichers abhängt, aber auch von dem wirksamen Hebelarm (KL), der senkrecht zur Kraftrichtung (KR) der Zugkraft bzw. Druckkraft durch den Mittelpunkt der Schwenkachse des Scharnierhebels angelegt wird. Dies ist der Punkt an der Verstelleinrichtung, an dem das Druckkraftübertragungselement bzw. das Zugkraftübertragungselement an dem Kraftangriffspunkt (KA) angreift, also dort, wo die Kraft (K) in das drehfest mit dem Scharnierhebel verbundene Übertragungselement, also in der Regel in die Verstelleinrichtung wie beispielsweise eine Kurvenscheibe, eingeleitet wird. Die Kraft (K), multipliziert mit dem jeweiligen sich ändernden Hebel (KL), erzeugt das jeweilige unterstützende Wirkmoment.
  • Im Verlaufe des Schwenkweges des Möbelteils haben Wirkmomente verschiedene Wirkrichtungen, so daß sich als Summen der jeweiligen unterstützenden Wirkmomente und der Eigenmomente des Möbelteils Gesamtmomente ergeben. Die Beeinflussungsmöglichkeiten des Gesamtmomentes sind über die Beeinflussung der Kraftgröße (K), der Kraftrichtung (KR) und/oder des Krafthebelarms (KL) gegeben.
  • Durch die erfindungsgemäße Lösung ist insbesondere die Beeinflussung des wirksamen Krafthebelarms (KL) und in geringerem Maße auch eine Beeinflussung der Kraftrichtung (KR) möglich. Da bei der erfindungsgemäßen Lösung der Krafthebelarm (KL) verändert wird, ist über die Verstelleinrichtung, beispielsweise eine Zugkurvenscheibe, das Drehmoment fast optimal als große Komponente der Kraft des Kraftspeichers in das drehfeste Übertragungsmittel, also den Scharnierhebel, einzuleiten, so daß abhängig von der Lage des Kraftangriffspunktes (KA) nur eine sehr geringe Restkraftkomponente verbleibt, die als Radialkraft von der Schwenkachse aufzufangen ist. Daraus ergibt sich eine sehr große Varianzmöglichkeit des hinteren Absatzes bei einer z.B. als Kurvenscheibe ausgebildeten Verstelleinrichtung.
  • Es sind insgesamt durch die geringen Radialkräfte nur geringe Flächenpressungen zwischen der Verstelleinrichtung und den Kraftübertragungselemente vorhanden. Die Verstelleinrichtung, beispielsweise die Kurvenscheibe, kann daher aus geringer festem Material bestehen und auch eine relativ rauhe Oberfläche haben. Die Lagerungen von Übertragungs- und Feststellmitteln sind geringer belastet und reibungsarm. Die Verstelleinrichtung kann auch gegen die wirkenden Radialkräfte unter Last verstellt werden, um den wirksamen Krafthebelarm zu verändern.
  • Die größte Komponente der Verstellung des Kraftangriffspunktes (KA) geschieht in Richtung auf die Schwenkachse. Dadurch wird im wesentlichen der Hebelarm und weniger die Kraftrichtung verstellt. Für den Vorzeichenwechsel des anzulegenden Momentes nach Durchlaufen der Nullpunktlage bzw. der Strecklage kann bei dem erfindungsgemäßen Möbelbeschlag der mechanische Kraftangriffspunkt (KA) gegenüber der Schwenkachse die Seite wechseln, so daß es dadurch ermöglicht ist, zum einen ein die Schließbewegung unterstützendes Wirkmoment einzustellen und zum anderen ein die Öffnungsbewegung unterstützendes Moment.
  • Bevorzugtermaßen ist der maximale Schwenkwinkel dabei derart berücksichtigt, daß ein die Schließbewegung unterstützendes Wirkmoment über einen Winkelbereich des maximalen Öffnungsschwenkwinkels von 0 bis 40° berücksichtigt ist, ein die Öffnungsbewegung des schwenkbaren Möbelteils unterstützendes Wirkmoment über einen maximalen Schwenkwinkelbereich von 10 bis 85 % und in einem Bereich zwischen 50 % und 100 % des maximalen Öffnungsschwenkwinkels über ein neutrales Wirkmoment eingestellt werden kann, so daß dann die Möbeltür gegen die Gewichtskraft gehalten ist. Insgesamt ist damit ein Möbelbeschlag zur Verfügung gestellt, bei dem individuell ein unterstütztes Schließen, ein gegen eine Schließkraft gewünschtes Öffnen, ein Halten und/oder ein die Öffnungsbewegung unterstützendes Liften eingestellt werden kann.
  • Bevorzugtermaßen ist dazu ein zumindest bereichsweise, jedoch auch ingesamt flexibel ausgebildetes Zugband vorgesehen, das entweder an einem Scharnierhebelarm angreift oder aber an z.B. einer Kurvenscheibe. Dieses Zugband kann beispielsweise eine Kurvenscheibe in deren Kurvenbereich bereichsweise umschlingen, beispielsweise über einen Bereich von 180°, so daß im Verlaufe der Schwenkbewegung der zu verschwenkenden Tür mit dem Hebelarm und der Kurvenscheibe sich das Zugband von der Kurvenwand abwickelt, und mit dem wirksamen Kraftangriffspunkt in eine Lage überführt wird, in der die Schließbewegung nicht mehr unterstützt wird, sondern aufgrund der Kraftangriffspunkte eine Öffnungsbewegung unterstützt wird bzw. ein Halten. Dies ist mit einfachen Mittel zu vollziehen, je nach dem, wie die Kraftangriffspunktlage gewählt wird bzw. die Kurvenscheibe gestaltet ist.
  • Zusätzlich ist es möglich, daß der Möbelbeschlag einen Scharnierhebel aufweist, der Teil einer mit zumindest einer Verstelleinrichtung versehenen Scharnierhebeleinheit ist, die eine Verstellung einer Kennlinie des Drehmomentes insbesondere nach der Montage des Möbelscharniers ermöglicht, wobei die Verstelleinrichtung zur Erstellung eines maximalen Drehmoments und/oder des Drehmomentenverlaufes während der Verschwenkung ausgebildet ist.
  • Das Drehmoment, welches aufgrund des Eigengewichts des Möbelteils an der Drehachse über den Befestigungsarm anliegt, bzw. auf diesen einwirkt, wird somit über ein veränderbares Drehmoment beeinflusst. In der Überlagerung der beiden Drehmomente ist durch die Justagemöglichkeit dann der auf die jeweiligen Gegebenheiten optimale Bedienungskomfort einstellbar. Der auch als Stellarm bezeichnete Befestigungsarm kann hierbei über eine Gelenkverbindung mit dem Scharnierhebel verbunden sein, es kann sich jedoch auch um einen einteilig mit dem Scharnierhebel verbunden Befestigungsarm handeln.
  • Für eine optimale Beweglichkeit des zu verschwenkenden Möbelteils ist vorteilhafterweise ein Vier-Gelenk-Scharnier verwendbar, bei der der Scharnierhebel gelenkig an dem Befestigungsarm angebunden ist und dieser selbst an einem zweiten Scharnierhebel, der wiederum schwenkbeweglich an dem Möbelstück gelagert ist, verschwenkbar festgelegt ist. Zusammen mit der Drehachse, um die der Schwenkhebel des Möbelscharniers verschwenkt, ergibt sich somit eine in etwa parallelogrammartige Führung des Möbelteils. In Abhängigkeit des verwendeten Möbelteils kann das maximale Drehmoment beispielsweise zum Auffangen der Gewichtskraft des Möbelteils einstellbar ausgebildet sein. Dies erfolgt beispielsweise über eine Spannung eines Zugmittelkraftübertragungselements oder über eine Verstellung eines Druckkraftübertragungselementes.
  • Vorteilhafterweise handelt es sich bei dem Zugkraftübertragungselement um ein flexibles Zugband, welches gegebenenfalls von einer Feder unterstützt wird. Die von diesem Zugkraftübertragungselement, jedoch genauso wie auch die von einem Druckkraftübertragungselement auf den Scharnierhebel ausübbare Kraft wird auf diesen vorteilhafterweise über einen Kraftangriffspunkt (KA) aufgebracht, der relativ zur Drehachse und in einer Ebene senkrecht dazu durch die Verstelleinrichtung variierbar ist. Das auf den Scharnierhebel aufgrund des sich verändernden Abstandes des Kraftangriffspunkts zur Drehachse während der Verschwenkung ausgeübte Drehmoment ändert sich somit während der Verschwenkung. Beispielsweise kann dies zu einer Verstärkung oder auch einer Abschwächung des von dem Zug-/Druckkraftübertragungselement ausgeübten Drehmomentes führen, so dass verschiedene Phasen der Bewegung des Möbelteils entsprechend einer gewünschten Kennlinie des auf den Befestigungsarm ausgeübten bzw. von diesem auf das Möbelteil bewirkten Drehmoments durchlaufen werden. Vorteilhafterweise lässt sich die von dem Angriffspunkt abgelaufene Bahn oder dieser selbst über das Stellmittel variieren.
  • In einer vorteilhaften Ausgestaltung der Erfindung handelt es sich bei dem Kraftangriffspunkt um den Anlenkpunkt des Zugbandes oder des Zughebels, der selbst wiederum an dem Scharnierhebel zumindest in einem teilweisen Bereich schwenkbar festgelegt ist.
  • Aufgrund der Relativbewegung des Zughebels während der Bewegung des Scharnierhebels, dass heißt während des Verschwenkens des Möbelteils, wird ein variierendes Drehmoment erzeugt, welches sich in den verschiedenen Bewegungsphasen dem durch die Gewichtskraft des Möbelteils erzeugten Drehmoments überlagert und so beispielsweise eine Schließphase wie auch eine Öffnungsphase unterstützen kann.
  • Besonders vorteilhaft ist eine Ausgestaltung der Scharnierhebeleinheit mit einer austauschbaren oder einer über ein Stellmittel relativ zur Drehachse variierbaren Kurvenscheibe. Üblicherweise verwendete Zug- oder Druckkraftübertragungselemente können hierbei auf der Außenfläche der Kurvenscheibe entlang einer Kurvenbahn ablaufen, so dass sich die verschiedenen Phasen der unterstützten bzw. beeinflussten Bewegung der Schrankklappe bzw. des Möbelteils ergeben.
  • Beispielsweise ist die Kurvenbahn so zu gestalten, dass in einer ersten Phase der Öffnungsbewegung ein Drehmoment erzeugt wird, welches in Richtung Schließen wirkt. In einer sich an die erste Phase anschießenden Phase wird dann ein Moment erzeugt, welches in Richtung Öffnen wirkt. Das heißt, daß sich bezüglich des Schwerpunkts des Systems hat sich der Angriffspunkt auf die andere Seite der Drehachse verlagert und die Öffnungsbewegung unterstützt. In einer dritten Phase kann die Außenfläche der Kurvenbahn bzw. die von dem Angriffspunkt um die Drehachse verlaufende Bahn dergestalt ausgebildet sein, dass das resultierende Drehmoment ungefähr Null ist, dass heißt die Bewegung des Möbelteils ist gegebenenfalls auch durch die systemimmanente Reibung gestoppt und das Möbelteil bleibt in der Position stehen. In diesem Fall ist ein resultierendes Drehmoment aus Gewichtskraft und durch Zug-/Druckmittel in etwa 0.
  • Mittels des Stellmittels kann die Justage der Drehmomente besonders bevorzugt nach Einbau des Möbelteils vorgenommen werden, so dass beispielsweise ein resultierendes Drehmoment genau dann gleich 0 ist, wenn das Möbelteil in der gewünschten Höhe relativ zur Öffnung gehalten wird.
  • Vorteilhafterweise umfasst die Kurvenscheibe, die gegebenenfalls einstückig mit dem Scharnierhebel ausgebildet sein kann oder auch an diesem festgelegt ist, einen verstellbaren Teil, der über das Stellmittel beeinflussbar ist. Dieser verstellbare Teil kann flexibel und/oder gelenkig mit dem übrigen Teil der Kurvenscheibe verbunden sein, was den Zusammenbau des Möbelscharniers vereinfacht.
  • Bei einer solchen bevorzugten Ausführungsform der Erfindung wird über die Veränderung der äußeren Kurvenbahn der Kurvenscheibe, beispielsweise über eine einstellbare Festlegung der Kurvenscheibe an dem Scharnierhebel, die von dem Zugmittel ausgeübte Zugkraft und damit deren wirksame Komponente verändert. Dies bewirkt einerseits eine Änderung der auf den Angriffspunkt ansetzenden Zugkraft, gleichzeitig auch eine Veränderung der entsprechend wirksamen Komponente der Zugkraft.
  • Weitere Vorteile und Einzelheiten der Erfindung sind der nachfolgenden Figurenbeschreibung zu entnehmen, wobei insbesondere einzeln als vorteilhaft herausgestellte Merkmale auch in Alleinstellung der Erfindung zum Vorteil reichen. In den Figuren zeigt:
  • Fig. 1
    einen Querschnitt durch ein erfindungsgemäßes Küchenmöbel,
    Fig. 2
    teilweise den Ausschnitt A nach Fig. 1,
    Fig. 3
    einen Teil eines erfindungsgemäßen Möbelscharniers mit einer veränderbaren Kurvenscheibe,
    Fig. 4 a,b,c
    den Gegenstand nach Fig. 3 in einer weiteren Ausführungsform,
    Fig. 5 a,b,c
    den Gegenstand nach Fig. 4 in einer weiteren Ausführungsform,
    Fig. 6 a,b,c
    den Gegenstand nach Fig. 4 in einer weiteren Ausführungsform,
    Fig. 7
    den Gegenstand nach Fig. 3 in einer weiteren Ausführungsform,
    Fig. 8
    den Gegenstand nach Fig. 3 in einer weiteren Ausführungsform,
    Fig. 9
    den Gegenstand nach Fig. 3 in einer weiteren Ausführungsform,
    Fig. 10
    den Gegenstand nach Fig. 3 in einer weiteren Ausführungsform,
    Fig. 11 a,b,c,d
    den Gegenstand nach Fig. 4 in einer weiteren Ausführungsform,
    Fig. 12 a,b,c
    Darstellungen eines Ausführungsbeispiels eines Scharnierhebels mit Scharnierhebelarm sowie Zugband in unterschiedlichen Öffnungsstellungen einer aufzuschwenkenden Möbeltür,
    Fig. 13
    zwei Ausführungsbeispiele eines eingestellten Möbelbeschlages mit zwei unterschiedlichen Kurvenscheiben mit Darstellung des erforderlichen Kraft- und Drehmomentenverlaufes der Möbelklappe bzw. des schwenkbaren Möbelteils, um über den gesamten Verstellbereich kraftneutral zu bleiben und darin gestrichelt die Veränderbarkeit der Zugkurvenscheibe für die Phasen Schließen, Halten und Liften,
    Fig. 14 a,b,c
    ein weiteres Ausführungsbeispiel der Erfindung mit einem auf das Zug- und/oder Druckkraftübertragungselement einwirkenden Bolzen, und
    Fig. 15 a,b,c
    den Gegenstand nach Fig. 14 in einer weiteren Ausführungsform.
  • In der Zeichnung sind allgemein gleichwirkende Teile mit übereinstimmenden Bezugsziffern versehen.
  • In Fig. 1 ist ein erfindungsgemäßes Möbelstück offenbart, welches eine als Frontplatte ausgebildetes Möbelteil 1 aufweist. Dieses Möbelteil 1 verschließt eine nach vorne hin gerichtete Öffnung des in diesem Falle beispielsweise als Oberschrank ausgebildeten Möbelstücks, dessen Korpus obere und untere Seiten 2, sowie eine Rückwand 3 umfasst. Das Möbelstück ist beispielsweise ein Küchenmöbelstück mit einem Einlegeboden 4 und weist auf zumindest einer Seite, vorteilhaft jedoch auch auf beiden Seiten die in Fig. 2 näher erläuterte Hebelmimik des Möbelscharniers bzw. Möbelbeschlags auf.
  • Das erfindungsgemäße Möbelscharnier umfasst in der in Fig. 2 dargestellten Ausführungsform einen an dem Möbelteil 1 angeordneten Befestigungsarm 5, an dem ein Scharnierhebel 6 gelenkig angebunden ist. Der Scharnierhebel 6 ist um eine Dreh- oder auch Schwenkachse 7 verschwenkbar. An dem dem Möbelteil 1 abgewandten Ende des Befestigungsarms 5 ist ein weiterer Scharnierhebel 8 gelenkig befestigt, der seinerseits um eine weitere Schwenkachse 9 verschwenkt. Die Dreh- bzw. Schwenkachsen 7 und 9 bilden zusammen mit den Gelenken 10 ein Vier-Gelenk-System aus, durch welches die Bewegung der Frontklappe bzw. des Möbelteils 1 zwangsgeführt ist. Als Kraftspeicher wird ein Druckzylinder 11 verwendet, der einerseits wie die Schwenkachsen 7 und 9 beweglich an der Seitenwand 12 festgelegt ist und andererseits über eine Kulissenführung 13, die ihrerseits um eine Achse 14 verschwenkbar ist, auf ein Zugband 15 einwirkt. Das Zugband 15 bildet zusammen mit der Kulissenführung 13 und dem Druckzylinder 11 ein allgemein mit 16 beziffertes Zug- und/oder Druckkraftübertragungsmittel aus.
  • Das Zugband 15 mit der Zugkraftrichtung KR ist über einen schwenkbeweglich an dem Scharnierhebel 6 angeordneten Zughebel 17 mit dem Scharnierhebel 6 verbunden. Eine als Exzenter ausgebildete Verstelleinrichtung 18 dient hierbei der Einstellung eines von dem Kraftspeicher 11 über die Kulissenführung 13 und das Zugband 15 auf den Scharnierhebel 6 ausgeübten Drehmoments, und zwar mittels eines einstellbaren bzw. veränderbaren Hebelarms KL, der senkrecht am Zugband 15 mit der Zugkrafteinrichtung KR durch den Mittelpunkt der Schwenkachse 7 angelegt wird.
  • Wird beispielsweise der in Fig. 2 dargestellte Exzenter um 90° gegen den Uhrzeigersinn gedreht, verschwenkt der Zughebel 17 ebenfalls gegen den Uhrzeigersinn und der Druckzylinder 11 wird stärker komprimiert. Demzufolge wird die Frontklappe bzw. das Möbelteil 1 mit einer größeren Kraft in seiner Geschlossenstellung gehalten. Gleichzeitig variiert auch aufgrund des geänderten Hebelarms KL der Verlauf des Drehmoments während der Öffnungsbewegung, d.h. insgesamt wird die die Verschwenkung des Möbelstücks kennzeichnende Kennlinie des resultierenden Drehmoments variiert. Insbesondere wird der Verlauf der Öffnungsbewegung und die Schließbewegung bereits in der montierten Stellung variierbar, womit ein hoher Bedienkomfort des Möbelstücks einher geht. Diese Einstellung kann beispielsweise auch schon werkseitig nach Montage des Möbelstücks vorgenommen werden.
  • Statt eines starren Zughebels 17 kann der entsprechende Abschnitt als Verlängerung des Zugbands 15 auch flexibel ausgebildet sein, wodurch sich eine zusätzliche Veränderung des Drehmoments ergibt. In diesem Fall kann die Flexibilität so gewählt werden, dass sich dieser flexible Teil des Zugbandes 15 zumindest teilweise um den Exzenter 18 legt.
  • Die Scharnierhebeleinheit 16 umfasst somit zumindest das Zugband 15 sowie den Zughebel 17 und den Exzenter bzw. das Stellmittel 18.
  • In einer weiteren Ausführungsform gemäß Fig. 3 weist die Scharnierhebeleinheit 16 einen an dem Scharnierhebel 6 angeordnete Kurvenscheibe 19 auf, die mehrgeteilt ist und neben einem Basisteil 20 ein nun mittels einer als Schraube ausgebildeten Stellmittels 18 verstellbaren Teil 21 umfasst. Dieser Teil 21 ist auf zwei Seiten von dem Basisteil 20 geführt und weist eine in Richtung einer elastischen Außenbahn 22 in der Fig. 3 anders geformte Oberfläche auf. Durch das Herausschieben des verstellbaren Teils 21, welcher auch als ausfahrbarer Stößel mit einer äußeren Kurvenbahn bezeichnet wird, in die in der Figur linken Richtung und das hierdurch erfolgende Verändern der elastischen Bahn 22 erhält die Kurvenscheibe eine andere Umfangsform, so dass ein auf dieser Kurvenscheibe ablaufendes Zugband relativ zur Dreh- bzw. Schwenkachse 7 ein anderes Drehmoment auf den Schwenkhebel 6 ausübt als in der nicht ausgefahrenen und in der Fig. 3 gezeigten (äußeren) Form der Kurvenscheibe 19.
  • Zumindest ein Teil der Umfangsform der Kurvenscheibe ist somit gegenüber der Schwenkachse 7 veränderbar, wodurch sich durch den zwischen dem Anlenkpunkt eines Zugbandes auf der Außenumfangsfläche variierenden Abstand und den zwischen Zugband Angriffpunkt und Schwenkachse resultierenden Winkel andere Hebelwirkungen und entsprechende Drehmomente auf den Schwenkarm bzw. Scharnierhebel 6 ergeben.
  • In den nachfolgenden Figuren sind weiterhin verschiedene Ausführungsformen der Erfindung mit gegenüber dem Scharnierhebel 6 zumindest relativ geänderten äußeren Umfangsbahnen, die zu einer Änderung der Drehmomentkennlinie des Schwenkhebels führen, gezeigt. Gemeinsam ist diesen Varianten, dass die Verstellung der Kurvenscheibe bzw. deren Veränderung beispielsweise auch durch Austauschen der Kurvenscheibe in Richtung einer Ebene erfolgen, die vertikal zur Schwenkachse bzw. Drehachse 7 liegt.
  • In der Fig. 4a ist die Kurvenscheibe 19 in der Figurenebene um das Stellmittel 18 und von diesem festlegbar verschwenkbar. Ein Doppelpfeil 23 indiziert hierbei die Richtung in der sich die Kurvenscheibe 19 einstellen lässt und über die sich dann entsprechend den in den Figuren durch 24 bezifferte Kurvenbahn relativ zur Schwenkachse 7 ändert, wodurch sich der entsprechende Hebel und das Drehmoment, das sich dem von der Gewichtskraft des Möbelteils 1 ausgeübten Drehmoment überlagert, variiert.
  • Entsprechend dem Doppelpfeil 23 der Fig. 4a beschreiben die Doppelpfeile 23 der Fig. 4b und 4c die Verschiebbarkeit der Kurvenscheibe 19 entlang der dargestellten Kulissenführung 18, 19.1, mittels derer die Kurvenscheibe 19 gegenüber dem Scharnierhebel 6 beweglich ist.
  • Eine im Wesentlichen auf demselben Wirkungsprinzip beruhende, über ein Stellmittel 18 variierbare Kurvenscheibe 19 mit einem verstellbaren Teil 21 ist in den Fig. 5 a,b,c, 7, 8, 9 und 10 gezeigt, in denen sich die von einem Zugband 15 berührte Kurvenbahn ändert. Der Vergleich der Fig. 5 a bis c zeigt deutlich, inwieweit sich der Kraftangriffspunkt 25 (KA)bezüglich der Dreh-/Schwenkachse 7 ändert. Der verstellbare Teil 21 ist hierbei über ein Filmscharnier oder einen elastisch ausgestalteten Teil der Kurvenscheibe mit dem fest an dem Scharnierhebel 6 verbundenen Basisteil 20 verbunden.
  • Die in Fig. 7 dargestellte Variante der Kurvenscheibe 19 weist eine in die Kurvenscheibe 19 integrierte Schraube auf, über die sich ebenfalls der Radius des in der Fig. 7 gezeigten linken äußeren Teils der Kurvenbahn ändert. Gleiches gilt für die Fig. 8 und 9, in der der variable, einstellbare Teil 21 der Kurvenscheibe 19 mittels einer gegenüber dem Scharnierhebel 6 festlegbaren basisverstellbaren Exzenters als Verstellmittel 18 variierbar ist. Es versteht sich, dass statt einer Verstellung durch eine Schraube auch andere Stellmittel, beispielsweise Rastmittel oder dergl. verwendet werden können. Bevorzugt sind jedoch stufenlos verstellbare Stellmittel.
  • In der Fig. 10 ist eine Variante der Kurvenscheibe gezeigt, bei der zwei Stellmittel 18 die Kurven- bzw. Umfangsbahn jeweils in unterschiedlichen Bereichen verändern können. Während die näher zur Drehachse 7 befindliche Schraube 18 einen größeren Einfluss auf die maximale Zugkraft aufweist, dient die untere Schraube 18 verstärkt einer Variation des Drehmomentsverlauf während der Bewegung.
  • Die Fig. 6 a bis c offenbaren eine Variante der Ausführungsform, in der die verstellbare Kurvenscheibe über einen verstellbar an dem Schwenkhebel 6 festgelegten Zughebel 17 ersetzt wurde, wobei die Fig. 6 a bis c verschiedene Phase des Bewegungsablaufes zeigen. In der Fig. 6a wirkt das auf den Schwenkhebel 6 wirkende Drehmoment in Richtung der Geschlossenstellung der Klappe. In der Fig. 6b wird aufgrund des großen Abstandes des Angriffspunktes zur Schwenkachse und ebenfalls aufgrund des nahezu rechten Winkels zwischen der Verbindung von Angriffspunkt 25, Schwenkachse 7 und Zugstange 26 ein nahezu maximalesDrehmoment auf den Hebel bzw. Schwenkarm oder Scharnierhebel 6 ausgeübt. Dieses Drehmoment ist in der Fig. 6c wieder geringer, die Öffnungsbewegung wird entsprechend weniger stark unterstützt und die Klappe bzw. das Möbelteil 1 verbleibt je nach gewählter Einstellung in seiner Offenstellung.
  • In den Fig. 11 a bis g ist wiederum eine schwenkbar an dem Scharnierhebel 6 angeordnete Kurvenscheibe 19 offenbart, bei der über weitere Teile 27.1 und 27.2 bzw. 27 die Kurvenscheibe 19 veränderlich gehalten werden kann. Auch hierüber lässt sich das auf das Möbelteil einwirkende Drehmoment ändern, und zwar während des Schwenkvorganges.
  • Wie insbesondere näher den Figuren 1, 2, 5a bis 5c sowie 7, 8, 9, 10 sowie 12a bis 12c zu entnehmen ist, ist in dem gezeigten Ausführungsbeispiel als Zugelement ein Zugband 15 vorgesehen, das in eine Kulissenführung 13 einenends angreift (Fig. 2) und am anderen Ende an einem Zughebel 17 befestigt ist. Im Verlaufe der Bewegung der Tür in die geöffnete Stellung, wird die Kurvenscheibe 19 mit um die Schwenkachse 7 verschwenkt, woraufhin sich die Zugrichtung KR und der Hebelarm KL verändern. Dies ist näher aus Fig. 12a, 12b, 12c ersichtlich. Dabei wird eine Nullstellung bzw. die Stecklage (koaxial zur Zugrichtung KR) durchlaufen, so daß ein Vorzeichenwechsel beim Wirkmoment erreicht wird.
  • Dort ist ein Ausführungsbeispiel dargestellt, bei dem ein Scharnierhebelarm 6.1 vorgesehen ist, der sich im wesentlichen in der Ausgangsstellung (Fig. 12c) rechtwinkelig zu dem nicht näher gezeigten schwenkbaren Möbelteil erstreckt. Wie näher dargestellt greift an dem Pfeil 15.1 z.B. eine Feder an oder aber die Kulissenführung 13, die das Zugband 15 in Pfeilrichtung 15.1 zieht. In Fig. 12a ist die Schließstellung des zu verschwenkenden Möbelteils gezeigt. Soll dieses nun in Richtung des Öffnungspfeils P aufgeschwenkt werden, gelangt der Scharnierhebel 6.1 und das mit diesem verschwenkte Ende des Zugbandes 15 in die Position, die in Fig. 12b gezeigt ist. Während der Bewegungsphase übt das Zugband auf das aufzuschwenkende Möbelteil bzw. auf den Scharnierhebel 6 eine Kraft aus, die in Schließrichtung wirkt. Der Benutzer hat daher das Möbelteil gegen dieses Schließmoment bzw. gegen diese Schließkraft zu öffnen.
  • Bewegt er das Möbelteil gegen dieses Schließmoment weiter, so wird eine Position erreicht, wie sie in Fig. 12c angedeutet ist. Dabei ist der Scharnierhebel 6 und mit ihm der Scharnierhebel 6.1 so weit nach oben verschwenkt, daß nun die Zugkraft KR des Zugbandes 15 derart auf den Hebelarm 6.1 wirkt, daß ein Moment erzeugt wird, das entweder - unter Berücksichtigung der Gewichtskraft des schwenkbaren Möbelteils und der damit verbundenen Scharnierhebelteile - das Möbelteil hält oder liftet, d.h. im Sinne einer Öffnungsbewegung nach oben überführt. Je nach Gestaltung auch der Kurvenscheibe 19 ist dies mit einfachen Mitteln einzustellen, beispielsweise durch Veränderung der Kurvenscheibe oder durch ein Austauschen der Kurvenscheibe. Das Zugband ist ein einfach bauendes Teil, das mit nur wenigen Handgriffen anzubinden ist. Es ist verschleißarm und kann im Verschleißfalle gegen Ersatzteile mit geringen Gestehungskosten ausgetauscht werden. Gleichwohl ist die Vielfalt der Einstellung von veränderbaren Drehmomenten und in bestimmten Phasen wirkenden Wirkmomenten sehr einfach möglich.
  • In Fig. 13 ist in zwei Schaubildern gezeigt, wie das Drehmoment einstellbar ist. Durch die durchgezogene Linie gezeigt ist der erforderliche Kraft- Drehmomentverlauf eines schwenkbaren Möbelteils über dem Drehwinkel des schwenkbaren Möbelteils, also bis hin zum maximalen Öffnungswinkel aus der Stellung "Klappe zu" bis hin zur Stellung "Klappe auf". Ersichtlich, daß sich an eine Schließphase eine Haltephase und danach eine Liftphase anschließt. In der in Fig. 13 unteren Darstellung sind die Liftphase und die Haltephase getauscht. Hier schließt sich an die Schließphase zunächst eine Liftphase und dann eine Haltephase an. Dies ist mit unterschiedlichen Zugkurvenscheiben darstellbar.
  • In der in den Fig. 14 a,b,c gezeigten Ausführung der Erfindung umfasst die Verstelleinrichtung einen an dem Hebel 6 festgelegten Bolzen 31, der während der Bewegungsphase, die durch die Fig. 14 a,b,c verdeutlicht wird, zusammen mit dem Hebel 6 um die Schwenkachse 7 verschwenkt.
  • Durch die Verschwenkung des Bolzens 31 gelangt dieser in der in Fig. 14 b gezeigten Anlagestellung mit dem Zugband 15 und drückt dieses in Richtung des Druckzylinders 11.
  • Der Scharnierhebel 6 verschwenkt hierbei soweit, bis ein Gleichgewicht zwischen den durch die Gewichtskraft des Möbelteils und das Zugband 15 bewirkten und über den Bolzen 31 und den Angriffspunkt 25 auf den Schwenkarm 6 bewirkten Momente erreicht ist.
  • Die Fig. 15 a,b,c offenbaren eine Variante, bei der der Bolzen 31 fest auf der Grundplatte des Möbelscharniers angeordnet ist. Erst bei Verschwenkung des Möbelteils um die Schwenkachse 7 aufgrund eines Ausfahrens des Druckzylinders 11 und einer Übertragung der entstehenden Kräfte mittels des Zugbandes 15 gelangt dieses mit dem Bolzen 31 in der Fig. 15b gezeigte Anlagestellung. Die durch den Bolzen bewirkte Umlenkung führt bei diesem Ausführungsbeispiel der Erfindung aufgrund der gegenüber der Grundplatte festgelegten Position des Bolzens 31, der nicht mitverschwenkt, zu einer Umlenkung der Zugkräfte um den Bolzen 31, so dass diese ausgehend vom Angriffspunkt und betrachtet auf die Schwenkachse 7 ein optimales Wirkmoment entfalten. Dieses Wirkmoment kann je nach Wunsch durch Anordnung des Bolzens und Form der Kurvenscheibe 19 so eingestellt werden, dass beispielsweise die Verschwenkbewegung unterstützt wird oder auch günstige Hebelverhältnisse für eine Ruhestellung des Möbelteils geschaffen werden.
  • In der Zeichnung sind allgemein gleichwirkende Teile mit übereinstimmenden Bezugsziffern versehen.

Claims (30)

  1. Möbelbeschlag zur Verschwenkung eines Möbelteils (1) eines Möbelstücks, beispielsweise zur Verschwenkung einer Möbeltür eines Küchenschrankmöbels, mit einem um eine Schwenkachse (7) des Möbelbeschlags verschwenkbaren Befestigungsarm (5) des Möbelteils (1), mit einem Kraftspeicher (11) sowie mit wenigstens einem um die Schwenkachse (7) verschwenkbaren Scharnierhebel (6), wobei an dem Scharnierhebel (6) ein Zugkraft- oder ein Druckkraftübertragungselement (15) mit einer Kraftübertragungsrichtung (KR) angreift und über den Scharnierhebel und eine Verstelleinrichtung (18, 19) ein die Verschwenkung des Möbelteils (1) beeinflussendes Drehmoment einstellbar ist, dadurch gekennzeichnet, daß an dem Scharnierhebel (6) das Zugkraft- oder Druckkraftübertragungselement (15) über die Verstelleinrichtung (19) angreift, wobei die Verstelleinrichtung (19) um die Schwenkachse (7) des Möbelbeschlags verschwenkbar ist, daß der Kraftangriffspunkt (KA, 25) der Zug- bzw. Druckkraft des Zugkraft- oder Druckkraftübertragungselementes (15) an der Verstelleinrichtung (19) aus einer ein positives oder negatives Moment auf das Möbelteil (1) erzeugenden Betriebsstellung und Durchlaufen einer Nullpunktlage (Strecklage) in eine ein gegensinniges Moment erzeugende andere Betriebsstellung (± Lageseitenwechsel) überführbar ist, wobei der wirksame Krafthebelarm (KL) zwischen der Schwenkachse (7) und dem Kraftangriffspunkt (KA, 25) veränderbar ist und durch die Veränderung des Krafthebelarms (KL) über die Verstelleinrichtung (19) und den Scharnierhebel (6) das verschwenkbare Möbelteil (1) im Verlaufe dessen Öffnungs- oder Schließbewegung mit einem die Öffnungsbewegung und/oder die Schließbewegung und/oder ein Halten des Möbelteils (1) unterstützenden Wirkmoment beaufschlagbar ist.
  2. Möbelbeschlag nach Anspruch 1, dadurch gekennzeichnet, daß an dem Scharnierhebel (6) ein Scharnierhebelarm (6.1) als Verstelleinrichtung vorgesehen ist, an dem das Zugkraft- oder Druckkraftübertragungselement (15) angreift.
  3. Möbelbeschlag nach Anspruch 1 oder 2, dadurch gekennzeichnet, daß an dem Scharnierhebel (6) eine Kurvenscheibe (19) als Verstelleinrichtung vorgesehen ist, an der das Zugkraft- oder Druckkraftübertragungselement (15) mit Abstand zu der Schwenkachse (7) angreift.
  4. Möbelbeschlag nach einem der Ansprüche 1 bis 3, dadurch gekennzeichnet, daß über das Zugkraft- oder Druckkraftübertragungselement (15) ein die Schließbewegung des Möbelteils (1) unterstützendes Wirkmoment über einen Winkelbereich des maximalen Öffnungsschwenkwinkels des verschwenkbaren Möbelteils (1) von 0 bis ca. 40 % aufbringbar ist.
  5. Möbelbeschlag nach einem der Ansprüche 1 bis 4, dadurch gekennzeichnet, daß über das Zugkraft- oder Druckkraftübertragungselement (15) ein die Öffnungsbewegung des schwenkbaren Möbelteils (1) unterstützendes Wirkmoment über einen Bereich des maximalen Öffnungsschwenkwinkels des verschwenkbaren Möbelteils (1) von ca. 10 bis ca. 85 % aufbringbar ist.
  6. Möbelbeschlag nach einem der Ansprüche 1 bis 5, dadurch gekennzeichnet, daß über das Zugkraft- oder Druckkraftübertragungselement (15) ein das Halten der Möbeltür (1) in einer geöffneten Stellung unterstützendes Wirkmoment über einen Winkelbereich des maximalen Öffnungsschwenkwinkels des schwenkbaren Möbelteils (1) von ca. 50 % bis ca. 100 % aufbringbar ist.
  7. Möbelbeschlag nach einem der Ansprüche 1 bis 6, dadurch gekennzeichnet, daß das Zugkraftübertragungselement (15) als zumindest bereichsweise flexibles Zugband ausgebildet ist.
  8. Möbelbeschlag nach Anspruch 7, dadurch gekennzeichnet, daß an dem Zugband (15) eine Zugfeder oder Druckfeder angreift.
  9. Möbelbeschlag nach Anspruch 7 oder 8, dadurch gekennzeichnet, daß der mit dem Scharnierhebel (6) verbindbare Bereich des Zugbandes (15) mit dem Scharnierhebel (6) verschwenkbar und aus einer eine Schließkraft auf das verschwenkbare Möbelteil (1) ausübenden Ausgangsstellung in eine eine Haltekraft oder eine Öffnungskraft auf das Möbeltteil (1) ausübende verschwenkte Betriebsstellung und zurück überführbar ist.
  10. Möbelbeschlag nach einem der Ansprüche 7 bis 9, dadurch gekennzeichnet, daß das Zugband (15) an einem Hebel (6.1) als Verstelleinrichtung angreift, der mit dem Scharnierhebel (6) über einen Winkelbereich von mehr als 90° verschwenkbar ist.
  11. Möbelbeschlag nach einem der Ansprüche 7 bis 10, dadurch gekennzeichnet, daß das Zugband (15) an dem Scharnierhebel (6) über eine Umlenkung der Verstelleinrichtung (19) führbar ist, in der Schließstellung des verschwenkbaren Möbelteils über die Umlenkung geführt und in der geöffneten Position des verschwenkten Möbelteils in eine Lage außerhalb der Umlenkung überführt ist.
  12. Möbelbeschlag nach einem der Ansprüche 7 bis 11, dadurch gekennzeichnet, daß das Zugband (15) mit einem Ende an einem Kulissenteil (13) festgelegt ist, das von dem Kraftspeicher (11) beaufschlagbar und die resultierende Kraft des Kraftspeichers (11) einstellbar ist.
  13. Möbelbeschlag nach Anspruch 12, dadurch gekennzeichnet, daß der Kraftspeicher (11) ein Druck- oder Zugzylinder ist, der einenends ortsfest abstützbar und anderenends in einer Kulisse des Kulissenteils (13) geführt ist.
  14. Möbelbeschlag nach einem der Ansprüche 1 bis 13, dadurch gekennzeichnet, daß der Scharnierhebel (6) Teil einer mit zumindest einem Stellmittel (18) versehenen Scharnierhebeleinheit ist, die eine Verstellung einer Kennlinie des Drehmoments nach der Montage des Möbelscharniers ermöglicht, wobei das Stellmittel (18) zur Einstellung eines maximalen Drehmoments und/oder des Drehmomentverlaufs während der Verschwenkung ausgebildet ist.
  15. Möbelbeschlag nach einem der Ansprüche 1 bis 14, dadurch gekennzeichnet, daß die von dem Zug- und/oder Druckmittel (16) auf den Scharnierhebel (6) ausgeübte Kraft über einen relativ zur Drehachse (7) und in einer Ebene senkrecht dazu während der Verschwenkung variierenden Kraftangriffspunkt (KA, 25) aufbringbar ist.
  16. Möbelbeschlag nach einem der Ansprüche 1 bis 15, dadurch gekennzeichnet, daß der Kraftangriffspunkt (KA, 25) des Zugkraft- und/oder Druckkraftübertragungselementes (15) durch das Stellmittel (18) variierbar ist.
  17. Möbelbeschlag nach einem der Ansprüche 1 bis 16, dadurch gekennzeichnet, daß das Zug- und/oder Druckkraftübertragungselement (15) über einen Zughebel (17) an dem Scharnierhebel (6) angreift.
  18. Möbelbeschlag nach einem der Ansprüche 1 bis 17, dadurch gekennzeichnet, daß die Scharnierhebeleinheit eine austauschbare Kurvenscheibe (19) als Verstelleinrichtung umfasst.
  19. Möbelbeschlag nach einem der Ansprüche 1 bis 18, dadurch gekennzeichnet, daß die Scharnierhebeleinheit eine über das Stellmittel (18) relativ zur Drehachse (6) variierbare Kurvenscheibe (19) umfasst.
  20. Möbelbeschlag nach einem der Ansprüche 1 bis 19, dadurch gekennzeichnet, daß die Kurvenscheibe (19) an dem Scharnierhebel (6) einstellbar festgelegt ist.
  21. Möbelbeschlag nach einem der Ansprüche 1 bis 20, dadurch gekennzeichnet, daß die Kurvenscheibe (19) an dem Scharnierhebel (6) beweglich und insbesondere gegenüber diesem verschwenkbar aber drehfest festgelegt ist.
  22. Möbelbeschlag nach einem der Ansprüche 1 bis 21, dadurch gekennzeichnet, daß die Kurvenscheibe (19) einen über das Stellmittel (18) verstellbaren Teil (21) aufweist.
  23. Möbelbeschlag nach Anspruch 22, dadurch gekennzeichnet, daß der verstellbare Teil (21) flexibel und/oder gelenkig mit dem übrigen Teil (20) der Kurvenscheibe verbunden ist.
  24. Möbelbeschlag nach einem der Ansprüche 1 bis 23, dadurch gekennzeichnet, daß die Kurvenscheibe (19) einen ausfahrbaren Stößel (21) mit einer die äußere Kurvenbahn formenden Oberfläche aufweist.
  25. Möbelbeschlag nach einem der Ansprüche 1 bis 24, dadurch gekennzeichnet, daß die Verstelleinrichtung, insbesondere die Kurvenscheibe (19), eine Exzenterverstellung umfasst.
  26. Möbelbeschlag nach einem der Ansprüche 1 bis 25, dadurch gekennzeichnet, daß die Verstelleinrichtung (19) einen auf das Zugkraft- und/oder Druckkraftübertragungselement einwirkenden Bolzen (31) umfaßt.
  27. Möbelbeschlag nach Anspruch 26, dadurch gekennzeichnet, daß der Bolzen (31) auf eine Grundplatte und/oder wandseitig festgelegt ist.
  28. Möbelbeschlag nach Anspruch 26, dadurch gekennzeichnet, daß der Bolzen (31) an dem Scharnierhebel (6) festgelegt ist.
  29. Möbelbeschlag nach einem der Ansprüche 26 bis 28, dadurch gekennzeichnet, daß der Bolzen (31) eine zumindest teilweise drehbare Hülse aufweist.
  30. Möbelstück mit einem verschwenkbaren Möbelteil (1), Küchenschrankmöbel mit einer nach oben verschwenkbaren Frontklappe, gekennzeichnet durch einen Möbelbeschlag nach einem der Ansprüche 1 bis 29.
EP08008389.2A 2007-05-07 2008-05-03 Möbelbeschlag Not-in-force EP1990494B1 (de)

Applications Claiming Priority (1)

Application Number Priority Date Filing Date Title
DE102007026876A DE102007026876A1 (de) 2007-05-07 2007-05-07 Möbelbeschlag

Publications (2)

Publication Number Publication Date
EP1990494A1 true EP1990494A1 (de) 2008-11-12
EP1990494B1 EP1990494B1 (de) 2016-09-07

Family

ID=39651116

Family Applications (1)

Application Number Title Priority Date Filing Date
EP08008389.2A Not-in-force EP1990494B1 (de) 2007-05-07 2008-05-03 Möbelbeschlag

Country Status (3)

Country Link
EP (1) EP1990494B1 (de)
DE (1) DE102007026876A1 (de)
ES (1) ES2604561T3 (de)

Cited By (3)

* Cited by examiner, † Cited by third party
Publication number Priority date Publication date Assignee Title
CN103422758A (zh) * 2013-08-19 2013-12-04 苏州市胜能弹簧五金制品有限公司 一种门板回弹装置
AT515493A1 (de) * 2014-03-13 2015-09-15 Blum Gmbh Julius Stellantrieb für Möbelklappen
EP3221538B1 (de) 2014-11-21 2018-03-07 Julius Blum GmbH Stellantrieb für bewegbare möbelteile

Families Citing this family (2)

* Cited by examiner, † Cited by third party
Publication number Priority date Publication date Assignee Title
DE202016100777U1 (de) * 2016-02-16 2017-05-17 Dewertokin Gmbh Elektromotorischer Möbelantrieb
DE102023135414B3 (de) 2023-12-15 2025-01-23 Kesseböhmer Holding Kg Lastausgleichsvorrichtung

Citations (3)

* Cited by examiner, † Cited by third party
Publication number Priority date Publication date Assignee Title
DE2524962A1 (de) * 1975-06-05 1976-12-16 Kurz Richard Oberschrank
DE3934269A1 (de) * 1989-10-13 1991-04-18 Profunda B V Schliessvorrichtung fuer schwenkteile
EP1172048A2 (de) 2000-06-14 2002-01-16 Milsem, Stig Ein Regalträger und eine Vorrichtung zur Bewegung des Trägers

Family Cites Families (2)

* Cited by examiner, † Cited by third party
Publication number Priority date Publication date Assignee Title
DE102004019785B4 (de) * 2004-04-23 2006-04-27 Hetal-Werke Franz Hettich Gmbh & Co. Kg Klappenbeschlag
DE102006013423A1 (de) * 2006-03-23 2007-09-27 Hetal-Werke Franz Hettich Gmbh & Co. Kg Klappenhalter

Patent Citations (3)

* Cited by examiner, † Cited by third party
Publication number Priority date Publication date Assignee Title
DE2524962A1 (de) * 1975-06-05 1976-12-16 Kurz Richard Oberschrank
DE3934269A1 (de) * 1989-10-13 1991-04-18 Profunda B V Schliessvorrichtung fuer schwenkteile
EP1172048A2 (de) 2000-06-14 2002-01-16 Milsem, Stig Ein Regalträger und eine Vorrichtung zur Bewegung des Trägers

Cited By (8)

* Cited by examiner, † Cited by third party
Publication number Priority date Publication date Assignee Title
CN103422758A (zh) * 2013-08-19 2013-12-04 苏州市胜能弹簧五金制品有限公司 一种门板回弹装置
AT515493A1 (de) * 2014-03-13 2015-09-15 Blum Gmbh Julius Stellantrieb für Möbelklappen
US9719283B2 (en) 2014-03-13 2017-08-01 Julius Blum Gmbh Actuating drive for furniture flaps
DE202015009804U1 (de) 2014-03-13 2020-03-19 Julius Blum Gmbh Stellantrieb für Möbelklappen
AT16873U1 (de) * 2014-03-13 2020-11-15 Blum Gmbh Julius Stellantrieb für Möbelklappen
EP3754143A1 (de) 2014-03-13 2020-12-23 Julius Blum GmbH Stellantrieb für möbelklappen
EP3221538B1 (de) 2014-11-21 2018-03-07 Julius Blum GmbH Stellantrieb für bewegbare möbelteile
US10487554B2 (en) 2014-11-21 2019-11-26 Julius Blum Gmbh Actuator for movable furniture parts

Also Published As

Publication number Publication date
EP1990494B1 (de) 2016-09-07
ES2604561T3 (es) 2017-03-07
DE102007026876A1 (de) 2008-11-13

Similar Documents

Publication Publication Date Title
EP3612700B1 (de) Möbelplatte mit einem klappenbeschlag und möbelkorpus sowie möbel mit einer derartigen möbelplatte
EP3117060B1 (de) Stellantrieb für möbelklappen
AT518253B1 (de) Stellantrieb für Möbelteile
EP2003276B1 (de) Stellmechanismus für einen schwenkbar gelagerten Stellarm
EP2191089B1 (de) Stellmechanismus für einen schwenkbar gelagerten stellarm
DE102008025265B4 (de) Faltdeckel
EP1818491B1 (de) Beschlagvorrichtung für eine Möbelklappe
EP3198096B1 (de) Möbelscharnier
WO2009092519A1 (de) Halteelement zum verstellen eines deckels eines möbels
EP3198097A1 (de) Möbelscharnier
EP1507944A1 (de) Deckelsteller
EP3612701B1 (de) Schwenkantrieb und möbel
DE102008010770A1 (de) Befestigungsvorrichtung
EP1148200A2 (de) Klappenhalter
EP1990494B1 (de) Möbelbeschlag
EP1840309B1 (de) Klappenhalter für eine Möbelklappe
EP2309086B1 (de) Halteelement zum Verstellen eines Deckels eines Möbels
EP2290182B1 (de) Klappenbeschlag für eine Möbelklappe und Möbel
AT524384A1 (de) Antriebsvorrichtung für ein bewegbares Möbelteil
DE202007018410U1 (de) Möbelbeschlag
DE102016100606B3 (de) Deckelsteller
DE2722009A1 (de) Hebel-feder-kombination zum gewichtsausgleich
DE202006008311U1 (de) Müllbehälter mit Deckelentlastung
DE102004005423A1 (de) Kipptor

Legal Events

Date Code Title Description
PUAI Public reference made under article 153(3) epc to a published international application that has entered the european phase

Free format text: ORIGINAL CODE: 0009012

AK Designated contracting states

Kind code of ref document: A1

Designated state(s): AT BE BG CH CY CZ DE DK EE ES FI FR GB GR HR HU IE IS IT LI LT LU LV MC MT NL NO PL PT RO SE SI SK TR

AX Request for extension of the european patent

Extension state: AL BA MK RS

17P Request for examination filed

Effective date: 20090122

17Q First examination report despatched

Effective date: 20090303

AKX Designation fees paid

Designated state(s): AT BE BG CH CY CZ DE DK EE ES FI FR GB GR HR HU IE IS IT LI LT LU LV MC MT NL NO PL PT RO SE SI SK TR

RAP1 Party data changed (applicant data changed or rights of an application transferred)

Owner name: KESSEBOEHMER HOLDING E.K.

GRAP Despatch of communication of intention to grant a patent

Free format text: ORIGINAL CODE: EPIDOSNIGR1

INTG Intention to grant announced

Effective date: 20160426

GRAS Grant fee paid

Free format text: ORIGINAL CODE: EPIDOSNIGR3

RAP1 Party data changed (applicant data changed or rights of an application transferred)

Owner name: KESSEBOEHMER HOLDING KG

GRAA (expected) grant

Free format text: ORIGINAL CODE: 0009210

AK Designated contracting states

Kind code of ref document: B1

Designated state(s): AT BE BG CH CY CZ DE DK EE ES FI FR GB GR HR HU IE IS IT LI LT LU LV MC MT NL NO PL PT RO SE SI SK TR

REG Reference to a national code

Ref country code: GB

Ref legal event code: FG4D

Free format text: NOT ENGLISH

REG Reference to a national code

Ref country code: CH

Ref legal event code: EP

REG Reference to a national code

Ref country code: IE

Ref legal event code: FG4D

Free format text: LANGUAGE OF EP DOCUMENT: GERMAN

REG Reference to a national code

Ref country code: AT

Ref legal event code: REF

Ref document number: 827042

Country of ref document: AT

Kind code of ref document: T

Effective date: 20161015

REG Reference to a national code

Ref country code: DE

Ref legal event code: R096

Ref document number: 502008014599

Country of ref document: DE

REG Reference to a national code

Ref country code: SE

Ref legal event code: TRGR

REG Reference to a national code

Ref country code: LT

Ref legal event code: MG4D

REG Reference to a national code

Ref country code: NL

Ref legal event code: MP

Effective date: 20160907

PG25 Lapsed in a contracting state [announced via postgrant information from national office to epo]

Ref country code: FI

Free format text: LAPSE BECAUSE OF FAILURE TO SUBMIT A TRANSLATION OF THE DESCRIPTION OR TO PAY THE FEE WITHIN THE PRESCRIBED TIME-LIMIT

Effective date: 20160907

Ref country code: HR

Free format text: LAPSE BECAUSE OF FAILURE TO SUBMIT A TRANSLATION OF THE DESCRIPTION OR TO PAY THE FEE WITHIN THE PRESCRIBED TIME-LIMIT

Effective date: 20160907

Ref country code: NO

Free format text: LAPSE BECAUSE OF FAILURE TO SUBMIT A TRANSLATION OF THE DESCRIPTION OR TO PAY THE FEE WITHIN THE PRESCRIBED TIME-LIMIT

Effective date: 20161207

Ref country code: LT

Free format text: LAPSE BECAUSE OF FAILURE TO SUBMIT A TRANSLATION OF THE DESCRIPTION OR TO PAY THE FEE WITHIN THE PRESCRIBED TIME-LIMIT

Effective date: 20160907

PG25 Lapsed in a contracting state [announced via postgrant information from national office to epo]

Ref country code: NL

Free format text: LAPSE BECAUSE OF FAILURE TO SUBMIT A TRANSLATION OF THE DESCRIPTION OR TO PAY THE FEE WITHIN THE PRESCRIBED TIME-LIMIT

Effective date: 20160907

Ref country code: GR

Free format text: LAPSE BECAUSE OF FAILURE TO SUBMIT A TRANSLATION OF THE DESCRIPTION OR TO PAY THE FEE WITHIN THE PRESCRIBED TIME-LIMIT

Effective date: 20161208

Ref country code: LV

Free format text: LAPSE BECAUSE OF FAILURE TO SUBMIT A TRANSLATION OF THE DESCRIPTION OR TO PAY THE FEE WITHIN THE PRESCRIBED TIME-LIMIT

Effective date: 20160907

REG Reference to a national code

Ref country code: ES

Ref legal event code: FG2A

Ref document number: 2604561

Country of ref document: ES

Kind code of ref document: T3

Effective date: 20170307

PG25 Lapsed in a contracting state [announced via postgrant information from national office to epo]

Ref country code: RO

Free format text: LAPSE BECAUSE OF FAILURE TO SUBMIT A TRANSLATION OF THE DESCRIPTION OR TO PAY THE FEE WITHIN THE PRESCRIBED TIME-LIMIT

Effective date: 20160907

Ref country code: EE

Free format text: LAPSE BECAUSE OF FAILURE TO SUBMIT A TRANSLATION OF THE DESCRIPTION OR TO PAY THE FEE WITHIN THE PRESCRIBED TIME-LIMIT

Effective date: 20160907

REG Reference to a national code

Ref country code: FR

Ref legal event code: PLFP

Year of fee payment: 10

PG25 Lapsed in a contracting state [announced via postgrant information from national office to epo]

Ref country code: SK

Free format text: LAPSE BECAUSE OF FAILURE TO SUBMIT A TRANSLATION OF THE DESCRIPTION OR TO PAY THE FEE WITHIN THE PRESCRIBED TIME-LIMIT

Effective date: 20160907

Ref country code: IS

Free format text: LAPSE BECAUSE OF FAILURE TO SUBMIT A TRANSLATION OF THE DESCRIPTION OR TO PAY THE FEE WITHIN THE PRESCRIBED TIME-LIMIT

Effective date: 20170107

Ref country code: PT

Free format text: LAPSE BECAUSE OF FAILURE TO SUBMIT A TRANSLATION OF THE DESCRIPTION OR TO PAY THE FEE WITHIN THE PRESCRIBED TIME-LIMIT

Effective date: 20170109

Ref country code: CZ

Free format text: LAPSE BECAUSE OF FAILURE TO SUBMIT A TRANSLATION OF THE DESCRIPTION OR TO PAY THE FEE WITHIN THE PRESCRIBED TIME-LIMIT

Effective date: 20160907

Ref country code: PL

Free format text: LAPSE BECAUSE OF FAILURE TO SUBMIT A TRANSLATION OF THE DESCRIPTION OR TO PAY THE FEE WITHIN THE PRESCRIBED TIME-LIMIT

Effective date: 20160907

Ref country code: BG

Free format text: LAPSE BECAUSE OF FAILURE TO SUBMIT A TRANSLATION OF THE DESCRIPTION OR TO PAY THE FEE WITHIN THE PRESCRIBED TIME-LIMIT

Effective date: 20161207

REG Reference to a national code

Ref country code: DE

Ref legal event code: R097

Ref document number: 502008014599

Country of ref document: DE

PLBE No opposition filed within time limit

Free format text: ORIGINAL CODE: 0009261

STAA Information on the status of an ep patent application or granted ep patent

Free format text: STATUS: NO OPPOSITION FILED WITHIN TIME LIMIT

PG25 Lapsed in a contracting state [announced via postgrant information from national office to epo]

Ref country code: DK

Free format text: LAPSE BECAUSE OF FAILURE TO SUBMIT A TRANSLATION OF THE DESCRIPTION OR TO PAY THE FEE WITHIN THE PRESCRIBED TIME-LIMIT

Effective date: 20160907

26N No opposition filed

Effective date: 20170608

PG25 Lapsed in a contracting state [announced via postgrant information from national office to epo]

Ref country code: SI

Free format text: LAPSE BECAUSE OF FAILURE TO SUBMIT A TRANSLATION OF THE DESCRIPTION OR TO PAY THE FEE WITHIN THE PRESCRIBED TIME-LIMIT

Effective date: 20160907

Ref country code: LU

Free format text: LAPSE BECAUSE OF NON-PAYMENT OF DUE FEES

Effective date: 20170531

REG Reference to a national code

Ref country code: CH

Ref legal event code: PL

PG25 Lapsed in a contracting state [announced via postgrant information from national office to epo]

Ref country code: MC

Free format text: LAPSE BECAUSE OF FAILURE TO SUBMIT A TRANSLATION OF THE DESCRIPTION OR TO PAY THE FEE WITHIN THE PRESCRIBED TIME-LIMIT

Effective date: 20160907

REG Reference to a national code

Ref country code: IE

Ref legal event code: MM4A

PG25 Lapsed in a contracting state [announced via postgrant information from national office to epo]

Ref country code: CH

Free format text: LAPSE BECAUSE OF NON-PAYMENT OF DUE FEES

Effective date: 20170531

Ref country code: LI

Free format text: LAPSE BECAUSE OF NON-PAYMENT OF DUE FEES

Effective date: 20170531

PG25 Lapsed in a contracting state [announced via postgrant information from national office to epo]

Ref country code: LU

Free format text: LAPSE BECAUSE OF NON-PAYMENT OF DUE FEES

Effective date: 20170503

REG Reference to a national code

Ref country code: BE

Ref legal event code: MM

Effective date: 20170531

PG25 Lapsed in a contracting state [announced via postgrant information from national office to epo]

Ref country code: IE

Free format text: LAPSE BECAUSE OF NON-PAYMENT OF DUE FEES

Effective date: 20170503

REG Reference to a national code

Ref country code: FR

Ref legal event code: PLFP

Year of fee payment: 11

REG Reference to a national code

Ref country code: AT

Ref legal event code: MM01

Ref document number: 827042

Country of ref document: AT

Kind code of ref document: T

Effective date: 20170503

PG25 Lapsed in a contracting state [announced via postgrant information from national office to epo]

Ref country code: AT

Free format text: LAPSE BECAUSE OF NON-PAYMENT OF DUE FEES

Effective date: 20170503

Ref country code: BE

Free format text: LAPSE BECAUSE OF NON-PAYMENT OF DUE FEES

Effective date: 20170531

PG25 Lapsed in a contracting state [announced via postgrant information from national office to epo]

Ref country code: MT

Free format text: LAPSE BECAUSE OF FAILURE TO SUBMIT A TRANSLATION OF THE DESCRIPTION OR TO PAY THE FEE WITHIN THE PRESCRIBED TIME-LIMIT

Effective date: 20160907

PG25 Lapsed in a contracting state [announced via postgrant information from national office to epo]

Ref country code: HU

Free format text: LAPSE BECAUSE OF FAILURE TO SUBMIT A TRANSLATION OF THE DESCRIPTION OR TO PAY THE FEE WITHIN THE PRESCRIBED TIME-LIMIT; INVALID AB INITIO

Effective date: 20080503

PGFP Annual fee paid to national office [announced via postgrant information from national office to epo]

Ref country code: IT

Payment date: 20190510

Year of fee payment: 12

Ref country code: ES

Payment date: 20190605

Year of fee payment: 12

Ref country code: DE

Payment date: 20190225

Year of fee payment: 12

PGFP Annual fee paid to national office [announced via postgrant information from national office to epo]

Ref country code: FR

Payment date: 20190522

Year of fee payment: 12

Ref country code: SE

Payment date: 20190516

Year of fee payment: 12

PG25 Lapsed in a contracting state [announced via postgrant information from national office to epo]

Ref country code: CY

Free format text: LAPSE BECAUSE OF NON-PAYMENT OF DUE FEES

Effective date: 20160907

PGFP Annual fee paid to national office [announced via postgrant information from national office to epo]

Ref country code: GB

Payment date: 20190424

Year of fee payment: 12

PG25 Lapsed in a contracting state [announced via postgrant information from national office to epo]

Ref country code: TR

Free format text: LAPSE BECAUSE OF FAILURE TO SUBMIT A TRANSLATION OF THE DESCRIPTION OR TO PAY THE FEE WITHIN THE PRESCRIBED TIME-LIMIT

Effective date: 20160907

REG Reference to a national code

Ref country code: DE

Ref legal event code: R119

Ref document number: 502008014599

Country of ref document: DE

PG25 Lapsed in a contracting state [announced via postgrant information from national office to epo]

Ref country code: SE

Free format text: LAPSE BECAUSE OF NON-PAYMENT OF DUE FEES

Effective date: 20200504

GBPC Gb: european patent ceased through non-payment of renewal fee

Effective date: 20200503

PG25 Lapsed in a contracting state [announced via postgrant information from national office to epo]

Ref country code: GB

Free format text: LAPSE BECAUSE OF NON-PAYMENT OF DUE FEES

Effective date: 20200503

Ref country code: FR

Free format text: LAPSE BECAUSE OF NON-PAYMENT OF DUE FEES

Effective date: 20200531

PG25 Lapsed in a contracting state [announced via postgrant information from national office to epo]

Ref country code: DE

Free format text: LAPSE BECAUSE OF NON-PAYMENT OF DUE FEES

Effective date: 20201201

PG25 Lapsed in a contracting state [announced via postgrant information from national office to epo]

Ref country code: IT

Free format text: LAPSE BECAUSE OF NON-PAYMENT OF DUE FEES

Effective date: 20200503

PG25 Lapsed in a contracting state [announced via postgrant information from national office to epo]

Ref country code: ES

Free format text: LAPSE BECAUSE OF NON-PAYMENT OF DUE FEES

Effective date: 20200504