EP1838992B1 - Klemmlampe mit lösbarer befestigung an einem sockel - Google Patents
Klemmlampe mit lösbarer befestigung an einem sockel Download PDFInfo
- Publication number
- EP1838992B1 EP1838992B1 EP06823932.6A EP06823932A EP1838992B1 EP 1838992 B1 EP1838992 B1 EP 1838992B1 EP 06823932 A EP06823932 A EP 06823932A EP 1838992 B1 EP1838992 B1 EP 1838992B1
- Authority
- EP
- European Patent Office
- Prior art keywords
- clip type
- type lamp
- ultrasonic wave
- visor
- lamp according
- Prior art date
- Legal status (The legal status is an assumption and is not a legal conclusion. Google has not performed a legal analysis and makes no representation as to the accuracy of the status listed.)
- Not-in-force
Links
- 230000008878 coupling Effects 0.000 claims description 7
- 238000010168 coupling process Methods 0.000 claims description 7
- 238000005859 coupling reaction Methods 0.000 claims description 7
- 241000238631 Hexapoda Species 0.000 description 6
- 230000000694 effects Effects 0.000 description 6
- 238000005286 illumination Methods 0.000 description 3
- 241000255925 Diptera Species 0.000 description 2
- 230000001747 exhibiting effect Effects 0.000 description 2
- 239000000243 solution Substances 0.000 description 2
- 241000256626 Pterygota <winged insects> Species 0.000 description 1
- 230000002542 deteriorative effect Effects 0.000 description 1
- 238000001746 injection moulding Methods 0.000 description 1
- 230000001678 irradiating effect Effects 0.000 description 1
- 230000002093 peripheral effect Effects 0.000 description 1
Images
Classifications
-
- F—MECHANICAL ENGINEERING; LIGHTING; HEATING; WEAPONS; BLASTING
- F21—LIGHTING
- F21L—LIGHTING DEVICES OR SYSTEMS THEREOF, BEING PORTABLE OR SPECIALLY ADAPTED FOR TRANSPORTATION
- F21L4/00—Electric lighting devices with self-contained electric batteries or cells
-
- F—MECHANICAL ENGINEERING; LIGHTING; HEATING; WEAPONS; BLASTING
- F21—LIGHTING
- F21V—FUNCTIONAL FEATURES OR DETAILS OF LIGHTING DEVICES OR SYSTEMS THEREOF; STRUCTURAL COMBINATIONS OF LIGHTING DEVICES WITH OTHER ARTICLES, NOT OTHERWISE PROVIDED FOR
- F21V21/00—Supporting, suspending, or attaching arrangements for lighting devices; Hand grips
- F21V21/08—Devices for easy attachment to any desired place, e.g. clip, clamp, magnet
- F21V21/088—Clips; Clamps
- F21V21/0885—Clips; Clamps for portable lighting devices
-
- F—MECHANICAL ENGINEERING; LIGHTING; HEATING; WEAPONS; BLASTING
- F21—LIGHTING
- F21V—FUNCTIONAL FEATURES OR DETAILS OF LIGHTING DEVICES OR SYSTEMS THEREOF; STRUCTURAL COMBINATIONS OF LIGHTING DEVICES WITH OTHER ARTICLES, NOT OTHERWISE PROVIDED FOR
- F21V33/00—Structural combinations of lighting devices with other articles, not otherwise provided for
- F21V33/0004—Personal or domestic articles
- F21V33/0052—Audio or video equipment, e.g. televisions, telephones, cameras or computers; Remote control devices therefor
-
- F—MECHANICAL ENGINEERING; LIGHTING; HEATING; WEAPONS; BLASTING
- F21—LIGHTING
- F21L—LIGHTING DEVICES OR SYSTEMS THEREOF, BEING PORTABLE OR SPECIALLY ADAPTED FOR TRANSPORTATION
- F21L4/00—Electric lighting devices with self-contained electric batteries or cells
- F21L4/08—Electric lighting devices with self-contained electric batteries or cells characterised by means for in situ recharging of the batteries or cells
-
- F—MECHANICAL ENGINEERING; LIGHTING; HEATING; WEAPONS; BLASTING
- F21—LIGHTING
- F21Y—INDEXING SCHEME ASSOCIATED WITH SUBCLASSES F21K, F21L, F21S and F21V, RELATING TO THE FORM OR THE KIND OF THE LIGHT SOURCES OR OF THE COLOUR OF THE LIGHT EMITTED
- F21Y2115/00—Light-generating elements of semiconductor light sources
- F21Y2115/10—Light-emitting diodes [LED]
Definitions
- the present invention relates to a clip type lamp. More particularly, the present invention relates to a clip type lamp, which is detachably attached to a cap visor so as to ensure the user's field of vision when the user is mountaineering, fishing, exercising or traveling at night, wherein two clips are integrally formed with both sides of a front section of a lamp body such that the two clips can be fixedly coupled with a front section of the cap visor regardless of the curved configurations of the cap visor, the clip type lamp can be easily attached to or detached from the cap visor without causing damage to an outer skin of the cap visor, the clip type lamp is prevented from moving or separating from the cap visor, and a switch for operating an electric bulb and an ultrasonic wave generator is provided at a lower portion of the lamp body in such a manner that the user can easily operate the electric bulb and the ultrasonic wave generator while wearing the cap equipped with the clip type lamp.
- the user wears a cap having a visor protruding from the front section of the cap. The user also wears the cap when the user works at night.
- the cap does not cause special problems when the user is mountaineering, fishing, exercising, or traveling in the daytime, such a cap does not ensure the users field of vision at night, so the user must carry a lamp including a flash or an electric bulb.
- the activity of the user may become unnatural. Further, since the user must move along the path illuminated by the light, the user may be careless of peripheral environment, causing the safety accident.
- the worker in the case of night work requiring illumination, the worker must illuminate the working place using the lamp or the electric bulb while gripping the lamp or the electric bulb in one hand. Accordingly, the worker has to perform the work by using the other hand only, causing inconvenience. In addition, when it is necessary to perform the work using both hands, the other worker must support the worker to illuminate the working place using the lamp or the electric bulb.
- Korean Utility Model Registration No. 312,151 that discloses a clip type lamp detachably coupled with a cap visor.
- This clip type lamp includes a plurality of electric bulbs 24 installed at the front side of a case 22.
- a switch 26 operating the electric bulbs is installed at one side of the case 22.
- a battery is accommodated in the case 22, and a clip 28 having elasticity is provided on the case 22, in which one side-end of the clip 28 is integrally formed with the top of the case 22.
- the conventional clip type lamp having the above structure, if the user pushes the clip type lamp from the front side to the rear side of the cap visor, the other end of the clip having one end fixed to the case moves upward, so that the cap visor is fixedly inserted between the case of the lamp and the clip. In this state, if the user operates the switch installed at one side of the case of the lamp fixed to the cap visor, the electric bulbs are turned on, thereby illuminating the road ahead.
- the switch is installed at one side of the case in the conventional clip type lamp, the user must find and manipulate the switch by touching the lateral side of the case, which is fixed to the lower end portion of the cap visor, so as to operate the electric bulbs, causing inconvenience of user and making it difficult to manipulate the switch.
- the lamp is fixed to the cap visor, which is bent while forming a curved surface, a predetermined center portion of the clip provided at an upper portion of the case may serve to fix the cap visor. For this reason, when the user is in activities, such as hiking or jogging, the lamp cannot be secured to a fixed position in the cap visor, but moves in the left or right direction, so that the illumination direction of light may not match with the viewing direction of the user. In extreme cases, the lamp is separated from the cap visor.
- the curved surface of the cap visor may be forcibly deformed into a flat surface or a crooked surface according to the shape of the case of the clip, so it is difficult for the user to make a desired shape of the cap visor.
- an outer skin of the cap visor may be torn, deteriorating the cap. For this reason, the clips are individually fabricated corresponding to the curved configurations of the cap visor.
- insects or winged insects are gathered in the vicinity of the lamp fixed to the cap visor due to light generated from the electric bulbs at night.
- the insects gathered in the vicinity of the lamp may obstruct, the user's field of vision.
- the insects also move along the light generated from the electric bulbs while obstructing the user's field of vision, there are no specific solutions to remove the insects. In extreme cases, the user must turn off the lamp.
- WO-A-2004/064555 and US-A-2005/0128737 disclose other battery-powered lamps to be clipped to a visor of a hat or cap.
- An object of the present invention is to provide a clip type lamp, which is easily attached to or detached from a cap visor while keeping an external appearance of the cap visor regardless of the various curved configurations of the cap visor, without causing damage to an outer skin of the cap visor while preventing the lamp from moving or separating from the cap visor even if the user is in intensive activities.
- Another object of the present invention is to provide a clip type lamp including a switch, which is provided at a lower portion of a body of the clip type lamp so as to operate an electric bulb and an ultrasonic wave generator in such a manner that the user can easily operate the electric bulb and the ultrasonic wave generator while wearing the cap equipped with the clip type lamp.
- Still another object of the present invention is to provide a clip type lamp including an ultrasonic generator, which is provided at a lower portion of the clip type lamp in order to generate ultrasonic waves to prevent bucks or harmful insects from gathering in the vicinity of the electric bulb of the clip type lamp.
- Still yet another object of the present invention is to provide a clip type lamp including a solar cell plate installed on a body of the clip type lamp in order to allow a user to use the clip type lamp at night by charging a battery accommodated in the body using solar energy.
- Still yet another object of the present invention is to provide a clip type lamp including a clip section having a head part protruding forward and upward from a body of the clip type lamp in such a manner that the head part may serve as a billboard or a print board for exhibiting product names or advertisements.
- the clip type lamp further preferably includes an ultrasonic wave generator accommodated in the body; and a switch for operating the electric bulbs and the ultrasonic wave generator.
- the switch preferably protrudes from a bottom surface of the body in a hemispherical shape.
- a plurality of ultrasonic wave ports may be formed at upper and lower portions of the body so as to emit ultrasonic waves, which are generated from the ultrasonic wave generator, to an exterior.
- coupling holes may be formed at both sides of the front portion of the body, and the solar cell plate includes a body section positioned between the first and second clips; an extension member extending along a bottom surface of the body section from a front portion of the body section and having an arc-shaped section; and power-supplying protrusions provided at both sides of a rear portion of the extension member in such a manner that the power-supplying protrusions are detachably inserted into the coupling holes to apply power accumulated in a solar cell to the battery accommodated in the body.
- the clip type lamp further preferably includes a connection jack provided at one side of the body and connected to an external power source so as to charge the battery accommodated in the body.
- FIG. 2 is a perspective view showing a clip type lamp according to the first embodiment of the present invention
- FIG. 3 is a perspective view showing a bottom side of the clip type lamp
- FIG. 4 is a perspective view showing a usage state of the clip type lamp coupled with a cap visor according to the first embodiment of the present invention
- FIG. 5 is a front view showing the clip type lamp coupled with the cap visor according to the first embodiment of the present invention
- FIG. 6 is a side sectional view showing the clip type lamp coupled with the cap visor according to the first embodiment of the present invention
- FIG. 7 is a perspective view showing a bottom side of the clip type lamp coupled with the cap visor according to the first embodiment of the present invention.
- the clip type lamp 100 includes a body 110, in which a battery is accommodated.
- An upper portion of the body 110 closely adheres to a lower portion of a cap visor 300 ( Figure 3 ). having a smoothly curved surface.
- a plurality of electric bulbs 120 are provided at the front portion of the body 110.
- First end portions of first and second clips 131 and 132 are fixed to the front portion of the body 110 and second end portions of the first and second clips 131 and 132 are elastically moved up and down.
- the first and second clips 131 and 132 include first and second protrusions 131a and 132, which have arc-shaped section and are integrally formed with the front portion of the body 110 while slightly protruding beyond the front portion of the body 110, and first and second clip fixing sections 135 and 136, which extend downward from the first and second protrusions 131a and 132a to overlie the body 110.
- first and second protrusions 131a and 132a define first and second locking holes 131b and 131b such that a rim of the cap visor 300 can be securely rested in the first and second locking holes 131b and 131b.
- center portions of the first and second clip fixing sections 135 and 136 make contact with the body 110 and end portions of the first and second clip fixing sections 135 and 135 are slightly bent upward.
- the clip type lamp according to the present invention is thus divided into two parts, so the clip can be attached to the cap without deforming the outer appearance of the cap.
- a switch 140 is installed at a lower side of the body 110 in order to operate the electric bulbs 120 and an ultrasonic wave generator (not shown) accommodated in the body 110.
- a plurality of ultrasonic wave ports 150 are formed at upper and lower portions of the body 110 so as to allow ultrasonic waves generated from the ultrasonic wave generator to be easily emitted out of the body 110.
- the electric bulbs 120 are turned on, thereby irradiating light.
- the ultrasonic wave generator accommodated in the body 110 is also operated, so that ultrasonic waves are generated.
- the electric bulbs 120 may flicker in a predetermined time interval, but the ultrasonic wave generator continuously generates the ultrasonic waves.
- the electric bulbs 120 are turned off and the operation of the ultrasonic wave generator stops.
- the switch 140 protrudes from the bottom surface of the body 110, preferably, in the form of a hemispherical structure, so as to allow the user to easily operate the switch 140.
- connection jack 160 can be provided at one side of the body 110.
- the connection jack 160 is connected to an external power source so as to charge the battery accommodated in the body 110.
- the cap visor 300 is positioned between the body 110 of the lamp 100 and the first and second clips 131 and 132.
- the lamp 100 can be easily coupled with the cap visor 300 if the user pushes the lamp 100 from the front side to the rear side of the cap visor 300.
- both sides of the body 110 are curved downward while forming a curved surface, the body 110 can be closely coupled with the cap visor 300 having the curved configuration.
- the outer skin of the cap visor 300 may not be damaged by the first and second clips 131 and 132.
- the rim of the cap visor 300 is fixedly inserted into the locking holes 131b and 132b formed at center portions of the first and second protrusions 131a and 132a of the first and second clips 131 and 132, and the first and second clips 131 and 132 are fixedly supported on the upper surface of the cap visor 300, so that the lamp 100 can be secured at the fixed position in the cap visor 300 without being separated from the cap visor 300, even if the user is in intensive activities, such as hiking or jogging.
- the front end portion of the cap visor 300 is positioned in the locking holes 131b and '132b of the first and second protrusions 131a and 132a, so the front portion of the cap visor 300 may protrude beyond the body 110 of the clip type lamp 100. Accordingly, raindrops falling on the upper surface of the cap visor 300 can be prevented from being introduced into the electric bulbs 120 provided at the front portion of the body 110 of the lamp 100.
- the user When it is necessary to operate the electric bulbs 120 of the lamp 100 fixed to the cap visor 300 at night, the user simply pushes the switch 140 having the hemispherical shape, which protrudes from the bottom surface of the body 110 of the lamp 100, thereby operating the electric bulbs 120.
- the electric bulbs 120 may flicker in a predetermined time interval, if the user pushes the switch 140 one more time. This flickering function of the electric bulbs 120 is very advantageous when the user is in emergency or when it is necessary to notify others of the position of the user.
- a pair of switches 140 can be installed at both sides of the bottom surface of the body 110.
- one switch serves to operate the electric bulbs 120 provided at the front portion of the body 110, and the other switch serves to operate the ultrasonic wave generator accommodated in the body 110 of the clip type lamp 100.
- ultrasonic wave generator accommodated in the body 110 of the clip type lamp 100 simultaneously with the electric bulbs 120 by manipulating the switch 140 of the clip type lamp 100.
- ultrasonic waves are emitted through the ultrasonic wave ports 150 formed at the lower portion of the lamp body 110, thereby preventing bucks or harmful insects, such as mosquitoes, from gathering in the vicinity of the electric bulbs 120.
- the ultrasonic wave ports 150 may include perforation holes, which are formed at the lower portion of the body 110 when the body 110 is fabricated through injection molding.
- the ultrasonic wave ports 150 can be formed at the lower portion of the body 110 after the body 110 has been fabricated.
- the user connects the connection jack 160 provided at one side of the body 110 to an external power source, such as a lighter socket installed in a vehicle, thereby charging the battery accommodated in the body 110 of the lamp 100.
- an external power source such as a lighter socket installed in a vehicle
- FIGS. 8 to 10 the clip type lamp according to the second embodiment of the present invention will be described with reference to FIGS. 8 to 10 .
- the same reference numerals will be used to refer to the same elements throughout the specification.
- FIG. 8 is an exploded perspective view showing the clip type lamp according to the second embodiment of the present invention
- FIG. 9 is a perspective view showing the clip type lamp shown in FIG. 8 coupled with a cap visor
- FIG. 10 is a side sectional view showing the clip type lamp coupled with the cap visor according to the second embodiment of the present invention.
- the clip type lamp according to the second embodiment of the present invention is substantially identical to clip type lamp according to the first embodiment of the present invention, except that a pair of coupling holes 170 are formed at the front portion of the body 110 and a solar cell plate 200 is coupled with the body 110 through the coupling holes 170.
- the solar cell plate 200 coupled with the clip type lamp 100 includes a body 210, which is installed between a pair of clips 130.
- An extension member 220 is integrally formed with the front portion of the body 210.
- the extension member 220 has an arc-shaped section and power-supplying protrusions 230 are provided at both sides of the rear portion of the extension member 220 in such a manner that the power-supplying protrusions 230 can be inserted into the coupling holes 170 formed at both sides of the front portion of the body 110 to apply power to the battery accommodated in the body 210.
- the solar cell plate 200 is positioned on the upper surface of the cap visor 300.
- the clip type lamp according to the second embodiment of the present invention stores energy by absorbing solar heat through the solar cell plate 200, thereby charging the battery accommodated in the body 110 of the lamp 100.
- the user can use the lamp at night, without using an external power source.
- the solar cell plate 200 can be integrally formed with the body 110 of the lamp 100 or can be installed on the body 110 using a separate fixing unit.
- the solar cell plate has a large area to receive light from the sun as much as possible.
- the solar cell plate has a foldable structure.
- the user may develop the foldable solar cell plate in daytime to receive solar energy and fold the foldable solar cell plate at night to easily store the foldable solar cell plate.
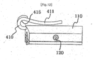
- FIG. 11 is a perspective view showing a clip type lamp according to the third embodiment of the present invention
- FIG. 12 is a right-side view of FIG. 11 .
- the clip type lamp according to the third embodiment of the present invention is substantially identical to the clip type lamp according to the first embodiment of the present invention, except for the shape of the clip.
- the clip type lamp according to the third embodiment of the present invention includes a clip section 400 coupled to the body 110 of the clip type lamp,
- the clip section 400 is provided with a head 410 having an arc-shaped section that protrudes upward in the front direction from the front portion of the body 110.
- First and second clip fixing sections 411 and 413 are provided at both sides of the head 410.
- the first and second clip fixing sections 411 and 413 extend along the bottom surface of the body 110.
- a locking hole 415 is defined by means of the head 410, and the rim of the cap visor 300 is fixedly inserted into the locking hole 415.
- the center portions of the first and second clip fixing sections 411 and 413. closely make contact with the body 110 and end portions of the first and second clip fixing sections 411 and 413 are bent upward from the upper surface of the cap visor 300.
- the head 410 may serve as a billboard or a print board for exhibiting product names or advertisements.
Landscapes
- Engineering & Computer Science (AREA)
- General Engineering & Computer Science (AREA)
- Multimedia (AREA)
- Non-Portable Lighting Devices Or Systems Thereof (AREA)
- Arrangement Of Elements, Cooling, Sealing, Or The Like Of Lighting Devices (AREA)
Claims (12)
- Klemmlampe, welche folgende Merkmale aufweist:einen Körper (110), welcher eine leicht gekrümmte obere Oberfläche hat unddarin eine Batterie beherbergt;eine Vielzahl elektrischer Birnen (120), welche an einem vorderen Abschnitt des Körpers (110) installiert sind, undeine Einrichtung zum lösbaren Befestigen der Lampe an einem Schirm einer Mütze,dadurch gekennzeichnet, dass- die Einrichtung (131, 132) zum lösbaren Befestigen der Lampe an einem Schirm einer Mütze erste und zweite Klemmen (131 und 132) aufweist, welche jeweils einen ersten Endabschnitt haben, welcher sich von einem vorderen Abschnitt des Körpers (110) nach vorne erstreckt und sich dann nach oben und nach hinten zu einem Mittelabschnitt (135 oder 136) krümmt, wobei er auf dem Körper (110) aufliegt und mit einem Schirm einer Mütze oder eines Hutes verbindbar ist, um den Schirm zwischen den Klemmen (131, 132) und der oberen Oberfläche des Körpers (110) zu klemmen, um den Körper (110) unterhalb des Schirms zu befestigen, und welcher in einem distalen Endabschnitt abschließt, welcher derart nach oben gekrümmt ist, dass die erste und die zweite Klemme (131 und 132) in einfacher Weise mit dem Schirm des Hutes oder der Mütze verbunden werden können,- wobei sich der nach oben und hinten krümmende Abschnitt (131 a oder 132a) jeder der ersten und zweiten Klemmen (131, 132) eine Sicherungsnische (131 b, 132b) aufweist, in welchem die Vorderkante des Schirms des Huts oder der Mütze während des Einsatzes sicher eingerastet ist.
- Klemmlampe nach Anspruch 1, welche folgende Merkmale aufweist:einen Ultraschallwellengenerator, welcher in dem Körper untergebracht ist, und einen Schalter (140) zum Betreiben der elektrischen Birnen und des Ultraschallwellengenerators.
- Klemmlampe nach Anspruch 2, bei welcher der Schalter (140) von einer Bodenfläche des Körpers in halbkugelartiger Form vorragt.
- Klemmlampe nach Anspruch 2, bei welcher eine Vielzahl von Ultraschallwellenanschlüssen (150) an oberen und unteren Abschnitten des Körpers (110) so ausgebildet sind, um Ultraschallwellen, welche von dem Ultraschallwellengenerator erzeugt sind nach außen zu senden.
- Klemmlampe nach einem der vorhergehenden Ansprüche, bei welcher die sich nach vorne erstreckenden ersten Abschnitte und die sich nach oben und nach hinten krümmenden Abschnitte (131a, 132a) der ersten und zweiten Klemmen (131, 132) in einem nach vorne, oben und nach hinten gebogenen Kopfabschnitt (410) zusammengefasst sind, welcher die Aufnahmeausnehmung (415) definiert, in welchem die Vorderkante des Schirms des Hutes oder der Mütze im Einsatz angeordnet ist.
- Klemmlampe nach einem der Ansprüche 1 bis 4, mit einer Solarzellenplatte (200), welche an dem Körper (110) angebracht ist.
- Klemmlampe nach Anspruch 6, bei welcher die Solarzellenplatte (200) lösbar am Körper (110) angebracht ist.
- Klemmlampe nach Anspruch 6 oder 7, bei welcher- die Solarzellenplatte (200) an dem Körper (110) zwischen der ersten und der zweiten Klemme (131, 132) lösbar montierbar ist, und- wobei in dem Körper (110) Kupplungslöcher (170) gebildet sind, und wobei die Solarzellenplatte (200) folgende Merkmale aufweist:- einen Solarzellenplattenkörper (210), welcher zwischen der ersten (131) und der zweiten (132) Klemme angeordnet werden kann,- ein Ausdehnungselement (220), welches sich von dem Solarzellenplattenkörper (210) vor jedem Schirm erstreckt, an welchem die Lampe befestigt ist, und- Vorsprünge (230) zur Stromversorgung, welche sich von dem Ausdehnungselement (220) in der Art erstrecken, dass die Vorsprünge (230) zur Stromversorgung in den Kupplungslöchern (170) lösbar eingesetzt sind, wenn die Solarzellenplatte (200) an dem Körper (110) zwischen der ersten (132) und zweiten (132) Klemme montiert ist, um an die in dem Körper (110) untergebrachte Batterie elektrischen Strom, welcher in der Solarzellenplatte (200) erzeugt wurde, zu liefern.
- Klemmlampe nach einem der vorhergehenden Ansprüche, die weitere folgende Vorteile Merkmale aufweist:einen Ultraschallwellengenerator, welcher in dem Körper (110) untergebracht ist, und- entweder einen Schalter (140) um die elektrischen Birnen (120) und den Ultraschallwellengenerator zusammen zu betreiben,- oder einen Schalter (140), um die elektrischen Birnen (120) und den Ultraschallwellengenerator separat zu betreiben.
- Klemmlampe nach Anspruch 9, bei welcher der oder jeder Schalter (140) auf einer Bodenfläche des Körpers (110) installiert sind.
- Klemmlampe nach Anspruch 9 oder Anspruch 10, bei welcher eine Vielzahl von Ultraschallwellenanschlüssen (150) an oberen und unteren Abschnitten des Körpers (110) gebildet sind, um Ultraschallwellen, welche von dem Ultraschallwellengenerator erzeugt wurden zu senden.
- Klemmlampe nach einem der vorhergehenden Ansprüche, mit folgendem Merkmal:eine Verbindungsbuchse (160), welche an einer Seite des Körpers (110) zum Anschluss an eine externe Energiequelle vorgesehen ist, um die Batterie zu laden.
Applications Claiming Priority (2)
| Application Number | Priority Date | Filing Date | Title |
|---|---|---|---|
| KR2020050035773U KR200412703Y1 (ko) | 2005-12-20 | 2005-12-20 | 클립형 발광기 |
| PCT/KR2006/005225 WO2007073047A1 (en) | 2005-12-20 | 2006-12-06 | Clip type lamp detachably coupled with cap |
Publications (3)
| Publication Number | Publication Date |
|---|---|
| EP1838992A1 EP1838992A1 (de) | 2007-10-03 |
| EP1838992A4 EP1838992A4 (de) | 2008-04-30 |
| EP1838992B1 true EP1838992B1 (de) | 2014-07-30 |
Family
ID=38188782
Family Applications (1)
| Application Number | Title | Priority Date | Filing Date |
|---|---|---|---|
| EP06823932.6A Not-in-force EP1838992B1 (de) | 2005-12-20 | 2006-12-06 | Klemmlampe mit lösbarer befestigung an einem sockel |
Country Status (7)
| Country | Link |
|---|---|
| EP (1) | EP1838992B1 (de) |
| JP (1) | JP4515518B2 (de) |
| KR (1) | KR200412703Y1 (de) |
| CN (2) | CN101018980B (de) |
| AU (2) | AU2006276688B2 (de) |
| TW (1) | TWI339251B (de) |
| WO (1) | WO2007073047A1 (de) |
Families Citing this family (32)
| Publication number | Priority date | Publication date | Assignee | Title |
|---|---|---|---|---|
| US8388164B2 (en) | 2005-05-17 | 2013-03-05 | Michael Waters | Hands-Free lighting devices |
| US9526292B2 (en) | 2005-05-17 | 2016-12-27 | Michael Waters | Power modules and headgear |
| KR100982363B1 (ko) * | 2007-06-25 | 2010-09-14 | 손대업 | 탈부착형 발광기 |
| EP2171344A4 (de) * | 2007-06-25 | 2013-02-20 | Dae Up Sohn | Anbringbare leuchte |
| KR100942318B1 (ko) * | 2007-06-25 | 2010-02-12 | 손대업 | 탈부착형 발광기 |
| US8491145B2 (en) | 2007-12-18 | 2013-07-23 | Waters Industries, Inc. | Illuminated headgear having switch devices and packaging therefor |
| US8757831B2 (en) | 2007-12-18 | 2014-06-24 | Michael Waters | Headgear having an electrical device and power source mounted thereto |
| WO2009079656A2 (en) | 2007-12-18 | 2009-06-25 | Michael Waters | Hands-free lighting devices |
| JP2009179897A (ja) * | 2008-01-30 | 2009-08-13 | Ssc:Kk | つば付帽子装着用ライト |
| KR101036251B1 (ko) | 2008-05-30 | 2011-05-20 | (주)재성물산 | 휴대용 해충 퇴치기 |
| CA2753717C (en) | 2009-02-27 | 2016-07-12 | Michael Waters | Lighted hat |
| WO2011137400A1 (en) | 2010-04-30 | 2011-11-03 | Michael Waters | Lighted headgear and accessories therefor |
| GB2473338A (en) * | 2010-09-02 | 2011-03-09 | Julian Stevens | Terrain visualization device with light emitter projecting contrast pattern |
| CA2794370A1 (en) | 2011-11-04 | 2013-05-04 | Michael Waters | Hat with automated shut-off feature for electrical devices |
| US9609902B2 (en) | 2011-12-23 | 2017-04-04 | Michael Waters | Headgear having a camera device |
| US9568173B2 (en) | 2011-12-23 | 2017-02-14 | Michael Waters | Lighted hat |
| US9526287B2 (en) | 2011-12-23 | 2016-12-27 | Michael Waters | Lighted hat |
| KR101382152B1 (ko) * | 2012-10-05 | 2014-04-24 | 희성전자 주식회사 | 교체가 가능한 체결 구조를 갖는 칩 온 보드 모듈 |
| WO2014100477A1 (en) | 2012-12-19 | 2014-06-26 | Michael Waters | Lighted solar hat |
| WO2014144507A1 (en) | 2013-03-15 | 2014-09-18 | Michael Waters | Lighted headgear |
| USD770143S1 (en) | 2014-05-23 | 2016-11-01 | Michael Waters | Beanie with means for illumination |
| CN104180284A (zh) * | 2014-08-26 | 2014-12-03 | 吴世忠 | 一种小区健身发电及自动跟踪式太阳能路灯 |
| KR101705438B1 (ko) * | 2015-03-25 | 2017-02-22 | 박선규 | 충전식 손전등 |
| KR101598323B1 (ko) * | 2015-07-27 | 2016-02-26 | 라이언 근 리 | 모자 부착형 골프 스윙 연습 가이드 장치 |
| JP6515256B2 (ja) * | 2015-12-09 | 2019-05-15 | 浩光 久野 | 充電を短時間にする太陽電池式の携帯電子機器類 |
| SG10201603111SA (en) * | 2016-04-20 | 2017-11-29 | Taime Pte Ltd | Multifunctional Spring Loaded Clip |
| CN106422066B (zh) * | 2016-11-08 | 2024-02-09 | 叶向阳 | 一种轻便易安装的穿戴式生态负氧离子健康器 |
| CN108124851A (zh) * | 2018-02-01 | 2018-06-08 | 广东交通职业技术学院 | 一种智能驱蚊装置 |
| EP3829275B1 (de) | 2018-07-26 | 2024-05-01 | Zeon Corporation | Elektronische vorrichtung |
| US10791783B1 (en) | 2019-05-16 | 2020-10-06 | Waters Industries, Inc. | Lighted headgear and accessories therefor |
| US12171293B2 (en) | 2021-12-27 | 2024-12-24 | Waters Industries, Inc. | Lighted headgear and accessories therefor |
| KR102849416B1 (ko) * | 2023-05-24 | 2025-08-25 | 나예진 | 위치 추적 다기능 캡 |
Family Cites Families (18)
| Publication number | Priority date | Publication date | Assignee | Title |
|---|---|---|---|---|
| JPS56151328U (de) * | 1980-04-14 | 1981-11-13 | ||
| JPH0719334U (ja) * | 1993-09-06 | 1995-04-07 | 晃 小野 | ランプ付スポーツ帽子 |
| KR100282715B1 (ko) * | 1996-12-06 | 2001-02-15 | 정몽규 | 자동차 해충 퇴치장치 |
| KR20000008567U (ko) * | 1998-10-23 | 2000-05-15 | 신용락 | 선글라스가 분리 및 결합되는 모자 |
| US6206543B1 (en) * | 1999-11-12 | 2001-03-27 | David Vincent Henry | Flashlight holder assembly |
| CN2451874Y (zh) * | 2000-11-15 | 2001-10-03 | 陈吉福 | 夜视头灯 |
| FR2833139A1 (fr) * | 2001-12-07 | 2003-06-13 | Stm Internat | Dispositif portatif eloignant les moustiques et utilisation |
| JP2003272402A (ja) * | 2002-03-18 | 2003-09-26 | Hasegawa Denki Kogyo Kk | 携帯式照明装置 |
| US20030201874A1 (en) * | 2002-04-24 | 2003-10-30 | Chih-Hsien Wu | Shrew-expelling device with illuminating function |
| US6634031B1 (en) * | 2002-06-17 | 2003-10-21 | Thomas P. Schlapkohl | Cap mounted light |
| JP4170051B2 (ja) * | 2002-09-02 | 2008-10-22 | シャープ株式会社 | 携帯用イオン発生装置 |
| US20040130889A1 (en) * | 2002-09-19 | 2004-07-08 | Kinsman William E. | Hands free magnification eyewear |
| KR200312151Y1 (ko) * | 2003-01-22 | 2003-05-09 | 주식회사 나스켐 | 클립형 발광기 |
| US6721962B1 (en) * | 2003-02-19 | 2004-04-20 | Michael Polaire | Hat with brim light |
| US20050128737A1 (en) * | 2003-12-09 | 2005-06-16 | Francis Pare' | Caplight |
| KR200375257Y1 (ko) * | 2004-11-18 | 2005-02-07 | (주) 사일릭스엘이디 | 모자에 탈. 부착되는 일체형 엘이디 발광장치 |
| KR200376166Y1 (ko) * | 2004-11-19 | 2005-03-09 | 이영관 | 골프 볼마크 클립 |
| US20060198245A1 (en) * | 2005-03-02 | 2006-09-07 | Cheung William S | Electronic insect repelling device |
-
2005
- 2005-12-20 KR KR2020050035773U patent/KR200412703Y1/ko not_active Expired - Lifetime
-
2006
- 2006-12-06 CN CN2006800007663A patent/CN101018980B/zh active Active
- 2006-12-06 CN CN2010101451880A patent/CN101900249B/zh active Active
- 2006-12-06 JP JP2008509953A patent/JP4515518B2/ja not_active Expired - Fee Related
- 2006-12-06 WO PCT/KR2006/005225 patent/WO2007073047A1/en not_active Ceased
- 2006-12-06 EP EP06823932.6A patent/EP1838992B1/de not_active Not-in-force
- 2006-12-06 AU AU2006276688A patent/AU2006276688B2/en not_active Ceased
- 2006-12-20 TW TW095147871A patent/TWI339251B/zh not_active IP Right Cessation
-
2009
- 2009-08-05 AU AU2009206161A patent/AU2009206161B2/en not_active Ceased
Also Published As
| Publication number | Publication date |
|---|---|
| TWI339251B (en) | 2011-03-21 |
| HK1106572A1 (en) | 2008-03-14 |
| CN101900249B (zh) | 2012-01-25 |
| AU2009206161A1 (en) | 2009-08-27 |
| AU2006276688B2 (en) | 2009-10-01 |
| JP2008541348A (ja) | 2008-11-20 |
| AU2006276688A1 (en) | 2007-07-05 |
| TW200730761A (en) | 2007-08-16 |
| EP1838992A4 (de) | 2008-04-30 |
| KR200412703Y1 (ko) | 2006-03-31 |
| CN101900249A (zh) | 2010-12-01 |
| CN101018980A (zh) | 2007-08-15 |
| AU2009206161B2 (en) | 2011-06-02 |
| EP1838992A1 (de) | 2007-10-03 |
| CN101018980B (zh) | 2010-12-22 |
| WO2007073047A1 (en) | 2007-06-28 |
| JP4515518B2 (ja) | 2010-08-04 |
Similar Documents
| Publication | Publication Date | Title |
|---|---|---|
| EP1838992B1 (de) | Klemmlampe mit lösbarer befestigung an einem sockel | |
| US7427149B2 (en) | Clip type light detachably coupled with cap | |
| US5951141A (en) | Head mounted illumination device | |
| US5836673A (en) | Strip sport light | |
| USD520153S1 (en) | Rear light to an automobile | |
| US20110210685A1 (en) | Lighted hat with a power supply device as flashlight | |
| CA2296859A1 (en) | Warning device for motor vehicle | |
| US20130141933A1 (en) | Pivotable led lighting apparatus and universal mounting assembly and method | |
| US11206888B2 (en) | Lighted headgear and accessories therefor | |
| CA2564734A1 (en) | An article, such as a cap or a protective helmet, equipped with light | |
| KR200164075Y1 (ko) | 조명수단을가진모자 | |
| US5667294A (en) | Strip sport light | |
| USD483780S1 (en) | Illuminated magnifier | |
| US7810944B2 (en) | Illuminated cap having optical fiber strand and removable pouch | |
| US5632549A (en) | Fastener frame with button switch | |
| USD479889S1 (en) | Combined battery pack, radio and hand lamp with electric generator actuated by hand | |
| US7497591B1 (en) | Eyestrain reducing device | |
| KR100942318B1 (ko) | 탈부착형 발광기 | |
| HK1106572B (en) | Clip type lamp detachably coupled with cap | |
| KR101335537B1 (ko) | 솔라셀 패널이 장착된 엘이디 조명을 구비한 지팡이 | |
| KR200187577Y1 (ko) | 헬멧에 부착하는 등화장치 | |
| CN214369436U (zh) | 一种充电头灯 | |
| KR200284012Y1 (ko) | 후레쉬 겸 헤드 라이트 | |
| JP2764371B2 (ja) | 安全表示装置用発光ユニット | |
| US20140254184A1 (en) | Set of bicycle lamps for detachable mounting on a tubular structure |
Legal Events
| Date | Code | Title | Description |
|---|---|---|---|
| PUAI | Public reference made under article 153(3) epc to a published international application that has entered the european phase |
Free format text: ORIGINAL CODE: 0009012 |
|
| 17P | Request for examination filed |
Effective date: 20070629 |
|
| AK | Designated contracting states |
Kind code of ref document: A1 Designated state(s): AT BE BG CH CY CZ DE DK EE ES FI FR GB GR HU IE IS IT LI LT LU LV MC NL PL PT RO SE SI SK TR |
|
| AX | Request for extension of the european patent |
Extension state: AL BA HR MK YU |
|
| DAX | Request for extension of the european patent (deleted) | ||
| A4 | Supplementary search report drawn up and despatched |
Effective date: 20080320 |
|
| RA4 | Supplementary search report drawn up and despatched (corrected) |
Effective date: 20080331 |
|
| 17Q | First examination report despatched |
Effective date: 20080820 |
|
| DAX | Request for extension of the european patent (deleted) | ||
| GRAP | Despatch of communication of intention to grant a patent |
Free format text: ORIGINAL CODE: EPIDOSNIGR1 |
|
| INTG | Intention to grant announced |
Effective date: 20140213 |
|
| GRAS | Grant fee paid |
Free format text: ORIGINAL CODE: EPIDOSNIGR3 |
|
| GRAA | (expected) grant |
Free format text: ORIGINAL CODE: 0009210 |
|
| AK | Designated contracting states |
Kind code of ref document: B1 Designated state(s): AT BE BG CH CY CZ DE DK EE ES FI FR GB GR HU IE IS IT LI LT LU LV MC NL PL PT RO SE SI SK TR |
|
| REG | Reference to a national code |
Ref country code: GB Ref legal event code: FG4D |
|
| REG | Reference to a national code |
Ref country code: CH Ref legal event code: EP |
|
| REG | Reference to a national code |
Ref country code: AT Ref legal event code: REF Ref document number: 680161 Country of ref document: AT Kind code of ref document: T Effective date: 20140815 |
|
| REG | Reference to a national code |
Ref country code: IE Ref legal event code: FG4D |
|
| REG | Reference to a national code |
Ref country code: DE Ref legal event code: R096 Ref document number: 602006042524 Country of ref document: DE Effective date: 20140911 |
|
| REG | Reference to a national code |
Ref country code: AT Ref legal event code: MK05 Ref document number: 680161 Country of ref document: AT Kind code of ref document: T Effective date: 20140730 |
|
| REG | Reference to a national code |
Ref country code: NL Ref legal event code: VDEP Effective date: 20140730 |
|
| REG | Reference to a national code |
Ref country code: LT Ref legal event code: MG4D |
|
| PG25 | Lapsed in a contracting state [announced via postgrant information from national office to epo] |
Ref country code: BG Free format text: LAPSE BECAUSE OF FAILURE TO SUBMIT A TRANSLATION OF THE DESCRIPTION OR TO PAY THE FEE WITHIN THE PRESCRIBED TIME-LIMIT Effective date: 20141030 Ref country code: FI Free format text: LAPSE BECAUSE OF FAILURE TO SUBMIT A TRANSLATION OF THE DESCRIPTION OR TO PAY THE FEE WITHIN THE PRESCRIBED TIME-LIMIT Effective date: 20140730 Ref country code: SE Free format text: LAPSE BECAUSE OF FAILURE TO SUBMIT A TRANSLATION OF THE DESCRIPTION OR TO PAY THE FEE WITHIN THE PRESCRIBED TIME-LIMIT Effective date: 20140730 Ref country code: ES Free format text: LAPSE BECAUSE OF FAILURE TO SUBMIT A TRANSLATION OF THE DESCRIPTION OR TO PAY THE FEE WITHIN THE PRESCRIBED TIME-LIMIT Effective date: 20140730 Ref country code: LT Free format text: LAPSE BECAUSE OF FAILURE TO SUBMIT A TRANSLATION OF THE DESCRIPTION OR TO PAY THE FEE WITHIN THE PRESCRIBED TIME-LIMIT Effective date: 20140730 Ref country code: GR Free format text: LAPSE BECAUSE OF FAILURE TO SUBMIT A TRANSLATION OF THE DESCRIPTION OR TO PAY THE FEE WITHIN THE PRESCRIBED TIME-LIMIT Effective date: 20141031 Ref country code: PT Free format text: LAPSE BECAUSE OF FAILURE TO SUBMIT A TRANSLATION OF THE DESCRIPTION OR TO PAY THE FEE WITHIN THE PRESCRIBED TIME-LIMIT Effective date: 20141202 |
|
| PG25 | Lapsed in a contracting state [announced via postgrant information from national office to epo] |
Ref country code: PL Free format text: LAPSE BECAUSE OF FAILURE TO SUBMIT A TRANSLATION OF THE DESCRIPTION OR TO PAY THE FEE WITHIN THE PRESCRIBED TIME-LIMIT Effective date: 20140730 Ref country code: LV Free format text: LAPSE BECAUSE OF FAILURE TO SUBMIT A TRANSLATION OF THE DESCRIPTION OR TO PAY THE FEE WITHIN THE PRESCRIBED TIME-LIMIT Effective date: 20140730 Ref country code: NL Free format text: LAPSE BECAUSE OF FAILURE TO SUBMIT A TRANSLATION OF THE DESCRIPTION OR TO PAY THE FEE WITHIN THE PRESCRIBED TIME-LIMIT Effective date: 20140730 Ref country code: AT Free format text: LAPSE BECAUSE OF FAILURE TO SUBMIT A TRANSLATION OF THE DESCRIPTION OR TO PAY THE FEE WITHIN THE PRESCRIBED TIME-LIMIT Effective date: 20140730 Ref country code: CY Free format text: LAPSE BECAUSE OF FAILURE TO SUBMIT A TRANSLATION OF THE DESCRIPTION OR TO PAY THE FEE WITHIN THE PRESCRIBED TIME-LIMIT Effective date: 20140730 Ref country code: IS Free format text: LAPSE BECAUSE OF FAILURE TO SUBMIT A TRANSLATION OF THE DESCRIPTION OR TO PAY THE FEE WITHIN THE PRESCRIBED TIME-LIMIT Effective date: 20141130 |
|
| PG25 | Lapsed in a contracting state [announced via postgrant information from national office to epo] |
Ref country code: EE Free format text: LAPSE BECAUSE OF FAILURE TO SUBMIT A TRANSLATION OF THE DESCRIPTION OR TO PAY THE FEE WITHIN THE PRESCRIBED TIME-LIMIT Effective date: 20140730 Ref country code: IT Free format text: LAPSE BECAUSE OF FAILURE TO SUBMIT A TRANSLATION OF THE DESCRIPTION OR TO PAY THE FEE WITHIN THE PRESCRIBED TIME-LIMIT Effective date: 20140730 Ref country code: SK Free format text: LAPSE BECAUSE OF FAILURE TO SUBMIT A TRANSLATION OF THE DESCRIPTION OR TO PAY THE FEE WITHIN THE PRESCRIBED TIME-LIMIT Effective date: 20140730 Ref country code: RO Free format text: LAPSE BECAUSE OF FAILURE TO SUBMIT A TRANSLATION OF THE DESCRIPTION OR TO PAY THE FEE WITHIN THE PRESCRIBED TIME-LIMIT Effective date: 20140730 Ref country code: CZ Free format text: LAPSE BECAUSE OF FAILURE TO SUBMIT A TRANSLATION OF THE DESCRIPTION OR TO PAY THE FEE WITHIN THE PRESCRIBED TIME-LIMIT Effective date: 20140730 Ref country code: DK Free format text: LAPSE BECAUSE OF FAILURE TO SUBMIT A TRANSLATION OF THE DESCRIPTION OR TO PAY THE FEE WITHIN THE PRESCRIBED TIME-LIMIT Effective date: 20140730 |
|
| REG | Reference to a national code |
Ref country code: DE Ref legal event code: R097 Ref document number: 602006042524 Country of ref document: DE |
|
| PLBE | No opposition filed within time limit |
Free format text: ORIGINAL CODE: 0009261 |
|
| STAA | Information on the status of an ep patent application or granted ep patent |
Free format text: STATUS: NO OPPOSITION FILED WITHIN TIME LIMIT |
|
| PG25 | Lapsed in a contracting state [announced via postgrant information from national office to epo] |
Ref country code: BE Free format text: LAPSE BECAUSE OF NON-PAYMENT OF DUE FEES Effective date: 20141231 |
|
| 26N | No opposition filed |
Effective date: 20150504 |
|
| PG25 | Lapsed in a contracting state [announced via postgrant information from national office to epo] |
Ref country code: LU Free format text: LAPSE BECAUSE OF FAILURE TO SUBMIT A TRANSLATION OF THE DESCRIPTION OR TO PAY THE FEE WITHIN THE PRESCRIBED TIME-LIMIT Effective date: 20141206 |
|
| REG | Reference to a national code |
Ref country code: CH Ref legal event code: PL |
|
| REG | Reference to a national code |
Ref country code: IE Ref legal event code: MM4A |
|
| PG25 | Lapsed in a contracting state [announced via postgrant information from national office to epo] |
Ref country code: CH Free format text: LAPSE BECAUSE OF NON-PAYMENT OF DUE FEES Effective date: 20141231 Ref country code: IE Free format text: LAPSE BECAUSE OF NON-PAYMENT OF DUE FEES Effective date: 20141206 Ref country code: LI Free format text: LAPSE BECAUSE OF NON-PAYMENT OF DUE FEES Effective date: 20141231 |
|
| PG25 | Lapsed in a contracting state [announced via postgrant information from national office to epo] |
Ref country code: SI Free format text: LAPSE BECAUSE OF FAILURE TO SUBMIT A TRANSLATION OF THE DESCRIPTION OR TO PAY THE FEE WITHIN THE PRESCRIBED TIME-LIMIT Effective date: 20140730 |
|
| REG | Reference to a national code |
Ref country code: FR Ref legal event code: PLFP Year of fee payment: 10 |
|
| PG25 | Lapsed in a contracting state [announced via postgrant information from national office to epo] |
Ref country code: MC Free format text: LAPSE BECAUSE OF FAILURE TO SUBMIT A TRANSLATION OF THE DESCRIPTION OR TO PAY THE FEE WITHIN THE PRESCRIBED TIME-LIMIT Effective date: 20140730 |
|
| PG25 | Lapsed in a contracting state [announced via postgrant information from national office to epo] |
Ref country code: BE Free format text: LAPSE BECAUSE OF FAILURE TO SUBMIT A TRANSLATION OF THE DESCRIPTION OR TO PAY THE FEE WITHIN THE PRESCRIBED TIME-LIMIT Effective date: 20140730 Ref country code: HU Free format text: LAPSE BECAUSE OF FAILURE TO SUBMIT A TRANSLATION OF THE DESCRIPTION OR TO PAY THE FEE WITHIN THE PRESCRIBED TIME-LIMIT; INVALID AB INITIO Effective date: 20061206 Ref country code: TR Free format text: LAPSE BECAUSE OF FAILURE TO SUBMIT A TRANSLATION OF THE DESCRIPTION OR TO PAY THE FEE WITHIN THE PRESCRIBED TIME-LIMIT Effective date: 20140730 |
|
| REG | Reference to a national code |
Ref country code: FR Ref legal event code: PLFP Year of fee payment: 11 |
|
| REG | Reference to a national code |
Ref country code: FR Ref legal event code: PLFP Year of fee payment: 12 |
|
| PGFP | Annual fee paid to national office [announced via postgrant information from national office to epo] |
Ref country code: FR Payment date: 20171219 Year of fee payment: 12 |
|
| PGFP | Annual fee paid to national office [announced via postgrant information from national office to epo] |
Ref country code: GB Payment date: 20171221 Year of fee payment: 12 |
|
| PGFP | Annual fee paid to national office [announced via postgrant information from national office to epo] |
Ref country code: DE Payment date: 20171229 Year of fee payment: 12 |
|
| REG | Reference to a national code |
Ref country code: DE Ref legal event code: R119 Ref document number: 602006042524 Country of ref document: DE |
|
| GBPC | Gb: european patent ceased through non-payment of renewal fee |
Effective date: 20181206 |
|
| PG25 | Lapsed in a contracting state [announced via postgrant information from national office to epo] |
Ref country code: DE Free format text: LAPSE BECAUSE OF NON-PAYMENT OF DUE FEES Effective date: 20190702 Ref country code: FR Free format text: LAPSE BECAUSE OF NON-PAYMENT OF DUE FEES Effective date: 20181231 |
|
| PG25 | Lapsed in a contracting state [announced via postgrant information from national office to epo] |
Ref country code: GB Free format text: LAPSE BECAUSE OF NON-PAYMENT OF DUE FEES Effective date: 20181206 |