EP1661710B1 - Verfahren zum Befüllen einer Kartusche mit Flüssigkeit, Füllvorrichtung und Kartusche - Google Patents
Verfahren zum Befüllen einer Kartusche mit Flüssigkeit, Füllvorrichtung und Kartusche Download PDFInfo
- Publication number
- EP1661710B1 EP1661710B1 EP05025966A EP05025966A EP1661710B1 EP 1661710 B1 EP1661710 B1 EP 1661710B1 EP 05025966 A EP05025966 A EP 05025966A EP 05025966 A EP05025966 A EP 05025966A EP 1661710 B1 EP1661710 B1 EP 1661710B1
- Authority
- EP
- European Patent Office
- Prior art keywords
- ink
- cartridge
- opening
- film
- container body
- Prior art date
- Legal status (The legal status is an assumption and is not a legal conclusion. Google has not performed a legal analysis and makes no representation as to the accuracy of the status listed.)
- Expired - Lifetime
Links
Images
Classifications
-
- B—PERFORMING OPERATIONS; TRANSPORTING
- B41—PRINTING; LINING MACHINES; TYPEWRITERS; STAMPS
- B41J—TYPEWRITERS; SELECTIVE PRINTING MECHANISMS, i.e. MECHANISMS PRINTING OTHERWISE THAN FROM A FORME; CORRECTION OF TYPOGRAPHICAL ERRORS
- B41J2/00—Typewriters or selective printing mechanisms characterised by the printing or marking process for which they are designed
- B41J2/005—Typewriters or selective printing mechanisms characterised by the printing or marking process for which they are designed characterised by bringing liquid or particles selectively into contact with a printing material
- B41J2/01—Ink jet
- B41J2/17—Ink jet characterised by ink handling
- B41J2/175—Ink supply systems ; Circuit parts therefor
- B41J2/17503—Ink cartridges
- B41J2/17553—Outer structure
-
- B—PERFORMING OPERATIONS; TRANSPORTING
- B41—PRINTING; LINING MACHINES; TYPEWRITERS; STAMPS
- B41J—TYPEWRITERS; SELECTIVE PRINTING MECHANISMS, i.e. MECHANISMS PRINTING OTHERWISE THAN FROM A FORME; CORRECTION OF TYPOGRAPHICAL ERRORS
- B41J2/00—Typewriters or selective printing mechanisms characterised by the printing or marking process for which they are designed
- B41J2/005—Typewriters or selective printing mechanisms characterised by the printing or marking process for which they are designed characterised by bringing liquid or particles selectively into contact with a printing material
- B41J2/01—Ink jet
- B41J2/17—Ink jet characterised by ink handling
- B41J2/175—Ink supply systems ; Circuit parts therefor
- B41J2/17503—Ink cartridges
-
- B—PERFORMING OPERATIONS; TRANSPORTING
- B41—PRINTING; LINING MACHINES; TYPEWRITERS; STAMPS
- B41J—TYPEWRITERS; SELECTIVE PRINTING MECHANISMS, i.e. MECHANISMS PRINTING OTHERWISE THAN FROM A FORME; CORRECTION OF TYPOGRAPHICAL ERRORS
- B41J2/00—Typewriters or selective printing mechanisms characterised by the printing or marking process for which they are designed
- B41J2/005—Typewriters or selective printing mechanisms characterised by the printing or marking process for which they are designed characterised by bringing liquid or particles selectively into contact with a printing material
- B41J2/01—Ink jet
- B41J2/17—Ink jet characterised by ink handling
- B41J2/175—Ink supply systems ; Circuit parts therefor
- B41J2/17503—Ink cartridges
- B41J2/17506—Refilling of the cartridge
-
- B—PERFORMING OPERATIONS; TRANSPORTING
- B41—PRINTING; LINING MACHINES; TYPEWRITERS; STAMPS
- B41J—TYPEWRITERS; SELECTIVE PRINTING MECHANISMS, i.e. MECHANISMS PRINTING OTHERWISE THAN FROM A FORME; CORRECTION OF TYPOGRAPHICAL ERRORS
- B41J2/00—Typewriters or selective printing mechanisms characterised by the printing or marking process for which they are designed
- B41J2/005—Typewriters or selective printing mechanisms characterised by the printing or marking process for which they are designed characterised by bringing liquid or particles selectively into contact with a printing material
- B41J2/01—Ink jet
- B41J2/17—Ink jet characterised by ink handling
- B41J2/175—Ink supply systems ; Circuit parts therefor
- B41J2/17503—Ink cartridges
- B41J2/17513—Inner structure
-
- B—PERFORMING OPERATIONS; TRANSPORTING
- B41—PRINTING; LINING MACHINES; TYPEWRITERS; STAMPS
- B41J—TYPEWRITERS; SELECTIVE PRINTING MECHANISMS, i.e. MECHANISMS PRINTING OTHERWISE THAN FROM A FORME; CORRECTION OF TYPOGRAPHICAL ERRORS
- B41J2/00—Typewriters or selective printing mechanisms characterised by the printing or marking process for which they are designed
- B41J2/005—Typewriters or selective printing mechanisms characterised by the printing or marking process for which they are designed characterised by bringing liquid or particles selectively into contact with a printing material
- B41J2/01—Ink jet
- B41J2/17—Ink jet characterised by ink handling
- B41J2/175—Ink supply systems ; Circuit parts therefor
- B41J2/17503—Ink cartridges
- B41J2/17536—Protection of cartridges or parts thereof, e.g. tape
Definitions
- the present invention relates to a method of filling liquid into a cartridge of a liquid jet apparatus such as a printer, display manufacturing device, electrode forming device, or biochip manufacturing device having a liquid jet head that jets liquid droplets through openings of nozzles.
- a liquid jet apparatus such as a printer, display manufacturing device, electrode forming device, or biochip manufacturing device having a liquid jet head that jets liquid droplets through openings of nozzles.
- the present invention also relates to a liquid filling device, and a cartridge.
- the ink jet recording device includes a liquid jet head that ejects liquid, such as ink, and records images such as letters, figures or the like; and a cartridge that stores the liquid, such as ink, which is to be supplied to the liquid jet head, and, in general, the cartridge can be detached from the ink jet recording device for replacement.
- a liquid jet head that ejects liquid, such as ink, and records images such as letters, figures or the like
- a cartridge that stores the liquid, such as ink, which is to be supplied to the liquid jet head, and, in general, the cartridge can be detached from the ink jet recording device for replacement.
- Patent Document 2 there is proposed a method of ink replenishment, through which ink is replenished into the used cartridge storing no ink (see Patent Document 2).
- ink is replenished by a replenishing unit while a suction unit is sucking the ink in an ink tank.
- Patent Document 1 Japanese Patent Laid-Open No. 10-193635
- Patent Document 2 Japanese Patent Laid-Open No. 11-207990
- Patent Documents 1 and 2 never mention how to ensure the yield of the cartridge by sealing the ink-refilled recycled cartridge reliably, much less study about the above matter.
- Patent Documents 1 and 2 never mention how to remove the air bubbles in a recycled cartridge and how to prevent the inferior j ettingof the liquid jet headwhen the recycled cartridge is used, much less study about the above matters.
- US 5,329,294 A discloses an ink cartridge according to the preamble of claim 1.
- An advantage of the invention is to provide a method of , for effectively filling liquid into a cartridge, and the cartridge manufactured by the method and/or the device.
- Another advantage of the invention is to provide a method of refilling liquid into a cartridge that effectively refills liquid into the used cartridge in the liquid jet apparatus.
- Another advantage of the invention is to provide a method of refilling liquid into a cartridge that ensures the yield of the cartridge by refilling liquid effectively into the used cartridge in the liquid jet apparatus and then sealing the ink-refilled recycled cartridge reliably, and a refilling cartridge.
- Yet another advantage of the invention is to provide a method of refilling liquid into a cartridge that refills liquid effectively into the used cartridge in the liquid jet apparatus and prevents inferior jetting of the liquid j et head when the recycled cartridge is used.
- Still another advantage of the invention is to provide a method of filling liquid into a cartridge that fills liquid effectively into the cartridge mountable to a liquid jet apparatus and prevents inferior jetting of the liquid jet head.
- the invention provides an ink cartridge according to claim 1 and an ink refilling method according to claim 9.
- Preferred embodiments of the invention are defined in the dependent claims.
- Fig. 1 is a flow chart illustrating a recycling process of a used cartridge.
- Fig. 2 is an exploded perspective view showing an ink cartridge.
- Fig. 3 is an exploded perspective view showing the cartridge.
- Fig. 4 is a view showing an opening of a container body.
- Fig. 5 is a view showing a surface of the container body.
- Fig. 6 is a view showing an enlarged cross-sectional structure of a differential pressure regulating valve accommodating chamber.
- Fig. 7 is a view showing an enlarged cross-sectional structure of a valve accommodating chamber.
- Fig. 8 is a view showing an example of a cartridge holder.
- Fig. 9 is a view showing a welded first film.
- Fig. 10 is a view explaining about the disposition of flow passages of the cartridge.
- Fig. 11 is a view showing a welded over-sheet.
- Fig. 12 is a view showing a cover label peeling process.
- Fig. 13 is a view showing an ink extracting process.
- Fig. 14 is a view showing a liquid extracting unit used in the ink extracting process.
- Fig. 15 is a view showing an injection hole film piercing process.
- Fig. 16 is a view showing an ink injecting process.
- Fig. 17 is a view showing a liquid injection unit used in the ink injecting process.
- Fig. 18 is a view showing an injection hole film rewelding process.
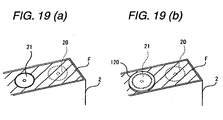
- Fig. 19(a) is a schematic perspective view showing a state in which an air discharge opening is opened by removing a part of a film
- Fig. 19(b) is a schematic perspective view showing a state in which the air discharge opening is sealed after injection of ink.
- Fig. 20 is a cross-sectional view showing a state in which the air discharge opening is sealed.
- the ink jet recording device (hereinafter referred to as 'recording device'), which is a liquid jet apparatus, will be used as an example.
- the recording device is an image recording device that records letters or images by landing liquid droplets (liquid ink) ejected from openings of nozzles on a surface of a recording sheet (a printing sheet) that is an object to be jetted.
- the recording device includes an ink cartridge (hereinafter referred to as 'cartridge') 1 and a carriage, to which a recording head is attached.
- 'cartridge' an ink cartridge
- the carriage is connected with a stepping motor through a timing belt and guided to a guide bar so as to reciprocate in the width direction of the recording sheet.
- the carriage is shaped like a box with the upper surface open and attached to a surface facing the recording sheet (a bottom surface in the present example) to make nozzles of the recording head exposed.
- the cartridge 1 is mounted on the carriage.
- ink is supplied to the recording head from the cartridge 1, and images or letters are printed in dot matrix by ejecting ink droplets onto the recording sheet from the moving cartridge.
- Fig. 1 is a flow chart illustrating all processes of a recycling process, throughwhich ink (ink for refilling) is injected into the used cartridge 1 in order to reuse the cartridge 1.
- a 'recovering process' in which the cartridge 1 is recovered; a 'sorting process', in which the cartridge 1 is sorted; an 'appearance inspecting process', in which the appearance of the cartridge 1 is inspected; and 'cover label peeling process', in which an over-sheet 59, described below is peeled, are performed in sequence.
- a 'supplying hole film peeling process' in which a supplying hole film that seals an ink supply opening, described below, is peeled; an 'ink extracting process', in which ink remaining in the used cartridge 1 (remaining ink) is extracted; an 'injection hole film piercing process', in which a hole is formed in an injection hole film F of an air discharge opening 21, described below; and an 'ink injecting process', in which ink for refilling is injected into the cartridge 1, are performed in sequence.
- an 'injection hole film rewelding process' in which a different injection hole film 90, described below, is rewelded after the hole is formed in the film F; a 'supplying hole film rewelding process', in which a supplying hole film is rewelded; a 'weight inspecting process', in which the weight of the cartridge 1 is inspected; an 'IC data writing process', in which information is written in an IC chip 49, described below; and 'IC data reading process', in which the information of the IC chip 49 is read, are performed in sequence.
- a 'lot number imprinting process' in which lot numbers are imprinted on the cartridge 1; a 'label adhering process', in which a label is adhered to the cartridge 1; an 'external pressure inspecting process', in which an external pressure inspection is performed on the cartridge 1; a 'packing process', in which the cartridge 1 is reduced in pressured and packed; a '12h leakage checking process', in which the leakage of ink or air from the cartridge 1 is checked; and an 'individual encasing process', in which the cartridge 1 is encased, are performed in sequence.
- the detailed description on each process will be followed.
- Figs. 2 and 3 are exploded perspective views showing an example of the cartridge 1 according to the embodiment.
- Fig. 4 shows a container body 2 as viewed from the opening
- Fig. 5 shows the container body 2 as viewed from a surface (hereinafter a surface of the container body 2 opposite to the opening is referred to as the 'surface of the container body 2').
- the cartridge 1 has the flat and oblong container body 2, a surface of which (a left surface in Fig. 2 ) is open, and a lid member 3 that is welded to and seals the opening. Both of the container body 2 and the lid member 3 are made of a synthetic resin.
- the container body 2 includes ink grooves 35 and 18A formed in the surface thereof, which act as ink flow passages, and an atmosphere communication groove 3 6, which acts as an atmosphere communication passage.
- ink grooves 35 and 18A formed in the surface thereof, which act as ink flow passages
- atmosphere communication groove 3 6 acts as an atmosphere communication passage.
- a sheet of a first film 57 having an air-tightness is welded to the surface of the container body 2, the openings of the ink grooves 35 and 18A and the atmosphere communication groove 36 are sealed, and thereby the ink grooves 35 and 18A are formed in the ink flow passage, and the atmosphere communication groove 36 is formed in the atmosphere communication passage.
- An ink supply opening 4 is formed at a front end surface (bottom surface in the example) of the container body 2, from which the container body 2 is inserted into the carriage, and grasping arms 5 and 6, which are grasped by a hand when the cartridge 1 is attached and detached, are integrally formed with the container body 2 at the front and rear surfaces (left and right in Fig. 4 ) of the cartridge 1.
- the ink supply opening 4 accommodates a valve body (not shown), which is opened by inserting an ink supplying needle there into.
- reference numeral 49 denotes an IC chip that acts as a storage unit provided below the grasping arm 6 on the side of the ink supplying hole 4.
- the IC chip 49 stores information such as the amount of used ink in the cartridge 1, the amount of ink remaining in the cartridge 1, and recycling information, described below. These kinds of information are written by the information writing unit (for example, an IC checker, described below, or the like).
- the information writing unit for example, an IC checker, described below, or the like.
- a frame-like portion 14 including a wall 10 extending almost horizontal, that is, slightly inclined downward toward the ink supply opening 4 is formed inside the opening of the container body 2.
- the frame-like portion 14 is formed with almost fixed spacing from the top and both side surfaces of the container body 2.
- a first ink chamber 11 that accommodates ink is formed in a region below the frame-like portion 14.
- atmosphere communication passages 13 and 13A that communicate the first ink chamber 11 with atmosphere through a through-hole 67 are formed by a gap formed between the frame-like portion 14 and an outer circumferential wall of the container body 2 and by a wall 12 of the frame-like chamber 14 provided at a valve accommodating chamber 8.
- the lid member 3 is welded to the wall 12 and the outer circumferential wall of the container body 2 so as to form the atmosphere communication passage 13A.
- an upper end of the wall 12 forming the atmosphere communication passage 13A extends up to almost the top of the container body 2 to make the upper end protrude higher than the liquid surface in the first ink chamber 11 when the cartridge 1 is used.
- the opening of the atmosphere communication passage 13A is located higher than the liquid surface in the first ink chamber 11, so that flow of the ink back to the through-hole 67 is prevented as much as possible.
- the interior of the frame-like portion 14 is divided into right and left regions by a wall 15 having a communication opening 15A, through which ink flows, at the bottom and extending in the longitudinal direction.
- a second ink chamber 16 that temporarily reserves the ink lifted from the first ink chamber 11 is formed at the right region of the frame-like portion 14 divided by the wall 15.
- a third ink chamber 17, a fourth ink chamber 23, a fifth ink chamber 34 or the like are formed, and a differential pressure valve composed of a membrane valve 52, a spring 50 and the like is accommodated.
- the differential pressure valve is a pressure control valve that controls the pressure of supply of the ink with respect to the ink supply opening 4 and provided to hold the ink in the cartridge 1 by the pressure control of the pressure control valve.
- the cartridge 1 includes the pressure control valve that controls the pressure of supply of the ink with respect to the ink supply opening 4 and holds the ink therein by the pressure control of the pressure control valve.
- the second ink chamber 16 is communicated with the bottom surface of the container body 2 so as to form a liquid lifting passage 18 that lifts the ink from the first ink chamber 11 to the second ink chamber 16.
- An oblong region surrounded by a wall 19 is formed in the lower portion of the lifting passage 18, and communication openings 19A and 19B are formed at the lower portion and top surface of the wall 19.
- the lifting passage 18 forms a groove-like ink groove 18A in the surface of the container body 2, and the ink groove 18A is sealed by the first film 57.
- the lifting passage 18 communicates with the second ink chamber 16 at its upper portion through the communication opening 47, and its lower end opening 18B (see Fig. 9 ) communicates with the first ink chamber 11 through an opening 48 formed in the oblong region surrounded by the lower wall 19.
- the first ink chamber 11 communicates with the second ink chamber 16 through the lifting passage 18, and the ink is introduced into the second ink chamber 16 from the first ink chamber 11.
- ink is injected from the air discharge opening 21 in 'the ink injecting process'. That is, when ink is injected into a brand new cartridge, ink is injected from the ink injection opening 20, and when ink is injected into a used cartridge, ink is injected from the air discharge opening 21. 18.18 grams (g) of ink is filled in an unused cartridge.
- a wall 22 is formed to extend horizontally with a predetermined spacing apart from the upper surface 14A of the frame-like portion 14.
- the third chamber 17 is partitioned by a circular-arc wall 24 communicating with the wall 22, and a differential pressure valve accommodating chamber 33 and the fifth ink chamber 34 are formed in a portion surrounded by the wall 24.
- the region surrounded by the circular-arc wall 24 is divided into two parts in the thickness direction by a wall 25 in order to form the differential pressure valve 33 at a surface facing the fifth ink chamber 34.
- An ink circulation opening 25A is provided in the wall 25 in order to introduce the ink flowed into the fifth ink chamber 34 into the differential pressure valve accommodating chamber 33.
- a partition wall 26 including a communication opening 26A between the wall 10 and itself is formed at the lower portion of the substantially circular-arc wall 24, and a portion below the partition wall 26 (left portion in Fig. 4 ) forms the fourth ink chamber 23.
- a partition wall 27 having the communication opening 27 and extending in the longitudinal direction; and a partition wall 32 having communication openings 32A and 32B at the top and bottom and extending in the longitudinal direction are provided at the lower portion between the circular-arc wall 24 and the frame-like portion 14 so as to form the ink flow passages 28A and 28B.
- a circular-arc wall 30 is formed at the container body 2 in order to continue to the upper end of the partition wall 27 and to connect with the substantially circular-arc wall 24 and the wall 22. Still furthermore, a region surrounded by the circular-arc wall 30 is formed at a filter accommodating chamber 9, in which a block-shaped (cylindrical in the example) filter 7 is accommodated.
- a through-hole 29 that couples a large circle and a small circle is formed in the circular-arc wall 30 that forms the filter accommodating chamber 9. Still furthermore, the through-hole 29 of the large circle side communicates with the upper portion of the ink flow passage 28A, and the through-hole 29 of the small circle side communicates with the upper portion of the fifth ink chamber 34 through the communication opening 24A provided at the front end of the substantially circular-arc wall 24. As a result, the ink flow passage 28A communicates with the fifth ink chamber 34 through the through-hole 29.
- the ink flowed into the ink flowpassage 28A through the communication openings 15A, 26A, 32B, 27A or the like from the second ink chamber 16 is filtered by the filter 7 in the filter accommodating chamber 9 and flows into the large circle side of the through-hole 29. Then, the ink flowed into the through-hole 29 flows into the fifth ink chamber 34 from the small circle side of the through-hole 29 through the communication opening 24A. The opening of the through-hole 29 on the side of the surface of the container body 2 is sealed by the first film 57.
- the airtight second film 56 is welded to the opening of the frame-like portion 14. That is, the second film 56 is welded to the frame-like portion 14, the walls 10, 15, 22, 24, 30, 42 and the partition walls 26, 27, 32 so as to form the ink chambers or the flow passages.
- the ink supply opening 4 is communicated with the lower portion of the differential pressure valve accommodating chamber 33 by the ink groove 35 formed at the surface and the flow passage made of the airtight first film 57 that covers the ink groove 35.
- the upper and lower ends of the ink groove 35 are communicated with the differential pressure valve accommodating chamber 33 and the ink supply opening 4, respectively.
- the ink flowed into the fifth ink chamber 34 passes through the ink circulation opening 25A and the differential pressure valve accommodating chamber 33, and flows into the ink supply opening 4 from the flow passage formed with the ink groove 35.
- the atmosphere communication groove 36 that meanders to increase the flow passage resistance as much as possible; and a wide groove 37 that communicates with the atmosphere communication groove 36 and surrounds the differential pressure valve accommodating chamber 33 and the atmosphere communication groove 36 are formed. Furthermore, an oblong recessed portion 38 is formed in a region of the surface of the container body 2 corresponding to the second ink chamber 16.
- a frame portion 39 and a rib 40 are formed a step deeper in the oblong recessed portion 38. Furthermore, the oblong recessed portion 38 is formed in an atmosphere ventilation chamber that communicates with atmosphere through the atmosphere communication groove 36 and the groove 37 by spreading an airtight sheet 55 having an ink-repellant property on the frame portion 39 and the rib 40.
- a through-hole 41 is bored at the rear surface of the recessed portion 38 and communicated with an elongated region 43 divided by an oval wall 42 in the second ink chamber 16.
- the atmosphere communication groove 36 communicates with a region of the recessedportion 38 closer to the surface than the air-permeable sheet 55.
- a through-hole 44 is bored in an end of the elongated region 43 opposite to the through-hole 41.
- the through-hole 44 is communicated with a communicating groove 45 formed on the side of the surface of the container body 2 and a valve accommodating chamber 8, which is an atmosphere opening valve chamber, through a through-hole 46 that is bored to communicate with the groove 45.
- a through-hole 60 that communicates with a through-hole 67 formed in the atmosphere communication passage 13A formed in the first ink chamber 11 is formed.
- the air flowed into the recessed portion 38 through the atmosphere communication groove 36 and the groove 37 reaches the valve accommodating chamber 8 through the through-hole 41, the elongated region 43, the through-holes 44, 46, and reaches the first ink chamber 11 from the valve accommodating chamber 8 through the through-hole 60, the through-hole 67, and the atmosphere communication passage 13, 13A.
- valve accommodating chamber 8 is open at the side where the cartridge is inserted (bottom surface in the example), whereby, as described below, an identifying piece or operating rod provided at a main body of a recording device can be inserted into the valve accommodating chamber 8, and an atmosphere opening valve, which is opened by inserting the operating rod into the upper portion and keeps it open at all time, is accommodated.
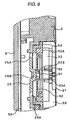
- Fig. 6 shows a sectional structure of portions around the fifth ink chamber 34 and the differential pressure valve accommodating chamber 33.
- the surface of the container body 2, at which the differential pressure valve accommodating chamber 33 is placed is located at the right of the drawing.
- a membrane valve 52 composed of a spring 50 and an elastically deformable material, such as elastomer, and having a through-hole 51 in its center is accommodated.
- the membrane valve 52 includes an annular thick portion 52A therearound and is fixed to the container body 2 through a frame portion 54 integrally formed with the thick portion 52A.
- the spring 50 is supported such that one end thereof abuts against a spring receiving portion 52B of the membrane valve 52d and the other end thereof abuts against a spring receiving portion 53A of a lid member 53 that covers the differential pressure accommodating chamber 33.
- the membrane valve 52 disengages from a valve seating portion 25B due to the negative pressure against the urging force of the spring 50. In this case, the ink passes through the through-hole 51 and the flow passage formed with the ink groove 35, and flows into the ink supply opening 4.
- the membrane valve 52 When the pressure of the ink supply opening 4 reaches a predetermined value, the membrane valve 52 is made elastically contact the valve seating portion 25B by the urging force of the spring 50, and thus the flow of the ink is blocked. Therefore, the ink can be discharged from the ink supply opening 4 by repeatedly performing the above operation while the pressure of the ink supply opening 4 remains at a fixed negative pressure.
- Fig. 7 shows a sectional structure of the valve accommodating chamber 8 for atmosphere communication. Meanwhile, the surface of the container body 2 is placed at the right of the drawing. A through-hole 60 is bored in a wall dividing the valve accommodating chamber 8, and a pressing member 61 including an elastic member, such as rubber, is movably inserted into the surface of the container body 2 while the surrounding of the pressing member 61 is supported by the container body 2. A valve body 65 supported by an elastic member 62 and urged to the through-hole 60 at all times is disposed at the front end of the pressing member 61 (in the advancing direction). As the elastic member 62, a leaf spring having its lower end fixed by a protrusion 63 and its middle portion regulated by a protrusion 64 is used in the example.
- an arm 66 is disposed opposite to the pressing member 61.
- a portion (a lower end in the example) of the arm 66 in the direction that the cartridge 1 is inserted, is fixed to the container body 2, through a turning fulcrum 66A located inside an operating rod 70, described below.
- a pullout portion (a top portion in the example) of the arm 66 protrudes obliquely with respect to an entering passage of the operating rod 70.
- a prominent portion 66B that elastically presses the pressing member 61 is formed at the front end of the arm 66.
- the through-hole 67 is connected with the atmosphere communicating recessed portion 38 through the through-hole 60, the valve accommodating chamber 8, the through-hole 46, the groove 45, the through-hole 44, the elongated region 43, and the through-hole 41 when the valve body 65 is opened.
- the identifying prominent portion 68 is provided on a portion of the valve accommodating chamber 8 closer to the portion, through which the cartridge is inserted, than the arm 66 (bottom in the example) in order to determine whether the cartridge 1 is compatible with the recording device.
- the identifying prominent portion 68 is provided at a location, at which the determination can be performed by the identifying piece (operating rod) 70A, before the ink supply opening 4 is communicated with an ink supplying needle 72 (see Fig. 8 ), and the valve body 65 is opened.
- the operating rod 70 no longer supports the arm 66, and thereby the valve body 65 seals the through-hole 60 by the urging force of the elasticmember 62, and the ink accommodating portion is blocked from the atmosphere.
- the airtight first film 57 is adhered to the surface in order to cover at least a region where the recessed portion is formed in a state that all members, such as valves, are incorporated into in the container body 2.
- a capillary forming the atmosphere communication passage by the recessed portion and the first film 57 is formed at the surface.
- the openings of the ink groove 35, the through-hole 29, the ink groove 18A, the groove 45, the atmosphere communication groove 36 and the recessed portion 38 are sealed by welding a sheet of the first film 57 to the surface of the container body 2.
- the ink groove 35, the through-hole 29, the ink groove 18A and the groove 45 are formed in the ink passage respectively, and the atmosphere communication groove 36 and the recessed portion 38 are formed in the atmosphere communication passage respectively.
- Fig. 9 shows the cartridge 1, to which the first film 57 is welded.
- the first film 57 is coated on the surface of the container body 2 and then pressed by a heated pressing plate for thermal welding.
- the atmosphere communication groove 36 is a fine and shallow groove that is curved complicatedly in order to prevent the evaporation of the ink, as much as possible, and the excessive increase in the passage resistance. Therefore, when the atmosphere communication groove 36 is sealed by the first film 57, the atmosphere communication groove 36 can be crushed and thus the air circulation can be interrupted if the welding height is not managed with a highprecision. Meanwhile, it is desirable that the recessedportion forming the ink passage of the ink groove 35 or the like be welded with a careful attention to the welding strength in order to prevent the ink leakage.
- a flowpassage is disposed to divide the surface of the container body 2 into two regions, that is, a region (a) where a recessed portion forming the ink flow passage is formed, while the ink groove 35, the through-hole 29 or the like occupies much of them, and a region (b) where the atmosphere communication groove 36 is formed. Furthermore, the groove 31 that does not forms the ink flow passage is formed at a border portion between the regions (a) and (b) on the surface of the container body 2.
- a range where the first film 57 is pressed by the heated pressing plate at a time when it is welded to the container body 2 (hereinafter referred to as 'welding range') is divided into a region (a) where the precision of the welding height needs to be managed, and a region (b) where the welding strength needs to be managed, so that the welding conditions are independently controlled in the regions (a) and (b).
- the welding range of the first film 57 is divided into a region (b) where the ink groove 35 forming the ink flow passage downstream of the differential pressure valve that generates negative pressure in the cartridge 1 is formed, and a region (a). That is, since the shape of the flow passages, such as the ink flowpassage and the atmosphere communication passage, is relatively complicated, complicated flow passages can be formed easily in the cartridge 1 having the differential pressure valve.
- reference numeral 57A denotes a cutout portion provided at a portion of the first film 57 corresponding to the groove 31.
- the cartridge 1 has an over-sheet 59 that covers the first film 57 adhered to the surface of the container body 2.
- the first film 57 is protected by the over-sheet 59, and the ink leakage due to the damage of the first film 57 and the evaporation of the ink can be decreased.
- reference numeral 59A denotes a cutout portion provided in a portion of the over-sheet 59 corresponding to the groove 31.
- the over-sheet 59 is thicker than the first film 57. That is, in the cartridge 1, the first film 57 is thinner than the over-sheet 59. As a result, when the ink groove 35, 18A, the atmosphere communication groove 36 and the like are sealed by welding the first film 57, since the first film 57 can cover the surface of the container body 2 easily, the welding strength or the welding precision improves well. Furthermore, the first film 57 can be protected effectively by the relatively thick over-sheet 59.
- the over-sheet 59 has an extending region 59B that covers the lower surface of the container body 2, and the extending region 59B covers the ink injection opening 20 and the air discharge opening 21.
- a sheet of over-sheet 59 can cover the ink injection opening 20 and the air discharge opening 21, and thereby the process can be simplified or the number of parts can be reduced.
- the opening of the container body 2 is adhered with the airtight second film 56 by thermal welding or the like in order to make the container body 2 airtight with respect to the frame-like portion 14, the walls 10, 15, 22, 24, 30, 42, and the partition walls 26, 27, 32.
- the lid member 3 is put on and fixed to the opening by welding or the like. As a result, the regions divided by the respective walls are sealed to communicate with one another only through the communication opening or the opening.
- the opening of the valve accommodating chamber is also sealed with the airtight third film 58 by the thermal welding or the like, thereby finishing the cartridge 1. If the ink accommodating portions are sealed by the airtight first and second films 56 and 57 or the like as described above, the container body 2 can be molded easily, and the vibration of the ink resulting from the reciprocating motion of the cartridge can be absorbed by the deformation of the first and second films 56 and 57, and thereby the ink pressure can be kept constant.
- an ink injection pipe is inserted into the ink injection opening 20, and then sufficiently degassed ink is injected in a state where the air discharge opening 21 is opened. After the injection is completed, the ink injection opening 20 and the air discharge opening 21 are sealed by an injection hole film F and the over-sheet 59.
- the degassed rate of the ink can be maintained sufficiently.
- the cartridge 1 when the cartridge 1 is mounted to the cartridge holder 71, if the right cartridge 1 is mounted to the cartridge holder 71, the cartridge 1 enters the cartridge holder to a position where the ink supply opening 4 is inserted into the ink supplying needle 72, and the through-hole 60 is made open by the operating rod 70 as described above, whereby the ink accommodating portion communicates with the atmosphere, and the valve of the ink supply opening 4 is also made open by the ink supplying needle 72.
- the identifying prominent portion 68 abuts against the identifying piece 70A of the cartridge holder 71 before the ink supply opening 4 reaches the ink supplying needle 72, and thereby the cartridge 1 cannot enter any longer.
- the valve body 65 since the operating rod 70 also cannot reach the arm 66, the valve body 65 remains in a sealing state, and the ink accommodating portion does not open to the atmosphere, and thereby the evaporation of the ink can be prevented.
- the membrane valve 52 is made open as described above. In addition, if the pressure of the ink supply opening 4 increases, the membrane valve 52 is closed. With the above operation, the ink maintained at a predetermined negative pressure flows into the recording head.
- the ink in the first ink chamber 11 flows into the second ink chamber 16 through the lifting passage 18. Air bubbles flowed into the second ink chamber 16 moves up due to the buoyant force, and only ink flows into the third ink chamber 17 through the communication opening 15A at the lower portion.
- the ink in the third ink chamber 17 passes through the communication opening 26A of the partition wall 26 formed at the lower end of a substantially circularly-formed wall 24 and the fourth ink chamber 23 and flows into the ink flow passages 28A and 28B.
- the ink flowed through the ink flow passage 28A flows into the filter accommodating chamber 9 and then filtered by the filter 7.
- the ink passed through the filter accommodating chamber 9 flows from the large circle side to the small circle side of the through-hole 29, and then flows into the upper portion of the fifth ink chamber 34 through the communication opening 24A.
- the ink flowed into the fifth ink chamber 34 flows into the differential pressure valve accommodating chamber 33 through the ink circulation opening 25A, and then flows into the ink supply opening 4 at a predetermined negative pressure by the opening and closing operation of the membrane valve 52 as described above.
- the first ink chamber 11 communicates with the atmosphere through the atmosphere communication passages 13, 13A, the through-hole 67, the valve accommodating chamber 8 and the like and is maintained at the atmospheric pressure. Therefore, negative pressure is induced, and thus the flow of the ink is not interrupted. Even when the ink in the first ink chamber 11 flows backward and reaches the recessed portion 38, the recessed portion 38 is provided with the air-permeable sheet 55 having an ink-repellant property, and thereby the air-permeable sheet 55 communicates the recessed portion 38 with the atmosphere while the discharge of the ink is interrupted. As a result, it can be prevented previously that the ink flows into the atmosphere communication groove 36 and then the atmosphere communication groove 36 is blocked by the solidification of the ink.
- the cartridge 1 includes the ink groove 35 or the like or the atmosphere communication groove 36 formed in the surface of the container body 2, and the flow passages are formed by sealing the openings of the ink groove 35 or the like or the atmosphere communication groove 36 with the first film 57, and thereby the container including complicated flow passages, such as the ink flowpassage and the atmosphere communication passage, can be molded easily, and the molding tool can be designed and manufactured easily. As a result, the manufacturing cost can be reduced.
- the invention is not limited thereto, and various shapes and sizes of the filter 7 can be used in the cartridge 1 if the filter 7 has a block shape.
- the used cartridges 1 are recovered for every type or color in 'the recovering process', and then the recovered cartridges 1 are sorted in 'the sorting process'.
- the IC checker that reads the recycling information stored in the IC chip 49 reads the recycling information stored in the IC chip 49 of the cartridge 1.
- the recycling information includes the manufacturing date of the cartridge, and whether the ink is extracted or not is determined by determining whether the predetermined period elapses or not from the read manufacturing date. For example, whether one and a half year elapse or not from the manufacturing date of the cartridge is determined, and if one and a half year do not elapse, ink for refilling is injected additionally in a state that the ink remains in the cartridge 1 with no 'ink extracting process'. On the other hand, if one and a half year elapse, like the example, 'the ink extracting process' is performed, and thus ink for refilling is injected after the remaining ink is extracted from the cartridge 1.
- the recycling information As the recycling information, the number of recycling or the like is written. In this case, the recycling information is written in 'the IC data writing process'.
- the appearance of the sorted cartridge 1 is inspected.
- poor cartridges 1 such as a cartridge remarkably polluted by the ink due to ink leakage or the like, a cartridge having severe appearance damage such as a cartridge having no grasping arm, a cartridge having no IC chip or the like are sorted with naked eyes and removed from the recovered cartridges 1.
- the cover label peeling process' among the over-sheet 59, the extending region 59B that covers the ink injection opening 20 and the air discharge opening 21 is peeled off from the lower surface of the container body 2. Since the cover label peeling process' is performed prior to 'the ink extracting process', the extending region 59B of the over-sheet 59 is peeled off, while the film F is kept attached to the lower surface of the container body 2 to maintain the sealing state of the ink injection opening 20 and the air discharge opening 21. In addition, 'the cover label peeling process' may be performed after 'the ink extracting process' is performed.
- the extending region 59B is cut from the over-sheet 59 by scissors, cutter knife or the like, and then peeled off from the lower surface of the container body 2.
- a supplying opening film (not shown) that seals the ink supply opening 4 of the cartridge 1 is peeled off by tweezers or the like.
- an extracting and sucking process in which the ink remaining in the used cartridge 1 is sucked and extracted, and a remaining amount checking process, in which it is checked whether the amount of the ink remaining in the cartridge 1 after the remaining ink is extracted in the extracting and sucking process occupies a predetermined ratio or less of the total amount of the ink to be refilled in a new cartridge, are performed.
- Fig. 14 shows a liquid extracting device in a liquid refilling device that refills ink to the used cartridge 1.
- the device includes a liquid extracting unit, described below, that extracts the ink remaining in the cartridge 1; a measuring device 89, which is a measuring unit that measures whether the amount of the ink remaining in the cartridge 1 after the remaining ink is extracted occupies a predetermined ratio or less of the total amount of the ink; and a liquid injecting unit, described below.
- the liquid extracting unit includes an ink trap 81 that recovers the cartridge 1 to be refilled after extracting the ink remaining in the cartridge 1; a suction pump 83 that reduces the pressure in the ink trap 81 through a trap pressure-reducing pipe 85, described below; the trap pressure-reducing pipe 85 for reducing the pressure of the ink trap 81 by the suction of the suction pump 83; and an ink suction pipe 87 for sucking the remaining ink from the cartridge 1.
- An ink receiver 81a that receives the remaining ink sucked into the ink trap 81 is provided in the ink trap 81.
- An extracting jig for extracting the remaining ink in the cartridge 1 from the ink supply opening 4 is provided at an end of the ink suction pipe 87. Furthermore, the end (extracting jig) is connected with the ink supply opening 4, and the other end is disposed in the ink receiver 81a of the ink trap 81.
- the extracting jig has the same structure as that of a mounting portion, to which the cartridge is mounted, in the liquid jet apparatus and includes the operating rod 70 for opening the ink supplying needle 72 inserted into the ink supply opening 4 or the atmosphere-communicating recessed portion 38 to the atmosphere.
- the extracting jig is disposed above the ink trap 81 and supports the cartridge 1 while facing the ink supply opening 4 downward. AS a result, the remaining ink drops into the ink trap 81 through the ink suction pipe 87 when extracted from the extracting jig.
- An end of the trap pressure-reducing pipe 85 is connected with the suction pump 83, and the other end is disposed in an upper portion within the ink trap 81.
- the liquid refilling device drives the suction pump 83 and reduces the pressure of the ink trap 81 to a predetermined negative pressure (for example, about 100 Torr or 13.3 kPa) through the trap pressure-reducing pipe 85.
- a predetermined negative pressure for example, about 100 Torr or 13.3 kPa
- the remaining ink is extracted from the cartridge 1 through the ink supply opening 4, and the extracted remaining ink is received by the ink receiver 81a of the ink trap 81.
- the ink remaining in the used cartridge 1 is extracted from the ink supply opening 4 like the above.
- the ink remaining in the used cartridge 1 is extracted from the ink supply opening 4
- ink is injected after the remaining ink is extracted. Therefore, the effect of inferior remaining ink can be reduced.
- the ink remaining in the cartridge 1 is extracted from the ink supply opening 4
- the ink flowing direction during extraction is identical to the ink flowing direction when the cartridge is used, so that the ink can be extracted smoothly with no difficulty.
- the extracting jig having the same configuration as that of the liquid jet apparatus is used, common parts can be used, and thereby the cost of the device can be reduced. Still furthermore, the remaining ink can be extracted as smoothly as when the cartridge is used.
- the amount of ink to remain in the cartridge 1 is about 2.5 volume% (0.5 g in an example ) of the total amount of the ink to be refilled.
- the fluidity of the ink to a portion, into which ink is hard to flow (for example, narrow ink flow passage) or a portion, at which the ink is leaked improves, and thereby the filling characteristic of the ink improves, and air bubbles rarely remain.
- a great amount of ink remains if the surface area of the cartridge 1 is large, and a small amount of ink remains if the surface area of the cartridge 1 is small, whereby the above function works effectively.
- the remaining amount checking process it is checked whether the amount of the ink remaining in the cartridge 1 after the ink is extracted occupies the predetermined ratio of the total amount of the ink to be refilled into the new cartridge.
- the predetermined ratio is 6 volume% in the remaining amount checking process. That is, it is checked whether the amount of the ink remaining in the cartridge 1 occupies 6 volume% or less of the total amount of the ink to be refilled into the new cartridge.
- the predetermined ratio in the remaining amount checking process is 6 volume%, it is possible to ensure the quality of the liquid until the influence of the inferior liquid remaining in the cartridge can be ignored, and the used cartridge can be refreshed by replacing the liquid in the used cartridge with refilling liquid reliably .
- the yield of the liquid to be refilled canbe ensuredwhile the remaining liquid is discharged sufficiently, and thereby both of the quality and yield of the liquid in the recycled cartridge can be ensured.
- the ink extracting process' is completed by leaving 0.5 to 1 g of ink in the cartridge 1, and then next process begins.
- a film removing unit for example, scissors or cutter knife
- a hole is formed in the film F of the air discharge opening 21.
- the part of the film F of the air discharge opening 21 is removed by cutting out the part of the film F and forming a through-hole in the film F of the air discharge opening 21. Furthermore, in 'the ink injecting process', ink is injected into the cartridge 1 from the air discharge opening 21. Since the air discharge opening 21 can be communicated without causing damage to the cartridge 1 or the like by forming a through-hole in the film F of the air discharge opening 21 as such, and thus the rewelding surface is rarely damaged, an injection hole film 90 (described later) can be rewelded to a surface with no damage, thereby achieving reliable rewelding. Furthermore, liquid can be injected efficiently in a short time while no air bubbles enter the cartridge 1.
- the removal of the film F to open the air discharge opening 21 in the present embodiment is realized in such a manner that the part of the film F is cut out along the edge of the air discharge opening 21 to form the through-hole in the film F
- the removal of the film F to open the air discharge opening 21 can be realized in various ways. For example, as shown by a two-dotted chain line in Fig. 15 , the film F is cut out along the two-dotted chain line so that the left half of the film F is removed to open the air discharge opening 21., while the remaining right half of the film F keeps the sealing state of the ink injection opening 20.
- the entire film F may be removed to open both the air discharge opening 21 and the ink injection opening 20.
- a vacuum pulling process in which the pressure of the cartridge 1, from which the ink is extracted in the 'ink extracting process', is reduced to a predetermined vacuum degree (37 Pa in the example) or less; an injecting process, in which ink is injected into the cartridge 1; an ink replenishing process, in which ink is replenished into the temporary reservoir tank 93, described below; an ink suction process, in which a predetermined amount of ink is sucked from the cartridge 1 through the ink supply opening 4 after ink is injected in the injecting process; and a finishing process, in which 'the ink injecting process' is finished, are performed in sequence.
- the liquid injecting unit includes the temporary reservoir tank 93 having a communication pipe 91 that communicates with the atmosphere connected with the upper portion thereof and reserving the ink to be refilled into the cartridge 1 above the cartridge 1 checked to contain the amount of the remaining ink measured by the measuring device 89 equal to or less than the predetermined ratio (6 volume%); a supply pipe 95 connected with the ink tank accommodating the ink in order to supply the ink to the temporary reservoir tank 93; the injection pipe 97 for injecting the ink in the temporary reservoir tank 93 into the cartridge 1 from the air discharge opening 21; the ink trap 99 that extracts and accommodates the ink in the cartridge 1; the suction pump 101 that reduces the pressure of the ink trap 99 through the trappressure-reducingpipe 103, described below; the trap pressure-reducing pipe 103 for reducing the pressure of the ink trap 99 by the suction of the suction pump 101; and an ink suction pipe 105 for sucking the ink
- the liquid injecting unit injects ink into the cartridge checked to contain the amount of remaining ink measured by the measuring device 89 equal to or less than the predetermined ratio (6 volume%) by the above configuration.
- a communication pipe opening and closing valve 91a that opens and closes the communication pipe 91 and controls the ventilation of the air to the temporary reservoir tank 93 is provided in the communication pipe 91.
- a supply pipe opening and closing valve 95a that opens and closes the supply pipe 95 and controls the supplying of the ink to the temporary reservoir tank 93 is provided in the supplypipe 95.
- an injection pipe opening and closing valve 97a that opens and closes the injection pipe 97 and controls the injection of the ink into the cartridge 1 is provided in the injection pipe 97.
- the ink receiver 99a that receives the remaining ink sucked into the ink trap 99 is provided in the ink trap 99.
- a suction jig for sucking the ink in the cartridge from the ink supply opening 4 is provided at an end of the ink suction pipe 105.
- the end, at which the suction jig is provided, is connected with the ink supply opening 4, and the other end is disposed in the ink receiver 99a of the ink trap 99.
- the suction jig supports the cartridge 1 with the ink supply opening 4 facing upward on the suction jig. That is, the cartridge 1 is disposed lower than the suction jig with the ink supply opening 4 facing upward.
- An end of the trap pressure-reducing pipe 103 is connected with the suction pump 101, and the other end is disposed in the upper portion of the ink trap 99.
- a liquid holding portion 107 having a volume corresponding to the amount of liquid sucked from the ink supply opening 4 in the ink suction process, described below, (about 4 cc) is provided in the ink suction pipe 105.
- an upstream suction pipe opening and closing valve 105a that opens and closes the ink suction pipe 105 between the cartridge 1 and the liquid holding portion 107 and controls the suction of the ink into the liquid holding portion 107 is provided upstream of the liquid holding portion 107 in the ink suction pipe 105.
- a downstream suction pipe opening and closing valve 105b that opens and closes the ink suction pipe 105 between the ink trap 99 and the liquid holding portion 107 and controls the suction of the ink into the ink trap 99 is provided downstream of the liquid holding portion 107 in the ink suction pipe 105.
- the ink trap 99, the suction pump 101, the ink suction pipe 105, the upstream suction pipe opening and closing valve 105a, the downstream suction pipe opening and closing valve 105b, the liquid holding portion 107 and the like act as the suction unit that sucks a predetermined amount of ink from the cartridge 1 through the ink supply opening 4.
- the suction pump 101 is activated, and the upstream suction pipe opening and closing valve 105a and the downstream suction pipe opening and closing valve 105b are closed.
- the communication pipe opening and closing valve 91a, the supply pipe opening and closing valve 95a, and the injection pipe opening and closing valve 97a are closed, and the pressure in the cartridge 1 is reduced so as to be in a range of about 600 Pa (about 5 torr) to about 3800 Pa (about 28 torr).
- the vacuum degree in the cartridge 1 can be set preferably in a range of 5 to 28 torr, more preferably in a range of 10 (about 1300 Pa) to 28 torr by controlling the suction of the suction unit by, for example, a suction control unit or the like that controls the suction unit.
- the activation of the suction pump 101 is stopped, the communication pipe opening and closing valve 91a and the injection pipe opening and closing valve 97a are opened, and the upstream suction pipe opening and closing valve 105a, the supply pipe opening and closing valve 95a, and the downstream suction pipe opening and closing valve 105b are closed.
- the ink in the temporary reservoir tank 93 is injected from the air discharge opening 21 into the cartridge 1, the pressure of which is reduced in advance to a range of about 600 to 3800 Pa, and which is checked to contain the amount of the remaining ink equal to or less than 6 volume% (1 g) in the remaining amount checking process.
- the ink is injected into the cartridge 1 in a state where the pressure of the cartridge 1, from which the ink is extracted in 'the ink extracting process', is reduced in advance to a range of 600 to 3800 Pa.
- the ink since the ink is injected in a state where the air in the cartridge 1 is sufficiently removed, the ink can be refilled smoothly while no air bubbles enter the cartridge 1.
- a cartridge in which a pressure control valve is built like the cartridge of an embodiment, is effective since the resistance of the air passing through the pressure control valve exerts a bad influence on a filling property or leaves air bubbles when air bubbles exist in the cartridge 1.
- the pressure in the cartridge is not reduced excessively, it can be prevented that a small amount of ink remaining in the cartridge 1 is evaporated and solidified, or severe bubbling exerts a bad influence upon a filling property.
- the ink remaining in the cartridge 1 after the ink is extracted occupies the predetermined ratio of the total amount of the ink to be refilled into the cartridge, and the ink is injected only into the cartridge checked to contain the amount of the remaining ink equal to or less than the predetermined ratio, it is possible to control the amount of the ink remaining in the cartridge 1 in order that the effect of the remaining ink to the ink to be filled into the cartridge 1 (for example, inferior ink suffering from the reduction of the degassed rate, the viscosity increase due to drying or the like) can be almost ignored, and thereby the quality of the ink in the used cartridge 1 can be ensured. Still furthermore, the yield of the ink to be replenished can be ensured while the remaining ink is discharged sufficiently, and both of the quality and yield of the ink in the recycled cartridge can be ensured.
- the liquid refilling device extracts the remaining ink in the used cartridge 1 by the liquid extracting unit.
- the measuring device 89 measures whether the amount of the ink remaining in the cartridge 1 after the remaining ink is extracted occupies the predetermined ratio or less, and the liquid injecting unit injects refilling ink into the cartridge containing the amount of the remaining ink equal to or less than the predetermined ratio of the total amount of the liquid filled into the new cartridge, and thereby the running cost or recycling cost of the device can be decreased.
- ink is injected into the cartridge 1, from which the ink is extracted in the ink extracting process, from the air discharge opening 21, which is the second opening, not from the ink supply opening 4, the ink can be injected in a short time while no air bubbles enter.
- the air discharge opening 21 is an opening that communicates with the upstream ink reservoir chamber (the first ink chamber 11) by the differential pressure valve (pressure control valve) composed of the membrane valve 52, the spring 50 or the like, the ink is injected in the same direction as the ink flowing direction when the cartridge is used, and thereby the ink can be injected smoothly while air bubbles seldom tangle or remain.
- the differential pressure valve pressure control valve
- the communication pipe opening and closing valve 91a and the supply pipe opening and closing valve 95a are opened, and the upstream suction pipe opening and closing valve 105a, the injection pipe opening and closing valve 97a and the downstream suction pipe opening and closing valve 105b are closed, and thereby ink in the ink tank is supplied to the temporary reservoir tank 93.
- the suction pump 101 is activated, and the downstream suction pipe opening and closing valve 105b is opened.
- the other opening and closing valves are closed, and the predetermined negative pressure (about 100 Torr, that is, about 133000 Pa) retains in the liquid holding portion 107.
- the downstream suction pipe opening and closing valve 105b is closed, and the upstream suction pipe opening and closing valve 105a is opened, and thereby the ink is sucked from the cartridge 2 as much as the volume of the liquid holding portion 107 (about 1.12 g: 1 to 4 cc).
- the negative pressure applied to the vicinity of the ink supply opening 4 is increased abruptly from a state where the predetermined negative pressure is accumulated in the liquid holding portion 107 by opening the upstream suction pipe opening and closing valve 105a provided upstream of the liquid holding portion 107. Therefore, even the ink containing air bubbles filled in the cartridge 1 is sucked strongly, and the ink containing no air bubbles is filled into the ink supply opening 4 or the like, and thereby liquid can be reliably jetted from the liquid jet apparatus.
- strong negative pressure can be applied to the vicinity of the ink supply opening 4 with no particular increase in the sucking force, air bubbles or liquid can be sucked reliably by simple equipment.
- the ink can be sucked from the ink supply opening 4 as much as the volume of the liquid holding portion 107 by sucking and holding the ink in the liquid holding portion 107 having the volume corresponding to the amount of the liquid sucked from the ink supply opening 4 in 'the ink suction process', a constant volume of ink can be sucked at all times, and the loss of ink due to excessive suction or the air bubble remaining due to the suction shortage can be prevented reliably.
- the ink injection opening 20 is sealed by a film such that the film is welded to a surface of the ink cartridge other than the originally welded surface, and thereafter the 'ink injection process' is carried out.
- a heater 113 the rewelding unit, rewelds the injection hole film 90 to a surface (flat surface) other than the originally welded surface (flat surface) in order to cover the through-hole formed in the film F and seal again the air discharge opening 21, through which ink has been injected in the ink injecting process.
- a heater 113 the rewelding unit, rewelds the injection hole film 90 to a surface (flat surface) other than the originally welded surface (flat surface) in order to cover the through-hole formed in the film F and seal again the air discharge opening 21, through which ink has been injected in the ink injecting process.
- an inclined surface 111 that inclines downward to the cartridge 1 from the opening is formed at the air discharge opening 21 of the cartridge 1.
- the rewelded surface is formed by the heater 113 at a portion deeper than the originally welded surface around the air discharge opening 21.
- the injection hole film 90 is welded to the inclined surface 111 as the rewelded surface. Then, since the film is rewelded to the inclined surface 111 that inclines downward to the cartridge 1 from the opening edge, the film can be welded easily with a welding jig (heater 113) along the slope, and thereby the air discharge opening 21 can be sealedmore reliably.
- the air discharge opening 21 can be sealed tightly along the shape of the rewelded surface, and thereby the cartridge appears neat and the ink leakage can be prevented more reliably.
- the refilling cartridge users can reuse the refilling cartridge having a welding quality that ensures a welding strength including no liquid leakage with no change in the shape of the cartridge.
- a new film is used as the injection hole film 90, the reliability against the lifespan deterioration can be ensured.
- the film is rewelded to the portion other than the originally welded surface, the welding reliability increases, and the user satisfaction improves.
- the supplying opening film is rewelded in order to seal the ink supply opening 4 again by the heater.
- the film can be rewelded to a portion other than the originally welded surface or to the inclined surface of the ink supply opening 4.
- the weight of the cartridge 1 is inspected, and it is checked whether the refilled cartridge 1 has the same weight as that of the new cartridge. Specifically, since the weight of the new cartridge is about 20.5 g, if the measured weight of the refilled cartridge 1 is in a range of 20.5 ⁇ 1 g, the next process begins.
- an information writing unit that writes information, such as the recycling information, of the IC chip 49 writes the recycling information in the IC chip 49 of the cartridge 1.
- the recycling information includes the number of recycling (recycling number) of the cartridge 1 or the like, and in the 'IC data writing process', the recycling number is increased by 'one'.
- the recycling number can be managed. In addition, since the parts deteriorate, it is possible to prevent that the cartridge is recycled repeatedly and damaged cartridges are on sale.
- the amount of remaining ink is stored in the IC chip, and the amount of remaining ink is read from the IC chip 49 in the 'ink extracting process', and then the amount of ink corresponding to the read amount of the remaining ink can be extracted from the used cartridge 1.
- the amount of the remaining ink suitable for refilling can be extracted, and the ink in the used cartridge 1 can be replaced with the refilling ink more effectively.
- the measured amount of the remaining ink after ink extraction is stored in the IC chip in the 'ink extracting process', and then the amount of the remaining ink stored in the IC chip 49 can be read and whether the ink is to be injected is determined or the amount of ink corresponding to the amount of the remaining ink can be re-injected in the 'ink injecting process'.
- the amount of ink suitable for refilling can be injected.
- the IC checker reads the information of the IC chip 49 of the cartridge 1 in order to check whether the information is written reliably in the 'IC data writing process'.
- the lot number is imprinted on the cartridge 1. Meanwhile, the imprint can be formed by thermal imprinting or stamp.
- the ink leakage from the cartridge 1 is inspected.
- the cartridge 1 is put in a box, the pressure in which is reduced to a predetermined negative pressure, and then it is checked whether the ink is leaked from the cartridge in the reduced pressure. In addition, if the container body 2 or the like is cracked or the ink is leaked from the cartridge, the cartridge is evaluated NG and removed.
- the cartridge 1 is reduced in pressure and packed in order not to let the ink in the cartridge 1 touch the air. As described above, since the cartridge 1 is reduced in pressure and packed, and the ink is blocked from the air, the degassed rate of the ink in the cartridge can be maintained sufficiently.
- the pressure-reduced and packed cartridge 1 is left for 12 hours, and then it is checked whether the ink is leaked from the cartridge 1 or the air enters the pressure-reduced and packed cartridge 1.
- the cartridge 1 in the method of liquid refilling, the cartridge 1 can be reused by injecting ink into the used cartridge 1, and the decrease in environmental load accompanied by the reduction of waste and the cost down owing to the reusing of parts can be achieved, and thereby users can be provided with cartridge at a low price.
- the cartridge since it is not required to apply external pressure to the cartridge 1, the cartridge is rarely damaged, and the cartridge can be recycled more times.
- the used cartridge can be recycled effectively with a simple process, a user can be provided with a high-quality used cartridge at a low recycling cost.
- FIG. 19(a) is a schematic perspective view showing a state in which the air discharge opening 21 is opened by removing a part of the film F.
- Fig. 19 (b) is a schematic perspective view showing a state in which the air discharge opening 21 is sealed after injection of ink.
- Fig. 20 is a cross-sectional view showing a state in which the air discharge opening 21 is sealed.
- a sealing plug 120 made of elastic material such as resin is used to seal the air discharge opening 21. That is, in the present modification, the sealing plug 120 is used as the sealing member.
- the sealing plug 120 includes a flange portion 120a having a circular shape as viewed from above, and a sealing portion 120b protruded from one surface 120d of the flange portion 120a at a center thereof.
- the sealing portion 120b is formed integral with the flange portion 120a, and has an outer circumferential surface 120c matching in shape with a tapered shape of the inclined surface 111.
- the sealing portion 120b of the sealing plug 120 is inserted into the air discharge opening 21 so that the outer circumferential surface 120b is closely contacted with the inclined surface 111 of the air discharge opening 21 due to the elasticity of the sealing portion 120b.
- the sealing plug 120 is fixed in this state.
- the one surface 120d of the flange portion 120a is pressed against and closely contacted with the film F so as to establish the sealing between the film F and the flange portion 120a.
- the air discharge opening 21 is sealed in this fashion.
- the sealing is realized at the inclined surface 111 recessed from the circumstances. This inclined surface, before the ink injection, is covered and protected by the injection hole film F and therefore is rarely damaged.
- the sealing portion 120b of the sealing plug 120 can be closely contacted with a surface with no damage to achieve the reliable sealing after the ink injection.
- the sealing plug 120 having a predetermined shape is used as the sealing member.
- a (glue-like) resin such as an elastic member having non-fixed shape
- This resin may, for example, have a tacky property matching with the material of the container body of the ink cartridge 1.
- the resin is pressed against the inclined surface 111, which is protected and clean surface, and therefore the reliable sealing can be realized./
- the air discharge opening 21 is used to refill ink into the ink cartridge.
- the present invention may be embodied such that the ink injection opening 20, instead of the air discharge opening 21, is used to refill ink into the ink cartridge, or both of the air discharge opening 21 and the ink injection opening 20 are used to refill ink into the ink cartridge.
- ink for refilling may be ink of the same color, or may be ink of the same color group or ink of similar color.
- the ink of the same group means ink having colorant or color material of the same group, which has substantially the same chromatic characteristic as that of ink filled originally and consumed (for example, red ink and light red ink, etc.)
- the ink of similar color means ink having colorant or color material which has similar chromatic characteristic as that of ink filled originally and consumed (for example, red ink and orange ink, etc.)
- the liquid for refilling may be ink which is completely different in color from the ink filled originally and consumed.
- the present invention is also applicable to a case in which liquid is filled into a new cartridge.
- the liquid jet apparatus can jet not only ink but also glue, manicure, conductive liquid (liquid metal) or the like.
- the invention can be applied to a recording head used for an image recording device, such as a printer; a pigment jet head used in the manufacturing of a color filter, such as liquid crystal display or the like; an electrode forming material jet head used in the electrode forming such as organic EL display, FED (surface light-emitting display) or the like; a liquid jet apparatus that eject liquid such as a bio-organic jet head used in the manufacturing of a bio chip or the like.
Landscapes
- Ink Jet (AREA)
- Basic Packing Technique (AREA)
Claims (19)
- Tintenpatrone (1), umfassend:einen Behälterkörper (2),eine Tintenkammer (11, 16), die in dem Behälterkörper (2) ausgebildet ist,eine Tintenversorgungsöffnung (4), die in dem Behälterkörper (2) ausgeformt ist und ausgebildet ist, um eine Tintenversorgungsnadel eines Druckers zur Verbindung zwischen der Tintenkammer (11, 16) und einem Druckkopf aufzunehmen,eine Tinteneinführöffnung (20), die in dem Behälterkörper (2) ausgebildet ist und mit der Tintenkammer (11, 16) in Verbindung steht, undein Versiegelungselement (90),gekennzeichnet durchein an dem Behälterkörper (2) befestigtes Folienelement (F) und ein Durchgangsloch (21), das auf die Tinteneinführöffnung (20) zeigt, unddas Versiegelungselement (90), das an dem Behälterkörper (2) über dem Folienelement (F) so befestigt ist, dass ein Teil des Versiegelungselementes (90) durch das Durchgangsloch (21) verläuft und eng eine innere Oberfläche der Tinteneinführöffnung (20) berührt,wobei die innere Oberfläche zwischen dem Folienelement (F) und der Tintenkammer (11, 16) angeordnet ist.
- Tintenpatrone nach Anspruch 1, ferner aufweisend:einen Differenzdruckventilmechanismus (52, 50), der an einem Teil der Fluidpassage angeordnet ist, der die Tintenkammer (11, 16) mit der Tintenversorgungsöffnung (4), die die Fluidpassage normalerweise blockiert und die die Fluidpassage gemäß einem Unterschied an Tintendruck zwischen der Tintenversorgungsöffnung (4) und der Tintenkammer (11, 16), der durch den Verbrauch an Tinte durch den Druckkopf erzeugt wird, öffnet, verbindet.
- Tintenpatrone nach Anspruch 1 oder 2, bei der der Teil des Versiegelungselementes (90) an die innere Oberfläche der Tinteneinführöffnung (20) geschweißt ist.
- Tintenpatrone nach einem der Ansprüche 1 bis 3, bei der die innere Oberfläche an einem ausgenommenen Abschnitt um die Tinteneinführöffnung (20) ausgebildet ist.
- Tintenpatrone nach einem der Ansprüche 1 bis 4, bei der eine geneigte Oberfläche, die von einem Rand der Tintenversorgungsöffnung (20) nach unten in Richtung des Inneren der Patrone (1) geneigt ist, an der Tinteneinführöffnung (20) der Patrone ausgebildet ist.
- Tintenpatrone nach einem der Ansprüche 1 bis 5, bei der das Versiegelungselement (90) eine Folie ist.
- Tintenpatrone nach einem der Ansprüche 1 bis 5, bei der das Versiegelungselement ein Versiegelungspropfen oder ein elastisches Element ist, das keine feste Form aufweist.
- Tintenpatrone nach einem der Ansprüche 1 bis 7, bei der die Tintenpatrone eine wiederbefüllbare Patrone ist
- Tintennachfüllverfahren für eine Tintenpatrone mit
einem Behälterkörper (2),
einer Tintenkammer (11, 16), die in dem Behälterkörper (2) ausgebildet ist,
einer Tintenversorgungsöffnung (4), die in dem Behälterkörper (2) ausgeformt ist und ausgebildet ist, um eine Tintenversorgungsnadel eines Druckers zur Verbindung zwischen der Tintenkammer (11, 16) und einem Druckkopf aufzunehmen,
einer Tinteneinführöffnung (20), die in dem Behälterkörper (2) ausgebildet ist und mit der Tintenkammer (11, 16) in Verbindung steht, und
einem Folienelement (F), das an dem Behälterkörper (2) befestigt ist, um die Tinteneinführöffnung (20) zu versiegeln,
wobei das Verfahren die Schritte umfasst:Ausbilden eines Durchgangslochs durch das Folienelement (F), um die Tinteneinführöffnung (20) zu entsiegeln,Einführen von Tinte in die Tintenkammer (11, 16) durch das Durchgangsloch in die Tinteneinführöffnung (20), undgekennzeichnet durch den Schritt desVersiegelns der Tinteneinführöffnung durch Befestigen eines Versiegelungselementes (90) an dem Behälterkörper (2) über dem Folienelement (F), so dass ein Teil des Versiegelungselementes (90) durch das Durchgangsloch verläuft und eng eine innere Oberfläche der Tinteneinführöffnung (20) berührt,wobei die innere Oberfläche zwischen dem Folienelement (F) und der Tintenkammer (11, 16) angeordnet ist. - Tintennachfüllverfahren nach Anspruch 9, bei dem die Tintenpatrone einen Differenzdruckventilmechanismus (52, 50), der an einem Teil der Fluidpassage angeordnet ist, der die Tintenkammer (11, 16) mit der Tintenversorgungsöffnung (4), die die Fluidpassage normalerweise blockiert und die die Fluidpassage gemäß einem Unterschied an Tintendruck zwischen der Tintenversorgungsöffnung (4) und der Tintenkammer (11, 16), der durch den Verbrauch an Tinte durch den Druckkopf erzeugt wird, öffnet, verbindet,
wobei der Schritt des Einführens der Tinte einen Schritt des Einführens der Tinte in die Tintenkammer (11, 16) durch das Durchgangsloch und die Tinteneinführöffnung (20) umfasst, während ein Unterdruck an die Tintenvorsorgungsöffnung (4) so angelegt wird, dass der Differenzdruckventilmechanismus (50, 52) die Fluidpassage öffnet. - Tintennachfüllverfahren nach Anspruch 9 oder 10, bei dem der Teil des Versiegelungselementes (90) thermisch an die innere Oberfläche der Tinteneinführöffnung (20) geschweißt ist.
- Tintennachfüllverfahren nach Anspruch 10 oder 11, bei dem der Schritt des Ausbildens eines Durchgangslochs einen Folienentfernungsschritt des Entfernens der Folie (F), die an eine ursprünglich geschweißte Oberfläche um die Tinteneinführöffnung (20) geschweißt ist, umfasst.
- Tintennachfüllverfahren nach einem der Ansprüche 9 bis 12, bei dem die innere Oberfläche an einem ausgenommenen Abschnitt um die Öffnung (20) ausgebildet ist.
- Tintennachfüllverfahren nach einem der Ansprüche 9 bis 13, bei dem das Versiegelungselement (90) eine Folie ist.
- Tintennachfüllverfahren nach einem der Ansprüche 9 bis 13, bei dem das Versiegelungselement (90) ein Versiegelungspropfen oder ein elastisches Element ist, das keine feste Form aufweist.
- Tintennachfüllverfahren nach einem der Ansprüche 9 bis 15, bei dem eine geneigte Oberfläche, die von einem Rand der Tintenversorgungsöffnung (20) nach unten in Richtung des Inneren der Patrone geneigt ist, an der Tinteneinführöffnung (20) der Patrone ausgebildet ist, und in dem Versiegelungsschritt das Versieglungselement (90) erneut an die geneigte Oberfläche geschweißt wird.
- Tintennachfüllverfahren nach einem der Ansprüche 9 bis 16, bei dem die in der Patrone verbleibende Flüssigkeit durch die Tintenversorgungsöffnung (4) vor dem Tinteneinführschritt entfernt wird.
- Tintennachfüllverfahren nach einem der Ansprüche 9 bis 17, ferner aufweisend vor dem Tinteneinführschritt einen Schritt des Abziehens einer Versiegelungsfolie, die an der Tintenversorgungsöffnung (4) befestigt ist.
- Tintennachfüllverfahren nach einem der Ansprüche 9 bis 18, ferner aufweisend nach dem Tinteneinführschritt einen Schritt des Schweißens eines Versieglungselementes an die Tintenversorgungsöffnung (4).
Priority Applications (1)
| Application Number | Priority Date | Filing Date | Title |
|---|---|---|---|
| EP07011118A EP1847395B1 (de) | 2004-11-29 | 2005-11-29 | Verfahren zum Befüllen einer Kartusche mit Flüssigkeit, Füllvorrichtung und Kartusche |
Applications Claiming Priority (3)
| Application Number | Priority Date | Filing Date | Title |
|---|---|---|---|
| JP2004343429 | 2004-11-29 | ||
| JP2004343428 | 2004-11-29 | ||
| JP2004343427 | 2004-11-29 |
Related Child Applications (2)
| Application Number | Title | Priority Date | Filing Date |
|---|---|---|---|
| EP07011118A Division EP1847395B1 (de) | 2004-11-29 | 2005-11-29 | Verfahren zum Befüllen einer Kartusche mit Flüssigkeit, Füllvorrichtung und Kartusche |
| EP07011118.2 Division-Into | 2007-06-06 |
Publications (3)
| Publication Number | Publication Date |
|---|---|
| EP1661710A2 EP1661710A2 (de) | 2006-05-31 |
| EP1661710A3 EP1661710A3 (de) | 2006-11-29 |
| EP1661710B1 true EP1661710B1 (de) | 2010-03-31 |
Family
ID=35985855
Family Applications (2)
| Application Number | Title | Priority Date | Filing Date |
|---|---|---|---|
| EP05025966A Expired - Lifetime EP1661710B1 (de) | 2004-11-29 | 2005-11-29 | Verfahren zum Befüllen einer Kartusche mit Flüssigkeit, Füllvorrichtung und Kartusche |
| EP07011118A Expired - Lifetime EP1847395B1 (de) | 2004-11-29 | 2005-11-29 | Verfahren zum Befüllen einer Kartusche mit Flüssigkeit, Füllvorrichtung und Kartusche |
Family Applications After (1)
| Application Number | Title | Priority Date | Filing Date |
|---|---|---|---|
| EP07011118A Expired - Lifetime EP1847395B1 (de) | 2004-11-29 | 2005-11-29 | Verfahren zum Befüllen einer Kartusche mit Flüssigkeit, Füllvorrichtung und Kartusche |
Country Status (13)
| Country | Link |
|---|---|
| US (2) | US7658480B2 (de) |
| EP (2) | EP1661710B1 (de) |
| KR (1) | KR101263946B1 (de) |
| CN (1) | CN1781719B (de) |
| AR (1) | AR051513A1 (de) |
| AT (2) | ATE462572T1 (de) |
| BR (1) | BRPI0506191A (de) |
| DE (2) | DE602005022117D1 (de) |
| ES (2) | ES2346249T3 (de) |
| MY (1) | MY145352A (de) |
| RU (1) | RU2517758C2 (de) |
| SG (1) | SG122941A1 (de) |
| TW (1) | TWI346617B (de) |
Families Citing this family (34)
| Publication number | Priority date | Publication date | Assignee | Title |
|---|---|---|---|---|
| BRPI0506191A (pt) * | 2004-11-29 | 2006-07-25 | Seiko Epson Corp | processo de reenchimento de cartucho, dispositivo de reenchimento de lìquido e cartucho de reenchimento |
| JP4600087B2 (ja) * | 2005-03-01 | 2010-12-15 | ブラザー工業株式会社 | 現像カートリッジのリフィル方法 |
| CN101410253B (zh) * | 2006-03-24 | 2011-04-06 | 精工爱普生株式会社 | 液体容纳容器 |
| US7883188B2 (en) * | 2006-06-09 | 2011-02-08 | David Scanlan | Inkjet cartridge refilling system |
| KR100936840B1 (ko) | 2006-08-11 | 2010-01-14 | 세이코 엡슨 가부시키가이샤 | 액체 주입 방법, 액체 수용 용기 및 액체 수용 용기의 제조 방법 |
| ATE540817T1 (de) * | 2006-08-11 | 2012-01-15 | Seiko Epson Corp | Flüssigkeitsfüllverfahren und flüssigkeitsaufnahmebehälter |
| GB2440834B (en) * | 2006-08-11 | 2009-04-15 | Seiko Epson Corp | Liquid injecting method and liquid container |
| EP1955851B1 (de) | 2007-02-07 | 2010-04-07 | Seiko Epson Corporation | Stechschablone zum Durchstechen der Deckelfolie eines Flüssigkeitsbehälters |
| JP5025008B2 (ja) * | 2007-02-14 | 2012-09-12 | 富士フイルム株式会社 | インクジェット記録装置及びインク供給方法 |
| JP2008230214A (ja) * | 2007-02-19 | 2008-10-02 | Seiko Epson Corp | 流体導出部のシール構造体及びシール方法並びに流体収容容器、再充填流体収容容器及びその再充填方法 |
| US8322835B2 (en) * | 2007-02-19 | 2012-12-04 | Seiko Epson Corporation | Sealing structure of fluid container, and method of manufacturing and reusing fluid container |
| JP4910833B2 (ja) * | 2007-03-29 | 2012-04-04 | セイコーエプソン株式会社 | 液体収容容器、液体収容容器の再生方法、液体収容容器におけるシール方法 |
| JP5007601B2 (ja) * | 2007-05-02 | 2012-08-22 | セイコーエプソン株式会社 | 液体収容容器におけるシール方法、液体収容容器の再生方法、液体収容容器 |
| JP2008307853A (ja) * | 2007-06-18 | 2008-12-25 | Canon Inc | インク再充填方法 |
| US8109619B2 (en) * | 2007-09-10 | 2012-02-07 | Seiko Epson Corporation | Method of manufacturing liquid container and liquid container manufactured using the same |
| DE202008009708U1 (de) | 2008-02-15 | 2008-09-18 | Artech Gmbh Design + Production In Plastic | Vorrichtung zur Aufarbeitung von Tintenkartuschen |
| EP2479034A4 (de) | 2010-07-15 | 2015-04-29 | Seiko Epson Corp | Flüssigkeitsbehälter und flüssigkeitsstrahlsystem |
| EP2692530B1 (de) * | 2011-03-31 | 2016-08-17 | Brother Kogyo Kabushiki Kaisha | Herstellungsverfahren für eine recycle-flüssigkeitspatrone und herstellungsverfahren für eine flüssigkeitspatrone |
| EP2666639B1 (de) | 2012-05-23 | 2019-01-02 | Seiko Epson Corporation | Kartusche und Dichtungselement |
| US10647123B2 (en) | 2012-07-23 | 2020-05-12 | Seiko Epson Corporation | Refilled cartridge and method for manufacturing refilled cartridge |
| JP6069964B2 (ja) | 2012-07-23 | 2017-02-01 | セイコーエプソン株式会社 | カートリッジの製造方法、注入キット、及び、注入装置 |
| US9776418B2 (en) * | 2012-07-23 | 2017-10-03 | Seiko Epson Corporation | Method and apparatus for manufacturing cartridge |
| JP6048004B2 (ja) | 2012-07-23 | 2016-12-21 | セイコーエプソン株式会社 | カートリッジ |
| JP6056279B2 (ja) * | 2012-08-31 | 2017-01-11 | セイコーエプソン株式会社 | カートリッジの製造方法、注入キット、および、注入装置 |
| JP6415114B2 (ja) * | 2014-05-30 | 2018-10-31 | キヤノン株式会社 | 液体貯留ユニットとそれを用いた液体吐出装置及び液体貯留ユニットからの気泡の除去方法 |
| JP6355442B2 (ja) | 2014-06-10 | 2018-07-11 | キヤノン株式会社 | 液体収容容器の液体充填方法 |
| US9682567B2 (en) * | 2014-10-21 | 2017-06-20 | Funai Electric Co., Ltd. | Print cartridge and an inkjet printer |
| CN105437777A (zh) * | 2015-12-08 | 2016-03-30 | 北海市天硌打印耗材有限公司 | 打印机墨盒智能注墨装置 |
| JP6772510B2 (ja) * | 2016-03-30 | 2020-10-21 | ブラザー工業株式会社 | インクタンク用キャップ、インクタンク及びインクジェット記録装置 |
| JP6797554B2 (ja) * | 2016-05-06 | 2020-12-09 | キヤノン株式会社 | 通知装置および記録装置 |
| WO2018003473A1 (ja) * | 2016-06-28 | 2018-01-04 | セイコーエプソン株式会社 | 液体容器および液体噴射装置 |
| US11163245B2 (en) | 2018-04-30 | 2021-11-02 | Hewlett-Packard Development Company, L.P. | Embedded memory resources |
| JP7793979B2 (ja) * | 2021-12-27 | 2026-01-06 | セイコーエプソン株式会社 | 液体収容容器、および液体収容容器に液体を収容させる方法 |
| JP2024084977A (ja) * | 2022-12-14 | 2024-06-26 | セイコーエプソン株式会社 | 液体収容容器および液体収容容器を再生する方法 |
Family Cites Families (35)
| Publication number | Priority date | Publication date | Assignee | Title |
|---|---|---|---|---|
| JPS5311886B1 (de) * | 1971-04-15 | 1978-04-25 | ||
| US5488401A (en) * | 1991-01-18 | 1996-01-30 | Seiko Epson Corporation | Ink-jet recording apparatus and ink tank cartridge thereof |
| US5844578A (en) * | 1990-01-30 | 1998-12-01 | Seiko Epson Corporation | Ink-jet recording apparatus and ink tank cartridge thereof |
| US5790158A (en) * | 1992-01-28 | 1998-08-04 | Seiko Epson Corporation | Ink-jet recording apparatus and ink tank cartridge therefor |
| US5477963A (en) * | 1992-01-28 | 1995-12-26 | Seiko Epson Corporation | Ink-jet recording apparatus and ink tank cartridge therefor |
| JP3108788B2 (ja) * | 1992-03-18 | 2000-11-13 | セイコーエプソン株式会社 | インクジェットヘッドの洗浄方法、及びその装置 |
| US5329294A (en) * | 1992-09-24 | 1994-07-12 | Repeat-O-Type Mfg. Co., Inc. | User refillable ink jet cartridge and method for making said cartridge |
| JPH06191055A (ja) * | 1992-12-25 | 1994-07-12 | Canon Inc | インクジェット記録装置のインク再充填装置 |
| US5600358A (en) * | 1993-06-30 | 1997-02-04 | Hewlett-Packard Company | Ink pen having a hydrophobic barrier for controlling ink leakage |
| DE69424724T2 (de) * | 1993-08-31 | 2000-11-23 | Canon K.K., Tokio/Tokyo | Verfahren und Gerät zum Befüllen von Tintenpatronen mit Tinte |
| US5400573A (en) * | 1993-12-14 | 1995-03-28 | Crystal; Richard G. | Kit and method for opening, refilling and sealing a cartridge |
| US5515663A (en) * | 1994-04-06 | 1996-05-14 | Nu-Kote International, Inc. | Method of refilling ink-jet printer cartridges |
| US6238042B1 (en) * | 1994-09-16 | 2001-05-29 | Seiko Epson Corporation | Ink cartridge for ink jet printer and method of charging ink into said cartridge |
| KR0174668B1 (ko) * | 1996-05-22 | 1999-05-15 | 김광호 | 잉크젯 프린터의 헤드 카트리지 장치 |
| JP3666537B2 (ja) | 1996-11-14 | 2005-06-29 | セイコーエプソン株式会社 | インクジェット式記録装置用インクカートリッジの製造方法 |
| JPH11207990A (ja) | 1998-01-30 | 1999-08-03 | Fuji Xerox Co Ltd | インク補充装置およびインク補充方法 |
| US6270207B1 (en) * | 1998-03-30 | 2001-08-07 | Brother Kogyo Kabushiki Kaisha | Ink cartridge and remaining ink volume detection method |
| CN1108238C (zh) * | 1999-03-29 | 2003-05-14 | 精工爱普生株式会社 | 向墨盒填充墨水的方法及设备 |
| ATE344732T1 (de) * | 2000-01-21 | 2006-11-15 | Seiko Epson Corp | Tintenstrahlaufzeichnungsgerät |
| CN1184076C (zh) * | 2000-02-16 | 2005-01-12 | 精工爱普生株式会社 | 喷墨打印机用墨盒 |
| JP3736747B2 (ja) * | 2000-06-15 | 2006-01-18 | セイコーエプソン株式会社 | 液体容器の製造方法 |
| ES2261297T3 (es) * | 2000-06-15 | 2006-11-16 | Seiko Epson Corporation | Metodo de carga de liquido, recipiente de liquido y metodo para fabricar el mismo. |
| US6659599B2 (en) * | 2000-10-06 | 2003-12-09 | Seiko Epson Corporation | Maximum liquid level in dual chamber ink-jet cartridge to control head pressure effect on ink containing porous member in an ink-jet printer |
| JP3658328B2 (ja) * | 2001-02-07 | 2005-06-08 | キヤノン株式会社 | 液体収容容器への液体再充填方法および装置 |
| US6364473B1 (en) * | 2001-04-06 | 2002-04-02 | Win-Yin Liu | Refilling needle for refilling an ink cartridge |
| ES2347642T3 (es) | 2001-05-17 | 2010-11-03 | Seiko Epson Corporation | Cartucho de tinta y metodo de inyeccion de tinta dentro del mismo. |
| CN2602931Y (zh) * | 2001-05-17 | 2004-02-11 | 精工爱普生株式会社 | 墨盒 |
| TWI277533B (en) | 2001-05-17 | 2007-04-01 | Seiko Epson Corp | Ink cartridge and method of ink injection thereinto |
| EP1570317A4 (de) | 2002-09-09 | 2006-03-29 | Wazana Brothers International | Neuzusammengebaute tonerkassette und herstellungsverfahren |
| US6773087B2 (en) * | 2002-10-07 | 2004-08-10 | Wazana Brothers International | Resealed ink cartridge and method of manufacture |
| JP4183076B2 (ja) | 2003-05-15 | 2008-11-19 | ソニー・エリクソン・モバイルコミュニケーションズ株式会社 | 携帯通信システム及び携帯通信端末 |
| JP3875963B2 (ja) | 2003-05-15 | 2007-01-31 | 京セラミタ株式会社 | ネットワークスキャナ及びその画像データ送信処理方法 |
| JP2004343429A (ja) | 2003-05-15 | 2004-12-02 | Nakayo Telecommun Inc | 光誘導部材および該光誘導部材を光誘導手段として用いたボタン電話機 |
| US7104639B2 (en) * | 2004-08-09 | 2006-09-12 | Hermes Edgard J | Apparatus for refilling ink cartridges |
| BRPI0506191A (pt) * | 2004-11-29 | 2006-07-25 | Seiko Epson Corp | processo de reenchimento de cartucho, dispositivo de reenchimento de lìquido e cartucho de reenchimento |
-
2005
- 2005-11-28 BR BRPI0506191-1A patent/BRPI0506191A/pt not_active IP Right Cessation
- 2005-11-28 AR ARP050104955A patent/AR051513A1/es unknown
- 2005-11-29 KR KR1020050115134A patent/KR101263946B1/ko not_active Expired - Fee Related
- 2005-11-29 US US11/288,671 patent/US7658480B2/en not_active Expired - Fee Related
- 2005-11-29 RU RU2009135486/12A patent/RU2517758C2/ru not_active IP Right Cessation
- 2005-11-29 EP EP05025966A patent/EP1661710B1/de not_active Expired - Lifetime
- 2005-11-29 SG SG200507717A patent/SG122941A1/en unknown
- 2005-11-29 EP EP07011118A patent/EP1847395B1/de not_active Expired - Lifetime
- 2005-11-29 TW TW094141935A patent/TWI346617B/zh not_active IP Right Cessation
- 2005-11-29 DE DE602005022117T patent/DE602005022117D1/de not_active Expired - Lifetime
- 2005-11-29 ES ES07011118T patent/ES2346249T3/es not_active Expired - Lifetime
- 2005-11-29 MY MYPI20055569A patent/MY145352A/en unknown
- 2005-11-29 ES ES05025966T patent/ES2341779T3/es not_active Expired - Lifetime
- 2005-11-29 DE DE602005020236T patent/DE602005020236D1/de not_active Expired - Lifetime
- 2005-11-29 AT AT05025966T patent/ATE462572T1/de not_active IP Right Cessation
- 2005-11-29 AT AT07011118T patent/ATE472410T1/de not_active IP Right Cessation
- 2005-11-29 CN CN2005101242973A patent/CN1781719B/zh not_active Expired - Fee Related
-
2009
- 2009-12-14 US US12/637,395 patent/US20100265303A1/en not_active Abandoned
Also Published As
| Publication number | Publication date |
|---|---|
| TW200626376A (en) | 2006-08-01 |
| ES2346249T3 (es) | 2010-10-13 |
| CN1781719B (zh) | 2010-05-05 |
| BRPI0506191A (pt) | 2006-07-25 |
| ATE472410T1 (de) | 2010-07-15 |
| SG122941A1 (en) | 2006-06-29 |
| US20060132555A1 (en) | 2006-06-22 |
| KR101263946B1 (ko) | 2013-05-14 |
| EP1847395A1 (de) | 2007-10-24 |
| ES2341779T3 (es) | 2010-06-28 |
| US20100265303A1 (en) | 2010-10-21 |
| EP1847395B1 (de) | 2010-06-30 |
| CN1781719A (zh) | 2006-06-07 |
| US7658480B2 (en) | 2010-02-09 |
| TWI346617B (en) | 2011-08-11 |
| EP1661710A3 (de) | 2006-11-29 |
| DE602005020236D1 (de) | 2010-05-12 |
| RU2517758C2 (ru) | 2014-05-27 |
| MY145352A (en) | 2012-01-31 |
| EP1661710A2 (de) | 2006-05-31 |
| KR20060059848A (ko) | 2006-06-02 |
| AR051513A1 (es) | 2007-01-17 |
| ATE462572T1 (de) | 2010-04-15 |
| DE602005022117D1 (de) | 2010-08-12 |
| RU2009135486A (ru) | 2011-03-27 |
Similar Documents
| Publication | Publication Date | Title |
|---|---|---|
| EP1661710B1 (de) | Verfahren zum Befüllen einer Kartusche mit Flüssigkeit, Füllvorrichtung und Kartusche | |
| KR100481536B1 (ko) | 잉크 카트리지 및 그 잉크 주입 방법 | |
| KR100481535B1 (ko) | 잉크 카트리지 및 그 잉크 주입 방법 | |
| EP0739740B1 (de) | Tintenzufuhrvorrichtung für einen Tintenstrahldrucker | |
| CA2469450C (en) | Ink cartridge for ink jet recording device | |
| JP4026407B2 (ja) | インクカートリッジおよびこれを用いたインクジェット式記録装置 | |
| JP3166703U (ja) | インクカートリッジ | |
| JPWO1995031335A1 (ja) | インクジェット式記録装置、及び記録ヘッドのクリーニング方法 | |
| JP4892942B2 (ja) | カートリッジの液体再充填方法、液体再充填装置および再充填カートリッジ | |
| JP5086977B2 (ja) | カートリッジの液体再充填装置 | |
| JP5054301B2 (ja) | カートリッジの液体充填方法 | |
| JP3313808B2 (ja) | インクカートリッジ | |
| JP4710962B2 (ja) | カートリッジの液体充填方法および再製造方法 | |
| EP1707374B1 (de) | Flüssigkeitsausstossapparat | |
| RU2377131C2 (ru) | Способ заправки картриджа жидкостью, устройство для заправки жидкости и повторно заправляемый картридж | |
| JP2006175854A (ja) | カートリッジの液体再充填方法および液体再充填装置 | |
| JP2009040065A (ja) | カートリッジの再製造方法およびカートリッジ | |
| MXPA05012886A (en) | Method of liquid filling of cartridge, liquid filling device, and cartridge | |
| JP3467734B2 (ja) | インクジェットプリンタ用インクタンク | |
| JP2003145800A (ja) | インクカートリッジの収納構造および方法 | |
| JPH03222756A (ja) | インクジェット記録装置用インクカートリッジ |
Legal Events
| Date | Code | Title | Description |
|---|---|---|---|
| PUAI | Public reference made under article 153(3) epc to a published international application that has entered the european phase |
Free format text: ORIGINAL CODE: 0009012 |
|
| AK | Designated contracting states |
Kind code of ref document: A2 Designated state(s): AT BE BG CH CY CZ DE DK EE ES FI FR GB GR HU IE IS IT LI LT LU LV MC NL PL PT RO SE SI SK TR |
|
| AX | Request for extension of the european patent |
Extension state: AL BA HR MK YU |
|
| PUAL | Search report despatched |
Free format text: ORIGINAL CODE: 0009013 |
|
| AK | Designated contracting states |
Kind code of ref document: A3 Designated state(s): AT BE BG CH CY CZ DE DK EE ES FI FR GB GR HU IE IS IT LI LT LU LV MC NL PL PT RO SE SI SK TR |
|
| AX | Request for extension of the european patent |
Extension state: AL BA HR MK YU |
|
| RIC1 | Information provided on ipc code assigned before grant |
Ipc: B41J 2/165 20060101ALI20061025BHEP Ipc: B41J 2/175 20060101AFI20060401BHEP Ipc: G03G 15/08 20060101ALI20061025BHEP |
|
| 17P | Request for examination filed |
Effective date: 20070529 |
|
| AKX | Designation fees paid |
Designated state(s): AT BE BG CH CY CZ DE DK EE ES FI FR GB GR HU IE IS IT LI LT LU LV MC NL PL PT RO SE SI SK TR |
|
| 17Q | First examination report despatched |
Effective date: 20080215 |
|
| GRAP | Despatch of communication of intention to grant a patent |
Free format text: ORIGINAL CODE: EPIDOSNIGR1 |
|
| GRAS | Grant fee paid |
Free format text: ORIGINAL CODE: EPIDOSNIGR3 |
|
| GRAA | (expected) grant |
Free format text: ORIGINAL CODE: 0009210 |
|
| AK | Designated contracting states |
Kind code of ref document: B1 Designated state(s): AT BE BG CH CY CZ DE DK EE ES FI FR GB GR HU IE IS IT LI LT LU LV MC NL PL PT RO SE SI SK TR |
|
| REG | Reference to a national code |
Ref country code: GB Ref legal event code: FG4D Ref country code: CH Ref legal event code: EP |
|
| REG | Reference to a national code |
Ref country code: IE Ref legal event code: FG4D |
|
| REF | Corresponds to: |
Ref document number: 602005020236 Country of ref document: DE Date of ref document: 20100512 Kind code of ref document: P |
|
| REG | Reference to a national code |
Ref country code: ES Ref legal event code: FG2A Ref document number: 2341779 Country of ref document: ES Kind code of ref document: T3 |
|
| REG | Reference to a national code |
Ref country code: NL Ref legal event code: VDEP Effective date: 20100331 |
|
| PG25 | Lapsed in a contracting state [announced via postgrant information from national office to epo] |
Ref country code: LT Free format text: LAPSE BECAUSE OF FAILURE TO SUBMIT A TRANSLATION OF THE DESCRIPTION OR TO PAY THE FEE WITHIN THE PRESCRIBED TIME-LIMIT Effective date: 20100331 |
|
| LTIE | Lt: invalidation of european patent or patent extension |
Effective date: 20100331 |
|
| PG25 | Lapsed in a contracting state [announced via postgrant information from national office to epo] |
Ref country code: SI Free format text: LAPSE BECAUSE OF FAILURE TO SUBMIT A TRANSLATION OF THE DESCRIPTION OR TO PAY THE FEE WITHIN THE PRESCRIBED TIME-LIMIT Effective date: 20100331 Ref country code: AT Free format text: LAPSE BECAUSE OF FAILURE TO SUBMIT A TRANSLATION OF THE DESCRIPTION OR TO PAY THE FEE WITHIN THE PRESCRIBED TIME-LIMIT Effective date: 20100331 Ref country code: FI Free format text: LAPSE BECAUSE OF FAILURE TO SUBMIT A TRANSLATION OF THE DESCRIPTION OR TO PAY THE FEE WITHIN THE PRESCRIBED TIME-LIMIT Effective date: 20100331 Ref country code: PL Free format text: LAPSE BECAUSE OF FAILURE TO SUBMIT A TRANSLATION OF THE DESCRIPTION OR TO PAY THE FEE WITHIN THE PRESCRIBED TIME-LIMIT Effective date: 20100331 Ref country code: LV Free format text: LAPSE BECAUSE OF FAILURE TO SUBMIT A TRANSLATION OF THE DESCRIPTION OR TO PAY THE FEE WITHIN THE PRESCRIBED TIME-LIMIT Effective date: 20100331 |
|
| PG25 | Lapsed in a contracting state [announced via postgrant information from national office to epo] |
Ref country code: NL Free format text: LAPSE BECAUSE OF FAILURE TO SUBMIT A TRANSLATION OF THE DESCRIPTION OR TO PAY THE FEE WITHIN THE PRESCRIBED TIME-LIMIT Effective date: 20100331 Ref country code: CY Free format text: LAPSE BECAUSE OF FAILURE TO SUBMIT A TRANSLATION OF THE DESCRIPTION OR TO PAY THE FEE WITHIN THE PRESCRIBED TIME-LIMIT Effective date: 20100331 Ref country code: BE Free format text: LAPSE BECAUSE OF FAILURE TO SUBMIT A TRANSLATION OF THE DESCRIPTION OR TO PAY THE FEE WITHIN THE PRESCRIBED TIME-LIMIT Effective date: 20100331 Ref country code: EE Free format text: LAPSE BECAUSE OF FAILURE TO SUBMIT A TRANSLATION OF THE DESCRIPTION OR TO PAY THE FEE WITHIN THE PRESCRIBED TIME-LIMIT Effective date: 20100331 Ref country code: SE Free format text: LAPSE BECAUSE OF FAILURE TO SUBMIT A TRANSLATION OF THE DESCRIPTION OR TO PAY THE FEE WITHIN THE PRESCRIBED TIME-LIMIT Effective date: 20100331 Ref country code: RO Free format text: LAPSE BECAUSE OF FAILURE TO SUBMIT A TRANSLATION OF THE DESCRIPTION OR TO PAY THE FEE WITHIN THE PRESCRIBED TIME-LIMIT Effective date: 20100331 |
|
| PG25 | Lapsed in a contracting state [announced via postgrant information from national office to epo] |
Ref country code: CZ Free format text: LAPSE BECAUSE OF FAILURE TO SUBMIT A TRANSLATION OF THE DESCRIPTION OR TO PAY THE FEE WITHIN THE PRESCRIBED TIME-LIMIT Effective date: 20100331 Ref country code: IS Free format text: LAPSE BECAUSE OF FAILURE TO SUBMIT A TRANSLATION OF THE DESCRIPTION OR TO PAY THE FEE WITHIN THE PRESCRIBED TIME-LIMIT Effective date: 20100731 Ref country code: SK Free format text: LAPSE BECAUSE OF FAILURE TO SUBMIT A TRANSLATION OF THE DESCRIPTION OR TO PAY THE FEE WITHIN THE PRESCRIBED TIME-LIMIT Effective date: 20100331 |
|
| PG25 | Lapsed in a contracting state [announced via postgrant information from national office to epo] |
Ref country code: DK Free format text: LAPSE BECAUSE OF FAILURE TO SUBMIT A TRANSLATION OF THE DESCRIPTION OR TO PAY THE FEE WITHIN THE PRESCRIBED TIME-LIMIT Effective date: 20100331 Ref country code: PT Free format text: LAPSE BECAUSE OF FAILURE TO SUBMIT A TRANSLATION OF THE DESCRIPTION OR TO PAY THE FEE WITHIN THE PRESCRIBED TIME-LIMIT Effective date: 20100802 |
|
| PGFP | Annual fee paid to national office [announced via postgrant information from national office to epo] |
Ref country code: FR Payment date: 20101014 Year of fee payment: 6 |
|
| PLBE | No opposition filed within time limit |
Free format text: ORIGINAL CODE: 0009261 |
|
| STAA | Information on the status of an ep patent application or granted ep patent |
Free format text: STATUS: NO OPPOSITION FILED WITHIN TIME LIMIT |
|
| PGFP | Annual fee paid to national office [announced via postgrant information from national office to epo] |
Ref country code: DE Payment date: 20101123 Year of fee payment: 6 |
|
| 26N | No opposition filed |
Effective date: 20110104 |
|
| PGFP | Annual fee paid to national office [announced via postgrant information from national office to epo] |
Ref country code: GB Payment date: 20101124 Year of fee payment: 6 Ref country code: IT Payment date: 20101108 Year of fee payment: 6 |
|
| PG25 | Lapsed in a contracting state [announced via postgrant information from national office to epo] |
Ref country code: MC Free format text: LAPSE BECAUSE OF NON-PAYMENT OF DUE FEES Effective date: 20101130 |
|
| PGFP | Annual fee paid to national office [announced via postgrant information from national office to epo] |
Ref country code: ES Payment date: 20101015 Year of fee payment: 6 |
|
| REG | Reference to a national code |
Ref country code: CH Ref legal event code: PL |
|
| PG25 | Lapsed in a contracting state [announced via postgrant information from national office to epo] |
Ref country code: LI Free format text: LAPSE BECAUSE OF NON-PAYMENT OF DUE FEES Effective date: 20101130 Ref country code: CH Free format text: LAPSE BECAUSE OF NON-PAYMENT OF DUE FEES Effective date: 20101130 |
|
| PG25 | Lapsed in a contracting state [announced via postgrant information from national office to epo] |
Ref country code: IE Free format text: LAPSE BECAUSE OF NON-PAYMENT OF DUE FEES Effective date: 20101129 |
|
| GBPC | Gb: european patent ceased through non-payment of renewal fee |
Effective date: 20111129 |
|
| REG | Reference to a national code |
Ref country code: FR Ref legal event code: ST Effective date: 20120731 |
|
| PG25 | Lapsed in a contracting state [announced via postgrant information from national office to epo] |
Ref country code: IT Free format text: LAPSE BECAUSE OF NON-PAYMENT OF DUE FEES Effective date: 20111129 |
|
| REG | Reference to a national code |
Ref country code: DE Ref legal event code: R119 Ref document number: 602005020236 Country of ref document: DE Effective date: 20120601 |
|
| PG25 | Lapsed in a contracting state [announced via postgrant information from national office to epo] |
Ref country code: BG Free format text: LAPSE BECAUSE OF FAILURE TO SUBMIT A TRANSLATION OF THE DESCRIPTION OR TO PAY THE FEE WITHIN THE PRESCRIBED TIME-LIMIT Effective date: 20100331 Ref country code: HU Free format text: LAPSE BECAUSE OF FAILURE TO SUBMIT A TRANSLATION OF THE DESCRIPTION OR TO PAY THE FEE WITHIN THE PRESCRIBED TIME-LIMIT Effective date: 20101001 Ref country code: LU Free format text: LAPSE BECAUSE OF NON-PAYMENT OF DUE FEES Effective date: 20101129 |
|
| PG25 | Lapsed in a contracting state [announced via postgrant information from national office to epo] |
Ref country code: TR Free format text: LAPSE BECAUSE OF FAILURE TO SUBMIT A TRANSLATION OF THE DESCRIPTION OR TO PAY THE FEE WITHIN THE PRESCRIBED TIME-LIMIT Effective date: 20100331 Ref country code: GB Free format text: LAPSE BECAUSE OF NON-PAYMENT OF DUE FEES Effective date: 20111129 |
|
| PG25 | Lapsed in a contracting state [announced via postgrant information from national office to epo] |
Ref country code: FR Free format text: LAPSE BECAUSE OF NON-PAYMENT OF DUE FEES Effective date: 20111130 |
|
| REG | Reference to a national code |
Ref country code: ES Ref legal event code: FD2A Effective date: 20130603 |
|
| PG25 | Lapsed in a contracting state [announced via postgrant information from national office to epo] |
Ref country code: DE Free format text: LAPSE BECAUSE OF NON-PAYMENT OF DUE FEES Effective date: 20120601 |
|
| PG25 | Lapsed in a contracting state [announced via postgrant information from national office to epo] |
Ref country code: ES Free format text: LAPSE BECAUSE OF NON-PAYMENT OF DUE FEES Effective date: 20111130 |
|
| PG25 | Lapsed in a contracting state [announced via postgrant information from national office to epo] |
Ref country code: BG Free format text: LAPSE BECAUSE OF FAILURE TO SUBMIT A TRANSLATION OF THE DESCRIPTION OR TO PAY THE FEE WITHIN THE PRESCRIBED TIME-LIMIT Effective date: 20100630 |
|
| PG25 | Lapsed in a contracting state [announced via postgrant information from national office to epo] |
Ref country code: GR Free format text: LAPSE BECAUSE OF FAILURE TO SUBMIT A TRANSLATION OF THE DESCRIPTION OR TO PAY THE FEE WITHIN THE PRESCRIBED TIME-LIMIT Effective date: 20100331 |