EP1586751A2 - Internal combustion engine with cylinder lubricating system - Google Patents

Internal combustion engine with cylinder lubricating system Download PDF

Info

Publication number
EP1586751A2
EP1586751A2 EP05007869A EP05007869A EP1586751A2 EP 1586751 A2 EP1586751 A2 EP 1586751A2 EP 05007869 A EP05007869 A EP 05007869A EP 05007869 A EP05007869 A EP 05007869A EP 1586751 A2 EP1586751 A2 EP 1586751A2
Authority
EP
European Patent Office
Prior art keywords
lube oil
pressure
lubricators
oil
oil supply
Prior art date
Legal status (The legal status is an assumption and is not a legal conclusion. Google has not performed a legal analysis and makes no representation as to the accuracy of the status listed.)
Withdrawn
Application number
EP05007869A
Other languages
German (de)
French (fr)
Other versions
EP1586751A3 (en
Inventor
Satoru Murata
Sadao Yoshihara
Tetsuya Yamamoto
Motoki Izumi
Takashi Sonoda
Current Assignee (The listed assignees may be inaccurate. Google has not performed a legal analysis and makes no representation or warranty as to the accuracy of the list.)
Mitsubishi Heavy Industries Ltd
Original Assignee
Mitsubishi Heavy Industries Ltd
Priority date (The priority date is an assumption and is not a legal conclusion. Google has not performed a legal analysis and makes no representation as to the accuracy of the date listed.)
Filing date
Publication date
Application filed by Mitsubishi Heavy Industries Ltd filed Critical Mitsubishi Heavy Industries Ltd
Publication of EP1586751A2 publication Critical patent/EP1586751A2/en
Publication of EP1586751A3 publication Critical patent/EP1586751A3/en
Withdrawn legal-status Critical Current

Links

Images

Classifications

    • FMECHANICAL ENGINEERING; LIGHTING; HEATING; WEAPONS; BLASTING
    • F01MACHINES OR ENGINES IN GENERAL; ENGINE PLANTS IN GENERAL; STEAM ENGINES
    • F01MLUBRICATING OF MACHINES OR ENGINES IN GENERAL; LUBRICATING INTERNAL COMBUSTION ENGINES; CRANKCASE VENTILATING
    • F01M1/00Pressure lubrication
    • F01M1/16Controlling lubricant pressure or quantity
    • FMECHANICAL ENGINEERING; LIGHTING; HEATING; WEAPONS; BLASTING
    • F01MACHINES OR ENGINES IN GENERAL; ENGINE PLANTS IN GENERAL; STEAM ENGINES
    • F01MLUBRICATING OF MACHINES OR ENGINES IN GENERAL; LUBRICATING INTERNAL COMBUSTION ENGINES; CRANKCASE VENTILATING
    • F01M1/00Pressure lubrication
    • F01M1/06Lubricating systems characterised by the provision therein of crankshafts or connecting rods with lubricant passageways, e.g. bores
    • FMECHANICAL ENGINEERING; LIGHTING; HEATING; WEAPONS; BLASTING
    • F01MACHINES OR ENGINES IN GENERAL; ENGINE PLANTS IN GENERAL; STEAM ENGINES
    • F01MLUBRICATING OF MACHINES OR ENGINES IN GENERAL; LUBRICATING INTERNAL COMBUSTION ENGINES; CRANKCASE VENTILATING
    • F01M1/00Pressure lubrication
    • F01M1/08Lubricating systems characterised by the provision therein of lubricant jetting means

Definitions

  • the present invention relates to an internal combustion engine with a cylinder lubricating system applied to a large marine diesel engine, etc., lubricating oil pressure-fed by a lubricating oil pump being accommodated in a common lube oil feeding section, the lubricating oil in the common lube oil feeding section being supplied to a plurality of lubricators attached to engine cylinders to be supplied to the inner surfaces of the cylinders by the system.
  • a plurality of lubricators are arranged along the circumferential direction of the cylinder, the plunger of a plunger type oil pump is reciprocated by the rotation of the cam formed on a camshaft driven by the crankshaft of the engine, and lubricating oil is supplied through oil pipes connecting the oil pump to the lubricators at timing in syntonization with the rotation of the crankshaft to be supplied to the inner surface of the cylinder by the lubricators.
  • the present invention was made in light of the problems in the prior art as mentioned above.
  • the object of the invention is to provide an internal combustion engine provided with a cylinder lubricating system, in which it is possible to supply necessary amount of lubricating oil at necessary timing to each of lubricators or to each of positions to be supplied with lubricating oil in accordance with the rotation speed or load of the engine and to detect the occurrence of abnormality in supplying lube oil from the lubricators quickly and accurately, whereby stable supply of lube oil can be maintained all over the operating range of the engine through taking effective measures to meet the situation of the abnormality.
  • the present invention proposes an internal combustion engine provided with a lubricating system in which lubricating oil pressure-fed by a lubricating oil pump is accommodated in a common lube oil feeding section, the lubricating oil contained in said common lube oil feeding section is supplied to a plurality of lubricators (injectors) attached to the cylinders of the engine through oil passages connecting said common lube oil feeding section to each of said lubricators respectively and injected to the inner surfaces of cylinders of the engine by said lubricators, wherein are provided a plurality of electromagnetic valves for opening or closing each of said oil passages independently; lube oil supply pressure detectors for detecting pressures of lube oil supplied to the cylinders; and a controller which controls the timing and period of opening of each of said electromagnetic valves in accordance with the load and rotation speed of the engine, compares the detected lube oil supply pressure of each of the lubricators with a permissible value of lube oil supply pressure
  • said controller judges that there has occurred malfunction in lube oil supply when the pressure difference between the peak pressure and base pressure of lube oil supply based on the pressure detected by and inputted from said lube oil supply pressure detector is equal or smaller than a permissible pressure difference determined beforehand.
  • the timing and period of opening of the electromagnetic valves for opening/closing the oil passages connecting the common lube oil feeding section to a plurality of the lubricators for supplying lube oil to the inner surfaces of the cylinders are controlled respectively in accordance with loads or rotation speeds of the engine, and it is judged that malfunction has occurred in lube oil supply when the detected lube oil supply pressure exceeds said permissible pressure determined beforehand, particularly when the pressure difference between the peak pressure and base pressure of lube oil supply is equal or smaller than a permissible pressure difference determined beforehand.
  • abnormality in lube oil supply can be detected for each of the electromagnetic valves and lubricators, fast recovery from the abnormality is possible, and occurrence of wear or sticking in the inner surface of cylinder due to deteriorated lubrication as a result of the abnormality of lube oil supply action can be positively evaded.
  • said controller determines said permissible pressure difference on the basis of the timing and period of the electromagnetic valve and the pressure in the common lube oil feeding section.
  • the controller judges that malfunction has occurred in the electromagnetic valve when the period of time during which the detected lube oil supply pressure exceeds a predetermined threshold value is longer than a permissible period of time.
  • said controller judges that malfunction has occurred in the lubricator when the pressure difference between the peak pressure of the detected lube oil supply pressure and the pressure in the common lube oil feeding section is equal or larger than a permissible pressure difference determined beforehand.
  • the present invention proposes an internal combustion engine provided with a lubricating system in which lubricating oil pressure-fed by a lubricating oil pump is accommodated in a common lube oil feeding section, the lubricating oil contained in said common lube oil feeding section is supplied to a plurality of lubricators(injectors) attached to the cylinders of the engine through oil passages connecting said common lube oil feeding section to each of said lubricators respectively and injected to the inner surfaces of cylinders of the engine by said lubricators, wherein are provided a plurality of electromagnetic valves for opening/closing oil passages connecting to a plurality of said lubricators respectively, oil pressure cutoff valves attached to oil passages connecting the electromagnetic valves to the common lube oil feeding section for shutting off said oil passages, and an oil cutoff valve actuating means for allowing said oil cutoff valve actuating means to actuate when malfunction occurs in lube oil supply operation performed by the lubricators and controlled by the electromagnetic
  • the oil passage connecting to the malfunctioning lubricator or electromagnetic valve is shutoff by the oil pressure cutoff valve connecting to the malfunctioning lubricator or electromagnetic valve, and the malfunctioning part is repaired. Therefore, when malfunction occurs in one of the lubricators or electromagnetic valves, lube oil supply to the malfunctioning lubricator or electromagnetic valve can be shutoff by actuating the oil pressure cutoff valve connecting to the malfunctioning lubricator or electromagnetic valve while continuing the operation of the engine. So, malfunctioning part can be repaired and restored without halting engine operation.
  • a controller is provided which allows the lube oil supply by the lubricators to be restored upon receiving a signal to release the actuation of the oil pressure cutoff valve when it is inputted to the controller.
  • FIG.1 is an overall connecting diagram of the first embodiment of the cylinder lubricating system of an internal combustion engine according to the present invention
  • FIG. 2 is anoverall connecting diagram of the second embodiment of the cylinder lubricating system.
  • FIG.3 is a connecting diagram of the third embodiment corresponding to FIG.2.
  • FIG.4 is a control block diagram of the first to third embodiment.
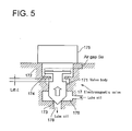
  • FIG.5 is a schematic representation of the electromagnetic valve used in the first to third embodiment.
  • FIG.6 is a graph for explaining the operation of the first and second embodiments.
  • electromagnetic valves are provided for each of lubricators.
  • reference numeral 11 are cylinder liners (cylinders) and two cylinders are shown in the drawing.
  • Reference numerals 12a, 12b, 12c, ⁇ ⁇ ⁇ , 12n are lubricators for feeding lube oil to the inner surface of each cylinder 11.
  • the plural lubricators 12a, 12b, 12c, ⁇ ⁇ ⁇ , 12n are located along the periphery of each cylinder 11 preferably spaced equidistantly.
  • Reference numeral 14 is a lube oil pump
  • 15 is a common lube oil feeding section in which lube oil pressure-fed by the lube oil pump 14 is accumulated.
  • Reference numerals 16a, 16b, 16c, 16d, ⁇ ⁇ ⁇ , 16n are oil passages connecting the common lube oil feeding section 15 to the lubricators 12a, 12b, 12c, ⁇ ⁇ ⁇ , 12n of each cylinder.
  • Reference numerals 17a, 17b, 17c, 17d, 17e, ⁇ ⁇ ⁇ , 17n are electromagnetic valves provided at each of the oil passages 16a, 16b, 16c, 16d, ⁇ ⁇ ⁇ , 16n respectively for opening /closing each of the passages 16a, 16b, 16c, 16d, ⁇ ⁇ ⁇ , 16n.
  • each of the electromagnetic valves 17a, 17b, 17c, 17d, 17e, ⁇ ⁇ ⁇ , 17n is controlled independently by the controller 19.
  • Reference numerals 18a, 18b, 18c, 18d, 18e, ⁇ ⁇ ⁇ , 18n are lube oil flow limiters, each of which are located upstream of each of the electromagnetic valves 17a, 17b, 17c, 17d, 17e, ⁇ ⁇ ⁇ , 17n which are provided to each of the oil passages 16a, 16b, 16c, 16d, ⁇ ⁇ ⁇ , 16n for opening /closing each of the oil passages 16a, 16b, 16c, 16d, ⁇ ⁇ ⁇ , 16n.
  • FIG.5 is shown the structure of the electromagnetic valve 17 (17a, 17b, 17c, 17d, 17e, ⁇ ⁇ ⁇ , 17n) schematically.
  • reference numeral 172 is a valve case
  • 173 is a valve seat
  • 171 is a valve body
  • 174 is an armature fixed on the valve body 171
  • 175 is a solenoid
  • 176 is a valve room.
  • Ga is the air gap between the undersurface of the solenoid 175 and the upper surface of the armature 174 when said lift L is at its maximum.
  • Reference numeral 1 is an engine rotation speed detector for detecting the rotation speed of the engine
  • 2 is a fuel injection quantity sensor for detecting the quantity of fuel injected into the cylinder
  • 3 is a crank angle sensor for detecting crank angles of engine, i.e. rotation positions of the crankshaft of engine.
  • Reference numeral 4 is a load detecting means by which engine load(output) is calculated from the engine rotation speed detected by said engine rotation speed detector 1 and the fuel injection quantity detected by said fuel injection quantity sensor 2.
  • Reference numeral 5 is a pressure sensor for detecting the pressure in the common lube oil feeding section.
  • Reference numeral 21 are oil pressure sensors for detecting the oil pressure of eachof said lubricators 12a, 12b, 12c, ⁇ ⁇ ⁇ , 12n.
  • Each of the pressure sensors 21 is attached to each of the oil passages 16a, 16b, 16c, 16d, ⁇ ⁇ ⁇ 16n and detects the lube oil supply pressure of each of the lubricators 12a, 12b, 12c, ⁇ ⁇ ⁇ , 12n. It may be suitable that each of the pressure sensors 21 is provided not for eachof the oil passages 16a, 16b, 16c, 16d, ⁇ ⁇ ⁇ , 16n but one pressure sensor is provided for a plurality of the oil passages.
  • the engine rotation speed detected by the engine rotation speed detector 1, the engine load detected(calculated) by the load detecting means 4, the crank angle detected by the crank angle sensor 3, the oil pressures of the lubricators 12a, 12b, 12c, ⁇ ⁇ ⁇ , 12n detected by the oil pressure sensors 21, and the oil pressure in the common lube oil feeding section detected by the pressure sensor 5 are inputted to a judging part 191(see FIG.4) of the controller 19, the judging part 191 being for judging the state of lube oil supply action.
  • a plurality of said lubricators 12 are attached to one cylinder as shown by 12a, 12b, 12c, 12d, 12e, ⁇ ⁇ ⁇ , 12n, and oil passages connecting to the lubricators 12 consist of main oil passages 161, 162, 163, and 164, and branched oil passages 16a, 16b, 16c, 16d, 16e, ⁇ ⁇ ⁇ , 16n(these being corresponding to the oil passages in the first embodiment) branching from the main oil passages 161, 162, 163, and 164 to be connected to each of the lubricators 12a, 12b, 12c, 12d, 12e, ⁇ ⁇ ⁇ ,12n.
  • Electromagnetic valves 17 (17A, 17B) are provided to the main oil passages 161, 162, 163, and 164 respectively so that one electromagnetic valve presides lube oil supply to a plurality of lubricators(for example, the electromagnetic valve 17A presides lube oil supply to the lubricators 12a, 12b, and 12c) in order to reduce the number of the electromagnetic valves 17.
  • Reference numeral 18A is a lube oil flow limiter provided in the upstream of the electromagnetic valves 17A
  • 18B is a lube oil flow limiter provided in the upstream of the electromagnetic valves 17B.
  • Reference numeral 21a, 21b, 21c, 21d, 21e, ⁇ ⁇ ⁇ 21n are pressure sensors for detecting lube oil supply pressures of the lubricators 12a, 12b, 12c, ⁇ ⁇ ⁇ , 12n. These pressure sensors 21a, 21b, 21c, 21d, 21e, ⁇ ⁇ ⁇ 21n are attached to the oil passages 16a, 16b, 16c, 16d, ⁇ ⁇ ⁇ , 16n respectively to detect the lube oil supply pressure of each of the lubricators 12a, 12b, 12c, ⁇ ⁇ ⁇ , 12n respectively.
  • the pressure sensors 21 may be attached to the main oil passages 161, 162, 163, and 164 as shown by dotted leader lines in FIG.2.
  • the lube oil supply pressures detected by the pressure sensors 21a, 21b, 21c, 21d, 21e, ⁇ ⁇ ⁇ 21n are inputted to the state of lube oil supply action judging part 191 (see FIG. 4) of the controller 19.
  • detectors and sensors shown in FIG.1 are not shown in FIG.2.
  • a plurality of said lubricators 12 are attached to one cylinder as shown by 12a, 12b, 12c, 12d, 12e, ⁇ ⁇ ⁇ , 12n, and oil passages connecting to the lubricators 12 consist of main oil passages 161, 162, 163, and 164, and branched oil passages 16a, 16b, 16c, 16d, 16e, ⁇ ⁇ ⁇ , 16n(these being corresponding to the oil passages in the first embodiment) branching from the main oil passages 161, 162, 163, and 164 to be connected to each of the lubricators 12a, 12b, 12c, 12d, 12e, ⁇ ⁇ ⁇ ,12n.
  • Electromagnetic valves 17 (17A, 17B, 17C, and 17D) are provided to the main oil passages 161, 162, 163, and 164 respectively so that one electromagnetic valve presides lube oil supply to a plurality of lubricators (for example, the electromagnetic valve 17A presides lube oil supply to the lubricators 12a, 12b, and 12c).
  • Reference numeral 18 is a lube oil flow limiter provided in the upstream of the electromagnetic valves 17A
  • 18B is a lube oil flow limiter provided in the upstream of the electromagnetic valves 17B
  • 18C is a lube oil flow limiter provided in the upstream of the electromagnetic valves 17C
  • 18D is a lube oil flow limiter provided in the upstream of the electromagnetic valves 17D.
  • oil pressure cutoff valves 24A, 24B, 24C, and 24D are attached to the main oil passages 161, 162, 163, and 164 for shutting off the communication of the oil passages 16a, 16b, 16c, 16d, 16e, ⁇ ⁇ ⁇ , 16n to the lubricators 12a, 12b, 12c, 12d, 12e, ⁇ ⁇ ⁇ , 12n so that the main oil passages161, 162, 163, and164 canbe shutoff throughactuating the cutoff valves 24A, 24B, 24C, and 24D by control signals sent from the controller or through manual operation.
  • FIG. 4 showing a control block diagram and FIG. 1 ⁇ FIG.3.
  • reference numeral 192 is a reference setting part for setting the reference for lube oil supply action, in which permissible pressure differences ⁇ P are set in correspondence with engine rotation speeds or engine loads, ⁇ P being permissible pressure differences between peak values of fluctuating lube oil supply pressures and a base lube oil supply pressure, malfunction in the lube oil supply lines including the lubricators 12a, 12b, 12c, 12d, 12e, ⁇ ⁇ ⁇ , 12n and the electromagnetic valves 17(the electromagnetic valves 17a, 17b, 17c, 17d, 17e, ⁇ ⁇ ⁇ , 17n in the first embodiment shown in FIG. 1, and the electromagnetic valves 17A, 17B, 17C, and 17D in the second and third embodiment) being judged on the basis of the pressure differences.
  • the pressure difference ⁇ P is defined as the difference of pressure between the peak value Pp of a fluctuating lube oil supply pressure and a base lube oil supply pressure Pb.
  • permissible pressure difference ⁇ P there are set minimum permissible pressure difference P min and maximum permissible pressure difference P max in accordance with the opening period of electromagnetic valve and the oil pressure in the common lube oil feeding section, that is, with loads and rotation speeds of the engine and the the common lube oil feeding section.
  • the state of lube oil supply action judging part 191 compares the pressure difference ⁇ P1 (detected pressure difference) calculated from the detected fluctuating lube oil supply pressure inputted from each of the pressure sensors 21 (21a, 21b, 21c, 21d, 21e, ⁇ ⁇ ⁇ 21n) and said minimum permissible pressure difference ⁇ P min , judges that, when the detected pressure difference ⁇ P1 is equal or smaller than the minimum permissible pressure difference ⁇ P min (when ⁇ P1 ⁇ P low ) , malfunction has occurred in the lube oil supply line to which the concerned pressure sensor 21 is attached(for example, when the detected pressure difference calculated for the pressure sensor 21a is equal or smaller than the minimum permissible pressure difference ⁇ P min , it is judged that malfunction has occurred to the lube oil supply line connecting to the lubricator 12a).
  • ⁇ P1 detected pressure difference
  • the judgment is sent to an electromagnetic valve control part 193 and to an oil pressure cutoff valve control part 194.
  • the oil pressure cutoff valve control part 194 allows the oil pressure cutoff valve 24 of the concerned lube oil supply line to be shutoff (for example, the oil pressure cutoff valve 24A is shutoff).
  • the timing and period of opening of each of the electromagnetic valves 17 for controlling lube oil supply to each of the lubricators 12a, 12b, 12c, 12d, 12e, ⁇ ⁇ ⁇ ,12n are controlled in correspondence with engine loads and rotation speeds, and malfunction in supplying lube oil judged to have occurred when the pressure difference ⁇ P1 (detected pressure difference) between the peak pressure of the fluctuating lube oil supply pressure detected by the oil pressure sensor 21 (21a, 21b, 21c, 21d, 21e, ⁇ ⁇ ⁇ 21n) and the base lube oil supply pressure ⁇ P1 is equal or smaller than the minimum permissible pressure difference ⁇ P min , so that whether abnormality has occurred in lube oil supply due to shortage in valve lift of the electromagnetic valve 17 or other factors can be judged quantitative
  • the concerned oil pressure cutoff valve 24 are actuated to shutoff lube oil supply to the concerned lubricators 12 and electromagnetic valves 17 while continuing engine operation, and malfunctioning part can be repaired to restore normal function without halting the operation of the engine.
  • the controller When the malfunctioning part is repaired, normal function is recovered, and a signal for releasing the actuation of the concerned oil pressure cutoff valve 24 is inputted to the controller 19, the controller allows the lube oil supply from the lubricators connected to the malfunctioning lube oil supply line to be recovered upon receiving the signal.
  • the controller 19 judges whether malfunction has occurred in the electromagnetic valves 17(the electromagnetic valves 17a, 17b, 17c, 17d, 17e, ⁇ ⁇ ⁇ , 17n or the electromagnetic valves 17A, 17B, 17C, and 17D) and the lubricators12a, 12b, 12c, 12d, 12e, ⁇ ⁇ ⁇ , 12n.
  • the controller 19 judges, when the period of time during which the detected lube oil supply pressure inputted from any of the oil pressure sensors 21 (21a, 21b, 21c, 21d, 21e, ⁇ ⁇ ⁇ 21n) exceeds a predetermined threshold value is longer than a permissible period of time, that malfunction has occurred in the concerned electromagnetic valve 17.
  • the controller 19 judges, when any of the pressure difference ⁇ P1 (detected pressure difference) between the peak pressure Pp of the detected lube oil supply pressure inputted from any of the oil pressure sensors 21(21a, 21b, 21c, 21d, 21e, ⁇ ⁇ ⁇ , 21n) and the lube oil pressure detected by the pressure sensor 5 for detecting the pressure in the common lube oil feeding section 15 (the base lube oil pressure Pb may be used instead) is equal or larger than the maximum permissible pressure difference ⁇ P max , that malfunction has occurred in the concerned lubricator 12 among the lubricators 12a, 12b, 12c, 12d, 12e, ⁇ ⁇ ⁇ , 12n.
  • ⁇ P1 detected pressure difference
  • a cylinder lubricating system for an internal combustion engine capable of supplying lube oil stably in all over the operation of the engine can be provided.
  • abnormality in lube oil supply can be detected for each of the electromagnetic valves and lubricators, fast recovery from the abnormality is possible, and occurrence of wear or sticking in the inner surface of cylinder due to deteriorated lubrication as a result of the abnormality of lube oil supply action can be positively evaded.

Landscapes

  • Engineering & Computer Science (AREA)
  • Mechanical Engineering (AREA)
  • General Engineering & Computer Science (AREA)
  • Lubrication Of Internal Combustion Engines (AREA)
  • Combined Controls Of Internal Combustion Engines (AREA)

Abstract

An internal combustion engine having a plurality of lubricators (12a,12b,12c...12n) attached to one cylinder (11) for supplying lube oil in the common lube oil feeding section (15) to the inner surface of the cylinder (11), wherein are provided a plurality of electromagnetic valves (17a,17b,17c...17n) for opening or closing oil passages (16a,16b...16n) connecting to the lubricators independently; lube oil supply pressure detectors (21) for detecting the lube oil supply pressure of each of the lubricators; and a controller (19) which controls the timing and period of opening of each of said electromagnetic valves in accordance with loads and rotation speeds of the engine, compares the detected lube oil supply pressure of each of the lubricators with a permissible value of lube oil supply pressure, and judges that abnormality has occurred in lube oil supply when the detected lube oil supply pressure exceeds the permissible value.

Description

BACKGROUND OF THE INVENTION Field of the invention
The present invention relates to an internal combustion engine with a cylinder lubricating system applied to a large marine diesel engine, etc., lubricating oil pressure-fed by a lubricating oil pump being accommodated in a common lube oil feeding section, the lubricating oil in the common lube oil feeding section being supplied to a plurality of lubricators attached to engine cylinders to be supplied to the inner surfaces of the cylinders by the system.
Description of the Related Art
In large marine diesel engines, mechanical cylinder lubricating system are widely used, in which, as disclosed for example in JP59-175619U, a plurality of lubricators are arranged along the circumferential direction of a cylinder, and lubricating oil pressure-fed by an oil pump of plunger type driven by the rotation of the crankshaft is supplied to the inner surface of the cylinder by said lubricators.
In the lubricating system, a plurality of lubricators (injectors) are arranged along the circumferential direction of the cylinder, the plunger of a plunger type oil pump is reciprocated by the rotation of the cam formed on a camshaft driven by the crankshaft of the engine, and lubricating oil is supplied through oil pipes connecting the oil pump to the lubricators at timing in syntonization with the rotation of the crankshaft to be supplied to the inner surface of the cylinder by the lubricators. With the mechanical cylinder lubricating system disclosed in said patent literature 1, lubricating oil is supplied to the inner surface of the cylinder from the lubricators at timing in syntonization with engine rotation, so that the lube oil feed timing and the characteristic of lube oil feed quantity are determined at the stage of engine assembling, the timing and also quantity of oil supplied are difficult to be adjusted, and it is impossible to control the lubrication timing and the quantity of lubricating oil supplied by each of a plurality of lubricators. There is no disclosure in said patent literature 1 concerning detection of occurrence of abnormality in supplying lube oil from the lubricators to the cylinder and means to cope with the abnormality.
SUMMARY OF THE INVENTION
The present invention was made in light of the problems in the prior art as mentioned above. The object of the invention is to provide an internal combustion engine provided with a cylinder lubricating system, in which it is possible to supply necessary amount of lubricating oil at necessary timing to each of lubricators or to each of positions to be supplied with lubricating oil in accordance with the rotation speed or load of the engine and to detect the occurrence of abnormality in supplying lube oil from the lubricators quickly and accurately, whereby stable supply of lube oil can be maintained all over the operating range of the engine through taking effective measures to meet the situation of the abnormality.
To attain the object, the present invention proposes an internal combustion engine provided with a lubricating system in which lubricating oil pressure-fed by a lubricating oil pump is accommodated in a common lube oil feeding section, the lubricating oil contained in said common lube oil feeding section is supplied to a plurality of lubricators (injectors) attached to the cylinders of the engine through oil passages connecting said common lube oil feeding section to each of said lubricators respectively and injected to the inner surfaces of cylinders of the engine by said lubricators, wherein are provided a plurality of electromagnetic valves for opening or closing each of said oil passages independently; lube oil supply pressure detectors for detecting pressures of lube oil supplied to the cylinders; and a controller which controls the timing and period of opening of each of said electromagnetic valves in accordance with the load and rotation speed of the engine, compares the detected lube oil supply pressure of each of the lubricators with a permissible value of lube oil supply pressure, and judges that abnormality has occurred in lube oil supply when the detected lube oil supply pressure exceeds said permissible value.
In the invention, it is preferable specifically that said controller judges that there has occurred malfunction in lube oil supply when the pressure difference between the peak pressure and base pressure of lube oil supply based on the pressure detected by and inputted from said lube oil supply pressure detector is equal or smaller than a permissible pressure difference determined beforehand.
According to the invention, the timing and period of opening of the electromagnetic valves for opening/closing the oil passages connecting the common lube oil feeding section to a plurality of the lubricators for supplying lube oil to the inner surfaces of the cylinders are controlled respectively in accordance with loads or rotation speeds of the engine, and it is judged that malfunction has occurred in lube oil supply when the detected lube oil supply pressure exceeds said permissible pressure determined beforehand, particularly when the pressure difference between the peak pressure and base pressure of lube oil supply is equal or smaller than a permissible pressure difference determined beforehand.
Therefore, whether abnormality has occurred in lube oil supply due to shortage in valve lift of the electromagnetic valve or other factors can be judged quantitatively for each of the electromagnetic valves.
Accordingly, abnormality in lube oil supply can be detected for each of the electromagnetic valves and lubricators, fast recovery from the abnormality is possible, and occurrence of wear or sticking in the inner surface of cylinder due to deteriorated lubrication as a result of the abnormality of lube oil supply action can be positively evaded.
In the invention, it is preferable that said controller determines said permissible pressure difference on the basis of the timing and period of the electromagnetic valve and the pressure in the common lube oil feeding section.
In the invention, it is preferable that the controller judges that malfunction has occurred in the electromagnetic valve when the period of time during which the detected lube oil supply pressure exceeds a predetermined threshold value is longer than a permissible period of time.
In the invention, it is preferable that said controller judges that malfunction has occurred in the lubricator when the pressure difference between the peak pressure of the detected lube oil supply pressure and the pressure in the common lube oil feeding section is equal or larger than a permissible pressure difference determined beforehand.
By composing like this, whether there has occurred malfunction in any of the electromagnetic valves and lubricators can be judged by a simple means to compare the detected lube oil supply pressure difference with the permissible pressure difference.
The present invention proposes an internal combustion engine provided with a lubricating system in which lubricating oil pressure-fed by a lubricating oil pump is accommodated in a common lube oil feeding section, the lubricating oil contained in said common lube oil feeding section is supplied to a plurality of lubricators(injectors) attached to the cylinders of the engine through oil passages connecting said common lube oil feeding section to each of said lubricators respectively and injected to the inner surfaces of cylinders of the engine by said lubricators, wherein are provided a plurality of electromagnetic valves for opening/closing oil passages connecting to a plurality of said lubricators respectively, oil pressure cutoff valves attached to oil passages connecting the electromagnetic valves to the common lube oil feeding section for shutting off said oil passages, and an oil cutoff valve actuating means for allowing said oil cutoff valve actuating means to actuate when malfunction occurs in lube oil supply operation performed by the lubricators and controlled by the electromagnetic valves.
According to the invention, when malfunction occurs in the lubricators or electromagnetic valves for opening/closing the oil passages connecting to the lubricators, the oil passage connecting to the malfunctioning lubricator or electromagnetic valve is shutoff by the oil pressure cutoff valve connecting to the malfunctioning lubricator or electromagnetic valve, and the malfunctioning part is repaired. Therefore, when malfunction occurs in one of the lubricators or electromagnetic valves, lube oil supply to the malfunctioning lubricator or electromagnetic valve can be shutoff by actuating the oil pressure cutoff valve connecting to the malfunctioning lubricator or electromagnetic valve while continuing the operation of the engine. So, malfunctioning part can be repaired and restored without halting engine operation.
In the invention, it is preferable that a controller is provided which allows the lube oil supply by the lubricators to be restored upon receiving a signal to release the actuation of the oil pressure cutoff valve when it is inputted to the controller.
By composing like this, when the malfunctioning part of the lubricator or electromagnetic valve is repaired, normal function is recovered, and the actuation of the oil pressure cutoff valve is released, the lubricator and electromagnetic valve are allowed to come back automatically to normal operation.
BRIEF DESCRIPTION OF THE DRAWINGS
  • FIG.1 is an overall connecting diagram of the first embodiment of the cylinder lubricating system of an internal combustion engine according to the present invention.
  • FIG.2 is an overall connecting diagram of the second embodiment of the cylinder lubricating system.
  • FIG.3 is a connecting diagram of the third embodiment corresponding to FIG.2.
  • FIG.4 is a control block diagram of the first to third embodiment.
  • FIG . 5 is a schematic representation of the electromagnetic valve used in the first to third embodiment.
  • FIG.6 is a graph for explaining the operation of the first and second embodiments.
  • DETAILED DESCRIPTION OF THE PREFERRED EMBODIMENTS
    A preferred embodiment of the present invention will now be detailed with reference to the accompanying drawings. It is intended, however, that unless particularly specified, dimensions, materials, relative positions and so forth of the constituent parts in the embodiments shall be interpreted as illustrative only not as limitative of the scope of the present invention.
    FIG.1 is an overall connecting diagram of the first embodiment of the cylinder lubricating system of an internal combustion engine according to the present invention, and FIG. 2 is anoverall connecting diagram of the second embodiment of the cylinder lubricating system. FIG.3 is a connecting diagram of the third embodiment corresponding to FIG.2. FIG.4 is a control block diagram of the first to third embodiment. FIG.5 is a schematic representation of the electromagnetic valve used in the first to third embodiment. FIG.6 is a graph for explaining the operation of the first and second embodiments.
    In an example of the first embodiment shown in FIG.1, electromagnetic valves are provided for each of lubricators. In FIG. 1, reference numeral 11 are cylinder liners (cylinders) and two cylinders are shown in the drawing. Reference numerals 12a, 12b, 12c, · · · , 12n (omitted in the drawing) are lubricators for feeding lube oil to the inner surface of each cylinder 11. The plural lubricators 12a, 12b, 12c, · · · , 12n are located along the periphery of each cylinder 11 preferably spaced equidistantly.
    Reference numeral 14 is a lube oil pump, 15 is a common lube oil feeding section in which lube oil pressure-fed by the lube oil pump 14 is accumulated. Reference numerals 16a, 16b, 16c, 16d, · · · , 16n are oil passages connecting the common lube oil feeding section 15 to the lubricators 12a, 12b, 12c, · · · , 12n of each cylinder.
    Reference numerals 17a, 17b, 17c, 17d, 17e, · · · , 17n are electromagnetic valves provided at each of the oil passages 16a, 16b, 16c, 16d, · · · , 16n respectively for opening /closing each of the passages 16a, 16b, 16c, 16d, · · ·, 16n.
    The timing and period of opening of each of the electromagnetic valves 17a, 17b, 17c, 17d, 17e, · · ·, 17n is controlled independently by the controller 19.
    Reference numerals 18a, 18b, 18c, 18d, 18e, · · · , 18n are lube oil flow limiters, each of which are located upstream of each of the electromagnetic valves 17a, 17b, 17c, 17d, 17e, · · · , 17n which are provided to each of the oil passages 16a, 16b, 16c, 16d, · · ·, 16n for opening /closing each of the oil passages 16a, 16b, 16c, 16d, · · ·, 16n.
    In FIG.5 is shown the structure of the electromagnetic valve 17 (17a, 17b, 17c, 17d, 17e, · · · , 17n) schematically. In the drawing, reference numeral 172 is a valve case, 173 is a valve seat, 171 is a valve body, 174 is an armature fixed on the valve body 171, 175 is a solenoid, 176 is a valve room. In an electromagnetic valve like this, when the solenoid 175 is energized, the armature 174 is pulled up and the valve body 171 is lifted up by a distance L, and the lube oil supplied to the valve room 176 is sent out to an outlet passage 178. In the drawing, Ga is the air gap between the undersurface of the solenoid 175 and the upper surface of the armature 174 when said lift L is at its maximum.
    In the cylinder lubricating system shown in FIG.1, when the lube oil pressure-fedby the lube oil pump 14 is accumulated in the common lube oil feeding section 15 and each of the oil passages 16a, 16b, 16c, 16d, · · · 16n is opened by the actuation of each of the electromagnetic valves 17a, 17b, 17c, 17d, 17e, · · · , 17n each of which are controlled independently by the controller 19, the lube oil accumulated in the common lube oil feeding section 15 is supplied to each of the lubricators 12a, 12b, 12c, · · · , 12n through each of the oil passages 16a, 16b, 16c, 16d, · · · 16n to be injected to the inner surface of the cylinder liner 11.
    Reference numeral 1 is an engine rotation speed detector for detecting the rotation speed of the engine, 2 is a fuel injection quantity sensor for detecting the quantity of fuel injected into the cylinder, 3 is a crank angle sensor for detecting crank angles of engine, i.e. rotation positions of the crankshaft of engine. Reference numeral 4 is a load detecting means by which engine load(output) is calculated from the engine rotation speed detected by said engine rotation speed detector 1 and the fuel injection quantity detected by said fuel injection quantity sensor 2. Reference numeral 5 is a pressure sensor for detecting the pressure in the common lube oil feeding section.
    Reference numeral 21 are oil pressure sensors for detecting the oil pressure of eachof said lubricators 12a, 12b, 12c, · · · , 12n. Each of the pressure sensors 21 is attached to each of the oil passages 16a, 16b, 16c, 16d, · · · 16n and detects the lube oil supply pressure of each of the lubricators 12a, 12b, 12c, · · ·, 12n. It may be suitable that each of the pressure sensors 21 is provided not for eachof the oil passages 16a, 16b, 16c, 16d, · · · , 16n but one pressure sensor is provided for a plurality of the oil passages.
    The engine rotation speed detected by the engine rotation speed detector 1, the engine load detected(calculated) by the load detecting means 4, the crank angle detected by the crank angle sensor 3, the oil pressures of the lubricators 12a, 12b, 12c, · · · , 12n detected by the oil pressure sensors 21, and the oil pressure in the common lube oil feeding section detected by the pressure sensor 5 are inputted to a judging part 191(see FIG.4) of the controller 19, the judging part 191 being for judging the state of lube oil supply action.
    In the second embodiment shown in FIG.2, a plurality of said lubricators 12 are attached to one cylinder as shown by 12a, 12b, 12c, 12d, 12e, · · · , 12n, and oil passages connecting to the lubricators 12 consist of main oil passages 161, 162, 163, and 164, and branched oil passages 16a, 16b, 16c, 16d, 16e, · · ·, 16n(these being corresponding to the oil passages in the first embodiment) branching from the main oil passages 161, 162, 163, and 164 to be connected to each of the lubricators 12a, 12b, 12c, 12d, 12e, · · · ,12n. Electromagnetic valves 17 (17A, 17B) are provided to the main oil passages 161, 162, 163, and 164 respectively so that one electromagnetic valve presides lube oil supply to a plurality of lubricators(for example, the electromagnetic valve 17A presides lube oil supply to the lubricators 12a, 12b, and 12c) in order to reduce the number of the electromagnetic valves 17.
    Reference numeral 18A is a lube oil flow limiter provided in the upstream of the electromagnetic valves 17A, and 18B is a lube oil flow limiter provided in the upstream of the electromagnetic valves 17B.
    Reference numeral 21a, 21b, 21c, 21d, 21e, · · · 21n are pressure sensors for detecting lube oil supply pressures of the lubricators 12a, 12b, 12c, · · ·, 12n. These pressure sensors 21a, 21b, 21c, 21d, 21e, · · · 21n are attached to the oil passages 16a, 16b, 16c, 16d, · · · , 16n respectively to detect the lube oil supply pressure of each of the lubricators 12a, 12b, 12c, · · ·, 12n respectively. The pressure sensors 21 may be attached to the main oil passages 161, 162, 163, and 164 as shown by dotted leader lines in FIG.2.
    The lube oil supply pressures detected by the pressure sensors 21a, 21b, 21c, 21d, 21e, · · · 21n are inputted to the state of lube oil supply action judging part 191 (see FIG. 4) of the controller 19.
    The configuration other than that mentioned above is similar to that of the first embodiment shown in FIG.1 and the same constituent members are indicated by the same reference numbers.
    By the way, detectors and sensors shown in FIG.1 are not shown in FIG.2.
    In the third embodiment shown in FIG.3, a plurality of said lubricators 12 are attached to one cylinder as shown by 12a, 12b, 12c, 12d, 12e, · · · , 12n, and oil passages connecting to the lubricators 12 consist of main oil passages 161, 162, 163, and 164, and branched oil passages 16a, 16b, 16c, 16d, 16e, · · ·, 16n(these being corresponding to the oil passages in the first embodiment) branching from the main oil passages 161, 162, 163, and 164 to be connected to each of the lubricators 12a, 12b, 12c, 12d, 12e, · · · ,12n. Electromagnetic valves 17 (17A, 17B, 17C, and 17D) are provided to the main oil passages 161, 162, 163, and 164 respectively so that one electromagnetic valve presides lube oil supply to a plurality of lubricators (for example, the electromagnetic valve 17A presides lube oil supply to the lubricators 12a, 12b, and 12c).
    Reference numeral 18 is a lube oil flow limiter provided in the upstream of the electromagnetic valves 17A, 18B is a lube oil flow limiter provided in the upstream of the electromagnetic valves 17B, 18C is a lube oil flow limiter provided in the upstream of the electromagnetic valves 17C, and 18D is a lube oil flow limiter provided in the upstream of the electromagnetic valves 17D.
    The configuration mentioned above is similar to that of the second embodiment shown in FIG.2.
    In the third embodiment, oil pressure cutoff valves 24A, 24B, 24C, and 24D are attached to the main oil passages 161, 162, 163, and 164 for shutting off the communication of the oil passages 16a, 16b, 16c, 16d, 16e, · · · , 16n to the lubricators 12a, 12b, 12c, 12d, 12e, · · · , 12n so that the main oil passages161, 162, 163, and164 canbe shutoff throughactuating the cutoff valves 24A, 24B, 24C, and 24D by control signals sent from the controller or through manual operation.
    The configuration other than that mentioned above is similar to that of the second embodiment shown in FIG.2, and the same constituent members are indicated by the same reference numbers.
    Next, the operation of the first to third embodiment will be explained referring to FIG. 4 showing a control block diagram and FIG. 1 ~ FIG.3.
    In FIG.4, reference numeral 192 is a reference setting part for setting the reference for lube oil supply action, in which permissible pressure differences ΔP are set in correspondence with engine rotation speeds or engine loads, ΔP being permissible pressure differences between peak values of fluctuating lube oil supply pressures and a base lube oil supply pressure, malfunction in the lube oil supply lines including the lubricators 12a, 12b, 12c, 12d, 12e, · · ·, 12n and the electromagnetic valves 17(the electromagnetic valves 17a, 17b, 17c, 17d, 17e, · · ·, 17n in the first embodiment shown in FIG. 1, and the electromagnetic valves 17A, 17B, 17C, and 17D in the second and third embodiment) being judged on the basis of the pressure differences.
    As shown in FIG.6, the pressure difference ΔP is defined as the difference of pressure between the peak value Pp of a fluctuating lube oil supply pressure and a base lube oil supply pressure Pb.
    As the permissible pressure difference ΔP, there are set minimum permissible pressure difference Pmin and maximum permissible pressure difference Pmax in accordance with the opening period of electromagnetic valve and the oil pressure in the common lube oil feeding section, that is, with loads and rotation speeds of the engine and the the common lube oil feeding section.
    The state of lube oil supply action judging part 191 compares the pressure difference ΔP1 (detected pressure difference) calculated from the detected fluctuating lube oil supply pressure inputted from each of the pressure sensors 21 (21a, 21b, 21c, 21d, 21e, · · · 21n) and said minimum permissible pressure difference ΔPmin, judges that, when the detected pressure difference ΔP1 is equal or smaller than the minimum permissible pressure difference ΔPmin (when ΔP1 ≦ Plow) , malfunction has occurred in the lube oil supply line to which the concerned pressure sensor 21 is attached(for example, when the detected pressure difference calculated for the pressure sensor 21a is equal or smaller than the minimum permissible pressure difference ΔPmin, it is judged that malfunction has occurred to the lube oil supply line connecting to the lubricator 12a).
    The judgment is sent to an electromagnetic valve control part 193 and to an oil pressure cutoff valve control part 194. The oil pressure cutoff valve control part 194 allows the oil pressure cutoff valve 24 of the concerned lube oil supply line to be shutoff (for example, the oil pressure cutoff valve 24A is shutoff).
    With the embodiment, the timing and period of opening of each of the electromagnetic valves 17 (the electromagnetic valves17a, 17b, 17c,17d,17e, · · · , 17n or the electromagnetic valves 17A, 17B, 17C, and 17D) for controlling lube oil supply to each of the lubricators 12a, 12b, 12c, 12d, 12e, · · · ,12n are controlled in correspondence with engine loads and rotation speeds, and malfunction in supplying lube oil judged to have occurred when the pressure difference ΔP1 (detected pressure difference) between the peak pressure of the fluctuating lube oil supply pressure detected by the oil pressure sensor 21 (21a, 21b, 21c, 21d, 21e, · · · 21n) and the base lube oil supply pressure ΔP1 is equal or smaller than the minimum permissible pressure difference ΔPmin, so that whether abnormality has occurred in lube oil supply due to shortage in valve lift of the electromagnetic valve 17 or other factors can be judged quantitatively for each of the electromagnetic valves 17.
    Therefore, abnormality in lube oil supply can be detected for each of the electromagnetic valves 17 and fast recovery from the abnormality is possible.
    As described above, when malfunction occurs in some of the lubricators 12 or electromagnetic valves 17 for opening /closing the oil passages 16 connecting to the lubricators 12, the oil passages 16 connecting to the concerned lubricators 12 and electromagnetic valves 17 are shutoff by the concerned oil pressure cutoff valves 24, and malfunctioning part can be repaired to restore the normal function of lube oil supply.
    Therefore, when malfunction occurs in the lubricators 12 or electromagnetic valves 17, the concerned oil pressure cutoff valve 24 are actuated to shutoff lube oil supply to the concerned lubricators 12 and electromagnetic valves 17 while continuing engine operation, and malfunctioning part can be repaired to restore normal function without halting the operation of the engine.
    When the malfunctioning part is repaired, normal function is recovered, and a signal for releasing the actuation of the concerned oil pressure cutoff valve 24 is inputted to the controller 19, the controller allows the lube oil supply from the lubricators connected to the malfunctioning lube oil supply line to be recovered upon receiving the signal.
    By composing like this, when the malfunctioning part of the lubricator 12 or electromagnetic valve 17 is repaired, normal function is recovered, and the actuation of the oil pressure cutoff valve is released, the lubricator 12 and electromagnetic valve 17 are allowed to come back automatically to normal operation.
    Further, the controller 19 judges whether malfunction has occurred in the electromagnetic valves 17(the electromagnetic valves 17a, 17b, 17c, 17d, 17e, · · ·, 17n or the electromagnetic valves 17A, 17B, 17C, and 17D) and the lubricators12a, 12b, 12c, 12d, 12e, · · ·, 12n.
    That is, the controller 19 judges, when the period of time during which the detected lube oil supply pressure inputted from any of the oil pressure sensors 21 (21a, 21b, 21c, 21d, 21e, · · · 21n) exceeds a predetermined threshold value is longer than a permissible period of time, that malfunction has occurred in the concerned electromagnetic valve 17.
    Further, the controller 19 judges, when any of the pressure difference ΔP1 (detected pressure difference) between the peak pressure Pp of the detected lube oil supply pressure inputted from any of the oil pressure sensors 21(21a, 21b, 21c, 21d, 21e, · · · , 21n) and the lube oil pressure detected by the pressure sensor 5 for detecting the pressure in the common lube oil feeding section 15 (the base lube oil pressure Pb may be used instead) is equal or larger than the maximum permissible pressure difference ΔPmax, that malfunction has occurred in the concerned lubricator 12 among the lubricators 12a, 12b, 12c, 12d, 12e, · · · , 12n.
    By composing like this, whether there has occurred malfunction in any of the electromagnetic valves 17 and lubricators 12 can be judged by a simple means to compare the detected lube oil supply pressure with the permissible pressures.
    According to the present invention, it is possible to supply the required amount of lube oil at required timing to each lubricator or to eachposition to be lubricated independently and to detect the occurrence of malfunction in lube oil supply action quickly and accurately.Therefore,bytaking measures to cope with the malfunction effectively, a cylinder lubricating system for an internal combustion engine capable of supplying lube oil stably in all over the operation of the engine can be provided.
    According to the invention, it is judged that malfunction has occurred when detected lube oil supply pressure exceeds the pressure of lube oil supply determined beforehand, so that whether abnormality has occurred in lube oil supply due to shortage in valve lift of the electromagnetic valve or other factors can be judged quantitatively for each of the electromagnetic valves.
    Therefore, abnormality in lube oil supply can be detected for each of the electromagnetic valves and lubricators, fast recovery from the abnormality is possible, and occurrence of wear or sticking in the inner surface of cylinder due to deteriorated lubrication as a result of the abnormality of lube oil supply action can be positively evaded.

    Claims (7)

    1. An internal combustion engine provided with a cylinder lubricating system in which lubricating oil pressure-fed by a lubricating oil pump is accommodated in a common lube oil feeding section, the lubricating oil contained in said common lube oil feeding section is supplied to a plurality of lubricators(injectors) attached to the cylinders of the engine through oil passages connecting said common lube oil feeding section to each of said lubricators respectively and injected to the inner surfaces of cylinders of the engine by said lubricators, wherein are provided a plurality of electromagnetic valves for opening or closing each of said oil passages independently; lube oil supply pressure detectors for detecting pressures of lube oil supplied to the cylinders; and a controller which controls the timing and period of opening of each of said electromagnetic valves in accordance with the load and rotation speed of the engine, compares the detected lube oil supply pressure of each of the lubricators with a permissible value of lube oil supply pressure, and judges that abnormality has occurred in lube oil supply when the detected lube oil supply pressure exceeds said permissible value.
    2. The internal combustion engine provided with a cylinder lubricating system according to claim 1, wherein said controller judges that there has occurred malfunction in lube oil supply when the pressure difference between the peak pressure and base pressure of lube oil supply based on the pressure detected by and inputted from said lube oil supply pressure detector is equal or smaller than a permissible pressure difference determined beforehand.
    3. The internal combustion engine provided with a cylinder lubricating system according to claim 1 or 2, wherein said controller determines said permissible pressure difference on the basis of the period of the electromagnetic valve and the pressure in the common lube oil feeding section.
    4. The internal combustion engine provided with a cylinder lubricating system according to one of claims 1 to 3, wherein the controller judges that malfunction has occurred in the electromagnetic valve when a period of time during which the detected lube oil supply pressure exceeds a predetermined threshold value is longer than a permissible period of time.
    5. The internal combustion engine provided with a cylinder lubricating system according to one of claims 1 to 4, wherein said controller judges that malfunction has occurred in the lubricator when the pressure difference between peak pressure of the detected lube oil supply pressure and the pressure in the common lube oil feeding section is equal or larger than a permissible pressure difference determined beforehand.
    6. An internal combustion engine provided with a cylinder lubricating system in which lubricating oil pressure-fed by a lubricating oil pump is accommodated in a common lube oil feeding section, the lubricating oil contained in said common lube oil feeding section is supplied to a plurality of lubricators(injectors) attached to the cylinders of the engine through oil passages connecting said common lube oil feeding section to each of said lubricators respectively and injected to the inner surfaces of cylinders of the engine by said lubricators, wherein are provided a plurality of electromagnetic valves for opening/closing oil passages connecting to a plurality of said lubricators respectively, oil pressure cutoff valves attached to oil passages connecting the electromagnetic valves to the common lube oil feeding section for shutting off said oil passages, and an oil cutoff valve actuating means for allowing said oil cutoff valve actuating means to actuate when malfunction occurs in lube oil supply operation performed by the lubricators and controlled by the electromagnetic valves.
    7. The internal combustion engine provided with a cylinder lubricating system according to claim 6, wherein a controller is provided which allows the lube oil supply by the lubricators to be restored upon receiving a signal to release the actuation of the oil pressure cutoff valve when it is inputted to the controller.
    EP05007869A 2004-04-16 2005-04-11 Internal combustion engine with cylinder lubricating system Withdrawn EP1586751A3 (en)

    Applications Claiming Priority (2)

    Application Number Priority Date Filing Date Title
    JP2004121098 2004-04-16
    JP2004121098A JP4031772B2 (en) 2004-04-16 2004-04-16 Internal combustion engine with cylinder lubrication device

    Publications (2)

    Publication Number Publication Date
    EP1586751A2 true EP1586751A2 (en) 2005-10-19
    EP1586751A3 EP1586751A3 (en) 2010-03-24

    Family

    ID=34934972

    Family Applications (1)

    Application Number Title Priority Date Filing Date
    EP05007869A Withdrawn EP1586751A3 (en) 2004-04-16 2005-04-11 Internal combustion engine with cylinder lubricating system

    Country Status (4)

    Country Link
    EP (1) EP1586751A3 (en)
    JP (1) JP4031772B2 (en)
    KR (1) KR100628012B1 (en)
    CN (2) CN101054914B (en)

    Cited By (8)

    * Cited by examiner, † Cited by third party
    Publication number Priority date Publication date Assignee Title
    CN101240725A (en) * 2007-02-06 2008-08-13 通用汽车环球科技运作公司 Adaptive oil pressure fault detection
    US8911217B2 (en) 2008-12-12 2014-12-16 Toyota Jidosha Kabushiki Kaisha Abnormality detecting device for hydraulic system
    DK178033B1 (en) * 2010-06-04 2015-03-30 Hans Jensen Lubricators As Hydraulic system, preferably a central lubrication system for cylinder lubrication
    WO2015144182A1 (en) * 2014-03-25 2015-10-01 Hans Jensen Lubricators A/S Method and system for dosing lubrication oil into cylinders
    DK201670585A1 (en) * 2016-08-05 2018-01-15 Hans Jensen Lubricators As Safety system for lubrication of the cylinder of a large slow-running internal combustion engine and a large slow-running two-stroke internal combustion engine
    WO2019114905A1 (en) * 2017-12-13 2019-06-20 Hans Jensen Lubricators A/S A large slow-running two-stroke engine, a method of lubricating it, and an injector with a hydraulic-driven pumping system for such engine and method
    WO2019114902A1 (en) * 2017-12-13 2019-06-20 Hans Jensen Lubricators A/S A large slow-running two-stroke engine and a method of lubricating it and a controller for such engine and method
    WO2019114903A1 (en) 2017-12-13 2019-06-20 Hans Jensen Lubricators A/S Large slow-running two-stroke engine and method of lubricating such engine, as well as an injector for such engine and method and a valve system and use thereof

    Families Citing this family (11)

    * Cited by examiner, † Cited by third party
    Publication number Priority date Publication date Assignee Title
    JP4031772B2 (en) 2004-04-16 2008-01-09 三菱重工業株式会社 Internal combustion engine with cylinder lubrication device
    KR100732957B1 (en) * 2007-03-16 2007-06-28 용원기계공업(주) Jock Lasher
    JP4913029B2 (en) * 2007-12-27 2012-04-11 株式会社金山精機製作所 Lubricating oil supply system
    US8499738B2 (en) * 2010-03-01 2013-08-06 GM Global Technology Operations LLC Control systems for a variable capacity engine oil pump
    KR101199091B1 (en) * 2010-08-31 2012-11-08 기아자동차주식회사 Control system for oil hydraulic and flow of engine and the control method thereof
    DK177258B1 (en) * 2011-03-18 2012-08-27 Hans Jensen Lubricators As Dosing system for cylinder lubricating oil for large cylinders and method for dosing cylinder lubricating oil for large cylinders
    US8739746B2 (en) * 2012-01-31 2014-06-03 Ford Global Technologies, Llc Variable oil pump diagnostic
    JP6109485B2 (en) * 2012-03-16 2017-04-05 三菱重工業株式会社 Cylinder lubrication device
    CN102852586B (en) * 2012-09-26 2015-05-27 浙江吉利汽车研究院有限公司杭州分公司 Automobile engine oil pressure monitoring method
    CN103470335B (en) * 2013-09-30 2015-07-29 南安市丰州高捷摩托车节能实用科技产品销售中心 Intelligent control cylinder lubricating device
    DE102017001913A1 (en) * 2017-02-28 2018-08-30 Man Truck & Bus Ag Method for evaluating the lubrication of a device lubricatable by means of a lubricant circuit

    Citations (1)

    * Cited by examiner, † Cited by third party
    Publication number Priority date Publication date Assignee Title
    JPS59175619U (en) 1983-05-12 1984-11-24 三菱重工業株式会社 Cylinder lubrication device

    Family Cites Families (13)

    * Cited by examiner, † Cited by third party
    Publication number Priority date Publication date Assignee Title
    ES506543A0 (en) * 1980-10-04 1982-08-16 British Petroleum Co A LUBRICATING SYSTEM FOR AN INTERNAL COMBUSTION ENGINE CYLINDER
    AU565950B2 (en) * 1982-01-16 1987-10-01 Ebara Corporation Pressure control valve and oil supply device using said valve
    JPH0784843B2 (en) 1986-12-25 1995-09-13 マツダ株式会社 Engine controller
    DK171974B1 (en) * 1988-11-01 1997-09-01 Mitsubishi Heavy Ind Ltd Lubricator for a cylinder in an internal combustion engine
    DE9115265U1 (en) * 1991-12-09 1993-04-08 Joseph Vögele AG, 6800 Mannheim Device for lubricating cylinders
    JPH0861592A (en) * 1994-08-11 1996-03-08 Mitsubishi Heavy Ind Ltd Lubricating device for cylinder
    DK173288B1 (en) * 1996-10-11 2000-06-13 Man B & W Diesel As Cylinder lubrication unit for a multi-cylinder internal combustion engine and method for controlling the amount of delivery from a cylinder
    DK173533B1 (en) 1999-01-18 2001-02-05 Man B & W Diesel As Method of lubricating a cylinder in an internal combustion engine as well as cylinder lubrication system and connecting element
    DE19959300A1 (en) * 1999-12-09 2001-06-21 Man B & W Diesel As Kopenhagen Engine has lubricant ejection devices of constant capacity and frequency of ejection processes is varied to vary quantity of lubricant delivered to cylinder surface
    DE19959309A1 (en) * 1999-12-09 2001-06-21 Man B & W Diesel As Kopenhagen Engine has switching valves next to lubricant outlets with which supply lines can be blocked or opened at times determined by controller from lubricant demand derived from measurements
    JP2001317320A (en) * 2000-05-09 2001-11-16 Honda Motor Co Ltd Internal combustion engine lubrication system
    JP4657523B2 (en) 2000-08-30 2011-03-23 本田技研工業株式会社 Oil pressure abnormality warning device for marine internal combustion engine
    JP4031772B2 (en) 2004-04-16 2008-01-09 三菱重工業株式会社 Internal combustion engine with cylinder lubrication device

    Patent Citations (1)

    * Cited by examiner, † Cited by third party
    Publication number Priority date Publication date Assignee Title
    JPS59175619U (en) 1983-05-12 1984-11-24 三菱重工業株式会社 Cylinder lubrication device

    Cited By (19)

    * Cited by examiner, † Cited by third party
    Publication number Priority date Publication date Assignee Title
    CN101240725B (en) * 2007-02-06 2013-01-02 通用汽车环球科技运作公司 Adaptive oil pressure fault detection
    CN101240725A (en) * 2007-02-06 2008-08-13 通用汽车环球科技运作公司 Adaptive oil pressure fault detection
    US8911217B2 (en) 2008-12-12 2014-12-16 Toyota Jidosha Kabushiki Kaisha Abnormality detecting device for hydraulic system
    DK178033B1 (en) * 2010-06-04 2015-03-30 Hans Jensen Lubricators As Hydraulic system, preferably a central lubrication system for cylinder lubrication
    EP2961951B2 (en) 2014-03-25 2019-10-23 Hans Jensen Lubricators A/S Method and system for dosing lubrication oil into cylinders
    WO2015144182A1 (en) * 2014-03-25 2015-10-01 Hans Jensen Lubricators A/S Method and system for dosing lubrication oil into cylinders
    EP2961951A4 (en) * 2014-03-25 2016-02-24 Hans Jensen Lubricators As METHOD AND SYSTEM FOR DETERMINING LUBRICATING OIL IN CYLINDERS
    KR20160134846A (en) * 2014-03-25 2016-11-23 한스 옌젠 루브리케이터스 에이/에스 Method and system for dosing lubricating oil into cylinders
    EP2961951B1 (en) 2014-03-25 2016-11-30 Hans Jensen Lubricators A/S Method and system for dosing lubrication oil into cylinders
    KR102216353B1 (en) 2014-03-25 2021-02-17 한스 옌젠 루브리케이터스 에이/에스 Method and system for dosing lubricating oil into cylinders
    DK201670585A1 (en) * 2016-08-05 2018-01-15 Hans Jensen Lubricators As Safety system for lubrication of the cylinder of a large slow-running internal combustion engine and a large slow-running two-stroke internal combustion engine
    DK179182B1 (en) * 2016-08-05 2018-01-15 Hans Jensen Lubricators As Safety system for lubrication of the cylinder of a large slow-running internal combustion engine and a large slow-running two-stroke internal combustion engine
    WO2019114902A1 (en) * 2017-12-13 2019-06-20 Hans Jensen Lubricators A/S A large slow-running two-stroke engine and a method of lubricating it and a controller for such engine and method
    WO2019114903A1 (en) 2017-12-13 2019-06-20 Hans Jensen Lubricators A/S Large slow-running two-stroke engine and method of lubricating such engine, as well as an injector for such engine and method and a valve system and use thereof
    WO2019114905A1 (en) * 2017-12-13 2019-06-20 Hans Jensen Lubricators A/S A large slow-running two-stroke engine, a method of lubricating it, and an injector with a hydraulic-driven pumping system for such engine and method
    CN111479987A (en) * 2017-12-13 2020-07-31 汉斯延森注油器公司 A large low-speed two-stroke engine and method for lubricating the same, and an injector with a hydraulically driven pumping system for use in such an engine and method
    KR20200096304A (en) 2017-12-13 2020-08-11 한스 옌젠 루브리케이터스 에이/에스 A valve system for lubricating large slow-running tow-stroke engine and use thereof
    KR20200096291A (en) 2017-12-13 2020-08-11 한스 옌젠 루브리케이터스 에이/에스 Large low-speed operation two-stroke engine and method of lubrication thereof, lubricant injector for the engine and method, and method of use
    EP3910169A1 (en) 2017-12-13 2021-11-17 Hans Jensen Lubricators A/S A valve system and use thereof

    Also Published As

    Publication number Publication date
    KR20060045690A (en) 2006-05-17
    CN1690374B (en) 2010-06-16
    CN101054914B (en) 2011-11-23
    JP2005299616A (en) 2005-10-27
    CN101054914A (en) 2007-10-17
    KR100628012B1 (en) 2006-09-26
    EP1586751A3 (en) 2010-03-24
    CN1690374A (en) 2005-11-02
    JP4031772B2 (en) 2008-01-09

    Similar Documents

    Publication Publication Date Title
    EP1586751A2 (en) Internal combustion engine with cylinder lubricating system
    US4499876A (en) Fuel injection control for internal combustion engines
    JP3806398B2 (en) Cylinder lubrication device
    US10677117B2 (en) Oil supply device for internal combustion engine
    EP1927744B1 (en) Fuel injection apparatus for engine and method of operating the engine equipped with the apparatus
    US8245684B2 (en) Method of oil pressure control in an engine
    JP4305394B2 (en) Fuel injection device for internal combustion engine
    US20100192898A1 (en) Oil supply system for internal combustion engine with dual mode pressure limiting valve
    JP4093696B2 (en) Depressurization regulating valve for fuel injection device
    KR100750542B1 (en) Internal combustion engine with cylinder lubricating system
    FR2746852A1 (en) METHOD FOR RECOGNIZING DERANGEMENTS IN THE OPERATION OF A FUEL INJECTION SYSTEM
    JP4930454B2 (en) Fuel supply control device and fuel supply system using the same
    CN103958872A (en) Fuel system control
    JP2017512937A (en) Method and system for injecting lubricating oil into cylinder
    US10337439B2 (en) Control method for controlling a fuel injection system, and fuel injection system
    GB2320287A (en) Controller for an injection system for a multi-cylinder internal combustion engine
    US20090039301A1 (en) Controller for Oil Control Valve
    GB2466274A (en) A lubrication system with a variable displacement oil pump and control method therefore
    KR20180084096A (en) Pressure control arrangements and methods
    EP3377738B1 (en) Pressure regulating arrangement and method
    JP4484604B2 (en) Engine fuel injection amount control method and engine operating state determination method using the same
    US20160230694A1 (en) Hybrid Fuel Injection Equipment
    US20040101420A1 (en) Solenoid regulated pump assembly
    JP5246003B2 (en) Fuel supply control device and fuel supply system using the same
    JP2012092696A (en) Fail-safe control device of hydraulic-driven variable valve mechanism

    Legal Events

    Date Code Title Description
    PUAI Public reference made under article 153(3) epc to a published international application that has entered the european phase

    Free format text: ORIGINAL CODE: 0009012

    17P Request for examination filed

    Effective date: 20050411

    AK Designated contracting states

    Kind code of ref document: A2

    Designated state(s): AT BE BG CH CY CZ DE DK EE ES FI FR GB GR HU IE IS IT LI LT LU MC NL PL PT RO SE SI SK TR

    AX Request for extension of the european patent

    Extension state: AL BA HR LV MK YU

    PUAL Search report despatched

    Free format text: ORIGINAL CODE: 0009013

    AK Designated contracting states

    Kind code of ref document: A3

    Designated state(s): AT BE BG CH CY CZ DE DK EE ES FI FR GB GR HU IE IS IT LI LT LU MC NL PL PT RO SE SI SK TR

    AX Request for extension of the european patent

    Extension state: AL BA HR LV MK YU

    AKX Designation fees paid

    Designated state(s): CH DE DK LI

    17Q First examination report despatched

    Effective date: 20101123

    STAA Information on the status of an ep patent application or granted ep patent

    Free format text: STATUS: THE APPLICATION IS DEEMED TO BE WITHDRAWN

    18D Application deemed to be withdrawn

    Effective date: 20161214