EP1574461A2 - Disposable worn article and method for producing the same - Google Patents

Disposable worn article and method for producing the same Download PDF

Info

Publication number
EP1574461A2
EP1574461A2 EP05010750A EP05010750A EP1574461A2 EP 1574461 A2 EP1574461 A2 EP 1574461A2 EP 05010750 A EP05010750 A EP 05010750A EP 05010750 A EP05010750 A EP 05010750A EP 1574461 A2 EP1574461 A2 EP 1574461A2
Authority
EP
European Patent Office
Prior art keywords
web
rotation
section
elastic member
guide
Prior art date
Legal status (The legal status is an assumption and is not a legal conclusion. Google has not performed a legal analysis and makes no representation as to the accuracy of the status listed.)
Granted
Application number
EP05010750A
Other languages
German (de)
French (fr)
Other versions
EP1574461A3 (en
EP1574461B1 (en
Inventor
Masaki Nakakado
Yuzo Ichiura
Satoshi Tanaka
Ikuo Tachibana
Current Assignee (The listed assignees may be inaccurate. Google has not performed a legal analysis and makes no representation or warranty as to the accuracy of the list.)
Zuiko Corp
Original Assignee
Zuiko Corp
Priority date (The priority date is an assumption and is not a legal conclusion. Google has not performed a legal analysis and makes no representation as to the accuracy of the date listed.)
Filing date
Publication date
Family has litigation
First worldwide family litigation filed litigation Critical https://patents.darts-ip.com/?family=26605060&utm_source=google_patent&utm_medium=platform_link&utm_campaign=public_patent_search&patent=EP1574461(A2) "Global patent litigation dataset” by Darts-ip is licensed under a Creative Commons Attribution 4.0 International License.
Application filed by Zuiko Corp filed Critical Zuiko Corp
Publication of EP1574461A2 publication Critical patent/EP1574461A2/en
Publication of EP1574461A3 publication Critical patent/EP1574461A3/en
Application granted granted Critical
Publication of EP1574461B1 publication Critical patent/EP1574461B1/en
Anticipated expiration legal-status Critical
Expired - Lifetime legal-status Critical Current

Links

Images

Classifications

    • DTEXTILES; PAPER
    • D06TREATMENT OF TEXTILES OR THE LIKE; LAUNDERING; FLEXIBLE MATERIALS NOT OTHERWISE PROVIDED FOR
    • D06JPLEATING, KILTING OR GOFFERING TEXTILE FABRICS OR WEARING APPAREL
    • D06J1/00Pleating, kilting or goffering textile fabrics or wearing apparel
    • D06J1/02Pleating, kilting or goffering textile fabrics or wearing apparel continuously and transversely to the direction of feed
    • AHUMAN NECESSITIES
    • A61MEDICAL OR VETERINARY SCIENCE; HYGIENE
    • A61FFILTERS IMPLANTABLE INTO BLOOD VESSELS; PROSTHESES; DEVICES PROVIDING PATENCY TO, OR PREVENTING COLLAPSING OF, TUBULAR STRUCTURES OF THE BODY, e.g. STENTS; ORTHOPAEDIC, NURSING OR CONTRACEPTIVE DEVICES; FOMENTATION; TREATMENT OR PROTECTION OF EYES OR EARS; BANDAGES, DRESSINGS OR ABSORBENT PADS; FIRST-AID KITS
    • A61F13/00Bandages or dressings; Absorbent pads
    • A61F13/15Absorbent pads, e.g. sanitary towels, swabs or tampons for external or internal application to the body; Supporting or fastening means therefor; Tampon applicators
    • A61F13/15577Apparatus or processes for manufacturing
    • A61F13/15585Apparatus or processes for manufacturing of babies' napkins, e.g. diapers
    • A61F13/15593Apparatus or processes for manufacturing of babies' napkins, e.g. diapers having elastic ribbons fixed thereto; Devices for applying the ribbons
    • A61F13/15601Apparatus or processes for manufacturing of babies' napkins, e.g. diapers having elastic ribbons fixed thereto; Devices for applying the ribbons the ribbons being applied transversely to the direction of the movement of the webs the diapers are being made of
    • AHUMAN NECESSITIES
    • A61MEDICAL OR VETERINARY SCIENCE; HYGIENE
    • A61FFILTERS IMPLANTABLE INTO BLOOD VESSELS; PROSTHESES; DEVICES PROVIDING PATENCY TO, OR PREVENTING COLLAPSING OF, TUBULAR STRUCTURES OF THE BODY, e.g. STENTS; ORTHOPAEDIC, NURSING OR CONTRACEPTIVE DEVICES; FOMENTATION; TREATMENT OR PROTECTION OF EYES OR EARS; BANDAGES, DRESSINGS OR ABSORBENT PADS; FIRST-AID KITS
    • A61F13/00Bandages or dressings; Absorbent pads
    • A61F13/15Absorbent pads, e.g. sanitary towels, swabs or tampons for external or internal application to the body; Supporting or fastening means therefor; Tampon applicators
    • A61F13/15577Apparatus or processes for manufacturing
    • A61F13/15707Mechanical treatment, e.g. notching, twisting, compressing, shaping
    • A61F13/15747Folding; Pleating; Coiling; Stacking; Packaging
    • AHUMAN NECESSITIES
    • A61MEDICAL OR VETERINARY SCIENCE; HYGIENE
    • A61FFILTERS IMPLANTABLE INTO BLOOD VESSELS; PROSTHESES; DEVICES PROVIDING PATENCY TO, OR PREVENTING COLLAPSING OF, TUBULAR STRUCTURES OF THE BODY, e.g. STENTS; ORTHOPAEDIC, NURSING OR CONTRACEPTIVE DEVICES; FOMENTATION; TREATMENT OR PROTECTION OF EYES OR EARS; BANDAGES, DRESSINGS OR ABSORBENT PADS; FIRST-AID KITS
    • A61F13/00Bandages or dressings; Absorbent pads
    • A61F13/15Absorbent pads, e.g. sanitary towels, swabs or tampons for external or internal application to the body; Supporting or fastening means therefor; Tampon applicators
    • A61F13/15577Apparatus or processes for manufacturing
    • A61F13/15764Transferring, feeding or handling devices; Drives
    • AHUMAN NECESSITIES
    • A61MEDICAL OR VETERINARY SCIENCE; HYGIENE
    • A61FFILTERS IMPLANTABLE INTO BLOOD VESSELS; PROSTHESES; DEVICES PROVIDING PATENCY TO, OR PREVENTING COLLAPSING OF, TUBULAR STRUCTURES OF THE BODY, e.g. STENTS; ORTHOPAEDIC, NURSING OR CONTRACEPTIVE DEVICES; FOMENTATION; TREATMENT OR PROTECTION OF EYES OR EARS; BANDAGES, DRESSINGS OR ABSORBENT PADS; FIRST-AID KITS
    • A61F13/00Bandages or dressings; Absorbent pads
    • A61F13/15Absorbent pads, e.g. sanitary towels, swabs or tampons for external or internal application to the body; Supporting or fastening means therefor; Tampon applicators
    • A61F13/45Absorbent pads, e.g. sanitary towels, swabs or tampons for external or internal application to the body; Supporting or fastening means therefor; Tampon applicators characterised by the shape
    • A61F13/49Absorbent pads, e.g. sanitary towels, swabs or tampons for external or internal application to the body; Supporting or fastening means therefor; Tampon applicators characterised by the shape specially adapted to be worn around the waist, e.g. diapers, nappies
    • A61F13/49007Form-fitting, self-adjusting disposable diapers
    • A61F13/49009Form-fitting, self-adjusting disposable diapers with elastic means
    • A61F13/49011Form-fitting, self-adjusting disposable diapers with elastic means the elastic means is located at the waist region
    • BPERFORMING OPERATIONS; TRANSPORTING
    • B65CONVEYING; PACKING; STORING; HANDLING THIN OR FILAMENTARY MATERIAL
    • B65GTRANSPORT OR STORAGE DEVICES, e.g. CONVEYORS FOR LOADING OR TIPPING, SHOP CONVEYOR SYSTEMS OR PNEUMATIC TUBE CONVEYORS
    • B65G47/00Article or material-handling devices associated with conveyors; Methods employing such devices
    • B65G47/74Feeding, transfer, or discharging devices of particular kinds or types
    • B65G47/84Star-shaped wheels or devices having endless travelling belts or chains, the wheels or devices being equipped with article-engaging elements
    • B65G47/846Star-shaped wheels or wheels equipped with article-engaging elements
    • B65G47/848Star-shaped wheels or wheels equipped with article-engaging elements the article-engaging elements being suction or magnetic means
    • BPERFORMING OPERATIONS; TRANSPORTING
    • B65CONVEYING; PACKING; STORING; HANDLING THIN OR FILAMENTARY MATERIAL
    • B65HHANDLING THIN OR FILAMENTARY MATERIAL, e.g. SHEETS, WEBS, CABLES
    • B65H39/00Associating, collating, or gathering articles or webs
    • B65H39/16Associating two or more webs
    • BPERFORMING OPERATIONS; TRANSPORTING
    • B65CONVEYING; PACKING; STORING; HANDLING THIN OR FILAMENTARY MATERIAL
    • B65HHANDLING THIN OR FILAMENTARY MATERIAL, e.g. SHEETS, WEBS, CABLES
    • B65H45/00Folding thin material
    • B65H45/02Folding limp material without application of pressure to define or form crease lines
    • B65H45/06Folding webs
    • B65H45/10Folding webs transversely
    • BPERFORMING OPERATIONS; TRANSPORTING
    • B65CONVEYING; PACKING; STORING; HANDLING THIN OR FILAMENTARY MATERIAL
    • B65HHANDLING THIN OR FILAMENTARY MATERIAL, e.g. SHEETS, WEBS, CABLES
    • B65H2301/00Handling processes for sheets or webs
    • B65H2301/30Orientation, displacement, position of the handled material
    • B65H2301/33Modifying, selecting, changing orientation
    • BPERFORMING OPERATIONS; TRANSPORTING
    • B65CONVEYING; PACKING; STORING; HANDLING THIN OR FILAMENTARY MATERIAL
    • B65HHANDLING THIN OR FILAMENTARY MATERIAL, e.g. SHEETS, WEBS, CABLES
    • B65H2301/00Handling processes for sheets or webs
    • B65H2301/30Orientation, displacement, position of the handled material
    • B65H2301/33Modifying, selecting, changing orientation
    • B65H2301/332Turning, overturning
    • B65H2301/3321Turning, overturning kinetic therefor
    • B65H2301/33216Turning, overturning kinetic therefor about an axis perpendicular to the direction of displacement and to the surface of material
    • BPERFORMING OPERATIONS; TRANSPORTING
    • B65CONVEYING; PACKING; STORING; HANDLING THIN OR FILAMENTARY MATERIAL
    • B65HHANDLING THIN OR FILAMENTARY MATERIAL, e.g. SHEETS, WEBS, CABLES
    • B65H2403/00Power transmission; Driving means
    • B65H2403/50Driving mechanisms
    • B65H2403/51Cam mechanisms
    • B65H2403/511Cam mechanisms involving cylindrical cam, i.e. cylinder with helical groove at its periphery
    • BPERFORMING OPERATIONS; TRANSPORTING
    • B65CONVEYING; PACKING; STORING; HANDLING THIN OR FILAMENTARY MATERIAL
    • B65HHANDLING THIN OR FILAMENTARY MATERIAL, e.g. SHEETS, WEBS, CABLES
    • B65H2403/00Power transmission; Driving means
    • B65H2403/50Driving mechanisms
    • B65H2403/51Cam mechanisms
    • B65H2403/512Cam mechanisms involving radial plate cam
    • BPERFORMING OPERATIONS; TRANSPORTING
    • B65CONVEYING; PACKING; STORING; HANDLING THIN OR FILAMENTARY MATERIAL
    • B65HHANDLING THIN OR FILAMENTARY MATERIAL, e.g. SHEETS, WEBS, CABLES
    • B65H2404/00Parts for transporting or guiding the handled material
    • B65H2404/40Shafts, cylinders, drums, spindles
    • B65H2404/41Details of cross section profile
    • B65H2404/412Details of cross section profile made of circular segments
    • B65H2404/4121Details of cross section profile made of circular segments moving relatively to each other during rotation
    • BPERFORMING OPERATIONS; TRANSPORTING
    • B65CONVEYING; PACKING; STORING; HANDLING THIN OR FILAMENTARY MATERIAL
    • B65HHANDLING THIN OR FILAMENTARY MATERIAL, e.g. SHEETS, WEBS, CABLES
    • B65H2406/00Means using fluid
    • B65H2406/30Suction means
    • B65H2406/34Suction grippers
    • B65H2406/345Rotary suction grippers
    • B65H2406/3452Rotary suction grippers performing reciprocating movement during rotation
    • BPERFORMING OPERATIONS; TRANSPORTING
    • B65CONVEYING; PACKING; STORING; HANDLING THIN OR FILAMENTARY MATERIAL
    • B65HHANDLING THIN OR FILAMENTARY MATERIAL, e.g. SHEETS, WEBS, CABLES
    • B65H2406/00Means using fluid
    • B65H2406/30Suction means
    • B65H2406/34Suction grippers
    • B65H2406/345Rotary suction grippers
    • B65H2406/3454Rotary suction grippers performing oscillating movement during rotation
    • YGENERAL TAGGING OF NEW TECHNOLOGICAL DEVELOPMENTS; GENERAL TAGGING OF CROSS-SECTIONAL TECHNOLOGIES SPANNING OVER SEVERAL SECTIONS OF THE IPC; TECHNICAL SUBJECTS COVERED BY FORMER USPC CROSS-REFERENCE ART COLLECTIONS [XRACs] AND DIGESTS
    • Y10TECHNICAL SUBJECTS COVERED BY FORMER USPC
    • Y10TTECHNICAL SUBJECTS COVERED BY FORMER US CLASSIFICATION
    • Y10T156/00Adhesive bonding and miscellaneous chemical manufacture
    • Y10T156/17Surface bonding means and/or assemblymeans with work feeding or handling means
    • Y10T156/1702For plural parts or plural areas of single part
    • Y10T156/1744Means bringing discrete articles into assembled relationship
    • YGENERAL TAGGING OF NEW TECHNOLOGICAL DEVELOPMENTS; GENERAL TAGGING OF CROSS-SECTIONAL TECHNOLOGIES SPANNING OVER SEVERAL SECTIONS OF THE IPC; TECHNICAL SUBJECTS COVERED BY FORMER USPC CROSS-REFERENCE ART COLLECTIONS [XRACs] AND DIGESTS
    • Y10TECHNICAL SUBJECTS COVERED BY FORMER USPC
    • Y10TTECHNICAL SUBJECTS COVERED BY FORMER US CLASSIFICATION
    • Y10T156/00Adhesive bonding and miscellaneous chemical manufacture
    • Y10T156/17Surface bonding means and/or assemblymeans with work feeding or handling means
    • Y10T156/1702For plural parts or plural areas of single part
    • Y10T156/1744Means bringing discrete articles into assembled relationship
    • Y10T156/1768Means simultaneously conveying plural articles from a single source and serially presenting them to an assembly station
    • YGENERAL TAGGING OF NEW TECHNOLOGICAL DEVELOPMENTS; GENERAL TAGGING OF CROSS-SECTIONAL TECHNOLOGIES SPANNING OVER SEVERAL SECTIONS OF THE IPC; TECHNICAL SUBJECTS COVERED BY FORMER USPC CROSS-REFERENCE ART COLLECTIONS [XRACs] AND DIGESTS
    • Y10TECHNICAL SUBJECTS COVERED BY FORMER USPC
    • Y10TTECHNICAL SUBJECTS COVERED BY FORMER US CLASSIFICATION
    • Y10T156/00Adhesive bonding and miscellaneous chemical manufacture
    • Y10T156/17Surface bonding means and/or assemblymeans with work feeding or handling means
    • Y10T156/1702For plural parts or plural areas of single part
    • Y10T156/1744Means bringing discrete articles into assembled relationship
    • Y10T156/1768Means simultaneously conveying plural articles from a single source and serially presenting them to an assembly station
    • Y10T156/1771Turret or rotary drum-type conveyor

Definitions

  • the present invention relates to a rotation device, a method for transferring a worn article, and a method for folding a web.
  • Japanese Laid-Open Patent Publication No. 63-317576 discloses a movement of a plurality of pads rotating about a predetermined axis while each of the pads changes its velocity, during a process of producing a worn article or a web (a continuous material).
  • Japanese National Phase PCT Laid-Open Publication No. 2000-514024 discloses a material engagement member reciprocating in a direction parallel to a rotation axis of a drum.
  • a rotation device having a simple structure and being capable of providing a complicated movement. It is also an object of the present invention to provide a method for transferring a worn article, a method for folding a web and a device for folding a web that can suitably employ the rotation device, and a disposable worn article produced by using the same.
  • a first rotation device of the present invention includes: an endless guide; a plurality of moving sections that slide while being guided by the guide; and a rotation member that allows the guide to rotate about an axis.
  • the plurality of moving sections are arranged in the rotation allowance direction of the rotation member; and the plurality of moving sections can slide in the direction of rotation of the rotation member or in the opposite direction by being guided by the guide.
  • a second rotation device of the present invention includes: a plurality of guides; a plurality of moving sections that slide while being guided by the plurality of guides; and a rotation member that allows the plurality of guides to rotate about an axis. Furthermore each of the moving sections is guided by at least one of the guides; and the plurality of guides is provided about the axis so as to be arranged in the rotation allowance direction of the rotation member while surrounding the axis, so that the plurality of moving sections can slide in the direction of rotation of the rotation member or the opposite direction.
  • the rotation member rotates at a high velocity along with the rotation of the moving sections. Meanwhile, each moving section rotates with respect to the guide at a low relative velocity. In this way, the friction between the moving sections and the guide is significantly reduced, thereby improving the durability of the device.
  • the rotation member is capable of an unlimited rotation, and may be a ball bearing or a roller bearing including a rolling element such as a ball or a roller.
  • the guide may be any type of guide as long as it allows the sliding movement of the moving sections in a direction including a component of the rotation allowance direction of the rotation member.
  • the term "endless guide” as used herein refers to not only a generally completely ring-shaped guide, but also to those having slight gaps in the circumferential direction, or even to those obtained by arranging guide elements, which together form one guide, so as to be spaced apart from one another at a predetermined interval. Moreover, the guide elements may overlap with one another as viewed in the axial direction.
  • the phrase "in a direction including a component of the rotation allowance direction of the rotation member” as used herein means that a guide element may be provided in an inclined direction.
  • the guide element may be a rail or a groove.
  • the phrase "a plurality of guides" means that the guides are spaced apart from one another in the direction of rotation or in the axial direction to such a degree that a moving section cannot move from one guide to another.
  • the plurality of guide elements together form one guide.
  • a controller for controlling the moving velocity of the moving sections.
  • Such a controller causes the moving sections to rotate at differing predetermined instantaneous velocities, thereby changing the pitch between the moving sections during rotation.
  • instantaneous velocity refers to a velocity in a minute period of time, meaning that each moving section rotates while changing its velocity depending on the rotational position thereof.
  • the present invention can be used with a rotation device as described in PCT International Publication WO01/44086, a method for transferring worn articles while changing the pitch thereof, a method for folding a web, or a device for folding a web.
  • a method for folding a web of the present invention is a method for folding a web by using a rotation device including a plurality of pads that rotate about a predetermined axis so as to continuously transfer the web.
  • the method includes: supplying the web onto surfaces of the rotation device pads; rotating adjacent ones of the pads onto which the web has been supplied so as to change the interval therebetween to slacken a portion of the web between the adjacent pads, thereby folding the portion of the web; and releasing the web from the pads.
  • Such a folding method can be realized using the first or second rotation devices of the present invention.
  • Other rotation devices such as that described in PCT International Publication WO01/44086 may be used in place of the rotation device including a plurality of pads.
  • a device for folding a web of the present invention is a device for folding a web to form a wall in a direction transverse to a web running direction.
  • the device includes: a transfer member for forming a slack portion in the web in the running direction thereof while continuously transferring the web; and a member for folding the slack portion so as to form the wall.
  • wall refers to a portion of a web or a sheet-like material that has been folded, regardless of whether the wall is laid down along the surface of the web or standing on the web.
  • the "transfer member” may be any member including a plurality of transfer sections for transferring the web in the web running direction, wherein the transfer velocity of one of the transfer sections is set to be lower than that of another transfer section upstream of the one of the transfer sections so as to form a slack portion in a portion of the web between the upstream and downstream transfer sections.
  • a directioning member for defining the direction in which a slack portion is to be folded.
  • slack portion refers to a portion of a web on which no tension is applied.
  • a fold-holding section for maintaining the shape or condition of a folded portion obtained by folding the slack portion.
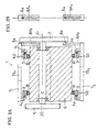
  • FIG. 1A and FIG. 1B illustrate a first embodiment of the present invention.
  • a rotation device 1 includes a rotation section B, a guide 3 and a plurality of moving sections 4 1 to 4 n .
  • the rotation device 1 also includes a driving section 2.
  • the driving section 2 inputs a rotational force to the moving sections 4 i .
  • a rotational force from a rotational power source such as a motor is transmitted to the driving section 2 via a power transmission portion 5 and a shaft 20, so that the driving section 2 rotates about an axis 0 at a constant velocity, for example.
  • the driving section 2 is axially and rotatably supported by a drum 6 via a bearing B1.
  • the axis O of the driving section 2 is eccentric to an axis C of the drum 6. Due to such an eccentric structure, it is possible to, for example, periodically change the velocity of each moving section 4 i while the driving section 2 rotates.
  • a guide 3 is attached to the drum 6 via the rotation section B such as a ball bearing and a rotation ring 50.
  • the rotation device 1 illustrated in FIG. 1A two or more endless guides 3 are provided spaced apart from each other in the axial direction of the drum 6.
  • a plurality of moving sections 4 1 to 4 i are attached to each guide 3 so that the moving sections 4 1 to 4 i are movable in the circumferential direction of the guide 3. Therefore, each moving section 4 i rotates around the drum 6 along with the guide 3 while additionally moving relative to the guide 3 around the drum 6 along the guide 3.
  • an R Guide manufactured by THK (R) Co., Ltd., as illustrated in FIG. 6A, or a Gonio Way manufactured by Nippon Bearing Co., Ltd. may suitably be employed.
  • a rolling element such as a ball or a wheel is inserted between the guide 3 and the moving section 4 i .
  • Each guide 3 may be a number of rails or grooves attached together in the circumferential direction of the rotation section B. Basically, it is preferred that the reciprocating movement is a rolling movement of a bearing, or the like, but may alternatively be a sliding movement.
  • a groove 8A i elongated in the radial direction of the drum 6 is provided, instead of the link 8i, at an end of each bridging section 7 i .
  • the groove 8A i is provided with the fixed pin 8a illustrated in FIG. 2B so that the fixed pin 8a is slidable in the radial direction. Therefore, the rotational velocity of the bridging section 7 i changes as in the first embodiment.
  • the velocity of the bridging section 7 i may be controlled by a link as illustrated in FIG. 1, or alternatively by any other controller mechanism as described above.
  • FIG. 3A to FIG. 3C schematically illustrate a third embodiment of the rotation device of the present invention.
  • the rotation device 1 illustrated in FIG. 3A includes an endless guide 3, a plurality of moving sections 4 i moving along the guide 3, and the rotation section B.
  • the rotation section B allows the guide 3 to rotate about the axis of the rotation section B.
  • the plurality of moving sections 4 i are arranged in the rotation allowance direction of the section B (i.e., the direction in which the rotation section B allows the guide 3 to rotate).
  • Each moving, section 4 i can move away from or toward an adjacent moving section 4 i , and can reciprocate along the guide 3 in the direction of rotation of the rotation section B or in the opposite direction. If the reciprocating movement is done over a particular region of the rotation section B, the guide 3 may not need to be endless.
  • a plurality of arc-shaped guides 3 may be arranged about the axis O of the rotation section B so as to be spaced apart from one another in the rotation allowance direction of the rotation section B, surrounding the axis O.
  • each of the plurality of guides 3 includes at least one moving section that is movable in the direction of rotation of the rotation member or in the opposite direction.
  • the guide 3 of FIG. 3A is rotated at a predetermined rotational velocity about the axis O by a rotational force applying member (e.g., a motor or a power transmission device), which is not shown in the figure.
  • the annular guide 3 is arranged at a predetermined position with respect to the rotation section B.
  • a plurality of moving sections 4 1 to 4 i are movably attached to the guide 3.
  • Each moving section 4 i can move along the guide 3 along with the rotation of the rotation section B.
  • the interval between a pair of adjacent moving sections changes depending on the rotational position.
  • a predetermined controller as described above may be employed to accurately control such an interval.
  • a certain level of control can be provided by, for example, the gravitational acceleration acting on the moving sections 4 i .
  • a motor may be provided for each moving section 4 i for driving the moving section 4 i along the guide 3 so that the moving section 4 i rotates at an instantaneous velocity according to a rotational angle ⁇ i .
  • the rotation section B may be optional.
  • the rotation device 1 includes the endless guide 3, and a plurality of moving sections 4 i that move while being guided by the guide 3.
  • the rotation device 1 in which the guide 3 is provided with a plurality of moving sections 4 i may have a poor friction resistance as compared with one using ball bearings, but such a rotation device 1 can be lighter in weight than rotation devices in the prior art.
  • FIG. 4 illustrates an example of a method for transferring a worn article using the rotation device 1.
  • the rotation device 1 includes pads 9 i each attracting an article N and allowing the article N to be transferred.
  • each pad 9 i may be provided in the bridging section, or the bridging section may serve as a pad (i.e., the bridging section itself may be used as a pad).
  • each pad 9 i may be fit into the attachment section 75 i of the bridging section so that the pad 9 i can rotate (e.g., about the direction normal to the drum 6), or the bridging section may serve as a pad.
  • each pad 9 i may be provided in the moving section.
  • each pad 9 i rotates at a circumferential velocity V1 that is about the same as that of the first conveyer C1 from when it comes near a pickup position RP until it passes the pickup position RP, and rotates at a circumferential velocity V2 that is about the same as that of the second conveyer C2 from when it comes near a hand-over position SP until it passes the hand-over position SP.
  • V1 circumferential velocity
  • V2 circumferential velocity
  • the pad 9 i may rotate about a normal direction CL by a predetermined angle (e.g., 90°) to change the orientation of the article N i while the pad 9 i moves from the pickup position RP to the hand-over position SP.
  • the article N i may be a final or intermediate product of a worn article such as a napkin, a disposable diaper, disposable pants or a bandage, or may be a single-layer or multilayer sheet of woven fabric, non-woven fabric, a liquid permeable sheet or a liquid impermeable sheet.
  • the intermediate product may be an absorbent or absorbents arranged over a web.
  • FIG. 5 illustrates an example of a method for folding a web W using the rotation device 1.
  • each bridging section 7 i includes the pad 9 i for attracting the web W so that the web W can be transferred.
  • the pad 9 i attracts the web W while it is moving from the position of the pad 9 1 (where the web W is received) to the pos it ion of the pad 9 3 (where a folded web is transferred) in FIG. 5.
  • the rotation device 1 forms a wheel for continuously transferring the web W, and is in contact with the surface of a belt 31 of a conveyer 30 via the web W.
  • the rotation device 1 picks up the web W traveling at a first velocity V11, and hands it over to the conveyer 30 traveling at a second velocity V21 (V11>V21 ) .
  • the belt 31 of the conveyer 30 basically transfers the web W at the circumferential velocity V21.
  • each pad 9 i rotates at the circumferential velocity V11 at the position of the pad 9 1 (where the web W is received), and slows down to the circumferential velocity V21 by the time it reaches the position of the pad 9 3 (where a folded web is transferred). Therefore, the interval between adjacent pads 9 i is shortened while the pads 9 i move from the pickup position RP to the hand-over position SP, thereby slackening the web W between the pads 9 i to form a slack portion W1.
  • the web W is supplied by being attracted onto the surface of the pad 9 1 at the pickup position RP, and then transferred along the pads 9 i of the rotation device 1. While the rotation section B rotates in the direction of an arrow Vh, the pad 9 1 moves along the guide 3 and in the opposite direction Vs, thereby reducing the interval between the pads 9 i .
  • the direction Vs is defined with respect to the guide 3. Therefore, a folded portion W2 is formed in the web W.
  • the pad 9 4 stops attracting the web W, whereby the web W including folded portions W2 at a predetermined pitch is transferred onto the conveyer 30, thereby performing a so-called "Z-shaped folding process".
  • the rotation device for performing the Z-shaped folding process may not be the rotation device 1 described above, but may alternatively be, for example, a device described in PCT International Publication WO01/44086, or a device using any other link mechanism.
  • FIG. 7A Another example of a folding device for performing the Z-shaped folding process is illustrated in FIG. 7A.
  • a rotation device 1A includes a plurality of pads 9 i . At least one suction hole 10 for attracting the web W is provided in the surface of each pad 9 i .
  • the velocity of the pad 9 i is the same as that of the web W at the pickup position RP. However, at the hand-over position SP, the velocity is lower than that at the pickup position RP. Therefore, a slack portion W1 is formed in the web W.
  • the folding device includes a directioning section 12 so as to ensure that the slack portion W1 is folded in toward the center of the rotation device 1A.
  • the directioning section 12 may be, for example, a mechanism that blows out a stream of air, a mechanism that thrusts the slack portion W1 of the web toward the center of the rotation device 1A, or a mechanism that sucks the web W toward the center of the rotation device 1A by a vacuum.
  • a mechanism that blows out a stream of air a mechanism that thrusts the slack portion W1 of the web toward the center of the rotation device 1A
  • a mechanism that sucks the web W toward the center of the rotation device 1A by a vacuum may be, for example, a mechanism that blows out a stream of air, a mechanism that thrusts the slack portion W1 of the web toward the center of the rotation device 1A, or a mechanism that sucks the web W toward the center of the rotation device 1A by a vacuum.
  • the air blowing mechanism is employed, only one directioning section 12 may be provided, or a plurality of orientation sections 12 may alternatively be provided as illustrated in FIG.
  • the width of the directioning section 12 (the length thereof in the direction perpendicular to the surface of the sheet of the figure) can be set to a value (a length in the direction perpendicular to the surface of the sheet of the figure) according to the width of the web W.
  • one or more suction holes 11 may be provided on each of the side surfaces of the pads 9 i by which the web W is to be sandwiched, i.e., on the side surfaces of each pad that face the side surfaces of the adjacent pads, so that the slack portions W1 of the web W are laid down along the side surfaces of the pads 9 i .
  • the direction in which the web is to be folded may be the direction in which theweb runs or the opposite direction.
  • the circumferential velocity of the trailing one of two pads that sandwich the web therebetween is higher than that of a conveyer in the vicinity of the hand-over position SP
  • the web is folded by the trailing pad in the running direction.
  • the leading pad is only required to move so as not to interfere with the movement of the trailing pad.
  • the circumferential velocity of the conveyer is higher than that of the leading pad in the vicinity of the hand-over position SP, the web is folded by the leading pad in the direction opposite to the running direction.
  • An applicator (an example of a fold-holding section) 13 for applying an adhesive such as a hot melt resin may be provided on the receiving side, as illustrated in FIG. 7A .
  • the applicator 13 applies an adhesive on one or both of another web Wo and the web W to be folded so as to bond the webs Wo and W together, thereby making it easier to maintain the shape of the folded portion W2.
  • the slack portion W1 of the web is sandwiched between the pad 9 i and the belt 31 of the conveyer 30, thereby forming the folded portion W2.
  • Another example of the fold-holding section provided on the receiving side may be, for example, a meshed belt 31 of the conveyer 30 capable of sucking an air therethrough by which the folded web W is received, wherein the web W is sucked by an air 100 , as illustrated in FIG. 8 , so as to maintain the shape of the folded portion W2 .
  • a belt 31 including a plurality of holes therein may be used.
  • the fold-holding section may alternatively maintain the shape of the slack portion W1 by using an electrostatic charge, or the like.
  • Each plate P i is capable of sucking the web W.
  • Each plate P i may include at least one suction hole, through which the web W is sucked. In such a case, each plate P i may be meshed.
  • the bellows-shaped folding device may have each plate P i charged with a first charge and the web with another charge that attracts the first charge, so as to attract the web W onto the plate P i .
  • theslackportion W1 is formed between the first rolls 21 and the second rolls 22.
  • the direction in which the slack portion W1 is folded is determined by the directioning section 12.
  • the directioning section 12 includes two bars 12a and 12b extending in the width direction of the web W. Broken lines in the figure represent the respective traces of the two bars.
  • the second bar 12b moves after the first bar 12a moves, thereby forming the folded portion W2 . Since the web W is made of a relatively light material such as non-woven fabric, pulp or a synthetic resin, the web W can easily be supported by the bars 12a and 12b with only one end thereof being fixedly supported.
  • FIG. 10 illustrates an example of a top sheet of a napkin, in which broken lines represent a web.
  • the walls Tw are formed in a top sheet T so as to extend in a direction generally perpendicular to the running direction X of the top sheet T being produced.
  • the running direction X being a transverse direction
  • elongated walls Tw can be formed along the oppos ing sides of the napkin.
  • FIG. 11 illustrates a top sheet (web) W of a diaper or pants before cutting.
  • the walls Tw can be formed in a direction Y transverse to a running direction X of the web W as illustrated in the figure.
  • the longitudinal direction Y of the walls Tw is transverse to the running direction X of the web W.
  • the longitudinal direction of an absorbent (core) Co denoted by a broken line is transverse to the running direction X of the web W (i.e., the production line is of a so-called "transverse flow" type).
  • every other folded portion may be folded back in the opposite direction, for example, so as to form the walls Tw illustrated in FIG. 10 and FIG. 11.
  • An elastic member for making the worn article better fit to the wearer may be provided along the wall Tw.
  • a mechanism for attaching an elastic member that is extending in the direction Y transverse to the running direction X of the web W onto the web e.g., a widening mechanism as described in Japanese Patent Application No. 12-028945
  • the elastic member may be made of at least one flat or cord rubber.
  • FIG. 13 is a diagram illustrating a portion of a bellows-shaped folding device 100 for forming bottom portions Vw that are generally flat.
  • the bellows-shaped folding device 100 includes a plurality of pads 9 i , at least one dummy pad 101, and a plurality of generally V-shaped plate pairs 102.
  • Each of the generally V-shaped plate pairs 102 includes two plats P and P, and each plate P is capable of pivoting with respect to the other about the link between the plats P and P.
  • One end of each generally V-shaped plate pair 102 is connected to the dummy pad 101 or the pad 9 i .
  • At least one of the pads 9 i , the dummy pad 101 and the generally V-shaped plate pair 102 is capable of sucking the web W onto the surface of the plats P and P and the surface of the top portion of the dummy pad 101.
  • the width Wd of the bottom portion of the wall is 1 cm or less, the web W may be sucked by using only the pads 9 i and the generally V-shaped plate pairs 102.
  • the width Wd of the bottom portion of the wall is so small, the web W can be attracted and secured only by suction by the pads 9 i and the generally V-shaped plate pairs 102.
  • FIG. 14B is a diagram illustrating the web W after cutting off the elastic member F and eliminating the slack.
  • the elastic member can be provided on the web W except for a portion W3 that has been a slack portion.
  • FIG. 15 illustrates an example of a device for intermittently introducing an elastic member F between a first web W that has been subjected to the "Z-shaped folding process" and a second web Wo.
  • the device applies an adhesive 201 on at least a portion of at least one of the first web and the second web. Then, nip rolls 200 secure the first web W, the elastic member F and the second web Wo with respect to one another.
  • the laminate obtained by the nip rolls 200 is passed to an embossing roll 203.
  • the embossing roll 203 is provided with a plurality of protrusions that cut off at least one the elastic member F of the laminate along with a portion of the second web Wo.
  • the tip of each protrusion may be sharp as disclosed in US patent application Ser. No. 09/891,034.
  • FIG. 16 is a diagram illustrating an example of a pants-shaped diaper N, which is a disposable worn article, being spread out.
  • the pants-shaped diaper N includes an absorbent Co, a front flap 300 and a back flap 301.
  • the front flap 300 and the back flap 301 include a waist gather Fw that closely fits to the wearer around the waist, and a fit gather Fb that fits to the abdominal part of the wearer.
  • the fit gather Fb is generally absent in a portion where the pants-shaped diaper and the absorbent Co overlap with each other. If there is an elastic member F in the overlapped portion, the absorbent Co shrinks, thereby deteriorating the comfort to the wearer.
  • the front or back flap 300, 301 can be produced by attaching an elastic member to a web in an intermittent manner by using the "Z-shaped folding process" described above.
  • the pants-shaped diaper may include a wall as described above.
  • the worn article described above may of course be an article other than a pants-shaped diaper, such as a diaper with adhesive tapes.
  • the elastic member described above may be a polyurethane fiber, a natural rubber or a synthetic rubber.
  • the polyurethane fiber may be LYCRA (R) manufactured by EI du Pont de Nemours and Company.
  • the elastic member may be in the form of a cord, a string or a net, or have a flat shape.
  • Rebound (R) manufactured by CONWED PLASTICS may be used as a net-shaped elastic member.
  • the bridging section is stabilized because the bridging section can then be supported at two positions.
  • the folding method or the folding device of the present invention it is possible to easily and efficiently form a folded portion or a wall in a direction transverse to the direction in which the first web is transferred.
  • a worn article including a wall formed as described above has different characteristics from those of a worn article having a wall that is parallel to the direction in which the first web is transferred.

Landscapes

  • Health & Medical Sciences (AREA)
  • Engineering & Computer Science (AREA)
  • General Health & Medical Sciences (AREA)
  • Veterinary Medicine (AREA)
  • Epidemiology (AREA)
  • Biomedical Technology (AREA)
  • Heart & Thoracic Surgery (AREA)
  • Vascular Medicine (AREA)
  • Life Sciences & Earth Sciences (AREA)
  • Animal Behavior & Ethology (AREA)
  • Public Health (AREA)
  • Manufacturing & Machinery (AREA)
  • Mechanical Engineering (AREA)
  • Textile Engineering (AREA)
  • Absorbent Articles And Supports Therefor (AREA)
  • Folding Of Thin Sheet-Like Materials, Special Discharging Devices, And Others (AREA)
  • Advancing Webs (AREA)
  • Orthopedics, Nursing, And Contraception (AREA)
  • Delivering By Means Of Belts And Rollers (AREA)
  • Auxiliary Devices For And Details Of Packaging Control (AREA)
  • Specific Conveyance Elements (AREA)
  • Attitude Control For Articles On Conveyors (AREA)
  • Warehouses Or Storage Devices (AREA)

Abstract

A rotation device includes: an endless guide; and a plurality of moving sections that move while being guided by the guide, wherein an interval between the moving sections can be changed.

Description

BACKGROUND OF THE INVENTION FIELD OF THE INVENTION
The present invention relates to a rotation device, a method for transferring a worn article, and a method for folding a web.
BACKGROUND OF THE INVENTION
Japanese Laid-Open Patent Publication No. 63-317576, for example, discloses a movement of a plurality of pads rotating about a predetermined axis while each of the pads changes its velocity, during a process of producing a worn article or a web (a continuous material). Japanese National Phase PCT Laid-Open Publication No. 2000-514024 discloses a material engagement member reciprocating in a direction parallel to a rotation axis of a drum.
When each of the pads is supported by a bearing, the same number of bearings as the number of pads are required so that the velocities of the pads can be changed individually, thereby increasing the size and/or complexity of the device.
SUMMARY OF THE INVENTION
In view of the problem in the prior art, it is an object of the present invention to provide a rotation device having a simple structure and being capable of providing a complicated movement. It is also an object of the present invention to provide a method for transferring a worn article, a method for folding a web and a device for folding a web that can suitably employ the rotation device, and a disposable worn article produced by using the same.
In order to achieve the objects set forth above, a first rotation device of the present invention includes: an endless guide; a plurality of moving sections that slide while being guided by the guide; and a rotation member that allows the guide to rotate about an axis. In addition, the plurality of moving sections are arranged in the rotation allowance direction of the rotation member; and the plurality of moving sections can slide in the direction of rotation of the rotation member or in the opposite direction by being guided by the guide.
A second rotation device of the present invention includes: a plurality of guides; a plurality of moving sections that slide while being guided by the plurality of guides; and a rotation member that allows the plurality of guides to rotate about an axis. Furthermore each of the moving sections is guided by at least one of the guides; and the plurality of guides is provided about the axis so as to be arranged in the rotation allowance direction of the rotation member while surrounding the axis, so that the plurality of moving sections can slide in the direction of rotation of the rotation member or the opposite direction.
As a rotational force having a predetermined velocity curve is applied to the moving sections, the rotation member rotates at a high velocity along with the rotation of the moving sections. Meanwhile, each moving section rotates with respect to the guide at a low relative velocity. In this way, the friction between the moving sections and the guide is significantly reduced, thereby improving the durability of the device.
Ideally, the rotation member is capable of an unlimited rotation, and may be a ball bearing or a roller bearing including a rolling element such as a ball or a roller.
The guide may be any type of guide as long as it allows the sliding movement of the moving sections in a direction including a component of the rotation allowance direction of the rotation member. The term "endless guide" as used herein refers to not only a generally completely ring-shaped guide, but also to those having slight gaps in the circumferential direction, or even to those obtained by arranging guide elements, which together form one guide, so as to be spaced apart from one another at a predetermined interval. Moreover, the guide elements may overlap with one another as viewed in the axial direction. The phrase "in a direction including a component of the rotation allowance direction of the rotation member" as used herein means that a guide element may be provided in an inclined direction. The guide element may be a rail or a groove.
In the second rotation device of the present invention, the phrase "a plurality of guides" means that the guides are spaced apart from one another in the direction of rotation or in the axial direction to such a degree that a moving section cannot move from one guide to another.
Where one moving section moves from one of a plurality of guide elements to another, the plurality of guide elements together form one guide.
In the present invention, it is preferred to provide a controller for controlling the moving velocity of the moving sections. Such a controller causes the moving sections to rotate at differing predetermined instantaneous velocities, thereby changing the pitch between the moving sections during rotation.
The term "instantaneous velocity" as used herein refers to a velocity in a minute period of time, meaning that each moving section rotates while changing its velocity depending on the rotational position thereof.
The present invention can be used with a rotation device as described in PCT International Publication WO01/44086, a method for transferring worn articles while changing the pitch thereof, a method for folding a web, or a device for folding a web.
A method for folding a web of the present invention is a method for folding a web by using a rotation device including a plurality of pads that rotate about a predetermined axis so as to continuously transfer the web. The method includes: supplying the web onto surfaces of the rotation device pads; rotating adjacent ones of the pads onto which the web has been supplied so as to change the interval therebetween to slacken a portion of the web between the adjacent pads, thereby folding the portion of the web; and releasing the web from the pads.
Such a folding method can be realized using the first or second rotation devices of the present invention. Other rotation devices such as that described in PCT International Publication WO01/44086 may be used in place of the rotation device including a plurality of pads.
A device for folding a web of the present invention is a device for folding a web to form a wall in a direction transverse to a web running direction. The device includes: a transfer member for forming a slack portion in the web in the running direction thereof while continuously transferring the web; and a member for folding the slack portion so as to form the wall.
The term "wall" as used in the present invention refers to a portion of a web or a sheet-like material that has been folded, regardless of whether the wall is laid down along the surface of the web or standing on the web.
In the folding device of the present invention, the "transfer member" may be any member including a plurality of transfer sections for transferring the web in the web running direction, wherein the transfer velocity of one of the transfer sections is set to be lower than that of another transfer section upstream of the one of the transfer sections so as to form a slack portion in a portion of the web between the upstream and downstream transfer sections.
In the present invention, it is preferred to provide a directioning member for defining the direction in which a slack portion is to be folded.
In the present invention, the term "slack portion" refers to a portion of a web on which no tension is applied.
In the present invention, it is preferred to provide a fold-holding section for maintaining the shape or condition of a folded portion obtained by folding the slack portion.
BRIEF DESCRIPTION OF THE DRAWINGS
  • FIG. 1A is a schematic cross-sectional view illustrating a first embodiment of the rotation device of the present invention.
  • FIG. 1B is a side view illustrating the first embodiment of the rotation device of the present invention.
  • FIG. 2A is a schematic cross-sectional view illustrating a second embodiment of the rotation device of the present invention.
  • FIG. 2B is a side view illustrating a portion of a fixed pin and groove arrangement for controlling a rotational velocity of a bridging section according to the second embodiment of the invention.
  • FIG. 3A is a schematic cross-sectional view illustrating a third embodiment of the rotation device of the present invention.
  • FIG. 3B is a schematic perspective view illustrating an example where a plurality of guides are provided in a concentric manner.
  • FIG. 3C is a schematic perspective view illustrating another example where a plurality of guides are provided so as to be spaced apart from each other in the axial direction of an axis O.
  • FIG. 4 is a schematic side view illustrating a transfer device.
  • FIG. 5 is a schematic side view illustrating a folding device.
  • FIG. 6A is a perspective view illustrating an example of a guide and a moving section.
  • FIG. 6B is a perspective view illustrating another example of a guide and a moving section.
  • FIG. 7A is a schematic view illustrating a variation of a folding device.
  • FIG. 7B is a diagram illustrating plates between two pads being in a spread formation.
  • FIG. 7C is a diagram illustrating plates being folded into a bellows-like shape.
  • FIG. 7D is an enlarged view illustrating plates between two pads.
  • FIG. 8 is a schematic diagram illustrating another variation of a folding device.
  • FIG. 9 is a schematic diagram illustrating another embodiment of a folding device.
  • FIG. 10 is a perspective view illustrating an example of a top sheet.
  • FIG. 11 is a perspective view illustrating an example of a top sheet before cutting.
  • FIG. 12 is a perspective view illustrating another example of a top sheet before cutting.
  • FIG. 13 is a diagram illustrating a portion of another example of a bellows-shaped folding device.
  • FIG. 14A is a diagram illustrating an elastic member being introduced so as to extend across a slack portion that has been obtained through a "Z-shaped folding process".
  • FIG. 14B is a diagram illustrating a web after cutting off the elastic member and removing the slack.
  • FIG. 15 is a diagram illustrating an example of a device for intermittently introducing an elastic member between a first web that has been subjected to a "Z-shaped folding process" and a second web.
  • FIG. 16 is a diagram illustrating an example of a pants-shaped diaper, which is a disposable worn article, being spread out.
  • DESCRIPTION OF THE PREFERRED EMBODIMENTS
    Embodiments of the present invention will now be described with reference to the drawings.
    FIG. 1A and FIG. 1B illustrate a first embodiment of the present invention.
    A rotation device 1 includes a rotation section B, a guide 3 and a plurality of moving sections 4 1 to 4 n . In the present embodiment, the rotation device 1 also includes a driving section 2.
    The driving section 2 inputs a rotational force to the moving sections 4 i . A rotational force from a rotational power source such as a motor is transmitted to the driving section 2 via a power transmission portion 5 and a shaft 20, so that the driving section 2 rotates about an axis 0 at a constant velocity, for example. The driving section 2 is axially and rotatably supported by a drum 6 via a bearing B1. The axis O of the driving section 2 is eccentric to an axis C of the drum 6. Due to such an eccentric structure, it is possible to, for example, periodically change the velocity of each moving section 4 i while the driving section 2 rotates.
    A guide 3 is attached to the drum 6 via the rotation section B such as a ball bearing and a rotation ring 50. In the rotation device 1 illustrated in FIG. 1A, two or more endless guides 3 are provided spaced apart from each other in the axial direction of the drum 6. As shown in FIG. 1B, a plurality of moving sections 4 1 to 4 i are attached to each guide 3 so that the moving sections 4 1 to 4 i are movable in the circumferential direction of the guide 3. Therefore, each moving section 4 i rotates around the drum 6 along with the guide 3 while additionally moving relative to the guide 3 around the drum 6 along the guide 3.
    For the guide 3 and the moving section 4 i , an R Guide manufactured by THK(R) Co., Ltd., as illustrated in FIG. 6A, or a Gonio Way manufactured by Nippon Bearing Co., Ltd., may suitably be employed. Preferably, a rolling element such as a ball or a wheel is inserted between the guide 3 and the moving section 4 i . Each guide 3 may be a number of rails or grooves attached together in the circumferential direction of the rotation section B. Basically, it is preferred that the reciprocating movement is a rolling movement of a bearing, or the like, but may alternatively be a sliding movement.
    In FIG. 1A, a bridging section 7 i is provided so as to extend between each pair of moving sections 4 i that are spaced apart from each other in the axial direction of the drum 6. One end of an arm 70 i is fixed to the bridging section 7 i , and a link 8i is rotatably attached to the other end of the arm 70 i .
    In the present embodiment, a controller, being capable of moving the moving sections 4i at a programmed velocity, is provided by the link 8i in combination with the eccentricity between the axes C and O. Alternatively, the controller may be provided by any other link mechanism, or a controller described in PCT International Publication WO01/44086, for example, may be used.
    One end of each link 8i is rotatably attached to the driving section 2 via a bearing B2 and a fixed pin 8a , and the other end of each link 8i is rotatably attached to the arm 70 i via a bearing B3 and a rotation pin 8b. As the driving section 2 rotates at a substantially constant velocity, the fixed pin 8a rotates, together with the driving section 2, at a substantially constant angular velocity, while the rotation pin 8b rotates around the fixed pin 8a. Thus, the angular velocity of the rotation pin 8b changes depending on the rotation angle of the rotation pin 8b. Therefore, the bridging section 7 i integral with the rotation pin 8b rotates around the drum 6 while changing the interval (pitch) with respect to an adjacent bridging section 7 i , as illustrated in FIG. 1B.
    Specifically, each bridging section 7 i rotates at a relatively low velocity while it rotates from the position of the bridging section 7 n to that of the bridging section 7 2 of FIG. 1B, whereas the bridging section 7 i rotates at a higher velocity while it rotates from the position of the bridging section 7 2 to that of the bridging section 7 n . Therefore, the spacing interval (pitch) between adjacent bridging sections 7 i changes along with the rotation of the bridging sections 7 i .
    FIG. 2A and FIG. 2B illustrate a second embodiment of the rotation device 1.
    In the present embodiment, the rotation ring 50 is coupled to each rotation section B, and an attachment section 75 i , through which a pad to be described later is inserted, is provided in a generally central portion of each bridging section 7 i . The attachment section 75 i may be a space in the form of a through hole, a notch, a depression, etc.
    Moreover, in the present embodiment, a groove 8A i elongated in the radial direction of the drum 6 is provided, instead of the link 8i, at an end of each bridging section 7 i . The groove 8A i is provided with the fixed pin 8a illustrated in FIG. 2B so that the fixed pin 8a is slidable in the radial direction. Therefore, the rotational velocity of the bridging section 7 i changes as in the first embodiment.
    In the rotation device of FIG. 2A and FIG. 2B, the velocity of the bridging section 7 i may be controlled by a link as illustrated in FIG. 1, or alternatively by any other controller mechanism as described above.
    FIG. 3A to FIG. 3C schematically illustrate a third embodiment of the rotation device of the present invention.
    The rotation device 1 illustrated in FIG. 3A includes an endless guide 3, a plurality of moving sections 4 i moving along the guide 3, and the rotation section B. The rotation section B allows the guide 3 to rotate about the axis of the rotation section B.
    The plurality of moving sections 4 i are arranged in the rotation allowance direction of the section B (i.e., the direction in which the rotation section B allows the guide 3 to rotate). Each moving, section 4 i can move away from or toward an adjacent moving section 4 i , and can reciprocate along the guide 3 in the direction of rotation of the rotation section B or in the opposite direction. If the reciprocating movement is done over a particular region of the rotation section B, the guide 3 may not need to be endless. Specifically, a plurality of arc-shaped guides 3 may be arranged about the axis O of the rotation section B so as to be spaced apart from one another in the rotation allowance direction of the rotation section B, surrounding the axis O. In such a case, each of the plurality of guides 3 includes at least one moving section that is movable in the direction of rotation of the rotation member or in the opposite direction.
    The guide 3 of FIG. 3A is rotated at a predetermined rotational velocity about the axis O by a rotational force applying member (e.g., a motor or a power transmission device), which is not shown in the figure. The annular guide 3 is arranged at a predetermined position with respect to the rotation section B. A plurality of moving sections 4 1 to 4 i are movably attached to the guide 3.
    Each moving section 4 i can move along the guide 3 along with the rotation of the rotation section B.
    The interval between a pair of adjacent moving sections (e.g., 4 2 and 4 3 ) changes depending on the rotational position. A predetermined controller as described above may be employed to accurately control such an interval. However, a certain level of control can be provided by, for example, the gravitational acceleration acting on the moving sections 4 i . Alternatively, a motor may be provided for each moving section 4 i for driving the moving section 4 i along the guide 3 so that the moving section 4 i rotates at an instantaneous velocity according to a rotational angle i.
    In the third embodiment, the rotation section B may be optional. The rotation device 1 includes the endless guide 3, and a plurality of moving sections 4 i that move while being guided by the guide 3. The rotation device 1 in which the guide 3 is provided with a plurality of moving sections 4 i may have a poor friction resistance as compared with one using ball bearings, but such a rotation device 1 can be lighter in weight than rotation devices in the prior art.
    FIG. 4 illustrates an example of a method for transferring a worn article using the rotation device 1.
    The rotation device 1 includes pads 9 i each attracting an article N and allowing the article N to be transferred. In the rotation device 1 illustrated in FIG. 1A and FIG. 1B, each pad 9 i may be provided in the bridging section, or the bridging section may serve as a pad (i.e., the bridging section itself may be used as a pad). In the rotation device 1 illustrated in FIG. 2A and FIG. 2B, each pad 9 i may be fit into the attachment section 75 i of the bridging section so that the pad 9 i can rotate (e.g., about the direction normal to the drum 6), or the bridging section may serve as a pad. In the rotation device 1 illustrated in FIG. 3A to FIG. 3C, each pad 9 i may be provided in the moving section.
    Each pad 9 i of FIG. 4 includes a plurality of suction holes for attracting the article N, and the suction holes are placed under a negative pressure to attract the article N while the pad is moving from the position of the pad 9 1 (where the article N is received from a first conveyer C1) to the position of the pad 9 3 (where the article N is handed over to a second conveyer C2). The pad 9 i may alternatively attract the article N by using an electrostatic charge, or the like.
    The first conveyer C1 is provided upstream of the rotation device 1, and the second conveyer C2 is provided downstream of the rotation device 1. The first conveyer C1 trans fers the articles N to the rotation device 1 at an interval D1.
    For example, each pad 9 i rotates at a circumferential velocity V1 that is about the same as that of the first conveyer C1 from when it comes near a pickup position RP until it passes the pickup position RP, and rotates at a circumferential velocity V2 that is about the same as that of the second conveyer C2 from when it comes near a hand-over position SP until it passes the hand-over position SP. In the rotation device 1 illustrated in FIG. 4, i.e., in a case where it is desired to increase the interval between pads, the relationship between the circumferential velocities is V2>V1. However, the relationship between the circumferential velocities is V2<V1 in a case where it is desired to shorten the interval between pads. The circumferential velocity of the second conveyer is about V2.
    As the article N 1 is transferred by the first conveyer C1 to the pickup position RP, article N 1 is attracted onto the pad 9 1 and the pad 9 1 receives the article H 1 at the pickup position RP. Then, the pad 9 1 rotates toward the hand-over position SP, where the pad 9 3 releases the article N 3 , while gradually increasing the velocity thereof. At the hand-over position SP, the pad 9 3 stops attracting the article N 3 , whereby the second conveyer C2 can easily attract and receive the article N 3 .
    In a case where a portion of the pad 9 i is rotatably fit into the attachment section of the bridging section, the pad 9 i may rotate about a normal direction CL by a predetermined angle (e.g., 90°) to change the orientation of the article N i while the pad 9 i moves from the pickup position RP to the hand-over position SP. The article N i may be a final or intermediate product of a worn article such as a napkin, a disposable diaper, disposable pants or a bandage, or may be a single-layer or multilayer sheet of woven fabric, non-woven fabric, a liquid permeable sheet or a liquid impermeable sheet. The intermediate product may be an absorbent or absorbents arranged over a web.
    FIG. 5 illustrates an example of a method for folding a web W using the rotation device 1.
    In the figure, each bridging section 7 i includes the pad 9 i for attracting the web W so that the web W can be transferred. The pad 9 i attracts the web W while it is moving from the position of the pad 9 1 (where the web W is received) to the pos it ion of the pad 9 3 (where a folded web is transferred) in FIG. 5.
    The rotation device 1 forms a wheel for continuously transferring the web W, and is in contact with the surface of a belt 31 of a conveyer 30 via the web W.
    The rotation device 1 picks up the web W traveling at a first velocity V11, and hands it over to the conveyer 30 traveling at a second velocity V21 (V11>V21 ) . The belt 31 of the conveyer 30 basically transfers the web W at the circumferential velocity V21. Specifically, each pad 9 i rotates at the circumferential velocity V11 at the position of the pad 9 1 (where the web W is received), and slows down to the circumferential velocity V21 by the time it reaches the position of the pad 9 3 (where a folded web is transferred). Therefore, the interval between adjacent pads 9 i is shortened while the pads 9 i move from the pickup position RP to the hand-over position SP, thereby slackening the web W between the pads 9 i to form a slack portion W1.
    Next, the operation will be described. The web W is supplied by being attracted onto the surface of the pad 9 1 at the pickup position RP, and then transferred along the pads 9 i of the rotation device 1. While the rotation section B rotates in the direction of an arrow Vh, the pad 9 1 moves along the guide 3 and in the opposite direction Vs, thereby reducing the interval between the pads 9 i . The direction Vs is defined with respect to the guide 3. Therefore, a folded portion W2 is formed in the web W. After the formation of the folded portion W2, the pad 9 4 stops attracting the web W, whereby the web W including folded portions W2 at a predetermined pitch is transferred onto the conveyer 30, thereby performing a so-called "Z-shaped folding process".
    The rotation device for performing the Z-shaped folding process may not be the rotation device 1 described above, but may alternatively be, for example, a device described in PCT International Publication WO01/44086, or a device using any other link mechanism.
    Another example of a folding device for performing the Z-shaped folding process is illustrated in FIG. 7A.
    In FIG. 7A a rotation device 1A includes a plurality of pads 9 i . At least one suction hole 10 for attracting the web W is provided in the surface of each pad 9 i . The velocity of the pad 9 i is the same as that of the web W at the pickup position RP. However, at the hand-over position SP, the velocity is lower than that at the pickup position RP. Therefore, a slack portion W1 is formed in the web W. Preferably, the folding device includes a directioning section 12 so as to ensure that the slack portion W1 is folded in toward the center of the rotation device 1A.
    The directioning section 12 may be, for example, a mechanism that blows out a stream of air, a mechanism that thrusts the slack portion W1 of the web toward the center of the rotation device 1A, or a mechanism that sucks the web W toward the center of the rotation device 1A by a vacuum. Where the air blowing mechanism is employed, only one directioning section 12 may be provided, or a plurality of orientation sections 12 may alternatively be provided as illustrated in FIG. 7A. Also, where the slack portion thrusting mechanism is employed, only one directioning section 12 may be provided, or a plurality of orientation sections 12 may alternatively be provided. By providing a plurality of orientation sections 12, it is possible to reliably fold in the slack portion W1 toward the center of the rotation device 1A. The width of the directioning section 12 (the length thereof in the direction perpendicular to the surface of the sheet of the figure) can be set to a value (a length in the direction perpendicular to the surface of the sheet of the figure) according to the width of the web W.
    Moreover, one or more suction holes 11 may be provided on each of the side surfaces of the pads 9 i by which the web W is to be sandwiched, i.e., on the side surfaces of each pad that face the side surfaces of the adjacent pads, so that the slack portions W1 of the web W are laid down along the side surfaces of the pads 9 i .
    The direction in which the web is to be folded may be the direction in which theweb runs or the opposite direction. For example, in a case where the circumferential velocity of the trailing one of two pads that sandwich the web therebetween is higher than that of a conveyer in the vicinity of the hand-over position SP, the web is folded by the trailing pad in the running direction. In such a case, the leading pad is only required to move so as not to interfere with the movement of the trailing pad. In a case where the circumferential velocity of the conveyer is higher than that of the leading pad in the vicinity of the hand-over position SP, the web is folded by the leading pad in the direction opposite to the running direction.
    In the present embodiment, a side surface of each pad 9 i in the circumferential direction forms a folded portion. Specifically, the side surfaces of two adjacent pads 9 4 and 9 5 that are facing each other in the circumferential direction come close to each other at the hand-over position SP so as to fold in two the web W therebetween, thereby forming the folded portion W2.
    An applicator (an example of a fold-holding section) 13 for applying an adhesive such as a hot melt resin may be provided on the receiving side, as illustrated in FIG. 7A. The applicator 13 applies an adhesive on one or both of another web Wo and the web W to be folded so as to bond the webs Wo and W together, thereby making it easier to maintain the shape of the folded portion W2.
    Alternatively,in the present embodiment,a conveyer as illustrated in FIG. 8 may be used to maintain the shape of the folded portion W2.
    Moreover, the directioning section 12 may suck in the slack portion W1 by a stream of air as illustrated in FIG. 8. The suction by the directioning section 12 forms the slack portion W1 into a shape that is protruding from the rotation device 1A. The suction of the web W, the number of the directioning sections, etc., may be set as those for the device of FIG. 7A.
    Referring to FIG. 8, the slack portion W1 of the web is sandwiched between the pad 9 i and the belt 31 of the conveyer 30, thereby forming the folded portion W2. Another example of the fold-holding section provided on the receiving side may be, for example, a meshed belt 31 of the conveyer 30 capable of sucking an air therethrough by which the folded web W is received, wherein the web W is sucked by an air 100, as illustrated in FIG. 8, so as to maintain the shape of the folded portion W2. Instead of the meshed belt 31, a belt 31 including a plurality of holes therein may be used. Moreover, the fold-holding section may alternatively maintain the shape of the slack portion W1 by using an electrostatic charge, or the like.
    A bellows-shaped folding device for performing a bellows-shaped folding process, which is a modified version of the Z-shaped folding process, will be described with reference to FIG. 7B to FIG. 7D. The bellows-shaped folding device is capable of folding the slackened web W at a plurality of positions.
    The bellows-shaped folding device includes, in addition to the elements of the folding device of FIG. 7A, a plurality of plates P i between adjacent pads 9 i-1 and 9 i . As illustrated in FIG. 7D, the plates P i are pivotally connected to one another and to the pads 9 i via joints J i . For example, the plate P 1 is pivotally connected to the pad 9 i-1 via the joint J 1 , and the adjacent plate P 2 is pivotally connected to the plate P 1 via the joint J 2 .
    Each plate P i is capable of sucking the web W. Each plate P i may include at least one suction hole, through which the web W is sucked. In such a case, each plate P i may be meshed. Moreover, the bellows-shaped folding device may have each plate P i charged with a first charge and the web with another charge that attracts the first charge, so as to attract the web W onto the plate P i .
    Referring to FIG. 7C, as the interval between adjacent pads 9 i-1 and 9 i is shortened, the plurality of plates P i that have been in a spread formation are turned into a bellows-like shape. The joints J i between the plates P i may restrict the angle by which the connected plates P i can pivot in order to form a predetermined bellows-like shape in the web. For example, an elastic member 40 may be provided between the plates P 2 and P 3 as illustrated in FIG. 7D so as to restrict the angle by which the plates P i can pivot.
    As the interval between adjacent pads 9 i-1 and 9 i is shortened, the web W attracted onto the plates P i is bent so as to conformwith the shape of the plates P i . The slackened web W is folded so as to have top portions and bottom portions and is transferred onto the conveyer 30.
    The folded web W may be transferred onto the conveyer 30 after the interval between adjacent pads 9 i-1 and 9 i has been shortened and before the interval therebetween reaches its maximum value. In such a case, a triangular prism-shaped wall Tw is formed as illustrated, for example, in FIGs. 10 and 11.
    FIG. 9 illustrates another example of a folding device. In the figure, a pair of first rolls 21 and 21 having a high transfer speed v1 are provided upstream, with respect to the transfer direction, along the web W , and a pair of second rolls 22 and 22 having a low transfer speed v2 are provided downstream along the web W.
    Since the velocities satisfy v1>v2, theslackportion W1 is formed between the first rolls 21 and the second rolls 22. The direction in which the slack portion W1 is folded is determined by the directioning section 12. In the present embodiment, the directioning section 12 includes two bars 12a and 12b extending in the width direction of the web W. Broken lines in the figure represent the respective traces of the two bars. The second bar 12b moves after the first bar 12a moves, thereby forming the folded portion W2. Since the web W is made of a relatively light material such as non-woven fabric, pulp or a synthetic resin, the web W can easily be supported by the bars 12a and 12b with only one end thereof being fixedly supported. After the folded portion W2 is formed, the second bar 12b retracts toward the first rolls 21 before it is caught between the second rolls 22. Moreover, the first bar 12a can move in the width direction of the web W so as to extend beyond the edge of the folded portion W2.
    It is possible to produce a disposable worn article, including a napkin, a diaper and pants, with a wall formed therein, by employing the "Z-shaped folding process" as described above.
    FIG. 10 illustrates an example of a top sheet of a napkin, in which broken lines represent a web. In FIG. 10, the walls Tw are formed in a top sheet T so as to extend in a direction generally perpendicular to the running direction X of the top sheet T being produced. With the running direction X being a transverse direction, elongated walls Tw can be formed along the oppos ing sides of the napkin.
    FIG. 11 illustrates a top sheet (web) W of a diaper or pants before cutting. By slacking the web W using the folding method described above, the walls Tw can be formed in a direction Y transverse to a running direction X of the web W as illustrated in the figure. In other words, the longitudinal direction Y of the walls Tw is transverse to the running direction X of the web W. The longitudinal direction of an absorbent (core) Co denoted by a broken line is transverse to the running direction X of the web W (i.e., the production line is of a so-called "transverse flow" type). Therefore, it is possible to produce a diaper or pants in a transverse flow type production by cutting the web W in a direction transverse to the running direction (the X direction) as indicated by a two-dot chain line. As is well known in the art, a liquid impermeable back sheet, in addition to the absorbent Co, can be layered on the liquid permeable top sheet. The wall Tw alternatively be formed on the absorbent Co. The wall Tw may be formed in the vicinity of an end of the absorbent Co, or a plurality of walls Tw may be formed in the vicinity of the end of the absorbent Co.
    While the web is folded in a certain direction in the examples illustrated in FIG. 7A FIG. 7D and FIG. 8, every other folded portion may be folded back in the opposite direction, for example, so as to form the walls Tw illustrated in FIG. 10 and FIG. 11.
    An elastic member for making the worn article better fit to the wearer may be provided along the wall Tw. For example, a mechanism for attaching an elastic member that is extending in the direction Y transverse to the running direction X of the web W onto the web (e.g., a widening mechanism as described in Japanese Patent Application No. 12-028945) may be employed so as to provide an elastic member inside the wall Tw. The elastic member may be made of at least one flat or cord rubber.
    The wall Tw of a disposable worn article such as a napkin, a diaper or pants as described above may be formed by the bellows-shaped folding process. Moreover, in a disposable worn article such as a napkin, a diaper or pants, a plurality of top portions and bottom portions may be formed on the absorbent Co through the bellows-shaped folding process. In such a case, excrement is drawn into the bottom portions, thereby reducing a leak from the worn article.
    FIG. 12 is a diagram illustrating an example of a plurality of walls Tw formed on each absorbent Co through the bellows-shaped folding process. The walls Tw may be positioned on the absorbent Co directly, or indirectly via a sheet, or the like. The sheet may be a continuous sheet, or at least one sheet may be layered between a plurality of walls Tw and an absorbent. In order to fix the walls Tw at predetermined positions, bottom portions Vw of the walls Tw are preferably flat. Specifically, the area over which the bottom portions Vw of the walls Tw contact the sheet or the absorbent Co is preferably 50% or more of the total area of the sheet or the absorbent Co.
    FIG. 13 is a diagram illustrating a portion of a bellows-shaped folding device 100 for forming bottom portions Vw that are generally flat. The bellows-shaped folding device 100 includes a plurality of pads 9 i , at least one dummy pad 101, and a plurality of generally V-shaped plate pairs 102. Each of the generally V-shaped plate pairs 102 includes two plats P and P, and each plate P is capable of pivoting with respect to the other about the link between the plats P and P. One end of each generally V-shaped plate pair 102 is connected to the dummy pad 101 or the pad 9 i .
    At least one of the pads 9 i , the dummy pad 101 and the generally V-shaped plate pair 102 is capable of sucking the web W onto the surface of the plats P and P and the surface of the top portion of the dummy pad 101. Where the width Wd of the bottom portion of the wall is 1 cm or less, the web W may be sucked by using only the pads 9 i and the generally V-shaped plate pairs 102. When the width Wd of the bottom portion of the wall is so small, the web W can be attracted and secured only by suction by the pads 9 i and the generally V-shaped plate pairs 102.
    Preferably, the surface configuration of the pads 9 i and the dummy pads 101 is such that the surfaces of the pad 9 i and the dummy pad 101 contact the conveyer when handing over the folded web W to the conveyer.
    Moreover, it is possible to attach at least one elastic member to a web in an intermittent manner by employing the "Z-shaped folding process". Accordingly, a disposable worn article including a web with at least one elastic member attached thereto in an intermittent manner can be produced by employing the "Z-shaped folding process".
    Specifically, at least one elastic member is bonded to a web, with a slack portion having been formed therein through the "Z-shaped folding process", so that the elastic member extends across the slack portion, as illustrated in FIG. 14A. Then, the elastic member F is cut off in the vicinity of a position between one edge W11 of the slack portion W1 of the web W and the other edge W12 of the slack portion W1. The elastic member F may be cut by using a straight cutter or an embossing roll. A straight cutter, an embossing roll, or the like, can cut off the elastic member through the application of heat, pressure, or a combination thereof, for example. US patent application Ser. No. 09/891,034, PCT International Publication WO00/76444 and Japanese Laid-Open Patent Publication No. 2000-26015 are incorporated herein by reference, with respect to a cutting method using an embossing roll. Upon the cutting off of the elastic member, the slack of the web is eliminated.
    FIG. 14B is a diagram illustrating the web W after cutting off the elastic member F and eliminating the slack. In this way, the elastic member can be provided on the web W except for a portion W3 that has been a slack portion. Thus, it is possible to provide the web W with pieces of at least one elastic member F that are spaced apart from one another at a constant interval.
    An elastic member F may be sandwiched between a first web that has been subjected to the "Z-shaped folding process" and a second web. FIG. 15 illustrates an example of a device for intermittently introducing an elastic member F between a first web W that has been subjected to the "Z-shaped folding process" and a second web Wo.
    The device applies an adhesive 201 on at least a portion of at least one of the first web and the second web. Then, nip rolls 200 secure the first web W, the elastic member F and the second web Wo with respect to one another. The laminate obtained by the nip rolls 200 is passed to an embossing roll 203. The embossing roll 203 is provided with a plurality of protrusions that cut off at least one the elastic member F of the laminate along with a portion of the second web Wo. The tip of each protrusion may be sharp as disclosed in US patent application Ser. No. 09/891,034.
    The second web Wo may be provided with a slit at each position corresponding to a slack portion W1 of the first web W. When the slack W1 of first web W is eliminated, i.e., when the laminate on which the elastic member F has been cut off is placed under a tension, the second web Wo is also cut off along the slit.
    Alternatively, the second web Wo may include a slack portion. In such a case, the first web W, the elastic member F and the second web Wo are bonded together so that the position of the slack portion of the first web W corresponds to the position of the slack portion of the second web Wo. Only the elastic member F may be cut off. For example, it is possible to cut off only the elastic member F by employing an elastic member F whose melting point is lower than that of the second web Wo and embossing the laminate while heating the embossing roll 203 to a predetermined temperature. It is possible to cut off only the elastic member F with substantially no heat-induced alteration to the second web Wo if the temperature of the embossing roll 203 is higher than the melting point of the elastic member F and lower than the melting point of the second web Wo. Moreover, even when the temperature of the embossing roll 203 is higher than the melting point of the second web Wo, it is possible to cut off the elastic member before holes are created in the second web if the running velocity of the laminate is high.
    FIG. 16 is a diagram illustrating an example of a pants-shaped diaper N, which is a disposable worn article, being spread out. The pants-shaped diaper N includes an absorbent Co, a front flap 300 and a back flap 301. The front flap 300 and the back flap 301 include a waist gather Fw that closely fits to the wearer around the waist, and a fit gather Fb that fits to the abdominal part of the wearer. The fit gather Fb is generally absent in a portion where the pants-shaped diaper and the absorbent Co overlap with each other. If there is an elastic member F in the overlapped portion, the absorbent Co shrinks, thereby deteriorating the comfort to the wearer. The front or back flap 300, 301 can be produced by attaching an elastic member to a web in an intermittent manner by using the "Z-shaped folding process" described above. Note that the pants-shaped diaper may include a wall as described above. The worn article described above may of course be an article other than a pants-shaped diaper, such as a diaper with adhesive tapes.
    The elastic member described above may be a polyurethane fiber, a natural rubber or a synthetic rubber. The polyurethane fiber may be LYCRA(R) manufactured by EI du Pont de Nemours and Company. The elastic member may be in the form of a cord, a string or a net, or have a flat shape. As a net-shaped elastic member, Rebound(R) manufactured by CONWED PLASTICS may be used.
    As described above, in the rotation device of the present invention, rotation member is provided so as to allow a guide to rotate, with the guide being provided with a plurality of moving sections, whereby each moving section can slide independently. Therefore, the friction between the guide and the moving sections is significantly reduced, and thus it is possible to rotate the moving section continuously over a long period of time. Moreover, a plurality of moving sections can be provided without being spaced apart from one another in the axial direction, whereby the size of the device can be reduced.
    Moreover, when a plurality of moving sections are provided in the axial direction with a bridging section extending between the moving sections, the bridging section is stabilized because the bridging section can then be supported at two positions.
    Moreover, with the folding method or the folding device of the present invention, it is possible to easily and efficiently form a folded portion or a wall in a direction transverse to the direction in which the first web is transferred.
    A worn article including a wall formed as described above has different characteristics from those of a worn article having a wall that is parallel to the direction in which the first web is transferred.

    Claims (6)

    1. A disposable worn article, comprising a member, the member being obtained by: forming a slack portion, on which no tens ion is applied, in a continuous member in a running direction thereof, the continuous member comprising at least one of a top sheet, an absorbent and a back sheet; folding the slack portion so as to form a wall that is transverse to the running direction; and cutting the continuous member with the wall formed thereon.
    2. A method for producing a disposable worn article, comprising the steps of:
      forming a slack portion in a web;
      placing at least one elastic member so that the elastic member extends in a running direction of the web and across the slack portion, and fixing at least a portion of the elastic member; and
      cutting off the elastic member in a vicinity of the slack portion.
    3. A method for producing a disposableworn article according to claim 2, wherein the elastic member is fixed in the fixing step by being sandwiched between the web and another web.
    4. A method for producing a disposable worn article according to claim 3, wherein a slack portion is provided in the other web so that a position of the slack portion of the web corresponds to a position of the slack portion of the other web.
    5. A method for producing a disposableworn article according to claim. 3, wherein the otherweb includes a slit at a position corresponding to the slack portion of the web.
    6. A method for producing a disposable worn article according to any one of claims 2 to, 5 further comprising the step of eliminating a slack in the web after the step of cutting off the elastic member.
    EP05010750A 2000-12-01 2001-11-29 Disposable worn article and method for producing the same Expired - Lifetime EP1574461B1 (en)

    Applications Claiming Priority (5)

    Application Number Priority Date Filing Date Title
    JP2000366782 2000-12-01
    JP2000366782 2000-12-01
    JP2001085164 2001-03-23
    JP2001085164 2001-03-23
    EP01128318A EP1234787B1 (en) 2000-12-01 2001-11-29 Rotation device and method for transferring a worn article

    Related Parent Applications (2)

    Application Number Title Priority Date Filing Date
    EP01128318.1 Division 2001-11-29
    EP01128318A Division EP1234787B1 (en) 2000-12-01 2001-11-29 Rotation device and method for transferring a worn article

    Publications (3)

    Publication Number Publication Date
    EP1574461A2 true EP1574461A2 (en) 2005-09-14
    EP1574461A3 EP1574461A3 (en) 2006-03-22
    EP1574461B1 EP1574461B1 (en) 2011-07-27

    Family

    ID=26605060

    Family Applications (3)

    Application Number Title Priority Date Filing Date
    EP01128318A Expired - Lifetime EP1234787B1 (en) 2000-12-01 2001-11-29 Rotation device and method for transferring a worn article
    EP05010750A Expired - Lifetime EP1574461B1 (en) 2000-12-01 2001-11-29 Disposable worn article and method for producing the same
    EP05010746A Expired - Lifetime EP1595517B1 (en) 2000-12-01 2001-11-29 Method and device for folding a web

    Family Applications Before (1)

    Application Number Title Priority Date Filing Date
    EP01128318A Expired - Lifetime EP1234787B1 (en) 2000-12-01 2001-11-29 Rotation device and method for transferring a worn article

    Family Applications After (1)

    Application Number Title Priority Date Filing Date
    EP05010746A Expired - Lifetime EP1595517B1 (en) 2000-12-01 2001-11-29 Method and device for folding a web

    Country Status (6)

    Country Link
    US (1) US6748996B2 (en)
    EP (3) EP1234787B1 (en)
    JP (2) JP3798298B2 (en)
    CN (1) CN1162132C (en)
    AT (2) ATE517834T1 (en)
    DE (1) DE60129103T2 (en)

    Cited By (1)

    * Cited by examiner, † Cited by third party
    Publication number Priority date Publication date Assignee Title
    EP1801046A4 (en) * 2004-09-22 2008-12-24 Hallys Corp TRANSFER APPARATUS

    Families Citing this family (52)

    * Cited by examiner, † Cited by third party
    Publication number Priority date Publication date Assignee Title
    US7008497B2 (en) * 2002-08-22 2006-03-07 Zuiko Corporation Method and apparatus for producing wearing article
    BR0303717A (en) 2002-08-22 2005-04-26 Zuiko Corp Method and apparatus for producing garments
    US6942086B2 (en) * 2002-11-22 2005-09-13 The Procter & Gamble Company Transfer apparatus for transferring a workpiece from a moving anvil to a moving carrier
    US20040102756A1 (en) * 2002-11-27 2004-05-27 Yuzo Ichiura Absorbent article and method for producing the same
    US7347914B2 (en) * 2002-12-13 2008-03-25 Zuiko Corporation Method for producing an article having an elastic bonded between two webs
    US6848566B2 (en) * 2003-06-30 2005-02-01 The Procter & Gamble Company Continuously adjustable apparatus for repositioning discrete articles
    JP4524252B2 (en) * 2003-07-11 2010-08-11 株式会社瑞光 Method for manufacturing worn article
    EP1719484B1 (en) 2004-02-23 2014-11-05 Zuiko Corporation Worn article and method for producing the same
    EP1721850B1 (en) * 2004-03-05 2012-05-02 Zuiko Corporation Method and device for changing the web speed
    WO2006033369A1 (en) * 2004-09-22 2006-03-30 Hallys Corporation Conveyance device
    JP4521291B2 (en) * 2005-02-08 2010-08-11 株式会社瑞光 Wearing article manufacturing method
    JP4521294B2 (en) * 2005-02-10 2010-08-11 株式会社瑞光 Wearing article manufacturing method
    EP1866225B1 (en) * 2005-03-29 2010-09-08 Concepts For Success Web handling process and equipment
    EP1875819B1 (en) * 2005-04-28 2010-08-11 Zuiko Corporation Method of manufacturing a wearing article
    JP2010504773A (en) * 2006-09-28 2010-02-18 コンセプツ フォー サクセス−シー4エス イー.ケー. Method for producing a three-dimensionally molded product comprising a hip / thigh panel and a hoop from a semi-finished product molded into a plus mold and such product
    US8100253B2 (en) 2009-06-30 2012-01-24 The Procter & Gamble Company Methods and apparatuses for transferring discrete articles between carriers
    EP2593063B1 (en) 2010-07-15 2014-05-21 The Procter and Gamble Company Apparatus and method for folding articles
    EP2593065B1 (en) 2010-07-15 2014-06-18 The Procter and Gamble Company Method and apparatus for transporting and folding articles
    US8998788B2 (en) * 2010-07-15 2015-04-07 The Procter & Gamble Company Apparatus and method for folding articles
    WO2012009491A1 (en) 2010-07-15 2012-01-19 The Procter & Gamble Company Method and apparatus for transferring articles of different sizes
    JP5547042B2 (en) * 2010-11-16 2014-07-09 Ckd株式会社 Laminating equipment
    DE102011109292A1 (en) * 2011-08-03 2013-02-07 Paul Hartmann Ag Method for producing laminate sections for medical disposable articles and device for carrying out the method
    JP5291164B2 (en) * 2011-08-31 2013-09-18 ユニ・チャーム株式会社 Absorbent article manufacturing equipment
    GB2495101A (en) * 2011-09-28 2013-04-03 Concepts For Success C4S A method for production of diapers from continuous web material
    JP5890647B2 (en) * 2011-10-21 2016-03-22 トッパン・フォームズ株式会社 Adsorption device
    US8636136B2 (en) 2011-12-20 2014-01-28 Kimberly-Clark Worldwide, Inc. Apparatus and method for rotatably conveying and applying discrete parts to a substrate
    US8813351B2 (en) 2011-12-20 2014-08-26 Kimberly-Clark Worldwide, Inc. Apparatus and method for applying discrete parts to a moving web
    EP2626322A1 (en) 2012-02-10 2013-08-14 Nederlandse Organisatie voor toegepast -natuurwetenschappelijk onderzoek TNO A foil processing device
    US8833542B2 (en) 2012-04-16 2014-09-16 The Procter & Gamble Company Fluid systems and methods for transferring discrete articles
    US8607959B2 (en) 2012-04-16 2013-12-17 The Procter & Gamble Company Rotational assemblies and methods for transferring discrete articles
    US8820513B2 (en) 2012-04-16 2014-09-02 The Procter & Gamble Company Methods for transferring discrete articles
    US8720666B2 (en) 2012-04-16 2014-05-13 The Procter & Gamble Company Apparatuses for transferring discrete articles
    DE102012213111B4 (en) * 2012-07-26 2016-04-14 Leichtbau-Zentrum Sachsen Gmbh Method and device for the efficient production of film stacks for forming a lithium-ion battery cell
    ITBO20120407A1 (en) * 2012-07-27 2014-01-28 Gdm Spa DEVICE FOR THE TREATMENT OF A TAPE OF PACKAGING MATERIAL
    EP2911629A1 (en) 2012-10-23 2015-09-02 The Procter & Gamble Company Methods for transferring discrete articles onto a web
    US9463942B2 (en) 2013-09-24 2016-10-11 The Procter & Gamble Company Apparatus for positioning an advancing web
    ITBO20130654A1 (en) * 2013-11-27 2015-05-28 Gdm Spa TREATMENT AND APPLICATION DEVICE FOR PACKAGING OF ABSORBENT ITEMS.
    ES2904994T3 (en) 2014-10-24 2022-04-06 Joa Curt G Inc Folding apparatus and method
    JP2018502611A (en) * 2014-11-07 2018-02-01 ザ プロクター アンド ギャンブル カンパニー Method and apparatus for the manufacture of absorbent articles using a laser source
    WO2016196024A1 (en) * 2015-06-02 2016-12-08 The Procter & Gamble Company Process and apparatus for manufacturing an absorbent article using a laser source
    US9511951B1 (en) 2015-06-23 2016-12-06 The Procter & Gamble Company Methods for transferring discrete articles
    US9511952B1 (en) 2015-06-23 2016-12-06 The Procter & Gamble Company Methods for transferring discrete articles
    WO2017056952A1 (en) * 2015-09-29 2017-04-06 株式会社瑞光 Manufacturing device and manufacturing method for disposable wearable articles
    WO2017161214A1 (en) 2016-03-18 2017-09-21 The Procter & Gamble Company Apparatus for advancing and folding an absorbent article
    WO2017161213A1 (en) 2016-03-18 2017-09-21 The Procter & Gamble Company Method and apparatus for advancing and folding an absorbent article
    EP3336023B1 (en) * 2016-12-15 2019-06-26 Fameccanica.Data S.p.A. Apparatus for varying the pitch between moving articles
    CN110730646B (en) * 2017-05-16 2021-10-22 株式会社瑞光 Sheet conveying apparatus, sheet processing apparatus, and sheet conveying method and sheet processing method
    EP3647213B1 (en) * 2018-10-31 2021-03-24 Sidel Participations A labeling machine and a labeling process for applying label sheets onto articles
    CN110091540B (en) * 2019-04-25 2021-04-23 许昌裕同印刷包装有限公司 High-efficient automatic point is glued and is pasted silk ribbon system
    JP7237791B2 (en) * 2019-10-03 2023-03-13 ユニ・チャーム株式会社 Linear motor type absorbent article material conveying device and absorbent article manufacturing method
    JP7110467B1 (en) * 2021-07-30 2022-08-01 株式会社瑞光 Conveyor
    CN119873194B (en) * 2025-03-28 2025-06-17 佛山市舒韵五金制品有限公司 Handling device of hot rolled steel strip

    Family Cites Families (30)

    * Cited by examiner, † Cited by third party
    Publication number Priority date Publication date Assignee Title
    US891034A (en) 1908-02-17 1908-06-16 Eugene L Bogasch Registering device for printing-presses.
    US4227952A (en) * 1979-04-16 1980-10-14 Sabee Products, Inc. Method and apparatus for making diapers with elastic bands
    US4240866A (en) * 1979-10-18 1980-12-23 Johnson & Johnson Baby Products Company Apparatus for manufacturing a product having elastic means disposed in the transverse direction
    IT1188972B (en) 1980-12-12 1988-01-28 Gd Spa TRANSFER DEVICE FOR BAR-SHAPED ITEMS
    US4417938A (en) * 1981-11-30 1983-11-29 Kimberly-Clark Corporation Producing an elasticized garment utilizing an articulated conveyor
    EP0141338B1 (en) 1983-10-21 1989-01-11 Paul Hartmann Aktiengesellschaft Device for successively removing and applying tags from and to spaced regions on a web of material
    US4578133A (en) * 1984-11-19 1986-03-25 Kimberly-Clark Corporation Method and apparatus for applying discrete strips to a web of material
    US4726876A (en) * 1985-10-18 1988-02-23 Kimberly-Clark Corporation Apparatus for repositioning discrete articles
    US4767487A (en) 1985-10-18 1988-08-30 Kimberly-Clark Corporation Method for repositioning discrete articles
    SE462333B (en) 1987-01-23 1990-06-11 Moelnlycke Ab DEVICE FOR TRANSFER OF ARTICLES FROM A FIRST TO ANOTHER TRANSPORT ROAD
    JPH0641176B2 (en) * 1987-02-27 1994-06-01 三菱重工業株式会社 Device for intermittently attaching stretchable material to cloth-like sheet
    JPS63317576A (en) 1987-06-19 1988-12-26 Zuikou:Kk Sticking of elastic tape
    GB8801534D0 (en) 1988-01-23 1988-02-24 Wool Dev Int Creasing press
    DE3804376C1 (en) * 1988-02-12 1989-07-13 Eisele Apparate- Und Geraetebau Gmbh, 7070 Schwaebisch Gmuend, De
    JPH0751143B2 (en) 1988-04-19 1995-06-05 株式会社瑞光 How to make and attach elastic tape
    US5025910A (en) 1990-02-02 1991-06-25 Curt G. Joa, Inc. Rotary pad turner
    US5171388A (en) * 1990-04-06 1992-12-15 Kimberly-Clark Corp. Apparatus for and method of applying an elastic material to a flexible backing
    JP2761166B2 (en) * 1993-03-08 1998-06-04 トーヨー衛材株式会社 Method and apparatus for cutting elastic body
    DE4312582A1 (en) * 1993-04-17 1994-10-20 Kleber Textil Gmbh & Co Kg Method and device for the mechanical insertion and permanent fixing of folds in fabrics
    SE501157C2 (en) * 1993-04-22 1994-11-28 Moelnlycke Ab Method of creating a fold containing a rubber band in a web of layer material and apparatus therefor
    JPH0728518U (en) * 1993-06-01 1995-05-30 トーヨー衛材株式会社 Disposable pants
    US6022443A (en) 1994-01-25 2000-02-08 Kimberly-Clark Worldwide, Inc. Method and apparatus for placing discrete parts onto a moving web
    US5500063A (en) * 1994-06-28 1996-03-19 Kimberly-Clark Corporation Method of joining an elastic band to a continuously moving partially elastic substrate
    US5660657A (en) 1995-01-31 1997-08-26 Kimberly-Clark Worldwide, Inc. Composite method for fabricating garments
    IT1285911B1 (en) 1996-04-30 1998-06-26 Gd Spa PRODUCT CONVEYOR DEVICE
    SE507136C2 (en) 1996-06-28 1998-04-06 Moelnlycke Ab Application drum for use in the production of absorbent articles
    JP3545210B2 (en) 1998-07-09 2004-07-21 花王株式会社 Method for manufacturing elastic member
    EP0974323A1 (en) * 1998-07-22 2000-01-26 The Procter & Gamble Company Apparatus for transporting a continuous web, and for manipulating the web
    JP4421012B2 (en) 1999-06-16 2010-02-24 株式会社瑞光 Disposable pants and manufacturing method thereof
    ATE346001T1 (en) 1999-12-16 2006-12-15 Zuiko Corp METHOD AND DEVICE FOR CONVEYING

    Cited By (1)

    * Cited by examiner, † Cited by third party
    Publication number Priority date Publication date Assignee Title
    EP1801046A4 (en) * 2004-09-22 2008-12-24 Hallys Corp TRANSFER APPARATUS

    Also Published As

    Publication number Publication date
    EP1574461A3 (en) 2006-03-22
    DE60129103T2 (en) 2007-10-25
    EP1234787B1 (en) 2007-06-27
    EP1595517A1 (en) 2005-11-16
    US6748996B2 (en) 2004-06-15
    DE60129103D1 (en) 2007-08-09
    US20020103468A1 (en) 2002-08-01
    ATE517834T1 (en) 2011-08-15
    JP2006193337A (en) 2006-07-27
    EP1574461B1 (en) 2011-07-27
    JP3798298B2 (en) 2006-07-19
    CN1162132C (en) 2004-08-18
    CN1356097A (en) 2002-07-03
    JP2002345889A (en) 2002-12-03
    JP4531711B2 (en) 2010-08-25
    EP1595517B1 (en) 2012-10-24
    EP1234787A1 (en) 2002-08-28
    ATE365694T1 (en) 2007-07-15

    Similar Documents

    Publication Publication Date Title
    EP1574461B1 (en) Disposable worn article and method for producing the same
    US8663420B2 (en) Method and apparatus for producing wearing article
    AU2003277613B2 (en) Process and apparatus to attach elastic members to disposable wearing article being continuously manufactured
    JP3466230B2 (en) Method and apparatus for attaching an elastic member
    ES2250528T3 (en) APPARATUS AND PROCEDURE FOR MANUFACTURING ARTICLES OF PERSONAL USE.
    KR101687846B1 (en) Method and device for manufacturing composite sheet for absorptive article
    US8591682B2 (en) Manufacturing method and manufacturing apparatus for a composite sheet associated with an absorbent article
    CN102365068A (en) Apparatus and method for manufacturing absorbent article
    KR101566052B1 (en) Method and apparatus for manufacturing composite sheet
    JP4583683B2 (en) Method and apparatus for manufacturing disposable absorbent article
    TWI556800B (en) Apparatus for building
    JPH06209968A (en) Installation of waist band of paper diaper
    JPH04218158A (en) Apparatus and method for manufacturing disposable diaper
    US9629754B2 (en) Manufacturing method and manufacturing apparatus for a composite sheet associated with an absorbent article
    JP2012120571A (en) Method for manufacturing stretchable sheet
    JP6008703B2 (en) Stretchable composite sheet manufacturing apparatus and manufacturing method
    MXPA01000729A (en) Apparatus for transporting a continuous web, and for manipulating the web

    Legal Events

    Date Code Title Description
    PUAI Public reference made under article 153(3) epc to a published international application that has entered the european phase

    Free format text: ORIGINAL CODE: 0009012

    17P Request for examination filed

    Effective date: 20050518

    AC Divisional application: reference to earlier application

    Ref document number: 1234787

    Country of ref document: EP

    Kind code of ref document: P

    AK Designated contracting states

    Kind code of ref document: A2

    Designated state(s): AT BE CH CY DE DK ES FI FR GB GR IE IT LI LU MC NL PT SE TR

    PUAL Search report despatched

    Free format text: ORIGINAL CODE: 0009013

    AK Designated contracting states

    Kind code of ref document: A3

    Designated state(s): AT BE CH CY DE DK ES FI FR GB GR IE IT LI LU MC NL PT SE TR

    RAP1 Party data changed (applicant data changed or rights of an application transferred)

    Owner name: ZUIKO CORPORATION

    AKX Designation fees paid

    Designated state(s): AT BE CH CY DE DK ES FI FR GB GR IE IT LI LU MC NL PT SE TR

    17Q First examination report despatched

    Effective date: 20080212

    GRAP Despatch of communication of intention to grant a patent

    Free format text: ORIGINAL CODE: EPIDOSNIGR1

    GRAS Grant fee paid

    Free format text: ORIGINAL CODE: EPIDOSNIGR3

    GRAA (expected) grant

    Free format text: ORIGINAL CODE: 0009210

    AC Divisional application: reference to earlier application

    Ref document number: 1234787

    Country of ref document: EP

    Kind code of ref document: P

    AK Designated contracting states

    Kind code of ref document: B1

    Designated state(s): AT BE CH CY DE DK ES FI FR GB GR IE IT LI LU MC NL PT SE TR

    REG Reference to a national code

    Ref country code: GB

    Ref legal event code: FG4D

    REG Reference to a national code

    Ref country code: CH

    Ref legal event code: EP

    REG Reference to a national code

    Ref country code: DE

    Ref legal event code: R096

    Ref document number: 60145057

    Country of ref document: DE

    Effective date: 20110915

    REG Reference to a national code

    Ref country code: NL

    Ref legal event code: T3

    REG Reference to a national code

    Ref country code: AT

    Ref legal event code: MK05

    Ref document number: 517834

    Country of ref document: AT

    Kind code of ref document: T

    Effective date: 20110727

    PG25 Lapsed in a contracting state [announced via postgrant information from national office to epo]

    Ref country code: SE

    Free format text: LAPSE BECAUSE OF FAILURE TO SUBMIT A TRANSLATION OF THE DESCRIPTION OR TO PAY THE FEE WITHIN THE PRESCRIBED TIME-LIMIT

    Effective date: 20110727

    Ref country code: FI

    Free format text: LAPSE BECAUSE OF FAILURE TO SUBMIT A TRANSLATION OF THE DESCRIPTION OR TO PAY THE FEE WITHIN THE PRESCRIBED TIME-LIMIT

    Effective date: 20110727

    Ref country code: PT

    Free format text: LAPSE BECAUSE OF FAILURE TO SUBMIT A TRANSLATION OF THE DESCRIPTION OR TO PAY THE FEE WITHIN THE PRESCRIBED TIME-LIMIT

    Effective date: 20111128

    Ref country code: BE

    Free format text: LAPSE BECAUSE OF FAILURE TO SUBMIT A TRANSLATION OF THE DESCRIPTION OR TO PAY THE FEE WITHIN THE PRESCRIBED TIME-LIMIT

    Effective date: 20110727

    PG25 Lapsed in a contracting state [announced via postgrant information from national office to epo]

    Ref country code: GR

    Free format text: LAPSE BECAUSE OF FAILURE TO SUBMIT A TRANSLATION OF THE DESCRIPTION OR TO PAY THE FEE WITHIN THE PRESCRIBED TIME-LIMIT

    Effective date: 20111028

    Ref country code: AT

    Free format text: LAPSE BECAUSE OF FAILURE TO SUBMIT A TRANSLATION OF THE DESCRIPTION OR TO PAY THE FEE WITHIN THE PRESCRIBED TIME-LIMIT

    Effective date: 20110727

    Ref country code: CY

    Free format text: LAPSE BECAUSE OF FAILURE TO SUBMIT A TRANSLATION OF THE DESCRIPTION OR TO PAY THE FEE WITHIN THE PRESCRIBED TIME-LIMIT

    Effective date: 20110727

    PLBE No opposition filed within time limit

    Free format text: ORIGINAL CODE: 0009261

    STAA Information on the status of an ep patent application or granted ep patent

    Free format text: STATUS: NO OPPOSITION FILED WITHIN TIME LIMIT

    PG25 Lapsed in a contracting state [announced via postgrant information from national office to epo]

    Ref country code: MC

    Free format text: LAPSE BECAUSE OF NON-PAYMENT OF DUE FEES

    Effective date: 20111130

    Ref country code: DK

    Free format text: LAPSE BECAUSE OF FAILURE TO SUBMIT A TRANSLATION OF THE DESCRIPTION OR TO PAY THE FEE WITHIN THE PRESCRIBED TIME-LIMIT

    Effective date: 20110727

    REG Reference to a national code

    Ref country code: CH

    Ref legal event code: PL

    26N No opposition filed

    Effective date: 20120502

    GBPC Gb: european patent ceased through non-payment of renewal fee

    Effective date: 20111129

    PG25 Lapsed in a contracting state [announced via postgrant information from national office to epo]

    Ref country code: CH

    Free format text: LAPSE BECAUSE OF NON-PAYMENT OF DUE FEES

    Effective date: 20111130

    Ref country code: LI

    Free format text: LAPSE BECAUSE OF NON-PAYMENT OF DUE FEES

    Effective date: 20111130

    REG Reference to a national code

    Ref country code: FR

    Ref legal event code: ST

    Effective date: 20120731

    REG Reference to a national code

    Ref country code: DE

    Ref legal event code: R097

    Ref document number: 60145057

    Country of ref document: DE

    Effective date: 20120502

    REG Reference to a national code

    Ref country code: IE

    Ref legal event code: MM4A

    PG25 Lapsed in a contracting state [announced via postgrant information from national office to epo]

    Ref country code: GB

    Free format text: LAPSE BECAUSE OF NON-PAYMENT OF DUE FEES

    Effective date: 20111129

    Ref country code: IE

    Free format text: LAPSE BECAUSE OF NON-PAYMENT OF DUE FEES

    Effective date: 20111129

    PG25 Lapsed in a contracting state [announced via postgrant information from national office to epo]

    Ref country code: FR

    Free format text: LAPSE BECAUSE OF NON-PAYMENT OF DUE FEES

    Effective date: 20111130

    PG25 Lapsed in a contracting state [announced via postgrant information from national office to epo]

    Ref country code: ES

    Free format text: LAPSE BECAUSE OF FAILURE TO SUBMIT A TRANSLATION OF THE DESCRIPTION OR TO PAY THE FEE WITHIN THE PRESCRIBED TIME-LIMIT

    Effective date: 20111107

    PG25 Lapsed in a contracting state [announced via postgrant information from national office to epo]

    Ref country code: LU

    Free format text: LAPSE BECAUSE OF NON-PAYMENT OF DUE FEES

    Effective date: 20111129

    PG25 Lapsed in a contracting state [announced via postgrant information from national office to epo]

    Ref country code: TR

    Free format text: LAPSE BECAUSE OF FAILURE TO SUBMIT A TRANSLATION OF THE DESCRIPTION OR TO PAY THE FEE WITHIN THE PRESCRIBED TIME-LIMIT

    Effective date: 20110727

    PGFP Annual fee paid to national office [announced via postgrant information from national office to epo]

    Ref country code: NL

    Payment date: 20191120

    Year of fee payment: 19

    Ref country code: DE

    Payment date: 20191121

    Year of fee payment: 19

    PGFP Annual fee paid to national office [announced via postgrant information from national office to epo]

    Ref country code: IT

    Payment date: 20191128

    Year of fee payment: 19

    REG Reference to a national code

    Ref country code: DE

    Ref legal event code: R119

    Ref document number: 60145057

    Country of ref document: DE

    REG Reference to a national code

    Ref country code: NL

    Ref legal event code: MM

    Effective date: 20201201

    PG25 Lapsed in a contracting state [announced via postgrant information from national office to epo]

    Ref country code: NL

    Free format text: LAPSE BECAUSE OF NON-PAYMENT OF DUE FEES

    Effective date: 20201201

    PG25 Lapsed in a contracting state [announced via postgrant information from national office to epo]

    Ref country code: IT

    Free format text: LAPSE BECAUSE OF NON-PAYMENT OF DUE FEES

    Effective date: 20201129

    PG25 Lapsed in a contracting state [announced via postgrant information from national office to epo]

    Ref country code: DE

    Free format text: LAPSE BECAUSE OF NON-PAYMENT OF DUE FEES

    Effective date: 20210601