EP1565898B1 - Modularer messumformer mit galvanisch getrenntem messfühler - Google Patents
Modularer messumformer mit galvanisch getrenntem messfühler Download PDFInfo
- Publication number
- EP1565898B1 EP1565898B1 EP03780057A EP03780057A EP1565898B1 EP 1565898 B1 EP1565898 B1 EP 1565898B1 EP 03780057 A EP03780057 A EP 03780057A EP 03780057 A EP03780057 A EP 03780057A EP 1565898 B1 EP1565898 B1 EP 1565898B1
- Authority
- EP
- European Patent Office
- Prior art keywords
- electronic module
- module
- sensor module
- transmitter
- sensor
- Prior art date
- Legal status (The legal status is an assumption and is not a legal conclusion. Google has not performed a legal analysis and makes no representation as to the accuracy of the status listed.)
- Expired - Lifetime
Links
- 230000005540 biological transmission Effects 0.000 claims abstract description 14
- 230000000295 complement effect Effects 0.000 claims description 6
- 230000001939 inductive effect Effects 0.000 claims description 5
- 239000000446 fuel Substances 0.000 claims description 3
- 238000013497 data interchange Methods 0.000 abstract 1
- 238000000926 separation method Methods 0.000 abstract 1
- 239000000523 sample Substances 0.000 description 3
- 238000013480 data collection Methods 0.000 description 1
- 230000001419 dependent effect Effects 0.000 description 1
- 238000004880 explosion Methods 0.000 description 1
- 231100001261 hazardous Toxicity 0.000 description 1
- 230000001771 impaired effect Effects 0.000 description 1
- 230000008054 signal transmission Effects 0.000 description 1
- 238000002604 ultrasonography Methods 0.000 description 1
Images
Classifications
-
- G—PHYSICS
- G08—SIGNALLING
- G08C—TRANSMISSION SYSTEMS FOR MEASURED VALUES, CONTROL OR SIMILAR SIGNALS
- G08C17/00—Arrangements for transmitting signals characterised by the use of a wireless electrical link
Definitions
- the present invention relates to a modular transmitter having a sensor module and an electronic module coupled to the sensor module, wherein the sensor module is coupled via a contactless interface to the electronic module, via which the power supply of the sensor module and the data exchange between the sensor module and the electronic module.
- the interface may be designed in the manner described in European patent application no. EP 1 206 012 A2 is described, in particular inductive interfaces appear suitable.
- German Offenlegungsschrift discloses DE 13 703 854 a modular transmitter, in which a sensor is screwed to a measuring head, wherein the measuring head has a transmitting and receiving unit to wirelessly with a central Data collection unit to communicate.
- the probes such as pH electrodes, are not galvanically isolated from the probe. Rather, it is assumed that a normal metallic contact between the measuring head and the probes.
- the present invention is therefore based on the object to provide an electronic module for a modular transmitter, which overcomes the disadvantages of the prior art described.
- the object is achieved by the electronic module according to independent claim 1 and the modular transmitter according to independent claim 5.
- the modular transmitter according to the invention comprises a sensor module for detecting a measured variable and the electronic module according to the invention, wherein the sensor module and the electronic module are coupled to each other via a contactless interface, via which the power supply of the sensor module and the data exchange between the sensor module and the electronic module, wherein the electronic module further comprising a transmitting or transmitting and receiving unit for wireless data exchange with a complementary receiving or receiving and transmitting station.
- the power supply of the electronic module can be done either via a supply cable or self-sufficient, ie, for example, by photocells, by means of a battery or by means of a fuel cell. Of course they are the different forms of energy supply can be combined.
- the wireless data exchange between the electronic module and the complementary receiving or transmitting and receiving unit for example, via radio, ultrasound or light, in particular by means of infrared light.
- the selected type of data transmission depends on the particular circumstances of the application. For use in laboratory operation with short ranges in particular an infrared data transmission seems suitable, with radio transmission being preferred for systems with longer ranges.
- the data transmission over a mobile network or via satellite is suitable.
- the invention can generally be implemented with arbitrary sensors, in particular with potentiometric sensors, turbidity sensors, gas sensors, pressure sensors, level sensors, flow sensors, spectroscopic sensors, photometric sensors, temperature sensors and humidity sensors.
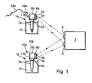
- the measuring arrangement shown comprises two modular transducers, namely a modular opacimeter 1a and a modular pH transmitter 1b.
- the two modular transducers 1a, 1b exchange data with a base station 2.
- the modular opacimeter 1a comprises an electronic module 10a which contains a circuit 8a for processing a signal received from the sensor module 7a Sensor signal includes.
- the circuit 8a may further comprise means for reading device parameters of the electronic module 10a and the sensor module 7a.
- the electronic module 10a comprises a transmission unit 9a for transmitting and receiving data to the base station 2.
- the data transmission unit comprises an infrared transmitter 3a and an infrared receiver 5a, the base station 2 having a complementary receiver 4 and transmitter 6, respectively.
- the data exchange can take place, for example, according to the IrDA standard.
- the power supply of the electronic module 10a takes place via a supply line 13a.
- the supply line 13a is used exclusively for power supply, wherein in a further embodiment, the supply line 13a at the same time redundant for data transmission z.
- B. regulation of the supply current (4 ... 20 mA) or according to the HART standard is used.
- a contactless plug connection is provided, which has a socket 11a provided on the underside of the sensor module 10a, and a plug 12a which is connected to the sensor module 7a. and engaged with the bushing 11a.
- the connector is preferably detachable. Of course, the connector can also be designed vice versa. That from the bottom of the electronic module extends a plug, and the sensor module has a plug head for receiving the plug.
- a first cylindrical coil may be arranged, wherein the plug 12a has a second cylindrical coil which is coaxial with the first cylindrical coil is arranged.
- the plug 12a and the socket 11b each have a coil with a toroidal half, wherein the end surfaces of the toroidal core halves are positioned in alignment with each other closely spaced when the plug is disposed in the socket.
- the inductive energy transfer from the electronic module to the sensor module takes place via an AC signal which is fed by the electronic module.
- the amplitude of the AC signal is preferably modulated (ASK according to the English term amplitude shift keying), but other types of modulation such as pulse width and frequency modulation are conceivable.
- the transmission of data to the sensor module takes place here by direct modulation of the injected AC signal, wherein for data transmission from the sensor module to the electronic module is a load modulation of the AC signal.
- Fig. 1 further shows a modular transmitter 1b, which is designed as a pH transmitter. It has essentially the same structure as the modular turbidity meter 1a, so that reference is made below only to differences from the turbidity meter described above.
- the sensor module 7b comprises for the pH transmitter a pH electrode, which is connected by means of the plug head 12b in the socket 11b of the contactless plug connection with the electronic module 10b.
- the power supply of the modular transmitter 1 b is decentralized, for which purpose a battery 13 b is provided in the housing of the electronic module 10 b.
- the local energy supply via a fuel cell or via a photocell.
- the assignment of the power supply types to the different sensor types is chosen only for illustration purposes and does not describe a mandatory technical connection.
Landscapes
- Engineering & Computer Science (AREA)
- Computer Networks & Wireless Communication (AREA)
- Physics & Mathematics (AREA)
- General Physics & Mathematics (AREA)
- Arrangements For Transmission Of Measured Signals (AREA)
- Measuring Pulse, Heart Rate, Blood Pressure Or Blood Flow (AREA)
- Measuring Fluid Pressure (AREA)
Description
- Die vorliegende Erfindung betrifft einen modularen Messumformer, der ein Sensormodul und ein mit dem Sensormodul gekoppeltes Elektronikmodul aufweist, wobei das Sensormodul über eine kontaktlose Schnittstelle an das Elektronikmodul gekoppelt ist, über welche die Energieversorgung des Sensormoduls und der Datenaustausch zwischen dem Sensormodul und dem Elektronikmodul erfolgt. Die Schnittstelle kann in der Art gestaltet sein, wie sie in der europäischen Patentanmeldung Nr.
EP 1 206 012 A2 beschrieben ist, wobei insbesondere induktive Schnittstellen geeignet erscheinen. - Wenngleich die in der genannten europäischen Patentanmeldung als Steckverbinder offenbarte Schnittstelle die galvanische Entkopplung zwischen dem Sensormodul und dem Elektronikmodul gewährleistet, so erfordert die dort beschriebene Lösung noch die Datenübertragung zwischen dem Elektronikmodul und einer übergeordneten Einheit, beispielsweise einer Warte, über ein Kabel.
- In besonderen Anwendungsfällen ist dies insofern nachteilhaft, als der modulare Messumformer nur schwer zugänglich ist bzw. sehr weit von der übergeordneten Einheit entfernt ist. Zudem besteht die Gefahr, dass der Datenaustausch zwischen der übergeordneten Einheit und dem Messumformer durch Beschädigung des Kabels beeinträchtigt wird. Weiterhin kann es von Nachteil sein, wenn der Messumformer galvanisch an die übergeordnete Einheit gekoppelt ist, insbesondere dann, wenn lokale Potentialschwankungen auftreten können.
- Andererseits offenbart die deutsche Offenlegungsschrift
DE 13 703 854 einen modularen Messumformer, bei dem ein Messfühler mit einem Messkopf verschraubt ist, wobei der Messkopf eine Sende- und Empfangseinheit aufweist, um drahtlos mit einer zentralen Datenerfassungseinheit zu kommunizieren. Die Messfühler, beispielsweise pH-Elektroden, sind jedoch nicht galvanisch getrennt von dem Messkopf. Vielmehr ist von einer gewöhnlichen metallischen Kontaktierung zwischen dem Messkopf und den Messfühlern auszugehen. - Dies ist insofern nachteilig, als beim Austausch von Messfühlern durch Funkenabriss Explosionsgefahr in gefährdeten Umgebungen besteht. Zudem können die Kontakte zwischen dem Messfühler und dem Messkopf korrodieren, so dass die Signalübertragung beeinträchtigt wird.
- Ein weiterer modularer Meßumformer ist aus
bekannt.WO-A-91/13417 - Der vorliegenden Erfindung liegt daher die Aufgabe zugrunde, ein Elektronikmodul für einen modularen Messumformer bereitzustellen, welches die beschriebenen Nachteile des Standes der Technik überwindet.
- Die Aufgabe wird erfindungsgemäß gelöst durch das Elektronikmodul gemäß des unabhängigen Patentanspruchs 1 sowie dem modularen Messumformer gemäß unabhängigem Patentanspruchs 5.
- Der erfindungsgemäße modulare Messumformer umfasst ein Sensormodul zum Erfassen einer Messgröße und das erfindungsgemäße Elektronikmodul, wobei das Sensormodul und das Elektronikmodul über eine kontaktlose Schnittstelle miteinander gekoppelt sind, über welche die Energieversorgung des Sensormoduls und der Datenaustausch zwischen dem Sensormodul und dem Elektronikmodul erfolgt, wobei das Elektronikmodul weiterhin eine Sende- bzw. Sende- und Empfangseinheit zum drahtlosen Datenaustausch mit einer komplementären Empfangs- bzw. Empfangs- und Sendestation aufweist.
- Die Energieversorgung des Elektronikmoduls kann entweder über ein Versorgungskabel oder autark, d.h. z. B. durch Photozellen, mittels einer Batterie oder mittels einer Brennstoffzelle erfolgen. Selbstverständlich sind die verschiedenen Formen der Energieversorgung miteinander kombinierbar.
- Der drahtlose Datenaustausch zwischen dem Elektronikmodul und der komplementären Empfangs- bzw. Sende- und Empfangseinheit kann beispielsweise über Funk, Ultraschall oder Licht, insbesondere mittels Infrarotlicht erfolgen. Die gewählte Art der Datenübertragung hängt von den besonderen Umständen des Einsatzgebietes ab. Für den Einsatz im Laborbetrieb mit kurzen Reichweiten erscheint insbesondere eine Infrarot-Datenübertragung geeignet, wobei für Systeme mit größeren Reichweiten Funkübertragung vorzuziehen ist. Für besondere Anwendungsfälle ist auch die Datenübertragung über ein Mobilfunknetz oder über Satellit geeignet.
- Die Erfindung ist generell mit beliebigen Sensoren realisierbar, insbesondere mit potentiometrischen Sensoren, Trübungssensoren, Gassensoren, Drucksensoren Füllstandssensoren, Durchflusssensoren, spektroskopischen Sensoren, Photometrischen Sensoren, Temperatursensoren und Feuchtesensoren.
- Weitere Vorteile und Gesichtspunkte der vorliegenden Erfindung ergeben sich aus den abhängigen Patentansprüchen und der Beschreibung eines Ausführungsbeispiels in der Zeichnung. Es zeigt:
-
Fig. 1 : Eine Messanordnung mit einem Messumformer gemäß der vorliegenden Erfindung. - Die in
Fig. 1 gezeigte Messanordnung umfasst zwei modulare Messumformer, nämlich einen modularen Trübungsmesser 1a und einen modularen pH-Transmitter 1b. Die beiden modularen Messumformer 1a, 1b tauschen Daten aus mit einer Basisstation 2. Der modulare Trübungsmesser 1a umfasst ein Elektronikmodul 10a, welches eine Schaltung 8a zur Aufbereitung eines vom Sensormodul 7a empfangenen Sensorsignals umfasst. Gegebenenfalls kann die Schaltung 8a weiterhin Mittel zum Auslesen von Geräteparametern des Elektronikmoduls 10a und des Sensormoduls 7a umfassen. Weiterhin umfasst das Elektronikmodul 10a eine Übertragungseinheit 9a zum Senden und Empfangen von Daten an die Basisstation 2. Bei diesem Ausführungsbeispiel umfasst die Datenübertragungseinheit einen Infrarotsender 3a und einen Infrarotempfänger 5a, wobei die Basisstation 2 einen komplementären Empfänger 4 bzw. Sender 6 aufweist. Der Datenaustausch kann beispielsweise nach dem IrDA-Standard erfolgen. - Die Energieversorgung des Elektronikmoduls 10a erfolgt über eine Versorgungsleitung 13a. In einer ersten Ausführungsform dient dabei die Versorgungsleitung 13a ausschließlich zur Energieversorgung, wobei in einer weiteren Ausführungsform die Versorgungsleitung 13a zugleich redundant zur Datenübertragung z. B. Regulierung des Versorgungsstroms (4 ... 20 mA) oder nach dem HART-Standard verwendet wird.
- Zur Energieversorgung des Sensormoduls und zum Datenaustausch zwischen dem Sensormodul 7a und dem Elektronikmodul 10a ist eine kontaktlose Steckverbindung vorgesehen, welche eine Steckbuchse 11a aufweist, die an der Unterseite des Sensormoduls 10a vorgesehen ist, und einen Stecker 12a, der mit dem Sensormodul 7a verbunden ist, und mit der Buchse 11a in Eingriff gelangt. Die Steckverbindung ist vorzugsweise lösbar. Selbstverständlich kann die Steckverbindung auch umgekehrt gestaltet sein. D.h. von der Unterseite des Elektronikmoduls erstreckt sich ein Stecker, und das Sensormodul weist einen Steckkopf zur Aufnahme des Steckers auf.
- Derzeit bevorzugt sind Steckverbindungen mit einer induktiven Übertragung von Daten und Energie. Hierzu kann in der Mantelfläche der Buchse 11a beispielsweise eine erste zylindrische Spule angeordnet sein, wobei der Stecker 12a eine zweite zylindrische Spule aufweist, welche koaxial mit der ersten zylindrischen Spule angeordnet ist. In einer alternativen Ausgestaltung weisen der Stecker 12a und die Buchse 11b jeweils eine Spule mit einer Ringkernhälfte auf, wobei die Endflächen der Ringkernhälften miteinander fluchtend in engem Abstand zueinander positioniert sind, wenn der Stecker in der Buchse angeordnet ist.
- Die induktive Energieübertragung vom Elektronikmodul zum Sensormodul erfolgt über ein AC-Signal welches vom Elektronikmodul gespeist wird. Zum Datenaustausch zwischen Sensormodul und Elektronikmodul wird bevorzugt die Amplitude des AC-Signals moduliert (ASK nach dem englischen Begriff Amplitude Shift Keying), jedoch sind auch andere Modulationsarten wie Pulsbreiten- und Frequenzmodulation denkbar. Die Übertragung von Daten zum Sensormodul erfolgt hierbei durch direkte Modulation des eingespeisten AC-Signals, wobei zur Datenübertragung vom Sensormodul zum Elektronikmodul eine Lastmodulation des AC-Signals erfolgt.
- Weitere Einzelheiten und Alternativen zur Gestaltung der induktiven Steckverbindung und der Übertragung von Daten und Energie sind in der Patentanmeldung Nr.
EP 1 206 012 A2 beschrieben. Einzelheiten zu einem möglichen Aufbau eines Sensormoduls mit einem kontaktlosen Stecker sind in der ebenfalls anhängigen deutschen Patentanmeldung mit dem Aktenzeichen10218606 offenbart. -
Fig. 1 zeigt weiterhin einen modularen Messumformer 1b, der als pH-Transmitter ausgestaltet ist. Er hat im wesentlichen den gleichen Aufbau wie der modulare Trübungsmesser 1a, so dass nachfolgend nur auf Unterschiede zum zuvor beschriebenen Trübungsmesser hingewiesen wird. - Das Sensormodul 7b umfasst für den pH-Transmitter eine pH-Elektrode, welche mittels des Steckkopfes 12b in der Buchse 11 b der kontaktlosen Steckverbindung mit dem Elektronikmodul 10b verbunden ist.
- Die Energieversorgung des modularen Messumformers 1 b erfolgt dezentral, wozu im Gehäuse des Elektronikmoduls 10b eine Batterie 13b vorgesehen ist. In einer weiteren bevorzugten Ausführungsform erfolgt die lokale Energieversorgung über eine Brennstoffzelle bzw. über eine Photozelle. Die Zuordnung der Energieversorgungarten zu den verschiedenen Sensortypen ist nur zu Illustrationszwecken gewählt und beschreibt keinen zwingend erforderlichen technischen Zusammenhang.
Claims (5)
- Elektronikmodul (8a; 8b) für einen modularen Messumformer (1a; 1b) mit einem Sensormodul (7a; 7b) und einem Elektronikmodul (8a; 8b), wobei das Sensormodul und das Elektronikmodul (8a; 8b) über eine kontaktlose Schnittstelle (11a, 12a; 11 b, 12b) miteinander koppelbar sind, über welche die Energieversorgung des Sensormoduls (7a; 7b) und der Datenaustausch zwischen dem Sensormodul und dem Elektronikmodul (8a; 8b) erfolgt,
wobei das Elektronikmodul (8a; 8b) einen ersten Teil der kontaktlosen Schnittstelle (11a, 11b) umfasst
dadurch gekennzeichnet,
dass das Elektronikmodul (8a; 8b) weiterhin eine Sende- bzw. Sende- und Empfangseinheit (9a; 9b) zum drahtlosen Datenaustausch mit einer komplementären Empfangs- bzw. Empfangs- und Sendestation (2) aufweist, und
dass die kontaktlose Schnittstelle eine kontaktlose lösbare Steckverbindung umfasst, und welche eine Steckbuchse (11a) und einen Stecker (12a) aufweist, der mit der Steckbuchse 11a in Eingriff gelangt, wobei die kontaktlose Schnittstelle zur induktiven Übertragung von Daten und Energie vorgesehen ist, wobei der erste Teil der Schnittstelle die Steckbuchse oder den Stecker umfasst - Elektronikmodul (8a) nach Anspruch 1, wobei das Elektronikmodul einen Anschluss für eine Versorgungsleitung (13a) zur Energieversorgung des Elektronikmoduls aufweist.
- Elektronikmodul (8b) nach Anspruch 1 oder 2, wobei das Elektronikmodul zur Energieversorgung eine Photozelle, eine Batterie (13b) oder eine Brennstoffzelle aufweist.
- Elektronikmodul (8a; 8b) nach einem der Ansprüche 1 bis 3, wobei der drahtlose Datenaustausch zwischen dem Elektronikmodul und einer komplementären Empfangs- bzw. Sende- und Empfangseinheit über Funk, Ultraschall oder Licht, insbesondere Infrarotlicht erfolgt.
- Modularer Messumformer (1), umfassend ein Elektronikmodul (8a; 8b) nach einem der bisherigen Ansprüche und ein Sensormodul (7a; 7b) zum Erfassen einer Prozessgröße, wobei das Sensormodul (7a, 7b) einen zum ersten Teil der Schnittstelle komplementären zweiten Teil der Schnittstelle aufweist.
Applications Claiming Priority (3)
| Application Number | Priority Date | Filing Date | Title |
|---|---|---|---|
| DE10255741A DE10255741A1 (de) | 2002-11-28 | 2002-11-28 | Modularer Messumformer mit galvanisch getrennten Messfühler |
| DE10255741 | 2002-11-28 | ||
| PCT/EP2003/013272 WO2004049281A2 (de) | 2002-11-28 | 2003-11-26 | Modularer messumformer mit galvanisch getrenntem messfühler |
Publications (2)
| Publication Number | Publication Date |
|---|---|
| EP1565898A2 EP1565898A2 (de) | 2005-08-24 |
| EP1565898B1 true EP1565898B1 (de) | 2010-01-06 |
Family
ID=32308832
Family Applications (1)
| Application Number | Title | Priority Date | Filing Date |
|---|---|---|---|
| EP03780057A Expired - Lifetime EP1565898B1 (de) | 2002-11-28 | 2003-11-26 | Modularer messumformer mit galvanisch getrenntem messfühler |
Country Status (6)
| Country | Link |
|---|---|
| US (1) | US20060125625A1 (de) |
| EP (1) | EP1565898B1 (de) |
| AT (1) | ATE454686T1 (de) |
| AU (1) | AU2003288170A1 (de) |
| DE (2) | DE10255741A1 (de) |
| WO (1) | WO2004049281A2 (de) |
Families Citing this family (15)
| Publication number | Priority date | Publication date | Assignee | Title |
|---|---|---|---|---|
| DE102005026200A1 (de) * | 2005-06-07 | 2006-12-21 | Pepperl + Fuchs Gmbh | Detektion und Vorrichtung zur Detektion von Aufzeichnungsträgern |
| DE102005038607A1 (de) * | 2005-08-16 | 2007-02-22 | Vega Grieshaber Kg | Ultraschall-Sensorbedienung |
| DE102005044973A1 (de) * | 2005-09-20 | 2007-03-22 | Endress + Hauser Conducta Gesellschaft für Mess- und Regeltechnik mbH + Co. KG | Steckmodul für einen Flüssigkeits- oder Gassensor |
| DE102006039774B4 (de) | 2006-08-24 | 2011-01-20 | Abb Ag | Messgerät zum Erfassen eines physikalischen/chemischen Messwerts |
| DE102007032659A1 (de) * | 2007-07-13 | 2009-01-15 | Knick Elektronische Messgeräte GmbH & Co. KG | Verfahren zur telegrammweisen Datenübertragung in einem seriellen Kommunikationsprotokoll sowie dieses nutzende Datenübertragungsvorrichtung |
| EP2233994B1 (de) | 2009-03-25 | 2014-04-02 | Hamilton Bonaduz AG | Modulare Vorrichtung zur Überwachung und Bedienung von intelligenten Prozesssensoren |
| DE102009028794A1 (de) * | 2009-08-21 | 2011-02-24 | Endress + Hauser Conducta Gesellschaft für Mess- und Regeltechnik mbH + Co. KG | Messvorrichtung zur Bestimmung einer physikalischen oder chemischen Messgröße eines Messmediums |
| DE102009047538B4 (de) | 2009-12-04 | 2018-02-22 | Endress + Hauser Process Solutions Ag | Verfahren zur Optimierung der Parametereinstellung von Energieversorgungs-Parametern eines Feldgerät-Stromversorgungsmoduls |
| DE102012108636A1 (de) | 2012-09-14 | 2014-03-20 | Hamilton Bonaduz Ag | Potentiometrisches Sensorelement und Verfahren zu dessen Herstellung |
| DE102015210880A1 (de) * | 2015-06-15 | 2016-12-15 | Sentronic GmbH Gesellschaft für optische Meßsysteme | Messeinrichtung zur Bestimmung physikalischer Eigenschaften, chemischer Eigenschaften, biologischer Eigenschaften und/oder von Stoffen der Umgebung wenigstens eines Aufnehmers oder des wenigstens einen Aufnehmers als Bestandteil der Messeinrichtung |
| US12003902B2 (en) | 2015-06-15 | 2024-06-04 | Sentronic Gmbh Gesellschaft Fur Optische Messsysteme | System and method for transmitting information |
| DE102015213077A1 (de) * | 2015-07-13 | 2016-05-25 | Aktiebolaget Skf | Sensor für ein Fluidsystem |
| DE102016121105A1 (de) * | 2016-11-04 | 2018-05-09 | Endress+Hauser Conducta Gmbh+Co. Kg | Schnittstelle für einen Messumformer |
| DE102019127381A1 (de) * | 2019-10-10 | 2021-04-15 | Endress + Hauser Wetzer Gmbh + Co. Kg | Modulare Messanordnung |
| EP4450962A1 (de) | 2023-04-20 | 2024-10-23 | Georg Fischer Rohrleitungssysteme AG | Universal-schnittstelle zwischen einem prüfkopfaufnahmeelement und einem prüfkopf |
Family Cites Families (13)
| Publication number | Priority date | Publication date | Assignee | Title |
|---|---|---|---|---|
| AU646847B2 (en) * | 1990-02-21 | 1994-03-10 | Rosemount Inc. | Multifunction isolation transformer |
| DE4016010A1 (de) * | 1990-05-18 | 1991-11-21 | Gas Elektrizitaets Und Wasserw | Verfahren zum auslesen und/oder einlesen von daten an einem mikroprozessorgesteuerten datenspeicher, insbesondere eines registrierenden mess- oder zaehlgeraetes sowie einrichtung zur durchfuehrung des verfahrens |
| DE4130904A1 (de) * | 1991-09-17 | 1993-03-18 | Bks Gmbh | Verfahren zur beruehrungslosen energie- und datenuebertragung |
| ATE187824T1 (de) * | 1994-10-24 | 2000-01-15 | Fisher Rosemount Systems Inc | Vorrichtung, die einen zugang zu feldgeräten in einem verteilten steuerungssystem gestattet |
| DE19547684A1 (de) * | 1995-12-20 | 1997-06-26 | Philips Patentverwaltung | Verfahren und Anordnung zum kontaktlosen Übertragen |
| DK0817149T3 (da) * | 1996-06-28 | 1999-11-15 | Endress & Hauser Wetzer Gmbh | Kredsløb til overførsel af en målestrøm fra en i sig selv sikker sensor til et i sig selv ikke sikkert område |
| DE19703854A1 (de) * | 1997-02-03 | 1998-08-06 | Lange Gmbh Dr Bruno | Multifunktionales Labormeßgerät |
| US5889468A (en) * | 1997-11-10 | 1999-03-30 | Banga; William Robert | Extra security smoke alarm system |
| AU4136701A (en) * | 1999-11-30 | 2001-06-12 | Joseph N. D'amico | Security system linked to the internet |
| DE20014262U1 (de) * | 2000-08-18 | 2001-04-19 | ZILA ELEKTRONIK GMBH, 98544 Zella-Mehlis | Energieautarker Drehzahl- und Temperatursensor |
| DE60018072T2 (de) * | 2000-10-27 | 2005-12-29 | Invensys Systems, Inc., Foxboro | Feldgerät mit einem Sender und/oder Empfänger zur drahtlosen Datenübertragung |
| DE10055090A1 (de) * | 2000-11-07 | 2002-05-08 | Conducta Endress & Hauser | Steckverbinder zum Anschluss einer Übertragungsleitung an mindestens einen Sensor |
| US7042349B2 (en) * | 2002-08-30 | 2006-05-09 | General Electric Company | Testing and installing sensors in a security system |
-
2002
- 2002-11-28 DE DE10255741A patent/DE10255741A1/de not_active Withdrawn
-
2003
- 2003-11-26 AU AU2003288170A patent/AU2003288170A1/en not_active Abandoned
- 2003-11-26 WO PCT/EP2003/013272 patent/WO2004049281A2/de not_active Ceased
- 2003-11-26 US US10/536,326 patent/US20060125625A1/en not_active Abandoned
- 2003-11-26 EP EP03780057A patent/EP1565898B1/de not_active Expired - Lifetime
- 2003-11-26 DE DE50312327T patent/DE50312327D1/de not_active Expired - Lifetime
- 2003-11-26 AT AT03780057T patent/ATE454686T1/de not_active IP Right Cessation
Also Published As
| Publication number | Publication date |
|---|---|
| EP1565898A2 (de) | 2005-08-24 |
| ATE454686T1 (de) | 2010-01-15 |
| DE10255741A1 (de) | 2004-06-09 |
| US20060125625A1 (en) | 2006-06-15 |
| AU2003288170A8 (en) | 2004-06-18 |
| AU2003288170A1 (en) | 2004-06-18 |
| WO2004049281A2 (de) | 2004-06-10 |
| DE50312327D1 (de) | 2010-02-25 |
| WO2004049281A3 (de) | 2004-08-19 |
Similar Documents
| Publication | Publication Date | Title |
|---|---|---|
| EP1565898B1 (de) | Modularer messumformer mit galvanisch getrenntem messfühler | |
| EP1206012B1 (de) | Anordnung, umfassend einen pH-Sensor und einen Steckverbinder | |
| DE4114921C2 (de) | ||
| EP1982390B1 (de) | Mess- und Übertragungssystem mit einem Steckverbindungssystem | |
| EP1664760A1 (de) | Steckmodul für einen flüssigkeits- oder gassensor mit galvanisch entkoppelter übertragungsstrecke | |
| WO2007090499A1 (de) | Verbindungssystem, insbesondere steckverbindungssystem zur übertragung von daten- und energieversorgungssignalen | |
| WO2003096139A2 (de) | Verbindungskabel zur kontaktlosen daten und energieübertragung | |
| EP3649631B1 (de) | Feldgeräteadapter zur drahtlosen datenübertragung | |
| EP4089852B1 (de) | Modulare steckdose und verfahren zur automatischen parametrierung/einrichtung | |
| DE4344071A1 (de) | Vorrichtung zur Übertragung von Energie und/oder Daten | |
| DE102015113279A1 (de) | Elektronische Schaltung zum Übertragen von Leistung von einer Anschlussseite an eine Sensorseite sowie dessen Verwendung | |
| DE102018127779A1 (de) | Feldgeräteadapter zur drahtlosen Datenübertragung | |
| EP3837590B1 (de) | Feldgerät der automatisierungstechnik | |
| DE202012102446U1 (de) | Anordnung umfassend einen Messaufnehmer, einen Messumformer sowie eine Anzeige und/oder Bedieneinheit | |
| WO2009027210A1 (de) | Elektrochemischer sensor | |
| EP1625390B1 (de) | Adapter zum anschluss eines sensormoduls an ein umformermodul | |
| EP3380852B1 (de) | Induktiver strommesswandler | |
| DE3907033A1 (de) | Vorrichtung zur messung und uebertragung von druck- und temperaturwerten im ex- gefaehrdeten/nicht ex- gefaehrdeten bereich | |
| DE102005047762A1 (de) | Messvorrichtung | |
| WO2018095469A1 (de) | Werkzeughalter für ein bearbeitungswerkzeug, werkzeugeinheit und messeinrichtung | |
| DE102008043298A1 (de) | Induktiv koppelnde Steckverbinderkupplung mit Vorortbedienfunktion | |
| AT413606B (de) | Vorrichtung zum messen der qualität eines geschlachteten tieres oder von lebensmitteln | |
| WO2024223364A1 (de) | Durchflussmessgerät und produktfamilie von durchflussmessgeräten | |
| DE102021132585A1 (de) | Feldgerät | |
| WO2020104544A1 (de) | Feldgeräteadapter zur drahtlosen datenübertragung |
Legal Events
| Date | Code | Title | Description |
|---|---|---|---|
| PUAI | Public reference made under article 153(3) epc to a published international application that has entered the european phase |
Free format text: ORIGINAL CODE: 0009012 |
|
| 17P | Request for examination filed |
Effective date: 20050513 |
|
| AK | Designated contracting states |
Kind code of ref document: A2 Designated state(s): AT BE BG CH CY CZ DE DK EE ES FI FR GB GR HU IE IT LI LU MC NL PT RO SE SI SK TR |
|
| AX | Request for extension of the european patent |
Extension state: AL LT LV MK |
|
| DAX | Request for extension of the european patent (deleted) | ||
| 17Q | First examination report despatched |
Effective date: 20071112 |
|
| GRAP | Despatch of communication of intention to grant a patent |
Free format text: ORIGINAL CODE: EPIDOSNIGR1 |
|
| GRAS | Grant fee paid |
Free format text: ORIGINAL CODE: EPIDOSNIGR3 |
|
| GRAA | (expected) grant |
Free format text: ORIGINAL CODE: 0009210 |
|
| AK | Designated contracting states |
Kind code of ref document: B1 Designated state(s): AT BE BG CH CY CZ DE DK EE ES FI FR GB GR HU IE IT LI LU MC NL PT RO SE SI SK TR |
|
| REG | Reference to a national code |
Ref country code: GB Ref legal event code: FG4D Free format text: NOT ENGLISH |
|
| REG | Reference to a national code |
Ref country code: CH Ref legal event code: EP |
|
| REG | Reference to a national code |
Ref country code: IE Ref legal event code: FG4D |
|
| REF | Corresponds to: |
Ref document number: 50312327 Country of ref document: DE Date of ref document: 20100225 Kind code of ref document: P |
|
| REG | Reference to a national code |
Ref country code: NL Ref legal event code: T3 |
|
| PG25 | Lapsed in a contracting state [announced via postgrant information from national office to epo] |
Ref country code: SI Free format text: LAPSE BECAUSE OF FAILURE TO SUBMIT A TRANSLATION OF THE DESCRIPTION OR TO PAY THE FEE WITHIN THE PRESCRIBED TIME-LIMIT Effective date: 20100106 |
|
| PG25 | Lapsed in a contracting state [announced via postgrant information from national office to epo] |
Ref country code: ES Free format text: LAPSE BECAUSE OF FAILURE TO SUBMIT A TRANSLATION OF THE DESCRIPTION OR TO PAY THE FEE WITHIN THE PRESCRIBED TIME-LIMIT Effective date: 20100417 Ref country code: PT Free format text: LAPSE BECAUSE OF FAILURE TO SUBMIT A TRANSLATION OF THE DESCRIPTION OR TO PAY THE FEE WITHIN THE PRESCRIBED TIME-LIMIT Effective date: 20100506 |
|
| REG | Reference to a national code |
Ref country code: IE Ref legal event code: FD4D |
|
| PG25 | Lapsed in a contracting state [announced via postgrant information from national office to epo] |
Ref country code: FI Free format text: LAPSE BECAUSE OF FAILURE TO SUBMIT A TRANSLATION OF THE DESCRIPTION OR TO PAY THE FEE WITHIN THE PRESCRIBED TIME-LIMIT Effective date: 20100106 |
|
| PG25 | Lapsed in a contracting state [announced via postgrant information from national office to epo] |
Ref country code: SE Free format text: LAPSE BECAUSE OF FAILURE TO SUBMIT A TRANSLATION OF THE DESCRIPTION OR TO PAY THE FEE WITHIN THE PRESCRIBED TIME-LIMIT Effective date: 20100106 Ref country code: RO Free format text: LAPSE BECAUSE OF FAILURE TO SUBMIT A TRANSLATION OF THE DESCRIPTION OR TO PAY THE FEE WITHIN THE PRESCRIBED TIME-LIMIT Effective date: 20100106 Ref country code: CY Free format text: LAPSE BECAUSE OF FAILURE TO SUBMIT A TRANSLATION OF THE DESCRIPTION OR TO PAY THE FEE WITHIN THE PRESCRIBED TIME-LIMIT Effective date: 20100106 Ref country code: IE Free format text: LAPSE BECAUSE OF FAILURE TO SUBMIT A TRANSLATION OF THE DESCRIPTION OR TO PAY THE FEE WITHIN THE PRESCRIBED TIME-LIMIT Effective date: 20100106 Ref country code: GR Free format text: LAPSE BECAUSE OF FAILURE TO SUBMIT A TRANSLATION OF THE DESCRIPTION OR TO PAY THE FEE WITHIN THE PRESCRIBED TIME-LIMIT Effective date: 20100407 Ref country code: EE Free format text: LAPSE BECAUSE OF FAILURE TO SUBMIT A TRANSLATION OF THE DESCRIPTION OR TO PAY THE FEE WITHIN THE PRESCRIBED TIME-LIMIT Effective date: 20100106 |
|
| PLBE | No opposition filed within time limit |
Free format text: ORIGINAL CODE: 0009261 |
|
| STAA | Information on the status of an ep patent application or granted ep patent |
Free format text: STATUS: NO OPPOSITION FILED WITHIN TIME LIMIT |
|
| PG25 | Lapsed in a contracting state [announced via postgrant information from national office to epo] |
Ref country code: SK Free format text: LAPSE BECAUSE OF FAILURE TO SUBMIT A TRANSLATION OF THE DESCRIPTION OR TO PAY THE FEE WITHIN THE PRESCRIBED TIME-LIMIT Effective date: 20100106 Ref country code: BG Free format text: LAPSE BECAUSE OF FAILURE TO SUBMIT A TRANSLATION OF THE DESCRIPTION OR TO PAY THE FEE WITHIN THE PRESCRIBED TIME-LIMIT Effective date: 20100406 Ref country code: CZ Free format text: LAPSE BECAUSE OF FAILURE TO SUBMIT A TRANSLATION OF THE DESCRIPTION OR TO PAY THE FEE WITHIN THE PRESCRIBED TIME-LIMIT Effective date: 20100106 |
|
| 26N | No opposition filed |
Effective date: 20101007 |
|
| PG25 | Lapsed in a contracting state [announced via postgrant information from national office to epo] |
Ref country code: DK Free format text: LAPSE BECAUSE OF FAILURE TO SUBMIT A TRANSLATION OF THE DESCRIPTION OR TO PAY THE FEE WITHIN THE PRESCRIBED TIME-LIMIT Effective date: 20100106 |
|
| PG25 | Lapsed in a contracting state [announced via postgrant information from national office to epo] |
Ref country code: IT Free format text: LAPSE BECAUSE OF FAILURE TO SUBMIT A TRANSLATION OF THE DESCRIPTION OR TO PAY THE FEE WITHIN THE PRESCRIBED TIME-LIMIT Effective date: 20100106 |
|
| BERE | Be: lapsed |
Owner name: ENDRESS + HAUSER CONDUCTA G.M.B.H. + CO. KG Effective date: 20101130 |
|
| PG25 | Lapsed in a contracting state [announced via postgrant information from national office to epo] |
Ref country code: MC Free format text: LAPSE BECAUSE OF NON-PAYMENT OF DUE FEES Effective date: 20101130 |
|
| GBPC | Gb: european patent ceased through non-payment of renewal fee |
Effective date: 20101126 |
|
| REG | Reference to a national code |
Ref country code: FR Ref legal event code: ST Effective date: 20110801 |
|
| PG25 | Lapsed in a contracting state [announced via postgrant information from national office to epo] |
Ref country code: BE Free format text: LAPSE BECAUSE OF NON-PAYMENT OF DUE FEES Effective date: 20101130 |
|
| PG25 | Lapsed in a contracting state [announced via postgrant information from national office to epo] |
Ref country code: FR Free format text: LAPSE BECAUSE OF NON-PAYMENT OF DUE FEES Effective date: 20101130 |
|
| PG25 | Lapsed in a contracting state [announced via postgrant information from national office to epo] |
Ref country code: GB Free format text: LAPSE BECAUSE OF NON-PAYMENT OF DUE FEES Effective date: 20101126 |
|
| REG | Reference to a national code |
Ref country code: AT Ref legal event code: MM01 Ref document number: 454686 Country of ref document: AT Kind code of ref document: T Effective date: 20101126 |
|
| PG25 | Lapsed in a contracting state [announced via postgrant information from national office to epo] |
Ref country code: AT Free format text: LAPSE BECAUSE OF NON-PAYMENT OF DUE FEES Effective date: 20101126 |
|
| PG25 | Lapsed in a contracting state [announced via postgrant information from national office to epo] |
Ref country code: HU Free format text: LAPSE BECAUSE OF FAILURE TO SUBMIT A TRANSLATION OF THE DESCRIPTION OR TO PAY THE FEE WITHIN THE PRESCRIBED TIME-LIMIT Effective date: 20100707 Ref country code: LU Free format text: LAPSE BECAUSE OF NON-PAYMENT OF DUE FEES Effective date: 20101126 |
|
| PG25 | Lapsed in a contracting state [announced via postgrant information from national office to epo] |
Ref country code: TR Free format text: LAPSE BECAUSE OF FAILURE TO SUBMIT A TRANSLATION OF THE DESCRIPTION OR TO PAY THE FEE WITHIN THE PRESCRIBED TIME-LIMIT Effective date: 20100106 |
|
| PGFP | Annual fee paid to national office [announced via postgrant information from national office to epo] |
Ref country code: NL Payment date: 20171120 Year of fee payment: 15 |
|
| PGFP | Annual fee paid to national office [announced via postgrant information from national office to epo] |
Ref country code: CH Payment date: 20171120 Year of fee payment: 15 |
|
| REG | Reference to a national code |
Ref country code: CH Ref legal event code: PL |
|
| REG | Reference to a national code |
Ref country code: NL Ref legal event code: MM Effective date: 20181201 |
|
| PG25 | Lapsed in a contracting state [announced via postgrant information from national office to epo] |
Ref country code: LI Free format text: LAPSE BECAUSE OF NON-PAYMENT OF DUE FEES Effective date: 20181130 Ref country code: NL Free format text: LAPSE BECAUSE OF NON-PAYMENT OF DUE FEES Effective date: 20181201 Ref country code: CH Free format text: LAPSE BECAUSE OF NON-PAYMENT OF DUE FEES Effective date: 20181130 |
|
| PGFP | Annual fee paid to national office [announced via postgrant information from national office to epo] |
Ref country code: DE Payment date: 20221123 Year of fee payment: 20 |
|
| P01 | Opt-out of the competence of the unified patent court (upc) registered |
Effective date: 20230601 |
|
| REG | Reference to a national code |
Ref country code: DE Ref legal event code: R071 Ref document number: 50312327 Country of ref document: DE |