EP1536046A3 - Warping process - Google Patents
Warping process Download PDFInfo
- Publication number
- EP1536046A3 EP1536046A3 EP04013584A EP04013584A EP1536046A3 EP 1536046 A3 EP1536046 A3 EP 1536046A3 EP 04013584 A EP04013584 A EP 04013584A EP 04013584 A EP04013584 A EP 04013584A EP 1536046 A3 EP1536046 A3 EP 1536046A3
- Authority
- EP
- European Patent Office
- Prior art keywords
- master section
- winding
- sections
- wound
- warping process
- Prior art date
- Legal status (The legal status is an assumption and is not a legal conclusion. Google has not performed a legal analysis and makes no representation as to the accuracy of the status listed.)
- Withdrawn
Links
Classifications
-
- D—TEXTILES; PAPER
- D02—YARNS; MECHANICAL FINISHING OF YARNS OR ROPES; WARPING OR BEAMING
- D02H—WARPING, BEAMING OR LEASING
- D02H3/00—Warping machines
- D02H3/02—Sectional warpers
-
- D—TEXTILES; PAPER
- D02—YARNS; MECHANICAL FINISHING OF YARNS OR ROPES; WARPING OR BEAMING
- D02H—WARPING, BEAMING OR LEASING
- D02H13/00—Details of machines of the preceding groups
- D02H13/12—Variable-speed driving mechanisms
Landscapes
- Engineering & Computer Science (AREA)
- Textile Engineering (AREA)
- Winding Of Webs (AREA)
- Warping, Beaming, Or Leasing (AREA)
Abstract
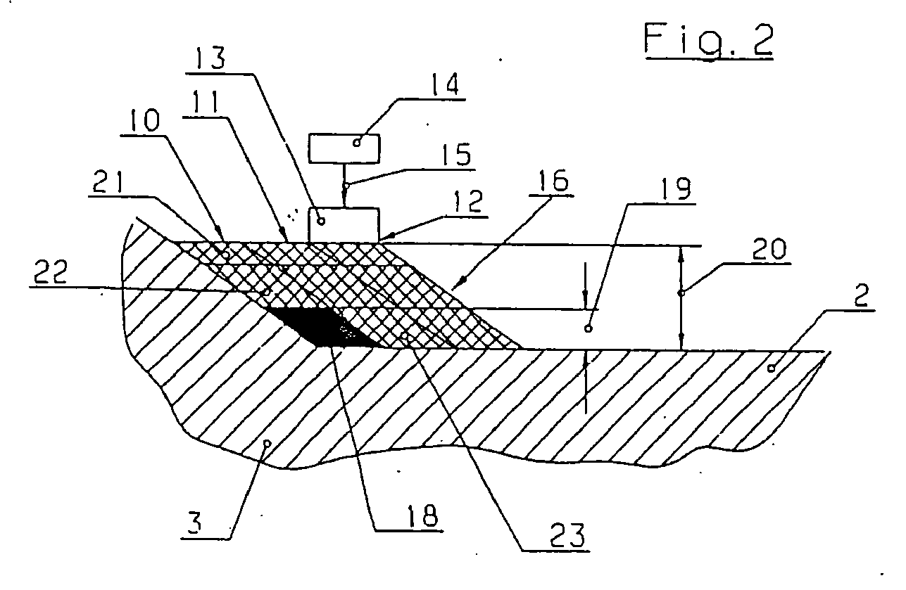
Es wird ein Schärverfahren zum Erzeugen einer Kette (16) angegeben, bei dem mehrere Bänder (10-12) nacheinander auf den Umfang einer sich drehenden Schärtrommel (2) gewickelt werden, von denen jedes durch eine Mehrzahl von Fäden gebildet ist, die gleichzeitig von einem Gatter abgezogen werden.A warping method is disclosed for producing a warp (16) in which a plurality of belts (10-12) are successively wound on the circumference of a rotating warper drum (2), each formed by a plurality of yarns simultaneously wound from be deducted from a gate.
Man möchte einen möglichst gleichmäßigen Aufbau einer Kette erreichen.You want to achieve the most uniform possible structure of a chain.
Hierzu ist vorgesehen, daß man die Bänder (10-12) in Dickenrichtung in mindestens zwei Abschnitte (18, 21, 22) unterteilt, in einem Band (10) einen Master-Abschnitt (18) erzeugt, einen Wickelverlauf im Master-Abschnitt (18) ermittelt und den Wickelvorgang in den folgenden Abschnitten (21, 22) entsprechend dem Wickelverlauf im Master-Abschnitt (18) steuert. For this purpose, it is provided that the bands (10-12) in the thickness direction in at least two sections (18, 21, 22) divided in a band (10) generates a master section (18), a winding course in the master section ( 18) and controls the winding process in the following sections (21, 22) according to the winding course in the master section (18).
Applications Claiming Priority (2)
| Application Number | Priority Date | Filing Date | Title |
|---|---|---|---|
| DE2003155732 DE10355732B4 (en) | 2003-11-28 | 2003-11-28 | warping method |
| DE10355732 | 2003-11-28 |
Publications (2)
| Publication Number | Publication Date |
|---|---|
| EP1536046A2 EP1536046A2 (en) | 2005-06-01 |
| EP1536046A3 true EP1536046A3 (en) | 2006-02-15 |
Family
ID=34442339
Family Applications (1)
| Application Number | Title | Priority Date | Filing Date |
|---|---|---|---|
| EP04013584A Withdrawn EP1536046A3 (en) | 2003-11-28 | 2004-06-09 | Warping process |
Country Status (2)
| Country | Link |
|---|---|
| EP (1) | EP1536046A3 (en) |
| DE (1) | DE10355732B4 (en) |
Cited By (1)
| Publication number | Priority date | Publication date | Assignee | Title |
|---|---|---|---|---|
| CN110388804A (en) * | 2018-04-16 | 2019-10-29 | 特吕茨施勒有限及两合公司 | Equipment for being heat-treated textile fabric width |
Families Citing this family (1)
| Publication number | Priority date | Publication date | Assignee | Title |
|---|---|---|---|---|
| CN101906688B (en) * | 2010-07-05 | 2011-09-07 | 常州市第八纺织机械有限公司 | Method for compensating for pressure between yarn barrels and roller of vertical elastic warping machine automatically |
Citations (6)
| Publication number | Priority date | Publication date | Assignee | Title |
|---|---|---|---|---|
| DE2631573A1 (en) * | 1976-07-14 | 1978-01-19 | Hacoba Textilmaschinen | PROCESS FOR SHEARING FEDS FROM COILS OF A COIL RACK ON A CONE SHEARING MACHINE |
| DE3432276A1 (en) * | 1983-10-06 | 1985-04-18 | Maschinenfabrik Benninger AG, Uzwil | Process for controlling the warping carriage of a warping machine and warping machine |
| DE3702293A1 (en) * | 1986-02-27 | 1987-09-03 | Benninger Ag Maschf | Method of warping threads onto the warping drum of a warping machine and warping machine |
| DE3812045A1 (en) * | 1987-05-14 | 1988-12-01 | Benninger Ag Maschf | Method for controlling a warping machine and warping machine for implementing the method |
| US5107574A (en) * | 1989-10-09 | 1992-04-28 | Benninger Ag | Cone section warping machine and method of warping |
| DE19646087A1 (en) * | 1996-11-08 | 1998-05-14 | Sucker Mueller Hacoba Gmbh | Method and device for warping with a cone warping machine |
-
2003
- 2003-11-28 DE DE2003155732 patent/DE10355732B4/en not_active Expired - Lifetime
-
2004
- 2004-06-09 EP EP04013584A patent/EP1536046A3/en not_active Withdrawn
Patent Citations (6)
| Publication number | Priority date | Publication date | Assignee | Title |
|---|---|---|---|---|
| DE2631573A1 (en) * | 1976-07-14 | 1978-01-19 | Hacoba Textilmaschinen | PROCESS FOR SHEARING FEDS FROM COILS OF A COIL RACK ON A CONE SHEARING MACHINE |
| DE3432276A1 (en) * | 1983-10-06 | 1985-04-18 | Maschinenfabrik Benninger AG, Uzwil | Process for controlling the warping carriage of a warping machine and warping machine |
| DE3702293A1 (en) * | 1986-02-27 | 1987-09-03 | Benninger Ag Maschf | Method of warping threads onto the warping drum of a warping machine and warping machine |
| DE3812045A1 (en) * | 1987-05-14 | 1988-12-01 | Benninger Ag Maschf | Method for controlling a warping machine and warping machine for implementing the method |
| US5107574A (en) * | 1989-10-09 | 1992-04-28 | Benninger Ag | Cone section warping machine and method of warping |
| DE19646087A1 (en) * | 1996-11-08 | 1998-05-14 | Sucker Mueller Hacoba Gmbh | Method and device for warping with a cone warping machine |
Cited By (1)
| Publication number | Priority date | Publication date | Assignee | Title |
|---|---|---|---|---|
| CN110388804A (en) * | 2018-04-16 | 2019-10-29 | 特吕茨施勒有限及两合公司 | Equipment for being heat-treated textile fabric width |
Also Published As
| Publication number | Publication date |
|---|---|
| DE10355732A1 (en) | 2005-07-14 |
| DE10355732B4 (en) | 2007-11-29 |
| EP1536046A2 (en) | 2005-06-01 |
Similar Documents
| Publication | Publication Date | Title |
|---|---|---|
| JPH02307994A (en) | Steel cord for tire and production thereof | |
| DE2854044A1 (en) | METHOD FOR THE PRODUCTION OF MOLDED ROPES | |
| EP1536046A3 (en) | Warping process | |
| EP1726223A3 (en) | Apparatus for processing and/or producing rod-shaped articles of tobacco processing industry | |
| DE3039178A1 (en) | MACHINE FOR THE PRODUCTION OF ROPES FROM INTERLOCKED STRINGS | |
| EP1249525A3 (en) | Opening roller for an open-end spinning machine | |
| DE2628650C2 (en) | Process for the production of a self-twisted yarn | |
| EP1209264A3 (en) | Warping machine and process | |
| DE1435397A1 (en) | Method and device for opening or loosening crimped man-made fiber cables | |
| DE69028080T2 (en) | PRODUCTION OF TIRE LINK AND DEVICE THEREFOR | |
| EP0943711B1 (en) | Terry fabric with relief effect and method for producing the same | |
| DE2136167A1 (en) | FRICTIONAL WEAR SUBJECTED MACHINE ELEMENT | |
| DE130564C (en) | ||
| DE2520605A1 (en) | Sieving rod belt for conveyor - has supporting spacing belt between toothed side belts | |
| EP1777078B1 (en) | Method of processing printed products into batches of printed products successively arranged according to different production requirements | |
| US2175066A (en) | Apparatus for and method of treating wire fabrics | |
| DE1652637A1 (en) | Device for non-cutting machining of a sheet metal strip | |
| DE10255518B4 (en) | Clutter with air divider | |
| DE194389C (en) | ||
| DE922641C (en) | Baking machine for the continuous production of pastries | |
| EP1479803A3 (en) | Method for forming a sample warp and sample warper | |
| DE531563C (en) | gear | |
| DE10027010A1 (en) | Process for producing a expanded metal, and a expanded metal produced using this process | |
| DE401987C (en) | Device for removing flesh from fiber plant parts | |
| DE2543756B1 (en) | Warp knitted loop pile fabric - has system for erecting the loops on one or both faces |
Legal Events
| Date | Code | Title | Description |
|---|---|---|---|
| PUAI | Public reference made under article 153(3) epc to a published international application that has entered the european phase |
Free format text: ORIGINAL CODE: 0009012 |
|
| AK | Designated contracting states |
Kind code of ref document: A2 Designated state(s): AT BE BG CH CY CZ DE DK EE ES FI FR GB GR HU IE IT LI LU MC NL PL PT RO SE SI SK TR |
|
| AX | Request for extension of the european patent |
Extension state: AL HR LT LV MK |
|
| PUAL | Search report despatched |
Free format text: ORIGINAL CODE: 0009013 |
|
| AK | Designated contracting states |
Kind code of ref document: A3 Designated state(s): AT BE BG CH CY CZ DE DK EE ES FI FR GB GR HU IE IT LI LU MC NL PL PT RO SE SI SK TR |
|
| AX | Request for extension of the european patent |
Extension state: AL HR LT LV MK |
|
| AKX | Designation fees paid | ||
| STAA | Information on the status of an ep patent application or granted ep patent |
Free format text: STATUS: THE APPLICATION IS DEEMED TO BE WITHDRAWN |
|
| 18D | Application deemed to be withdrawn |
Effective date: 20060816 |
|
| REG | Reference to a national code |
Ref country code: DE Ref legal event code: 8566 |
