EP1522738B1 - Spiralgehäuse für eine Kreiselpumpe - Google Patents
Spiralgehäuse für eine Kreiselpumpe Download PDFInfo
- Publication number
- EP1522738B1 EP1522738B1 EP20040104313 EP04104313A EP1522738B1 EP 1522738 B1 EP1522738 B1 EP 1522738B1 EP 20040104313 EP20040104313 EP 20040104313 EP 04104313 A EP04104313 A EP 04104313A EP 1522738 B1 EP1522738 B1 EP 1522738B1
- Authority
- EP
- European Patent Office
- Prior art keywords
- housing part
- housing
- boundary
- flow
- section
- Prior art date
- Legal status (The legal status is an assumption and is not a legal conclusion. Google has not performed a legal analysis and makes no representation as to the accuracy of the status listed.)
- Revoked
Links
- 230000000295 complement effect Effects 0.000 claims description 4
- 230000002093 peripheral effect Effects 0.000 claims description 3
- 239000000498 cooling water Substances 0.000 claims description 2
- 239000012530 fluid Substances 0.000 description 2
- 238000009434 installation Methods 0.000 description 2
- 239000007788 liquid Substances 0.000 description 2
- 238000004519 manufacturing process Methods 0.000 description 2
- 238000007789 sealing Methods 0.000 description 2
- 230000007704 transition Effects 0.000 description 2
- 239000000853 adhesive Substances 0.000 description 1
- 238000004026 adhesive bonding Methods 0.000 description 1
- 230000001070 adhesive effect Effects 0.000 description 1
- 239000007864 aqueous solution Substances 0.000 description 1
- 238000005266 casting Methods 0.000 description 1
- 210000000078 claw Anatomy 0.000 description 1
- 238000001816 cooling Methods 0.000 description 1
- 238000005304 joining Methods 0.000 description 1
- 238000002360 preparation method Methods 0.000 description 1
Images
Classifications
-
- F—MECHANICAL ENGINEERING; LIGHTING; HEATING; WEAPONS; BLASTING
- F04—POSITIVE - DISPLACEMENT MACHINES FOR LIQUIDS; PUMPS FOR LIQUIDS OR ELASTIC FLUIDS
- F04D—NON-POSITIVE-DISPLACEMENT PUMPS
- F04D29/00—Details, component parts, or accessories
- F04D29/40—Casings; Connections of working fluid
- F04D29/42—Casings; Connections of working fluid for radial or helico-centrifugal pumps
- F04D29/44—Fluid-guiding means, e.g. diffusers
- F04D29/445—Fluid-guiding means, e.g. diffusers especially adapted for liquid pumps
Definitions
- the invention relates to a spiral housing for a centrifugal pump and to a use of the spiral housing.
- a spiral housing for a centrifugal pump having a flow cross-section in the central region of the flow spiral whose ratio of the first part height, measured between the farthest from the inlet of the flow medium and parallel to the longitudinal axis of the inlet boundary of the flow cross-section and the intersection of the length and the width, to the second part height, measured between the intersection of the length and the width and the closest to the inlet of the flow medium and parallel to the longitudinal axis of the einstorysaver mindden boundary of the flow cross-section is in the range of 0.25 to 1.
- the DE 16 28 361 A1 discloses a centrifugal blower, particularly one which is frequently used in cases where minimum weight, minimum size and blower output are required.
- the centrifugal fan has an impeller receiving housing, the housing having a spiral bound flow chamber of generally elliptical cross-section with an inner circumferential inlet and an outlet for the air delivered by the impeller.
- the ratio of the minor axis dimension to the major axis dimension of the elliptical cross-section progressively increases from one end of the small radius chamber toward the chamber outlet.
- the DE 199 56 380 C1 discloses a fluid pump with a motor housing for the cooling circuit of a motor vehicle.
- This fluid pump has a claw-pole stator and a rotor separated from the claw-pole stator by a tube-separated rotor immersed in a liquid and having an impeller.
- the jaws of the claw cushion are an integral part of the tube, which forms part of a motor housing.
- the invention is therefore based on the object to provide a spiral housing for a centrifugal pump, which has the smallest possible outer diameter at a maximum throughput of the flow medium. Furthermore, the volute should be designed so that the highest possible efficiency of the centrifugal pump can be realized.
- the object underlying the invention is achieved by a spiral housing for a centrifugal pump, which in the central region of the flow spiral a flow cross-section whose ratio of the length to the width is in the range of 1.5 to 2 and whose ratio of the first.
- Partial height measured between the furthest from the entrance of the Flow medium remote and running parallel to the longitudinal axis of the inlet boundary of the flow cross-section and the intersection of the length and the width
- the second part height measured between the intersection of the length and the width and the closest to the inlet of the flow medium and parallel to the longitudinal axis of the inlet extending boundary of the flow cross-section in the range of 0.25 to 1, wherein the limit de s flow cross-section and the impeller of the centrifugal pump closest further boundary of the flow cross section at right angles to each other ⁇ .
- the spiral housing may be formed in one piece or in several parts.
- the flow spiral is typically divided into three parts, an entry area, a central area, and an exit area.
- roundings must be provided at the entry region so that the flow medium from the inlet flows into the flow spiral in a streamlined manner.
- the exit region has curves which facilitate a transition to the exit from the volute casing. In between lies the middle range, where some design parameters should be kept constant.
- Even in the central region of the flow cross section is not continuously constant, but increases continuously in the direction of the outlet of the spiral housing.
- the length is to be understood as the largest length dimension of the flow cross section, which can be measured at any point of the flow cross section parallel to the longitudinal axis of the inlet of the flow medium.
- the width is to be understood as the greatest possible width dimension that can be measured at any point of the flow cross-section perpendicular to the longitudinal axis of the inlet of the flow medium.
- the length and the Width are thus perpendicular to each other and have the common point of intersection.
- the width is split at the point of intersection into a first partial height and a second partial height.
- the sum, formed from the first partial height and from the second partial height then again gives the width.
- the right angle ⁇ is meant an angle of 90 ° technically. This means that due to manufacturing tolerances, even those angles are to be understood that are above 90 ° or below 90 °. Small angular deviations should thus still fall through the term "right angle ⁇ ".
- the centrifugal pump with this spiral housing to a relatively high efficiency, which is defined as a product of the throughput with the pressure increase relative to the supplied total power. Due to the relatively small outer dimensions of the spiral housing, the centrifugal pump can also be used advantageously when only a relatively small space is available.
- a preferred embodiment of the invention consists in that the spiral housing consists of a first housing part and a second housing part, the first housing part forming the boundary and the second housing part 2 forming the further boundary of the flow cross section. It is advantageous that the preparation of the spiral housing can be done for example by a casting process without lost cores.
- the joining of the first housing part and the second Housing part can be done by way of example in a simple manner by a screw or by gluing.
- the first housing part at its outer boundary holes, which extend parallel to the longitudinal axis of the inlet of the flow medium.
- the first housing part can be fastened in an advantageous manner with screw on the drive housing of the centrifugal pump.
- a further embodiment of the invention is that the second housing part is limited outside circular and on the outside has a circumferential groove.
- sealing elements such as a sealing ring can be fixed in a relatively simple manner.
- a further embodiment of the invention provides that the first housing part has on its outer side a contact point for an electrical connection. It may be formed, for example, as a plug connection for an electrical contact. It is advantageous that the electric power supply of the centrifugal pump can be done in a simple manner via the first housing part, wherein the space required for this also can be kept relatively small.
- the first housing part on its side opposite the inlet side on a circular opening, the inner diameter of the Outer diameter of the second housing part is formed opposite to complementary.
- the complementary design is to be understood that the second housing part can be fitted positively into the first housing part. It is advantageous that the second housing part can be integrated nearly f mulend in the first housing part, which also leads to an additional saving of space.
- a further embodiment of the invention provides that the second housing part has a central opening for the impeller of the centrifugal pump, which is designed as a bearing for the drive.
- the central opening is circular in shape and stiffened at its inner edges, so that the inserted with one end into the central opening drive for the impeller of the centrifugal pump can be fixed in the central opening and thus stored.
- An additional arrangement of a bearing can be dispensed with in an advantageous manner.
- the second housing part is a part of the drive housing.
- drive housing is to be understood that housing in which the electric drive for the impeller of the centrifugal pump is arranged. It is advantageous that can be dispensed with a separate individual production of the second housing part.
- the invention is finally still the use of the spiral housing as a housing for a cooling water centrifugal pump in a motor vehicle. It is advantageous that the in a motor vehicle only very limited available space can be used in an optimal way.
- Fig. 1a ), b) shows the inside of the first housing part and the inside of the second housing part in plan view.
- Fig. 2a ), b) shows the inside of the first housing part and the second housing part in a three-dimensional representation.
- Fig. 3 shows the first housing part and the second housing part three-dimensionally in the assembled state.
- Fig. 4 shows the first housing part and the second housing part in the assembled state in a three-dimensional representation from another angle.
- Fig. 5 shows the view into the outlet of the spiral housing in three-dimensional form.
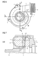
- Fig. 6 shows the top view of the Spiralge housing with the middle area.
- Fig. 7 shows enlarged the section DD according to Fig. 6 .
- Fig. 8a ), b), c) shows the sections AA, BB and CC according to Fig. 6 ,
- Fig. 9 shows, the first housing part in three-dimensional representation with the contact point.
- Fig. 1a is the first housing part 1 and in Fig. 1b ), the second housing part 2 in plan view, each seen from the inside, shown.
- the first housing part 1 has an inlet E of the flow medium and an outlet A of the flow medium. Further, the first housing part 1 is provided on its outside with holes 1 ', which serve the attachment to a drive housing (not shown).
- the second housing part 2 has a central opening L for the impeller of the centrifugal pump (not shown). This central opening L may optionally also be designed as a bearing for the drive.
- the flow spiral has a beginning 2 * and an end 2 **.
- the flow medium which is usually an aqueous solution, flows in a star-shaped manner starting from the inlet E, that is, from the inside, centrally against the outer boundary of the flow spiral.
- the second housing part 2 engages with its protruding tongue 2 'in the first housing part 1 such that the first edge a of the first housing part 1 bears against the second edge b of the second housing part 2.
- the first stop surface c on the second stop surface d (each shown dotted) and the third stop surface e on the fourth stop surface f (each shown with wavy lines).
- the surface g of the first housing part 1 does not touch the second housing part 2 of the spiral housing in the assembled state.
- the first housing part 1 forms the boundary j and the second housing part 2 forms the further boundary h of the flow cross section.
- the further limitation h of the flow cross-section connects directly to a rümm th part of the flow cross-section.
- Fig. 2a is the first housing part 1 and in Fig. 2b ), the second housing part 2, in each case three-dimensional and seen from the inside, shown.
- the second housing part 2 is delimited on the outside in a circular manner and has on the outside a peripheral groove 2 "into which, for example, a peripheral seal can be introduced Realized limit h of the flow cross-section, which is at a right angle ⁇ (not shown) to the boundary j of the flow cross section.
- the behind the end 2 ** in the direction of the outlet A of the Strömungsme medium extending boundary of the flow cross section thus does not extend planar, but is A similarly curved boundary (not shown) is also visible behind the beginning 2 * of the flow spiral in the direction of the outlet A of the flow medium in the so-called initial region the middle range (nic ht shown) for the continuous valid is that the boundary j to the boundary h at a right angle ⁇ (not shown) to each other.
- Fig. 3 is the spiral housing, which consists of a first housing part 1 and a second housing part 2, shown three-dimensionally in the assembled state.
- the first housing part 1 is formed complementary to the second housing part 2, so that the second housing part 2 can be fitted with its outer diameter in the first housing part 1 curse tend. In this way, an additional space requirement is avoided.
- 1 screws can be passed through the holes 1 'at the outer boundary of the housing part, which then bolted directly to the drive housing become.
- the second housing part 2 between the drive housing (not shown) and the first housing part 1 of the spiral housing is held positively, so that can be dispensed with additional fastening means for fixing the first housing part 1 on the second housing part 2.
- Fig. 4 is the spiral housing in the assembled state according to Fig. 3 presented in three dimensions from a different perspective.
- the spiral housing is very compact and requires only a very limited space due to its minimized outer diameter.
- Fig. 5 is the spiral housing, consisting of the first housing part 1 and the second housing part 2 three-dimensional view of the outlet A of the flow medium.
- the illustration illustrates the compact design of the spiral housing.
- Fig. 6 is the plan view of the spiral housing with a view of the first housing part 1 shown.
- the approximate center area M of the flow spiral is highlighted by the dashed arrow.
- this middle region M can vary in size.
- the boundary j (not shown) and the further boundary h (not shown) of the flow cross-section are at right angles ⁇ (not shown) to one another.
- Fig. 7 is the spiral housing in section D -D according to Fig. 6 shown. It is thus a section through the central area (not shown).
- the Strömun gsspirale has a flow cross-section whose ratio of the length X to the width Y is in the range of 1.5 to 2.
- the ratio of the first partial height Y1, measured between the boundary of the flow cross section furthest away from the inlet E of the flow medium and parallel to the longitudinal axis of the inlet E, and the intersection P of the length X and the width Y, to the second partial height Y2 between the Intersection point P of length X and width Y and the closest to the inlet E of the flow medium and parallel to the longitudinal axis of the entrance E extending boundary j of Flow cross-section is measured in the range of 0.25 to 1, wherein the boundary j of the flow cross-section and in the impeller of the centrifugal pump nearest further boundary h of the flow cross section at right angles to each other ⁇ .
- the first housing part 1 form the boundary j and the second housing part form the further boundary h of the flow cross section.
- the flow space S of the flow spiral is shown hatched.
- the width of the protruding tongue (not shown) of the second housing part 2 corresponds to the constant flow width K of the inlet opening into the flow space S of the flow spiral.
- the flow width K is constant over the entire region of the flow spiral in a particularly advantageous manner.
- section AA is a section through the flow spiral, which is attributable to the initial region of the flow spiral, thus not the central region (not shown).
- This initial region of the flow spiral lies directly behind the beginning (not shown) of the flow spiral and has a curved boundary bordering on the impeller of the centrifugal pump (not shown).
- a limitation j of the flow cross-section and a further boundary h of the flow cross-section, which are at right angles to each other ⁇ , are thus not realized.
- Fig. 8a In contrast to Fig. 8a ) are the in Fig. 8b ) and c) shown sections B -B and CC again the middle area (not shown) to assign.
- Fig. 8b On the entry of the length, the width and the first partial height and the second partial height with the representation of the intersection was in Fig. 8b ), c) omitted for reasons of clarity.
- Fig. 7 is in Fig. 8b ), c) the transition of the further boundary h in a curved part i of the flow cross-section de utlich.
- the respective flow spaces S of the flow spiral are in Fig. 8a ), b), c) again shaded.
- the first housing part 1 of the spiral housing is shown three-dimensionally with a view to the inlet E of the flow medium.
- the first housing part 1 has on its outside a contact point 3 for an electrical connection.
- this contact point 3 which is designed as a kind of connector for electrical contact, the drive (not dargestell t) of the centrifugal pump (not shown) is supplied with electrical energy.
- the drive (not dargestell t) of the centrifugal pump (not shown) is supplied with electrical energy.
- Due to the relatively small outer diameter d of the first housing part 1 of the spiral housing it is particularly advantageously possible to arrange the contact point 3 as close as possible to the inlet E of the flow medium, so that the requirement of installation space can be additionally reduced.
Landscapes
- Engineering & Computer Science (AREA)
- Mechanical Engineering (AREA)
- General Engineering & Computer Science (AREA)
- Structures Of Non-Positive Displacement Pumps (AREA)
Description
- Die Erfindung bezieht sich auf ein Spiralgehäuse für eine Kreiselpumpe sowie auf eine Verwendung des Spiralgehäuses.
- Spiralgehäuse für Kreiselpumpen sind bekannt. In "Strömungsmaschinen" von Carl Pfleiderer, Hartwig Petermann, 6. Auflage, S. 339 bis 343 werden Aspekte bei der Auslegung von Spiralgehäusen aufgezeigt. Dabei wird herausgestellt, dass die seitlichen Wände des Spiralgehäuses als Rotationsflächen ausgebildet sein sollten. Bei den bekannten Spiralgehäusen ist in der Regel nachteilig, dass diese einen relativ großen Außendurchmesser aufweisen, was wiederum einen relativ großen Bauraum erforderlich macht. Dieser ist jedoch in vielen Fällen nicht vorhanden.
- In der Automobiltechnischen Fachzeitschrift vom 01.02.1995 wird auf den Seiten 36 bis 90 ein Spiralgehäuse für eine Kreiselpumpe offenbart, das im mittleren Bereich der Strömungsspirale einen Strömungsquerschnitt aufweist, dessen Verhältnis der ersten Teilhöhe, gemessen zwischen der am weitesten von dem Eintritt des Strömungsmediums entfernten und parallel zur Längsachse des Eintritts verlaufenden Begrenzung des Strömungsquerschnittes und dem Schnittpunkt der Länge und der Breite, zur zweiten Teilhöhe, gemessen zwischen dem Schnittpunkt der Länge und der Breite und der am nächsten an dem Eintritt des Strömungsmediums liegenden und parallel zur Längsachse des eintrittaverlaufenden Begrenzung des Strömungsquerschnittes im Bereich von 0,25 bis 1 liegt. Die
DE 16 28 361 A1 offenbart ein Zentrifugalgebläse, insbesondere ein solches, wie es häufig in Fällen verwendet wird, bei denen minimales Gewicht, minimale Größenabmessungen und optimale Förderleistung des Gebläses erforderlich sind. Das Zentrifugalgebläse besitzt ein das Laufrad aufnehmendes Gehäuse, wobei das Gehäuse eine spiralig gebundene Strömungskammer von allgemein elliptischem Querschnitt mit einem innenseitigen, in Umfangsrichtung verlaufenden Einlass sowie einem Auslass für die vom Laufrad geförderte Luft aufweist. Das Verhältnis der Abmessung der kleineren Achse zur Abmessung der größeren Achse des elliptischen Querschnitts nimmt progressiv von einem Ende der Kammer mit kleinem Radius in Richtung zum Kammerauslass zu. - Die
DE 199 56 380 C1 offenbart eine Flüssigkeitspumpe mit einem Motorgehäuse für den Kühlkreislauf eines Kraftfahrzeuges. Diese Flüssigkeitspumpe hat einen Klauenpolstator und einen von dem Klauenpolstator durch eine rohrgetrennten, in einer Flüssigkeit eingetauchten und ein Flügelrad aufweisenden Rotor. Bei der Flüssigkeitspumpe sind die Klauen des Klauenpolstators integraler Bestandteil des Rohres, das ein Teil eines Motorgehäuses darstellt. - Der Erfindung liegt daher die Aufgabe zugrunde, ein Spiralgehäuse für eine Kreiselpumpe zu schaffen, das bei einem größtmöglichen Durchsatz des Strömungsmediums einen möglichst kleinen Außendurchmesser aufweist. Ferner soll das Spiralgehäuse derart gestaltet sein, dass ein möglichst großer Wirkungsgrad der Kreiselpumpe realisiert werden kann.
- Die der Erfindung zugrunde liegende Aufgabe wird durch ein Spiralgehäuses für eine Kreiselpumpe gelöst, das im mittleren Bereich der Strömungsspirale einen Strömungsquerschnitt aufweist, dessen Verhältnis der Lange zur Breite im Bereich von 1,5 bis 2 liegt und dessen Verhältnis der ersten. Teilhöhe, gemessen zwischen der am weitesten von dem Eintritt des Strömungsmediums entfernten und parallel zur Längsachse des Eintritts verlaufenden Begrenzung des Strömungsquerschnitts und dem Schnittpunkt der Länge und der Breite, zur zweiten Teilhöhe, gemessen zwischen dem Schnittpunkt der Länge und der Breite und der am nächsten an dem Eintritt des Strömungsmediums liegenden und parallel zur Längsachse des Eintritts verlaufenden Begrenzung des Strömungsquerschnitts im Bereich von 0,25 bis 1 liegt, wobei die Begrenzung de s Strömungsquerschnitts und die dem Laufrad der Kreiselpumpe am nächsten liegende weitere Begrenzung des Strömungsquerschnitts im rechten Winkel α zueinander stehen. Das Spiralgehäuse kann einteilig oder mehrteilig ausgebildet sein. Die Strömungsspirale wird in der Regel in drei Teile unterteilt, einen Eintrittsbereich, einen mittleren Bereich, und einen Austrittsbereich. Bei dem Eintrittsbereich müssen in der Regel Rundungen vorgesehen werden, so dass das Strömungsmedium aus dem Eintritt strömungsgünstig in die Strömungsspirale gelangt. Ebenso weist der Austrittsbereich Rundungen auf, die einen Übergang zum Austritt aus dem Spiralgehäuse erleichtern. Dazwischen liegt der mittlere Bereich, bei dem einige konstruktive Parameter hingegen konstant gehalten werden sollen. Auch im mittleren Bereich ist der Strömungsquerschnitt nicht kontinuierlich konstant, sondern vergrößert sich in Richtung auf den Austritt des Spiralgehäuses kontinuierlich. Unter der Länge ist das größte Längenmaß des Strömungsquerschnitts zu verstehen, das an jeder Stelle des Strömungsquerschnitts parallel zur Längsachse des Eintritts des Strömungsmediums gemessen werden kann. Unter der Breite ist das größtmögliche Breitenmaß zu verstehen, das an jeder Stelle des Strömungsquerschnitts senkrecht zur Längsachse des Eintritts des Strömungsmediums gemessen werden kann. Die Länge und die Breite stehen somit senkrecht zueinander und haben den gemeinsamen Schnittpunkt. Die Breite wird am Schn ittpunkt in eine erste Teilhöhe und eine zweite Teilhöhe aufgeteilt. Die Summe, gebildet aus der ersten Teilhöhe und aus der zweiten Teilhöhe ergibt dann wieder die Breite. Unter dem rechten Winkel α ist ein Winkel von 90° technisch gesehen gemeint. Dies bedeutet, dass aufgrund von Fertigungstoleranzen auch noch diejenigen Winkel zu verstehen sind, die über 90° bzw. unter 90° liegen. Geringe Winkelabweichungen sollen somit noch durch den Ausdruck "rechter Winkel α" fallen. Es hat sich in überraschender Weise gezeigt, dass sich durch die konstruktive Ausgestaltung des Spiralgehäuses relativ hohe Durchsätze an Strömungsmedien realisieren lassen, wobei der Außendurchmesser des Spiralgehäuses relativ klein gehalten werden kann. Gleichzeitig weist die Kreiselpumpe mit diesem Spiralgehäuse einen relativ hohen Wirkungsgrad auf, der als Produkt des Durchsatzes mit der Druckerhöhung bezogen auf die zugeführte Gesamtleistung definiert ist. Aufgrund der relativ kleinen Außenabmessungen des Spiralgehäuses ist die Kreiselpumpe auch dann vorteilhaft einsetzbar, wenn nur ein relativ geringer Bauraum zur Verfügung steht.
- Eine bevorzugte Ausgestaltung der Erfindung besteht darin, dass das Spiralgehäuse aus einem ersten Gehäuseteil und einem zweiten Gehäuseteil besteht, wobei das erste Gehäuseteil die Begrenzung und das zweite Gehäuseteil 2 die weitere Begrenzung des Strömungsquerschnitts bilden. Dabei ist vorteilhaft, dass die Herstellung des Spiralgehäuses beispielsweise durch ein Gussverfahren ohne verlorene Kerne erfolgen kann. Das Zusammenfügen des ersten Gehäuseteils und des zweiten Gehäuseteils kann beispielhaft dabei auf einfache Weise durch eine Schraubverbindung oder durch Kleben erfolgen.
- Gemäß einer weiteren Ausgestaltung der Erfindung weist das erste Gehäuseteil an seiner äußeren Begrenzung Bohrungen auf, die parallel zur Längsachse des Eintritts des Strömungsmediums verlaufen. Auf diese Weise lässt sich das erste Gehäuseteil in vorteilhafter Weise mit Schraubverbindungen am Antriebsgehäuse der Kreiselpumpe befestigen.
- Eine weitere Ausgestaltung der Erfindung besteht darin, dass das zweite Gehäuseteil außen kreisförmig begrenzt ist und an der Außenseite eine umlaufende Nut aufweist. In der umlaufenden Nut können auf relativ einfache Weise Dichtungselemente, beispielsweise ein Dichtungsring, fixiert werden. Des Weiteren ist es möglich, in die Nut Klebstoffe einzubringen, um das zweite Gehäuseteil auf relativ einfache Weise mit dem ersten Gehäuseteil zu verbinden.
- Eine weitere Ausgestaltung der Erfindung sieht vor, dass das erste Gehäuseteil an seiner Außenseite eine Kontaktstelle für einen elektrischen Anschluss aufweist. Sie kann beispielsweise als Steckverbindung für eine elektrische Kontaktierung ausgebildet sein. Dabei ist vorteilhaft, dass die elektrische Stromversorgung der Kreiselpumpe auf einfache Weise über das erste Gehäuseteil erfolgen kann, wobei der dafür erforderliche Bauraum ebenfalls relativ klein gehalten werden kann.
- Gemäß einer weiteren Ausgestaltung der Erfindung weist das erste Gehäuseteil an seiner dem Eintritt gegenüberliegenden Seite eine kreisförmige Öffnung auf, deren Innendurchmesser dem Außendurchmesser des zweiten Gehäuseteils gegenüber komplementär ausgebildet ist. Unter der komplementären Ausbildung ist zu verstehen, dass das zweite Gehäuseteil in das erste Gehäuseteil formschlüssig eingepasst werden kann. Dabei ist vorteilhaft, dass das zweite Gehäuseteil nahezu f luchtend in das erste Gehäuseteil integriert werden kann, was darüber hinaus zu einer zusätzlichen Einsparung von Bauraum führt.
- Eine weitere Ausgestaltung der Erfindung sieht vor, dass das zweite Gehäuseteil eine mittige Öffnung für das Laufrad der Kreiselpumpe aufweist, die als Lager für den Antrieb gestaltet ist. Beispielweise wird die mittige Öffnung kreisförmig ausgebildet und an ihren Innenkanten versteift, so dass der mit einem Ende in die mittige Öffnung eingeschobene Antrieb für das Laufrad der Kreiselpumpe in der mittigen Öffnung fixiert und somit gelagert werden kann. Auf eine zusätzliche Anordnung eines Lagers kann dabei auf vorteilhafte Weise verzichtet werden.
- Gemäß einer weiteren Ausgestaltung der Erfindung ist das zweite Gehäuseteil ein Teil des Antriebsgehäuses. Unter der Bezeichnung "Antriebsgehäuse" ist dasjenige Gehäuse zu verstehen, in welchem der elektrische Antrieb für das Laufrad der Kreiselpumpe angeordnet ist. Dabei ist vorteilhaft, dass auf eine separate Einzelfertigung des zweiten Gehäuseteils verzichtet werden kann.
- Gegenstand der Erfindung ist schließlich noch die Verwendung des Spiralgehäuses als Gehäuse für eine Kühlwasser -Kreiselpumpe in einem Kraftfahrzeug. Dabei ist vorteilhaft, dass der in einem Kraftfahrzeug nur sehr begrenzt zur Verfügung stehende Bauraum in optimaler Weise genutzt werden kann.
- Die Erfindung wird nachfolgend anhand der Zeichnung (
Fig. 1a ), b);Fig. 2a ), b);Fig. 3 bis Fig. 7 ;Fig. 8a ), b), c);Fig. 9 ) näher und beispielhaft erläutert. -
Fig. 1a ), b) zeigt die Innenseite des ersten Gehäuseteils und die Innenseite des zweiten Gehäuseteils in der Draufsicht. -
Fig. 2a ), b) zeigt die Innenseite des ersten Gehäuseteils und des zweiten Gehäuseteils in dreidimensionaler Darstellung. -
Fig. 3 zeigt das erste Gehäuseteil und das zweite Gehäuseteil dreidimensional in zusammengebautem Zustand. -
Fig. 4 zeigt das erste Gehäuseteil und das zweite Gehäuseteil in zusammengebautem Zustand in dreidimensionaler Darstellung aus einem anderen Winkel. -
Fig. 5 zeigt den Blick in den Austritt des Spiralgehäuses in dreidimensionaler Form. -
Fig. 6 zeigt die Draufsicht auf das Spiralge häuse mit dem mittleren Bereich. -
Fig. 7 zeigt vergrößert den Schnitt D-D gemäßFig. 6 . -
Fig. 8a ), b), c) zeigt die Schnitte A-A, B-B und C-C gemäßFig. 6 . -
Fig. 9 zeigt, das erste Gehäuseteil in dreidimensionaler Darstellung mit der Kontaktstelle. - In
Fig. 1a ) ist das erste Gehäuseteil 1 und inFig. 1b ) das zweite Gehäuseteil 2 in der Draufsicht, jeweils von innen her gesehen, dargestellt. Das erste Gehäuseteil 1 weist einen Eintritt E des Strömungsmediums sowie einen Austritt A des Strömungsmediums auf. Ferner ist das erste Gehäuseteil 1 an seiner Außenseite mit Bohrungen 1' versehen, die der Befestigung an einem Antriebsgehäuse (nicht dargestellt) dienen. Das zweite Gehäuseteil 2 weist eine mittige Öffnung L für das Laufrad der Kreiselpumpe (nicht dargestellt) auf. Diese mittige Öffnung L kann gegebenenfalls auch als Lager für den Antrieb gestaltet sein. Die Strömungsspirale hat e inen Anfang 2* und ein Ende 2**. In diesem allumfassenden Bereich strömt das Strömungsmedium, bei dem es sich in der Regel um eine wässrige Lösung handelt, sternenförmig vom Eintritt E ausgehend, also von innen her mittig gegen die äußere Begrenzung der Strömungsspirale. Im zusammengebauten Zustand greift das zweite Gehäuseteil 2 mit seiner vorstehenden Zunge 2' in das erste Gehäuseteil 1 derart ein, so dass die erste Kante a des ersten Gehäuseteils 1 an der zweiten Kante b des zweiten Gehäuseteils 2 anliegt. Ferner liegen dann auch die erste Anschlagfläche c an der zweiten Anschlagfläche d (jeweils gepunktet dargestellt) sowie die dritte Anschlagfläche e an der vierten Anschlagfläche f (jeweils mit gewellten Linien dargestellt) an. Die Fläche g des ersten Gehäuseteils 1 hingegen berührt im zusammengebauten Zustand das zweite Gehäuseteil 2 des Spiralgehäuses nicht. Im zusammengebauten Zustand des Spiralgehäuses stehen die am nächsten an dem Eintritt E des Strömungsmediums liegende und parallel zur Längsachse des Eintritts E verlaufende Begrenzung j des Strömungsquerschnitts und die dem Laufrad der Kreiselpumpe am nächsten liegende weitere Begrenzung h des Strömungsquerschnitts im rechten Winkel α (nicht dargestellt) zueinander. Dabei bildet das erste Gehäuseteil 1 die Begrenzung j und das zweite Gehäuseteil 2 die weitere Begrenzung h des Strömungsquerschnitts. Die weitere Begrenzung h des Strömungsquerschnitts schließt direkt an einen gekrümm ten Teil i des Strömungsquerschnitts an. - In
Fig. 2a ) ist das erste Gehäuseteil 1 und inFig. 2b ) das zweite Gehäuseteil 2, jeweils dreidimensional und von innen her gesehen, dargestellt. Das zweite Gehäuseteil 2 ist außen kreisförmig begrenzt und weist an der Außenseite eine umlaufende Nut 2" auf, in die beispielsweise eine umlaufende Dichtung eingebracht werden kann. Hinter dem Ende 2 ** der Strömungsspirale in Richtung auf den Austritt A für das Strömungsmedium wird keine weitere Begrenzung h des Strömungsquerschnitts realisiert, die im rechten Winkel α (nicht dargestellt) zu der Begrenzung j des Strömungsquerschnitts steht. Die hinter dem Ende 2 ** in Richtung auf den Austritt A des Strömungsme diums verlaufende Begrenzung des Strömungsquerschnitts verläuft somit nicht ebenflächig, sondern ist gekrümmt. Dieser Bereich stellt den Endbereich der Strömungsspirale dar. Eine ähnlich gekrümmte Begrenzung (nicht dargestellt) ist auch hinter dem Anfang 2 * der Strömungsspirale in Richtung auf den Austritt A des Strömungsmediums im so genannten Anfangsbereich zu verzeichnen. Zwischen dem Endbereich und diesem Anfangsbereich liegt der mittlere Bereich (nicht dargestellt) für den durchgehend gültig ist, dass die Begrenzung j zu der Begrenzung h im rechten Winkel α (nicht dargestellt) zueinander stehen. - In
Fig. 3 ist das Spiralgehäuse, das aus einem ersten Gehäuseteil 1 und aus einem zweiten Gehäuse teil 2 besteht, im zusammengebauten Zustand dreidimensional dargestellt. Das erste Gehäuseteil 1 ist gegenüber dem zweiten Gehäuseteil 2 komplementär ausgebildet, so dass das zweite Gehäuseteil 2 mit seinem Außendurchmesser in das erste Gehäuseteil 1 fluch tend eingepasst werden kann. Auf diese Weise wird ein zusätzliches Bauraumerfordernis vermieden. Zur Befestigung des Spiralgehäuses an einem Antriebsgehäuse, in dem sich der Motor für den Antrieb des Laufrades der Kreiselpumpe (nicht dargestellt) befindet, können durch die Bohrungen 1' an der äußeren Begrenzung des Gehäuseteils 1 Schrauben hindurchgeführt werden, die dann direkt mit dem Antriebsgehäuse verschraubt werden. Auf diese Weise wird das zweite Gehäuseteil 2 zwischen dem Antriebsgehäuse (nicht dargestellt) und dem ersten Gehäuseteil 1 des Spiralgehäuses formschlüssig gehalten, so dass auf zusätzliche Befestigungsmittel zur Befestigung des ersten Gehäuseteils 1 am zweiten Gehäuseteil 2 verzichtet werden kann. Auch durch diese Maßnahmen ist eine Einsc hränkung von Bauraum möglich. - In
Fig. 4 ist das Spiralgehäuse im zusammengebauten Zustand gemäßFig. 3 dreidimensional aus einer anderen Perspektive dargestellt. Das Spiralgehäuse baut sehr kompakt und erfordert aufgrund seines minimierten Außendurchmess ers nur einen sehr begrenzten Bauraum. - In
Fig. 5 ist das Spiralgehäuse, bestehend aus dem ersten Gehäuseteil 1 und dem zweiten Gehäuseteil 2 dreidimensional mit Blick in den Austritt A des Strömungsmediums dargestellt. Die Darstellung verdeutlicht die Kompaktbauweise des Spiralgehäuses.
InFig. 6 ist die Draufsicht auf das Spiralgehäuse mit Blick auf das erste Gehäuseteil 1 dargestellt. Der ungefähre mittlere Bereich M der Strömungsspirale wird durch den gestrichelten Pfeil herausgestellt. Je nach Größe des Spiralgehäuses sowie je nach Form der Anschlussteile, die einen jeweiligen Einfluss auf die konstruktive Ausgestaltung des Eintritts E des Strömungsmediums bzw. des Austritts A des Strömungsm ediums hat, kann dieser mittlere Bereich M in seiner Größe variieren. Innerhalb des mittleren Bereiches M stehen die Begrenzung j (nicht dargestellt) und die weitere Begrenzung h (nicht dargestellt) des Strömungsquerschnitts im rechten Winkel α (nicht dargestellt) zueinander. - In
Fig. 7 ist das Spiralgehäuse im Schnitt D -D gemäßFig. 6 dargestellt. Es handelt sich somit um einen Schnitt durch den mittleren Bereich (nicht dargestellt). Die Strömun gsspirale weist einen Strömungsquerschnitt auf, dessen Verhältnis der Länge X zur Breite Y im Bereich von 1,5 bis 2 liegt. Das Verhältnis der ersten Teilhöhe Y1, gemessen zwischen der am weitesten vom Eintritt E des Strömungsmediums entfernten und parallel zur Längsachse des Eintritts E verlaufenden Begrenzung des Strömungsquerschnitts und dem Schnittpunkt P der Länge X und der Breite Y, zu der zweiten Teilhöhe Y2, die zwischen dem Schnittpunkt P der Länge X und der Breite Y und der am nächsten an dem Eintritt E des Strömungsmediums liegenden und parallel zur Längsachse des Eintritts E verlaufenden Begrenzung j des Strömungsquerschnitts gemessen wird, liegt im Bereich von 0,25 bis 1, wobei die Begrenzung j des Strömungsquerschnitts und die im Laufrad der Kreiselpumpe am nächsten liegende weitere Begrenzung h des Strömungsquerschnitts im rechten Winkel α zueinander stehen. Dabei bilden das erste Gehäuseteil 1 die Begrenzung j und das zweite Gehäuseteil die weitere Begrenzung h des Strömungsquerschnitts. Der Strömungsraum S der Strömungsspirale ist schraffiert dargestellt. Die Breite der vorstehenden Zunge (nicht dargestellt) des zweiten Gehäuseteils 2 entspricht der konstanten Strömungsbreite K der Eintrittsöffnung in den Strömungsraum S der Strömungsspirale. Dabei ist die Strömungsbreite K über den gesamten Bereich der Strömungsspirale in besonders vorteilhafter Weise konstant. - In
Fig. 8a ) ist der Schnitt A-A gemäßFig. 6 dargestellt. InFig. 8b ) ist der Schnitt B-B gemäßFig. 6 dargestellt. InFig. 8c ) ist der Schnitt C-C gemäßFig. 6 dargestellt. Bei dem inFig. 8a ) dargestellten Schnitt A-A handelt es sich um einen Schnitt durch die Strömungsspirale, der dem Anfangsbereich der Strömungsspirale, somit nicht dem mittleren Bereich (nicht dargestellt) zuzurechnen ist. Dieser Anfangsbereich der Strömungsspirale liegt direkt hinter dem Anfang (nicht dargestellt) der Strömungsspirale und weist eine dem Laufrad der Kreiselpumpe (nicht dargestellt) am nächs ten liegende gekrümmte Begrenzung auf. Eine Begrenzung j des Strömungsquerschnitts sowie eine weitere Begrenzung h des Strömungsquerschnitts, die im rechten Winkel α zueinander stehen, werden dabei somit nicht realisiert. Im Gegensatz zuFig. 8a ) sind die inFig. 8b ) und c) dargestellten Schnitte B -B bzw. C-C wiederum dem mittleren Bereich (nicht dargestellt) zuzuordnen. Auf die Eintragung der Länge, der Breite sowie der ersten Teilhöhe und der zweiten Teilhöhe mit der Darstellung des Schnittpunktes wurde inFig. 8b ), c) aus Gründen der Übersichtlichkeit verzichtet. Wie auch inFig. 7 wird inFig. 8b ), c) der Übergang der weiteren Begrenzung h in einem gekrümmten Teil i des Strömungsquerschnitts de utlich. Die jeweiligen Strömungsräume S der Strömungsspirale sind inFig. 8a ), b), c) erneut schraffiert dargestellt. - In
Fig. 9 ist das erste Gehäuseteil 1 des Spiralgehäuses dreidimensional mit Blick auf den Eintritt E des Strömungsmediums dargestellt. Das erste Gehäuseteil 1 weist an seiner Außenseite eine Kontaktstelle 3 für einen elektrischen Anschluss auf. Über diese Kontaktstelle 3, die als eine Art Steckverbindung für eine elektrische Kontaktierung ausgeführt ist, wird der Antrieb (nicht dargestell t) der Kreiselpumpe (nicht dargestellt) mit elektrischer Energie versorgt. Es ist jedoch auch ferner möglich, über die Kontaktstelle 3 entsprechende Steuer- bzw. Regelungssignale der Kreiselpumpe zuzuführen. Aufgrund des relativ kleinen Außendurchmessers d es ersten Gehäuseteils 1 des Spiralgehäuses ist es besonders vorteilhaft möglich, die Kontaktstelle 3 möglichst nahe am Eintritt E des Strömungsmediums anzuordnen, so dass sich das Erfordernis von Bauraum zusätzlich verringern lässt.
Claims (9)
- Spiralgehäuse für eine Kreiselpumpe, dessen Verhältnis einer ersten Teilhöhe (Y1), gemessen zwischen der am weitesten von dem Eintritt (E) des Strömungsmediums entfernten und parallel zur Längsachse des Eintritts (E) verlaufenden Begrenzung des Strömungsquerschnitts und dem Schnittpunkt (P) der Länge (X) und der Breite (Y), zu einer zweiten Teilhöhe (Y2), gemessen zwischen dem Schnittpunkt (P) der Länge (X) und der Breite (Y) und der am nächsten an dem Eintritt (E) des Strömungsmediums liegenden und parallel zur Längsachse des Eintritts (E) verlaufenden Begrenzung (j) des Strömungsquerschnitts im Bereich von 0,25 bis 1 liegt, wobei die Begrenzung (j) des Strömungsquerschnitts und die dem Laufrad der Kreiselpumpe am nächsten liegende weitere Begrenzung (h) des Strömungsquerschnitts im rechten Winkel α zueinander stehen, dadurch gekennzeichnet, dass das Spiralgehäuse im mittleren Bereich (M) der Strömungsspirale einen Strömungsquerschnitt aufweist, dessen Verhältnis der Länge (X) zur Breite (Y) im Bereich von 1,5 bis 2 liegt.
- Spiralgehäuse nach Anspruch 1, das aus einem ersten Gehäuseteil (1) und einem zweiten Gehäuseteil (2) besteht, wobei das erste Gehäuseteil (1) die Begrenzung (j) und das zweite Gehäuseteil (2) die weitere Begrenzung (h) des Strömungsquerschnitts bilden.
- Spiralgehäuse nach Anspruch 2, bei dem das erste Gehäuseteil (1) an seiner äußeren Begrenzung Bohrungen (1') aufweist, die parallel zur Längsachse des Eintritts (E) des Strömungsmediums verlaufen.
- Spiralgehäuse nach Anspruch 2 oder Anspruch 3, bei dem das zweite Gehäuseteil (2) außen kreisförmig begrenzt ist und an der Außenseite eine umlaufende Nut (2'') aufweist.
- Spiralgehäuse nach einem der Ansprüche 2 bis 4, bei dem das erste Gehäuseteil (1) an seiner Außenseite eine Kontaktstelle (3) für einen elektrischen Anschluss aufweist.
- Spiralgehäuse nach einem der Ansprüche 2 bis 5, bei dem das erste Gehäuseteil (1) an seiner dem Eintritt (E) gegenüberliegenden Seite eine kreisförmige Öffnung aufweist, deren Innendurchmesser dem Außendurchmesser des zweiteiligen Gehäuseteils (2) gegenüber komplementär ausgebildet ist.
- Spiralgehäuse nach einem der der Ansprüche 2 bis 6, bei dem das zweite Gehäuseteil (2) eine mittige Öffnung (L) für das Laufrad der Kreiselpumpe aufweist, die als Lager für den Antrieb gestaltet ist.
- Spiralgehäuse nach einem der Ansprüche 2 bis 7, bei dem das zweite Gehäuseteil (2) ein Teil des Antriebsgehäuses ist.
- Verwendung des Spiralgehäuses nach einem der Ansprüche 1 bis 8 als Gehäuse für eine Kühlwasser-Kreiselpumpe in einem Kraftfahrzeug.
Applications Claiming Priority (2)
| Application Number | Priority Date | Filing Date | Title |
|---|---|---|---|
| DE10347302 | 2003-10-08 | ||
| DE2003147302 DE10347302A1 (de) | 2003-10-08 | 2003-10-08 | Spiralgehäuse für eine Kreiselpumpe |
Publications (3)
| Publication Number | Publication Date |
|---|---|
| EP1522738A2 EP1522738A2 (de) | 2005-04-13 |
| EP1522738A3 EP1522738A3 (de) | 2010-01-20 |
| EP1522738B1 true EP1522738B1 (de) | 2013-12-25 |
Family
ID=34306373
Family Applications (1)
| Application Number | Title | Priority Date | Filing Date |
|---|---|---|---|
| EP20040104313 Revoked EP1522738B1 (de) | 2003-10-08 | 2004-09-08 | Spiralgehäuse für eine Kreiselpumpe |
Country Status (2)
| Country | Link |
|---|---|
| EP (1) | EP1522738B1 (de) |
| DE (1) | DE10347302A1 (de) |
Families Citing this family (8)
| Publication number | Priority date | Publication date | Assignee | Title |
|---|---|---|---|---|
| DE102007010050A1 (de) | 2007-03-01 | 2008-09-04 | Continental Automotive Gmbh | Kreiselpumpe mit einem Spiralgehäuse |
| DE102007010051A1 (de) | 2007-03-01 | 2008-09-04 | Continental Automotive Gmbh | Kreiselpumpe mit einem Spiralgehäuse |
| DE102007036239A1 (de) | 2007-08-02 | 2009-02-05 | Continental Automotive Gmbh | Verfahren zur Abfuhr von Wärme von Bauteilen einer Flüssigkeitspumpe |
| DE102007036238A1 (de) | 2007-08-02 | 2009-02-05 | Continental Automotive Gmbh | Flüssigkeitspumpe |
| DE102007036240A1 (de) | 2007-08-02 | 2009-02-05 | Continental Automotive Gmbh | Flüssigkeitspumpe |
| DE102008019608A1 (de) | 2008-04-18 | 2009-10-22 | Continental Automotive Gmbh | Isolationsträger für einen Stator eines Elektromotors zum Antreiben von Flüssigkeitspumpen |
| JP5479316B2 (ja) * | 2010-12-28 | 2014-04-23 | 三菱重工業株式会社 | 遠心圧縮機のスクロール構造 |
| CN114837792A (zh) | 2021-03-10 | 2022-08-02 | 美普盛(上海)汽车零部件有限公司 | 一种带膨胀补偿密封件的电动冷却液泵 |
Family Cites Families (6)
| Publication number | Priority date | Publication date | Assignee | Title |
|---|---|---|---|---|
| US3365122A (en) * | 1966-02-02 | 1968-01-23 | Rotron Mfg Co | Centrifugal blower |
| DE2206398A1 (de) * | 1972-02-11 | 1973-08-23 | Hanning Elektro Werke | Pumpenaggregat fuer umwaelzanlagen |
| GB2172659A (en) * | 1985-03-19 | 1986-09-24 | Austin Rover Group | Cooling liquid pump for internal combustion engine |
| IT1234504B (it) * | 1989-08-18 | 1992-05-18 | Tiziano Carretta | Cassa statorica in lamiera metallica, particolarmente per pompe radiali centrifughe |
| DE19943577A1 (de) * | 1999-09-13 | 2001-03-15 | Wilo Gmbh | Pumpengehäuse mit integrierter Elektronik |
| DE19956380C1 (de) * | 1999-11-24 | 2001-01-04 | Bosch Gmbh Robert | Flüssigkeitspumpe mit einem Motorgehäuse und Verfahren zur Herstellung eines Motorgehäuses |
-
2003
- 2003-10-08 DE DE2003147302 patent/DE10347302A1/de not_active Withdrawn
-
2004
- 2004-09-08 EP EP20040104313 patent/EP1522738B1/de not_active Revoked
Also Published As
| Publication number | Publication date |
|---|---|
| EP1522738A2 (de) | 2005-04-13 |
| EP1522738A3 (de) | 2010-01-20 |
| DE10347302A1 (de) | 2005-05-12 |
Similar Documents
| Publication | Publication Date | Title |
|---|---|---|
| DE69314912T2 (de) | Seitenkanalpumpe und Verfahren zur Herstellung des Laufrades | |
| DE69113616T2 (de) | Seitenkanalpumpe. | |
| DE69626768T2 (de) | Vorrichtung zum Pumpen oder Verdichten eines mehrphasigen Fluids mit einer Tandem Beschaufelung | |
| EP3824190B1 (de) | Ventilator und leiteinrichtung für einen ventilator | |
| EP2834906B1 (de) | Elektrische maschine | |
| DE10317952A1 (de) | Wärmeableitvorrichtung und dazugehöriges Flügelrad | |
| DE4428633C2 (de) | Peripheralpumpe zum Zuführen von Kraftstoff zu einem Fahrzeugmotor | |
| EP1522738B1 (de) | Spiralgehäuse für eine Kreiselpumpe | |
| EP1192358A1 (de) | Förderpumpe | |
| DE69326495T2 (de) | Kraftstoffpumpe | |
| WO2016110373A1 (de) | Seitenkanalgebläse für eine verbrennungskraftmaschine | |
| DE102015107037A1 (de) | Diffusor | |
| EP0752066A1 (de) | Einrichtung zur geräuschreduzierung bei kreiselpumpen | |
| DE10311068B4 (de) | Geräuscharme Seitenkanalpumpen | |
| DE10335109B4 (de) | Geräuscharme Seitenkanalpumpe | |
| DE69414344T2 (de) | Seitenströmungspumpe | |
| DE102019101277A1 (de) | Axiallüfteranordnung für Fahrzeuge | |
| EP1131560B1 (de) | Seitenkanalpumpe | |
| EP0599204B1 (de) | Tauchpumpenaggregat | |
| DE69415269T2 (de) | Zusammenbau einer Brennstoffpumpe | |
| EP1120572A2 (de) | Kreiselpumpe | |
| DE112006003397T5 (de) | Brennstoffzellenverdichtersystem | |
| EP2513483B1 (de) | Kraftstoffpumpe | |
| EP3391969B1 (de) | Formstabiles ringelement für einen wärmetauschmantel | |
| DE19908143C2 (de) | Geschmiedetes Kreiselpumpengehäuse |
Legal Events
| Date | Code | Title | Description |
|---|---|---|---|
| PUAI | Public reference made under article 153(3) epc to a published international application that has entered the european phase |
Free format text: ORIGINAL CODE: 0009012 |
|
| AK | Designated contracting states |
Kind code of ref document: A2 Designated state(s): AT BE BG CH CY CZ DE DK EE ES FI FR GB GR HU IE IT LI LU MC NL PL PT RO SE SI SK TR |
|
| AX | Request for extension of the european patent |
Extension state: AL HR LT LV MK |
|
| RAP1 | Party data changed (applicant data changed or rights of an application transferred) |
Owner name: CONTINENTAL AUTOMOTIVE GMBH |
|
| PUAL | Search report despatched |
Free format text: ORIGINAL CODE: 0009013 |
|
| AK | Designated contracting states |
Kind code of ref document: A3 Designated state(s): AT BE BG CH CY CZ DE DK EE ES FI FR GB GR HU IE IT LI LU MC NL PL PT RO SE SI SK TR |
|
| AX | Request for extension of the european patent |
Extension state: AL HR LT LV MK |
|
| 17P | Request for examination filed |
Effective date: 20100720 |
|
| AKX | Designation fees paid |
Designated state(s): DE FR IT |
|
| 17Q | First examination report despatched |
Effective date: 20110321 |
|
| GRAP | Despatch of communication of intention to grant a patent |
Free format text: ORIGINAL CODE: EPIDOSNIGR1 |
|
| INTG | Intention to grant announced |
Effective date: 20130717 |
|
| GRAS | Grant fee paid |
Free format text: ORIGINAL CODE: EPIDOSNIGR3 |
|
| GRAA | (expected) grant |
Free format text: ORIGINAL CODE: 0009210 |
|
| AK | Designated contracting states |
Kind code of ref document: B1 Designated state(s): DE FR IT |
|
| REG | Reference to a national code |
Ref country code: DE Ref legal event code: R096 Ref document number: 502004014471 Country of ref document: DE Effective date: 20140213 |
|
| REG | Reference to a national code |
Ref country code: DE Ref legal event code: R026 Ref document number: 502004014471 Country of ref document: DE |
|
| PLBI | Opposition filed |
Free format text: ORIGINAL CODE: 0009260 |
|
| PLAX | Notice of opposition and request to file observation + time limit sent |
Free format text: ORIGINAL CODE: EPIDOSNOBS2 |
|
| 26 | Opposition filed |
Opponent name: PIERBURG PUMP TECHNOLOGY GMBH Effective date: 20140925 |
|
| REG | Reference to a national code |
Ref country code: DE Ref legal event code: R026 Ref document number: 502004014471 Country of ref document: DE Effective date: 20140925 |
|
| PLAF | Information modified related to communication of a notice of opposition and request to file observations + time limit |
Free format text: ORIGINAL CODE: EPIDOSCOBS2 |
|
| PLBB | Reply of patent proprietor to notice(s) of opposition received |
Free format text: ORIGINAL CODE: EPIDOSNOBS3 |
|
| REG | Reference to a national code |
Ref country code: FR Ref legal event code: ST Effective date: 20150529 |
|
| PG25 | Lapsed in a contracting state [announced via postgrant information from national office to epo] |
Ref country code: FR Free format text: LAPSE BECAUSE OF NON-PAYMENT OF DUE FEES Effective date: 20140930 |
|
| PG25 | Lapsed in a contracting state [announced via postgrant information from national office to epo] |
Ref country code: IT Free format text: LAPSE BECAUSE OF FAILURE TO SUBMIT A TRANSLATION OF THE DESCRIPTION OR TO PAY THE FEE WITHIN THE PRESCRIBED TIME-LIMIT Effective date: 20131225 |
|
| RDAF | Communication despatched that patent is revoked |
Free format text: ORIGINAL CODE: EPIDOSNREV1 |
|
| STAA | Information on the status of an ep patent application or granted ep patent |
Free format text: STATUS: THE PATENT HAS BEEN GRANTED |
|
| APBM | Appeal reference recorded |
Free format text: ORIGINAL CODE: EPIDOSNREFNO |
|
| APBP | Date of receipt of notice of appeal recorded |
Free format text: ORIGINAL CODE: EPIDOSNNOA2O |
|
| APAH | Appeal reference modified |
Free format text: ORIGINAL CODE: EPIDOSCREFNO |
|
| PGFP | Annual fee paid to national office [announced via postgrant information from national office to epo] |
Ref country code: DE Payment date: 20170930 Year of fee payment: 14 |
|
| APBU | Appeal procedure closed |
Free format text: ORIGINAL CODE: EPIDOSNNOA9O |
|
| REG | Reference to a national code |
Ref country code: DE Ref legal event code: R064 Ref document number: 502004014471 Country of ref document: DE Ref country code: DE Ref legal event code: R103 Ref document number: 502004014471 Country of ref document: DE |
|
| RDAG | Patent revoked |
Free format text: ORIGINAL CODE: 0009271 |
|
| STAA | Information on the status of an ep patent application or granted ep patent |
Free format text: STATUS: PATENT REVOKED |
|
| 27W | Patent revoked |
Effective date: 20180311 |