EP1364591A2 - Slide fastener having separable bottom end stop - Google Patents

Slide fastener having separable bottom end stop Download PDF

Info

Publication number
EP1364591A2
EP1364591A2 EP03010407A EP03010407A EP1364591A2 EP 1364591 A2 EP1364591 A2 EP 1364591A2 EP 03010407 A EP03010407 A EP 03010407A EP 03010407 A EP03010407 A EP 03010407A EP 1364591 A2 EP1364591 A2 EP 1364591A2
Authority
EP
European Patent Office
Prior art keywords
fastener
reinforcement piece
bottom end
fastener tape
end stop
Prior art date
Legal status (The legal status is an assumption and is not a legal conclusion. Google has not performed a legal analysis and makes no representation as to the accuracy of the status listed.)
Withdrawn
Application number
EP03010407A
Other languages
German (de)
French (fr)
Other versions
EP1364591A3 (en
Inventor
Hisayoshi Mizuhara
Yukio Sanada
Kiyomasa Segawa
Isamu Kumano
Current Assignee (The listed assignees may be inaccurate. Google has not performed a legal analysis and makes no representation or warranty as to the accuracy of the list.)
YKK Corp
Original Assignee
YKK Corp
Priority date (The priority date is an assumption and is not a legal conclusion. Google has not performed a legal analysis and makes no representation as to the accuracy of the date listed.)
Filing date
Publication date
Application filed by YKK Corp filed Critical YKK Corp
Publication of EP1364591A2 publication Critical patent/EP1364591A2/en
Publication of EP1364591A3 publication Critical patent/EP1364591A3/en
Withdrawn legal-status Critical Current

Links

Images

Classifications

    • AHUMAN NECESSITIES
    • A44HABERDASHERY; JEWELLERY
    • A44BBUTTONS, PINS, BUCKLES, SLIDE FASTENERS, OR THE LIKE
    • A44B19/00Slide fasteners
    • A44B19/24Details
    • A44B19/38Means at the end of stringer by which the slider can be freed from one stringer, e.g. stringers can be completely separated from each other
    • AHUMAN NECESSITIES
    • A44HABERDASHERY; JEWELLERY
    • A44BBUTTONS, PINS, BUCKLES, SLIDE FASTENERS, OR THE LIKE
    • A44B19/00Slide fasteners
    • A44B19/24Details
    • A44B19/38Means at the end of stringer by which the slider can be freed from one stringer, e.g. stringers can be completely separated from each other
    • A44B19/384Separable slide fasteners with quick opening devices
    • A44B19/388Bottom end stop means for quick opening slide fasteners
    • YGENERAL TAGGING OF NEW TECHNOLOGICAL DEVELOPMENTS; GENERAL TAGGING OF CROSS-SECTIONAL TECHNOLOGIES SPANNING OVER SEVERAL SECTIONS OF THE IPC; TECHNICAL SUBJECTS COVERED BY FORMER USPC CROSS-REFERENCE ART COLLECTIONS [XRACs] AND DIGESTS
    • Y10TECHNICAL SUBJECTS COVERED BY FORMER USPC
    • Y10TTECHNICAL SUBJECTS COVERED BY FORMER US CLASSIFICATION
    • Y10T24/00Buckles, buttons, clasps, etc.
    • Y10T24/25Zipper or required component thereof
    • Y10T24/2593Zipper or required component thereof including complementary, aligning means attached to ends of interlocking surfaces

Definitions

  • the present invention relates to a slide fastener having a separable bottom end stop comprising a reinforcement piece for reinforcing a fastener tape which is provided continuously to a box pin or an insert pin of the separable bottom end stop attached on an end portion of the fastener tape.
  • a typical product has fastener elements attached along opposing side edges of a pair of fastener tapes, and the separable bottom end stop formed of a box pin, a box and an insert pin is continuously attached to a lower end of the fastener elements.
  • plain woven fabric (taffeta) or a reinforcement tape in which an adhesive layer provided on a rear surface of a synthetic resin film is adhered to a portion of the fastener tape where the separable bottom end stop is attached, and after reinforcing the portion so as to have a stable form, the separable bottom end stop is attached to the portion.
  • a separable bottom end stop for a slide fastener is disclosed in Japanese Utility Model Application Publication No. 41-17374 (See Fig. 19) in which the reinforcement tape is not adhered to the end portion of the fastener tape, but rather using a synthetic resin, a box pin, an insert pin and a mesh-like reinforcement piece are integrally molded with both front and rear surfaces of the fastener tape directly by an injection molding means. Further, a separable bottom end stop for a slide fastener is disclosed in Japanese Patent Application Laid-Open No.
  • the outer peripheral edge of a reinforcement piece 13' has a pointed corner, and thus the reinforcement piece 13' easily catches other objects and is easily stripped. Further, because the reinforcement piece 13' is provided so as to be wide and large toward the outer side edge of a fastener tape 4', the portion of the fastener tape 4' where the reinforcement piece 13' is provided becomes upright, and when the slide fastener is attached to an object by sewing, the sewing machine needle (not shown) contacts the reinforcement piece 13' and the sewing machine needle breaks frequently.
  • the invention is contrived with considering the above-described problems, and a main object of the invention is to provide a slide fastener having a separable bottom end stop in which a reinforcement piece in the separable bottom end stop is directly molded to a fastener tape by injection molding, thereby reducing cost of a product; to improve flexibility of the reinforcement piece; and to provide a high quality product being difficult to be stripped and damaged in which the sewing machine needle is not broken easily upon sewing, thereby improving production efficiency.
  • Another object of the invention is to provide a slide fastener having a separable bottom end stop in which a projecting start edge portion of the reinforcement piece, which receives the most load when an external force which can deform the reinforcement piece is applied, is reinforced, and the reinforcement piece is not broken easily.
  • Still another object of the invention is to provide a slide fastener having a separable bottom end stop in which because of an inclined portion of the reinforcement piece, the frequency with which the reinforcement piece catches other objects is reduced, thereby making stripping of the reinforcement piece difficult, and the bottom end stop comprises an excellent and strong reinforcement piece whose configuration is novel in terms of design.
  • Further object of the invention is to provide a slide fasteners having a separable bottom end stop in which a lower end of the fastener tape is prevented from fraying easily, and thus a beautiful condition is retained for a long period of time.
  • Another object of the invention is to provide a slide fastener having a separable bottom end stop in which a molten resin is thoroughly permeated from the projecting start edge portion of the reinforcement piece to an edge portion at the outer side portion when the reinforcement piece is molded by injection molding, and thereby the reinforcement piece is molded easily.
  • a slide fastener having a separable bottom end stop in which respective fastener elements are attached to opposing side edges of a pair of fastener tapes, and the separable bottom end stop formed of a synthetic resin and comprising a box pin, an insert pin and a box is attached continuously to a lower end of the fastener elements, and wherein sheet-like reinforcement pieces, which project from opposing faces, that is, outer side faces of the box pin and the insert pin and overhang respectively on at least one surface of each of the fastener tapes, are provided at the box pin and the insert pin, the box pin and the insert pin being attached continuously to lower ends of the fastener elements; each reinforcement piece has an inclined portion which inclines towards an outer side edge of each fastener tape close to a lower end of the fastener tape; the space between a lower end and the inclined portion of the reinforcement piece is gradually getting narrow toward an outer side portion of the reinforcement piece; and the entire reinforcement
  • the following effects are achieved that flexibility of the reinforcement piece is improved, material used in the reinforcement piece is reduced and this leads to a reduction in a product cost.
  • this results in a high quality product in which separation of the reinforcement piece from the fastener tape and breakage thereof is difficult and also, when the product is being sewn, breakage of the sewing machine needle (not shown) is difficult, and manufacturing efficiency is thereby improved.
  • the reinforcement piece provided on the other surface for example a rear surface of the fastener tape
  • the reinforcement piece provided on the one surface for example a front surface of the fastener tape
  • the following effects are achieved that even if an external force that can cause deformation of the reinforcement pieces is applied, a projecting start edge portion of the reinforcement piece provided on a front surface side of the fastener tape, where the most load is applied, is reinforced by the reinforcement piece provided on a rear surface side of the fastener tape, and also the reinforcement piece on the front surface side cannot break easily.
  • the reinforcement pieces disposed on both front and rear surfaces of the fastener tapes are formed so as to have the same configuration, the following effects are achieved that the reinforcement pieces do not break easily at any portion thereof, when an external force which can cause them to deform is applied thereto, and can be used for a long period of time.
  • each of the reinforcement pieces provided at the box pin and the insert pin is provided with the inclined portion which inclines downward in a linear form toward the outer side portion of said reinforcement piece or the inclined portion which does not have a linear form, but instead is bent inward in a substantially arc-shape.
  • an edge surface portion of each of the reinforcement pieces provided at the box pin and the insert pin is formed as a slope portion, which has a smooth downward incline toward the front surface of the fastener tape, because the frequency with which the entire reinforcement piece catches other objects is reduced, an area for adhesion to the fastener tape is ensured, stripping of the reinforcement piece is prevented, and also a good feel to the touch is obtained.
  • the outer side portion which extends in parallel with the outer side edge of the fastener tape is formed between the inclined portion and the lower end of the reinforcement piece;
  • the fastener tape is woven or knitted to allow penetration of synthetic resins such that a portion of the fastener tape, which the outer side portion of each of the reinforcement pieces provided at the box pin and the insert pin, that is, a front end portion of a side of each reinforcement piece faces, is formed coarsely;
  • a plate-like projecting piece is continuously provided with the outer side portion of each of the reinforcement pieces provided at the box pin and the insert pin, that is, with a front end portion of a side of each reinforcement piece, and the projecting piece is attached so as to hold and nip the outer side of the fastener tape. Consequently, the following effects are achieved that an outer tip portion of the reinforcement piece can be fixed firmly to the fastener tape and the reinforcement piece never strip from the fastener tape.
  • each of the reinforcement pieces provided at the box pin and the insert pin aligns with the lower end of the fastener tape so as to reinforce the fastener tape, because thread at a cut end of the fastener tape can be prevented in advance from fraying easily and thus the fastener tape can remain in a beautiful configuration for a long period of time.
  • the entire inner face of each of the reinforcement pieces provided at the box pin and the insert pin is formed as a mesh having a mesh-like configuration, the flexibility of the reinforcement piece is increased and the amount of material used is reduced.
  • the design is made excellent, and at the time of injection molding of the reinforcement piece, thorough permeation of the molten resin into the mesh portion can be carried out easily, thereby causing the mold of the reinforcement piece to be simple.
  • a slide fastener having a separable bottom end stop in which respective fastener elements are attached to opposing side edges of a pair of fastener tapes, and the separable bottom end stop formed of a synthetic resin and comprising a box pin and an insert pin is attached continuously to a lower end of the fastener elements, wherein plate-like reinforcement pieces, which project from opposing faces of the box pin and insert pin respectively, that is, outer side surfaces thereof, and overhang respectively on at least one surface of each of the fastener tapes, are provided; each reinforcement piece has an inclined portion which inclines toward an outer side edge close to a lower end of the fastener tape; a space between a lower end and the inclined portion of the reinforcement piece is gradually getting narrow toward an outer side portion of the reinforcement piece, and the entire reinforcement piece has a substantially triangular shape.
  • a fastener chain 1 is not a stopper with a lower stopper, but rather an open product. That is to say, the slide fastener comprises a bottom end stop 6, in which right and left fastener stringers 2 can be separated completely, and fastener elements 5 are attached to a core portion 8 at a side edge of a fastener tape 4.
  • Each of a box pin 10 and an insert pin 11 is attached to the core portion 8, such that the box pin 10 is attached continuously to a lower portion of the fastener elements 5 of one stringer 2, while the insert pin 11 is attached continuously to a lower portion of the fastener elements 5 of the other stringer 2.
  • a box 12 is mounted to the box pin 10 and the separable bottom end stop is completed.
  • a flexible sheet-like reinforcement piece 13, which overhang on a front surface of the fastener tape 4 is provided integrally with a side face of the box pin 10.
  • the flexible sheet-like reinforcement piece 13, which overhang on the front surface of the fastener tape 4 is also provided integrally with a side face of the insert pin 11.
  • the fastener elements 5, the box pin 10, the insert pin 11 and the reinforcement pieces 13 of the fastener chain 1 are integrally molded with the fastener tapes 4 , respectively using a thermoplastic resin by an injection molding means.
  • the flexible sheet-like reinforcement piece 13 is provided to each of the box pin 10 and the insert pin 11 so as to project outward from a side face of each of the box pin 10 and the insert pin 11.
  • this reinforcement piece 13 at the box pin 10 is formed with an inclined portion 17 which extends along the entire length of the box pin 10 from vicinity of an upper end of the box pin 10 to an outer side edge 22 of the fastener tape 4 close to a lower end 23 of the fastener tape 4.
  • a space between a lower end 14 and the inclined portion 17 of the reinforcement piece 13 is gradually getting narrow toward an outer side portion 15 of the reinforcement piece 13 disposed in the vicinity of the outer side edge 22 of the fastener tape 4.
  • the reinforcement piece 13 is formed so as to be tapered from a projecting start end at the side face of the box pin 10 toward the outer side portion 15.
  • the reinforcement piece 13 deforms easily in accordance with the deformation of the fastener tape 4, and further an upper end portion of the reinforcement piece 13 which tends most to catch other objects, no longer does so, and stripping of the reinforcement piece 13 by the fastener tape 4 is prevented.
  • the reinforcement piece 13 is molded on a front surface of the fastener tape 4 by the injection molding means and it is pressed and attached to the fastener tape 4.
  • the inclined portion 17 of the reinforcement piece 13 is formed so as to be substantially linear in a downward direction of the outer side edge 22 of the reinforcement piece 13.
  • the reinforcement piece 13 is formed so as to be slightly bent inwards to form an arc. Consequently, it hardly catches other objects.
  • an edge portion of the reinforcement piece 13 has a slope portion 18 which slopes downward gently towards the fastener tape 4, and thus the reinforcement piece is formed so as not to catch other objects such as a sewing machine foot. As a result, the reinforcement piece 13 is prevented from being stripped from the fastener tape 4.
  • the outer side portion 15 which extends in parallel with the outer side edge 22 of the fastener tape 4 is provided in a space between the inclined portion 17 and the lower end 14 of the reinforcement piece 13, and thus the reinforcement piece 13 is no more tapered than necessary. That is to say, a front end of the reinforcement piece is no longer formed as a sharp angle. As a result, an area for pressing and attaching the outer side portion 15 to the fastener tape 4 is secured, and thus stripping of the reinforcement piece 13 becomes difficult with the outer side portion 15. Except for a peripheral edge portion which is continuous to the periphery of reinforcement piece 13, the entire inner face is formed as a mesh 16, and the mesh 16 provides the reinforcement piece 13 with flexibility and elasticity.
  • the mesh 16 is formed by a tape press member which positions the fastener tape 4 in the molding cavity of a mold, such that when the reinforcement piece 13 is molded by injection molding, the fastener tape 4 does not deform due to injection pressure. Because the reinforcement piece 13 is formed in a substantially triangular shape, and because it is formed as a mesh 16, reduction in the amount of material can be achieved, and further, the reinforcement piece 13 has an excellent design. Meanwhile, a V-shaped groove 21 is formed so as to secure a space for pressing a lower end 23 of the fastener tape 4 with a tape-pressing member when the reinforcement piece 13 is molded by injection molding.
  • the box pin 10 includes flexible sheet-like reinforcement piece 20, which projects along the entire length of the box pin 10 on a rear side of the fastener tape 4 and overhangs on a surface of the fastener tape 4 less than the reinforcement piece 13, and the reinforcement piece 20 holds and nips the fastener tape 4 in the vicinity of the side face of the box pin 10 with the reinforcement piece 13 on a front side of the fastener tape 4.
  • the reinforcement piece 20 allows the box pin 10 to be guided smoothly. Further, when the slider 7 is moved downwards from the upper end of the box pin 10 and abuts the box 12 or when the slider 7 is moved upwards, the reinforcement piece 20 functions to guide the slider 7 smoothly.
  • the reinforcement piece 13 is provided to the insert pin 11 in the same manner as to the box pin 10.
  • the inclined portion 17 which inclines from an area close to an upper end of the insert pin 11, that is, from the same region as the box pin 10, to the outer side edge 22 of the fastener tape 4, close to the lower end 23 thereof.
  • the space between the lower end 14 and the inclined portion 17 of the reinforcement piece 13 is gradually getting narrowed toward the outer side portion 15 of the reinforcement piece 13 disposed in the vicinity of the outer side edge 22 of the fastener tape 4.
  • the reinforcement piece 13 is molded on the front surface of the fastener tape 4 by an injection molding means, and pressed and attached onto the fastener tape 4.
  • the inclined portion 17 is formed so as to be substantially linear in a downward direction of the outer side edge 22 of the reinforcement piece 13 or formed so as to be bent inward in a substantially arc-shape.
  • the reinforcement piece 13 has a slope portion 18 such that an edge portion of the reinforcement piece slopes gently toward the front surface of the fastener tape 4, so that the reinforcement piece is formed so as not to catch other objects as a sewing machine foot. Further, an outer side portion 15 which extends in parallel with the outer side edge 22 of the fastener tape 4 is provided between the inclined portion 17 and the lower end 14 of the reinforcement piece 13. Also, as shown in Fig. 5, a flexible sheet-like reinforcement piece 20, which is projected along the entire distance of the insert pin 11 and overhangs on the surface of the fastener tape 4 with a smaller area than that of the reinforcement piece 13, is provided on the rear surface of the insert pin 11.
  • the reinforcement piece 20 holds and nips the fastener tape 4 in the vicinity of the side face of the insert pin 11 with the reinforcement piece 13, which is on the front surface.
  • the reinforcement 13 at the side of the insert pin 11 has the same configuration of the reinforcement piece at the side of the box pin and functions similarly, such that entire face except for the peripheral edge portion of the reinforcement piece 13 is formed as a mesh 16.
  • the box 12 will be described. As shown in Figs. 6 and 7, the periphery of the box 12 is surrounded by a front wall 30, a back wall 31, side walls 32, and a bottom wall 33. An upper side of the box is provided with an opening portion 34 which is opened and a partitioning wall 35 is provided in the center of the box 12 between the front wall 30 and the back wall 31, thus providing a box pin insert portion 38 , and an insert pin insert portion 39 to the right and left of the box 12.
  • the partitioning wall 35 is engaged with the concave portion 25 of the box pin 10 and the engaged portion 37 which is engaged with the engaging portion 26 of the concave portion 25 is provided at a lower end of the partitioning wall.
  • a side groove 36 is provided at the center of each of the side walls 32 in a longitudinal direction thereof, and the reinforcement piece 13 disposed at the fastener tape 4 can be fit-inserted therein.
  • the material for the box 12 is the same material used for the box pin 10, the insert pin 11, and the reinforcement piece 13.
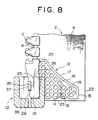
  • the separable bottom end stop 6 is assembled in the following manner. As shown in Fig. 8, when the box pin 10 which is attached to an end portion of the stringer 2 is fit-inserted into the box pin insertion portion 38 of the box pin 12, and the concave portion 25 which is provided on the side face of the box pin 10 is fit-inserted into the partitioning wall 35 of the box 12. The engaging portion 26 and the engaged portion 37 are engaged and fixed, and then the box 12 can be attached to the stringer 2. It is to be noted that the box 12 can be easily attached to the box pin 10 by a manual operation.
  • the operation of the separable bottom end stop 6 is as described in the following.
  • the slider 7 which is inserted through the same stringer 2 is pulled down so as to abut the box 12, and in this state, the insert pin 11 which is mounted to the other stringer 2 is fit-inserted into the slider 7 and the insert pin insertion portion 39 of the box 12 by gripping the reinforcement piece 13.
  • the slider 7 is pulled up and slid, and both fastener elements 5 are coupled with each other as shown in Fig. 10, and the coupled state of the fastener chain 1 is thereby achieved.
  • the fastener tape 4 is formed with a rough weaving or knitting structure in which air space of fiber passing through the fastener tape 4 in the direction of the front and rear surfaces of the fastener tape is larger than that of the other portions.
  • the reinforcement piece 13 is molded by injection molding to the fastener tape 4, the resin of the outer side portion 15 of the reinforcement piece 13 can be easily permeated and solidified through the roughness within the weaving or knitting structure.
  • the outer side portion 15 of the reinforcement piece 13 can be fixed firmly to the fastener tape 4 and stripping of the reinforcement piece 13 from the fastener tape 4 can be prevented certainly. Further, the lower end 14 of the reinforcement piece 13 in the vicinity of the box pin 10 or the insert pin 11 is not provided with the V-shaped grooves 21 formed therein. As a result, breakage of the projecting start edge portion of the reinforcement piece 13 becomes difficult.
  • a welding yarn which is formed from a synthetic fiber yarn having a same level of or lower melting point as that of the same resin used for the reinforcement piece 13, is woven as a warp yarn or knitted as a warp knitted yarn at a portion A, a portion of the fastener tape 4 being close to the outer side edge 22 of the fastener tape 4.
  • Figs. 12 and 13 show a modified example of the reinforcement piece 13 in which a sheet-like projecting piece 19 is continuously provided with the outer side portion 15 of the reinforcement piece 13, and as shown in Fig. 13, the projecting piece 19 is extended to the rear surface of the fastener tape 4, such that it holds and nips the outer side edge 22 of fastener tape 4. And this, the reinforcement piece 13 is firmly fixed to fastener tape 4 and stripping of the reinforcement piece 13 from the fastener tape 4 is prevented certainly.
  • injection molding of the reinforcement piece 13 is carried out such that the lower end 14 of the reinforcement piece 13 and the lower end 23 of the fastener tape 4 are aligned, and the lower end 14 and the lower end 23 are welded together in order to prevent the thread from fraying at the lower end 23 which is a cut end of the fastener tape 4.
  • One means for aligning the lower end 14 of the reinforcement piece 13 and the lower end 23 of the fastener tape 4 is to mold the lower end 14 of the reinforcement pieces 13 on the fastener tape 4 such that it extends so as to project further downward than the box pin 10 or the insert pin 11. After the molding, this extended portion is cut together with the fastener tape 4 and thereby caused to be aligned.
  • the cutting is carried out by press-cutting. and the lower end 14 of the reinforcement piece 13 and the lower end 23 of the fastener tape 4 are melted and respectively welded together by the heat generated by the press-cutting.
  • a slope portion 18 is formed at an edge portion of the reinforcement piece 13, which is continuous with the inclined portion 17, the outer side portion 15 and the lower end 14, and thus the reinforcement piece 13 becomes difficult to catch other objects.
  • reinforcement pieces 13 and 20 which have the same configuration are molded by injection molding onto both front and rear surfaces of the fastener tape 4, and the fastener tape 4 is held and nipped by the reinforcement pieces 13 and 20.
  • the reinforcement pieces 13 and 20 deform in accordance with the deformation of the fastener tape 4, breakage at all the portions of the reinforcement pieces 13 and 20 becomes difficult.
  • the difference between the reinforcement piece 13 in the modified example shown in Figs. 17 and 18 and the example of the first embodiment is the shape of the inclined portion 17 of the reinforcement piece 13.
  • the flexible sheet-like reinforcement piece 13 provided only on the front surface of the fastener tape 4 is molded integrally by injection molding from the side face of the box pin 10 or the insert pin 11.
  • Fig. 18 the flexible sheet-like reinforcement piece 13 provided only on the front surface of the fastener tape 4
  • the inclined portion 17, which inclines in a substantially linear shape from the side of an upper end of the box pin 10 or the insert pin 11 toward the outer side edge 22 close to the lower end 23 of the fastener tape 4, is provided, and the space between the lower end 14 of the reinforcement piece 13 and the inclined portion 17 is gradually getting narrow toward the outer side portion 15 of the reinforcement piece 13, and the entire reinforcement piece 13 has a substantially triangular shape.
  • thermoplastic resin used for the fastener elements 5, the box pin 10, the insert pin 11, the reinforcement pieces 13 and 20, the box 12 and an upper stopper in the fastener chain 1 a polyactetal resin is preferably used when consideration is given to molding and color matching of the members.
  • a soft acetal resin or a soft acetal copolymer resin is used.
  • the reinforcement piece 13 which has the smallest thickness of the resin members listed above, can be provided with a suitable amount of flexibility.

Landscapes

  • Slide Fasteners (AREA)
  • Connector Housings Or Holding Contact Members (AREA)
  • Making Paper Articles (AREA)

Abstract

A slide fastener having a separable bottom end stop is provided, which comprises a high quality reinforcement piece (13) in which flexibility thereof is improved and there is no stripping or breakage of the reinforcement piece. Reinforcement pieces (13) overhanging on front surfaces of fastener tapes (4) are provided on side faces of the box pin (10) and insert pin (11). Each reinforcement piece (13) comprises an inclined portion (17) which is formed in a substantially triangular shape overall toward an outer side edge (22) close to a lower end (23) of each fastener tape (4). An edge portion of the inclined portion (17) is formed as a slope portion (18) which slopes gently toward a front surface of the fastener tape.

Description

BACKGROUND OF THE INVENTION 1. Field of the Invention
The present invention relates to a slide fastener having a separable bottom end stop comprising a reinforcement piece for reinforcing a fastener tape which is provided continuously to a box pin or an insert pin of the separable bottom end stop attached on an end portion of the fastener tape.
2. Description of the Related Art
In recent years, there has been a demand in the field of slide fasteners, for a product that has a simplified structure and which is low in cost and is of a high quality. This tendency is remarkable mainly in a slide fastener having a separable bottom end stop which is used at a front portion for opening and closing of clothing and can be connected to or separated from an end portion of the fastener tapes used.
In a conventional slide fastener having a separable bottom end stop, a typical product has fastener elements attached along opposing side edges of a pair of fastener tapes, and the separable bottom end stop formed of a box pin, a box and an insert pin is continuously attached to a lower end of the fastener elements. And plain woven fabric (taffeta) or a reinforcement tape in which an adhesive layer provided on a rear surface of a synthetic resin film is adhered to a portion of the fastener tape where the separable bottom end stop is attached, and after reinforcing the portion so as to have a stable form, the separable bottom end stop is attached to the portion.
Also, a separable bottom end stop for a slide fastener is disclosed in Japanese Utility Model Application Publication No. 41-17374 (See Fig. 19) in which the reinforcement tape is not adhered to the end portion of the fastener tape, but rather using a synthetic resin, a box pin, an insert pin and a mesh-like reinforcement piece are integrally molded with both front and rear surfaces of the fastener tape directly by an injection molding means. Further, a separable bottom end stop for a slide fastener is disclosed in Japanese Patent Application Laid-Open No. 50-118848, in which a box pin and an insert pin disposed at an end portion of a fastener stringer are molded, and at the same time, a reinforcement piece for reinforcing the tape whose outer side edge projects in an arc-shape toward a lower end of the tape is attached.
In the above-described slide fasteners each having a separable bottom end stop and a reinforcement tape adhered thereto, a reinforcement tape is required separately in order to reinforce the fastener tape and the cost of the product is increased because a larger number of parts are required for the slide fastener. In addition, the cost of the product becomes higher because the slide fastener production process cannot be simplified due to a necessary process for adhering the reinforcement tape and the like, as well as an adhering device.
In a separable bottom end stop 6' for a slide fastener shown in Fig. 19, the outer peripheral edge of a reinforcement piece 13' has a pointed corner, and thus the reinforcement piece 13' easily catches other objects and is easily stripped. Further, because the reinforcement piece 13' is provided so as to be wide and large toward the outer side edge of a fastener tape 4', the portion of the fastener tape 4' where the reinforcement piece 13' is provided becomes upright, and when the slide fastener is attached to an object by sewing, the sewing machine needle (not shown) contacts the reinforcement piece 13' and the sewing machine needle breaks frequently. Further, when the operation of joining or separating the separable bottom end stop 6' is carried out, the external forces of twisting, bending and the like are repeatedly applied to the reinforcement piece 13', and thus there is a possibility that the reinforcement piece 13' may break off. Further, the reinforcement piece 13' whose outer side projects in an arc-shape toward a lower end of the tape becomes thick and thus the sewing machine needle may break, and there is also a problem that the reinforcement piece 13' catches other objects easily.
SUMMARY OF THE INVENTION
The invention is contrived with considering the above-described problems, and a main object of the invention is to provide a slide fastener having a separable bottom end stop in which a reinforcement piece in the separable bottom end stop is directly molded to a fastener tape by injection molding, thereby reducing cost of a product; to improve flexibility of the reinforcement piece; and to provide a high quality product being difficult to be stripped and damaged in which the sewing machine needle is not broken easily upon sewing, thereby improving production efficiency.
Another object of the invention is to provide a slide fastener having a separable bottom end stop in which a projecting start edge portion of the reinforcement piece, which receives the most load when an external force which can deform the reinforcement piece is applied, is reinforced, and the reinforcement piece is not broken easily.
Still another object of the invention is to provide a slide fastener having a separable bottom end stop in which because of an inclined portion of the reinforcement piece, the frequency with which the reinforcement piece catches other objects is reduced, thereby making stripping of the reinforcement piece difficult, and the bottom end stop comprises an excellent and strong reinforcement piece whose configuration is novel in terms of design.
Further object of the invention is to provide a slide fasteners having a separable bottom end stop in which a lower end of the fastener tape is prevented from fraying easily, and thus a beautiful condition is retained for a long period of time.
Another object of the invention is to provide a slide fastener having a separable bottom end stop in which a molten resin is thoroughly permeated from the projecting start edge portion of the reinforcement piece to an edge portion at the outer side portion when the reinforcement piece is molded by injection molding, and thereby the reinforcement piece is molded easily.
Other objects are made clear from the following description of the embodiments.
In order to attain the above-described objects, according to the main features of the invention, there is provided a slide fastener having a separable bottom end stop in which respective fastener elements are attached to opposing side edges of a pair of fastener tapes, and the separable bottom end stop formed of a synthetic resin and comprising a box pin, an insert pin and a box is attached continuously to a lower end of the fastener elements, and wherein sheet-like reinforcement pieces, which project from opposing faces, that is, outer side faces of the box pin and the insert pin and overhang respectively on at least one surface of each of the fastener tapes, are provided at the box pin and the insert pin, the box pin and the insert pin being attached continuously to lower ends of the fastener elements; each reinforcement piece has an inclined portion which inclines towards an outer side edge of each fastener tape close to a lower end of the fastener tape; the space between a lower end and the inclined portion of the reinforcement piece is gradually getting narrow toward an outer side portion of the reinforcement piece; and the entire reinforcement piece has a substantially triangular shape.
According to the above features, the following effects are achieved that flexibility of the reinforcement piece is improved, material used in the reinforcement piece is reduced and this leads to a reduction in a product cost. In addition, this results in a high quality product in which separation of the reinforcement piece from the fastener tape and breakage thereof is difficult and also, when the product is being sewn, breakage of the sewing machine needle (not shown) is difficult, and manufacturing efficiency is thereby improved.
Further, it is preferable that the reinforcement piece provided on the other surface, for example a rear surface of the fastener tape, is smaller than the reinforcement piece provided on the one surface, for example a front surface of the fastener tape, and both reinforcement pieces nip and hold the fastener tape in the vicinity of one of the side faces of the box pin and the insert pin such that the fastener tape is nipped from both front and rear surfaces. Consequently, the following effects are achieved that even if an external force that can cause deformation of the reinforcement pieces is applied, a projecting start edge portion of the reinforcement piece provided on a front surface side of the fastener tape, where the most load is applied, is reinforced by the reinforcement piece provided on a rear surface side of the fastener tape, and also the reinforcement piece on the front surface side cannot break easily. Alternately, if the reinforcement pieces disposed on both front and rear surfaces of the fastener tapes are formed so as to have the same configuration, the following effects are achieved that the reinforcement pieces do not break easily at any portion thereof, when an external force which can cause them to deform is applied thereto, and can be used for a long period of time.
Further, it is possible that each of the reinforcement pieces provided at the box pin and the insert pin is provided with the inclined portion which inclines downward in a linear form toward the outer side portion of said reinforcement piece or the inclined portion which does not have a linear form, but instead is bent inward in a substantially arc-shape. According to the features, the following effects are achieved that the frequency with which the inclined portion of the reinforcement piece catches other objects is reduced and it becomes difficult for the reinforcement piece to be stripped from the fastener tape, and a novel design is achieved. Alternately, it is preferable that an edge surface portion of each of the reinforcement pieces provided at the box pin and the insert pin is formed as a slope portion, which has a smooth downward incline toward the front surface of the fastener tape, because the frequency with which the entire reinforcement piece catches other objects is reduced, an area for adhesion to the fastener tape is ensured, stripping of the reinforcement piece is prevented, and also a good feel to the touch is obtained.
In order to increase the attaching strength, it is preferable that the outer side portion which extends in parallel with the outer side edge of the fastener tape is formed between the inclined portion and the lower end of the reinforcement piece; the fastener tape is woven or knitted to allow penetration of synthetic resins such that a portion of the fastener tape, which the outer side portion of each of the reinforcement pieces provided at the box pin and the insert pin, that is, a front end portion of a side of each reinforcement piece faces, is formed coarsely; and a welding yarn, which can be thermally molten, is disposed at a portion of the fastener tape, which the outer side portion of each of the reinforcement pieces provided at the box pin and the insert pin, that is, a front end portion of a side of each reinforcement piece faces, so that a synthetic resin can be welded.
It is preferable that a plate-like projecting piece is continuously provided with the outer side portion of each of the reinforcement pieces provided at the box pin and the insert pin, that is, with a front end portion of a side of each reinforcement piece, and the projecting piece is attached so as to hold and nip the outer side of the fastener tape. Consequently, the following effects are achieved that an outer tip portion of the reinforcement piece can be fixed firmly to the fastener tape and the reinforcement piece never strip from the fastener tape.
It is preferable that the lower end of each of the reinforcement pieces provided at the box pin and the insert pin aligns with the lower end of the fastener tape so as to reinforce the fastener tape, because thread at a cut end of the fastener tape can be prevented in advance from fraying easily and thus the fastener tape can remain in a beautiful configuration for a long period of time. Further, if except for a peripheral edge portion which is continuous with the periphery of the reinforcement piece, the entire inner face of each of the reinforcement pieces provided at the box pin and the insert pin is formed as a mesh having a mesh-like configuration, the flexibility of the reinforcement piece is increased and the amount of material used is reduced. Also, the design is made excellent, and at the time of injection molding of the reinforcement piece, thorough permeation of the molten resin into the mesh portion can be carried out easily, thereby causing the mold of the reinforcement piece to be simple.
According to the main features of the invention, there is provided a slide fastener having a separable bottom end stop in which respective fastener elements are attached to opposing side edges of a pair of fastener tapes, and the separable bottom end stop formed of a synthetic resin and comprising a box pin and an insert pin is attached continuously to a lower end of the fastener elements, wherein plate-like reinforcement pieces, which project from opposing faces of the box pin and insert pin respectively, that is, outer side surfaces thereof, and overhang respectively on at least one surface of each of the fastener tapes, are provided; each reinforcement piece has an inclined portion which inclines toward an outer side edge close to a lower end of the fastener tape; a space between a lower end and the inclined portion of the reinforcement piece is gradually getting narrow toward an outer side portion of the reinforcement piece, and the entire reinforcement piece has a substantially triangular shape. With the features, because the reinforcement piece is disposed on only one surface of the fastener tape, flexibility of the reinforcement piece is improved and amount of material used is reduced and it leads a reduction in cost of the product, and thus this invention achieves remarkable effects.
BRIEF DESCRIPTION OF THE DRAWINGS
  • Fig. 1 is a front view of a main portion of a slide fastener having a separable bottom end stop.
  • Fig. 2 is a front view of a main portion of a stringer, in which a box pin is attached, of the same slide fastener having the separable bottom end stop.
  • Fig. 3 is a bottom view of the stringer of the same slide fastener having the separable bottom end stop.
  • Fig. 4 is a front view of a main portion of a stringer, in which an insert pin is attached, of the same slide fastener having the separable bottom end stop.
  • Fig. 5 is a bottom view of the stringer of the same slide fastener having the separable bottom end stop.
  • Fig. 6 is side view of a box of the same slide fastener having the separable bottom end stop.
  • Fig. 7 is a cross sectional view of the box taken along line VII-VII in Fig. 6 of the same slide fastener having the separable bottom end stop.
  • Fig. 8 is a partially cut front view showing a state that the box pin is fit-inserted into the box of the same slide fastener having the separable bottom end stop.
  • Fig. 9 is a partially cut front view showing a last state in the same separable bottom end stop before the insert pin is not inserted.
  • Fig. 10 is a partially cut front view showing a state in the same separable bottom end stop that insert pin is set.
  • Fig. 11 is a front view of an end tip of the stringer showing a modified example of the reinforcement piece.
  • Fig. 12 is a front view of an end tip of the stringer showing another modified example of the reinforcement piece.
  • Fig. 13 is a bottom view of the stringer of the same slide fastener having the separable bottom end stop.
  • Fig. 14 is a front view of an end tip of the stringer showing further modified example of the reinforcement piece.
  • Fig. 15 is a bottom view of the stringer of the same slide fastener having the separable bottom end stop.
  • Fig. 16 is a bottom view of the stringer showing further modified example of the reinforcement piece.
  • Fig. 17 is a front view of an end tip of the stringer showing further modified example of the reinforcement piece.
  • Fig. 18 is a bottom view of the stringer of the same slide fastener having the separable bottom end stop.
  • Fig. 19 is a front view of a known separable bottom end stop.
  • DESCRIPTION OF THE PREFERRED EMBODIMENTS
    The following is a detailed description of a slide fastener having a separable bottom end stop of the invention, with reference to the accompanying drawings.
    In a slide fastener having a separable bottom end stop of this invention, as shown in Fig. 1, a fastener chain 1 is not a stopper with a lower stopper, but rather an open product. That is to say, the slide fastener comprises a bottom end stop 6, in which right and left fastener stringers 2 can be separated completely, and fastener elements 5 are attached to a core portion 8 at a side edge of a fastener tape 4. Each of a box pin 10 and an insert pin 11 is attached to the core portion 8, such that the box pin 10 is attached continuously to a lower portion of the fastener elements 5 of one stringer 2, while the insert pin 11 is attached continuously to a lower portion of the fastener elements 5 of the other stringer 2. Then, a box 12 is mounted to the box pin 10 and the separable bottom end stop is completed.
    In the box pin 10 attached to one stringer 2 of the fastener chain 1, a flexible sheet-like reinforcement piece 13, which overhang on a front surface of the fastener tape 4, is provided integrally with a side face of the box pin 10. And in the insert pin 11 attached to the other stringer 2 of the fastener chain 1, the flexible sheet-like reinforcement piece 13, which overhang on the front surface of the fastener tape 4, is also provided integrally with a side face of the insert pin 11. Then, the fastener elements 5, the box pin 10, the insert pin 11 and the reinforcement pieces 13 of the fastener chain 1 are integrally molded with the fastener tapes 4 , respectively using a thermoplastic resin by an injection molding means.
    As shown in Figs. 2 to 5, the flexible sheet-like reinforcement piece 13 is provided to each of the box pin 10 and the insert pin 11 so as to project outward from a side face of each of the box pin 10 and the insert pin 11. As shown in Fig.2, this reinforcement piece 13 at the box pin 10 is formed with an inclined portion 17 which extends along the entire length of the box pin 10 from vicinity of an upper end of the box pin 10 to an outer side edge 22 of the fastener tape 4 close to a lower end 23 of the fastener tape 4. A space between a lower end 14 and the inclined portion 17 of the reinforcement piece 13 is gradually getting narrow toward an outer side portion 15 of the reinforcement piece 13 disposed in the vicinity of the outer side edge 22 of the fastener tape 4. That is, the reinforcement piece 13 is formed so as to be tapered from a projecting start end at the side face of the box pin 10 toward the outer side portion 15. Thus the reinforcement piece 13 deforms easily in accordance with the deformation of the fastener tape 4, and further an upper end portion of the reinforcement piece 13 which tends most to catch other objects, no longer does so, and stripping of the reinforcement piece 13 by the fastener tape 4 is prevented. Further, as shown in Fig. 3, the reinforcement piece 13 is molded on a front surface of the fastener tape 4 by the injection molding means and it is pressed and attached to the fastener tape 4.
    The inclined portion 17 of the reinforcement piece 13 is formed so as to be substantially linear in a downward direction of the outer side edge 22 of the reinforcement piece 13. Alternately, the reinforcement piece 13 is formed so as to be slightly bent inwards to form an arc. Consequently, it hardly catches other objects. Further, as shown in Fig. 3, an edge portion of the reinforcement piece 13 has a slope portion 18 which slopes downward gently towards the fastener tape 4, and thus the reinforcement piece is formed so as not to catch other objects such as a sewing machine foot. As a result, the reinforcement piece 13 is prevented from being stripped from the fastener tape 4. Further, the outer side portion 15 which extends in parallel with the outer side edge 22 of the fastener tape 4 is provided in a space between the inclined portion 17 and the lower end 14 of the reinforcement piece 13, and thus the reinforcement piece 13 is no more tapered than necessary. That is to say, a front end of the reinforcement piece is no longer formed as a sharp angle. As a result, an area for pressing and attaching the outer side portion 15 to the fastener tape 4 is secured, and thus stripping of the reinforcement piece 13 becomes difficult with the outer side portion 15. Except for a peripheral edge portion which is continuous to the periphery of reinforcement piece 13, the entire inner face is formed as a mesh 16, and the mesh 16 provides the reinforcement piece 13 with flexibility and elasticity.
    The mesh 16 is formed by a tape press member which positions the fastener tape 4 in the molding cavity of a mold, such that when the reinforcement piece 13 is molded by injection molding, the fastener tape 4 does not deform due to injection pressure. Because the reinforcement piece 13 is formed in a substantially triangular shape, and because it is formed as a mesh 16, reduction in the amount of material can be achieved, and further, the reinforcement piece 13 has an excellent design. Meanwhile, a V-shaped groove 21 is formed so as to secure a space for pressing a lower end 23 of the fastener tape 4 with a tape-pressing member when the reinforcement piece 13 is molded by injection molding.
    As shown in Fig. 2, in the box pin 10, a middle portion of the outer side face of the box pin 10 is formed as a concave portion 25, and an engaging portion 26 is provided at a lower end of the concave portion 25 and is engaged with an engaged portion 37 provided on the box 12. Further, as shown in Fig. 3, the box pin 10 includes flexible sheet-like reinforcement piece 20, which projects along the entire length of the box pin 10 on a rear side of the fastener tape 4 and overhangs on a surface of the fastener tape 4 less than the reinforcement piece 13, and the reinforcement piece 20 holds and nips the fastener tape 4 in the vicinity of the side face of the box pin 10 with the reinforcement piece 13 on a front side of the fastener tape 4. When the box pin 10 is fit-inserted into the box 12 from a lower end thereof, the reinforcement piece 20 allows the box pin 10 to be guided smoothly. Further, when the slider 7 is moved downwards from the upper end of the box pin 10 and abuts the box 12 or when the slider 7 is moved upwards, the reinforcement piece 20 functions to guide the slider 7 smoothly.
    Further, when the reinforcement piece deforms in accordance with the deformation of the fastener tape, deformation of the fastener tape is suppressed relative to that of the other portions at the projecting start edge portion of the reinforcement piece which breaks off extremely easily, and the reinforcement piece is reinforced such that breaking off at the projecting start edge portion thereof is difficult.
    The reinforcement piece 13 is provided to the insert pin 11 in the same manner as to the box pin 10. For example, as shown in Fig. 4, the inclined portion 17 which inclines from an area close to an upper end of the insert pin 11, that is, from the same region as the box pin 10, to the outer side edge 22 of the fastener tape 4, close to the lower end 23 thereof. The space between the lower end 14 and the inclined portion 17 of the reinforcement piece 13 is gradually getting narrowed toward the outer side portion 15 of the reinforcement piece 13 disposed in the vicinity of the outer side edge 22 of the fastener tape 4. The reinforcement piece 13 is molded on the front surface of the fastener tape 4 by an injection molding means, and pressed and attached onto the fastener tape 4. The inclined portion 17 is formed so as to be substantially linear in a downward direction of the outer side edge 22 of the reinforcement piece 13 or formed so as to be bent inward in a substantially arc-shape.
    As shown in Fig. 5, the reinforcement piece 13 has a slope portion 18 such that an edge portion of the reinforcement piece slopes gently toward the front surface of the fastener tape 4, so that the reinforcement piece is formed so as not to catch other objects as a sewing machine foot. Further, an outer side portion 15 which extends in parallel with the outer side edge 22 of the fastener tape 4 is provided between the inclined portion 17 and the lower end 14 of the reinforcement piece 13. Also, as shown in Fig. 5, a flexible sheet-like reinforcement piece 20, which is projected along the entire distance of the insert pin 11 and overhangs on the surface of the fastener tape 4 with a smaller area than that of the reinforcement piece 13, is provided on the rear surface of the insert pin 11. The reinforcement piece 20 holds and nips the fastener tape 4 in the vicinity of the side face of the insert pin 11 with the reinforcement piece 13, which is on the front surface. In addition, the reinforcement 13 at the side of the insert pin 11 has the same configuration of the reinforcement piece at the side of the box pin and functions similarly, such that entire face except for the peripheral edge portion of the reinforcement piece 13 is formed as a mesh 16.
    Next, the box 12 will be described. As shown in Figs. 6 and 7, the periphery of the box 12 is surrounded by a front wall 30, a back wall 31, side walls 32, and a bottom wall 33. An upper side of the box is provided with an opening portion 34 which is opened and a partitioning wall 35 is provided in the center of the box 12 between the front wall 30 and the back wall 31, thus providing a box pin insert portion 38 , and an insert pin insert portion 39 to the right and left of the box 12. The partitioning wall 35 is engaged with the concave portion 25 of the box pin 10 and the engaged portion 37 which is engaged with the engaging portion 26 of the concave portion 25 is provided at a lower end of the partitioning wall. Further, a side groove 36 is provided at the center of each of the side walls 32 in a longitudinal direction thereof, and the reinforcement piece 13 disposed at the fastener tape 4 can be fit-inserted therein. The material for the box 12 is the same material used for the box pin 10, the insert pin 11, and the reinforcement piece 13.
    The separable bottom end stop 6 is assembled in the following manner. As shown in Fig. 8, when the box pin 10 which is attached to an end portion of the stringer 2 is fit-inserted into the box pin insertion portion 38 of the box pin 12, and the concave portion 25 which is provided on the side face of the box pin 10 is fit-inserted into the partitioning wall 35 of the box 12. The engaging portion 26 and the engaged portion 37 are engaged and fixed, and then the box 12 can be attached to the stringer 2. It is to be noted that the box 12 can be easily attached to the box pin 10 by a manual operation.
    The operation of the separable bottom end stop 6 is as described in the following. As shown in Fig. 9, at the box 12 which is attached to the stringer 2 on which the box pin 10 is mounted, the slider 7 which is inserted through the same stringer 2 is pulled down so as to abut the box 12, and in this state, the insert pin 11 which is mounted to the other stringer 2 is fit-inserted into the slider 7 and the insert pin insertion portion 39 of the box 12 by gripping the reinforcement piece 13. Then the slider 7 is pulled up and slid, and both fastener elements 5 are coupled with each other as shown in Fig. 10, and the coupled state of the fastener chain 1 is thereby achieved. In order to separate and release the fastener chain 1, after the slider 7 is pulled down to the box 12, the reinforcement piece 13 at the side of the insert pin 11 is gripped and the insert pin 11 is taken out from the insert pin insertion portion 39 of the box 12 and from the slider 7, and then both stringers 2 are separated.
    In the modified example of the reinforcement piece 13 shown Fig. 11, at a portion of the reinforcement piece which is close to the outer side edge 22 of fastener tape 4, for example a portion A shown in the drawing, part of the warp yarns are omitted, or alternately part of the warp yarns are pulled toward one side edge of the fastener tape 4, and the fastener tape 4 is formed with a rough weaving or knitting structure in which air space of fiber passing through the fastener tape 4 in the direction of the front and rear surfaces of the fastener tape is larger than that of the other portions. In addition, the reinforcement piece 13 is molded by injection molding to the fastener tape 4, the resin of the outer side portion 15 of the reinforcement piece 13 can be easily permeated and solidified through the roughness within the weaving or knitting structure. Thus the outer side portion 15 of the reinforcement piece 13 can be fixed firmly to the fastener tape 4 and stripping of the reinforcement piece 13 from the fastener tape 4 can be prevented certainly. Further, the lower end 14 of the reinforcement piece 13 in the vicinity of the box pin 10 or the insert pin 11 is not provided with the V-shaped grooves 21 formed therein. As a result, breakage of the projecting start edge portion of the reinforcement piece 13 becomes difficult.
    Further, a welding yarn, which is formed from a synthetic fiber yarn having a same level of or lower melting point as that of the same resin used for the reinforcement piece 13, is woven as a warp yarn or knitted as a warp knitted yarn at a portion A, a portion of the fastener tape 4 being close to the outer side edge 22 of the fastener tape 4. And the, when the reinforcement piece 13 is molded by injection molding, the welding yarn is melted and integrated with the reinforcement piece 13. As a result, the outer side portion 15 of the reinforcement piece 13 is firmly fixed and stripping of the reinforcement piece 13 from the fastener tape 4 is prevented.
    Figs. 12 and 13 show a modified example of the reinforcement piece 13 in which a sheet-like projecting piece 19 is continuously provided with the outer side portion 15 of the reinforcement piece 13, and as shown in Fig. 13, the projecting piece 19 is extended to the rear surface of the fastener tape 4, such that it holds and nips the outer side edge 22 of fastener tape 4. And this, the reinforcement piece 13 is firmly fixed to fastener tape 4 and stripping of the reinforcement piece 13 from the fastener tape 4 is prevented certainly.
    In the reinforcement piece 13 modified examples shown in Figs. 14 and 15, injection molding of the reinforcement piece 13 is carried out such that the lower end 14 of the reinforcement piece 13 and the lower end 23 of the fastener tape 4 are aligned, and the lower end 14 and the lower end 23 are welded together in order to prevent the thread from fraying at the lower end 23 which is a cut end of the fastener tape 4. One means for aligning the lower end 14 of the reinforcement piece 13 and the lower end 23 of the fastener tape 4 is to mold the lower end 14 of the reinforcement pieces 13 on the fastener tape 4 such that it extends so as to project further downward than the box pin 10 or the insert pin 11. After the molding, this extended portion is cut together with the fastener tape 4 and thereby caused to be aligned. The cutting is carried out by press-cutting. and the lower end 14 of the reinforcement piece 13 and the lower end 23 of the fastener tape 4 are melted and respectively welded together by the heat generated by the press-cutting. In addition, a slope portion 18 is formed at an edge portion of the reinforcement piece 13, which is continuous with the inclined portion 17, the outer side portion 15 and the lower end 14, and thus the reinforcement piece 13 becomes difficult to catch other objects.
    In the reinforcement piece 13 of the modified example shown in Fig. 16, reinforcement pieces 13 and 20 which have the same configuration are molded by injection molding onto both front and rear surfaces of the fastener tape 4, and the fastener tape 4 is held and nipped by the reinforcement pieces 13 and 20. Thus even if the reinforcement pieces 13 and 20 deform in accordance with the deformation of the fastener tape 4, breakage at all the portions of the reinforcement pieces 13 and 20 becomes difficult.
    The difference between the reinforcement piece 13 in the modified example shown in Figs. 17 and 18 and the example of the first embodiment is the shape of the inclined portion 17 of the reinforcement piece 13. As shown in Fig. 18, the flexible sheet-like reinforcement piece 13 provided only on the front surface of the fastener tape 4, is molded integrally by injection molding from the side face of the box pin 10 or the insert pin 11. As shown in Fig. 17, the inclined portion 17, which inclines in a substantially linear shape from the side of an upper end of the box pin 10 or the insert pin 11 toward the outer side edge 22 close to the lower end 23 of the fastener tape 4, is provided, and the space between the lower end 14 of the reinforcement piece 13 and the inclined portion 17 is gradually getting narrow toward the outer side portion 15 of the reinforcement piece 13, and the entire reinforcement piece 13 has a substantially triangular shape.
    Finally, as a thermoplastic resin used for the fastener elements 5, the box pin 10, the insert pin 11, the reinforcement pieces 13 and 20, the box 12 and an upper stopper in the fastener chain 1, a polyactetal resin is preferably used when consideration is given to molding and color matching of the members. In order to make the reinforcement pieces 13 and 20 flexible, a soft acetal resin or a soft acetal copolymer resin is used. Especially, by using a resin having the specific properties of a tensile strength (Mpa) in the range of 45 to 60, a pull and stretch (%) in the range of 60 to 300, and a melt index (g/min) in the range of 6 to 25, the reinforcement piece 13 which has the smallest thickness of the resin members listed above, can be provided with a suitable amount of flexibility. Thus, a slide fastener having a separable bottom end stop, in which the fastener chain 1 is soft to the touch, is completed.

    Claims (13)

    1. A slide fastener having a separable bottom end stop in which fastener elements (5) are attached to opposing side edges of a pair of fastener tapes (4), and the separable bottom end stop being formed of a synthetic resin and comprising a box pin (10), an insert pin (11) and a box (12) is attached to a lower end of said fastener elements (5), being characterized in that sheet-like reinforcement pieces (13, 20), which project from side faces of the box pin (10) and the insert pin (11) and overhang respectively on at least one surface of each of the fastener tapes (4), are provided; each reinforcement piece (13) has an inclined portion (17) which inclines toward an outer side edge (22) of each fastener tape (4) close to a lower end (23) of the fastener tape (4); and a space between a lower end (14) and the inclined portion (17) of the reinforcement piece (13) is gradually getting narrow toward an outer side portion (15) of the reinforcement piece (13).
    2. The slide fastener having a separable bottom end stop according to claim 1, being characterized in that the reinforcement piece (20) provided on the other surface of the fastener tape (4) is smaller than the reinforcement piece (13) provided on the one surface of the fastener tape (4), and both reinforcement pieces (13, 20) nip and hold the fastener tape (4) in the vicinity of one of the side faces of the box pin (10) and the insert pin (11).
    3. The slide fastener having a separable bottom end stop according to claim 1, being characterized in that the reinforcement pieces (13, 20) disposed on both front and rear surfaces of the fastener tapes (4) are formed so as to have the same configuration.
    4. The slide fastener having a separable bottom end stop according to claim 1, being characterized in that the inclined portion (17) of the reinforcement piece (13) inclines toward the outer side edge (22) of the fastener tape (4) in a substantially linear form.
    5. The slide fastener having a separable bottom end stop according to claim 1, being characterized in that the inclined portion (17) of the reinforcement piece (13) is bent in a inward concave arc-shape.
    6. The slide fastener having a separable bottom end stop according to claim 1, being characterized in that an edge portion of the reinforcement piece (13) is formed as a slope portion (18) which slopes downward toward a front surface of the fastener tape (4).
    7. The slide fastener having a separable bottom end stop according to claim 1, being characterized in that the outer side portion (15), which extends in parallel with the outer side edge (22) of the fastener tape (4), is formed between the inclined portion (17) and the lower end (14) of the reinforcement piece (13).
    8. The slide fastener having a separable bottom end stop according to claim 1, being characterized in that a portion of the fastener tape (4), which the outer side portion (15) of the reinforcement piece (13) faces, is formed coarsely so that resins penetrate into the fastener tape.
    9. The slide fastener having a separable bottom end stop according to claim 1, being characterized in that a welding yarn is disposed at a portion of the fastener tape (4), which the outer side portion (15) of the reinforcement piece (13) faces, so that resins are welded.
    10. The slide fastener having a separable bottom end stop according to claim 1, being characterized in that a projecting piece (19) is continuously provided with the outer side portion (15) of the reinforcement piece (13) so as to hold and nip the outer side edge (22) of the fastener tape (4).
    11. The slide fastener having a separable bottom end stop according to claim 1, being characterized in that the lower end (14) of the reinforcement piece (13) aligns with the lower end (23) of the fastener tape (4).
    12. The slide fastener having a separable bottom end stop according to claim 1, being characterized in that an entire face of the reinforcement piece (13), except for a peripheral edge portion of the reinforcement piece (13), is formed as a mesh (16).
    13. A slide fastener having a separable bottom end stop in which fastener elements (5) are attached to opposing side edges of a pair of fastener tapes (4), and the separable bottom end stop being formed of a synthetic resin and comprising a box pin (10) and an insert pin (11) is attached to a lower end of said fastener elements (5), being characterized in that plate-like reinforcement pieces (13), which project from side faces of the box pin (10) and insert pin (11) and overhang on at least one surface of each of the fastener tapes (4), are provided; each reinforcement piece (13) has an inclined portion (17) which inclines toward an outer side edge (22) of each fastener tape (4) close to a lower end (23) of the fastener tape (4); and a space between a lower end (14) and the inclined portion (17) of the reinforcement piece (13) is gradually getting narrow toward an outer side portion (15) of the reinforcement piece (13).
    EP03010407A 2002-05-20 2003-05-08 Slide fastener having separable bottom end stop Withdrawn EP1364591A3 (en)

    Applications Claiming Priority (2)

    Application Number Priority Date Filing Date Title
    JP2002145064A JP2003334108A (en) 2002-05-20 2002-05-20 Slide fastener with separable bottom stop
    JP2002145064 2002-05-20

    Publications (2)

    Publication Number Publication Date
    EP1364591A2 true EP1364591A2 (en) 2003-11-26
    EP1364591A3 EP1364591A3 (en) 2005-01-19

    Family

    ID=29397745

    Family Applications (1)

    Application Number Title Priority Date Filing Date
    EP03010407A Withdrawn EP1364591A3 (en) 2002-05-20 2003-05-08 Slide fastener having separable bottom end stop

    Country Status (7)

    Country Link
    US (1) US20030213107A1 (en)
    EP (1) EP1364591A3 (en)
    JP (1) JP2003334108A (en)
    KR (1) KR20030090522A (en)
    CN (1) CN1232198C (en)
    BR (1) BR0301422A (en)
    TW (1) TW200307518A (en)

    Cited By (2)

    * Cited by examiner, † Cited by third party
    Publication number Priority date Publication date Assignee Title
    EP1459642A1 (en) * 2003-03-20 2004-09-22 Ykk Corporation Slide fastener with separable bottom end stop
    GB2466250A (en) * 2008-12-16 2010-06-23 Ykk Europ Ltd Slide fastener assembly with reinforced end

    Families Citing this family (12)

    * Cited by examiner, † Cited by third party
    Publication number Priority date Publication date Assignee Title
    JP2006191963A (en) * 2005-01-11 2006-07-27 Kiyoyuki Takenaka Fastener
    EP2674055A3 (en) 2009-01-13 2015-07-08 YKK Corporation Slide fastener
    US20120167354A1 (en) * 2009-09-11 2012-07-05 Ykk Corporation Reverse Opening Slide Fastener
    US8910352B2 (en) * 2010-06-23 2014-12-16 Ykk Corporation Slide fastener
    KR101559220B1 (en) * 2011-03-30 2015-10-13 와이케이케이 가부시끼가이샤 Slide fastener with openable/meshable strips
    WO2015097864A1 (en) * 2013-12-27 2015-07-02 Ykk株式会社 Reinforcing film adhering device and slide fastener with slider insert
    CN109068816B (en) * 2016-04-22 2021-06-01 Ykk株式会社 Zipper tape and manufacturing method of zipper tape
    CN106073051A (en) * 2016-08-30 2016-11-09 道晟拉链科技(太仓)有限公司 A kind of combination slide fastener
    USD809426S1 (en) * 2016-09-14 2018-02-06 Eric Gates Link chain zipper
    CN111902062B (en) * 2018-03-29 2023-02-03 Ykk株式会社 Zipper end pieces and zippers equipped with such zipper end pieces
    US20210378368A1 (en) * 2018-12-06 2021-12-09 Ykk Corporation Slide fastener, method for manufacturing stop, and mold device
    US11653725B1 (en) * 2021-11-09 2023-05-23 Kcc Zipper Co., Ltd. Anti-pinch zipper

    Family Cites Families (16)

    * Cited by examiner, † Cited by third party
    Publication number Priority date Publication date Assignee Title
    US2203005A (en) * 1937-01-07 1940-06-04 Wittenberg Erich Separable fastener and detachable end connecting member therefor
    US2180167A (en) * 1938-01-25 1939-11-14 Pruzan Barney Separable fastener
    FR1429354A (en) * 1965-01-12 1966-02-18 Separable type zipper
    AT272241B (en) * 1965-07-21 1969-06-25 Opti Holding Ag Zipper with rows of fasteners attached to straps
    FR2055905A5 (en) * 1969-08-06 1971-05-14 Fflb
    DE2242978A1 (en) * 1972-09-01 1974-03-07 Opti Holding Ag ZIPPER WITH DIVISIBILITY DEVICE AND METHOD FOR ATTACHING THE COMPONENTS OF A DIVISIBLE DEVICE TO SUCH ZIPPER
    DE2331778A1 (en) * 1973-06-22 1975-01-23 Ruhrmann Fa Dr Ing Josef Pre-fabricated end section for sliding clasp fasteners - with end links connected by one or more separable stays
    US4001922A (en) * 1975-11-03 1977-01-11 Textron, Inc. Tape reinforcements for slide fasteners
    JPS5388304U (en) * 1976-12-17 1978-07-20
    US4090279A (en) * 1977-01-10 1978-05-23 Textron Inc. Separable slide fastener
    US4233099A (en) * 1978-12-20 1980-11-11 Textron Inc. Slide fastener method of manufacture
    JPS5932329Y2 (en) * 1979-06-21 1984-09-11 ワイケイケイ株式会社 Slide fastener with release tool
    JPH0216650Y2 (en) * 1985-06-26 1990-05-09
    JPS6368103A (en) * 1986-09-09 1988-03-28 ワイケイケイ株式会社 Slide fastener with releasable fitting
    JP3589442B2 (en) * 1998-05-29 2004-11-17 Ykk株式会社 Fastener tape separable bottom stop
    JP3733327B2 (en) * 2001-12-20 2006-01-11 Ykk株式会社 Hidden slide fastener opening and closing tool

    Cited By (2)

    * Cited by examiner, † Cited by third party
    Publication number Priority date Publication date Assignee Title
    EP1459642A1 (en) * 2003-03-20 2004-09-22 Ykk Corporation Slide fastener with separable bottom end stop
    GB2466250A (en) * 2008-12-16 2010-06-23 Ykk Europ Ltd Slide fastener assembly with reinforced end

    Also Published As

    Publication number Publication date
    CN1462598A (en) 2003-12-24
    US20030213107A1 (en) 2003-11-20
    BR0301422A (en) 2004-08-10
    CN1232198C (en) 2005-12-21
    EP1364591A3 (en) 2005-01-19
    TW200307518A (en) 2003-12-16
    KR20030090522A (en) 2003-11-28
    JP2003334108A (en) 2003-11-25

    Similar Documents

    Publication Publication Date Title
    EP1364591A2 (en) Slide fastener having separable bottom end stop
    EP2277399B1 (en) Method of connecting together mounting part and article to which the mounting part is to be mounted
    EP2050349B1 (en) Reverse opening type slide fastener
    US7963009B2 (en) Slide fastener top end stop
    EP1961325B1 (en) Slider for slide fastener
    EP0992201A1 (en) Separable bottom end stop of slide fastener
    JPH0975113A (en) Opening and closing pressure stopper
    KR100554597B1 (en) Slide fastener with separable bottom end stop
    EP0021192B1 (en) Separable slide fastener
    HK1046828A1 (en) Upper stopper device for slide fastener
    EP1459643B1 (en) Slide fastener with separable bottom end stop
    WO2020070845A1 (en) Slide fastener and slide fastener opening/fitting tool
    US6314622B1 (en) Engaging member of fastening device
    EP1523900A2 (en) Top end stop of linear slide fastener
    US10144186B1 (en) Methods for manufacturing slide fastener with overmolded components
    CN113795173B (en) zipper
    US12022920B2 (en) Element member and slide fastener-attached product
    JP3513522B2 (en) Release type slide fastener
    US7059024B2 (en) Slide fastener
    HK1057459A (en) Slide fastener having separable bottom end stop
    JP3442712B2 (en) Pressing stopper for opening and closing
    GB2483429A (en) Slide fastener bottom stop
    HK1065927B (en) Slide fastener with separable bottom end stop

    Legal Events

    Date Code Title Description
    PUAI Public reference made under article 153(3) epc to a published international application that has entered the european phase

    Free format text: ORIGINAL CODE: 0009012

    AK Designated contracting states

    Kind code of ref document: A2

    Designated state(s): AT BE BG CH CY CZ DE DK EE ES FI FR GB GR HU IE IT LI LU MC NL PT RO SE SI SK TR

    AX Request for extension of the european patent

    Extension state: AL LT LV MK

    PUAL Search report despatched

    Free format text: ORIGINAL CODE: 0009013

    STAA Information on the status of an ep patent application or granted ep patent

    Free format text: STATUS: THE APPLICATION HAS BEEN WITHDRAWN

    AK Designated contracting states

    Kind code of ref document: A3

    Designated state(s): AT BE BG CH CY CZ DE DK EE ES FI FR GB GR HU IE IT LI LU MC NL PT RO SE SI SK TR

    AX Request for extension of the european patent

    Extension state: AL LT LV MK

    18W Application withdrawn

    Effective date: 20041203