EP1321663A3 - Fuel injection device for an internal combustion engine - Google Patents
Fuel injection device for an internal combustion engine Download PDFInfo
- Publication number
- EP1321663A3 EP1321663A3 EP02024857A EP02024857A EP1321663A3 EP 1321663 A3 EP1321663 A3 EP 1321663A3 EP 02024857 A EP02024857 A EP 02024857A EP 02024857 A EP02024857 A EP 02024857A EP 1321663 A3 EP1321663 A3 EP 1321663A3
- Authority
- EP
- European Patent Office
- Prior art keywords
- fuel
- high pressure
- valve
- cylinder bore
- combustion engine
- Prior art date
- Legal status (The legal status is an assumption and is not a legal conclusion. Google has not performed a legal analysis and makes no representation as to the accuracy of the status listed.)
- Withdrawn
Links
- 239000000446 fuel Substances 0.000 title abstract 8
- 238000002485 combustion reaction Methods 0.000 title abstract 2
- 238000002347 injection Methods 0.000 title abstract 2
- 239000007924 injection Substances 0.000 title abstract 2
- 238000007789 sealing Methods 0.000 abstract 2
Classifications
-
- F—MECHANICAL ENGINEERING; LIGHTING; HEATING; WEAPONS; BLASTING
- F02—COMBUSTION ENGINES; HOT-GAS OR COMBUSTION-PRODUCT ENGINE PLANTS
- F02M—SUPPLYING COMBUSTION ENGINES IN GENERAL WITH COMBUSTIBLE MIXTURES OR CONSTITUENTS THEREOF
- F02M63/00—Other fuel-injection apparatus having pertinent characteristics not provided for in groups F02M39/00 - F02M57/00 or F02M67/00; Details, component parts, or accessories of fuel-injection apparatus, not provided for in, or of interest apart from, the apparatus of groups F02M39/00 - F02M61/00 or F02M67/00; Combination of fuel pump with other devices, e.g. lubricating oil pump
- F02M63/0012—Valves
- F02M63/0014—Valves characterised by the valve actuating means
- F02M63/0015—Valves characterised by the valve actuating means electrical, e.g. using solenoid
- F02M63/0017—Valves characterised by the valve actuating means electrical, e.g. using solenoid using electromagnetic operating means
-
- F—MECHANICAL ENGINEERING; LIGHTING; HEATING; WEAPONS; BLASTING
- F02—COMBUSTION ENGINES; HOT-GAS OR COMBUSTION-PRODUCT ENGINE PLANTS
- F02M—SUPPLYING COMBUSTION ENGINES IN GENERAL WITH COMBUSTIBLE MIXTURES OR CONSTITUENTS THEREOF
- F02M53/00—Fuel-injection apparatus characterised by having heating, cooling or thermally-insulating means
-
- F—MECHANICAL ENGINEERING; LIGHTING; HEATING; WEAPONS; BLASTING
- F02—COMBUSTION ENGINES; HOT-GAS OR COMBUSTION-PRODUCT ENGINE PLANTS
- F02M—SUPPLYING COMBUSTION ENGINES IN GENERAL WITH COMBUSTIBLE MIXTURES OR CONSTITUENTS THEREOF
- F02M59/00—Pumps specially adapted for fuel-injection and not provided for in groups F02M39/00 -F02M57/00, e.g. rotary cylinder-block type of pumps
- F02M59/02—Pumps specially adapted for fuel-injection and not provided for in groups F02M39/00 -F02M57/00, e.g. rotary cylinder-block type of pumps of reciprocating-piston or reciprocating-cylinder type
- F02M59/04—Pumps specially adapted for fuel-injection and not provided for in groups F02M39/00 -F02M57/00, e.g. rotary cylinder-block type of pumps of reciprocating-piston or reciprocating-cylinder type characterised by special arrangement of cylinders with respect to piston-driving shaft, e.g. arranged parallel to that shaft or swash-plate type pumps
- F02M59/06—Pumps specially adapted for fuel-injection and not provided for in groups F02M39/00 -F02M57/00, e.g. rotary cylinder-block type of pumps of reciprocating-piston or reciprocating-cylinder type characterised by special arrangement of cylinders with respect to piston-driving shaft, e.g. arranged parallel to that shaft or swash-plate type pumps with cylinders arranged radially to driving shaft, e.g. in V or star arrangement
-
- F—MECHANICAL ENGINEERING; LIGHTING; HEATING; WEAPONS; BLASTING
- F02—COMBUSTION ENGINES; HOT-GAS OR COMBUSTION-PRODUCT ENGINE PLANTS
- F02M—SUPPLYING COMBUSTION ENGINES IN GENERAL WITH COMBUSTIBLE MIXTURES OR CONSTITUENTS THEREOF
- F02M59/00—Pumps specially adapted for fuel-injection and not provided for in groups F02M39/00 -F02M57/00, e.g. rotary cylinder-block type of pumps
- F02M59/20—Varying fuel delivery in quantity or timing
- F02M59/34—Varying fuel delivery in quantity or timing by throttling of passages to pumping elements or of overflow passages, e.g. throttling by means of a pressure-controlled sliding valve having liquid stop or abutment
-
- F—MECHANICAL ENGINEERING; LIGHTING; HEATING; WEAPONS; BLASTING
- F02—COMBUSTION ENGINES; HOT-GAS OR COMBUSTION-PRODUCT ENGINE PLANTS
- F02M—SUPPLYING COMBUSTION ENGINES IN GENERAL WITH COMBUSTIBLE MIXTURES OR CONSTITUENTS THEREOF
- F02M63/00—Other fuel-injection apparatus having pertinent characteristics not provided for in groups F02M39/00 - F02M57/00 or F02M67/00; Details, component parts, or accessories of fuel-injection apparatus, not provided for in, or of interest apart from, the apparatus of groups F02M39/00 - F02M61/00 or F02M67/00; Combination of fuel pump with other devices, e.g. lubricating oil pump
- F02M63/0001—Fuel-injection apparatus with specially arranged lubricating system, e.g. by fuel oil
-
- F—MECHANICAL ENGINEERING; LIGHTING; HEATING; WEAPONS; BLASTING
- F02—COMBUSTION ENGINES; HOT-GAS OR COMBUSTION-PRODUCT ENGINE PLANTS
- F02M—SUPPLYING COMBUSTION ENGINES IN GENERAL WITH COMBUSTIBLE MIXTURES OR CONSTITUENTS THEREOF
- F02M63/00—Other fuel-injection apparatus having pertinent characteristics not provided for in groups F02M39/00 - F02M57/00 or F02M67/00; Details, component parts, or accessories of fuel-injection apparatus, not provided for in, or of interest apart from, the apparatus of groups F02M39/00 - F02M61/00 or F02M67/00; Combination of fuel pump with other devices, e.g. lubricating oil pump
- F02M63/0012—Valves
- F02M63/0031—Valves characterized by the type of valves, e.g. special valve member details, valve seat details, valve housing details
- F02M63/004—Sliding valves, e.g. spool valves, i.e. whereby the closing member has a sliding movement along a seat for opening and closing
-
- F—MECHANICAL ENGINEERING; LIGHTING; HEATING; WEAPONS; BLASTING
- F02—COMBUSTION ENGINES; HOT-GAS OR COMBUSTION-PRODUCT ENGINE PLANTS
- F02M—SUPPLYING COMBUSTION ENGINES IN GENERAL WITH COMBUSTIBLE MIXTURES OR CONSTITUENTS THEREOF
- F02M63/00—Other fuel-injection apparatus having pertinent characteristics not provided for in groups F02M39/00 - F02M57/00 or F02M67/00; Details, component parts, or accessories of fuel-injection apparatus, not provided for in, or of interest apart from, the apparatus of groups F02M39/00 - F02M61/00 or F02M67/00; Combination of fuel pump with other devices, e.g. lubricating oil pump
- F02M63/02—Fuel-injection apparatus having several injectors fed by a common pumping element, or having several pumping elements feeding a common injector; Fuel-injection apparatus having provisions for cutting-out pumps, pumping elements, or injectors; Fuel-injection apparatus having provisions for variably interconnecting pumping elements and injectors alternatively
- F02M63/0225—Fuel-injection apparatus having a common rail feeding several injectors ; Means for varying pressure in common rails; Pumps feeding common rails
-
- F—MECHANICAL ENGINEERING; LIGHTING; HEATING; WEAPONS; BLASTING
- F02—COMBUSTION ENGINES; HOT-GAS OR COMBUSTION-PRODUCT ENGINE PLANTS
- F02M—SUPPLYING COMBUSTION ENGINES IN GENERAL WITH COMBUSTIBLE MIXTURES OR CONSTITUENTS THEREOF
- F02M69/00—Low-pressure fuel-injection apparatus ; Apparatus with both continuous and intermittent injection; Apparatus injecting different types of fuel
- F02M69/46—Details, component parts or accessories not provided for in, or of interest apart from, the apparatus covered by groups F02M69/02 - F02M69/44
- F02M69/52—Arrangement of fuel metering devices
-
- F—MECHANICAL ENGINEERING; LIGHTING; HEATING; WEAPONS; BLASTING
- F02—COMBUSTION ENGINES; HOT-GAS OR COMBUSTION-PRODUCT ENGINE PLANTS
- F02M—SUPPLYING COMBUSTION ENGINES IN GENERAL WITH COMBUSTIBLE MIXTURES OR CONSTITUENTS THEREOF
- F02M2200/00—Details of fuel-injection apparatus, not otherwise provided for
- F02M2200/60—Fuel-injection apparatus having means for facilitating the starting of engines, e.g. with valves or fuel passages for keeping residual pressure in common rails
Landscapes
- Engineering & Computer Science (AREA)
- Chemical & Material Sciences (AREA)
- Combustion & Propulsion (AREA)
- Mechanical Engineering (AREA)
- General Engineering & Computer Science (AREA)
- Physics & Mathematics (AREA)
- Electromagnetism (AREA)
- Fuel-Injection Apparatus (AREA)
Abstract
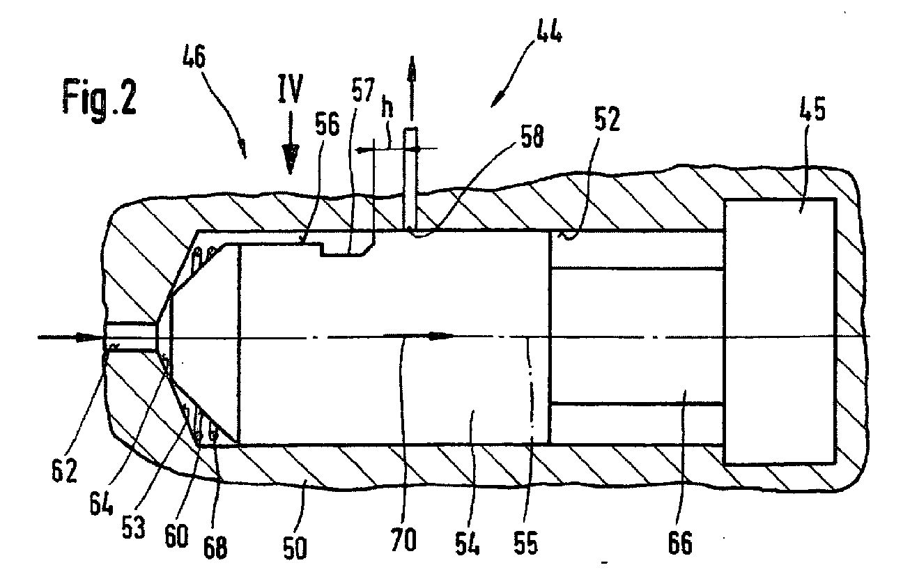
Die Kraftstoffeinspritzeinrichtung weist eine Förderpumpe (12) auf, durch die Kraftstoff aus einem Kraftstoffvorratsbehälter (10) zur Saugseite einer Hochdruckpumpe (14) gefördert wird, wobei die Hochdruckpumpe (14) abhängig von Betriebsparametern der Brennkraftmaschine Kraftstoff in einen Speicher (16) fördert, mit einer Kraftstoffzumeßeinrichtung (44) zur Einstellung der durch die Hochdruckpumpe (14) in den Speicher (16) geförderten Kraftstoffmenge, wobei die Kraftstoffzumeßeinrichtung (44) einen Aktor (45) und ein durch diesen betätigtes Regelventil (46) aufweist, wobei das Regelventil (46) ein in einer Zylinderbohrung (52) eines Ventilgehäuses (50) geführtes schieberförmiges Ventilglied (54) aufweist, das durch den Aktor (45) gegen eine Rückstellkraft (68) verschiebbar ist, und wobei das Ventilglied (54) mit seinem Außenmantel (56) in Zusammenwirkung mit einem Ablauf (58) aus der Zylinderbohrung (52) einen Durchflußquerschnitt von der Förderpumpe (12) zur Hochdruckpumpe (14) steuert. Das Ventilglied (54) wirkt mit einer Dichtfläche (60) mit einem Ventilsitz (64) zur Steuerung einer von der Förderpumpe (12) herführenden, in die Zylinderbohrung (52) mündenden Zulauföffnung (62) zusammen und verschließt in einer Stellung, in der es mit der Dichtfläche (60) am Ventilsitz (64) anliegt, die Zulauföffnung (62) vollständig. The fuel injection device has a feed pump (12) through which fuel is conveyed from a fuel reservoir (10) to the suction side of a high pressure pump (14), the high pressure pump (14) also feeding fuel into a reservoir (16) depending on operating parameters of the internal combustion engine a fuel metering device (44) for setting the amount of fuel delivered by the high pressure pump (14) into the accumulator (16), the fuel metering device (44) having an actuator (45) and a control valve (46) actuated by the latter, the control valve (46 ) has a slide-shaped valve member (54) which is guided in a cylinder bore (52) of a valve housing (50) and can be displaced by the actuator (45) against a restoring force (68), and the valve member (54) with its outer jacket (56) in cooperation with an outlet (58) from the cylinder bore (52) a flow cross section from the feed pump (12) to the high pressure p umpe (14) controls. The valve member (54) cooperates with a sealing surface (60) with a valve seat (64) for controlling an inlet opening (62) leading from the feed pump (12) and opening into the cylinder bore (52) and closes in a position in which it with the sealing surface (60) against the valve seat (64), the inlet opening (62) completely.
Applications Claiming Priority (2)
| Application Number | Priority Date | Filing Date | Title |
|---|---|---|---|
| DE10162385 | 2001-12-19 | ||
| DE10162385 | 2001-12-19 |
Publications (2)
| Publication Number | Publication Date |
|---|---|
| EP1321663A2 EP1321663A2 (en) | 2003-06-25 |
| EP1321663A3 true EP1321663A3 (en) | 2003-07-02 |
Family
ID=7709799
Family Applications (1)
| Application Number | Title | Priority Date | Filing Date |
|---|---|---|---|
| EP02024857A Withdrawn EP1321663A3 (en) | 2001-12-19 | 2002-11-08 | Fuel injection device for an internal combustion engine |
Country Status (6)
| Country | Link |
|---|---|
| US (1) | US20030136384A1 (en) |
| EP (1) | EP1321663A3 (en) |
| JP (1) | JP2003222059A (en) |
| AU (1) | AU2002363846A1 (en) |
| DE (2) | DE10295868D2 (en) |
| WO (1) | WO2003052262A1 (en) |
Families Citing this family (12)
| Publication number | Priority date | Publication date | Assignee | Title |
|---|---|---|---|---|
| DE10146740A1 (en) * | 2001-09-22 | 2003-04-10 | Bosch Gmbh Robert | Fuel injection device for an internal combustion engine |
| DE10218021A1 (en) * | 2002-04-23 | 2003-11-06 | Bosch Gmbh Robert | Fuel injection device for an internal combustion engine |
| DE10251014A1 (en) | 2002-11-02 | 2004-05-19 | Robert Bosch Gmbh | Fuel dispensing unit for fuel injection system for internal combustion engine has shutoff sleeve in interior of valve piston and valve piston and shutoff sleeve form shutoff device |
| ATE399936T1 (en) * | 2003-11-28 | 2008-07-15 | Ganser Hydromag | HIGH PRESSURE PUMP FOR COMBUSTION ENGINES |
| CN100381697C (en) * | 2004-10-13 | 2008-04-16 | 株式会社电装 | Fuel pressure regulation valve |
| JP2006138315A (en) * | 2004-10-13 | 2006-06-01 | Denso Corp | Regulating valve |
| DE102005026511A1 (en) * | 2005-06-09 | 2006-12-14 | Robert Bosch Gmbh | Valve, in particular for use as a suction valve on the suction side of fuel injection systems |
| EP1923562B1 (en) * | 2006-11-16 | 2011-11-02 | C.R.F. Società Consortile per Azioni | Fuel adjustment and filtering device for a high-pressure pump |
| DE102010043923A1 (en) * | 2010-11-15 | 2012-05-16 | Robert Bosch Gmbh | Low pressure circuit for a fuel injection system and fuel injection system |
| DE102012212062A1 (en) * | 2012-07-11 | 2014-01-16 | Robert Bosch Gmbh | Low pressure circuit for a fuel injection system, fuel injection system and method of operating a fuel injection system |
| DE102013216468A1 (en) | 2013-08-20 | 2015-02-26 | Volkswagen Aktiengesellschaft | Fuel delivery device and method for operating a fuel delivery device |
| DE102020114417A1 (en) | 2020-05-29 | 2021-12-02 | Liebherr-Components Deggendorf Gmbh | high pressure pump |
Citations (4)
| Publication number | Priority date | Publication date | Assignee | Title |
|---|---|---|---|---|
| EP0816672A2 (en) * | 1996-07-05 | 1998-01-07 | Nippon Soken, Inc. | High-pressure pump for use in fuel injection system for diesel engine |
| US5927322A (en) * | 1997-06-30 | 1999-07-27 | Robert Bosch Gmbh | Quantity regulating valve for controlling liquids |
| EP0964150A2 (en) * | 1998-04-15 | 1999-12-15 | Denso Corporation | Fuel injection system for internal combustion engine |
| DE19853103A1 (en) * | 1998-11-18 | 2000-05-25 | Bosch Gmbh Robert | Fuel injection system for internal combustion engines |
Family Cites Families (16)
| Publication number | Priority date | Publication date | Assignee | Title |
|---|---|---|---|---|
| DE3427421A1 (en) * | 1984-07-25 | 1986-01-30 | Klöckner-Humboldt-Deutz AG, 5000 Köln | CONTROL VALVE FOR A FUEL INJECTION DEVICE |
| JPS6280376A (en) * | 1985-10-03 | 1987-04-13 | Mitsubishi Electric Corp | Solenoid proportional control valve |
| CH674243A5 (en) * | 1987-07-08 | 1990-05-15 | Dereco Dieselmotoren Forschung | |
| CN1082143C (en) * | 1993-11-08 | 2002-04-03 | Crt公共铁路技术公司 | Controls for filling proportional pumps |
| DE59504990D1 (en) * | 1994-03-23 | 1999-03-11 | Siemens Ag | ARRANGEMENT FOR INJECTING FUEL INTO THE CYLINDERS OF AN INTERNAL COMBUSTION ENGINE |
| US5639066A (en) * | 1995-06-15 | 1997-06-17 | Applied Power Inc. | Bidirectional flow control valve |
| DE19549108A1 (en) * | 1995-12-29 | 1997-07-03 | Bosch Gmbh Robert | High-pressure fuel generation system for a fuel injection system used in internal combustion engines |
| DE19630938C5 (en) * | 1996-07-31 | 2008-02-14 | Siemens Ag | Fuel supply with a flow control valve and flow control valve |
| DE19801355B4 (en) * | 1998-01-16 | 2004-04-08 | Robert Bosch Gmbh | High-pressure pump for fuel supply in fuel injection systems of internal combustion engines |
| DE19818385A1 (en) * | 1998-04-24 | 1999-10-28 | Bosch Gmbh Robert | Connecting valve for fuel injection system of internal combustion engine |
| EP1000245B1 (en) * | 1998-05-26 | 2004-08-25 | Caterpillar Inc. | Hydraulic system having a variable delivery pump |
| JP2000145591A (en) * | 1998-09-01 | 2000-05-26 | Mitsubishi Electric Corp | Fuel supply device |
| US6231029B1 (en) * | 1998-11-13 | 2001-05-15 | Mando Machinery Corporation | Solenoid valve for anti-lock brake system |
| DE19926308A1 (en) * | 1999-06-09 | 2000-12-21 | Bosch Gmbh Robert | Pump assembly for fuel |
| US6669166B2 (en) * | 2000-07-28 | 2003-12-30 | Nippon Soken, Inc. | Electromagnetic valve |
| DE10057244A1 (en) * | 2000-11-18 | 2002-06-06 | Bosch Gmbh Robert | Fuel injection system for internal combustion engines with improved starting behavior |
-
2002
- 2002-11-08 EP EP02024857A patent/EP1321663A3/en not_active Withdrawn
- 2002-12-16 US US10/319,584 patent/US20030136384A1/en not_active Abandoned
- 2002-12-17 JP JP2002365264A patent/JP2003222059A/en active Pending
- 2002-12-19 DE DE10295868T patent/DE10295868D2/en not_active Expired - Fee Related
- 2002-12-19 AU AU2002363846A patent/AU2002363846A1/en not_active Abandoned
- 2002-12-19 DE DE10261780A patent/DE10261780A1/en not_active Withdrawn
- 2002-12-19 WO PCT/DE2002/004757 patent/WO2003052262A1/en not_active Ceased
Patent Citations (4)
| Publication number | Priority date | Publication date | Assignee | Title |
|---|---|---|---|---|
| EP0816672A2 (en) * | 1996-07-05 | 1998-01-07 | Nippon Soken, Inc. | High-pressure pump for use in fuel injection system for diesel engine |
| US5927322A (en) * | 1997-06-30 | 1999-07-27 | Robert Bosch Gmbh | Quantity regulating valve for controlling liquids |
| EP0964150A2 (en) * | 1998-04-15 | 1999-12-15 | Denso Corporation | Fuel injection system for internal combustion engine |
| DE19853103A1 (en) * | 1998-11-18 | 2000-05-25 | Bosch Gmbh Robert | Fuel injection system for internal combustion engines |
Also Published As
| Publication number | Publication date |
|---|---|
| US20030136384A1 (en) | 2003-07-24 |
| AU2002363846A1 (en) | 2003-06-30 |
| JP2003222059A (en) | 2003-08-08 |
| DE10261780A1 (en) | 2003-07-03 |
| WO2003052262A1 (en) | 2003-06-26 |
| DE10295868D2 (en) | 2004-11-11 |
| EP1321663A2 (en) | 2003-06-25 |
Similar Documents
| Publication | Publication Date | Title |
|---|---|---|
| EP1126157A3 (en) | Fuel supply device for a combustion engine of a vehicle | |
| EP1296060A3 (en) | Fuel injection system for an internal combustion engine | |
| EP1321663A3 (en) | Fuel injection device for an internal combustion engine | |
| EP1180595A2 (en) | Fuel supply arrangement | |
| EP1013922A3 (en) | Variable-delivery high-pressure fuel pump | |
| WO2005050003A1 (en) | Injector used to inject fuel into internal combustion chambers in internal combustion engines, particularly, a piezo-actuator controlled common-rail-injector | |
| EP0937891A3 (en) | Fuel Injector | |
| EP0952333A3 (en) | Fuel injector for fuel injection systems | |
| EP0976924A3 (en) | Servo valve for an injector and injector | |
| EP1209349A3 (en) | Fuel injection system with fuel preheating and fuel cooled pressure regulation valve | |
| EP1357283B1 (en) | Fuel injection system for internal combustion engine | |
| EP0987430A3 (en) | Fuel injector | |
| DE102005022661A1 (en) | Fluid pump e.g. fuel-high pressure pump, for use in fuel system of internal combustion engine, has volume control valve that includes valve mechanism arranged parallel to another valve mechanism in fluidic manner | |
| EP1088985A3 (en) | High pressure fuel injector for an internal combustion engine | |
| EP1234976A3 (en) | Valve system for regulating the pressure of fuel supply in a combustion engine | |
| EP0982492A3 (en) | Apparatus for injecting fuel in a reciprocating internal combustion engine | |
| DE20107670U1 (en) | Carburetor arrangement with an accelerator pump | |
| DE102007059851A1 (en) | Fuel injection device for use in internal-combustion engine of motor vehicle, has device connecting shut-off line with discharge line in which flow throttle is arranged, where shut-off line is connected with bypass | |
| CH181340A (en) | Device for the mechanical injection of fuel in internal combustion engines. | |
| EP1243785A3 (en) | Fuel injection system for internal combustion engine | |
| DE10237586A1 (en) | Fuel injection installation for IC engine, such as diesel engine with high pressure pump for fuel delivery to buffer container, whose piston is driven from engine camshaft | |
| EP0530206B1 (en) | Fuel-injection pump for internal-combustion engines | |
| EP1076176A3 (en) | Injection system for an internal combustion engine | |
| EP1241347A3 (en) | Fuel injection system for internal combustion engines | |
| EP1124055A3 (en) | Fuel supply system for a combustion engine |
Legal Events
| Date | Code | Title | Description |
|---|---|---|---|
| PUAI | Public reference made under article 153(3) epc to a published international application that has entered the european phase |
Free format text: ORIGINAL CODE: 0009012 |
|
| PUAL | Search report despatched |
Free format text: ORIGINAL CODE: 0009013 |
|
| AK | Designated contracting states |
Designated state(s): AT BE BG CH CY CZ DE DK EE ES FI FR GB GR IE IT LI LU MC NL PT SE SK TR |
|
| AX | Request for extension of the european patent |
Extension state: AL LT LV MK RO SI |
|
| AK | Designated contracting states |
Designated state(s): AT BE BG CH CY CZ DE DK EE ES FI FR GB GR IE IT LI LU MC NL PT SE SK TR |
|
| AX | Request for extension of the european patent |
Extension state: AL LT LV MK RO SI |
|
| AKX | Designation fees paid | ||
| REG | Reference to a national code |
Ref country code: DE Ref legal event code: 8566 |
|
| STAA | Information on the status of an ep patent application or granted ep patent |
Free format text: STATUS: THE APPLICATION IS DEEMED TO BE WITHDRAWN |
|
| 18D | Application deemed to be withdrawn |
Effective date: 20040103 |
