EP1069277A2 - Sun protecting arrangement with automatic blind control and possibility of manual intervention - Google Patents
Sun protecting arrangement with automatic blind control and possibility of manual intervention Download PDFInfo
- Publication number
- EP1069277A2 EP1069277A2 EP00114879A EP00114879A EP1069277A2 EP 1069277 A2 EP1069277 A2 EP 1069277A2 EP 00114879 A EP00114879 A EP 00114879A EP 00114879 A EP00114879 A EP 00114879A EP 1069277 A2 EP1069277 A2 EP 1069277A2
- Authority
- EP
- European Patent Office
- Prior art keywords
- curtain
- sun protection
- protection system
- manual
- setting
- Prior art date
- Legal status (The legal status is an assumption and is not a legal conclusion. Google has not performed a legal analysis and makes no representation as to the accuracy of the status listed.)
- Granted
Links
- 230000037072 sun protection Effects 0.000 claims abstract description 54
- 230000007704 transition Effects 0.000 claims description 4
- 230000008672 reprogramming Effects 0.000 abstract description 3
- 238000011156 evaluation Methods 0.000 abstract description 2
- 239000013598 vector Substances 0.000 description 10
- 230000006978 adaptation Effects 0.000 description 8
- 239000000523 sample Substances 0.000 description 5
- 230000001133 acceleration Effects 0.000 description 3
- 238000010586 diagram Methods 0.000 description 3
- 230000005291 magnetic effect Effects 0.000 description 3
- 238000005259 measurement Methods 0.000 description 3
- 230000003044 adaptive effect Effects 0.000 description 2
- 230000006399 behavior Effects 0.000 description 2
- 230000005540 biological transmission Effects 0.000 description 2
- 238000004364 calculation method Methods 0.000 description 2
- 230000001419 dependent effect Effects 0.000 description 2
- 230000000694 effects Effects 0.000 description 2
- 238000010438 heat treatment Methods 0.000 description 2
- 238000000034 method Methods 0.000 description 2
- 230000009286 beneficial effect Effects 0.000 description 1
- 238000012937 correction Methods 0.000 description 1
- 238000001514 detection method Methods 0.000 description 1
- 238000006073 displacement reaction Methods 0.000 description 1
- 230000005611 electricity Effects 0.000 description 1
- 230000005294 ferromagnetic effect Effects 0.000 description 1
- 230000004907 flux Effects 0.000 description 1
- 238000011835 investigation Methods 0.000 description 1
- 238000004519 manufacturing process Methods 0.000 description 1
- QSHDDOUJBYECFT-UHFFFAOYSA-N mercury Chemical compound [Hg] QSHDDOUJBYECFT-UHFFFAOYSA-N 0.000 description 1
- 229910052753 mercury Inorganic materials 0.000 description 1
- 230000008447 perception Effects 0.000 description 1
- 238000001556 precipitation Methods 0.000 description 1
- 230000005855 radiation Effects 0.000 description 1
- 230000035939 shock Effects 0.000 description 1
- 238000011524 similarity measure Methods 0.000 description 1
- 230000036561 sun exposure Effects 0.000 description 1
- 230000002123 temporal effect Effects 0.000 description 1
- 238000012549 training Methods 0.000 description 1
Images
Classifications
-
- E—FIXED CONSTRUCTIONS
- E06—DOORS, WINDOWS, SHUTTERS, OR ROLLER BLINDS IN GENERAL; LADDERS
- E06B—FIXED OR MOVABLE CLOSURES FOR OPENINGS IN BUILDINGS, VEHICLES, FENCES OR LIKE ENCLOSURES IN GENERAL, e.g. DOORS, WINDOWS, BLINDS, GATES
- E06B9/00—Screening or protective devices for wall or similar openings, with or without operating or securing mechanisms; Closures of similar construction
- E06B9/56—Operating, guiding or securing devices or arrangements for roll-type closures; Spring drums; Tape drums; Counterweighting arrangements therefor
- E06B9/68—Operating devices or mechanisms, e.g. with electric drive
Definitions
- the invention relates to a sun protection system a motorized curtain and a control that the setting of the curtain depending on at least a certain input variable according to a given basic programming undertakes a manual intervention to realize the automatic setting deviating settings of the curtain is provided.
- the object of the invention is a sun protection system to create the the without expensive reprogramming Better meet user requirements.
- the task is performed by a sun protection system solved the type described above, in which the Control manually selected settings of the blind with at least one at the time of manual intervention present input variable recorded, saved and from a certain number essentially the same, at least repeated manual interventions at essentially programming for future Settings when this input variable is available under Manual intervention rating changed.
- the self-learning control any more or less complicated programming by the user.
- the Programming the controller d. H. the deviation from the predefined basic programming according to user requirements, is done only by those in automatic mode manual settings that the system records and from learns them.
- control and learning algorithms used in the control have the consequence that the user only in the initial phase after commissioning the sun protection system manual Must make changes according to his wishes and after some time the system no longer perceives, as always the desired settings prevail.
- the learning algorithm is preferably designed such that the Call of the adjusted or adopted setting in one certain parameter range of the detected input variable takes place. This prevents it from being exaggerated Accuracy in the acquisition of the input variable and the manual set output variables is almost impossible, that this state repeats itself because the user is manual Always make settings with a certain spread is and also the recorded input variables in particular the acquisition of several input variables hardly to be repeated Times may be identical.
- the definition of the width of the parameter area also lies another possibility of repeating once avoid manual settings by changing the parameter area the input variable with increasing number of repeated manual settings is wider and for example in the case of a single entry, a repeat only for exactly repeated input variables is made.
- the controller records at least the input variables time of day, Day of the week, date, wind speed, sun intensity and / or temperature and takes them into account in the change the setting of the curtain and / or the programming change.
- there are several evaluated input variables a call to an adjusted or adopted setting then when all input variables within certain parameter ranges lie.
- the sun protection system can be switched to a purely manual control, for example to be a desired one in the event of system errors To be able to permanently adjust the blind position.
- the control in a state is switchable, in which further manual settings do not change the basic programming. For example, if a room is used by others People used, these could be the programming of the actual Manipulate users through repeated manual intervention, so that the real user of his sun protection system then "program" again. Further it may be beneficial to control using an input reset certain signals to the basic programming to be able to.
- the control described is basically for all types of sun protection systems can be used, the setting of the Curtain by varying at least one output variable, for example the curtain length, the curtain inclination or the slat inclination with venetian blinds.
- the output variables can for example, the control signals from electric motors.
- FIG. 1 shows a sensor system 10 for determining active input variables for controlling a sun protection system 12 (see 2), which is connected to a controller 14 (see FIG. 2 and 3) are transmitted, which are defined when reached Switching values drive commands to the drives 17 (see FIG. 3) of the Sun protection system 12 transmitted and so an automatic Setting the sun protection system 12 allows.
- the sensor system 10 shown in FIG. 1 is in a separate one Housing 16 housed that with the help of connecting lines 18 is coupled to the controller 14.
- the sensor system 10 must at least the input variables time / date, sun intensity and compass direction of the sun protection system to determine a automatic control of the sun protection system 12 depending from the position of the sun.
- Especially at external sun protection systems are capturing the additional input variables wind speed and outside temperature sensible by the sensor 10 and a rain detector.
- the Sensor 10 via a radio receiver 20, the electromagnetic Radio clock signals are received and used to calculate the current Passes sun position to the controller 14.
- the radio receiver 20 is of course with a suitable antenna (not shown) trained that secure data reception ensures location-independent within the transmission range. Determining the day of the week and daylight saving time correction can be implemented programmatically in the controller 14 become.
- the sensor system 10 can also be used have a clock that provides the required input variables.
- the disadvantage of independent clocks is that that gear deviations occur over the years or it can even be completely adjusted as a result of power failures that comes with another manual intervention Making the time necessary.
- the input variable sun intensity is determined with Help of a sun sensor 22, which acts as a photoresistor, photodiode or solar cell is formed. It is also conceivable several such sensors - also of different types - for Determination of the sun intensity to be provided.
- the sun sensor 22 is immediate in the illustrated embodiment on the circuit board of the evaluation system inside the sensor housing 16 arranged and via a light guide 24 with a connected to the outer wall of the lens 26. It is however, the light-sensitive element itself is also conceivable to mount the outside of the housing and the connection to the Manufacture circuit board with the help of electrical cables.
- the Sun sensor provides the controller 14 with information about whether the sun protection system 14 or the one to be shaded by it Window area at all of a sun exposure is exposed or whether, for example, as a result of cloudiness it is even necessary to extend the sun protection system.
- the sun sensor 22 can also, for example, from sunlight reflected from an opposite facade detect and extend the sun protection system to one Effect the time of day at which the control actually leaves assumes that the facade in question is in the shade.
- a Direction sensor 28 is provided, which automatically after assembly the orientation of the sun protection system 12 recognizes what in the case of the housing 16 of the sensor system, which is designed separately in FIG. 1 10 of course presupposes that this is in an exact defined location to the sun protection system.
- the direction sensor 28 can in its version as an electronic Compass measure two or three axes of the final magnetic field and the absolute direction from the individual components of the magnetic field to calculate. Enough for most applications the measurement of the two horizontal components because the sun protection system and thus the direction sensor 28 during assembly with the help of a spirit level. It must be ensured that ferromagnetic components of the Sun protection system, such as B.
- the electronic compass 28 can be used, for example, as a flux gate sensor or be designed as a magnetoresistive sensor.
- the sensor system 10 offers the possibility of using of a wind sensor 30 to the input variable wind speed detect and thus a hazard to the system in strong winds due to mechanical overload caused by the Avoid running in the system.
- cup cross anemometer is used as a wind sensor usable, but only the horizontal components of the wind up to a deviation of can capture approximately 15 ° from the horizontal. At weird attacking winds becomes the input variable wind speed specified too low, with pure winds or downwinds such cross-hatch animometers cannot move wind at all to capture. In addition, cup cross animometers require relative lots of space.
- Wind sensor 30 uses a pressure sensor, which is inside the Housing 16 is arranged and via a hose connection 32 communicates with the environment.
- Other sensors with the help of which an air flow can be detected, which is a measure of the wind speed can apply are thermal probes, at which the air flow an electrically heated probe cools down, so that with constant heating power the temperature or at constant temperature, the heating output is a measure of is the flow rate, or a strain gauge circuit, which determined the bend of one exposed to the air flow Body as a measure of the flow velocity with the help two strain gauge elements detected and with a bridge circuit evaluates.
- the wind sensor 30 instead of the hose connection 32 the wind sensor 30 in turn on the surface of the housing 16 mounted.
- the wind sensor 22 has all wind directions via a sensor head (not shown), which is either a has a large detection area or is designed to be self-aligning is. Depending on the geometry of the sensor head different coverage areas can be covered where the deviations from measured to actual Wind speed z. B. are below 5%.
- a sensor head not shown
- different coverage areas can be covered where the deviations from measured to actual Wind speed z. B. are below 5%.
- shielded Probe heads such as B. Kiel probes as a geometry template come into question.
- the sensor head can be attached to a movable wing be attached, modeled on a simple Prandtl tube can be.
- the wing must be freely rotatable accordingly ensure the attacking wind and the connection from the receiving tube to the sensor must be flexible to the Do not limit the mobility of the wing.
- a completely different principle for determining the input variable Wind speed can be immediate deformation, Vibrations or accelerations on parts of the sun protection system determine that as a measure of wind speed can apply.
- strain gauge circuits are preferred on a heavily loaded component of the sun protection system attached to awnings, for example on an awning support tube in the area of the arm holder or on the arm profiles.
- the strain gauge circuit is in accordance with the one to be determined Deformation designed as a quarter, half or full bridge, the changes in resistance occurring in the measuring strips a measure of the deformation and thus of the attacking Are wind load.
- the sensor system 10 shown in FIG. 1 also has a rain sensor 34, which detect precipitation or moisture can and especially in wet-sensitive sun protection systems, such as B. awnings, retracting the system can cause.
- a rain sensor 34 which detect precipitation or moisture can and especially in wet-sensitive sun protection systems, such as B. awnings, retracting the system can cause.
- the sensor system 10 also has a temperature sensor 36, whose signal as a further input variable for the controller 14 can be used.
- the microcontroller 38 is connected via a two-wire or three-wire bus line 44 the controller 14 connected.
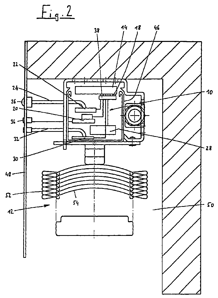
- Fig. 2 shows a schematic cross section of a Venetian blind Venetian blind 12, in the upper rail 46 a sensor 10 corresponding the sensor system shown in Fig. 1 without housing and a controller 14 are integrated.
- the lens 26, the temperature sensor 36 and the opening of the wind sensor 30 connected hose 32 are on the outside of a Aperture 48 is provided which covers the upper part of a shaft 50 covers in which the Venetian blind 12 is mounted.
- the venetian blind 12 has a slatted curtain 52, the individual slats 54 in Fig. 2 in the retracted position as a package are shown gathered.
- the venetian blind 12 has two Motors 17 (see Fig.
- FIG. 3 shows the control 14 for the motors 17 of the venetian blind 12 in Fig. 2 with those provided for determining relevant input variables Sensors.
- Sensors In addition to the temperature sensor already described 36, rain sensor 34, direction sensor 28, radio receiver 20, Sun sensor 22 and wind sensor 30 are used to determine additional ones Input variables the manual hand switches already mentioned 56, 58 for the extension length or the angle setting of the curtain 52 shown.
- the hand switches can also be carried out in the form of a remote control.
- Further input variables represent the 60 detected with the aid of an encoder Actual extension length and that with the help of another encoder 62 detected actual angular position of the curtain 52.
- the two Encoders 60, 62 can for example be in the form of rotary angle encoders be provided on the motors 17.
- the mentioned measured or set input variables are connected to the multiplexer 40 and this one Analog / digital converter 42 passed on to the incoming Converts sensor signals serially.
- To converter 42 is followed by a sensor signal adaptation 64, for example Characteristic curves linearized or signal impulses into one converts continuous size.
- sensor signal adaptation 64 for example Characteristic curves linearized or signal impulses into one converts continuous size.
- EPROM memory module 66 sequence programs are stored, which are dependent the output variables from the output signal of the sensor signal adaptation 64 Generate to control the motors 17.
- the Control programs continue to be the content of a memory 68 influences in which information about the geographical Length and width of the location of the sun protection system 12 are stored, since only the exact geographical An exact determination of the position of the sun relative to the sun protection system 12 is possible. However, too without this information using a preset good approximation possible for many locations.
- the controller 14 is constructed so that the with the hand switches 56, 58 manually entered values for the extension length or the angle setting with priority over the corresponding the measured input variables based on the basic programming determined setting are treated. Will be a manual Setting not corrected for a certain time is the same the controller 14 in a predefined period of several Hours the setting independently on the theoretical Ideal course.
- the transitions are sigmoidal, to enable as unobtrusive resetting as possible.
- the sigmoid-shaped transitions are over Bézier curves realized that guarantee that the return curve always only has a turning point.
- the time of day input variables determined by the radio clock 20 and date are used to track the setting angle of the Slats 54 to the height of the sun, the date information depending on the season Can compensate for changes in the solar path.
- Special calculation formulas are used for tracking the control 14 stores the azimuth and elevation angles the solar radiation.
- the input variable direction calculate whether the sun is even directly on the Attachment can seem and what relative position it to the attachment occupies. These calculations can be carried out by the in information stored in the memory 68 about the geographical Further specify the location of the system 12, the Data also from a GPS receiver integrated in the system can be provided. Otherwise the geographical Data when installing the system in the memory 68 filed, for example by transmission from a mobile GPS receiver, immediate entry of geographic data or alternatively entering the geographic location Approximately characteristic information, such as B. ZIP codes or license plate.
- the other input variables sun intensity, wind speed, Rain and temperature are treated so that at Breaking in or falling below certain threshold values the system is caused by the controller 14. Possibly can change these thresholds depending on the actual extension state determined by the sensors 60, 62 the system 12 can be varied.
- a further memory module 70 designed as an EEPROM is provided, which enables the controller 14 to adaptively learn.
- the memory module 70 it is possible to manual intervention affects the system state, d. H. all for the adaptive learning ability used input variables and Output variables, namely the setting parameters of the curtain, save in the form of a state vector.
- the input variables used for the learning process come u. a. the Time of day, month and day of the week, the wind speed, the Temperature and the intensity of the sun, but also the signal of the Moisture sensor 34 in question.
- the controller 14 compares during the automatic mode now the input variables of all stored vectors are permanent with the actual sizes of the system.
- the system is located again in a similar or even identical state, in which previously manually determined output variables in deviation have been chosen by the basic programming, so this vector is called again (recall).
- This has to Consequence that the stored output values that one previously made manual adjustment, set automatically become.
- the system tries using the input variables about to determine the reason for a manual operation has led. absolutely certain is one Hardly to reach the reason, but increases with each additional input variable used for adaptive learning ability the security to recognize user will.
- the thresholds are not set as rigid sizes, but defined for each input variable as a so-called recall area. These recall areas should only be used after repeated actuation be adapted to for greater security and Insensitivity to accidental manual interventions to care. Therefore, the recall areas are provided at only single entry to choose very small, so that a recall only if identical to the stored input variables Vector matching actual state values.
- the recall areas are adapted according to certain established rules, the components of the learning and control algorithms the controller 14 are. There is a manual adjustment e.g. B. always at the same time of the day Day of the week, the controller assumes that this setting should only take place on this weekday.
- the recall area created is limited to a day of the week, however extended to all calendar weeks. Do the entries on different days of the week, also with reference to these Input size a relatively large expansion of the recall area. This adaptation takes place continuously, which ensures an optimal Adaptation of the adaptation behavior to the desired one Learning behavior is possible.
- the learning algorithm is also in able to input points depending on their user to weight temporal distances to each other and their age. Older entries are used to define the recall areas only used to a limited extent, whereby very old vectors of input variables can also be deleted.
- the controller 14 also offers the possibility of a reset, which deletes all vectors and the algorithm in its Start state reset, in which the output variables based on the input variables recorded, only via the basic programming be determined.
- the automatic control can also be switched off by the hand switches 56, 58.
- the sensors 10, control 14 and motors 17 of the sun protection system 12 only need a conventional supply Household electricity network without additional components or even control lines, such as those used in previously implemented systems are to be found. With the connection to the power grid is the System ready for operation, but possibly only the data for the geographic location and / or the orientation the system must be saved.
- the controller 14 output signals for only one motor, for two motors (see Embodiment) or generate more motors.
- the basic programming has to be adapted, with the use of one and the same with adapted programming Unit consisting of sensor system 10 and control unit 14 for a wide variety Types of sun protection systems can be used can.
Landscapes
- Engineering & Computer Science (AREA)
- Structural Engineering (AREA)
- Architecture (AREA)
- Civil Engineering (AREA)
- Blinds (AREA)
- Operating, Guiding And Securing Of Roll- Type Closing Members (AREA)
Abstract
Eine Sonnenschutzanlage besitzt einen über eine Steuerung (14) motorisch einstellbaren Behang (52), wobei wenigstens eine Eingangsgröße gemäß einer Grundprogrammierung berücksichtigt wird und auch eine manuelle Eingriffsmöglichkeit besteht. Bei derartigen Anlagen ist es oft problematisch, daß die Grundprogrammierung individuellen Benutzerwünschen nicht gerecht wird. Um aufwendige Nachprogrammierungen zu vermeiden, wird vorgeschlagen, daß die Steuerung (14) manuelle Einstellungen zusammen mit wenigstens einer zu diesen Zeitpunkt vorliegenden Eingangsgröße erfaßt, abspeichert und ab einer bestimmten Anzahl im wesentlichen gleicher, wenigstens zweifach wiederholter manueller Eingriffe die Grundprogrammierung unter Bewertung der manuellen Eingriffe verändert. Eine derartige selbstlernende Steuerung paßt sich den individuellen Benutzerwünschen automatisch an, ohne daß eine aufwendige Nachprogrammierung notwendig wäre. A sun protection system has a curtain (52) which can be set by a motor via a control (14), at least one input variable being taken into account in accordance with a basic programming, and there is also a possibility of manual intervention. With systems of this type, it is often problematic that the basic programming does not meet individual user requirements. In order to avoid complex reprogramming, it is proposed that the controller (14) record and save manual settings together with at least one input variable available at this point in time and, from a certain number of essentially identical, at least twice repeated, manual interventions, the basic programming with an evaluation of the manual interventions changed. Such a self-learning control adapts automatically to the individual user requirements without the need for time-consuming reprogramming.
Description
Die Erfindung befaßt sich mit einer Sonnenschutzanlage mit einem motorisch einstellbaren Behang und einer Steuerung, die die Einstellung des Behangs in Abhängigkeit von wenigstens einer bestimmten Eingangsgröße nach einer vorgegebenen Grundprogrammierung vornimmt, wobei eine manuelle Eingriffsmöglichkeit zur Realisierung von der automatischen Einstellung abweichender Einstellungen des Behangs vorgesehen ist.The invention relates to a sun protection system a motorized curtain and a control that the setting of the curtain depending on at least a certain input variable according to a given basic programming undertakes a manual intervention to realize the automatic setting deviating settings of the curtain is provided.
Es ist bereits bekannt, Sonnenschutzanlagen mit einer automatischen Steuerung zu versehen, die anhand bestimmter Eingangsparameter Ausgangsgrößen erzeugen, beispielsweise zur Ansteuerung von Elektromotoren, mit Hilfe derer der Behang entsprechend den Eingangsparametern automatisch einstellbar ist. Die Grundprogrammierung solcher Anlagen kann zwar in einer als optimal angenommenen Art und Weise erfolgen, jedoch ist es im Voraus sehr schwierig, die tatsächlichen Beleuchtungseigenschaften eines Raumes zu erkennen, wobei auch das subjektive Empfinden der in mit derartigen Anlagen verschatteten Räumen arbeitenden oder lebenden Menschen sehr unterschiedlich sein kann. Zwar kann man sich durch manuelle Eingriffe in die Steuerung behelfen und den gewünschten Verschattungszustand einstellen, jedoch muß der Nutzer dann auf die automatische Nachstellung der Sonnenschutzanlage ganz verzichten oder ständig manuelle Änderungen vornehmen, was kaum als akzeptable Lösung gelten kann. It is already known to use an automatic sun protection system To provide control based on certain input parameters Generate output variables, for example for Control of electric motors, with the help of which the curtain can be set automatically according to the input parameters is. The basic programming of such systems can be done in one done as the optimally accepted way, however in advance it is very difficult to see the actual lighting characteristics to recognize a room, which also subjective perception of those shaded with such systems People working or living in rooms vary widely can be. Although you can by manual intervention help in the control and the desired shading condition set, however, the user must then the automatic adjustment of the sun protection system entirely forego or constantly make manual changes to what can hardly be considered an acceptable solution.
Es ist zwar möglich, die Programmierung einer Steuerung vor Ort den Benutzerwünschen anzupassen, dies gestaltet sich jedoch äußerst arbeits- und kostenintensiv und ist ohne geschultes Fachpersonal nicht durchführbar.It is possible to pre-program a controller Adapt location to user requirements, however, this turns out extremely labor and cost intensive and is without any training Specialist staff not feasible.
Die Aufgabe der Erfindung besteht darin, eine Sonnenschutzanlage zu schaffen, die ohne aufwendige Nachprogrammierung den Nutzeranforderungen besser gerecht wird.The object of the invention is a sun protection system to create the the without expensive reprogramming Better meet user requirements.
Erfindungsgemäß wird die Aufgabe durch eine Sonnenschutzanlage der eingangs beschriebenen Art gelöst, bei welcher die Steuerung manuell gewählte Einstellungen des Behangs zusammen mit wenigstens einer zum Zeitpunkt des manuellen Eingriffs vorliegenden Eingangsgröße erfaßt, abspeichert und ab einer bestimmten Anzahl im wesentlichen gleicher, wenigstens zweifach wiederholter manueller Eingriffe bei im wesentlichen gleicher Eingangsgröße die Programmierung für künftige Einstellungen beim Vorliegen dieser Eingangsgröße unter Bewertung der manuellen Eingriffe verändert.According to the invention, the task is performed by a sun protection system solved the type described above, in which the Control manually selected settings of the blind with at least one at the time of manual intervention present input variable recorded, saved and from a certain number essentially the same, at least repeated manual interventions at essentially programming for future Settings when this input variable is available under Manual intervention rating changed.
Anders als bei herkömmlichen Systemen entfällt bei der erfindungsgemäßen, selbstlernenden Steuerung jegliche mehr oder weniger komplizierte Programmierung durch den Benutzer. Die Programmierung der Steuerung, d. h. die Abweichung von der vorgegebenen Grundprogrammierung entsprechend den Nutzerwünschen, erfolgt einzig durch die im Automatikbetrieb erfolgenden manuellen Einstellungen, die das System erfaßt und aus ihnen lernt.In contrast to conventional systems, the self-learning control any more or less complicated programming by the user. The Programming the controller, d. H. the deviation from the predefined basic programming according to user requirements, is done only by those in automatic mode manual settings that the system records and from learns them.
Die bei der Steuerung verwendeten Steuer- und Lernalgorithmen haben zur Folge, daß der Benutzer lediglich in der Anfangsphase nach der Inbetriebnahme der Sonnenschutzanlage manuelle Änderungen entsprechend seinen Wünschen vornehmen muß und nach einiger Zeit die Anlage gar nicht mehr wahrnimmt, da immer die gewünschten Einstellungen vorherrschen.The control and learning algorithms used in the control have the consequence that the user only in the initial phase after commissioning the sun protection system manual Must make changes according to his wishes and after some time the system no longer perceives, as always the desired settings prevail.
Um Fehlprogrammierungen durch einmalige manuelle Eingriffe zu verhindern, beispielsweise wenn ein Raum einmal von einer dritten Person benutzt wird oder ein Raum für eine Bildpräsentation einmalig vollständig abgedunkelt wird, ist es zweckmäßig, eine Anpassung der Programmierung nicht von einem einzigen manuellen Eingriff abhängig zu machen. Beispielsweise kann vorgesehen sein, daß die Steuerung die Programmierung mit zunehmender Anzahl von Wiederholungen im wesentlichen gleicher manueller Einstellungen bei im wesentlichen gleicher Eingangsgröße schrittweise der manuellen Einstellung anpaßt und bei vorliegender Eingangsgröße die angepaßte Einstellung des Behangs vornimmt. Als Alternative ist es denkbar, daß nach einer bestimmten Anzahl von Wiederholungen im wesentlichen gleicher manueller Einstellungen bei im wesentlichen gleicher Eingangsgröße die Programmierung die manuelle Einstellung übernimmt und sie bei Vorliegen der Eingangsgröße wiederholt.To prevent programming errors due to one-time manual interventions prevent, for example, if a room from one third person is used or a room for a slide show is completely darkened once, it is expedient, an adjustment of the programming not by one only dependent on manual intervention. For example can be provided that the control programming essentially with increasing number of repetitions same manual settings at essentially same input variable gradually the manual setting adapts and, given the input variable, the adjusted setting of the curtain. As an alternative, it is conceivable that after a certain number of repetitions in much the same manual settings at essentially same input variable programming manual Setting takes over and it is available when the input variable is available repeated.
Während bei der schrittweisen Anpassung beispielsweise so vorgegangen werden kann, daß einmalige oder zweimalige manuelle Eingriffe nur minimale Änderungen hervorrufen, empfiehlt es sich bei der zweiten beschriebenen Variante, eine wenigstens drei- bis vierfache Wiederholung der manuellen Einstellung für eine Änderung der Programmierung vorauszusetzen, um mit hinreichender statistischer Sicherheit davon ausgehen zu können, daß den manuellen Eingriffen eines Nutzers der Wunsch nach einer grundsätzlichen Änderung der Programmierung zugrunde liegt. While the gradual adjustment, for example can be done that one or two times manual Intervention to cause minimal changes is recommended the second variant described, at least one Repeat the manual setting three to four times for a change in programming, to with reasonable statistical certainty can make a user's manual intervention a desire after a fundamental change in programming lies.
Vorzugsweise ist der Lernalgorithmus so ausgelegt, daß der Aufruf der angepaßten oder übernommenen Einstellung in einem bestimmten Parameterbereich der erfaßten Eingangsgröße erfolgt. Hierdurch wird verhindert, daß es durch übertriebene Genauigkeit bei der Erfassung der Eingangsgröße und der manuell eingestellten Ausgangsgrößen nahezu ausgeschlossen ist, daß sich dieser Zustand wiederholt, da der Nutzer manuelle Einstellungen immer mit einer gewissen Streubreite vornehmen wird und auch die erfaßten Eingangsgrößen insbesondere bei der Erfassung mehrerer Eingangsgrößen kaum zum wiederholten Male identisch vorliegen dürften.The learning algorithm is preferably designed such that the Call of the adjusted or adopted setting in one certain parameter range of the detected input variable takes place. This prevents it from being exaggerated Accuracy in the acquisition of the input variable and the manual set output variables is almost impossible, that this state repeats itself because the user is manual Always make settings with a certain spread is and also the recorded input variables in particular the acquisition of several input variables hardly to be repeated Times may be identical.
In der Festlegung der Breite der Parameterbereich liegt auch eine weitere Möglichkeit, eine Wiederholung einmalig vorgenommener manueller Einstellungen zu vermeiden, indem der Parameterbereich der Eingangsgröße mit zunehmender Anzahl wiederholter manueller Einstellungen breiter ist und beispielsweise bei einer einmaligen Eingabe eine Wiederholung nur bei exakt wiederholten Eingangsgrößen vorgenommen wird.The definition of the width of the parameter area also lies another possibility of repeating once avoid manual settings by changing the parameter area the input variable with increasing number of repeated manual settings is wider and for example in the case of a single entry, a repeat only for exactly repeated input variables is made.
Die Steuerung erfaßt wenigstens die Eingangsgrößen Tageszeit, Wochentag, Datum, Windgeschwindigkeit, Sonnenintensität und/oder Temperatur und berücksichtigt diese bei der Veränderung der Einstellung des Behangs und/oder der Programmierungsänderung. Grundsätzlich müssen dabei nicht alle Eingangsgrößen, die von der Steuerung zur Einstellung des Behangs herangezogen werden, in die Lernvorgänge mit einbezogen werden. Grundsätzlich ist jedoch davon auszugehen, daß mit zusätzlichen Eingangsgröße, die zur Programmierungsänderung herangezogen wird, eine verbesserte Anpassung an die Benutzerwünsche durch Änderung der Programmierung möglich ist. Vorzugsweise erfolgt bei mehreren ausgewerteten Eingangsgrössen ein Aufruf einer angepaßten oder übernommenen Einstellung dann, wenn alle Eingangsgrößen innerhalb bestimmter Parameterbereiche liegen.The controller records at least the input variables time of day, Day of the week, date, wind speed, sun intensity and / or temperature and takes them into account in the change the setting of the curtain and / or the programming change. Basically, not all input variables, that of the control to adjust the curtain be included in the learning processes become. Basically, however, it can be assumed that with additional input variable required for programming change an improved adaptation to user requirements is used is possible by changing the programming. Preferably, there are several evaluated input variables a call to an adjusted or adopted setting then when all input variables within certain parameter ranges lie.
Durch diese logische Und-Verknüpfung wird die Sicherheit eines Erkennens eines Grundes erhöht, der zu einem manuellen Eingriff in die Steuerung führte. Auch wenn eine absolute Sicherheit beim Erkennen eines Grundes für einen manuellen Eingriff nicht zu erreichen ist, können mit zunehmender Anzahl erfaßter Eingangsgrößen die Parameterbereiche enger gefaßt werden, ohne daß dies Fehlprogrammierungen, d. h. unerwünschte Änderungen der Behangstellung, nach sich ziehen würde.This logical AND link makes the security of one Recognizing a reason that increases to a manual one Intervention in the control system. Even if absolute security upon recognizing a reason for a manual Intervention cannot be achieved with increasing numbers input parameters, the parameter ranges are narrowed without being misprogrammed, i. H. unwanted Changes in the hanging, entail would.
In weiterer bevorzugter Ausbildung der Erfindung ist vorgesehen, daß nach einer bestimmten Zeitdauer nach einem manuellen Eingriff oder einem Aufruf einer angepaßten oder übernommenen Einstellung eine Rückstellung in eine Einstellung gemäß der Grundprogrammierung oder in eine geänderte Einstellung erfolgt. Auf diese Weise wird sichergestellt, daß der Behang nicht in veränderten Einstellungen verharrt, sondern die Sonnenschutzanlage selbsttätig wieder zur automatischen Steuerung zurückkehrt. Vorzugsweise erfolgt die Rückstellung über eine interpolierte Verstellkurve, die anhand der Ausgangs- und anzufahrenden Endeinstellung des Behangs von der Steuerung ermittelbar ist. Durch die interpolierten Verstellkurven lassen sich plötzliche Verstellvorgänge vermeiden, die von den in dem von der Sonnenschutzanlage verschatteten Raum anwesenden Personen als sehr störend empfunden werden. Besonders angenehme Verstellcharakteristiken ergeben sich, wenn die Rückstellung sigmoidförmig erfolgt, wobei die sigmoidförmigen Übergänge durch Bèzier-Kurven realisiert sind. Derartige Rückstellkurven besitzen nur einen Wendepunkt und ergeben dadurch eine als besonders weich und angenehm empfundene Änderung der Beleuchtung bei der Verstellung.In a further preferred embodiment of the invention, that after a period of time after a manual Intervention or a call to an adapted or taken over Setting a provision in a setting according to the Basic programming or in a changed setting. This ensures that the curtain not stuck in changed settings, but the sun protection system automatically for automatic control again returns. The provision is preferably made via an interpolated displacement curve, which is based on the output and final adjustment of the curtain to be approached by the control can be determined. Through the interpolated adjustment curves can be avoided sudden adjustments that are caused by the one present in the room shaded by the sun protection system People are perceived as very disturbing. Especially pleasant adjustment characteristics result when the reset is sigmoid-shaped, with the sigmoid-shaped Transitions are realized through Bèzier curves. Such Resetting curves have only one turning point and result this makes it felt particularly soft and pleasant Changing the lighting during the adjustment.
Unter Umständen kann es sinnvoll sein, daß die Sonnenschutzanlage auf eine rein manuelle Steuerung umschaltbar ist, beispielsweise um im Falle von Systemfehlern dennoch eine gewünschte Behangstellung dauerhaft einstellen zu können. Andererseits kann es zweckdienlich sein, wenn die Steuerung in einen Zustand schaltbar ist, in welchem weitere manuelle Einstellungen keine Änderung der Grundprogrammierung bewirken. Wird beispielsweise ein Raum zwischenzeitlich von anderen Personen genutzt, könnten diese die Programmierung des eigentlichen Nutzers durch wiederholte manuelle Eingriffe manipulieren, so daß der eigentliche Nutzer seine Sonnenschutzanlage anschließend wieder neu "programmieren" müßte. Ferner kann es von Vorteil sein, die Steuerung mit Hilfe einer Eingabe bestimmter Signale auf die Grundprogrammierung rückstellen zu können.Under certain circumstances it may make sense that the sun protection system can be switched to a purely manual control, for example to be a desired one in the event of system errors To be able to permanently adjust the blind position. On the other hand it can be useful if the control in a state is switchable, in which further manual settings do not change the basic programming. For example, if a room is used by others People used, these could be the programming of the actual Manipulate users through repeated manual intervention, so that the real user of his sun protection system then "program" again. Further it may be beneficial to control using an input reset certain signals to the basic programming to be able to.
Die beschriebene Steuerung ist grundsätzlich bei allen Arten von Sonnenschutzanlagen einsetzbar, wobei die Einstellung des Behangs durch Variation wenigstens einer Ausgangsgröße, beispielsweise der Behanglänge, der Behangneigung oder der Lamellenneigung bei Raffstoren erfolgt. Die Ausgangsgrößen können beispielsweise die Steuersignale von Elektromotoren sein.The control described is basically for all types of sun protection systems can be used, the setting of the Curtain by varying at least one output variable, for example the curtain length, the curtain inclination or the slat inclination with venetian blinds. The output variables can for example, the control signals from electric motors.
Nachfolgend wird anhand der beigefügten Zeichnungen näher auf Ausführungsbeispiele der Erfindung eingegangen. Es zeigen:
- Fig. 1
- ein schematisches Schaubild einer Sensorik zur Ermittlung relevanter Eingangsgrößen für die Steuerung von Sonnenschutzanlagen;
- Fig. 2
- einen Schnitt einer Sonnenschutzanlage mit integrierter Sensorik;
- Fig. 3
- ein Funktionsschaubild einer mit der Sensorik gemäß Fig. 1 oder 2 verknüpften Steuerung.
- Fig. 1
- a schematic diagram of a sensor system for determining relevant input variables for the control of sun protection systems;
- Fig. 2
- a section of a sun protection system with integrated sensors;
- Fig. 3
- a functional diagram of a control linked to the sensor system according to FIG. 1 or 2.
In Fig. 1 ist eine Sensorik 10 zur Ermittlung aktiver Eingangsgrößen
zur Regelung einer Sonnenschutzanlage 12 (siehe
Fig. 2) dargestellt, die an eine Steuerung 14 (siehe Fig. 2
und 3) übermittelt werden, die bei Erreichen definierter
Schaltwerte Fahrbefehle an die Antriebe 17 (siehe Fig. 3) der
Sonnenschutzanlage 12 übermittelt und so eine automatische
Einstellung der Sonnenschutzanlage 12 ermöglicht.1 shows a
Die in Fig. 1 dargestellte Sensorik 10 ist in einem separaten
Gehäuse 16 untergebracht, das mit Hilfe von Anschlußleitungen
18 mit der Steuerung 14 gekoppelt ist. Die Sensorik 10 muß
wenigstens die Eingangsgrößen Uhrzeit/Datum, Sonnenintensität
und Himmelsrichtung der Sonnenschutzanlage ermitteln, um eine
automatische Steuerung der Sonnenschutzanlage 12 in Abhängigkeit
vom Sonnenstand ermöglichen zu können. Insbesondere bei
außen liegenden Sonnenschutzanlagen sind die Erfassung der
zusätzlichen Eingangsgrößen Windgeschwindigkeit und Außentemperatur
durch die Sensorik 10 sowie ein Regendetektor sinnvoll. The
Zur Ermittlung der Eingangsgröße Uhrzeit/Datum verfügt die
Sensorik 10 über einen Funkempfänger 20, der elektromagnetische
Funkuhrsignale empfängt und zur Berechnung des aktuellen
Sonnenstandes an die Steuerung 14 weitergibt. Der Funkempfänger
20 ist selbstverständlich mit einer geeigneten Antenne
(nicht dargestellt) ausgebildet, die einen sicheren Datenempfang
standortunabhängig innerhalb des Sendebereichs sicherstellt.
Die Ermittlung des Wochentages und die Sommerzeitkorrektur
können programmtechnisch in der Steuerung 14 realisiert
werden.To determine the input variable time / date, the
Statt eines Funkempfängers 20 kann die Sensorik 10 auch über
eine Uhr verfügen, die die benötigten Eingangsgrößen bereitstellt.
Allerdings besteht bei unabhängigen Uhren der Nachteil,
daß sich im Laufe der Jahre Gangabweichungen einstellen
oder es infolge von Stromausfällen gar zu einer völligen Verstellung
kommt, die einen erneuten manuellen Eingriff mit
Stellen der Uhrzeit erforderlich macht. Demgegenüber bietet
die Ermittlung der Eingangsgröße Uhrzeit/Datum auf der Basis
des Funkuhrprinzips eine nahezu perfekte Ganggenauigkeit und
die Möglichkeit des automatischen Erst- und Nacheinstellens.Instead of a
Die Ermittlung der Eingangsgröße Sonnenintensität erfolgt mit
Hilfe eines Sonnensensors 22, der als Fotowiderstand, Fotodiode
oder Solarzelle ausgebildet ist. Es ist auch denkbar,
mehrere derartige Sensoren - auch unterschiedlicher Art - zur
Ermittlung der Sonnenintensität vorzusehen. Der Sonnensensor
22 ist bei dem dargestellten Ausführungsbeispiel unmittelbar
auf der Platine des Auswertesystems innerhalb des Sensorgehäuses
16 angeordnet und über einen Lichtleiter 24 mit einer
auf der Gehäuseaußenwand sitzenden Linse 26 verbunden. Es ist
jedoch auch denkbar, das lichtempfindliche Element selbst auf
der Gehäuseaußenseite zu montieren und die Verbindung zu der
Platine mit Hilfe elektrischer Leitungen herzustellen. Der
Sonnensensor liefert der Steuerung 14 eine Information darüber,
ob die Sonnenschutzanlage 14 bzw. die von ihr zu verschattende
Fensterfläche überhaupt einer Sonneneinstrahlung
ausgesetzt ist oder ob beispielsweise infolge von Bewölkung
ein Ausfahren der Sonnenschutzanlage überhaupt notwendig ist.
Umgekehrt kann der Sonnensensor 22 auch beispielsweise von
einer gegenüber liegenden Fassade reflektiertes Sonnenlicht
erfassen und ein Ausfahren der Sonnenschutzanlage zur einer
Tageszeit bewirken, zu welcher die Steuerung eigentlich davon
ausgeht, daß die betroffene Fassade im Schatten liegt.The input variable sun intensity is determined with
Help of a
Zur Erfassung der Eingangsgröße Himmelrichtung, d.h. der geographischen
Ausrichtung der Sonnenschutzanlage 12, ist ein
Richtungssensor 28 vorgesehen, der nach der Montage automatisch
die Ausrichtung der Sonnenschutzanlage 12 erkennt, was
bei dem in Fig. 1 separat ausgeführten Gehäuse 16 der Sensorik
10 natürlich voraussetzt, daß dieses sich in einer genau
definierten Lage zur Sonnenschutzanlage befindet. Der Richtungssensor
28 kann in seiner Ausführung als elektronischer
Kompaß zwei oder drei Achsen des Endmagnetfeldes messen und
aus den einzelnen Komponenten des Magnetfeldes die Absolutrichtung
berechnen. Für die meisten Anwendungsfälle reicht
die Messung der beiden Horizontalkomponenten aus, da die Sonnenschutzanlage
und damit der Richtungssensor 28 bei der Montage
mit Hilfe einer Wasserwaage exakt ausgerichtet werden.
Es ist darauf zu achten, daß ferromagnetische Bauteile der
Sonnenschutzanlage, wie z. B. die Antriebsmotoren 17 das zu
messende Erdmagnetfeld nicht stören. Während Störungen innerhalb
der Sensorik 10 rechnerisch kompensiert werden können,
sollten die Antriebsmotore 17 während der Messungen ausgeschaltet
bleiben, um das Meßergebnis nicht zu verfälschen.
Der elektronische Kompaß 28 kann beispielsweise als Fluxgatesensor
oder als magnetoresesiver Sensor ausgeführt sein.To record the input variable direction of the sky, i.e. the geographical
Alignment of the
Weiterhin bietet die Sensorik 10 die Möglichkeit mit Hilfe
eines Windsensors 30 die Eingangsgröße Windgeschwindigkeit zu
erfassen und damit bei starkem Wind eine Gefährdung der Anlage
durch mechanische Überbelastung durch Veranlassen des
Einfahrens der Anlage zu vermeiden.Furthermore, the
Grundsätzlich ist als Windsensor ein herkömmliches Schalenkreuzanemometer einsetzbar, das jedoch nur die Hoizontalkomponenten des anstehenden Windes bis zu einer Abweichung von ungefähr 15° aus der Horizontalen erfassen kann. Bei schräger angreifenden Winden wird die Eingangsgröße Windgeschwindigkeit zu niedrig angegeben, bei reinen Auf- oder Fallwinden können derartige Schalenkreuzanimometer gar keine Windbewegung erfassen. Zudem benötigen Schalenkreuzanimometer relativ viel Platz.Basically, a conventional cup cross anemometer is used as a wind sensor usable, but only the horizontal components of the wind up to a deviation of can capture approximately 15 ° from the horizontal. At weird attacking winds becomes the input variable wind speed specified too low, with pure winds or downwinds such cross-hatch animometers cannot move wind at all to capture. In addition, cup cross animometers require relative lots of space.
Bei der in Fig. 1 dargestellten Sensorik 10 wird daher als
Windsensor 30 ein Drucksensor eingesetzt, der im Inneren des
Gehäuses 16 angeordnet ist und über eine Schlauchverbindung
32 mit der Umgebung in Verbindung steht. Weitere Sensoren,
mit Hilfe derer ein Luftstrom erfaßbar ist, der als Maß für
die Windgeschwindigkeit gelten kann, sind Thermosonden, bei
welchen der Luftstrom einen elektrisch beheizten Meßfühler
abkühlt, so daß bei konstanter Heizleistung die Temperatur
oder bei konstanter Temperatur die Heizleistung ein Maß für
die Strömungsgeschwindigkeit ist, oder eine DMS-Schaltung,
die die Biegung eines dem Luftstrom ausgesetzten bestimmten
Körpers als Maß für die Strömungsgeschwindigkeit mit Hilfe
zweier DMS-Elemente erfaßt und mit einer Brückenschaltung
auswertet. Selbstverständlich kann statt der Schlauchverbindung
32 der Windsensor 30 wiederum an der Oberfläche des Gehäuses
16 montiert sein.1 is therefore used as
Um eine gleichwertige Erfassung der Windgeschwindigkeit aus
allen Windrichtungen zu erlauben, verfügt der Windsensor 22
über einen Sensorkopf (nicht gezeigt), der entweder einen
großen Erfassungsbereich besitzt oder selbstausrichtend ausgebildet
ist. Abhängig von der Geometrie des Sensorkopfes
können unterschiedliche große Erfassungsbereiche abgedeckt
werden, bei denen die Abweichungen von gemessener zu tatsächlicher
Windgeschwindigkeit z. B. unter 5 % liegen. Hierbei
kann auf bekannte Untersuchungen im Zusammenhang mit Gesamtdrucksonden
zurückgegriffen werden, wobei besonders abgeschirmte
Sondenköpfe, wie z. B. Kielsche Sonden als Geometrievorlage
in Frage kommen.To get an equivalent record of wind speed
The
Alternativ kann der Sensorkopf an einem beweglichen Flügel befestigt sein, wobei er einem einfachen Prandtlrohr nachempfunden sein kann. Der Flügel muß eine freie Drehbarkeit entsprechend dem angreifenden Wind gewährleisten und die Verbindung vom Aufnahmerohr zum Sensor muß flexibel sein, um die Beweglichkeit des Flügels nicht einzuschränken.Alternatively, the sensor head can be attached to a movable wing be attached, modeled on a simple Prandtl tube can be. The wing must be freely rotatable accordingly ensure the attacking wind and the connection from the receiving tube to the sensor must be flexible to the Do not limit the mobility of the wing.
Ein völlig anderes Prinzip zur Ermittlung der Eingangsgröße Windgeschwindigkeit kann darin bestehen, unmittelbare Verformungen, Vibrationen oder Beschleunigungen an Teilen der Sonnenschutzanlage zu ermitteln, die als Maß für die Windgeschwindigkeit gelten können. A completely different principle for determining the input variable Wind speed can be immediate deformation, Vibrations or accelerations on parts of the sun protection system determine that as a measure of wind speed can apply.
Beispielsweise können durch Wind verursachte Verformungen mit Hilfe von DMS-Schaltungen ermittelt werden. Diese werden vorzugsweise an einem stark belasteten Bauteil der Sonnenschutzanlage angebracht, bei Markisen beispielsweise an einem Markisentragrohr im Bereich der Armaufnahme oder an den Armprofilen. Die DMS-Schaltung ist entsprechend der zu ermittelnden Verformung als Viertel-, Halb- oder Vollbrücke ausgebildet, wobei die in den Meßstreifen auftretenden Widerstandsänderungen ein Maß für die Verformung und damit für die angreifende Windlast sind.For example, deformations caused by wind can occur with With the help of strain gauge circuits. These are preferred on a heavily loaded component of the sun protection system attached to awnings, for example on an awning support tube in the area of the arm holder or on the arm profiles. The strain gauge circuit is in accordance with the one to be determined Deformation designed as a quarter, half or full bridge, the changes in resistance occurring in the measuring strips a measure of the deformation and thus of the attacking Are wind load.
Ferner ist es möglich, durch den angreifenden Wind hervorgerufene
Vibrationen oder Beschleunigungen als Maß für die angreifende
Windlast zu erfassen. Hierzu wird in einem vibrationsbelasteten
Bauteil der Sonnenschutzanlage ein Quecksilberschalter
zum Erfassen der Vibrationen und Erschütterungen
bzw. ein z. B. nach dem Piezoprinzip arbeitender Beschleunigungssensor
zur Erfassung der auftretenden Beschleunigungen
integriert. Die oberhalb bestimmter Schwellenwerte geschalteten
Impulse werden von der Steuerung 14 ausgewertet und veranlassen
gegebenenfalls das Einfahren der Anlage. In diesem
Fall ist die Anordnung der Sensoren im Bereich unter Windlast
stark bewegter Bauteile zweckmäßig, wie z. B. Unterschienen
von Raffstoren oder Ausfallprofilen von Markisen.It is also possible to be caused by the attacking wind
Vibrations or accelerations as a measure of the attacking
Capture wind load. This is done in a vibration
Component of the sun protection system is a mercury switch
to detect vibrations and shocks
or a z. B. Accelerometer working according to the piezo principle
to record the accelerations that occur
integrated. The switched above certain thresholds
The
Die in Fig. 1 dargestellte Sensorik 10 verfügt weiterhin über
einen Regensensor 34, der Niederschlag bzw. Feuchtigkeit erfassen
kann und insbesondere bei nässeempfindlichen Sonnenschutzanlagen,
wie z. B. Markisen, das Einfahren der Anlage
veranlassen kann. The
Die Sensorik 10 verfügt auch über einen Temperatursensor 36,
dessen Signal als weitere Eingangsgröße für die Steuerung 14
herangezogen werden kann.The
Die in Fig. 1 dargestellte Sensorik 10, die in einem separaten
Gehäuse 16 untergebracht ist, verfügt ferner über einen
integrierten Mikrocontroller 38, der einen Multiplexer 40 und
einen Analog/Digital-Wandler 42 (siehe Fig. 3) aufweist, wobei
der Multiplexer 40 und der A/D-Wandler 42 in Fig. 3 als
Teil der Steuerung 14 dargestellt sind. Der Mikrocontroller
38 ist über eine Zweidraht- oder Dreidraht-Busleitung 44 mit
der Steuerung 14 verbunden.The
Fig. 2 zeigt einen schematischen Querschnitt eines Lamellenraffstores
12, in dessen Oberschiene 46 eine Sensorik 10 entsprechend
der in Fig. 1 dargestellten Sensorik ohne Gehäuse
und eine Steuerung 14 integriert sind. Die Linse 26, der Temperatursensor
36 und die Öffnung der mit dem Windsensor 30
verbundenen Schlauchleitung 32 sind an der Außenseite einer
Blende 48 vorgesehen, die den oberen Teil eines Schachtes 50
abdeckt, in welchem der Raffstore 12 montiert ist. Der Raffstore
12 verfügt über einen Lamellenbehang 52, dessen Einzellamellen
54 in Fig. 2 in der eingefahrenen Stellung als Paket
gerafft dargestellt sind. Der Raffstore 12 verfügt über zwei
Motoren 17 (siehe Fig. 3), mit Hilfe derer der Lamellenbehang
52 ausfahrbar und die Neigung der Lamellen 54 einstellbar
ist. Die Ansteuerung der Motoren wird von der Steuerung 14
übernommen, wobei neben einer rein automatischen Ansteuerung
auch ein manueller Eingriff für die Ausfahrlänge und die
Winkeleinstellung des Behangs 52 vorgesehen ist. Fig. 2 shows a schematic cross section of a Venetian blind
Das in Fig. 3 dargestellte Funktionsschaubild zeigt die Steuerung
14 für die Motoren 17 des Raffstores 12 in Fig. 2 mit
den zur Ermittlung relevanter Eingangsgrößen vorgesehenen
Sensoren. Neben dem bereits beschriebenen Temperatursensor
36, Regensensor 34, Richtungssensor 28, Funkempfänger 20,
Sonnensensor 22 und Windsensor 30 sind zur Ermittlung weiterer
Eingangsgrößen die bereits angesprochenen manuellen Handschalter
56, 58 für die Ausfahrlänge bzw. die Winkeleinstellung
des Behangs 52 dargestellt. Die Handschalter können auch
in Form einer Fernbedienung ausgeführt sein. Weitere Eingangsgrößen
stellen die mit Hilfe eines Gebers 60 erfaßte
Ist-Ausfahrlänge sowie die mit Hilfe eines weiteren Gebers 62
erfaßte Ist-Winkelstellung des Behangs 52 dar. Die beiden
Geber 60, 62 können beispielsweise in Form von Drehwinkelgebern
an den Motoren 17 vorgesehen sein.The functional diagram shown in FIG. 3 shows the
Die erwähnten gemessenen oder eingestellten Eingangsgrößen
werden an den Multiplexer 40 und einen diesem nachgeschalteten
Analog/Digital-Wandler 42 weitergegeben, der die eingehenden
Sensorsignale seriell wandelt. An den Wandler 42
schließt sich eine Sensorsignalanpassung 64 an, die beispielsweise
Kennlinien linearisiert oder Signalimpulse in eine
kontinuierliche Größe umwandelt. Auf einem EPROM-Speichermodul
66 sind Ablaufprogramme gespeichert, die in Abhängigkeit
vom Ausgangssignal der Sensorsignalanpassung 64 die Ausgangsgrößen
zur Ansteuerung der Motoren 17 erzeugen. Die
Steuerprogramme werden weiterhin vom Inhalt eines Speichers
68 beeinflußt, in welchem Informationen über die geographische
Länge und Breite des Ausstellungsortes der Sonnenschutzanlage
12 hinterlegt sind, da nur über die exakte geographische
Angabe eine exakte Ermittlung des Sonnenstandes relativ
zur Sonnenschutzanlage 12 möglich ist. Allerdings ist auch
ohne diese Information mit Hilfe einer Voreinstellung eine
gute Näherung für viele Einsatzorte möglich.The mentioned measured or set input variables
are connected to the
Die Steuerung 14 ist so aufgebaut, daß die mit den Handschaltern
56, 58 manuell eingegebenen Werte für die Ausfahrlänge
oder die Winkeleinstellung mit Vorrang vor der entsprechend
der gemessenen Eingangsgrößen anhand der Grundprogrammierung
ermittelten Einstellung behandelt werden. Wird eine manuelle
Einstellung für eine bestimmte Zeit nicht korrigiert, gleicht
die Steuerung 14 in einem vordefinierten Zeitraum von mehreren
Stunden die Einstellung selbständig wieder an den theoretischen
Idealverlauf an. Die Übergänge erfolgen sigmoidförmig,
um ein möglichst unauffälliges Rückstellen zu ermöglichen.
Die sigmoidförmigen Übergänge werden über Bèzier-Kurven
realisiert, die garantieren, daß die Rückführ-Kurve immer nur
einen Wendepunkt besitzt.The
Die von der Funkuhr 20 ermittelten Eingangsgrößen Tageszeit
und Datum dienen zur Nachführung des Einstellungswinkels der
Lamellen 54 zur Sonnenhöhe, wobei die Datumsinformation jahreszeitabhängige
Änderungen der Sonnenbahn ausgleichen kann.
Für die Nachführung werden spezielle Berechnungsformeln in
der Steuerung 14 hinterlegt, die Azimut- und Elevationswinkel
der Sonneneinstrahlung berechnen. In Verbindung mit der durch
den Kompaß 28 ermittelten Eingangsgröße Himmelsrichtung läßt
sich dabei berechnen, ob die Sonne überhaupt direkt auf die
Anlage scheinen kann und welche Relativposition sie zur Anlage
einnimmt. Diese Berechnungen lassen sich durch die in
dem Speicher 68 hinterlegten Informationen über den geographischen
Standort der Anlage 12 weiter präzisieren, wobei die
Daten auch von einem in die Anlage integrierten GPS-Empfänger
bereitgestellt werden können. Im übrigen werden die geographischen
Daten bei der Montage der Anlage in dem Speicher 68
abgelegt, beispielsweise durch Übertragung aus einem mobilen
GPS-Empfänger, unmittelbare Eingabe der geographischen Daten
oder die hilfsweise Eingabe von den geographischen Standort
näherungsweise kennzeichnenden Informationen, wie z. B. Postleitzahlen
oder Kfz-Kennzeichen.The time of day input variables determined by the
Zur Vereinfachung der Sensorik ist es auch denkbar, den Richtungssensor
28 wegzulassen und auch die Ausrichtung der Sonnenschutzanlage
in dem Speicher 68 bei der Montage als Voreinstellung
zu hinterlegen.To simplify the sensors, it is also conceivable to use the
Die weiteren Eingangsgrößen Sonnenintensität, Windgeschwindigkeit,
Regen und Temperatur werden so behandelt, daß bei
Über- oder Unterschreiten bestimmter Schwellenwerte ein Einfahren
der Anlage von der Steuerung 14 veranlaßt wird. Gegebenenfalls
können diese Schwellenwerte in Abhängigkeit von
dem durch die Geber 60, 62 ermittelten Ist- Ausfahrzustand
der Anlage 12 variiert werden.The other input variables: sun intensity, wind speed,
Rain and temperature are treated so that at
Breaking in or falling below certain threshold values
the system is caused by the
Zusätzlich zu dem als EPROM ausgebildeten Speicher 68 ist ein
weiteres, als EEPROM ausgebildetes Speichermodul 70 vorgesehen,
das eine adaptive Lernfähigkeit der Steuerung 14 ermöglicht.
Mit Hilfe des Speichermoduls 70 ist es möglich, bei
einem manuellen Eingriff den Systemzustand, d. h. alle für
die adaptive Lernfähigkeit herangezogenen Eingangsgrößen und
Ausgangsgrößen, nämlich die Einstellungsparameter des Behangs,
in Form eines Zustandsvektors abzuspeichern. Als für
den Lernvorgang herangezogene Eingangsgrößen kommen u. a. die
Tageszeit, Monat und Wochentag, die Windgeschwindigkeit, die
Temperatur und die Sonnenintensität, aber auch das Signal des
Feuchtigkeitssensors 34 in Frage.In addition to the
Während des Automatikbetriebes vergleicht die Steuerung 14
nunmehr permanent die Eingangsgrößen aller gespeicherter Vektoren
mit den Ist-Größen des Systems. Befindet sich das System
wieder in einem ähnlichen oder gar identischen Zustand,
bei welchem zuvor manuell bestimmte Ausgangsgrößen in Abweichung
von der Grundprogrammierung gewählt worden sind, so
wird dieser Vektor erneut aufgerufen (Recall). Dies hat zur
Folge, daß die gespeicherten Ausgangswerte, die einer zuvor
vorgenommenen Handeinstellung entsprechen, automatisch eingestellt
werden. Über die Eingangsgrößen versucht das System
dabei, den Grund zu ermitteln, der zu einer Handbetätigung
geführt hat. Zwar ist ein absolut sicheres Erkennen eines
Grundes kaum zu erreichen, jedoch steigt mit jeder zusätzlichen
bei der adaptiven Lernfähigkeit herangezogenen Eingangsgröße
die Sicherheit zum Erkennen des Benutzerwillens.The
Für eine sinnvolle Bestimmung des Ähnlichkeitsmaßes der Eingangsgrößen des gespeicherten Vektors zum kontinuierlich erfaßten Ist-Zustand ist es notwendig, daß die Steueralgorithmen die Eingangsgrößen des Vektors einzeln betrachten und Adaptionsregeln und Parameter speziell angepaßt werden. Es ist allerdings zu beachten, daß die Eingangsgrößen zum Teil nicht unabhängig voneinander sind, sondern sich in den Adaptionsparametern gegenseitig beeinflussen. Bei der in Fig. 3 dargestellten Steuerung ist vorgesehen, daß für jede Eingangsgröße des Vektors eine absolute Differenz zwischen dem gespeicherten Zustand und dem erfaßten Ist-Zustand ermittelt wird. Für jede Eingangsgröße ist ein Schwellenwert definiert, der erreicht werden muß, um einen Recall zu bewirken. Die Ergebnisse der einzelnen Eingangsgrößen werden logisch und-verknüpft. Daraus folgt, daß ein Recall eines gespeicherten Vektors nur dann erfolgt, wenn sich alle Eingangsgrößen im vorgegebenen Variationsbereich zum Ist-Zustand befinden.For a sensible determination of the similarity measure of the input variables of the stored vector to the continuously acquired Actual state, it is necessary that the control algorithms consider the input variables of the vector individually and adaptation rules and parameters are specially adapted. It is However, it should be noted that some of the input variables are not are independent of each other, but in the adaptation parameters influence each other. The one shown in Fig. 3 Control is provided for each input variable of the vector an absolute difference between the stored State and the detected actual state determined becomes. A threshold value is defined for each input variable, which must be achieved in order to effect a recall. The results of the individual input variables are logically and linked. It follows that a stored vector recall only occurs if all input variables are within the specified range Range of variation to the actual state.
Die Schwellenwerte sind nicht als starre Größen festgelegt, sondern für jede Eingangsgröße als sog. Recall-Bereich definiert. Diese Recall-Bereiche sollen erst bei wiederholter Betätigung adaptiert werden, um für eine größere Sicherheit und Unempfindlichkeit gegenüber zufälligen manuellen Eingriffen zu sorgen. Daher ist vorgesehen, die Recall-Bereiche bei nur einmaliger Eingabe sehr klein zu wählen, so daß ein Recall nur bei identisch mit den gespeicherten Eingangsgrößen eines Vektors übereinstimmenden Ist-Zustandswerten erfolgt.The thresholds are not set as rigid sizes, but defined for each input variable as a so-called recall area. These recall areas should only be used after repeated actuation be adapted to for greater security and Insensitivity to accidental manual interventions to care. Therefore, the recall areas are provided at only single entry to choose very small, so that a recall only if identical to the stored input variables Vector matching actual state values.
Die Adaption der Recall-Bereiche erfolgt nach bestimmten,
festgelegten Regeln, die Bestandteile der Lern- und Steueralgorithmen
der Steuerung 14 sind. Erfolgt eine Handeinstellung
z. B. zu einer bestimmten Tageszeit immer an einem gleichen
Wochentag, geht die Steuerung davon aus, daß diese Einstellung
nur an diesem Wochentag erfolgen soll. Der erzeugte Recall-Bereich
wird also auf einen Wochentag beschränkt, jedoch
auf alle Kalenderwochen ausgedehnt. Erfolgen die Eingaben an
verschiedenen Wochentagen, erfolgt auch mit Bezug auf diese
Eingangsgröße eine relativ starke Ausdehnung des Recall-Bereichs.
Diese Adaption erfolgt fortlaufend, wodurch eine optimale
Anpassung des Adaptionsverhaltens an das gewünschte
Lernverhalten möglich ist. Der Lernalgorithmus ist ferner in
der Lage, Eingabepunkte des Benutzers abhängig von ihren
zeitlichen Entfernungen zueinander und ihrem Alter zu gewichten.
Ältere Eingaben werden zur Definition der Recall-Bereiche
nur noch begrenzt herangezogen, wobei sehr alte Vektoren
von Eingangsgrößen auch gelöscht werden können.The recall areas are adapted according to certain
established rules, the components of the learning and control algorithms
the
Die Steuerung 14 bietet weiterhin die Möglichkeit eines Resets,
der alle Vektoren löscht und den Algorithmus in seinen
Startzustand zurückversetzt, in welchem die Ausgangsgrößen
anhand der erfaßten Eingangsgrößen lediglich über die Grundprogrammierung
ermittelt werden. Die automatische Steuerung
ist durch die Handschalter 56, 58 auch abschaltbar.The
Die Sensorik 10, Steuerung 14 und Motoren 17 der Sonnenschutzanlage
12 benötigen zur Versorgung lediglich ein herkömmliches
Haushalts-Stromnetz ohne zusätzliche Bauteile oder
gar Steuerleitungen, wie sie bei bisher realisierten Systemen
anzutreffen sind. Mit dem Anschluß an das Stromnetz ist die
Anlage betriebsbereit, wobei gegebenenfalls lediglich noch
die Daten für die geographische Lage und/oder die Ausrichtung
der Anlage abgespeichert werden müssen.The
Statt zur Ansteuerung des beschriebenen Raffstores 12 eignet
sich die beschriebene Kombination einer Sensorik 10 mit einer
Steuerung 14 auch zur automatischen Ansteuerung sonstiger
Sonnenschutzanlagen, wie z. B. vom Markisen. Je nach Art der
anzusteuernden Sonnenschutzanlage kann die Steuerung 14 Ausgangssignale
für nur einen Motor, für zwei Motoren (siehe
Ausführungsbeispiel) oder auch mehr Motoren erzeugen. Zur Anpassung
der Steuerung an den jeweiligen Typ von Sonnenschutzanlage
muß lediglich die Grundprogrammierung angepaßt werden,
wobei bei angepaßter Programmierung der Einsatz ein und derselben
Einheit aus Sensorik 10 und Steuerung 14 für unterschiedlichste
Arten von Sonnenschutzanlagen verwendet werden
kann.Instead of controlling the venetian blind 12 described
the combination of a
Je nach Beschaffenheit der Sonnenschutzanlage kann auf einzelne
Sensoren verzichtet werden, um die Kosten für die Sensorik
10 zu senken.Depending on the nature of the sun protection system, individual
Sensors are omitted to cover the cost of the
Claims (12)
Applications Claiming Priority (2)
| Application Number | Priority Date | Filing Date | Title |
|---|---|---|---|
| DE19932730 | 1999-07-14 | ||
| DE19932730A DE19932730A1 (en) | 1999-07-14 | 1999-07-14 | Sun protection system with automatic blind control and manual intervention |
Publications (3)
| Publication Number | Publication Date |
|---|---|
| EP1069277A2 true EP1069277A2 (en) | 2001-01-17 |
| EP1069277A3 EP1069277A3 (en) | 2003-06-18 |
| EP1069277B1 EP1069277B1 (en) | 2006-05-10 |
Family
ID=7914628
Family Applications (1)
| Application Number | Title | Priority Date | Filing Date |
|---|---|---|---|
| EP00114879A Expired - Lifetime EP1069277B1 (en) | 1999-07-14 | 2000-07-12 | Sun protecting arrangement with automatic blind control and possibility of manual intervention |
Country Status (3)
| Country | Link |
|---|---|
| EP (1) | EP1069277B1 (en) |
| AT (1) | ATE325934T1 (en) |
| DE (2) | DE19932730A1 (en) |
Cited By (11)
| Publication number | Priority date | Publication date | Assignee | Title |
|---|---|---|---|---|
| WO2007006775A1 (en) * | 2005-07-11 | 2007-01-18 | Elsner Elektronik Gmbh | Control device for blinds on building constructions |
| WO2012073161A1 (en) * | 2010-11-29 | 2012-06-07 | Koninklijke Philips Electronics N.V. | Control of lighting systems |
| US8248014B2 (en) | 2004-05-06 | 2012-08-21 | Mechoshade Systems, Inc. | Automated shade control system |
| WO2013039650A1 (en) * | 2011-09-13 | 2013-03-21 | Homerun Holdings Corporation | Programmable wall station for automated window and door coverings |
| US8525462B2 (en) | 2005-03-08 | 2013-09-03 | Mechoshade Systems, Inc. | Automated shade control method and system |
| US8723467B2 (en) | 2004-05-06 | 2014-05-13 | Mechoshade Systems, Inc. | Automated shade control in connection with electrochromic glass |
| US8836263B2 (en) | 2004-05-06 | 2014-09-16 | Mechoshade Systems, Inc. | Automated shade control in connection with electrochromic glass |
| US8890456B2 (en) | 2004-05-06 | 2014-11-18 | Mechoshade Systems, Inc. | Automated shade control system utilizing brightness modeling |
| US10253564B2 (en) | 2004-05-06 | 2019-04-09 | Mechoshade Systems, Llc | Sky camera system for intelligent building control |
| US10619415B2 (en) | 2004-05-06 | 2020-04-14 | Mechoshade Systems, Llc | Sky camera system utilizing circadian information for intelligent building control |
| US11187035B2 (en) | 2004-05-06 | 2021-11-30 | Mechoshade Systems, Llc | Sky camera virtual horizon mask and tracking solar disc |
Families Citing this family (2)
| Publication number | Priority date | Publication date | Assignee | Title |
|---|---|---|---|---|
| DE10248003A1 (en) * | 2002-10-15 | 2004-04-29 | Bayerische Motoren Werke Ag | Automatic motor-driven sun shading system for vehicles, includes sensor measuring temperature of vehicle surroundings |
| DE102006006138B4 (en) * | 2006-02-10 | 2009-03-26 | Abb Ag | Venetian blind drive or roller shutter drive or awning drive or light screen drive |
Family Cites Families (3)
| Publication number | Priority date | Publication date | Assignee | Title |
|---|---|---|---|---|
| DE4221640A1 (en) * | 1992-07-02 | 1994-01-05 | Microsonic Ges Fuer Mikroelekt | Electronic unit for manual and time dependent control of electric roller shutters - has at least four operating elements for input of control commands and two power end stations for controlling motors in clockwise and anticlockwise directions |
| DE4407919A1 (en) * | 1994-03-09 | 1995-09-14 | Tornado Antriebstech Gmbh | Control system for conveyor or roller or hinged door |
| FR2754117B1 (en) * | 1996-09-30 | 1998-11-27 | Somfy | CONTROL DEVICE FOR AN ASYNCHRONOUS BLIND MOTOR OR ROLLER SHUTTER |
-
1999
- 1999-07-14 DE DE19932730A patent/DE19932730A1/en not_active Withdrawn
-
2000
- 2000-07-12 AT AT00114879T patent/ATE325934T1/en not_active IP Right Cessation
- 2000-07-12 DE DE50012715T patent/DE50012715D1/en not_active Expired - Fee Related
- 2000-07-12 EP EP00114879A patent/EP1069277B1/en not_active Expired - Lifetime
Cited By (22)
| Publication number | Priority date | Publication date | Assignee | Title |
|---|---|---|---|---|
| US8836263B2 (en) | 2004-05-06 | 2014-09-16 | Mechoshade Systems, Inc. | Automated shade control in connection with electrochromic glass |
| US8890456B2 (en) | 2004-05-06 | 2014-11-18 | Mechoshade Systems, Inc. | Automated shade control system utilizing brightness modeling |
| US8248014B2 (en) | 2004-05-06 | 2012-08-21 | Mechoshade Systems, Inc. | Automated shade control system |
| US11505992B2 (en) | 2004-05-06 | 2022-11-22 | Mechoshade Systems, Llc | Sky camera system for analyzing cloud conditions |
| US8432117B2 (en) | 2004-05-06 | 2013-04-30 | Mechoshade Systems, Inc. | Automated shade control system |
| US11473371B2 (en) | 2004-05-06 | 2022-10-18 | Mechoshade Systems, Llc | Sky camera system utilizing circadian information for intelligent building control |
| US8587242B2 (en) | 2004-05-06 | 2013-11-19 | Mechoshade Systems, Inc. | Automated shade control system |
| US8723467B2 (en) | 2004-05-06 | 2014-05-13 | Mechoshade Systems, Inc. | Automated shade control in connection with electrochromic glass |
| US11746594B2 (en) | 2004-05-06 | 2023-09-05 | Mechoshade Systems, Llc | Sky camera virtual horizon mask and tracking solar disc |
| US11187035B2 (en) | 2004-05-06 | 2021-11-30 | Mechoshade Systems, Llc | Sky camera virtual horizon mask and tracking solar disc |
| US11060352B2 (en) | 2004-05-06 | 2021-07-13 | Mechoshade Systems, Llc | Sky camera system for analyzing cloud conditions |
| US9360731B2 (en) | 2004-05-06 | 2016-06-07 | Mechoshade Systems, Inc. | Systems and methods for automated control of electrochromic glass |
| US9938765B2 (en) | 2004-05-06 | 2018-04-10 | Mechoshade Systems, Llc | Automated shade control system interaction with building management system |
| US10253564B2 (en) | 2004-05-06 | 2019-04-09 | Mechoshade Systems, Llc | Sky camera system for intelligent building control |
| US10619415B2 (en) | 2004-05-06 | 2020-04-14 | Mechoshade Systems, Llc | Sky camera system utilizing circadian information for intelligent building control |
| US10988984B2 (en) | 2004-05-06 | 2021-04-27 | Mechoshade Systems, Llc | Sky camera for tracking clouds |
| US11060351B2 (en) | 2004-05-06 | 2021-07-13 | Mechoshade Systems, Llc | Sky camera system utilizing circadian information for intelligent building control |
| US8525462B2 (en) | 2005-03-08 | 2013-09-03 | Mechoshade Systems, Inc. | Automated shade control method and system |
| WO2007006775A1 (en) * | 2005-07-11 | 2007-01-18 | Elsner Elektronik Gmbh | Control device for blinds on building constructions |
| WO2012073161A1 (en) * | 2010-11-29 | 2012-06-07 | Koninklijke Philips Electronics N.V. | Control of lighting systems |
| US8892262B2 (en) | 2011-09-13 | 2014-11-18 | Qmotion Incorporated | Programmable wall station for automated window and door coverings |
| WO2013039650A1 (en) * | 2011-09-13 | 2013-03-21 | Homerun Holdings Corporation | Programmable wall station for automated window and door coverings |
Also Published As
| Publication number | Publication date |
|---|---|
| EP1069277A3 (en) | 2003-06-18 |
| DE50012715D1 (en) | 2006-06-14 |
| ATE325934T1 (en) | 2006-06-15 |
| EP1069277B1 (en) | 2006-05-10 |
| DE19932730A1 (en) | 2001-02-08 |
Similar Documents
| Publication | Publication Date | Title |
|---|---|---|
| EP1077378B1 (en) | Anemometer for sun protection installation | |
| EP1069277B1 (en) | Sun protecting arrangement with automatic blind control and possibility of manual intervention | |
| DE60312413T2 (en) | Motorized window cover and method for monitoring the position of a motorized window cover | |
| EP0552459B1 (en) | Safety device for roller shutters and similar closures | |
| EP1904712B1 (en) | Control device for blinds on building constructions | |
| EP1069275A2 (en) | Sun protection device with position adapting depending on the incidence of light | |
| DE3806733A1 (en) | Arrangement for monitoring and controlling roller blinds and the like | |
| DE4407342C2 (en) | Blackout device with an awning, an external blind or the like | |
| DE29923046U1 (en) | Sensor for a blackout device and blackout system | |
| DE4315406C1 (en) | Device for the automatic control of drives for roller shutters, blinds or the like in particular. | |
| DE19605273C2 (en) | Roller blind with a winding medium that can be wound onto and from a winding shaft | |
| DE29924615U1 (en) | Automatically-controlled sun blind for office building has setting control for adjustment drive operated as function of entered input values via stored program | |
| EP0621390A2 (en) | Electronic driving means for electrically operated blinds, shutters, awnings, curtains, garage doors and similar devices | |
| EP0659035B1 (en) | Process for controlling the total illumination in a room and device for such a process | |
| DE19709546A1 (en) | Control system for lighting and shading in rooms, e.g for blinds | |
| DE2405350B1 (en) | Control of an electric motor operated sun protection system | |
| DE29904106U1 (en) | Control system of a blackout and / or security system | |
| JP2005003524A (en) | Solar tracking sensor | |
| DE9320324U1 (en) | Roofing | |
| EP3314223B1 (en) | Device and method for controlling the incidence of light | |
| DE10202830A1 (en) | Device for adjusting a technical light element uses difference sensor between solar position sensor and light adjustment device sensor | |
| CH689056A5 (en) | Control device with a wind sensor and a radio clock. | |
| DE102024110630A1 (en) | Home automation system and switching device | |
| DE20000532U1 (en) | Device for controlling blinds operated by an electric motor | |
| DE202024101873U1 (en) | Home automation system and electrical/electronic installation device |
Legal Events
| Date | Code | Title | Description |
|---|---|---|---|
| PUAI | Public reference made under article 153(3) epc to a published international application that has entered the european phase |
Free format text: ORIGINAL CODE: 0009012 |
|
| AK | Designated contracting states |
Kind code of ref document: A2 Designated state(s): AT BE CH CY DE DK ES FI FR GB GR IE IT LI LU MC NL PT SE |
|
| AX | Request for extension of the european patent |
Free format text: AL;LT;LV;MK;RO;SI |
|
| PUAL | Search report despatched |
Free format text: ORIGINAL CODE: 0009013 |
|
| AK | Designated contracting states |
Designated state(s): AT BE CH CY DE DK ES FI FR GB GR IE IT LI LU MC NL PT SE |
|
| AX | Request for extension of the european patent |
Extension state: AL LT LV MK RO SI |
|
| 17P | Request for examination filed |
Effective date: 20031011 |
|
| AKX | Designation fees paid |
Designated state(s): AT CH DE LI |
|
| GRAP | Despatch of communication of intention to grant a patent |
Free format text: ORIGINAL CODE: EPIDOSNIGR1 |
|
| GRAS | Grant fee paid |
Free format text: ORIGINAL CODE: EPIDOSNIGR3 |
|
| GRAA | (expected) grant |
Free format text: ORIGINAL CODE: 0009210 |
|
| AK | Designated contracting states |
Kind code of ref document: B1 Designated state(s): AT CH DE LI |
|
| REG | Reference to a national code |
Ref country code: CH Ref legal event code: EP |
|
| REF | Corresponds to: |
Ref document number: 50012715 Country of ref document: DE Date of ref document: 20060614 Kind code of ref document: P |
|
| REG | Reference to a national code |
Ref country code: CH Ref legal event code: NV Representative=s name: ISLER & PEDRAZZINI AG |
|
| PLBE | No opposition filed within time limit |
Free format text: ORIGINAL CODE: 0009261 |
|
| STAA | Information on the status of an ep patent application or granted ep patent |
Free format text: STATUS: NO OPPOSITION FILED WITHIN TIME LIMIT |
|
| 26N | No opposition filed |
Effective date: 20070213 |
|
| REG | Reference to a national code |
Ref country code: CH Ref legal event code: PCAR Free format text: ISLER & PEDRAZZINI AG;POSTFACH 1772;8027 ZUERICH (CH) |
|
| PGFP | Annual fee paid to national office [announced via postgrant information from national office to epo] |
Ref country code: AT Payment date: 20090723 Year of fee payment: 10 Ref country code: CH Payment date: 20090727 Year of fee payment: 10 |
|
| PGFP | Annual fee paid to national office [announced via postgrant information from national office to epo] |
Ref country code: DE Payment date: 20090923 Year of fee payment: 10 |
|
| REG | Reference to a national code |
Ref country code: CH Ref legal event code: PL |
|
| PG25 | Lapsed in a contracting state [announced via postgrant information from national office to epo] |
Ref country code: CH Free format text: LAPSE BECAUSE OF NON-PAYMENT OF DUE FEES Effective date: 20100731 Ref country code: LI Free format text: LAPSE BECAUSE OF NON-PAYMENT OF DUE FEES Effective date: 20100731 Ref country code: DE Free format text: LAPSE BECAUSE OF NON-PAYMENT OF DUE FEES Effective date: 20110201 |
|
| REG | Reference to a national code |
Ref country code: DE Ref legal event code: R119 Ref document number: 50012715 Country of ref document: DE Effective date: 20110201 |
|
| PG25 | Lapsed in a contracting state [announced via postgrant information from national office to epo] |
Ref country code: AT Free format text: LAPSE BECAUSE OF NON-PAYMENT OF DUE FEES Effective date: 20100712 |
