EP1069231A3 - Device for smoothing shirts - Google Patents
Device for smoothing shirts Download PDFInfo
- Publication number
- EP1069231A3 EP1069231A3 EP00114543A EP00114543A EP1069231A3 EP 1069231 A3 EP1069231 A3 EP 1069231A3 EP 00114543 A EP00114543 A EP 00114543A EP 00114543 A EP00114543 A EP 00114543A EP 1069231 A3 EP1069231 A3 EP 1069231A3
- Authority
- EP
- European Patent Office
- Prior art keywords
- cuffs
- order
- smoothing
- clamping bodies
- way
- Prior art date
- Legal status (The legal status is an assumption and is not a legal conclusion. Google has not performed a legal analysis and makes no representation as to the accuracy of the status listed.)
- Granted
Links
- 238000009499 grossing Methods 0.000 title abstract 3
Classifications
-
- D—TEXTILES; PAPER
- D06—TREATMENT OF TEXTILES OR THE LIKE; LAUNDERING; FLEXIBLE MATERIALS NOT OTHERWISE PROVIDED FOR
- D06F—LAUNDERING, DRYING, IRONING, PRESSING OR FOLDING TEXTILE ARTICLES
- D06F71/00—Apparatus for hot-pressing clothes, linen or other textile articles, i.e. wherein there is substantially no relative movement between pressing element and article while pressure is being applied to the article; Similar machines for cold-pressing clothes, linen or other textile articles
- D06F71/18—Apparatus for hot-pressing clothes, linen or other textile articles, i.e. wherein there is substantially no relative movement between pressing element and article while pressure is being applied to the article; Similar machines for cold-pressing clothes, linen or other textile articles specially adapted for pressing particular garments or parts thereof
- D06F71/24—Apparatus for hot-pressing clothes, linen or other textile articles, i.e. wherein there is substantially no relative movement between pressing element and article while pressure is being applied to the article; Similar machines for cold-pressing clothes, linen or other textile articles specially adapted for pressing particular garments or parts thereof for pressing cuffs
-
- D—TEXTILES; PAPER
- D06—TREATMENT OF TEXTILES OR THE LIKE; LAUNDERING; FLEXIBLE MATERIALS NOT OTHERWISE PROVIDED FOR
- D06F—LAUNDERING, DRYING, IRONING, PRESSING OR FOLDING TEXTILE ARTICLES
- D06F71/00—Apparatus for hot-pressing clothes, linen or other textile articles, i.e. wherein there is substantially no relative movement between pressing element and article while pressure is being applied to the article; Similar machines for cold-pressing clothes, linen or other textile articles
- D06F71/32—Details
- D06F71/40—Holders or stretchers for the article to be pressed
Landscapes
- Engineering & Computer Science (AREA)
- Textile Engineering (AREA)
- Details Of Garments (AREA)
- Professional, Industrial, Or Sporting Protective Garments (AREA)
- Treatment Of Fiber Materials (AREA)
- Irons (AREA)
Abstract
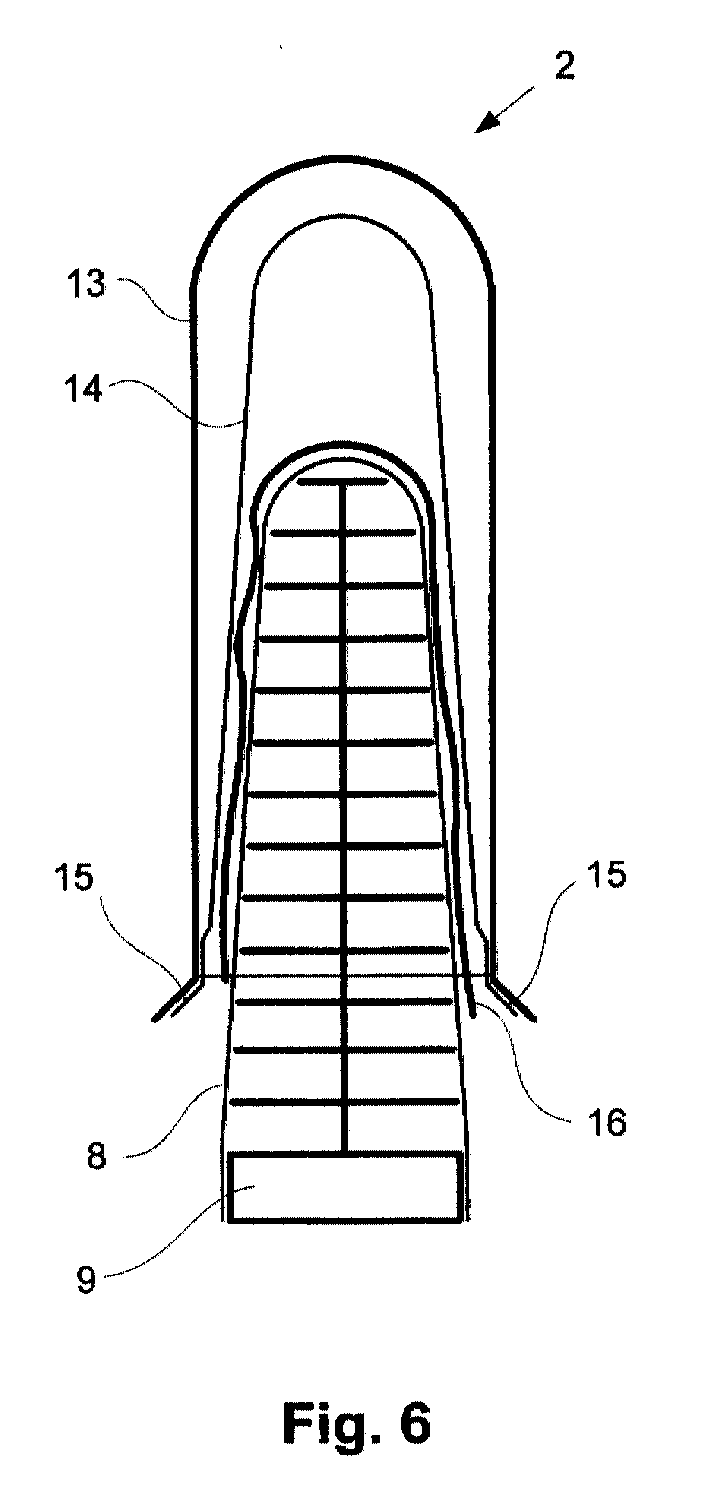
Um mit einer Vorrichtung 1 zum Glätten von Hemden 3 die in der Regel wesentlich steiferen Manschetten 16 zufriedenstellend glätten zu können, werden erfindungsgemäß zusätzliche Vorrichtungen 2 zum Glätten der Manschetten 16 vorgeschlagen, die jeweils zwei ineinander steckbare Spannkörper 7, 12 aufweisen, deren Spannflächen 8, 14 luftdurchlässig sind und die Form eines Abschnitts einer U-förmigen Rinne mit leicht geöffneten Schenkeln besitzen. Die Manschetten 16 brauchen auf diese Weise nicht zugeknöpften werden und können im ebenen Zustand gepreßt und geglättet werden, wobei sie mit insbesondere erwärmter Luft in Berührung gebracht werden können, um sie trocknen zu können. Die zwei Spannkörper 7, 12 können dabei so miteinander verbunden sein, daß sie sich auseinanderziehen und anschließend auseinanderklappen lassen, um die Manschetten 16 einfacher zwischen den Spannkörpern 7, 12 anordnen zu können. In order to be able to satisfactorily smooth the usually much stiffer cuffs 16 with a device 1 for smoothing shirts 3, additional devices 2 for smoothing the cuffs 16 are proposed according to the invention, each having two interlocking clamping bodies 7, 12, the clamping surfaces 8, 14 are permeable to air and have the shape of a section of a U-shaped channel with slightly open legs. The cuffs 16 do not need to be buttoned in this way and can be pressed and smoothed in the flat state, whereby they can be brought into contact with, in particular, heated air in order to be able to dry them. The two clamping bodies 7, 12 can be connected to one another in such a way that they can be pulled apart and then folded apart in order to be able to arrange the sleeves 16 more easily between the clamping bodies 7, 12.
Priority Applications (1)
| Application Number | Priority Date | Filing Date | Title |
|---|---|---|---|
| SI200030577T SI1069231T1 (en) | 1999-07-12 | 2000-07-06 | Device for smoothing shirts |
Applications Claiming Priority (2)
| Application Number | Priority Date | Filing Date | Title |
|---|---|---|---|
| DE19932450A DE19932450A1 (en) | 1999-07-12 | 1999-07-12 | Device for smoothing shirts |
| DE19932450 | 1999-07-12 |
Publications (3)
| Publication Number | Publication Date |
|---|---|
| EP1069231A2 EP1069231A2 (en) | 2001-01-17 |
| EP1069231A3 true EP1069231A3 (en) | 2002-10-09 |
| EP1069231B1 EP1069231B1 (en) | 2004-10-06 |
Family
ID=7914442
Family Applications (1)
| Application Number | Title | Priority Date | Filing Date |
|---|---|---|---|
| EP00114543A Expired - Lifetime EP1069231B1 (en) | 1999-07-12 | 2000-07-06 | Device for smoothing shirts |
Country Status (4)
| Country | Link |
|---|---|
| EP (1) | EP1069231B1 (en) |
| DE (2) | DE19932450A1 (en) |
| ES (1) | ES2229999T3 (en) |
| SI (1) | SI1069231T1 (en) |
Families Citing this family (6)
| Publication number | Priority date | Publication date | Assignee | Title |
|---|---|---|---|---|
| DE10064321A1 (en) * | 2000-12-22 | 2002-07-04 | Bsh Bosch Siemens Hausgeraete | Device for smoothing shirts |
| DE10064320A1 (en) * | 2000-12-22 | 2002-07-04 | Bsh Bosch Siemens Hausgeraete | Iron-on manikin with stiffeners on the sleeve end |
| DE10157242A1 (en) * | 2001-11-22 | 2003-06-05 | Bsh Bosch Siemens Hausgeraete | Coating for an inflatable body of a device for smoothing clothes and device equipped therewith for smoothing clothes |
| DE10339724A1 (en) * | 2003-08-28 | 2005-03-24 | BSH Bosch und Siemens Hausgeräte GmbH | Inflatable body, for ironing garments and especially shirts, has removable limit at arms to restrict cross section for consistent inflation and heat distribution |
| DE10339781A1 (en) * | 2003-08-28 | 2005-03-24 | BSH Bosch und Siemens Hausgeräte GmbH | Inflatable body for ironing garments, with collars, has clamp for collar to hold it in place without creases, and air openings to indicate that collar is in correct position |
| DE102004010423A1 (en) * | 2004-03-01 | 2005-10-06 | BSH Bosch und Siemens Hausgeräte GmbH | Device for smoothing and / or drying garments |
Citations (5)
| Publication number | Priority date | Publication date | Assignee | Title |
|---|---|---|---|---|
| US2353741A (en) * | 1943-02-20 | 1944-07-18 | American Laundry Mach Co | Garment drier |
| US2626733A (en) * | 1949-12-10 | 1953-01-27 | Unipress Company Inc | Sleeve press |
| EP0193483A1 (en) * | 1985-01-08 | 1986-09-03 | Jacques Gomez | Method and apparatus for ironing clothes |
| EP0679758A2 (en) * | 1994-04-29 | 1995-11-02 | DALF S.n.c. di Pessina Enzo & C. | Improved machine for ironing cloth articles such as shirts and the like |
| DE19754026A1 (en) * | 1997-12-05 | 1999-06-10 | Bosch Siemens Hausgeraete | Device for ironing shirts |
Family Cites Families (5)
| Publication number | Priority date | Publication date | Assignee | Title |
|---|---|---|---|---|
| US2715986A (en) * | 1953-12-31 | 1955-08-23 | Ebner William | Garment pressing device |
| GB2225592A (en) * | 1988-11-23 | 1990-06-06 | Everett Dev Ltd | Garment pressing apparatus |
| JP2523709Y2 (en) * | 1992-03-05 | 1997-01-29 | 富士車輌株式会社 | Shirt finishing machine |
| DE29611500U1 (en) * | 1996-07-02 | 1996-09-12 | Brüske, geb. Krampitz, Gisela, 40593 Düsseldorf | Device for ironing shirts and blouses |
| US5675918A (en) * | 1996-08-09 | 1997-10-14 | Unipress Corporation | Shirt cuff pressing assembly |
-
1999
- 1999-07-12 DE DE19932450A patent/DE19932450A1/en not_active Withdrawn
-
2000
- 2000-07-06 SI SI200030577T patent/SI1069231T1/en unknown
- 2000-07-06 DE DE50008066T patent/DE50008066D1/en not_active Expired - Lifetime
- 2000-07-06 EP EP00114543A patent/EP1069231B1/en not_active Expired - Lifetime
- 2000-07-06 ES ES00114543T patent/ES2229999T3/en not_active Expired - Lifetime
Patent Citations (5)
| Publication number | Priority date | Publication date | Assignee | Title |
|---|---|---|---|---|
| US2353741A (en) * | 1943-02-20 | 1944-07-18 | American Laundry Mach Co | Garment drier |
| US2626733A (en) * | 1949-12-10 | 1953-01-27 | Unipress Company Inc | Sleeve press |
| EP0193483A1 (en) * | 1985-01-08 | 1986-09-03 | Jacques Gomez | Method and apparatus for ironing clothes |
| EP0679758A2 (en) * | 1994-04-29 | 1995-11-02 | DALF S.n.c. di Pessina Enzo & C. | Improved machine for ironing cloth articles such as shirts and the like |
| DE19754026A1 (en) * | 1997-12-05 | 1999-06-10 | Bosch Siemens Hausgeraete | Device for ironing shirts |
Also Published As
| Publication number | Publication date |
|---|---|
| DE19932450A1 (en) | 2001-01-18 |
| ES2229999T3 (en) | 2005-05-01 |
| DE50008066D1 (en) | 2004-11-11 |
| EP1069231A2 (en) | 2001-01-17 |
| SI1069231T1 (en) | 2005-06-30 |
| EP1069231B1 (en) | 2004-10-06 |
Similar Documents
| Publication | Publication Date | Title |
|---|---|---|
| DE60040850D1 (en) | WATER-SOLUBLE POLYMER PREPARATION AND METHOD FOR THE APPLICATION | |
| DE1907474A1 (en) | Pipe coupling | |
| EP1069231A3 (en) | Device for smoothing shirts | |
| EP1160016A3 (en) | Device and method for applying a partial coating and breathable film with such a partial coating | |
| DE102008039669A1 (en) | Device for textile care of clothing articles, particularly shirts, blouses or jackets, has rack, on which clothing article is wound up, where nozzles are provided in work connection with rack | |
| DE10064321A1 (en) | Device for smoothing shirts | |
| EP1072720A3 (en) | Method and device for manufacturing a fibrous web | |
| DE102007054159A1 (en) | Bügelhilfe | |
| DE20218564U1 (en) | Drying and/or pressing device for shirts or blouses or similar garments has housing with fan for generating air current | |
| EP1057921A3 (en) | Apparatus and method for heatsetting a knitted fabric in tubular form | |
| DE10064320A1 (en) | Iron-on manikin with stiffeners on the sleeve end | |
| DE10116905A1 (en) | Accessory for ironing garment sleeves is a U- or V-shaped frame, with spring legs, which open out within the sleeve to stretch it for ironing | |
| EP1448834B1 (en) | Inflatable body for pressing shirt-like garments and device for pressing garments with said inflatable body | |
| DE102017129008A1 (en) | tube holders | |
| EP1213790A3 (en) | Electrical connecting terminal | |
| DE29507872U1 (en) | Transport bracket | |
| DE1062191B (en) | Suspender clip | |
| EP0936418A3 (en) | Device for mixing statically two air flow streams | |
| AT11625U1 (en) | CLOTHES OR WASHBACKS | |
| EP3553223B1 (en) | Device for drying of laundry | |
| DE20118766U1 (en) | Clothes or laundry hangers with a footbridge | |
| DE10053626A1 (en) | Clothes hanger for the transport and presentation of clothing has plates on both arms of the hanger slanting in the direction of the hanger plane | |
| AT387507B (en) | IRONING PRESS, IN PARTICULAR FOR TROUSERS | |
| DE3804226A1 (en) | Flexible clothes hanger | |
| DE1930030U (en) | CLOTHING CLIP. |
Legal Events
| Date | Code | Title | Description |
|---|---|---|---|
| PUAI | Public reference made under article 153(3) epc to a published international application that has entered the european phase |
Free format text: ORIGINAL CODE: 0009012 |
|
| AK | Designated contracting states |
Kind code of ref document: A2 Designated state(s): AT BE CH CY DE DK ES FI FR GB GR IE IT LI LU MC NL PT SE |
|
| AX | Request for extension of the european patent |
Free format text: AL;LT;LV;MK;RO;SI |
|
| RIN1 | Information on inventor provided before grant (corrected) |
Inventor name: WETZL, GERHARD Inventor name: DAMRATH, JOACHIM Inventor name: SPIELMANNLEITNER, MARKUS |
|
| PUAL | Search report despatched |
Free format text: ORIGINAL CODE: 0009013 |
|
| AK | Designated contracting states |
Kind code of ref document: A3 Designated state(s): AT BE CH CY DE DK ES FI FR GB GR IE IT LI LU MC NL PT SE |
|
| AX | Request for extension of the european patent |
Free format text: AL;LT;LV;MK;RO;SI |
|
| 17P | Request for examination filed |
Effective date: 20030409 |
|
| AKX | Designation fees paid |
Designated state(s): AT BE CH CY DE DK ES FI FR GB GR IE IT LI LU MC NL PT SE |
|
| AXX | Extension fees paid |
Extension state: SI Payment date: 20030409 |
|
| 17Q | First examination report despatched |
Effective date: 20030704 |
|
| GRAP | Despatch of communication of intention to grant a patent |
Free format text: ORIGINAL CODE: EPIDOSNIGR1 |
|
| RAP1 | Party data changed (applicant data changed or rights of an application transferred) |
Owner name: BSH BOSCH UND SIEMENS HAUSGERAETE GMBH |
|
| RBV | Designated contracting states (corrected) |
Designated state(s): DE ES FR GB IT SE |
|
| GRAS | Grant fee paid |
Free format text: ORIGINAL CODE: EPIDOSNIGR3 |
|
| GRAA | (expected) grant |
Free format text: ORIGINAL CODE: 0009210 |
|
| AK | Designated contracting states |
Kind code of ref document: B1 Designated state(s): DE ES FR GB IT SE |
|
| AX | Request for extension of the european patent |
Extension state: SI |
|
| REG | Reference to a national code |
Ref country code: GB Ref legal event code: FG4D Free format text: NOT ENGLISH |
|
| GBT | Gb: translation of ep patent filed (gb section 77(6)(a)/1977) | ||
| REG | Reference to a national code |
Ref country code: IE Ref legal event code: FG4D Free format text: GERMAN |
|
| REF | Corresponds to: |
Ref document number: 50008066 Country of ref document: DE Date of ref document: 20041111 Kind code of ref document: P |
|
| REG | Reference to a national code |
Ref country code: ES Ref legal event code: FG2A Ref document number: 2229999 Country of ref document: ES Kind code of ref document: T3 |
|
| REG | Reference to a national code |
Ref country code: IE Ref legal event code: FD4D |
|
| ET | Fr: translation filed | ||
| PLBE | No opposition filed within time limit |
Free format text: ORIGINAL CODE: 0009261 |
|
| STAA | Information on the status of an ep patent application or granted ep patent |
Free format text: STATUS: NO OPPOSITION FILED WITHIN TIME LIMIT |
|
| 26N | No opposition filed |
Effective date: 20050707 |
|
| PGFP | Annual fee paid to national office [announced via postgrant information from national office to epo] |
Ref country code: IT Payment date: 20070726 Year of fee payment: 8 Ref country code: SE Payment date: 20070724 Year of fee payment: 8 |
|
| EUG | Se: european patent has lapsed | ||
| REG | Reference to a national code |
Ref country code: SI Ref legal event code: KO00 Effective date: 20090330 |
|
| PG25 | Lapsed in a contracting state [announced via postgrant information from national office to epo] |
Ref country code: IT Free format text: LAPSE BECAUSE OF NON-PAYMENT OF DUE FEES Effective date: 20080706 |
|
| PG25 | Lapsed in a contracting state [announced via postgrant information from national office to epo] |
Ref country code: SE Free format text: LAPSE BECAUSE OF NON-PAYMENT OF DUE FEES Effective date: 20080707 |
|
| PGFP | Annual fee paid to national office [announced via postgrant information from national office to epo] |
Ref country code: DE Payment date: 20110731 Year of fee payment: 12 |
|
| PGFP | Annual fee paid to national office [announced via postgrant information from national office to epo] |
Ref country code: GB Payment date: 20120723 Year of fee payment: 13 |
|
| PGFP | Annual fee paid to national office [announced via postgrant information from national office to epo] |
Ref country code: FR Payment date: 20120803 Year of fee payment: 13 Ref country code: ES Payment date: 20120723 Year of fee payment: 13 |
|
| PG25 | Lapsed in a contracting state [announced via postgrant information from national office to epo] |
Ref country code: DE Free format text: LAPSE BECAUSE OF NON-PAYMENT OF DUE FEES Effective date: 20130201 |
|
| REG | Reference to a national code |
Ref country code: DE Ref legal event code: R119 Ref document number: 50008066 Country of ref document: DE Effective date: 20130201 |
|
| GBPC | Gb: european patent ceased through non-payment of renewal fee |
Effective date: 20130706 |
|
| REG | Reference to a national code |
Ref country code: FR Ref legal event code: ST Effective date: 20140331 |
|
| PG25 | Lapsed in a contracting state [announced via postgrant information from national office to epo] |
Ref country code: GB Free format text: LAPSE BECAUSE OF NON-PAYMENT OF DUE FEES Effective date: 20130706 |
|
| PG25 | Lapsed in a contracting state [announced via postgrant information from national office to epo] |
Ref country code: FR Free format text: LAPSE BECAUSE OF NON-PAYMENT OF DUE FEES Effective date: 20130731 |
|
| REG | Reference to a national code |
Ref country code: ES Ref legal event code: FD2A Effective date: 20141010 |
|
| PG25 | Lapsed in a contracting state [announced via postgrant information from national office to epo] |
Ref country code: ES Free format text: LAPSE BECAUSE OF NON-PAYMENT OF DUE FEES Effective date: 20130707 |
