EP0979947A2 - Turbomolecular pump - Google Patents
Turbomolecular pump Download PDFInfo
- Publication number
- EP0979947A2 EP0979947A2 EP99306359A EP99306359A EP0979947A2 EP 0979947 A2 EP0979947 A2 EP 0979947A2 EP 99306359 A EP99306359 A EP 99306359A EP 99306359 A EP99306359 A EP 99306359A EP 0979947 A2 EP0979947 A2 EP 0979947A2
- Authority
- EP
- European Patent Office
- Prior art keywords
- blades
- stator
- stator blade
- outer casing
- turbomolecular pump
- Prior art date
- Legal status (The legal status is an assumption and is not a legal conclusion. Google has not performed a legal analysis and makes no representation as to the accuracy of the status listed.)
- Withdrawn
Links
Images
Classifications
-
- F—MECHANICAL ENGINEERING; LIGHTING; HEATING; WEAPONS; BLASTING
- F04—POSITIVE - DISPLACEMENT MACHINES FOR LIQUIDS; PUMPS FOR LIQUIDS OR ELASTIC FLUIDS
- F04D—NON-POSITIVE-DISPLACEMENT PUMPS
- F04D29/00—Details, component parts, or accessories
- F04D29/58—Cooling; Heating; Diminishing heat transfer
- F04D29/582—Cooling; Heating; Diminishing heat transfer specially adapted for elastic fluid pumps
- F04D29/5853—Cooling; Heating; Diminishing heat transfer specially adapted for elastic fluid pumps heat insulation or conduction
-
- F—MECHANICAL ENGINEERING; LIGHTING; HEATING; WEAPONS; BLASTING
- F04—POSITIVE - DISPLACEMENT MACHINES FOR LIQUIDS; PUMPS FOR LIQUIDS OR ELASTIC FLUIDS
- F04D—NON-POSITIVE-DISPLACEMENT PUMPS
- F04D29/00—Details, component parts, or accessories
-
- F—MECHANICAL ENGINEERING; LIGHTING; HEATING; WEAPONS; BLASTING
- F04—POSITIVE - DISPLACEMENT MACHINES FOR LIQUIDS; PUMPS FOR LIQUIDS OR ELASTIC FLUIDS
- F04D—NON-POSITIVE-DISPLACEMENT PUMPS
- F04D19/00—Axial-flow pumps
- F04D19/02—Multi-stage pumps
- F04D19/04—Multi-stage pumps specially adapted to the production of a high vacuum, e.g. molecular pumps
- F04D19/042—Turbomolecular vacuum pumps
-
- F—MECHANICAL ENGINEERING; LIGHTING; HEATING; WEAPONS; BLASTING
- F04—POSITIVE - DISPLACEMENT MACHINES FOR LIQUIDS; PUMPS FOR LIQUIDS OR ELASTIC FLUIDS
- F04D—NON-POSITIVE-DISPLACEMENT PUMPS
- F04D29/00—Details, component parts, or accessories
- F04D29/40—Casings; Connections of working fluid
- F04D29/52—Casings; Connections of working fluid for axial pumps
- F04D29/54—Fluid-guiding means, e.g. diffusers
- F04D29/541—Specially adapted for elastic fluid pumps
- F04D29/542—Bladed diffusers
Definitions
- Fig. 5A is a longitudinal sectional view schematically showing a part of the turbomolecular pump equipped with the heater 8 and the water-cooling pipe 12; and Fig. 5B is a sectional view taken along the line A-A of Fig. 5A.
- the present invention has been made in view of these conventional problems, and therefore has an object of the present invention to provide an improved turbomolecular pump in which an improvement of the thermal conduction efficiency within the pump allows heat generated at the rotor blades to effectively escape, thereby improving pressure-allowance at the intake port and the exhaust port.
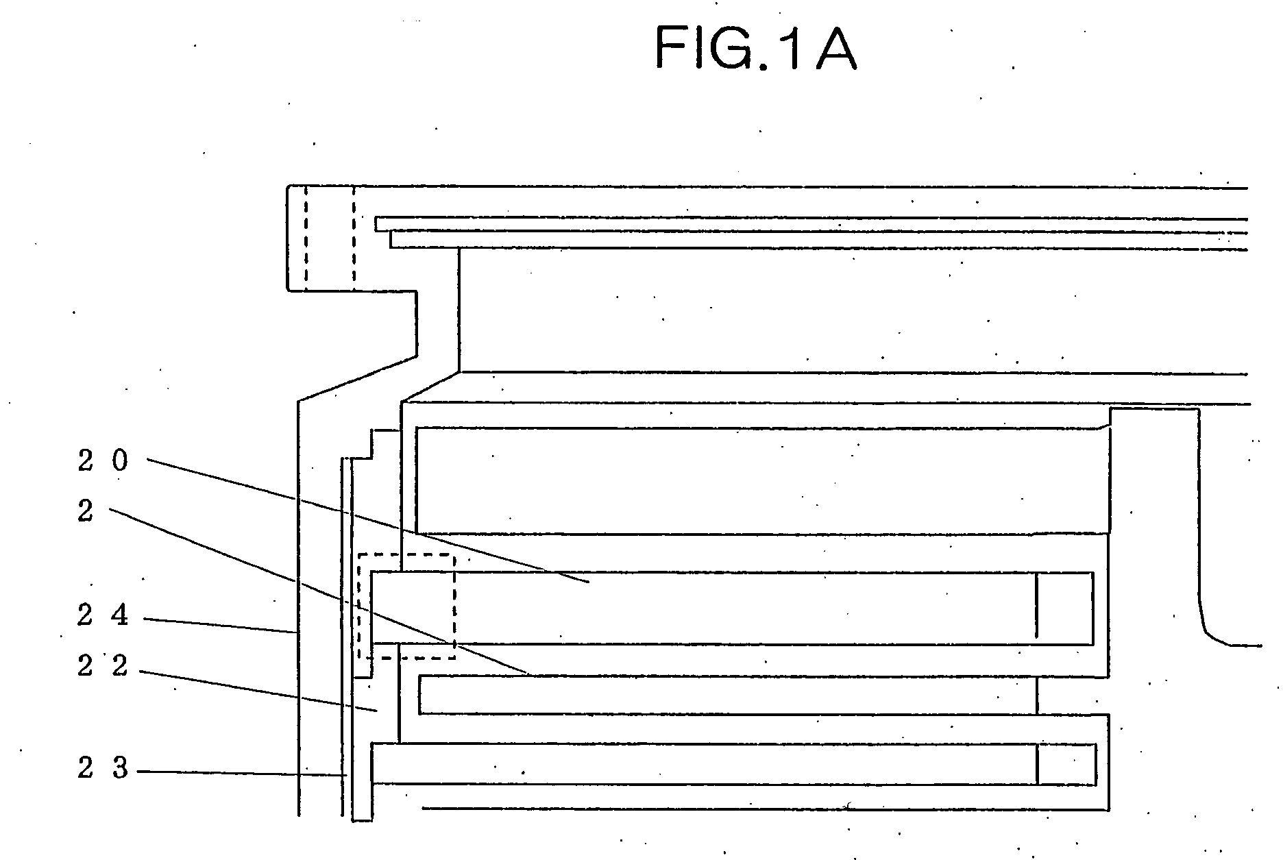
- a gap 23 formed between the stator spacer 22 and an outer casing 24 is dimensioned based on a difference in thermal expansion in a radial direction at a predetermined temperature (calculated by an inverse operation from an allowable temperature of the blades of the rotor blade 2).
- (1) - (2) 0.36 (mm) can be found. Accordingly, when the gap 23 is 0.18 (mm) or less (the gap 23 is a dimension at one side, and is thus 0.36/2), the stator blade spacers 22 and the outer casing 24 are brought into contact with each other.
- Fig. 3B shows a state the stator blade spacers 22 and the outer casing 24 are brought into contact with each other. This contact may improve a thermal conductive effect, and increases even more the heat radiation through the outer casing 24 than the conventional one.
- an annular member may be arranged at the respective gaps formed between the stator blades and the stator blade spacers.
Landscapes
- Engineering & Computer Science (AREA)
- Mechanical Engineering (AREA)
- General Engineering & Computer Science (AREA)
- Physics & Mathematics (AREA)
- Thermal Sciences (AREA)
- Non-Positive Displacement Air Blowers (AREA)
Abstract
Description
Claims (4)
- A turbomolecular pump, comprising:wherein the stator blades and the stator blade spacers are engaged so that the contacting surfaces thereof are crushed, thereby enhancing thermal conductivity.blades (2) of a rotor blade being rotated by a motor;stator blades (20) confronting the rotor blades with slight gaps therebetween;stator blade spacers (22) each supporting one end of a respective one of the stator blades and being stacked stepwise in a floating direction of the rotator blades;an outer casing (24) being fixed to the stator blade spacers with a space in a radial direction; anda base portion being fixed to the outer casing with a gap and incorporating the motor therein;
- A turbomolecular pump as claimed in claim 1, wherein an annular member (30) made of a material having high thermal conductivity is provided to at least one of the gaps formed between the stator blades and the stator blade spacers.
- A turbomolecular pump as claimed in claim 1 or 2, wherein an annular member made of a material having high thermal conductivity is provided in the gap formed between the outer casing and the base portion.
- A turbomolecular pump as claimed in claim 1, 2 or 3, wherein the stator blade spacers are made of a material having higher thermal conductivity than that of the outer casing, and
wherein when the temperature of the rotor blades reach a predetermined temperature or more, the stator blade spacers and the outer casing are brought into contact with each other.
Applications Claiming Priority (2)
| Application Number | Priority Date | Filing Date | Title |
|---|---|---|---|
| JP22792298 | 1998-08-12 | ||
| JP10227922A JP2000064986A (en) | 1998-08-12 | 1998-08-12 | Turbo-molecular pump |
Publications (2)
| Publication Number | Publication Date |
|---|---|
| EP0979947A2 true EP0979947A2 (en) | 2000-02-16 |
| EP0979947A3 EP0979947A3 (en) | 2001-03-28 |
Family
ID=16868408
Family Applications (1)
| Application Number | Title | Priority Date | Filing Date |
|---|---|---|---|
| EP99306359A Withdrawn EP0979947A3 (en) | 1998-08-12 | 1999-08-11 | Turbomolecular pump |
Country Status (3)
| Country | Link |
|---|---|
| EP (1) | EP0979947A3 (en) |
| JP (1) | JP2000064986A (en) |
| KR (1) | KR20000017282A (en) |
Cited By (3)
| Publication number | Priority date | Publication date | Assignee | Title |
|---|---|---|---|---|
| WO2007025854A1 (en) * | 2005-09-01 | 2007-03-08 | Oerlikon Leybold Vacuum Gmbh | Vacuum pump |
| CN107208649A (en) * | 2015-01-30 | 2017-09-26 | 埃地沃兹日本有限公司 | vacuum pump |
| CN112983835A (en) * | 2021-03-09 | 2021-06-18 | 苏州冠裕机电科技有限公司 | High-temperature magnetic pump with cooling mechanism and cooling method thereof |
Families Citing this family (4)
| Publication number | Priority date | Publication date | Assignee | Title |
|---|---|---|---|---|
| JP4661378B2 (en) * | 2005-06-13 | 2011-03-30 | 株式会社島津製作所 | Turbo molecular pump |
| EP2775148B1 (en) | 2011-10-31 | 2019-03-27 | Edwards Japan Limited | Stationary member and vacuum pump |
| JP6353257B2 (en) | 2014-03-31 | 2018-07-04 | エドワーズ株式会社 | Exhaust port parts and vacuum pump |
| JP7712252B2 (en) * | 2022-12-19 | 2025-07-23 | エドワーズ株式会社 | Vacuum pump |
Family Cites Families (8)
| Publication number | Priority date | Publication date | Assignee | Title |
|---|---|---|---|---|
| JPS6077795U (en) * | 1983-10-31 | 1985-05-30 | 株式会社島津製作所 | turbo molecular pump |
| JPS60134893U (en) * | 1984-02-20 | 1985-09-07 | セイコー精機株式会社 | Fixed structure of stator blades in turbo molecular pumps |
| EP0196352A1 (en) * | 1985-04-04 | 1986-10-08 | Leybold Aktiengesellschaft | Turbomolecular vacuum pump having a rotor and at least one roller bearing |
| JPS63109299A (en) * | 1986-10-27 | 1988-05-13 | Hitachi Ltd | Turbo-vacuum pump |
| JPS63128287U (en) * | 1987-02-16 | 1988-08-22 | ||
| JPH0427196U (en) * | 1990-06-29 | 1992-03-04 | ||
| JPH04330397A (en) * | 1991-04-30 | 1992-11-18 | Fujitsu Ltd | Turbo molecular pump |
| JP2597671Y2 (en) * | 1993-11-10 | 1999-07-12 | セイコー精機株式会社 | Turbo molecular pump |
-
1998
- 1998-08-12 JP JP10227922A patent/JP2000064986A/en active Pending
-
1999
- 1999-08-11 EP EP99306359A patent/EP0979947A3/en not_active Withdrawn
- 1999-08-12 KR KR1019990033123A patent/KR20000017282A/en not_active Withdrawn
Cited By (7)
| Publication number | Priority date | Publication date | Assignee | Title |
|---|---|---|---|---|
| WO2007025854A1 (en) * | 2005-09-01 | 2007-03-08 | Oerlikon Leybold Vacuum Gmbh | Vacuum pump |
| CN100585188C (en) * | 2005-09-01 | 2010-01-27 | 厄利孔莱博尔德真空技术有限责任公司 | vacuum pump |
| CN107208649A (en) * | 2015-01-30 | 2017-09-26 | 埃地沃兹日本有限公司 | vacuum pump |
| US20170363101A1 (en) * | 2015-01-30 | 2017-12-21 | Edwards Japan Limited | Vacuum pump |
| EP3252314A4 (en) * | 2015-01-30 | 2018-08-22 | Edwards Japan Limited | Vacuum pump |
| US10480523B2 (en) | 2015-01-30 | 2019-11-19 | Edwards Japan Limited | Vacuum pump |
| CN112983835A (en) * | 2021-03-09 | 2021-06-18 | 苏州冠裕机电科技有限公司 | High-temperature magnetic pump with cooling mechanism and cooling method thereof |
Also Published As
| Publication number | Publication date |
|---|---|
| JP2000064986A (en) | 2000-03-03 |
| KR20000017282A (en) | 2000-03-25 |
| EP0979947A3 (en) | 2001-03-28 |
Similar Documents
| Publication | Publication Date | Title |
|---|---|---|
| EP3779202B1 (en) | Vacuum pump | |
| US5707213A (en) | Molecular vacuum pump with a gas-cooled rotor | |
| JP4156830B2 (en) | Vacuum pump | |
| US9534506B2 (en) | Reducing the influence of thermal expansion of connector pins on a substrate in a vacuum pump | |
| US6991439B2 (en) | Vacuum pump | |
| WO2017086135A1 (en) | Vacuum pump | |
| EP3808982B1 (en) | Vacuum pump with thermal insulation | |
| JPH10205486A (en) | Vacuum pump | |
| EP0979947A2 (en) | Turbomolecular pump | |
| JP2003287463A (en) | Radiation-temperature measuring apparatus and turbo- molecular pump with the same mounted | |
| JP2019090384A (en) | Vacuum pump, and temperature rise stator, exhaust port member and heating means included in vacuum pump | |
| JP6390478B2 (en) | Vacuum pump | |
| JP2010112202A (en) | Turbo-molecular pump | |
| EP0918934B1 (en) | Getter pump especially suitable for the use upstream, in proximity and coaxially with respect to a turbomolecular pump | |
| KR20160140576A (en) | Exhaust port component and vacuum pump | |
| US20030175131A1 (en) | Vacuum pump | |
| JP2018178908A (en) | Vacuum pump, magnetic bearing and shaft provided in vacuum pump | |
| EP3808983B1 (en) | Vacuum pump with heater in the side cover | |
| US20020114695A1 (en) | Vacuum pump | |
| US6824357B2 (en) | Turbomolecular pump | |
| JP3084622B2 (en) | Turbo molecular pump | |
| US6494691B2 (en) | Turbo molecular pump | |
| US11835049B2 (en) | Turbo-molecular pump | |
| JP2004278500A (en) | Molecular pump | |
| JP2564038B2 (en) | Turbo molecular pump |
Legal Events
| Date | Code | Title | Description |
|---|---|---|---|
| PUAI | Public reference made under article 153(3) epc to a published international application that has entered the european phase |
Free format text: ORIGINAL CODE: 0009012 |
|
| AK | Designated contracting states |
Kind code of ref document: A2 Designated state(s): DE FR GB |
|
| AX | Request for extension of the european patent |
Free format text: AL;LT;LV;MK;RO;SI |
|
| PUAL | Search report despatched |
Free format text: ORIGINAL CODE: 0009013 |
|
| AK | Designated contracting states |
Kind code of ref document: A3 Designated state(s): AT BE CH CY DE DK ES FI FR GB GR IE IT LI LU MC NL PT SE |
|
| AX | Request for extension of the european patent |
Free format text: AL;LT;LV;MK;RO;SI |
|
| 17P | Request for examination filed |
Effective date: 20010813 |
|
| AKX | Designation fees paid |
Free format text: DE FR GB |
|
| RAP1 | Party data changed (applicant data changed or rights of an application transferred) |
Owner name: SEIKO INSTRUMENTS INC. |
|
| RAP1 | Party data changed (applicant data changed or rights of an application transferred) |
Owner name: BOC EDWARDS JAPAN LIMITED |
|
| STAA | Information on the status of an ep patent application or granted ep patent |
Free format text: STATUS: THE APPLICATION IS DEEMED TO BE WITHDRAWN |
|
| 18D | Application deemed to be withdrawn |
Effective date: 20050301 |
