EP0919772A3 - Actuating device for adjusting to different types of gas - Google Patents
Actuating device for adjusting to different types of gas Download PDFInfo
- Publication number
- EP0919772A3 EP0919772A3 EP98120352A EP98120352A EP0919772A3 EP 0919772 A3 EP0919772 A3 EP 0919772A3 EP 98120352 A EP98120352 A EP 98120352A EP 98120352 A EP98120352 A EP 98120352A EP 0919772 A3 EP0919772 A3 EP 0919772A3
- Authority
- EP
- European Patent Office
- Prior art keywords
- gas
- actuating device
- different types
- adjusting
- feed pipe
- Prior art date
- Legal status (The legal status is an assumption and is not a legal conclusion. Google has not performed a legal analysis and makes no representation as to the accuracy of the status listed.)
- Withdrawn
Links
Classifications
-
- F—MECHANICAL ENGINEERING; LIGHTING; HEATING; WEAPONS; BLASTING
- F23—COMBUSTION APPARATUS; COMBUSTION PROCESSES
- F23N—REGULATING OR CONTROLLING COMBUSTION
- F23N1/00—Regulating fuel supply
- F23N1/007—Regulating fuel supply using mechanical means
-
- F—MECHANICAL ENGINEERING; LIGHTING; HEATING; WEAPONS; BLASTING
- F23—COMBUSTION APPARATUS; COMBUSTION PROCESSES
- F23N—REGULATING OR CONTROLLING COMBUSTION
- F23N5/00—Systems for controlling combustion
- F23N5/26—Details
-
- F—MECHANICAL ENGINEERING; LIGHTING; HEATING; WEAPONS; BLASTING
- F23—COMBUSTION APPARATUS; COMBUSTION PROCESSES
- F23N—REGULATING OR CONTROLLING COMBUSTION
- F23N2227/00—Ignition or checking
- F23N2227/20—Calibrating devices
Landscapes
- Engineering & Computer Science (AREA)
- Chemical & Material Sciences (AREA)
- Combustion & Propulsion (AREA)
- Mechanical Engineering (AREA)
- General Engineering & Computer Science (AREA)
- Feeding And Controlling Fuel (AREA)
Abstract
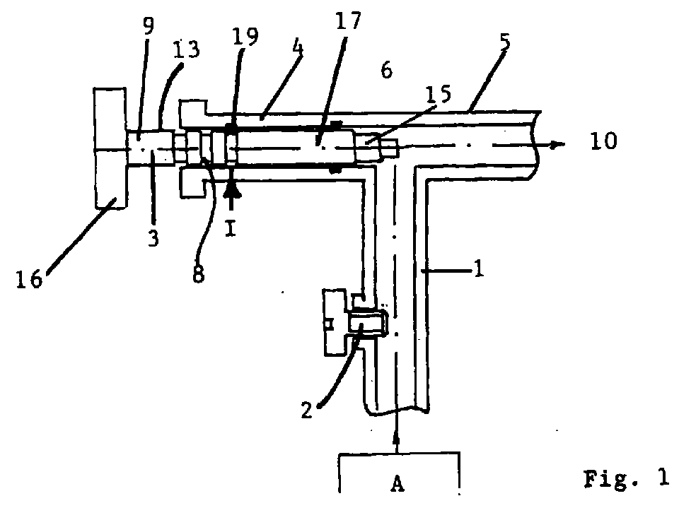
Die Erfindung betrifft eine Stelleinrichtung, insbesondere
für Gasheizgeräte zur Anpassung an unterschiedliche
Gasarten (H, L, F) mit einer in einem Gaszuführungsrohr (1)
vorgesehenen, einstellbaren Drosselschraube (2), mit der
ein bestimmter Drosselquerschnitt des Gaszuführungsrohrs
(1) zur Grundeinstellung auf eine der Gasarten einstellbar
ist,
dadurch gekennzeichnet, daß die Stelleinrichtung außerdem
im Gaszuführungsrohr (1) ein in mehreren definierten
Rastpositionen (I, II, III), die jeweils einer bestimmten
Gasart zugeordnet sind, einrastendes Stellelement (3)
aufweist.
The invention relates to an actuating device, in particular for gas heaters for adapting to different types of gas (H, L, F), with an adjustable throttle screw (2) provided in a gas feed pipe (1), with which a certain throttle cross section of the gas feed pipe (1) for basic setting one of the gas types is adjustable,
characterized in that the actuating device also has an actuating element (3) which engages in a plurality of defined latching positions (I, II, III), each associated with a specific type of gas, in the gas supply pipe (1).
Applications Claiming Priority (2)
| Application Number | Priority Date | Filing Date | Title |
|---|---|---|---|
| DE19752207A DE19752207A1 (en) | 1997-11-25 | 1997-11-25 | Actuator for adaptation to different types of gas |
| DE19752207 | 1997-11-25 |
Publications (2)
| Publication Number | Publication Date |
|---|---|
| EP0919772A2 EP0919772A2 (en) | 1999-06-02 |
| EP0919772A3 true EP0919772A3 (en) | 1999-09-22 |
Family
ID=7849773
Family Applications (1)
| Application Number | Title | Priority Date | Filing Date |
|---|---|---|---|
| EP98120352A Withdrawn EP0919772A3 (en) | 1997-11-25 | 1998-10-28 | Actuating device for adjusting to different types of gas |
Country Status (2)
| Country | Link |
|---|---|
| EP (1) | EP0919772A3 (en) |
| DE (1) | DE19752207A1 (en) |
Families Citing this family (1)
| Publication number | Priority date | Publication date | Assignee | Title |
|---|---|---|---|---|
| DE10017990C2 (en) * | 2000-04-11 | 2002-03-07 | Viessmann Werke Kg | Gas burners |
Citations (5)
| Publication number | Priority date | Publication date | Assignee | Title |
|---|---|---|---|---|
| US3407023A (en) * | 1967-01-05 | 1968-10-22 | Eclipse Fuel Eng Co | Mounting for replaceable gas burner |
| DE2550219A1 (en) * | 1975-11-08 | 1977-05-18 | Seppelfricke Geb Gmbh | Gas flow adjusting valve for appliances - has insert with calibrated holes covered to leave one free |
| JPS55142172A (en) * | 1979-04-20 | 1980-11-06 | Matsushita Electric Ind Co Ltd | Gas flow-rate controller |
| JPS58178116A (en) * | 1982-04-12 | 1983-10-19 | Matsushita Electric Ind Co Ltd | gas supply device |
| JPS58219321A (en) * | 1982-06-14 | 1983-12-20 | Matsushita Electric Ind Co Ltd | Combustion gas supply device |
Family Cites Families (3)
| Publication number | Priority date | Publication date | Assignee | Title |
|---|---|---|---|---|
| DE7735735U1 (en) * | 1977-11-18 | 1978-03-02 | Joh. Vaillant Kg, 5630 Remscheid | ADJUSTABLE THROTTLE POSITION |
| DE3039378A1 (en) * | 1980-10-18 | 1982-05-19 | Gebrüder Cramer, 5750 Menden | Gas burner control unit, partic. for gas operated refrigerators - has cock with extra metering passage for operation at alternate higher pressure |
| DE29518729U1 (en) * | 1995-11-25 | 1996-01-25 | G. Kromschröder AG, 49074 Osnabrück | Burner with integrated measuring and adjusting device |
-
1997
- 1997-11-25 DE DE19752207A patent/DE19752207A1/en not_active Ceased
-
1998
- 1998-10-28 EP EP98120352A patent/EP0919772A3/en not_active Withdrawn
Patent Citations (5)
| Publication number | Priority date | Publication date | Assignee | Title |
|---|---|---|---|---|
| US3407023A (en) * | 1967-01-05 | 1968-10-22 | Eclipse Fuel Eng Co | Mounting for replaceable gas burner |
| DE2550219A1 (en) * | 1975-11-08 | 1977-05-18 | Seppelfricke Geb Gmbh | Gas flow adjusting valve for appliances - has insert with calibrated holes covered to leave one free |
| JPS55142172A (en) * | 1979-04-20 | 1980-11-06 | Matsushita Electric Ind Co Ltd | Gas flow-rate controller |
| JPS58178116A (en) * | 1982-04-12 | 1983-10-19 | Matsushita Electric Ind Co Ltd | gas supply device |
| JPS58219321A (en) * | 1982-06-14 | 1983-12-20 | Matsushita Electric Ind Co Ltd | Combustion gas supply device |
Non-Patent Citations (3)
| Title |
|---|
| PATENT ABSTRACTS OF JAPAN vol. 005, no. 010 (M - 051) 22 January 1981 (1981-01-22) * |
| PATENT ABSTRACTS OF JAPAN vol. 008, no. 016 (M - 270) 24 January 1984 (1984-01-24) * |
| PATENT ABSTRACTS OF JAPAN vol. 008, no. 073 (M - 287) 5 April 1984 (1984-04-05) * |
Also Published As
| Publication number | Publication date |
|---|---|
| EP0919772A2 (en) | 1999-06-02 |
| DE19752207A1 (en) | 1999-07-29 |
Similar Documents
| Publication | Publication Date | Title |
|---|---|---|
| DE19780316D2 (en) | Device for regulating a heater, especially for a house | |
| DE9110998U1 (en) | Pipe connection | |
| DE2819385C3 (en) | Foam plastic mounting plate | |
| EP1361490A1 (en) | Flow controller | |
| CH652471A5 (en) | CONNECTING NIPPLE FOR CIRCULAR INSULATED PIPES. | |
| EP1215153A3 (en) | Installation for the optimized and automatic winding of lenghts of hose | |
| EP0919772A3 (en) | Actuating device for adjusting to different types of gas | |
| EP0999086A3 (en) | Selector lever for setting vehicle cruise speed | |
| DE2946622C2 (en) | Device for fastening objects to a profile rail with flanges protruding outward in opposite directions | |
| EP0786787A3 (en) | Self-adjusting tappet-switch | |
| DE19918212A1 (en) | Cables for wiring electrical devices of a complex, individual system and process for their manufacture | |
| EP2128518B1 (en) | Light housing, in particular for an LED light with seal element | |
| EP0802138A3 (en) | Device for severing a running web | |
| DE69311043T2 (en) | Composite housing for sanitary valves | |
| DE202020105485U1 (en) | Identification label carrier device for labeling individual sensor / actuator components or media as well as use | |
| EP1677038B1 (en) | Conduit for the transport of fluids | |
| DE1955737B2 (en) | Grating covered drainage gutter edge protection - has retainer bars fitting against edge sidewall faces and attached via screws | |
| DE9305316U1 (en) | Uniform cooking hob | |
| DE102007026731B4 (en) | Universally usable fastening system | |
| DE19955264C2 (en) | Valve, in particular thermostatic valve for heating systems | |
| DE19955257C1 (en) | Valve, in particular thermostatic valve for heating systems | |
| EP0855474A3 (en) | Support for shower head | |
| EP4055675A1 (en) | Corrugated tube comprising an information carrier | |
| DE6604583U (en) | HEATING DEVICE FOR VOLATILE FUELS, IN PARTICULAR FOR USE IN MOTOR VEHICLES | |
| DE10243207A1 (en) | Fixing unit for attaching electric heater onto nozzle of injection molding tool, has sleeve composed of bimetallic strip, with inner mantle |
Legal Events
| Date | Code | Title | Description |
|---|---|---|---|
| PUAI | Public reference made under article 153(3) epc to a published international application that has entered the european phase |
Free format text: ORIGINAL CODE: 0009012 |
|
| AK | Designated contracting states |
Kind code of ref document: A2 Designated state(s): AT BE CH CY DE DK ES FI FR GB GR IE IT LI LU MC NL PT SE |
|
| AX | Request for extension of the european patent |
Free format text: AL;LT;LV;MK;RO;SI |
|
| PUAL | Search report despatched |
Free format text: ORIGINAL CODE: 0009013 |
|
| AK | Designated contracting states |
Kind code of ref document: A3 Designated state(s): AT BE CH CY DE DK ES FI FR GB GR IE IT LI LU MC NL PT SE |
|
| AX | Request for extension of the european patent |
Free format text: AL;LT;LV;MK;RO;SI |
|
| RIC1 | Information provided on ipc code assigned before grant |
Free format text: 6F 23N 1/00 A |
|
| AKX | Designation fees paid | ||
| REG | Reference to a national code |
Ref country code: DE Ref legal event code: 8566 |
|
| STAA | Information on the status of an ep patent application or granted ep patent |
Free format text: STATUS: THE APPLICATION IS DEEMED TO BE WITHDRAWN |
|
| 18D | Application deemed to be withdrawn |
Effective date: 20000323 |
