EP0900531A3 - Footwear and method of making the same - Google Patents
Footwear and method of making the same Download PDFInfo
- Publication number
- EP0900531A3 EP0900531A3 EP98116617A EP98116617A EP0900531A3 EP 0900531 A3 EP0900531 A3 EP 0900531A3 EP 98116617 A EP98116617 A EP 98116617A EP 98116617 A EP98116617 A EP 98116617A EP 0900531 A3 EP0900531 A3 EP 0900531A3
- Authority
- EP
- European Patent Office
- Prior art keywords
- footwear
- outsole
- making
- same
- state
- Prior art date
- Legal status (The legal status is an assumption and is not a legal conclusion. Google has not performed a legal analysis and makes no representation as to the accuracy of the status listed.)
- Withdrawn
Links
- 238000004519 manufacturing process Methods 0.000 title abstract 2
- 239000007788 liquid Substances 0.000 abstract 2
- 239000000463 material Substances 0.000 abstract 1
Classifications
-
- A—HUMAN NECESSITIES
- A43—FOOTWEAR
- A43B—CHARACTERISTIC FEATURES OF FOOTWEAR; PARTS OF FOOTWEAR
- A43B9/00—Footwear characterised by the assembling of the individual parts
-
- A—HUMAN NECESSITIES
- A43—FOOTWEAR
- A43B—CHARACTERISTIC FEATURES OF FOOTWEAR; PARTS OF FOOTWEAR
- A43B13/00—Soles; Sole-and-heel integral units
- A43B13/42—Filling materials located between the insole and outer sole; Stiffening materials
-
- A—HUMAN NECESSITIES
- A43—FOOTWEAR
- A43B—CHARACTERISTIC FEATURES OF FOOTWEAR; PARTS OF FOOTWEAR
- A43B7/00—Footwear with health or hygienic arrangements
- A43B7/12—Special watertight footwear
- A43B7/125—Special watertight footwear provided with a vapour permeable member, e.g. a membrane
Landscapes
- Chemical & Material Sciences (AREA)
- Engineering & Computer Science (AREA)
- Materials Engineering (AREA)
- Health & Medical Sciences (AREA)
- Epidemiology (AREA)
- General Health & Medical Sciences (AREA)
- Public Health (AREA)
- Footwear And Its Accessory, Manufacturing Method And Apparatuses (AREA)
Abstract
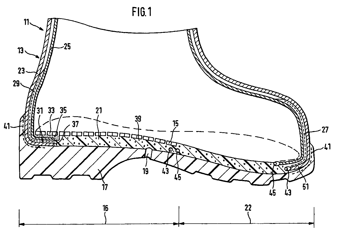
Verfahren zur Herstellung von Schuhwerk mit einem Schaft (13), der auf der Laufsohlenseite mindestens über einen Teil seiner Länge brandsohlenlos mittels String-Lasting zusammengehalten und mit einer Laufsohle (17) versehen wird. Im aufgeleisteten Zustand des Schuhwerks wird durch mindestens eine Einfüllöffnung (19) der Laufsohle (17) ein flüssiges, aushärtbares oder reaktionsfähiges Füllmaterial (21) eingebracht, das im flüssigen Zustand kriechfähig und im ausgehärteten Zustand flexibel ist. Method for producing footwear with a shaft (13) which is held together on the outsole side at least over part of its length by means of string loading and provided with an outsole (17). In the listed state of the footwear, a liquid, hardenable or reactive filling material (21) is introduced through at least one filling opening (19) of the outsole (17), which is creepable in the liquid state and flexible in the hardened state.
Applications Claiming Priority (2)
| Application Number | Priority Date | Filing Date | Title |
|---|---|---|---|
| DE19738744 | 1997-09-04 | ||
| DE1997138744 DE19738744A1 (en) | 1997-09-04 | 1997-09-04 | Shoe and method for its manufacture |
Publications (2)
| Publication Number | Publication Date |
|---|---|
| EP0900531A2 EP0900531A2 (en) | 1999-03-10 |
| EP0900531A3 true EP0900531A3 (en) | 2000-09-06 |
Family
ID=7841228
Family Applications (1)
| Application Number | Title | Priority Date | Filing Date |
|---|---|---|---|
| EP98116617A Withdrawn EP0900531A3 (en) | 1997-09-04 | 1998-09-02 | Footwear and method of making the same |
Country Status (3)
| Country | Link |
|---|---|
| EP (1) | EP0900531A3 (en) |
| JP (1) | JPH11155610A (en) |
| DE (1) | DE19738744A1 (en) |
Families Citing this family (5)
| Publication number | Priority date | Publication date | Assignee | Title |
|---|---|---|---|---|
| DE10022254A1 (en) * | 2000-05-08 | 2001-11-15 | Gore W L & Ass Gmbh | Article of footwear and method of production involve tread sole, upper, end part, elastic pull-cord, functional layer and top material. |
| DE202009003632U1 (en) * | 2009-03-14 | 2010-02-25 | Nanogate Ag | Shoe insole |
| BR102017000611B1 (en) * | 2017-01-11 | 2020-02-18 | I.S.A. Indústria de Tecnologia e Automação LTDA - EPP | SEWING METHOD IN "X" FOR ASSEMBLY OF UPHOLDS THROUGH THE TIE-CORDED SYSTEM |
| US11478045B2 (en) | 2017-03-24 | 2022-10-25 | Nike, Inc. | Upper for an article of footwear and method of lasting the upper |
| US11813816B2 (en) | 2021-04-14 | 2023-11-14 | Wayve, Inc. | Manufacturing process for molded footwear |
Citations (4)
| Publication number | Priority date | Publication date | Assignee | Title |
|---|---|---|---|---|
| DE3821602A1 (en) * | 1987-07-08 | 1989-03-16 | Gore W L & Co Gmbh | Watertight footwear |
| DE29601600U1 (en) * | 1995-03-16 | 1996-04-04 | Ricosta GmbH + Co. Schuhfabriken, 78166 Donaueschingen | Waterproof shoe |
| WO1996011596A1 (en) * | 1994-10-12 | 1996-04-25 | W.L. Gore & Associates Gmbh | Waterproofing process for the sole area of shoes |
| DE19507210C1 (en) * | 1995-03-02 | 1996-10-10 | Akzo Nobel Nv | Watertight footwear with laminate on inside of outer layer |
Family Cites Families (7)
| Publication number | Priority date | Publication date | Assignee | Title |
|---|---|---|---|---|
| SE392582B (en) | 1970-05-21 | 1977-04-04 | Gore & Ass | PROCEDURE FOR THE PREPARATION OF A POROST MATERIAL, BY EXPANDING AND STRETCHING A TETRAFLUORETENE POLYMER PREPARED IN AN PASTE-FORMING EXTENSION PROCEDURE |
| IT1015280B (en) * | 1974-06-21 | 1977-05-10 | Toja E | MACHINE FOR THE ASSEMBLY OF TO UPPER DIRECTLY ON THE ASSEMBLY SHAPES |
| US4194041A (en) | 1978-06-29 | 1980-03-18 | W. L. Gore & Associates, Inc. | Waterproof laminate |
| CA1191439A (en) | 1982-12-02 | 1985-08-06 | Cornelius M.F. Vrouenraets | Flexible layered product |
| DE8522823U1 (en) * | 1985-08-08 | 1986-12-11 | Birke, Josef, 6780 Pirmasens | Insoleless shoe |
| US4725481A (en) | 1986-10-31 | 1988-02-16 | E. I. Du Pont De Nemours And Company | Vapor-permeable, waterproof bicomponent structure |
| DE3712901C1 (en) * | 1987-04-15 | 1988-08-04 | Gore W L & Co Gmbh | Process for waterproofing shoes in the sole area |
-
1997
- 1997-09-04 DE DE1997138744 patent/DE19738744A1/en not_active Ceased
-
1998
- 1998-09-02 EP EP98116617A patent/EP0900531A3/en not_active Withdrawn
- 1998-09-03 JP JP10249670A patent/JPH11155610A/en active Pending
Patent Citations (4)
| Publication number | Priority date | Publication date | Assignee | Title |
|---|---|---|---|---|
| DE3821602A1 (en) * | 1987-07-08 | 1989-03-16 | Gore W L & Co Gmbh | Watertight footwear |
| WO1996011596A1 (en) * | 1994-10-12 | 1996-04-25 | W.L. Gore & Associates Gmbh | Waterproofing process for the sole area of shoes |
| DE19507210C1 (en) * | 1995-03-02 | 1996-10-10 | Akzo Nobel Nv | Watertight footwear with laminate on inside of outer layer |
| DE29601600U1 (en) * | 1995-03-16 | 1996-04-04 | Ricosta GmbH + Co. Schuhfabriken, 78166 Donaueschingen | Waterproof shoe |
Also Published As
| Publication number | Publication date |
|---|---|
| JPH11155610A (en) | 1999-06-15 |
| DE19738744A1 (en) | 1999-04-08 |
| EP0900531A2 (en) | 1999-03-10 |
Similar Documents
| Publication | Publication Date | Title |
|---|---|---|
| DE2814037A1 (en) | USE FOR OPERATIVELY CREATED RECESSES OF TUBE BONES | |
| DE1616151A1 (en) | Prosthetic device | |
| DE10311342B3 (en) | Cement/mortar mixing pump, especially for use in tunneling, has a mixing chamber with the impeller screw and liquid jets and a funnel for filling, which is less likely to clog giving reduced cleaning | |
| DE2733826B2 (en) | Anchoring an endoprosthesis in a bone | |
| DE112018005864T5 (en) | DEVICE AND METHOD FOR PRODUCING DENTAL PROSTHESES | |
| EP0900531A3 (en) | Footwear and method of making the same | |
| DE10331106A1 (en) | electrode line | |
| DD270859A5 (en) | CROSS-COUNTRY SKI | |
| CH669905A5 (en) | ||
| EP0931641A2 (en) | Process for joining a construction part with a construction element | |
| DE59802577D1 (en) | FLOWABLE MULTI-COMPONENT MIXTURES FOR GROWTH PROMOTION OF THE GROUND MICROORGANISM FLORA AND ITS APPLICATION | |
| CH467036A (en) | Device for manufacturing shoes with an inner upper, in particular ski boots | |
| DE69915929T2 (en) | PLUG AND CENTERING DEVICE FOR POSITIONING THE SHAFT OF A PROSTHESIS | |
| DE2000784B2 (en) | Process for the repair of damaged concrete pavements and fillings for the implementation of the process | |
| EP1107397A3 (en) | Cable sleeve and method of making the same | |
| EP0898041A3 (en) | Device for watertight obturation of openings | |
| EP0995411A3 (en) | Cementable endoprosthesis | |
| WO2016055165A1 (en) | Structured continuous belt | |
| DE3248143A1 (en) | Dowel which can be fastened by a curable composition | |
| DE4321966A1 (en) | Method of making a glue stick and arrangement for performing the method | |
| DE68905900D1 (en) | HARDENING-COMPOSITION, METHOD FOR HARDENING WITH THIS COMPOSITION AND METHOD FOR PRODUCING FIBERGLASS-REINFORCED PLASTIC. | |
| DE69921910T2 (en) | Apparatus for pressurizing | |
| DE431467C (en) | Rubber tread | |
| EP0936460A3 (en) | Shaped body and method for the semi-quantitative determination of the density of bones, bone-substitute material and bone implants | |
| EP0788750A3 (en) | Adhesive stick with a piston shaped holding device for the stick |
Legal Events
| Date | Code | Title | Description |
|---|---|---|---|
| PUAI | Public reference made under article 153(3) epc to a published international application that has entered the european phase |
Free format text: ORIGINAL CODE: 0009012 |
|
| AK | Designated contracting states |
Kind code of ref document: A2 Designated state(s): AT BE CH CY DE DK ES FI FR GB GR IE IT LI LU MC NL PT SE |
|
| AX | Request for extension of the european patent |
Free format text: AL;LT;LV;MK;RO;SI |
|
| PUAL | Search report despatched |
Free format text: ORIGINAL CODE: 0009013 |
|
| AK | Designated contracting states |
Kind code of ref document: A3 Designated state(s): AT BE CH CY DE DK ES FI FR GB GR IE IT LI LU MC NL PT SE |
|
| AX | Request for extension of the european patent |
Free format text: AL;LT;LV;MK;RO;SI |
|
| AKX | Designation fees paid | ||
| REG | Reference to a national code |
Ref country code: DE Ref legal event code: 8566 |
|
| STAA | Information on the status of an ep patent application or granted ep patent |
Free format text: STATUS: THE APPLICATION IS DEEMED TO BE WITHDRAWN |
|
| 18D | Application deemed to be withdrawn |
Effective date: 20010403 |
