EP0809268A3 - High voltage circuit breaker with a nozzle made of insulating material - Google Patents
High voltage circuit breaker with a nozzle made of insulating material Download PDFInfo
- Publication number
- EP0809268A3 EP0809268A3 EP97250162A EP97250162A EP0809268A3 EP 0809268 A3 EP0809268 A3 EP 0809268A3 EP 97250162 A EP97250162 A EP 97250162A EP 97250162 A EP97250162 A EP 97250162A EP 0809268 A3 EP0809268 A3 EP 0809268A3
- Authority
- EP
- European Patent Office
- Prior art keywords
- clamping ring
- nozzle
- circuit breaker
- insulating material
- voltage circuit
- Prior art date
- Legal status (The legal status is an assumption and is not a legal conclusion. Google has not performed a legal analysis and makes no representation as to the accuracy of the status listed.)
- Granted
Links
Classifications
-
- H—ELECTRICITY
- H01—ELECTRIC ELEMENTS
- H01H—ELECTRIC SWITCHES; RELAYS; SELECTORS; EMERGENCY PROTECTIVE DEVICES
- H01H33/00—High-tension or heavy-current switches with arc-extinguishing or arc-preventing means
- H01H33/70—Switches with separate means for directing, obtaining, or increasing flow of arc-extinguishing fluid
- H01H33/7015—Switches with separate means for directing, obtaining, or increasing flow of arc-extinguishing fluid characterised by flow directing elements associated with contacts
- H01H33/7023—Switches with separate means for directing, obtaining, or increasing flow of arc-extinguishing fluid characterised by flow directing elements associated with contacts characterised by an insulating tubular gas flow enhancing nozzle
-
- H—ELECTRICITY
- H01—ELECTRIC ELEMENTS
- H01H—ELECTRIC SWITCHES; RELAYS; SELECTORS; EMERGENCY PROTECTIVE DEVICES
- H01H33/00—High-tension or heavy-current switches with arc-extinguishing or arc-preventing means
- H01H33/02—Details
- H01H2033/028—Details the cooperating contacts being both actuated simultaneously in opposite directions
-
- H—ELECTRICITY
- H01—ELECTRIC ELEMENTS
- H01H—ELECTRIC SWITCHES; RELAYS; SELECTORS; EMERGENCY PROTECTIVE DEVICES
- H01H33/00—High-tension or heavy-current switches with arc-extinguishing or arc-preventing means
- H01H33/02—Details
- H01H33/24—Means for preventing discharge to non-current-carrying parts, e.g. using corona ring
- H01H33/245—Means for preventing discharge to non-current-carrying parts, e.g. using corona ring using movable field electrodes
-
- H—ELECTRICITY
- H01—ELECTRIC ELEMENTS
- H01H—ELECTRIC SWITCHES; RELAYS; SELECTORS; EMERGENCY PROTECTIVE DEVICES
- H01H33/00—High-tension or heavy-current switches with arc-extinguishing or arc-preventing means
- H01H33/70—Switches with separate means for directing, obtaining, or increasing flow of arc-extinguishing fluid
- H01H33/88—Switches with separate means for directing, obtaining, or increasing flow of arc-extinguishing fluid the flow of arc-extinguishing fluid being produced or increased by movement of pistons or other pressure-producing parts
- H01H33/90—Switches with separate means for directing, obtaining, or increasing flow of arc-extinguishing fluid the flow of arc-extinguishing fluid being produced or increased by movement of pistons or other pressure-producing parts this movement being effected by or in conjunction with the contact-operating mechanism
- H01H33/901—Switches with separate means for directing, obtaining, or increasing flow of arc-extinguishing fluid the flow of arc-extinguishing fluid being produced or increased by movement of pistons or other pressure-producing parts this movement being effected by or in conjunction with the contact-operating mechanism making use of the energy of the arc or an auxiliary arc
Landscapes
- Circuit Breakers (AREA)
Abstract
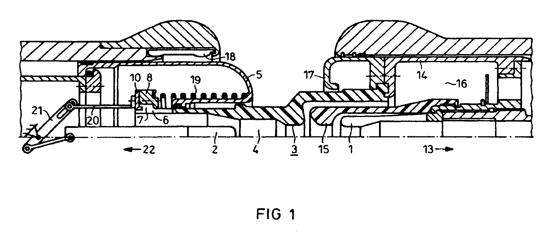
Bei einem Hochspannungs-Leistungsschalter mit einer Isolierstoffdüse (3) soll an deren erstem, der Antriebsseite abgewandten Ende (6) ein im Schaltfall anzutreibendes Bauteil angekoppelt werden, das auf der der Antriebsseite gegenüberliegenden Seite der Trennstrecke angeordnet ist. Zu diesem Zweck weist die Isolierstoffdüse eine umlaufende Wulst (7) auf, über die ein erster Spannring (8) unter elastischer Verformung des Spannrings oder des Düsenendes geschoben werden kann. Danach wird ein zweiter Spannring (10) am Düsenende befestigt, der sowohl den ersten Spannring (8) als auch das Düsenende stützt und somit eine Entriegelung des ersten Spannrings (8) verhindert. In the case of a high-voltage circuit breaker with an insulating nozzle (3), a component to be driven in the switching case, which is arranged on the side of the isolating section opposite the drive side, is to be coupled to its first end (6) which faces away from the drive side. For this purpose, the insulating material nozzle has a circumferential bead (7) over which a first clamping ring (8) can be pushed while the clamping ring or the nozzle end is deformed elastically. A second clamping ring (10) is then attached to the nozzle end, which supports both the first clamping ring (8) and the nozzle end and thus prevents the first clamping ring (8) from being unlocked.
Applications Claiming Priority (2)
| Application Number | Priority Date | Filing Date | Title |
|---|---|---|---|
| DE29609909U DE29609909U1 (en) | 1996-05-24 | 1996-05-24 | High-voltage circuit breaker with an insulating nozzle |
| DE29609909U | 1996-05-24 |
Publications (3)
| Publication Number | Publication Date |
|---|---|
| EP0809268A2 EP0809268A2 (en) | 1997-11-26 |
| EP0809268A3 true EP0809268A3 (en) | 1998-12-02 |
| EP0809268B1 EP0809268B1 (en) | 2004-08-18 |
Family
ID=8024802
Family Applications (1)
| Application Number | Title | Priority Date | Filing Date |
|---|---|---|---|
| EP97250162A Expired - Lifetime EP0809268B1 (en) | 1996-05-24 | 1997-05-23 | High voltage circuit breaker with a nozzle made of insulating material |
Country Status (2)
| Country | Link |
|---|---|
| EP (1) | EP0809268B1 (en) |
| DE (2) | DE29609909U1 (en) |
Families Citing this family (8)
| Publication number | Priority date | Publication date | Assignee | Title |
|---|---|---|---|---|
| DE29609909U1 (en) * | 1996-05-24 | 1996-08-22 | Siemens AG, 80333 München | High-voltage circuit breaker with an insulating nozzle |
| DE19631323C1 (en) * | 1996-08-01 | 1997-10-16 | Aeg Energietechnik Gmbh | Pressure gas switch e.g. for outdoor switching stations with porcelain insulators |
| DE19948687C1 (en) * | 1999-09-30 | 2001-02-15 | Siemens Ag | High-voltage power switch comprises a gas flow-off channel whose proportions are specified together with the maximum diameter over a part of its length |
| EP1686602B2 (en) * | 2005-02-01 | 2021-04-07 | ABB Power Grids Switzerland AG | Blast nozzle mounting means for electrical circuit breaker |
| EP2325859B1 (en) * | 2009-11-24 | 2013-04-17 | ABB Technology AG | Gas-isolated high voltage switch |
| DE102015205388A1 (en) * | 2015-03-25 | 2016-09-29 | Siemens Aktiengesellschaft | Insulating nozzle and electrical switching device with the insulating nozzle |
| CN109192597B (en) * | 2018-10-11 | 2020-02-04 | 西安西电开关电气有限公司 | Circuit breaker and double-acting transmission device thereof |
| DE102019214432B4 (en) * | 2019-09-23 | 2024-02-08 | Siemens Energy Global GmbH & Co. KG | Assembly for a high-voltage circuit breaker and corresponding high-voltage circuit breaker |
Citations (3)
| Publication number | Priority date | Publication date | Assignee | Title |
|---|---|---|---|---|
| FR2491675A1 (en) * | 1980-10-07 | 1982-04-09 | Alsthom Atlantique | Gas blast type high voltage circuit breaker - has operating piston moving contact ring axially into set of contacts held on hemispherical support |
| EP0313813A1 (en) * | 1987-10-27 | 1989-05-03 | BBC Brown Boveri AG | Gas blast switch |
| DE29609909U1 (en) * | 1996-05-24 | 1996-08-22 | Siemens AG, 80333 München | High-voltage circuit breaker with an insulating nozzle |
-
1996
- 1996-05-24 DE DE29609909U patent/DE29609909U1/en not_active Expired - Lifetime
-
1997
- 1997-05-23 DE DE59711853T patent/DE59711853D1/en not_active Expired - Lifetime
- 1997-05-23 EP EP97250162A patent/EP0809268B1/en not_active Expired - Lifetime
Patent Citations (3)
| Publication number | Priority date | Publication date | Assignee | Title |
|---|---|---|---|---|
| FR2491675A1 (en) * | 1980-10-07 | 1982-04-09 | Alsthom Atlantique | Gas blast type high voltage circuit breaker - has operating piston moving contact ring axially into set of contacts held on hemispherical support |
| EP0313813A1 (en) * | 1987-10-27 | 1989-05-03 | BBC Brown Boveri AG | Gas blast switch |
| DE29609909U1 (en) * | 1996-05-24 | 1996-08-22 | Siemens AG, 80333 München | High-voltage circuit breaker with an insulating nozzle |
Also Published As
| Publication number | Publication date |
|---|---|
| DE59711853D1 (en) | 2004-09-23 |
| DE29609909U1 (en) | 1996-08-22 |
| EP0809268B1 (en) | 2004-08-18 |
| EP0809268A2 (en) | 1997-11-26 |
Similar Documents
| Publication | Publication Date | Title |
|---|---|---|
| EP0809268A3 (en) | High voltage circuit breaker with a nozzle made of insulating material | |
| DE3214772C1 (en) | Pipe sleeve for receiving and fastening pipe skeleton parts of artificial limbs | |
| EP0307631B1 (en) | Cable screw joint | |
| EP0069866B1 (en) | Closure device for bore holes | |
| DE2933903A1 (en) | HOLDING DEVICE FOR ELECTRIC RESISTANCE ELEMENTS IN OEFEN | |
| EP0406801A1 (en) | Fixing device | |
| EP0004673B1 (en) | Hose fitting | |
| DE3106594A1 (en) | CONTACT ORGAN FOR MAKING AN ELECTRICALLY CONDUCTIVE CONNECTION | |
| DE2801370A1 (en) | ELECTRICAL FEED-THROUGH FOR SIGNAL LINES IN PRESSURE FURNACE | |
| EP0155672A2 (en) | Discharge lamp having a cap at one side | |
| DE1806124B2 (en) | PIEZOELECTRIC TRANSFORMER | |
| DE2837046A1 (en) | WELDING PROCESS | |
| DE712337C (en) | Device for tacking together sheet metal parts or the like. | |
| DE2906154A1 (en) | Broom handle securing fixture - consists of polygonal socket and handle end, with protrusion fitting into conical cavity on broom socket | |
| DE29810563U1 (en) | Clamping element | |
| DE2713288C3 (en) | Stud welding gun | |
| DE2322800B2 (en) | METHOD OF MAKING A CONNECTION BETWEEN AN END OF A METAL SHELL OF AN ELECTRICAL CABLE AND A METALLIC JOINT JOINT OR END CONNECTION HOUSING | |
| DE1817919C3 (en) | Method for polarizing a piezoelectric transformer | |
| DE3040142A1 (en) | Electric battery terminal clamp - has eccentric lever holding clamp-ring together, for quick mounting and release | |
| DE6947475U (en) | HOOKS FOR FASTENING CLADDING PANELS OVERLAPING WITH THEIR EDGES, IN PARTICULAR ASBESTOS CEMENT PANEL ON WALL OD. DGL. | |
| DE8028397U1 (en) | Battery clamp | |
| DE1489532A1 (en) | Lamp holder with strain relief | |
| DE3607954C2 (en) | ||
| DE350394T1 (en) | RAINWATER DRAINAGE ARRANGEMENT. | |
| EP0180656A1 (en) | Coupling for connecting pipes made of brittle materials |
Legal Events
| Date | Code | Title | Description |
|---|---|---|---|
| PUAI | Public reference made under article 153(3) epc to a published international application that has entered the european phase |
Free format text: ORIGINAL CODE: 0009012 |
|
| AK | Designated contracting states |
Kind code of ref document: A2 Designated state(s): CH DE FR GB LI |
|
| PUAL | Search report despatched |
Free format text: ORIGINAL CODE: 0009013 |
|
| AK | Designated contracting states |
Kind code of ref document: A3 Designated state(s): CH DE FR GB LI |
|
| 17P | Request for examination filed |
Effective date: 19990105 |
|
| GRAP | Despatch of communication of intention to grant a patent |
Free format text: ORIGINAL CODE: EPIDOSNIGR1 |
|
| GRAA | (expected) grant |
Free format text: ORIGINAL CODE: 0009210 |
|
| GRAS | Grant fee paid |
Free format text: ORIGINAL CODE: EPIDOSNIGR3 |
|
| AK | Designated contracting states |
Kind code of ref document: B1 Designated state(s): CH DE FR GB LI |
|
| PG25 | Lapsed in a contracting state [announced via postgrant information from national office to epo] |
Ref country code: GB Free format text: LAPSE BECAUSE OF FAILURE TO SUBMIT A TRANSLATION OF THE DESCRIPTION OR TO PAY THE FEE WITHIN THE PRESCRIBED TIME-LIMIT Effective date: 20040818 |
|
| REG | Reference to a national code |
Ref country code: GB Ref legal event code: FG4D Free format text: NOT ENGLISH |
|
| REG | Reference to a national code |
Ref country code: CH Ref legal event code: NV Representative=s name: SIEMENS SCHWEIZ AG Ref country code: CH Ref legal event code: EP |
|
| REF | Corresponds to: |
Ref document number: 59711853 Country of ref document: DE Date of ref document: 20040923 Kind code of ref document: P |
|
| GBV | Gb: ep patent (uk) treated as always having been void in accordance with gb section 77(7)/1977 [no translation filed] |
Effective date: 20040818 |
|
| PLBE | No opposition filed within time limit |
Free format text: ORIGINAL CODE: 0009261 |
|
| STAA | Information on the status of an ep patent application or granted ep patent |
Free format text: STATUS: NO OPPOSITION FILED WITHIN TIME LIMIT |
|
| ET | Fr: translation filed | ||
| 26N | No opposition filed |
Effective date: 20050519 |
|
| REG | Reference to a national code |
Ref country code: CH Ref legal event code: PCAR Free format text: SIEMENS SCHWEIZ AG;INTELLECTUAL PROPERTY FREILAGERSTRASSE 40;8047 ZUERICH (CH) |
|
| PGFP | Annual fee paid to national office [announced via postgrant information from national office to epo] |
Ref country code: FR Payment date: 20130618 Year of fee payment: 17 |
|
| PGFP | Annual fee paid to national office [announced via postgrant information from national office to epo] |
Ref country code: CH Payment date: 20130812 Year of fee payment: 17 Ref country code: DE Payment date: 20130719 Year of fee payment: 17 |
|
| REG | Reference to a national code |
Ref country code: DE Ref legal event code: R119 Ref document number: 59711853 Country of ref document: DE |
|
| REG | Reference to a national code |
Ref country code: CH Ref legal event code: PL |
|
| PG25 | Lapsed in a contracting state [announced via postgrant information from national office to epo] |
Ref country code: LI Free format text: LAPSE BECAUSE OF NON-PAYMENT OF DUE FEES Effective date: 20140531 Ref country code: CH Free format text: LAPSE BECAUSE OF NON-PAYMENT OF DUE FEES Effective date: 20140531 |
|
| REG | Reference to a national code |
Ref country code: DE Ref legal event code: R119 Ref document number: 59711853 Country of ref document: DE Effective date: 20141202 |
|
| REG | Reference to a national code |
Ref country code: FR Ref legal event code: ST Effective date: 20150130 |
|
| PG25 | Lapsed in a contracting state [announced via postgrant information from national office to epo] |
Ref country code: DE Free format text: LAPSE BECAUSE OF NON-PAYMENT OF DUE FEES Effective date: 20141202 |
|
| PG25 | Lapsed in a contracting state [announced via postgrant information from national office to epo] |
Ref country code: FR Free format text: LAPSE BECAUSE OF NON-PAYMENT OF DUE FEES Effective date: 20140602 |
