EP0807712B1 - Verfahren zum Verbinden von Eisenbahnschienen und entsprechend hergestellte Verbindung - Google Patents

Verfahren zum Verbinden von Eisenbahnschienen und entsprechend hergestellte Verbindung Download PDF

Info

Publication number
EP0807712B1
EP0807712B1 EP96201341A EP96201341A EP0807712B1 EP 0807712 B1 EP0807712 B1 EP 0807712B1 EP 96201341 A EP96201341 A EP 96201341A EP 96201341 A EP96201341 A EP 96201341A EP 0807712 B1 EP0807712 B1 EP 0807712B1
Authority
EP
European Patent Office
Prior art keywords
rail
bars
rail bars
rail bar
bar
Prior art date
Legal status (The legal status is an assumption and is not a legal conclusion. Google has not performed a legal analysis and makes no representation as to the accuracy of the status listed.)
Expired - Lifetime
Application number
EP96201341A
Other languages
English (en)
French (fr)
Other versions
EP0807712A1 (de
Inventor
Robbert Vogelaar
Pieter Hermanus Zaalberg
Current Assignee (The listed assignees may be inaccurate. Google has not performed a legal analysis and makes no representation or warranty as to the accuracy of the list.)
Edilon BV
Original Assignee
Edilon BV
Priority date (The priority date is an assumption and is not a legal conclusion. Google has not performed a legal analysis and makes no representation as to the accuracy of the date listed.)
Filing date
Publication date
Application filed by Edilon BV filed Critical Edilon BV
Priority to DE69618572T priority Critical patent/DE69618572T2/de
Priority to ES96201341T priority patent/ES2169200T3/es
Priority to PT96201341T priority patent/PT807712E/pt
Priority to EP96201341A priority patent/EP0807712B1/de
Priority to DK96201341T priority patent/DK0807712T3/da
Priority to AT96201341T priority patent/ATE212094T1/de
Publication of EP0807712A1 publication Critical patent/EP0807712A1/de
Application granted granted Critical
Publication of EP0807712B1 publication Critical patent/EP0807712B1/de
Anticipated expiration legal-status Critical
Expired - Lifetime legal-status Critical Current

Links

Images

Classifications

    • EFIXED CONSTRUCTIONS
    • E01CONSTRUCTION OF ROADS, RAILWAYS, OR BRIDGES
    • E01BPERMANENT WAY; PERMANENT-WAY TOOLS; MACHINES FOR MAKING RAILWAYS OF ALL KINDS
    • E01B11/00Rail joints
    • E01B11/02Dismountable rail joints
    • E01B11/04Flat fishplates

Definitions

  • the invention is related to a method for mutually connecting rail bars with their end faces in electrically conducting manner, comrising the follwing steps;
  • the invention has for its object to obviate this drawback.
  • a good electrical conductivity is obtained due to the presence of at least one conducting wire, while tensile strain and pressure loads occurring in longitudinal direction can further be absorbed by the combination of the plates and adhesive agents.
  • an electrically conducting profile plate Preferably arranged between the end faces of the rail bars for mutual connection is an electrically conducting profile plate.
  • the conducting member is preferably of copper in order to obtain a high electrical conductivity.
  • the conducting member is received clampingly between the rail bar and the connecting bar so that a good contact pressure is obtained. After injection of the adhesive the pressure in the injected space is increased by tightening the connecting bolts. Spaces possibly not filled with adhesive are hereby filled and the excess adhesive is pressed outside. This excess adhesive can then be removed with suitable means.
  • the invention further relates to a rail bar connection consisting of a pair of connecting plates placed on either side against rail bars located mutually in line, with interposing of conducting wires, nut-bolt connecting means clampingly connecting the connecting plates located on either side of the rail bars, and curing adhesive injected into the space between the respective connecting plates and the rail bar.
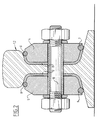
  • two rail bars 1, 2 are placed with their end faces against each other with interposing of for instance a profile piece 3.
  • the latter can be of plastic.
  • Connecting plates 4, 5 are placed in overlapping manner on the side of the rail bars 1, 2 for connecting.
  • Copper conducting rods 6, 7 and 8, 9 are herein received clampingly at the top and bottom respectively in figure 1 between connecting plates 4, 5 and both rail bars 1, 2.
  • the connecting plates 4, 5 for instance, and therein the copper conducting rods 6, 7 and 8, 9, are then clamped fixedly by nut-bolt connections 10.
  • the remaining interspace between connecting plates 4, 5 and rail bars 1, 2 is then filled by injecting an adhesive 11, 12 (figure 2).
  • the adhesive 11, 12 then cures.

Landscapes

  • Engineering & Computer Science (AREA)
  • Mechanical Engineering (AREA)
  • Architecture (AREA)
  • Civil Engineering (AREA)
  • Structural Engineering (AREA)
  • Multi-Conductor Connections (AREA)
  • Road Paving Structures (AREA)
  • Processing Of Terminals (AREA)
  • Adhesives Or Adhesive Processes (AREA)
  • Bending Of Plates, Rods, And Pipes (AREA)
  • Reinforcement Elements For Buildings (AREA)
  • Reduction Rolling/Reduction Stand/Operation Of Reduction Machine (AREA)
  • Linear Motors (AREA)
  • Machines For Laying And Maintaining Railways (AREA)
  • Handcart (AREA)
  • Joining Of Building Structures In Genera (AREA)
  • Installation Of Indoor Wiring (AREA)

Claims (6)

  1. Verfahren zum gegenseitigen Verbinden von Schienenstangen (1,2) über ihre Stirnflächen auf eine elektrisch leitende Weise, welches die folgenden Schritte umfaßt:
    Anordnen einer Verbindungsplatte (4,5) auf jeder Seite gegen die Schienenstange, die sich zum Verbinden in Längsrichtung über beide Schienenstangen erstreckt, und
    klemmendes Verbinden der Verbindungsplatten an die Schienenstange mit quer liegenden Mutter/Bolzen-Verbindungselementen (10), gekennzeichnet durch Anordnen wenigstens eines elektrisch leitenden Elementes ( 6,7,8,9 ) zwischen der Schienenstange und der Verbindungsplatte, und
    Einspritzen eines aushärtenden Klebstoffs (11,12) in den Raum zwischen der Schienenstange und der Verbindungsplatte.
  2. Verfahren nach Anspruch 1, dadurch gekennzeichnet, daß vor der gegenseitigen Verbindung der Schienenstangen eine Profilplatte (3) zwischen den Stirnflächen der Schienenstangen zum Verbinden angeordnet wird.
  3. Verfahren nach Anspruch 2, dadurch gekennzeichnet, daß die Profilplatte (3) aus einem leitenden Material ist.
  4. Verfahren nach Anspruch 1, dadurch gekennzeichnet, daß das leitende Element (6,7,8,9) aus Kupfer ist.
  5. Verfahren nach einem der Ansprüche 1 bis 4, dadurch gekennzeichnet, daß nach der Einspritzung des Klebstoffs (11,12) der Druck im eingespritzten Raum durch Festziehen der Verbindungsbolzen erhöht wird.
  6. Schienenstangenverbindung, die ein Paar Verbindungsplatten (4,5) umfaßt, die auf jeder Seite gegen die Schienenstangen (1,2) angeordnet sind, wobei die Schienenstangen gegenseitig in Linie angeordnet sind, mit elektrisch leitenden Elementen (6,7,8,9) zwischen den beieinander liegenden Enden der Schienenstangen einerseits und der Verbindungsplatte andererseits, Mutter/Bolzen-Verbindungselementen (10) zum klemmenden Verbinden der Verbindungsplatten an die Schienenstangen, und einem aushärtenden Klebstoff (11,12), der in den Raum zwischen den jeweiligen Verbindungsplatten und der Schienenstange eingespritzt ist.
EP96201341A 1996-05-15 1996-05-15 Verfahren zum Verbinden von Eisenbahnschienen und entsprechend hergestellte Verbindung Expired - Lifetime EP0807712B1 (de)

Priority Applications (6)

Application Number Priority Date Filing Date Title
DE69618572T DE69618572T2 (de) 1996-05-15 1996-05-15 Verfahren zum Verbinden von Eisenbahnschienen und entsprechend hergestellte Verbindung
ES96201341T ES2169200T3 (es) 1996-05-15 1996-05-15 Metodo para conectar barras de rail y conexion de barra de rail obtenida de acuerdo con el metodo.
PT96201341T PT807712E (pt) 1996-05-15 1996-05-15 Processo para ligacao de barras de carril e a ligacao de barras de carril obtida de acordo com o processo
EP96201341A EP0807712B1 (de) 1996-05-15 1996-05-15 Verfahren zum Verbinden von Eisenbahnschienen und entsprechend hergestellte Verbindung
DK96201341T DK0807712T3 (da) 1996-05-15 1996-05-15 Fremgangsmåde til at forbinde skinnestænger og en ved fremgangsmåden tilvejebragt skinnestangforbindelse
AT96201341T ATE212094T1 (de) 1996-05-15 1996-05-15 Verfahren zum verbinden von eisenbahnschienen und entsprechend hergestellte verbindung

Applications Claiming Priority (1)

Application Number Priority Date Filing Date Title
EP96201341A EP0807712B1 (de) 1996-05-15 1996-05-15 Verfahren zum Verbinden von Eisenbahnschienen und entsprechend hergestellte Verbindung

Publications (2)

Publication Number Publication Date
EP0807712A1 EP0807712A1 (de) 1997-11-19
EP0807712B1 true EP0807712B1 (de) 2002-01-16

Family

ID=8223986

Family Applications (1)

Application Number Title Priority Date Filing Date
EP96201341A Expired - Lifetime EP0807712B1 (de) 1996-05-15 1996-05-15 Verfahren zum Verbinden von Eisenbahnschienen und entsprechend hergestellte Verbindung

Country Status (6)

Country Link
EP (1) EP0807712B1 (de)
AT (1) ATE212094T1 (de)
DE (1) DE69618572T2 (de)
DK (1) DK0807712T3 (de)
ES (1) ES2169200T3 (de)
PT (1) PT807712E (de)

Cited By (1)

* Cited by examiner, † Cited by third party
Publication number Priority date Publication date Assignee Title
RU2734038C1 (ru) * 2019-10-16 2020-10-12 Александр Борисович Куровский Стыковая накладка для ходовых рельсов с улучшенной проводимостью

Families Citing this family (1)

* Cited by examiner, † Cited by third party
Publication number Priority date Publication date Assignee Title
CN119389077B (zh) * 2024-09-24 2025-09-16 东风汽车集团股份有限公司 一种车辆滑轨对接装置及车辆

Family Cites Families (4)

* Cited by examiner, † Cited by third party
Publication number Priority date Publication date Assignee Title
US1507770A (en) * 1923-06-06 1924-09-09 Roy B Fehr Rail joint and insert therefor
US2887743A (en) * 1953-07-16 1959-05-26 Erico Prod Inc Cast welding apparatus
DE1241473B (de) * 1963-11-06 1967-06-01 Franz Clouth Rheinische Gummiw Schienenstoss
AU2775171A (en) * 1971-04-16 1972-10-19 Portec, Inc Structural end post unit for railway track

Cited By (1)

* Cited by examiner, † Cited by third party
Publication number Priority date Publication date Assignee Title
RU2734038C1 (ru) * 2019-10-16 2020-10-12 Александр Борисович Куровский Стыковая накладка для ходовых рельсов с улучшенной проводимостью

Also Published As

Publication number Publication date
ATE212094T1 (de) 2002-02-15
DK0807712T3 (da) 2002-03-18
DE69618572T2 (de) 2002-09-26
DE69618572D1 (de) 2002-02-21
EP0807712A1 (de) 1997-11-19
PT807712E (pt) 2002-07-31
ES2169200T3 (es) 2002-07-01

Similar Documents

Publication Publication Date Title
KR101389250B1 (ko) 퓨즈 유닛
US3636237A (en) Bus duct
US6664478B2 (en) Bus bar assembly
US20180119362A1 (en) Center Supported Bond Joint
US6916213B2 (en) Connection base
US3504100A (en) Pressure connections between overlapping bus bar ends
CA2081928A1 (en) Process for producing an electrical connection between two electric lines
EP0807712B1 (de) Verfahren zum Verbinden von Eisenbahnschienen und entsprechend hergestellte Verbindung
GB2338940A (en) Current collector trolley
EP0382748A1 (de) Stromverbindungsglied für grosse stromstärken, insbesondere zur verwendung in in metall eingekapselten elektrischen systemen
US3437859A (en) Winding support structure for a dynamoelectric machine
CA2239651C (en) Gauge plate and switch rod insulators
EP0137952B1 (de) Isolierende Platte für isolierte Schienenverbindung
WO1999025926A1 (en) Method for connecting rail bars and rail bar connection obtained according to the method
FI72622C (fi) Stroemanslutningsanordning foer aostadkommande av elektrisk anslutning mellan ledningar.
US20100270386A1 (en) Bolt on Continuous Rail Joint
KR100825379B1 (ko) 배전반용 접속장치
EP0877460A3 (de) Verbesserung in Bezug auf gruppierte Stromschienen für Transport und Verteilung von Elektrizität
JPH0143937Y2 (de)
JPS57155125A (en) Box shaped rigid aerial conductor device and connecting structure thereof
SU1076995A1 (ru) Узел соединени пересекающихс жестких шин
CA1116707A (en) Overhead electric traction systems
JPS596150Y2 (ja) 波型の電機子コイルを有するリニア・サイリスタモ−タ用電磁レ−ル
KR20010038567A (ko) 저압케이블의 설치용 내장클램프
CA2734220A1 (en) Bolt on continuous rail joint

Legal Events

Date Code Title Description
PUAI Public reference made under article 153(3) epc to a published international application that has entered the european phase

Free format text: ORIGINAL CODE: 0009012

AK Designated contracting states

Kind code of ref document: A1

Designated state(s): AT BE CH DE DK ES FI FR GB GR IE IT LI LU MC NL PT SE

17P Request for examination filed

Effective date: 19980518

17Q First examination report despatched

Effective date: 20000224

GRAG Despatch of communication of intention to grant

Free format text: ORIGINAL CODE: EPIDOS AGRA

GRAG Despatch of communication of intention to grant

Free format text: ORIGINAL CODE: EPIDOS AGRA

GRAH Despatch of communication of intention to grant a patent

Free format text: ORIGINAL CODE: EPIDOS IGRA

GRAH Despatch of communication of intention to grant a patent

Free format text: ORIGINAL CODE: EPIDOS IGRA

GRAA (expected) grant

Free format text: ORIGINAL CODE: 0009210

REG Reference to a national code

Ref country code: GB

Ref legal event code: IF02

AK Designated contracting states

Kind code of ref document: B1

Designated state(s): AT BE CH DE DK ES FI FR GB GR IE IT LI LU MC NL PT SE

REF Corresponds to:

Ref document number: 212094

Country of ref document: AT

Date of ref document: 20020215

Kind code of ref document: T

REG Reference to a national code

Ref country code: CH

Ref legal event code: EP

REG Reference to a national code

Ref country code: CH

Ref legal event code: NV

Representative=s name: ARNOLD & SIEDSMA AG

REG Reference to a national code

Ref country code: IE

Ref legal event code: FG4D

REF Corresponds to:

Ref document number: 69618572

Country of ref document: DE

Date of ref document: 20020221

REG Reference to a national code

Ref country code: DK

Ref legal event code: T3

ET Fr: translation filed
REG Reference to a national code

Ref country code: ES

Ref legal event code: FG2A

Ref document number: 2169200

Country of ref document: ES

Kind code of ref document: T3

REG Reference to a national code

Ref country code: PT

Ref legal event code: SC4A

Free format text: AVAILABILITY OF NATIONAL TRANSLATION

Effective date: 20020411

REG Reference to a national code

Ref country code: GR

Ref legal event code: EP

Ref document number: 20020401118

Country of ref document: GR

PLBE No opposition filed within time limit

Free format text: ORIGINAL CODE: 0009261

STAA Information on the status of an ep patent application or granted ep patent

Free format text: STATUS: NO OPPOSITION FILED WITHIN TIME LIMIT

26N No opposition filed
PGFP Annual fee paid to national office [announced via postgrant information from national office to epo]

Ref country code: LU

Payment date: 20080529

Year of fee payment: 13

Ref country code: ES

Payment date: 20080527

Year of fee payment: 13

Ref country code: DK

Payment date: 20080526

Year of fee payment: 13

Ref country code: DE

Payment date: 20080527

Year of fee payment: 13

Ref country code: CH

Payment date: 20080529

Year of fee payment: 13

PGFP Annual fee paid to national office [announced via postgrant information from national office to epo]

Ref country code: AT

Payment date: 20080527

Year of fee payment: 13

PGFP Annual fee paid to national office [announced via postgrant information from national office to epo]

Ref country code: MC

Payment date: 20080527

Year of fee payment: 13

Ref country code: FI

Payment date: 20080528

Year of fee payment: 13

Ref country code: BE

Payment date: 20080529

Year of fee payment: 13

Ref country code: PT

Payment date: 20080408

Year of fee payment: 13

Ref country code: IT

Payment date: 20080529

Year of fee payment: 13

PGFP Annual fee paid to national office [announced via postgrant information from national office to epo]

Ref country code: SE

Payment date: 20080529

Year of fee payment: 13

Ref country code: IE

Payment date: 20080417

Year of fee payment: 13

PGFP Annual fee paid to national office [announced via postgrant information from national office to epo]

Ref country code: FR

Payment date: 20080529

Year of fee payment: 13

PGFP Annual fee paid to national office [announced via postgrant information from national office to epo]

Ref country code: GB

Payment date: 20080429

Year of fee payment: 13

PGFP Annual fee paid to national office [announced via postgrant information from national office to epo]

Ref country code: GR

Payment date: 20080408

Year of fee payment: 13

REG Reference to a national code

Ref country code: PT

Ref legal event code: MM4A

Free format text: LAPSE DUE TO NON-PAYMENT OF FEES

Effective date: 20091116

BERE Be: lapsed

Owner name: *EDILON B.V.

Effective date: 20090531

PG25 Lapsed in a contracting state [announced via postgrant information from national office to epo]

Ref country code: MC

Free format text: LAPSE BECAUSE OF NON-PAYMENT OF DUE FEES

Effective date: 20090531

REG Reference to a national code

Ref country code: CH

Ref legal event code: PL

REG Reference to a national code

Ref country code: DK

Ref legal event code: EBP

GBPC Gb: european patent ceased through non-payment of renewal fee

Effective date: 20090515

PG25 Lapsed in a contracting state [announced via postgrant information from national office to epo]

Ref country code: LI

Free format text: LAPSE BECAUSE OF NON-PAYMENT OF DUE FEES

Effective date: 20090531

Ref country code: FI

Free format text: LAPSE BECAUSE OF NON-PAYMENT OF DUE FEES

Effective date: 20090515

Ref country code: CH

Free format text: LAPSE BECAUSE OF NON-PAYMENT OF DUE FEES

Effective date: 20090531

Ref country code: AT

Free format text: LAPSE BECAUSE OF NON-PAYMENT OF DUE FEES

Effective date: 20090515

REG Reference to a national code

Ref country code: FR

Ref legal event code: ST

Effective date: 20100129

REG Reference to a national code

Ref country code: IE

Ref legal event code: MM4A

PG25 Lapsed in a contracting state [announced via postgrant information from national office to epo]

Ref country code: PT

Free format text: LAPSE BECAUSE OF NON-PAYMENT OF DUE FEES

Effective date: 20091116

PG25 Lapsed in a contracting state [announced via postgrant information from national office to epo]

Ref country code: IE

Free format text: LAPSE BECAUSE OF NON-PAYMENT OF DUE FEES

Effective date: 20090515

Ref country code: FR

Free format text: LAPSE BECAUSE OF NON-PAYMENT OF DUE FEES

Effective date: 20090602

Ref country code: DK

Free format text: LAPSE BECAUSE OF NON-PAYMENT OF DUE FEES

Effective date: 20090531

PG25 Lapsed in a contracting state [announced via postgrant information from national office to epo]

Ref country code: GB

Free format text: LAPSE BECAUSE OF NON-PAYMENT OF DUE FEES

Effective date: 20090515

PG25 Lapsed in a contracting state [announced via postgrant information from national office to epo]

Ref country code: GR

Free format text: LAPSE BECAUSE OF NON-PAYMENT OF DUE FEES

Effective date: 20091202

Ref country code: DE

Free format text: LAPSE BECAUSE OF NON-PAYMENT OF DUE FEES

Effective date: 20091201

Ref country code: BE

Free format text: LAPSE BECAUSE OF NON-PAYMENT OF DUE FEES

Effective date: 20090531

REG Reference to a national code

Ref country code: ES

Ref legal event code: FD2A

Effective date: 20090516

PG25 Lapsed in a contracting state [announced via postgrant information from national office to epo]

Ref country code: ES

Free format text: LAPSE BECAUSE OF NON-PAYMENT OF DUE FEES

Effective date: 20090516

PG25 Lapsed in a contracting state [announced via postgrant information from national office to epo]

Ref country code: IT

Free format text: LAPSE BECAUSE OF NON-PAYMENT OF DUE FEES

Effective date: 20090515

PG25 Lapsed in a contracting state [announced via postgrant information from national office to epo]

Ref country code: LU

Free format text: LAPSE BECAUSE OF NON-PAYMENT OF DUE FEES

Effective date: 20090515

PG25 Lapsed in a contracting state [announced via postgrant information from national office to epo]

Ref country code: SE

Free format text: LAPSE BECAUSE OF NON-PAYMENT OF DUE FEES

Effective date: 20090516

PGFP Annual fee paid to national office [announced via postgrant information from national office to epo]

Ref country code: NL

Payment date: 20120601

Year of fee payment: 17

REG Reference to a national code

Ref country code: NL

Ref legal event code: V1

Effective date: 20131201

PG25 Lapsed in a contracting state [announced via postgrant information from national office to epo]

Ref country code: NL

Free format text: LAPSE BECAUSE OF NON-PAYMENT OF DUE FEES

Effective date: 20131201