EP0803583B2 - Primary cooling method in continuously annealing steel strips - Google Patents
Primary cooling method in continuously annealing steel strips Download PDFInfo
- Publication number
- EP0803583B2 EP0803583B2 EP97105044A EP97105044A EP0803583B2 EP 0803583 B2 EP0803583 B2 EP 0803583B2 EP 97105044 A EP97105044 A EP 97105044A EP 97105044 A EP97105044 A EP 97105044A EP 0803583 B2 EP0803583 B2 EP 0803583B2
- Authority
- EP
- European Patent Office
- Prior art keywords
- gas
- cooling
- concentration
- blowoff
- steel strip
- Prior art date
- Legal status (The legal status is an assumption and is not a legal conclusion. Google has not performed a legal analysis and makes no representation as to the accuracy of the status listed.)
- Expired - Lifetime
Links
Images
Classifications
-
- C—CHEMISTRY; METALLURGY
- C21—METALLURGY OF IRON
- C21D—MODIFYING THE PHYSICAL STRUCTURE OF FERROUS METALS; GENERAL DEVICES FOR HEAT TREATMENT OF FERROUS OR NON-FERROUS METALS OR ALLOYS; MAKING METAL MALLEABLE, e.g. BY DECARBURISATION OR TEMPERING
- C21D9/00—Heat treatment, e.g. annealing, hardening, quenching or tempering, adapted for particular articles; Furnaces therefor
- C21D9/52—Heat treatment, e.g. annealing, hardening, quenching or tempering, adapted for particular articles; Furnaces therefor for wires; for strips ; for rods of unlimited length
- C21D9/54—Furnaces for treating strips or wire
- C21D9/56—Continuous furnaces for strip or wire
- C21D9/573—Continuous furnaces for strip or wire with cooling
-
- C—CHEMISTRY; METALLURGY
- C21—METALLURGY OF IRON
- C21D—MODIFYING THE PHYSICAL STRUCTURE OF FERROUS METALS; GENERAL DEVICES FOR HEAT TREATMENT OF FERROUS OR NON-FERROUS METALS OR ALLOYS; MAKING METAL MALLEABLE, e.g. BY DECARBURISATION OR TEMPERING
- C21D1/00—General methods or devices for heat treatment, e.g. annealing, hardening, quenching or tempering
- C21D1/56—General methods or devices for heat treatment, e.g. annealing, hardening, quenching or tempering characterised by the quenching agents
- C21D1/613—Gases; Liquefied or solidified normally gaseous material
-
- C—CHEMISTRY; METALLURGY
- C21—METALLURGY OF IRON
- C21D—MODIFYING THE PHYSICAL STRUCTURE OF FERROUS METALS; GENERAL DEVICES FOR HEAT TREATMENT OF FERROUS OR NON-FERROUS METALS OR ALLOYS; MAKING METAL MALLEABLE, e.g. BY DECARBURISATION OR TEMPERING
- C21D1/00—General methods or devices for heat treatment, e.g. annealing, hardening, quenching or tempering
- C21D1/62—Quenching devices
- C21D1/667—Quenching devices for spray quenching
Definitions
- the present invention relates to a primary cooling method in continuously annealing steel strips which includes a rapid cooling step before an overaging step, wherein inert atmosphere gas containing H 2 gas is used as a cooling gas for rapid cooling.
- continuous annealing treatment including heating, soaking, primary cooling, overaging and final cooling is performed. More specifically, a steel strip after cold rolling is heated above the recrystallization temperature and is kept at the soaking temperature of 700 - 850 °C for a certain period of time for the growth of crystal grains. During the soaking step, the dissolved carbon is generated in solid-solution state, and it must be settled to be harmless in the succeeding steps. Therefore, in the first half of the primary cooling, the steel strip is slowly cooled down to a certain temperature ( 600 - 700 °C) so as to increase the amount of solid-solution state carbon in the ferrite matrix, and to prevent deterioration of flatness of the steel strip such as cooling buckle for achieving satisfactory operation.
- a certain temperature 600 - 700 °C
- the steel strip is rapidly cooled down to the overaging temperature (about 400 °C). Then the steel strip is kept at the overaging temperature for a certain period of time so that the solid-solution state carbon is precipitated as cementite for reducing the amount thereof. Lastly the steel strip is subjected to the final cooling.
- Japanese Patent Publication No. Sho 55-1969 suggests the concentration of H 2 gas being adjusted within the range equal to or more than 50 %
- Japanese Laid-Open Patent Publication No. Hei 6-346156 suggests the concentration of H 2 gas being adjusted within the range from 70 to 90 %.
- EP-A-0 182 050 discloses a strip cooling apparatus for a continuous annealing furnace.
- the present invention has been made in view of these drawbacks of the conventional method, and its object is to provide a primary cooling method in continuously annealing steel strips which can reduce the consumption of expensive H 2 gas thus enhancing the economy of the cooling operation while assuring the safety and efficiency of the cooling operation at low cost.
- inert atmosphere gas containing H 2 gas is employed as cooling gas for use in the rapid cooling and means for changing the concentration of H 2 gas is capable of changing the concentration of H 2 gas in two ranges corresponding to the product grades of steel.
- concentration of H 2 gas should preferably be 1 to 5 %
- concentration of H 2 gas should preferably be 30 to 60 %.
- the blowoff temperature of the cooling gas should preferably be 80 - 150 °C and the blowoff speed of the cooling gas should preferably be 80 - 100 m/sec, while with the concentration of H 2 gas being 30 to 60 %, the blowoff temperature of the cooling gas should preferably be 30 - 150 °C and the blowoff speed of the cooling gas should preferably be 100 - 150 m/sec.
- the percentage expresssion of the concentration of H 2 gas is by volume.
- a furnace section (hereinafter referred to as a continuous annealing furnace) 10a of a continuous annealing line 10 to which a primary cooling method in continuously annealing steel strips according to one embodiment of the present invention is applied is shown in Fig. 1 .
- the continuous annealing furnace 10a comprises a heating zone 11, a soaking zone 12, a primary cooling zone 13, an overaging zone 14, and a final cooling zone 15 as a secondary cooling zone.
- the primary cooling zone 13 consists of a slow cooling zone 13a in the first half and a rapid cooling zone 13b in the second half.
- a uncoiler 16 for unreeling a material coil
- a welder 17 for joining preceding and succeeding steel strips 26 together
- a pretreatment apparatus 18 for performing electrolytic cleaning and the like
- an entry looper 19 On the delivery side of the continuous annealing furnace 10a, there are a delivery looper 20, a temper rolling mill 21, a finishing apparatus 22 for performing treatment such as side trimming, inspection and oiling of steel strip, a dividing shear 23 for cutting the steel strip in units of product coils, and a coiler 24 for reeling a product coil around the same.
- Fig. 3 shows a rapid cooling apparatus 13c which constitutes the rapid cooling zone 13b in the second half of the primary cooling zone 13.
- Blow gas boxes 27 and 28 are provided so as to sandwich a vertically running steel strip 26 supported by plural pairs of stabilizing rolls 25 arranged vertically.
- a unified blow duct 30 for supplying cooling gas has a plurality of upper outlets thereof connected to one side of the blow gas boxes 27 and 28 which are located at both sides of the steel strip 26 by way of bifurcated blow ducts 29 having a Y-shaped cross section and a plurality of dampers 27a and 28a which are disposed parallelly on both sides of the steel strip 26.
- the unified blow duct 30 has a lower inlet thereof connected with an outlet of a blower 34 which is driven by a drive motor 35.
- a plurality of suction ducts 31 for collecting the cooling gas blown upon the steel strip 26 by the blow gas boxes 27 and 28 are provided at the other side of the blow gas boxes 27 and 28.
- the inlets of the suction ducts 31 for collecting the cooling gas face the other side of the blow gas boxes 27 and 28 while the outlets of these ducts 31 are connected to the upper portion of a unified suction duct 31a.
- the unified suction duct 31a is provided with a heat exchanger 32 at the lower portion thereof which uses water or the like as a coolant.
- the heated cooling gas is cooled by the heat exchanger 32 and is introduced to a blower 34 through a lower duct 33. It should be noted that in association with the heat exchanger 32, a refrigerator using fluorocarbon, ammonia or the like as a coolant may also be provided to further cool the cooling gas.
- an H 2 gas sensor 36 is disposed in the blow gas box 28 so as to measure the concentration of H 2 gas contained in the cooling gas blown off from the blow gas box 28.
- the concentration values measured by the H 2 gas sensor 36 are transmitted to a control unit 37.
- An H 2 gas storage tank 38 and an N 2 gas storage tank 39 are disposed in the vicinity of the continuous annealing furnace 10a. These tanks 38, 39 are connected with a mixer 43a by way of an H 2 gas supply line 42 and an N 2 gas supply line 43 respectively so that H 2 gas and N 2 gas are mixed together in the mixer 43a.
- the mixer 43a is connected with the unified blow duct 30.
- the H 2 gas supply line 42 and the N 2 gas supply line 43 are provided with an H 2 gas flow valve 40 and an N 2 gas flow valve 41 in the midst thereof respectively which are, in turn, controlled by operation signals transmitted from the control unit 37.
- an arrow shows a flow direction of the cooling gas.
- the H 2 gas sensor 36 is disposed in the upper blow gas box 28, a plurality of H 2 gas sensors 36 may be disposed in the upper and lower blow gas boxes 28 respectively.
- the concentration of H 2 gas in all blow gas boxes 28 may be controlled based on the mean value calculated from the respective detected values or the concentration of H 2 gas in the respective blow gas boxes 28 may be independently controlled based on the respective detected values.
- blow gas box 27 (or 28) is shown in Figs. 4 and 5 .
- a multiplicity of nozzles 44 each being formed of a short tube are provided on the front surface of the blow gas box 27.
- Each nozzle 44 is made of a cylindrical tube having a circular hollow cross section and projects toward the steel strip 26.
- the inner diameter D of the blowoff opening of the nozzle 44 is, for example, 9.2 mm.
- These nozzles 44 are arrayed on the front surface of the blow gas box 27 in a zigzag or staggered pattern.
- nozzles 44 are so arranged that a total opening area of the nozzles 44 occupies 2 to 4 % of the front surface area of the blow gas box 27 and the cooling gas is blown through all the nozzles 44 at a uniform flow rate.
- Fig. 8 shows the relationship between the nozzle opening area ratio (percentage of opening areas of the nozzles 44 to the front surface area of the blow gas box 27) and the blower power index (the motor power ratio of the blower 34). As shown in Fig. 8 , the maximum efficiency results at the nozzle opening area ratio of about 2 to 4 %.
- the distance from the tip ends of the nozzles 44 to the surface of the steel strip 26, namely, the blowoff distance d is determined to be equal to or less than 70 mm, and the projecting length L of each nozzle 44 is determined to be equal to or greater than (100 mm - d).
- the reason is that if the distance d from the nozzles 44 to the steel strip 26 is increased, the flow speed of the cooling gas blown upon the surface of the steel strip 26 is much attenuated.
- the reason of setting the projecting length L of each nozzle 44 to be equal to or more than (100 mm - d) is to define an escape space of the cooling gas among the projecting nozzles 44 thereby not only to improve cooling efficiency by preventing the cooling gas having been blown upon and heated by the steel strip 26 from residing on the surface of the steel strip 26 and disturbing the cooling performance, but also to improve cooling uniformity in the direction of width of the steel strip 26.
- FIG. 9 shows the relationship between (the inner diameter D of the blowoff opening of nozzle 44 / blowoff distance d) and the power index of the blower 34. As seen in the graph, the power of the blower 34 is reduced as the quotient of inner diameter D of blowoff opening to blowoff distance d decreases.
- the inner diameter D of the blowoff opening should be as small as possible.
- an excessive reducing of the inner diameter D of the blowoff opening would lead to a disadvantage that the number of nozzles 44 is to be increased and the cost of the facility and maintenance is pushed up.
- the inner diameter D of the blowoff opening is preferably set to be not larger than one fifth of the distance d, but not less than 3 mm at which the blowoff opening can be machined practically.
- the steel strip 26 unreeled from the uncoiler 16 is joined to another preceding steel strip 26 by the welder 17, and then sent to the pretreatment apparatus 18 including an electrolytic cleaner and the like.
- the steel strip 26 is supplied through the entry looper 19 to the heating zone 11 of the continuous annealing furnace 10a where it is heated above the recrystallization temperature (heating step A).
- the steel strip 26 is supplied to the soaking zone 12 where it is kept at the temperature of 700 - 850 °C for a certain period of time (soaking step B).
- soaking step A the steel strip 26 is recrystallized and the grain growth proceeds, whereby it is softened and exhibits high workability.
- the steel strip 26 is subjected to overaging treatment in the overaging zone 14 after the soaking treatment.
- the steel strip 26 is left to stand for a certain period of time in a certain temperature range (approximately 400 °C) in which the solubility limit of carbon is smaller and the solid-solution state carbon is still capable of diffusing.
- the solid-solution state carbon is precipitated as cementite (Fe 3 C) and the amount of solid-solution state carbon in the steel strip 26 is reduced greatly (overaging step D).
- the steel strip 26 is first slowly cooled in the slow cooling zone 13a down to a certain temperature T S not higher than the A 1 transformation temperature (723 °C), and is then rapidly cooled down to the overaging temperature in the rapid cooling zone 13b.
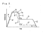
- This rapid cooling brings about a supersaturated condition in which, at the end point of the rapid cooling (temperature T E in Fig. 2 ), the solid-solution state carbon exists in the ferrite matrix in an amount exceeding the solubility limit of carbon allowable at the same temperature in the Fe - C equilibrium diagram.
- This supersaturated condition promotes precipitation of solid-solution state carbon into cementite during the overaging treatment.
- the steel strip 26 is slowly cooled in the first half of the primary cooling down to a certain temperature T s not higher than the A 1 transformation temperature.
- T s a certain temperature
- the purpose of this slow cooling is to increase the amount of solid-solution state carbon in the ferrite matrix and to prevent deterioration of flatness of the steel strip such as cooling buckle for achieving satisfactory operation.
- the upper limit of T s is 700 °C.
- T S is the temperature to start the rapid cooling and would be of no significance if it is too close to the overaging temperature at which the rapid cooling is ended, the lower limit of T S is 600 °C.
- the upper limit of the rapid cooling end temperature T E is equal to the upper limit of the overaging start temperature and hence should be 450 °C.
- a cooling rate of the rapid cooling step carried out in the second half of the primary cooling, namely, in the rapid cooling zone 13b, is required to be not lower than 60 °C/sec, preferably not lower than about 80 °C/sec from a metallurgical point of view for achieving the aforesaid supersaturated condition. In other words, if the cooling rate is lower than 60 °C/sec, the amount of solid-solution state carbon in the steel sheet as a product would be too large and the product would be excessively hardened, thus deteriorating the workability during press forming (primary cooling step C).
- an annealing cycle is modified to be such that the steel strip 26 is heated ( heating step A') to a temperature not lower than the A 1 transformation temperature and the heated steel strip 26 is kept at the same temperature in the soaking zone 12 (soaking step B') to create a two-phase state of ferrite and austenite, and is then slowly cooled in the slow cooling zone 13a before it is rapidly cooled down from the rapid cooling start temperature T S in the rapid cooling zone 13b.
- the rapid cooling end temperature T E ' is a temperature lower than the martensitic transformation temperature M S (about 250 °C though depending on chemical composition) so that the austenite is efficiently transformed into martensite. Accordingly, a lower limit temperature of TE' is 200 °C.
- the cooling rate in the rapid cooling step is not sufficient, a part of austenite would be caught by the nose in the continuous cooling transformation curve at which transformation into ferrite, pearlite, etc. begins and would be transformed into such phases, resulting in poor efficiency of the martensitic transformation. From the above reason, the cooling rate of 60 °C/sec is required in the rapid cooling step from a metallurgical point of view. In the case of attempting to further save the alloying element components, it is desired that the cooling rate be not less than 100 °C /sec. This case is represented by one-dot-chain lines in Fig. 2 . Specifically, the steel strip is rapidly cooled down to about 200 °C in a primary cooling step C', then is subjected to a low-temperature holding step D' in the overaging zone 14, and thereafter transferred to a final cooling step E'.
- the cooling rate can be lowered, compared to the above-mentioned DQ, DDQ and high strength steel of dual phase type, and the concentration of H 2 gas can also be lowered to 1 to 5 %.
- the concentration of H 2 gas exceeds 5 %, the cooling rate tends to increase and exceed the level which is necessary for CQ and EDDQ. This brings about the loss of expensive H 2 gas.
- the concentration of H 2 gas exceeds 6 %, which is the gas explosion limit. Accordingly, it is desirable to restrict the concentration of H 2 gas in the range of 1 to 5 %.
- the travelling path of the steel strip 26 in the rapid cooling step must be elongated or the travelling speed of the steel strip 26 is slowed down to assure the aimed final temperature of rapid cooling step.
- the reasons for not requiring the high cooling rate with respect to CQ and EDDQ are as follows.
- CQ the hardening of steel strip 26 and the increase of yield point elongation thereof which are caused by the gradual precipitation of solid-solution state carbon with the time passing after production do not constitute any material problems in view of the practical usage thereof.
- EDDQ an amount of carbon contained in the steel is extremely small and a special treatment is provided so that almost no solid-solution state carbon is present in the steel, whereby the overaging step can be unnecessitated.
- a succeeding steel strip which is different from a preceding steel strip 26 in grade is welded to the preceding steel strip 26 by means of the welder 17 and then is subjected to continuous annealing.
- the concentration of H 2 gas in the cooling gas is changed and the cooling rate is regulated. Since changing of the composition of the blowoff gas needs some time, to enhance the productivity, the product grades of steel which require the low cooling rate and the product grades of steel which require the high cooling rate are arranged as shown in Table 1 in two lots or groups and change the concentration of H 2 gas along with the changing of the lot.
- Means F for changing the concentration of H 2 gas substantially comprises the H 2 gas sensor 36, the control unit 37, the H 2 gas storage tank 38, the N 2 gas storage tank 39, the H 2 gas flow valve 40, the N 2 gas flow valve 41, the H 2 gas supply line 42, the N 2 gas supply line 43 and the mixer 43a.
- the targeted or predetermined concentration C set of H 2 gas in the cooling gas for a product grade of steel is input to the control unit 37 from a key board 49 and is stored in a RAM 47 in the control unit 37 ( Step S1 ).
- the concentration of H 2 gas exceeding 60 % should be avoided since such a gas concentration merely increases the amount of expensive H 2 gas while the the cooling effect is no more improved even if the concentration of H 2 gas is increased exceeding 60 % as explained in detail later.
- the concentration of H 2 gas for this new product grade of steel is input to the control unit 37 from the key board 49 and is stored in the RAM 47 (Ste S2 ).
- the H 2 gas sensor 36 constantly measures the concentration of H 2 gas in the cooling gas in the blow gas box 28 and the measured concentration C m es of H 2 gas is transmitted to the control unit 37 and fed to a computer CPU 46 by way of an input/output interface 45 ( Step S3 ).
- the predetermined concentration C set of H 2 gas is subtracted from the measured concentration C mes of H 2 gas and the subtracted value is compared with an allowance value ⁇ which is an allowable range and the CPU 46 judges whether the subtracted value is greater than the allowance value ⁇ or not ( Step S4 ).
- Step S4 If the judgement at Step S4 is YES, it means that the concentration of H 2 gas must be lowered. Accordingly, the N 2 gas flow valve 41 is opened so as to increase the amount of N 2 gas supplied to the mixer 43a and increase the mixing ratio of the N 2 gas in the blowoff gas. In the above valve operation, the H 2 gas flow valve 40 may be temporarily closed so as to sharply decrease the concentration of H 2 gas. After opening the N 2 gas flow valve 41, the measuring operation in Step S3 is again carried out so as to measure the concentration of H 2 gas in the cooling gas ( Step S5 ).
- Step S4 the subtracted value obtained by subtracting the measured concentration C mes of H 2 gas from the predetermined concentration C set of H 2 gas is compared with the allowance value ⁇ so as to judge whether the concentration of H 2 gas is lower than the predetermined concentration C set of H 2 gas or not ( Step S6 ).
- Step S6 If the judgement at Step S6 is YES, namely, if the subtracted value obtained by subtracting the measured concentration C mes of H 2 gas from the predetermined concentration C set of H 2 gas is greater than the allowance value ⁇ and the predetermined concentration C set of H 2 gas is greater than the measured concentration C mes of H 2 gas, the operation is advanced to Step S7.
- the H 2 gas flow valve 40 is opened so as to supply H 2 gas to the unified blow duct 30 from the H 2 gas storage tank 38 by way of the H 2 gas supply line 42 and the mixer 43a.
- the measuring operation at Step S3 is again curried out to monitor the concentration of H 2 gas.
- Step S6 If the judgement in Step S6 is NO, namely, if the subtracted value obtained by subtracting the measured concentration C mes of H 2 gas from the predetermined concentration C set of H 2 gas falls within the allowance value ⁇ ; without actuating the H 2 gas flow valve 40 and the N 2 gas flow valve 41, the measuring operation of Step S3 is carried out so as to measure the concentration of H 2 gas in the cooling gas again.
- the above-mentioned control sequence is programmed and stored in a ROM 48 and is sequentially fed to the CPU 46 corresponding to the operational commands.
- cooling by water-gas mixture is employed in the rapid cooling step as mentioned previously, the cooling which meets the formula (5) can be performed.
- steps such as light pickling, rinsing after the pickling, special treatment for improving phosphatability, and final rinsing are required in the post-treatment after the annealing. This leads to a disadvantage of pushing up the facility cost.
- an attention was focused on a method of rapidly cooling the steel strip 26 by blowing jet streams of inert atmosphere gas upon the steel strip 26. Since H 2 gas has a high cooling ability, a mixture gas made of H 2 gas and N 2 gas is chosen as the cooling gas.
- the heat transfer coefficient ⁇ indicating a degree of cooling ability in the rapid cooling zone 13b is a function of the blowoff speed V of the cooling gas from the nozzles 44 and the kind of the cooling gas, and is expressed by the following formula (6).
- ⁇ K ⁇ ⁇ a ⁇ V b a > 0 and b > 0
- ⁇ variable depending on the kind of gas
- V blowoff speed
- K, a and b constant.
- the temperature of the cooling gas is counted as one of the factors which affects the condition of the above formula (6).
- the cooling gas used for cooling the steel strip 26 is sucked through the suction duct 31 and then subjected to heat exchange in the heat exchanger 32. Since the water which is inexpensive is employed as a coolant for the heat exchanger 32, the temperature of the cooling gas having passed the heat exchanger 32 is in the range of 80 - 150 °C. From an economical point of view in the field of rapid cooling, however, the temperature of the cooling gas is preferably kept in the range of about 80 - 100 °C through more efficient heat exchange.
- the cooling rate is set to be not so high and the concentration of H 2 gas is determined to fall in the range of 1 to 5 %.
- the temperature of the cooling gas should preferably be in the range of 80 to 150 °C
- the refrigerator If the temperature of the cooling gas is lowered below 80 °C, as mentioned previously, the refrigerator must be provided. Such a provision of the refrigerator makes the construction of the rapid cooling apparatus 13c more complicated and the maintenance thereof cumbersome and increases the operation cost thereof as the electric power consumption is increased. On the other hand, since no strict condition is given to the cooling rate, it is considered that even when the temperature of the cooling gas is raised above 80 °C, the steel strip 26 will suffer from the least adverse effect. Meanwhile, if the temperature of the cooling gas is raised above 150 °C, the cooling ability becomes insufficient so that the steel strip 26 cannot be cooled down to the predetermined temperature provided that the steel strip 26 is travelled at a normal running speed.
- the concentration of H 2 gas is determined to fall in the range of 30 to 60 % and the temperature of the cooling gas is in the range of 30 to 150 °C. If the temperature of the cooling gas is lowered below 30 °C, as mentioned previously, under the recirculation, the rapid cooling apparatus 13c must be provided newly with the heat exchanger 32 extended and a refrigerator which enables the cooling gas to be equal to or less than 30 °C but such provision is not practical.
- the blowoff temperature of the cooling gas is raised above 150 °C, as in the case of CQ and EDDQ, the cooling ability becomes insufficient so that the steel strip 26 cannot be cooled down to the predetermined temperature provided that the steel strip 26 is travelled at a normal running speed.
- Fig. 11 shows the operation cost index of the cooling gas per ton of steel strip 26 resulting on the condition that a steel strip being 0.798 mm thick and 1300 mm wide is processed at 270 m/min and the temperature of the steel strip is rapidly cooled down from 675 °C to 410 °C.
- Fig. 12 shows the operation cost index of the cooling gas per ton of steel strip resulting on condition that a steel strip being 0.633 mm thick and 1300 mm wide is processed at 260 m/min and the temperature of the steel strip is rapidly cooled down from 670 °C to 270 °C.
- a broken line represents the cost of the cooling gas
- a one-dot-chain line represents the cost of electric power
- a solid line represents the total cost.
- the operation cost is minimized at the concentration of H 2 gas in the cooling gas being about 45 % in the case of Fig. 11 , and at about 55 % in the case of Fig. 12 .
- the heat transfer coefficient ⁇ resulting when cooling conditions such as the shape and array of the nozzles and the blowoff speed of the cooling gas are fixed, is calculated on the basis of the formulae (8) and (9) below by using actual data obtained from the operational experiment for rapid cooling performed as shown in Fig. 13 .
- T 1 temperature of steel strip on the entry side
- T 2 temperature of steel strip on the delivery side
- i 1 enthalpy of steel strip on the entry side
- i 2 enthalpy of steel strip on the delivery side
- ⁇ passing time of steel strip from the entry side to the delivery side of the rapid cooling zone
- A constant
- t thickness of steel strip
- Tg temperature of cooling gas.
- Fig. 14 shows the heat transfer coefficient ⁇ calculated from the data obtained by variously changing the concentration of H 2 gas with the blowoff speed of the cooling gas 130 m/sec and 100 m/sec.
- the concentration of H 2 gas exceeds 60 %, the heat transfer coefficient ⁇ is saturated. Accordingly, a significant improvement in the cooling effect is not achieved even with the use of cooling gas having a concentration of H 2 gas in excess of 60 %.
- blowoff speed V of the cooling gas should be not less than 100 m/sec and the concentration of H 2 gas in the cooling gas should be not lower than 30 % to satisfy the above formula (5).
- blowoff speed it is not desirable to lower the blowoff speed below 80 m/sec since such a blowoff speed brings about an insufficient cooling ability and cannot cool down the steel strip 26 to a desired temperature with a normal running speed. It is also not desirable to raise the blowoff speed of the cooling gas above 100 m/sec since the resultant cooling rate is excessive and the electric power consumption of the blower 34 exceeds the reasonable electric power consumption.
- inert atmosphere gas containing H 2 gas is employed as cooling gas for use in the rapid cooling step and concentration of the H 2 gas is switched between two ranges of 1 to 5 % and 30 to 60 %, depending on the required cooling rate of the rapid cooling step corresponding to the product grades of steel strips. Accordingly, various steels having different required properties can be processed in the rapid cooling step with cooling conditions which meet the respective steels. The consumption of expensive H 2 gas is greatly saved.
- the blowoff temperature of the cooling gas is 30 - 150 °C and the blowoff speed of the cooling gas is 80 - 150 m/sec
- the optimum cooling condition which satisfies both cooling capacity and economy, can be obtained by properly setting the temperature and the blowoff speed of the cooling gas in addition to the proper setting of the concentration of H 2 gas in the cooling gas, corresponding to the cooling rate required by the product grades of steel.
Landscapes
- Chemical & Material Sciences (AREA)
- Engineering & Computer Science (AREA)
- Physics & Mathematics (AREA)
- Thermal Sciences (AREA)
- Crystallography & Structural Chemistry (AREA)
- Mechanical Engineering (AREA)
- Materials Engineering (AREA)
- Metallurgy (AREA)
- Organic Chemistry (AREA)
- Heat Treatment Of Strip Materials And Filament Materials (AREA)
Abstract
Description
- The present invention relates to a primary cooling method in continuously annealing steel strips which includes a rapid cooling step before an overaging step, wherein inert atmosphere gas containing H2 gas is used as a cooling gas for rapid cooling.
- Because of being too hard and thereby exhibiting almost no workability, a steel strip after cold rolling cannot be subjected to press forming and hence cannot be put into practical use so long as no further treatment is effected. To improve the workability of the steel strip, it is necessary to increase the grain size of the steel strip sufficiently, and to reduce the amount of solid-solution state carbon contained in the steel strip as small as possible.
- To this end, continuous annealing treatment including heating, soaking, primary cooling, overaging and final cooling is performed. More specifically, a steel strip after cold rolling is heated above the recrystallization temperature and is kept at the soaking temperature of 700 - 850 °C for a certain period of time for the growth of crystal grains. During the soaking step, the dissolved carbon is generated in solid-solution state, and it must be settled to be harmless in the succeeding steps. Therefore, in the first half of the primary cooling, the steel strip is slowly cooled down to a certain temperature ( 600 - 700 °C) so as to increase the amount of solid-solution state carbon in the ferrite matrix, and to prevent deterioration of flatness of the steel strip such as cooling buckle for achieving satisfactory operation. In the second half of the primary cooling, the steel strip is rapidly cooled down to the overaging temperature (about 400 °C). Then the steel strip is kept at the overaging temperature for a certain period of time so that the solid-solution state carbon is precipitated as cementite for reducing the amount thereof. Lastly the steel strip is subjected to the final cooling.
- Where cooling by water-gas mixture is performed in the second half of the primary cooling to rapidly cool the steel strip, an oxide film is formed on the surface of the steel strip so that a post-treatment such as acid pickling is required immediately after the continuous annealing.
- In view of the above, a method of cooling a steel strip by blowing inert atmosphere gas on N2 basis on the strip wherein the cooling gas contains a large amount of H2 gas that has a great cooling ability, has been proposed in
andJapanese Patent Publication No. Sho 55-1969 , for example.Japanese Laid-Open Patent Publication No. Hei 6-346156 -
suggests the concentration of H2 gas being adjusted within the range equal to or more than 50 %, whileJapanese Patent Publication No. Sho 55-1969 suggests the concentration of H2 gas being adjusted within the range from 70 to 90 %.Japanese Laid-Open Patent Publication No. Hei 6-346156 EP-A-0 182 050 discloses a strip cooling apparatus for a continuous annealing furnace. However, following problems have not yet been resolved satisfactorily by the methods disclosed in these publications. - (1) While an increase in the concentration of H2 gas surely increases the cooling ability, such an increase of the H2 gas concetration pushes up the operation cost. The use of inert atmosphere gas including H2 gas exceeding 6 %, which is a critical limit of explosion, increases the possibility of an explosion and causes a problem in terms of safety.
- (2) There is a case that different product grades of steel ( steel grades ) such as commercial quality CQ ( low carbon steel ), drawing quality DQ ( low carbon steel ), deep drawing quality DDQ ( low carbon steel ), extra deep drawing quality EDDQ ( ultra low carbon steel ) and high strength steel of dual phase type ( high Mn steel ) are to be annealed by the same facility for continuously annealing sheet steel strip, wherein CQ, DQ, DDQ and EDDQ belong to mild steel. In such an annealing, CQ and EDDQ require less rapid cooling compared to other product grades such as DQ and DDQ which require rapid cooling. In view of the above, it is considered ineconomical to carry out the rapid cooling on CQ and EDDQ with the same H2 gas concentration as that of DQ and DDQ. Especially, nowadays, demand for continuously annealing various product grades of steel strip using the same facility for continuously annealing sheet steel strip is increasing. Accordingly, the use of cooling gas, in which the H2 gas concentration is changed corresponding to the product grades of strip, is strongly requested.
- (3) If the concentration of H2 gas is lowered and the blowoff speed of the gas from nozzles is raised, a higher cooling ability can be achieved. However, if the blowoff speed exceeds a certain value, the running steel strip tends to flutter and suffer from scratches on the surface thereof. Here, the term " blowoff speed " means the speed at which the cooling gas is ejected from nozzles to be blown upon the steel strip.
- The present invention has been made in view of these drawbacks of the conventional method, and its object is to provide a primary cooling method in continuously annealing steel strips which can reduce the consumption of expensive H2 gas thus enhancing the economy of the cooling operation while assuring the safety and efficiency of the cooling operation at low cost.
- To achieve the above object, according to the present invention, there is provided a primary cooling method and apparatus for continuously annealing steel strips as defined in
claims 1 and 2. - To be more specific, in the above-mentioned primary cooling method according to the present invention, inert atmosphere gas containing H2 gas is employed as cooling gas for use in the rapid cooling and means for changing the concentration of H2 gas is capable of changing the concentration of H2 gas in two ranges corresponding to the product grades of steel. Namely, with respect to product grades of steel which require a less rapid cooling such as CQ and EDDQ, the concentration of H2 gas should preferably be 1 to 5 %, while with respect to product grades of steel which require a rapid cooling such as DQ, DDQ and high strength steel of dual phase type, the concentration of H2 gas should preferably be 30 to 60 %.
- In the above-mentioned primary cooling method according to the present invention, with the concentration of H2 gas being 1 to 5 %, the blowoff temperature of the cooling gas should preferably be 80 - 150 °C and the blowoff speed of the cooling gas should preferably be 80 - 100 m/sec, while with the concentration of H2 gas being 30 to 60 %, the blowoff temperature of the cooling gas should preferably be 30 - 150 °C and the blowoff speed of the cooling gas should preferably be 100 - 150 m/sec. Throughout this specification, the percentage expresssion of the concentration of H2 gas is by volume.
The present invention will be described in more detail in conjunction with the accompanying drawings. -
Fig. 1 is an explanatory view of a continuous annealing line for sheet to which is applied a primary cooling method in continuously annealing steel strips according to one embodiment of the present invention. -
Fig. 2 is a graph showing the relationship between the passing time and the temperature of a steel strip in the furnace section of a continuous annealing line. -
Fig. 3 is a perspective view of an apparatus for carrying out the rapid cooling step. -
Fig. 4 is a front view of a blow gas box and nozzles thereon for ejecting cooling gas. -
Fig. 5 is a cross sectional view of the blow gas box and nozzles taken along the line I-I ofFig. 4 . -
Fig. 6 is a block diagram showing the control unit for controlling the rapid cooling operation. -
Fig. 7 is a flow chart showing steps for controlling the concentration of H2 gas by the control unit. -
Fig. 8 is a graph showing the relationship between the nozzle opening area ratio and the blower power index. -
Fig. 9 is a graph showing the relationship between the quotient of inner diameter of nozzle aperture to blowoff distance and the blower power index. -
Fig. 10 is a graph showing the relationship between the upper limit of the cooling gas blowoff speed which can prevent the steel strip fluttering and the H2 gas concentration in the cooling gas. -
Fig. 11 is a graph showing the relationship between the H2 gas concentration and the operation cost index for the rapid cooling zone. -
Fig. 12 is another graph showing the relationship between the H2 gas concentration and the operation cost index for the rapid cooling zone. -
Fig. 13 is a graph showing the relationship between the passing time and the temperature of the steel strip in the rapid cooling zone. -
Fig. 14 is a graph showing the relationship between the H2 gas concentration and the heat transfer coefficient. - A furnace section (hereinafter referred to as a continuous annealing furnace) 10a of a continuous
annealing line 10 to which a primary cooling method in continuously annealing steel strips according to one embodiment of the present invention is applied is shown inFig. 1 . As shown in the drawing, the continuousannealing furnace 10a comprises a heating zone 11, asoaking zone 12, aprimary cooling zone 13, anoveraging zone 14, and afinal cooling zone 15 as a secondary cooling zone. Theprimary cooling zone 13 consists of aslow cooling zone 13a in the first half and a rapid cooling zone 13b in the second half. - On the entry side of the continuous annealing
furnace 10a, there are auncoiler 16 for unreeling a material coil, awelder 17 for joining preceding and succeedingsteel strips 26 together, a pretreatment apparatus 18 for performing electrolytic cleaning and the like, and anentry looper 19. On the delivery side of the continuous annealingfurnace 10a, there are adelivery looper 20, a temper rolling mill 21, afinishing apparatus 22 for performing treatment such as side trimming, inspection and oiling of steel strip, a dividingshear 23 for cutting the steel strip in units of product coils, and acoiler 24 for reeling a product coil around the same. -
Fig. 3 shows arapid cooling apparatus 13c which constitutes the rapid cooling zone 13b in the second half of theprimary cooling zone 13. 27 and 28 are provided so as to sandwich a vertically runningBlow gas boxes steel strip 26 supported by plural pairs of stabilizingrolls 25 arranged vertically. Aunified blow duct 30 for supplying cooling gas has a plurality of upper outlets thereof connected to one side of the 27 and 28 which are located at both sides of theblow gas boxes steel strip 26 by way of bifurcatedblow ducts 29 having a Y-shaped cross section and a plurality of 27a and 28a which are disposed parallelly on both sides of thedampers steel strip 26. Theunified blow duct 30 has a lower inlet thereof connected with an outlet of ablower 34 which is driven by adrive motor 35. A plurality ofsuction ducts 31 for collecting the cooling gas blown upon thesteel strip 26 by the 27 and 28 are provided at the other side of theblow gas boxes 27 and 28. The inlets of theblow gas boxes suction ducts 31 for collecting the cooling gas face the other side of the 27 and 28 while the outlets of theseblow gas boxes ducts 31 are connected to the upper portion of a unified suction duct 31a. The unified suction duct 31a is provided with aheat exchanger 32 at the lower portion thereof which uses water or the like as a coolant. The heated cooling gas is cooled by theheat exchanger 32 and is introduced to ablower 34 through alower duct 33. It should be noted that in association with theheat exchanger 32, a refrigerator using fluorocarbon, ammonia or the like as a coolant may also be provided to further cool the cooling gas. - As shown in
Fig. 3 , an H2 gas sensor 36 is disposed in theblow gas box 28 so as to measure the concentration of H2 gas contained in the cooling gas blown off from theblow gas box 28. The concentration values measured by the H2 gas sensor 36 are transmitted to acontrol unit 37. An H2gas storage tank 38 and an N2gas storage tank 39 are disposed in the vicinity of thecontinuous annealing furnace 10a. These 38, 39 are connected with atanks mixer 43a by way of an H2 gas supply line 42 and an N2gas supply line 43 respectively so that H2 gas and N2 gas are mixed together in themixer 43a. Themixer 43a is connected with theunified blow duct 30. The H2 gas supply line 42 and the N2gas supply line 43 are provided with an H2gas flow valve 40 and an N2gas flow valve 41 in the midst thereof respectively which are, in turn, controlled by operation signals transmitted from thecontrol unit 37. InFig. 3 , an arrow shows a flow direction of the cooling gas. - Although in
Fig. 3 , the H2 gas sensor 36 is disposed in the upperblow gas box 28, a plurality of H2 gas sensors 36 may be disposed in the upper and lowerblow gas boxes 28 respectively. In this case, the concentration of H2 gas in all blowgas boxes 28 may be controlled based on the mean value calculated from the respective detected values or the concentration of H2 gas in the respectiveblow gas boxes 28 may be independently controlled based on the respective detected values. - The construction of the blow gas box 27 (or 28) is shown in
Figs. 4 and 5 . A multiplicity ofnozzles 44 each being formed of a short tube are provided on the front surface of theblow gas box 27. Eachnozzle 44 is made of a cylindrical tube having a circular hollow cross section and projects toward thesteel strip 26. The inner diameter D of the blowoff opening of thenozzle 44 is, for example, 9.2 mm. Thesenozzles 44 are arrayed on the front surface of theblow gas box 27 in a zigzag or staggered pattern. - Also, the
nozzles 44 are so arranged that a total opening area of thenozzles 44 occupies 2 to 4 % of the front surface area of theblow gas box 27 and the cooling gas is blown through all thenozzles 44 at a uniform flow rate.Fig. 8 shows the relationship between the nozzle opening area ratio (percentage of opening areas of thenozzles 44 to the front surface area of the blow gas box 27) and the blower power index (the motor power ratio of the blower 34). As shown inFig. 8 , the maximum efficiency results at the nozzle opening area ratio of about 2 to 4 %. This result is construed from the reason that so long as the amount of cooling gas blown from thenozzles 44 is the same, if the opening area percentage of thenozzles 44 exceeds 4 %, the flow speed of the cooling gas is excessively lowered, while if the opening area percentage of thenozzles 44 does not exceed 2 %, the flow speed is excessively increased, thus producing a large pressure loss at thenozzles 44. - Further, as shown in
Fig. 5 , the distance from the tip ends of thenozzles 44 to the surface of thesteel strip 26, namely, the blowoff distance d is determined to be equal to or less than 70 mm, and the projecting length L of eachnozzle 44 is determined to be equal to or greater than (100 mm - d). - The reason is that if the distance d from the
nozzles 44 to thesteel strip 26 is increased, the flow speed of the cooling gas blown upon the surface of thesteel strip 26 is much attenuated. The reason of setting the projecting length L of eachnozzle 44 to be equal to or more than (100 mm - d) is to define an escape space of the cooling gas among the projectingnozzles 44 thereby not only to improve cooling efficiency by preventing the cooling gas having been blown upon and heated by thesteel strip 26 from residing on the surface of thesteel strip 26 and disturbing the cooling performance, but also to improve cooling uniformity in the direction of width of thesteel strip 26. - The inner diameter D of the blowoff opening of each
nozzle 44 will now be considered.Fig. 9 shows the relationship between (the inner diameter D of the blowoff opening ofnozzle 44 / blowoff distance d) and the power index of theblower 34. As seen in the graph, the power of theblower 34 is reduced as the quotient of inner diameter D of blowoff opening to blowoff distance d decreases. - Also, in order to realize a high cooling ability to be obtained by blowing the cooling gas through the
nozzles 44, it is required to arrange thenozzles 44 at such a high density that those portions of individual jet streams of the cooling gas which are located near the nozzle axes and have a maximum cooling ability are densely and uniformly distributed over thesteel strip 26. Accordingly, the inner diameter D of the blowoff opening should be as small as possible. However, an excessive reducing of the inner diameter D of the blowoff opening would lead to a disadvantage that the number ofnozzles 44 is to be increased and the cost of the facility and maintenance is pushed up. Taking account of these contradictory aspects, the inner diameter D of the blowoff opening is preferably set to be not larger than one fifth of the distance d, but not less than 3 mm at which the blowoff opening can be machined practically. - A description will now be made of the outline of the operation of the
continuous annealing line 10 referring toFigs. 1 and2 , focusing on the primary cooling method in continuously annealing steel strips according to one embodiment of the present invention. - The
steel strip 26 unreeled from theuncoiler 16 is joined to another precedingsteel strip 26 by thewelder 17, and then sent to the pretreatment apparatus 18 including an electrolytic cleaner and the like. After that, thesteel strip 26 is supplied through theentry looper 19 to the heating zone 11 of thecontinuous annealing furnace 10a where it is heated above the recrystallization temperature (heating step A). Subsequently, thesteel strip 26 is supplied to the soakingzone 12 where it is kept at the temperature of 700 - 850 °C for a certain period of time (soaking step B). During these steps A and B, thesteel strip 26 is recrystallized and the grain growth proceeds, whereby it is softened and exhibits high workability. However, because carbides in thesteel strip 26 are dissolved in the matrix when thesteel strip 26 is subjected to thermal treatment at a high temperature, a large amount of carbon in solid-solution state would exist in thesteel strip 26 if thesteel strip 26 is cooled directly after the soaking step B. The presence of carbon in solid-solution state is not desirable for the reason that such carbon is precipitated with time to make thesteel strip 26 harder and cause a large yield point elongation. - To reduce the amount of solid-solution state carbon in the
steel strip 26 as far as possible, therefore, thesteel strip 26 is subjected to overaging treatment in theoveraging zone 14 after the soaking treatment. In theoveraging zone 14, thesteel strip 26 is left to stand for a certain period of time in a certain temperature range (approximately 400 °C) in which the solubility limit of carbon is smaller and the solid-solution state carbon is still capable of diffusing. As a result, the solid-solution state carbon is precipitated as cementite (Fe3C) and the amount of solid-solution state carbon in thesteel strip 26 is reduced greatly (overaging step D). - To promote the overaging treatment, after the soaking step B, the
steel strip 26 is first slowly cooled in theslow cooling zone 13a down to a certain temperature TS not higher than the A1 transformation temperature (723 °C), and is then rapidly cooled down to the overaging temperature in the rapid cooling zone 13b. This rapid cooling brings about a supersaturated condition in which, at the end point of the rapid cooling (temperature TE inFig. 2 ), the solid-solution state carbon exists in the ferrite matrix in an amount exceeding the solubility limit of carbon allowable at the same temperature in the Fe - C equilibrium diagram. This supersaturated condition promotes precipitation of solid-solution state carbon into cementite during the overaging treatment. After the soaking step B, as mentioned above, thesteel strip 26 is slowly cooled in the first half of the primary cooling down to a certain temperature Ts not higher than the A1 transformation temperature. The purpose of this slow cooling is to increase the amount of solid-solution state carbon in the ferrite matrix and to prevent deterioration of flatness of the steel strip such as cooling buckle for achieving satisfactory operation. For those reasons from an operational point of view, the upper limit of Ts is 700 °C. - Also, as seen in
Fig. 2 , since TS is the temperature to start the rapid cooling and would be of no significance if it is too close to the overaging temperature at which the rapid cooling is ended, the lower limit of TS is 600 °C. - Further, the upper limit of the rapid cooling end temperature TE is equal to the upper limit of the overaging start temperature and hence should be 450 °C. A cooling rate of the rapid cooling step carried out in the second half of the primary cooling, namely, in the rapid cooling zone 13b, is required to be not lower than 60 °C/sec, preferably not lower than about 80 °C/sec from a metallurgical point of view for achieving the aforesaid supersaturated condition. In other words, if the cooling rate is lower than 60 °C/sec, the amount of solid-solution state carbon in the steel sheet as a product would be too large and the product would be excessively hardened, thus deteriorating the workability during press forming (primary cooling step C).
- Then, the
steel strip 26 after the overaging treatment is slowly cooled down to room temperature in the final cooling zone 15 (final cooling step E). - When producing a high strength steel strip, particularly a high strength steel strip of dual phase type that martensite is mixed in the ferrite matrix, an annealing cycle is modified to be such that the
steel strip 26 is heated ( heating step A') to a temperature not lower than the A1 transformation temperature and theheated steel strip 26 is kept at the same temperature in the soaking zone 12 (soaking step B') to create a two-phase state of ferrite and austenite, and is then slowly cooled in theslow cooling zone 13a before it is rapidly cooled down from the rapid cooling start temperature TS in the rapid cooling zone 13b. Also, the rapid cooling end temperature TE' is a temperature lower than the martensitic transformation temperature MS (about 250 °C though depending on chemical composition) so that the austenite is efficiently transformed into martensite. Accordingly, a lower limit temperature of TE' is 200 °C. - If the cooling rate in the rapid cooling step is not sufficient, a part of austenite would be caught by the nose in the continuous cooling transformation curve at which transformation into ferrite, pearlite, etc. begins and would be transformed into such phases, resulting in poor efficiency of the martensitic transformation. From the above reason, the cooling rate of 60 °C/sec is required in the rapid cooling step from a metallurgical point of view. In the case of attempting to further save the alloying element components, it is desired that the cooling rate be not less than 100 °C /sec. This case is represented by one-dot-chain lines in
Fig. 2 . Specifically, the steel strip is rapidly cooled down to about 200 °C in a primary cooling step C', then is subjected to a low-temperature holding step D' in theoveraging zone 14, and thereafter transferred to a final cooling step E'. - In an actual annealing operation, it is sometimes necessary to anneal various product grades of steel using the same
continuous annealing line 10. As product grades of steel which are annealed in this manner, CQ ( low carbon steel ), DQ ( low carbon steel ), DDQ ( low carbon steel ), EDDQ ( ultra low carbon steel ) and high strength steel of-dual phase type ( high Mn steel ) are considered, wherein CQ, DQ, DDQ and EDDQ belong to mild steel. In annealing these steels, the cooling conditions in the rapid cooling must be changed corresponding to the product grades of steel. Those desirable cooling conditions for respective product grades of steel are shown in Table 1.Table 1 Product grade of steel (steel grade) Required cooling rate ( CR ) Concentration of H2 gas in cooling gas ( % ) Mild steel CQ (low carbon steel) low 1 to 5 DQ (low carbon steel) high 30 to 60 DDQ (low carbon steel) high 30 to 60 EDDQ (ultra low carbon steel) low 1 to 5 High strength steel of dual phase type (high Mn steel) high 30 to 60 ( Note )
CQ : Commercial quality
DQ : Drawing quality
DDQ : Deep drawing quality
EDDQ : Extra deep drawing quality - As shown in Table 1, with respect to DQ, DDQ and high strength steel of dual phase type, it is desirable to set a high cooling rate and determine the concentration of H2 gas within the range from 30 to 60 %. The reason is explained later.
- With respect to CQ and EDDQ, the cooling rate can be lowered, compared to the above-mentioned DQ, DDQ and high strength steel of dual phase type, and the concentration of H 2 gas can also be lowered to 1 to 5 %. As the concentration of H2 gas exceeds 5 %, the cooling rate tends to increase and exceed the level which is necessary for CQ and EDDQ. This brings about the loss of expensive H2 gas. Furthermore, the concentration of H2 gas exceeds 6 %, which is the gas explosion limit. Accordingly, it is desirable to restrict the concentration of H2 gas in the range of 1 to 5 %.
- However, to compensate the slowness of the cooling rate, the travelling path of the
steel strip 26 in the rapid cooling step must be elongated or the travelling speed of thesteel strip 26 is slowed down to assure the aimed final temperature of rapid cooling step. The reasons for not requiring the high cooling rate with respect to CQ and EDDQ are as follows. For CQ, the hardening ofsteel strip 26 and the increase of yield point elongation thereof which are caused by the gradual precipitation of solid-solution state carbon with the time passing after production do not constitute any material problems in view of the practical usage thereof. For EDDQ, an amount of carbon contained in the steel is extremely small and a special treatment is provided so that almost no solid-solution state carbon is present in the steel, whereby the overaging step can be unnecessitated. - To change the product grade of steel, a succeeding steel strip which is different from a preceding
steel strip 26 in grade is welded to the precedingsteel strip 26 by means of thewelder 17 and then is subjected to continuous annealing. In the rapid cooling of the primary cooling step C, the concentration of H2 gas in the cooling gas is changed and the cooling rate is regulated. Since changing of the composition of the blowoff gas needs some time, to enhance the productivity, the product grades of steel which require the low cooling rate and the product grades of steel which require the high cooling rate are arranged as shown in Table 1 in two lots or groups and change the concentration of H2 gas along with the changing of the lot. - Means F for changing the concentration of H2 gas, as explained previously, substantially comprises the H2 gas sensor 36, the
control unit 37, the H2gas storage tank 38, the N2gas storage tank 39, the H2gas flow valve 40, the N2gas flow valve 41, the H2 gas supply line 42, the N2gas supply line 43 and themixer 43a. - The manner of changing the concentration of H2 gas in the cooling gas using the means F for changing the concentration of H2 gas is described hereinafter in view of
Fig. 3 ,Fig. 6 andFig. 7 . - The targeted or predetermined concentration Cset of H2 gas in the cooling gas for a product grade of steel is input to the
control unit 37 from akey board 49 and is stored in aRAM 47 in the control unit 37 ( Step S1 ). The concentration of H2 gas exceeding 60 % should be avoided since such a gas concentration merely increases the amount of expensive H2 gas while the the cooling effect is no more improved even if the concentration of H2 gas is increased exceeding 60 % as explained in detail later. - When a new product grade of steel is to be annealed, the concentration of H2 gas for this new product grade of steel is input to the
control unit 37 from thekey board 49 and is stored in the RAM 47 ( Step S2 ). The H2 gas sensor 36 constantly measures the concentration of H2 gas in the cooling gas in theblow gas box 28 and the measured concentration Cm es of H2 gas is transmitted to thecontrol unit 37 and fed to acomputer CPU 46 by way of an input/output interface 45 ( Step S3 ). - In the
CPU 46, the predetermined concentration Cset of H2 gas is subtracted from the measured concentration Cmes of H 2 gas and the subtracted value is compared with an allowance value δ which is an allowable range and theCPU 46 judges whether the subtracted value is greater than the allowance value δ or not ( Step S4 ). - If the judgement at Step S4 is YES, it means that the concentration of H2 gas must be lowered. Accordingly, the N2
gas flow valve 41 is opened so as to increase the amount of N 2 gas supplied to themixer 43a and increase the mixing ratio of the N2 gas in the blowoff gas. In the above valve operation, the H2gas flow valve 40 may be temporarily closed so as to sharply decrease the concentration of H2 gas. After opening the N2gas flow valve 41, the measuring operation in Step S3 is again carried out so as to measure the concentration of H2 gas in the cooling gas ( Step S5 ). - If the judgement at Step S4 is NO, the subtracted value obtained by subtracting the measured concentration Cmes of H2 gas from the predetermined concentration Cset of H2 gas is compared with the allowance value δ so as to judge whether the concentration of H2 gas is lower than the predetermined concentration Cset of H2 gas or not ( Step S6 ).
- If the judgement at Step S6 is YES, namely, if the subtracted value obtained by subtracting the measured concentration Cmes of H2 gas from the predetermined concentration Cset of H2 gas is greater than the allowance value δ and the predetermined concentration Cset of H2 gas is greater than the measured concentration Cmes of H2 gas, the operation is advanced to Step S7.
- At Step S7, the H2
gas flow valve 40 is opened so as to supply H2 gas to theunified blow duct 30 from the H2gas storage tank 38 by way of the H2 gas supply line 42 and themixer 43a. The measuring operation at Step S3 is again curried out to monitor the concentration of H2 gas. - If the judgement in Step S6 is NO, namely, if the subtracted value obtained by subtracting the measured concentration Cmes of H2 gas from the predetermined concentration Cset of H2 gas falls within the allowance value δ; without actuating the H2
gas flow valve 40 and the N2gas flow valve 41, the measuring operation of Step S3 is carried out so as to measure the concentration of H2 gas in the cooling gas again. The above-mentioned control sequence is programmed and stored in aROM 48 and is sequentially fed to theCPU 46 corresponding to the operational commands. - The rapid cooling conditions of DQ, DDQ and high strength steel of dual phase type are discussed hereinafter. Given the cooling rate being CR (°C/sec) and the thickness of the
steel strip 26 being t (mm) while considering that thesteel strip 26 annealed in thecontinuous annealing furnace 10a usually has a thickness of approx. 1 mm, the cooling ability of the rapid cooling zone 13b in thecontinuous annealing furnace 10a is required to meet the following formula (1). -
-
-
- Here, when the rapid cooling zone 13b is specified as the
rapid cooling apparatus 13c as shown inFig. 3 , a value of the constant k is determined. By putting this value in the formula (4), a value of the heat transfer coefficient α, which meets the condition of the formula (1), is given by the following formula (5). - If cooling by water-gas mixture is employed in the rapid cooling step as mentioned previously, the cooling which meets the formula (5) can be performed. However, since a thin oxide film is formed on the surface of the
steel strip 26, steps such as light pickling, rinsing after the pickling, special treatment for improving phosphatability, and final rinsing are required in the post-treatment after the annealing. This leads to a disadvantage of pushing up the facility cost. In view of the above, an attention was focused on a method of rapidly cooling thesteel strip 26 by blowing jet streams of inert atmosphere gas upon thesteel strip 26. Since H2 gas has a high cooling ability, a mixture gas made of H2 gas and N2 gas is chosen as the cooling gas. - Meanwhile, in accordance with the experimental formula found by the inventors based on pilot line test, the heat transfer coefficient α indicating a degree of cooling ability in the rapid cooling zone 13b is a function of the blowoff speed V of the cooling gas from the
nozzles 44 and the kind of the cooling gas, and is expressed by the following formula (6). , where λ : variable depending on the kind of gas,
V: blowoff speed,
K, a and b : constant. - As can be understood from the formula (6), because the heat transfer coefficient α is increased at the higher blowoff speed V of the cooling gas, the cooling ability can be enhanced by increasing the blowoff speed of the cooling gas without using expensive 100 % H2 gas. But if the blowoff speed of the cooling gas is Increased above a certain value, the cost of electric power necessary for the blower operation is greatly raised and, at the same time, the
steel strip 26 is apt to flutter. This tendency becomes more remarkable if the proportion of N2 gas having a larger specific gravity increases. This is because the force causing thesteel strip 26 to flutter is most affected by or in proportion to the kinetic energy of the blow gas, wherein the kinetic energy E of the blow gas is expressed by the following formula (7). ,where γ is the specific gravity of the gas, g is the acceleration of gravity, and v is the gas flow speed. - If the
steel strip 26 flutters, there arises a problem that thesteel strip 26 may hit against, for example, the tip ends of thenozzles 44 and may suffer from scratches. To avoid such a problem, experiments for measuring the gas blowoff speed limit beyond which thesteel strip 26 begins to flutter were carried out by using therapid cooling apparatus 13c as shown inFig. 3 , keeping the temperature of the cooling gas constant (100 °C ), and blowing the cooling gas containing various concentrations of H2 gas upon thesteel strip 26. The measured results are shown inFig. 10 . The upper limit of gas blowoff speed preventing the steel strip fluttering is somewhat varied depending on the thickness t and tension of thesteel strip 26. Also, by narrowing the spacing between the stabilizingrolls 25 shown inFig. 3 , the tendency of the steel strip fluttering is mitigated and, therefore, the blowoff speed of the cooling gas can be increased correspondingly. - Furthermore, the temperature of the cooling gas is counted as one of the factors which affects the condition of the above formula (6). In the
rapid cooling apparatus 13c shown inFig. 3 , the cooling gas used for cooling thesteel strip 26 is sucked through thesuction duct 31 and then subjected to heat exchange in theheat exchanger 32. Since the water which is inexpensive is employed as a coolant for theheat exchanger 32, the temperature of the cooling gas having passed theheat exchanger 32 is in the range of 80 - 150 °C. From an economical point of view in the field of rapid cooling, however, the temperature of the cooling gas is preferably kept in the range of about 80 - 100 °C through more efficient heat exchange. It is further possible to additionally install a refrigerator using fluorocarbon, ammonia or the like as a coolant in association with theheat exchanger 32 so that the temperature of the cooling gas can be kept in the range of 30 - 80 °C This enables thesteel strip 26 to be cooled more efficiently. - In processing CQ and EDDQ in the rapid cooling, it is preferable that the cooling rate is set to be not so high and the concentration of H2 gas is determined to fall in the range of 1 to 5 %. In these conditions, the temperature of the cooling gas should preferably be in the range of 80 to 150 °C
- If the temperature of the cooling gas is lowered below 80 °C, as mentioned previously, the refrigerator must be provided. Such a provision of the refrigerator makes the construction of the
rapid cooling apparatus 13c more complicated and the maintenance thereof cumbersome and increases the operation cost thereof as the electric power consumption is increased. On the other hand, since no strict condition is given to the cooling rate, it is considered that even when the temperature of the cooling gas is raised above 80 °C, thesteel strip 26 will suffer from the least adverse effect. Meanwhile, if the temperature of the cooling gas is raised above 150 °C, the cooling ability becomes insufficient so that thesteel strip 26 cannot be cooled down to the predetermined temperature provided that thesteel strip 26 is travelled at a normal running speed. - In processing DQ, DDQ and high strength steel of dual phase type, which require a high cooling rate, in the rapid cooling, it is desirable that the concentration of H2 gas is determined to fall in the range of 30 to 60 % and the temperature of the cooling gas is in the range of 30 to 150 °C. If the temperature of the cooling gas is lowered below 30 °C, as mentioned previously, under the recirculation, the
rapid cooling apparatus 13c must be provided newly with theheat exchanger 32 extended and a refrigerator which enables the cooling gas to be equal to or less than 30 °C but such provision is not practical. If the blowoff temperature of the cooling gas is raised above 150 °C, as in the case of CQ and EDDQ, the cooling ability becomes insufficient so that thesteel strip 26 cannot be cooled down to the predetermined temperature provided that thesteel strip 26 is travelled at a normal running speed. - Next, if the concentration of H2 gas in the cooling gas is lowered, the concentration of N2 gas is raised and the cost of the cooling gas used is reduced correspondingly because N2 gas is inexpensive. On the other hand, if the concentration of H2 gas in the cooling gas is lowered, the concentration of N2 gas is raised and the specific gravity of the cooling gas is increased to push up the cost of electric power consumed by the operation of the
blower 34 and the like. Also, if the concentration of H2 gas in the cooling gas is raised, the heat transfer coefficient α is increased.Figs. 11 and 12 show respectively results of Experiment 1 andExperiment 2 carried out for studying the operation cost of the cooling gas varying the concentration of H2 gas in the cooling gas under the conditions meeting the above formula (1). Although the heat transfer coefficient α is reduced as the amount of H2 gas in the cooling gas diminishes, such a reduction is compensated for by increasing the blowoff speed of the cooling gas from thenozzles 44. -
Fig. 11 shows the operation cost index of the cooling gas per ton ofsteel strip 26 resulting on the condition that a steel strip being 0.798 mm thick and 1300 mm wide is processed at 270 m/min and the temperature of the steel strip is rapidly cooled down from 675 °C to 410 °C. -
Fig. 12 shows the operation cost index of the cooling gas per ton of steel strip resulting on condition that a steel strip being 0.633 mm thick and 1300 mm wide is processed at 260 m/min and the temperature of the steel strip is rapidly cooled down from 670 °C to 270 °C. InFigs. 11 and 12 , a broken line represents the cost of the cooling gas, a one-dot-chain line represents the cost of electric power, and a solid line represents the total cost. - The operation cost is minimized at the concentration of H2 gas in the cooling gas being about 45 % in the case of
Fig. 11 , and at about 55 % in the case ofFig. 12 . - Next, the heat transfer coefficient α, resulting when cooling conditions such as the shape and array of the nozzles and the blowoff speed of the cooling gas are fixed, is calculated on the basis of the formulae (8) and (9) below by using actual data obtained from the operational experiment for rapid cooling performed as shown in
Fig. 13 . ,where T1: temperature of steel strip on the entry side, T2: temperature of steel strip on the delivery side, i1: enthalpy of steel strip on the entry side, i2: enthalpy of steel strip on the delivery side, θ, passing time of steel strip from the entry side to the delivery side of the rapid cooling zone, A: constant, t: thickness of steel strip, and Tg: temperature of cooling gas. -
Fig. 14 shows the heat transfer coefficient α calculated from the data obtained by variously changing the concentration of H2 gas with the blowoff speed of the cooling gas 130 m/sec and 100 m/sec. As can be seen fromFig. 14 , when the concentration of H2 gas exceeds 60 %, the heat transfer coefficient α is saturated. Accordingly, a significant improvement in the cooling effect is not achieved even with the use of cooling gas having a concentration of H2 gas in excess of 60 %. - Further, by applying the condition of the above formula (5), which was derived from the metallurgical requirements, to
Fig. 14 , it is found that the blowoff speed V of the cooling gas should be not less than 100 m/sec and the concentration of H2 gas in the cooling gas should be not lower than 30 % to satisfy the above formula (5). - From the results shown in
Figs. 10 to 14 , it is understood that in processing DQ, DDQ and high strength steel of dual phase type in the rapid cooling, the cooling ability capable of satisfying the condition of the above formula (1) is economically attained by using the cooling gas containing H 2 gas in the concentration of 30 - 60 %. In this range of H2 gas concentration, the maximum blowoff speed of the cooling gas under which the steel strip does not flutter is 115 - 150 m/sec, as shown inFig. 10 . However, a lower limit of the blowoff speed of the cooling gas meeting the above other cooling conditions as well as the above formula (5) is 100 m/sec. If the blowoff speed of the cooling gas is less than 100 m/sec, the cooling ability capable of meeting the above formula (5) could not be achieved. - According to experimental results, when the blowoff speed of the cooling gas is less than 100 m/sec, an immobile layer (sometimes called a boundary layer) adhering to the surface of the
steel strip 26 in an immobile state tends to be formed and the heat transfer coefficient is reduced correspondingly. With respect to CQ ( low carbon steel ) and EDDQ ( ultra low carbon steel ), since the blowoff speed of the cooling gas is 80 to 100 m/sec, a certain amount of immobile layer is formed thereby lowering the cooling speed. However, as mentioned previously, such product grades of steel do not necessarily require the high cooling rate so that the steel strip can be processed without problems. It is not desirable to lower the blowoff speed below 80 m/sec since such a blowoff speed brings about an insufficient cooling ability and cannot cool down thesteel strip 26 to a desired temperature with a normal running speed. It is also not desirable to raise the blowoff speed of the cooling gas above 100 m/sec since the resultant cooling rate is excessive and the electric power consumption of theblower 34 exceeds the reasonable electric power consumption. - While the foregoing embodiment has been described in conjunction with specific numerical values for an easier understanding of the present invention, the invention can be of course modified within the range not departing from the scope of the invention and any of those modifications are also involved in the invention.
- With the primary cooling method in continuously annealing steel strips according to the present invention comprising a heating step, a soaking step, a primary cooling step including at least a rapid cooling step in a second half thereof, an overaging step, and a final cooling step, inert atmosphere gas containing H2 gas is employed as cooling gas for use in the rapid cooling step and concentration of the H2 gas is switched between two ranges of 1 to 5 % and 30 to 60 %, depending on the required cooling rate of the rapid cooling step corresponding to the product grades of steel strips. Accordingly, various steels having different required properties can be processed in the rapid cooling step with cooling conditions which meet the respective steels. The consumption of expensive H2 gas is greatly saved. Since a proper amount of H2 gas is always mixed in the cooling gas regardless of the product grades of steel, the excessive use of H2 gas can be avoided thus lowering the risk of gas explosion enhancing the safety and operability of cooling operation. In addition, since various product grades of steel can be annealed using the same apparatus for continuously annealing the sheet steel, the range of operation is expanded or the continuous annealing operation becomes versatile thus enhancing the flexiblity of the continuous annealing operation.
- Furtheremore, in the above-mentioned primary cooling method according to the present invention, if the blowoff temperature of the cooling gas is 30 - 150 °C and the blowoff speed of the cooling gas is 80 - 150 m/sec, the optimum cooling condition, which satisfies both cooling capacity and economy, can be obtained by properly setting the temperature and the blowoff speed of the cooling gas in addition to the proper setting of the concentration of H2 gas in the cooling gas, corresponding to the cooling rate required by the product grades of steel.
Claims (2)
- A primary cooling method in continuously annealing steel strips of different steels comprising a heating step, a soaking step, a primary cooling step including at least a rapid cooling step in a second half thereof, an overaging step, and a final cooling step using a blow gas box wherein nozzles are arranged in the blow gas box so that a total opening area of the nozzles occupies 2 to 4% of the front surface area of the blow gas box and the blowoff distance from the tip ends of the nozzles to the surface of the vertically running strip is at most 70 mm, wherein an inert atmosphere gas containing H2 gas is employed as a cooling gas for use in said rapid cooling step and concentration of said H2 gas is switched between two ranges of 1 to 5 % and 30 to 60 %, depending on the required cooling rate of said rapid cooling step corresponding to product grades of said steel strips, wherein a blowoff temperature of said cooling gas is 30-150°C and a blowoff speed of said cooling gas is 80-150 m/sec and the product grades of said steel strips are arranged in two lots or groups which respectively require a low cooling rate and a high cooling rate, and the concentration of said H2 gas is changed along with the changing of the lots or groups.
- An apparatus for carrying out the method of claim 1, wherein the apparatus comprises a heating zone, soaking zone, primary cooling zone including a rapid cooling zone at least in a second half thereof in which the strip runs vertically, an overaging zone and a final cooling zone, wherein the rapid cooling zone is provided with a blow gas box having nozzles arranged so that a total opening area of the nozzles occupies 2 to 4% of the front surface area of the blow gas box and the blowoff distance from the tip ends of the nozzles to the surface of the vertically running strip is at most 70 mm, a H2 gas sensor for measuring the concentration of the H2 gas in the cooling gas in the blow gas box, and means for switching the H2 concentration in the cooling gas between said two H2 gas concentration ranges, means for controlling the blowoff temperature of the cooling gas within said blowoff temperature and means for controlling blowoff speed of the cooling gas within said blowoff speed range.
Applications Claiming Priority (3)
| Application Number | Priority Date | Filing Date | Title |
|---|---|---|---|
| JP13085196 | 1996-04-26 | ||
| JP13085196 | 1996-04-26 | ||
| JP130851/96 | 1996-04-26 |
Publications (4)
| Publication Number | Publication Date |
|---|---|
| EP0803583A2 EP0803583A2 (en) | 1997-10-29 |
| EP0803583A3 EP0803583A3 (en) | 1999-01-20 |
| EP0803583B1 EP0803583B1 (en) | 2003-07-23 |
| EP0803583B2 true EP0803583B2 (en) | 2009-12-16 |
Family
ID=15044183
Family Applications (1)
| Application Number | Title | Priority Date | Filing Date |
|---|---|---|---|
| EP97105044A Expired - Lifetime EP0803583B2 (en) | 1996-04-26 | 1997-03-25 | Primary cooling method in continuously annealing steel strips |
Country Status (3)
| Country | Link |
|---|---|
| EP (1) | EP0803583B2 (en) |
| AT (1) | ATE245710T1 (en) |
| DE (1) | DE69723608T3 (en) |
Families Citing this family (5)
| Publication number | Priority date | Publication date | Assignee | Title |
|---|---|---|---|---|
| GB9929956D0 (en) | 1999-12-17 | 2000-02-09 | Boc Group Plc | Qenching heated metallic objects |
| US6533996B2 (en) | 2001-02-02 | 2003-03-18 | The Boc Group, Inc. | Method and apparatus for metal processing |
| JP4593976B2 (en) * | 2004-05-31 | 2010-12-08 | 株式会社神戸製鋼所 | Gas jet cooling device for steel plate in continuous annealing furnace |
| FR2876710B1 (en) | 2004-10-19 | 2014-12-26 | Kappa Thermline | METHOD AND DEVICE FOR LIMITING THE VIBRATION OF STEEL OR ALUMINUM BANDS IN GAS OR AIR BLOWING COOLING ZONES |
| DE102013114578A1 (en) * | 2013-12-19 | 2015-06-25 | Sandvik Materials Technology Deutschland Gmbh | Annealing furnace and method for annealing a steel strand |
Family Cites Families (5)
| Publication number | Priority date | Publication date | Assignee | Title |
|---|---|---|---|---|
| BR8504750A (en) * | 1984-11-14 | 1986-07-22 | Nippon Steel Corp | STRIP COATING APPLIANCE FOR A CONTINUOUS IRONING OVEN |
| DE3736501C1 (en) * | 1987-10-28 | 1988-06-09 | Degussa | Process for the heat treatment of metallic workpieces |
| US5137586A (en) * | 1991-01-02 | 1992-08-11 | Klink James H | Method for continuous annealing of metal strips |
| JPH06346156A (en) * | 1993-06-07 | 1994-12-20 | Nippon Steel Corp | Method for cooling steel sheet by gas jet |
| TW420718B (en) * | 1995-12-26 | 2001-02-01 | Nippon Steel Corp | Primary cooling method in continuously annealing steel strip |
-
1997
- 1997-03-25 DE DE69723608T patent/DE69723608T3/en not_active Expired - Lifetime
- 1997-03-25 AT AT97105044T patent/ATE245710T1/en active
- 1997-03-25 EP EP97105044A patent/EP0803583B2/en not_active Expired - Lifetime
Also Published As
| Publication number | Publication date |
|---|---|
| DE69723608T3 (en) | 2010-07-01 |
| EP0803583A2 (en) | 1997-10-29 |
| DE69723608T2 (en) | 2004-05-13 |
| ATE245710T1 (en) | 2003-08-15 |
| EP0803583B1 (en) | 2003-07-23 |
| DE69723608D1 (en) | 2003-08-28 |
| EP0803583A3 (en) | 1999-01-20 |
Similar Documents
| Publication | Publication Date | Title |
|---|---|---|
| US5885382A (en) | Primary cooling method in continuously annealing steel strip | |
| KR100206504B1 (en) | Stainless Steel Strip Manufacturing Equipment | |
| US4836774A (en) | Method and apparatus for heating a strip of metallic material in a continuous annealing furnace | |
| AU2008267505B2 (en) | Process for hot rolling and for heat treatment of a steel strip | |
| JP5130733B2 (en) | Continuous annealing equipment | |
| KR20010085401A (en) | Method for producing cold rolled steel sheet | |
| US4363472A (en) | Steel strip continuous annealing apparatus | |
| EP0803583B2 (en) | Primary cooling method in continuously annealing steel strips | |
| JP6870701B2 (en) | Steel sheet cooling method, steel sheet cooling device and steel sheet manufacturing method | |
| JP2009127060A (en) | Cold rolled steel sheet manufacturing method | |
| KR20020001618A (en) | Rolls for disposing at entry side or exit side of quenching zone of continuous annealing furnace and quenching zone unit using rolls | |
| US5192485A (en) | Continuous annealing line having carburizing/nitriding furnace | |
| EP0086331A1 (en) | Continuous heat treating line for mild and high tensile strength stell strips or sheets | |
| JP4242932B2 (en) | Primary cooling method in continuous annealing of steel strip | |
| JP3572983B2 (en) | Continuous heat treatment furnace and cooling method in continuous heat treatment furnace | |
| JPS5839210B2 (en) | Cooling method of steel strip during continuous annealing | |
| JPS60145327A (en) | Continuous annealing method and equipment for cold rolled steel sheets | |
| JPS6234811B2 (en) | ||
| CN120530210A (en) | Continuous annealing equipment, continuous annealing method, method for manufacturing cold-rolled steel sheet, and method for manufacturing plated steel sheet | |
| JPS60145326A (en) | Method and installation for continuous annealing of cold rolled steel sheet | |
| JP2954340B2 (en) | Continuous carburizing / nitriding furnace and carburizing / nitriding method | |
| JPH04202650A (en) | Continuous annealing furnace | |
| JP2004195496A (en) | Steel heating method in hot rolling line | |
| JPS62263818A (en) | Control cooling device for steel plate | |
| JPS5839892B2 (en) | Continuous annealing equipment for cold rolled steel sheets |
Legal Events
| Date | Code | Title | Description |
|---|---|---|---|
| PUAI | Public reference made under article 153(3) epc to a published international application that has entered the european phase |
Free format text: ORIGINAL CODE: 0009012 |
|
| AK | Designated contracting states |
Kind code of ref document: A2 Designated state(s): AT DE GB |
|
| 17P | Request for examination filed |
Effective date: 19971027 |
|
| PUAL | Search report despatched |
Free format text: ORIGINAL CODE: 0009013 |
|
| AK | Designated contracting states |
Kind code of ref document: A3 Designated state(s): AT DE GB |
|
| 17Q | First examination report despatched |
Effective date: 20010126 |
|
| GRAH | Despatch of communication of intention to grant a patent |
Free format text: ORIGINAL CODE: EPIDOS IGRA |
|
| GRAH | Despatch of communication of intention to grant a patent |
Free format text: ORIGINAL CODE: EPIDOS IGRA |
|
| GRAA | (expected) grant |
Free format text: ORIGINAL CODE: 0009210 |
|
| AK | Designated contracting states |
Designated state(s): AT DE GB |
|
| REG | Reference to a national code |
Ref country code: GB Ref legal event code: FG4D |
|
| REF | Corresponds to: |
Ref document number: 69723608 Country of ref document: DE Date of ref document: 20030828 Kind code of ref document: P |
|
| PLBQ | Unpublished change to opponent data |
Free format text: ORIGINAL CODE: EPIDOS OPPO |
|
| PLBI | Opposition filed |
Free format text: ORIGINAL CODE: 0009260 |
|
| PLAX | Notice of opposition and request to file observation + time limit sent |
Free format text: ORIGINAL CODE: EPIDOSNOBS2 |
|
| 26 | Opposition filed |
Opponent name: DREVER INTERNATIONAL S.A. Effective date: 20040423 |
|
| PLBB | Reply of patent proprietor to notice(s) of opposition received |
Free format text: ORIGINAL CODE: EPIDOSNOBS3 |
|
| PLBP | Opposition withdrawn |
Free format text: ORIGINAL CODE: 0009264 |
|
| PUAH | Patent maintained in amended form |
Free format text: ORIGINAL CODE: 0009272 |
|
| STAA | Information on the status of an ep patent application or granted ep patent |
Free format text: STATUS: PATENT MAINTAINED AS AMENDED |
|
| 27A | Patent maintained in amended form |
Effective date: 20091216 |
|
| AK | Designated contracting states |
Kind code of ref document: B2 Designated state(s): AT DE GB |
|
| REG | Reference to a national code |
Ref country code: DE Ref legal event code: R082 Ref document number: 69723608 Country of ref document: DE Representative=s name: VOSSIUS & PARTNER PATENTANWAELTE RECHTSANWAELT, DE Effective date: 20130227 Ref country code: DE Ref legal event code: R082 Ref document number: 69723608 Country of ref document: DE Representative=s name: VOSSIUS & PARTNER, DE Effective date: 20130227 Ref country code: DE Ref legal event code: R081 Ref document number: 69723608 Country of ref document: DE Owner name: NIPPON STEEL & SUMITOMO METAL CORPORATION, JP Free format text: FORMER OWNER: NIPPON STEEL CORP., TOKIO/TOKYO, JP Effective date: 20130227 |
|
| PGFP | Annual fee paid to national office [announced via postgrant information from national office to epo] |
Ref country code: DE Payment date: 20160322 Year of fee payment: 20 |
|
| PGFP | Annual fee paid to national office [announced via postgrant information from national office to epo] |
Ref country code: GB Payment date: 20160323 Year of fee payment: 20 Ref country code: AT Payment date: 20160225 Year of fee payment: 20 |
|
| REG | Reference to a national code |
Ref country code: DE Ref legal event code: R071 Ref document number: 69723608 Country of ref document: DE |
|
| REG | Reference to a national code |
Ref country code: GB Ref legal event code: PE20 Expiry date: 20170324 |
|
| REG | Reference to a national code |
Ref country code: AT Ref legal event code: MK07 Ref document number: 245710 Country of ref document: AT Kind code of ref document: T Effective date: 20170325 |
|
| PG25 | Lapsed in a contracting state [announced via postgrant information from national office to epo] |
Ref country code: GB Free format text: LAPSE BECAUSE OF EXPIRATION OF PROTECTION Effective date: 20170324 |
