EP0562126B1 - Hydraulic circuit construction in system for adjusting right and left driving forces for vehicle - Google Patents

Hydraulic circuit construction in system for adjusting right and left driving forces for vehicle Download PDF

Info

Publication number
EP0562126B1
EP0562126B1 EP93906352A EP93906352A EP0562126B1 EP 0562126 B1 EP0562126 B1 EP 0562126B1 EP 93906352 A EP93906352 A EP 93906352A EP 93906352 A EP93906352 A EP 93906352A EP 0562126 B1 EP0562126 B1 EP 0562126B1
Authority
EP
European Patent Office
Prior art keywords
hydraulic pressure
hydraulic
wheel
torque
drive force
Prior art date
Legal status (The legal status is an assumption and is not a legal conclusion. Google has not performed a legal analysis and makes no representation as to the accuracy of the status listed.)
Expired - Lifetime
Application number
EP93906352A
Other languages
German (de)
English (en)
French (fr)
Other versions
EP0562126A4 (enExample
EP0562126A1 (en
Inventor
Kaoru Sawase
Masayoshi Nishimori
Current Assignee (The listed assignees may be inaccurate. Google has not performed a legal analysis and makes no representation or warranty as to the accuracy of the list.)
Mitsubishi Motors Corp
Original Assignee
Mitsubishi Motors Corp
Priority date (The priority date is an assumption and is not a legal conclusion. Google has not performed a legal analysis and makes no representation as to the accuracy of the date listed.)
Filing date
Publication date
Application filed by Mitsubishi Motors Corp filed Critical Mitsubishi Motors Corp
Priority to EP96110746A priority Critical patent/EP0736409B1/en
Publication of EP0562126A1 publication Critical patent/EP0562126A1/en
Publication of EP0562126A4 publication Critical patent/EP0562126A4/xx
Application granted granted Critical
Publication of EP0562126B1 publication Critical patent/EP0562126B1/en
Anticipated expiration legal-status Critical
Expired - Lifetime legal-status Critical Current

Links

Images

Classifications

    • BPERFORMING OPERATIONS; TRANSPORTING
    • B60VEHICLES IN GENERAL
    • B60KARRANGEMENT OR MOUNTING OF PROPULSION UNITS OR OF TRANSMISSIONS IN VEHICLES; ARRANGEMENT OR MOUNTING OF PLURAL DIVERSE PRIME-MOVERS IN VEHICLES; AUXILIARY DRIVES FOR VEHICLES; INSTRUMENTATION OR DASHBOARDS FOR VEHICLES; ARRANGEMENTS IN CONNECTION WITH COOLING, AIR INTAKE, GAS EXHAUST OR FUEL SUPPLY OF PROPULSION UNITS IN VEHICLES
    • B60K23/00Arrangement or mounting of control devices for vehicle transmissions, or parts thereof, not otherwise provided for
    • B60K23/04Arrangement or mounting of control devices for vehicle transmissions, or parts thereof, not otherwise provided for for differential gearing

Definitions

  • This invention relates to a vehicular left/right drive force adjusting apparatus suitable for use in the adjustment of drive force led by the distribution of drive force to left and right wheels in a 4WD automotive vehicle or the like, and especially to a hydraulic circuit construction for the apparatus.
  • the distribution of torque can be effected as desired without inducing any large torque loss or energy loss.
  • the distribution of torque to left and right wheels can be adjusted as desired while reducing energy loss.
  • FIG. 15 is a schematic diagram showing the principle of a vehicular left/right drive force adjusting apparatus proposed from such a viewpoint in the course of the development of the present invention.
  • adjusting drive force should be interpreted to embrace not only the distribution of drive force, which has been transmitted from an engine, to left and right wheels but also the transfer of torque between left and right, non-driven wheels so that negative drive force (in other words, brake force) is developed at one of the non-driven wheels while positive drive force is developed at the other non-driven wheel.
  • an input shaft 1 to which rotational drive force (hereinafter called “drive force” or “torque”) is inputted
  • a first and second output axles 2,3 which output the drive force inputted from the input shaft 1.
  • a vehicular left/right drive force distribution apparatus is interposed as the vehicular left/right drive force adjusting apparatus.
  • the vehicular left/right drive force distribution apparatus owing to the construction to be described next, can distribute drive force at a desired ratio to the first output axle 2 and the second output axle 3 while permitting differential motion between the first output axle 2 and the second output axle 3.
  • a shift mechanism A and a multi-plate clutch mechanism B are interposed so that a rotational speed of the first output axle 2 or the second output axle 3 is increased by the corresponding shift mechanism A and is then transmitted to a sheath axle (hollow axle) 7 as a drive force transmitting auxiliary member.
  • the multi-plate clutch B is interposed between the sheath axle 7 and a differential case 13 on the side of the input shaft 1.
  • drive force is returned from the sheath axle 7 on the side of a higher speed to the differential case 13 on the side of a lower speed because, as a general characteristic of clutch plates disposed in a face-to-face relationship, transmission of torque takes place from a faster side to a slower side.
  • the shift mechanism A described above is constructed of a so-called double planetary gear mechanism composed of two planetary gear mechanisms linearly connected together. Taking by way of example the shift mechanism A arranged on the second output axle 3, a description can be made as will be set out next.
  • a first sun gear 4A is fixed on the second output axle 3.
  • the first sun gear 4A is meshed at an outer periphery thereof with a first planetary gear (planetary pinion) 5A.
  • the first planetary gear 5A is integrally connected to a second planetary gear 5B.
  • Both the first planetary gear 5A and the second planetary gear 5B are rotatably supported via the pinion shaft 6A on a carrier 6 which is fixedly secured on a casing (a stationary part).
  • the first planetary gear 5A and the secondary planetary gear 5B can therefore perform the same rotation about the pinion shaft 6A.
  • the second planetary gear 5B is meshed with a second sun gear 4B rotatably supported on the second output axle 3 and the second sun gear 4B is connected to clutch plates 8A of the multi-plate clutch mechanism B via the sheath axle 7.
  • Other clutch plates 8B of the multi-plate clutch mechanism B are connected to the differential case 13 driven by the input shaft 1.
  • the first sun gear 4A is formed greater in diameter than the second sun gear 4B and the first planetary gear 5A is formed smaller in diameter than the second planetary gear 5B.
  • the second sun gear 4B rotates at a faster speed than the first sun gear 4A so that the shift mechanism A serves as a speed increasing mechanism.
  • the shift mechanism A and the multi-plate clutch mechanism B both disposed on the first output axle 2, are constructed likewise.
  • the multi-plate clutch mechanism B on the side of the second output axle 3 is caused to engage suitably depending on the proportion desired to be distributed (distribution ratio).
  • the multi-plate clutch mechanism B on the side of the first output axle 2 is caused to engage suitably depending on the distribution ratio.
  • each multi-plate clutch mechanism B When each multi-plate clutch mechanism B is constructed as a hydraulically-driven multi-plate clutch mechanism, the state of engagement of the multi-plate clutch mechanism B can be controlled by regulating the level of hydraulic pressure and a return of drive force from the first output axle 2 or the second output axle 3 to the input shaft 1 (namely, a left-to-right distribution ratio of drive force) can be adjusted.
  • the distribution of torque is adjusted by transferring a desired amount of torque of one of wheels to the other torque instead of adjusting the torque distribution by using energy loss such as braking.
  • a desired torque distribution ratio can therefore be achieving without inducing any substantial torque loss or energy loss.
  • the degree of engagement of the multi-plate clutch mechanism B is controlled by hydraulic pressure.
  • the hydraulic circuit shown in FIG. 24 can be contemplated.
  • the hydraulic circuit in FIG. 24 is constructed of a hydraulic source 90 for feeding working oil, a proportional valve 91R for controlling hydraulic pressure to a right-side multi-plate clutch BR (a right side will hereinafter be referred to as "BR" when left and right are distinguished from each other), a proportional valve 91L for controlling hydraulic pressure to a left-side multi-plate clutch BL (a left side will hereinafter be referred to as "BL” when left and right are distinguished from each other), and a controller 92 for controlling these units.
  • a proportional valve 91R for controlling hydraulic pressure to a right-side multi-plate clutch BR
  • BL left side will hereinafter be referred to as "BL” when left and right are distinguished from each other
  • controller 92 for controlling these units.
  • each hydraulic line should be worked out, for example, from a block or the like by drilling and each connected part thereof must be formed into a sealed structure, thereby inevitably leading to higher cost and greater weight.
  • the present invention has been completed in view of the above-described problems, and has as an object the provision of a hydraulic circuit construction for a vehicular left/right drive force adjusting apparatus, which construction makes it possible to avoid feeding of any undesired hydraulic pressure, for example, simultaneous engagement or coupling of both left and right, hydraulic torque transmission mechanisms, said simultaneous engagement or coupling being a potential cause for interlocking of wheels.
  • Another object of the present invention is to provide a hydraulic circuit construction for a vehicular left/right drive force adjusting apparatus, which construction can prevent one of left and right, torque transmission mechanisms from remaining engaged upon malfunction of the hydraulic circuit.
  • a further object of the present invention is to provide a hydraulic circuit construction for a vehicular left/right drive force adjusting apparatus, which construction can cope with a trouble in a hydraulic circuit to prevent a clutch from undesired engagement.
  • a still further object of the present invention is to provide a hydraulic circuit construction for a vehicular left/right drive force adjusting apparatus, which construction can readily and surely prevent mixing of air into a hydraulic circuit of the vehicular left/right drive force adjusting apparatus to sufficiently secure clutch controlling performance.
  • GB-A-2,213,443 discloses a hydraulic circuit construction according to the preamble of claim 1.
  • the present invention is a characterized by the features of the characterizing portion of claim 1.
  • a hydraulic circuit construction according to the present invention for a vehicular left/right drive force adjusting apparatus has a pair of axles integrally rotatable with left and right wheels, respectively, and a drive force transmission control mechanism interposed between the wheels.
  • the drive force transmission control mechanism comprises a left-wheel-controlling, hydraulic torque transmission mechanism for transferring drive force to the left-wheel axle or from the left-wheel axle, a right-wheel-controlling, hydraulic torque transmission mechanism for transferring drive force to the right-wheel axle or from the right-wheel axle, and a hydraulic circuit for driving the hydraulic torque transmission mechanisms.
  • the hydraulic circuit comprises hydraulic pressure regulating means for regulating hydraulic pressure from hydraulic pressure source and outputting the hydraulic pressure so regulated, hydraulic pressure input means provided in association with the hydraulic torque transmission mechanism and adapted to be inputted with hydraulic pressure for the transmission of torque, and a change-over valve interposed in lines extending from the hydraulic pressure regulating means to the hydraulic pressure input means and capable of feeding hydraulic pressure to one of the hydraulic input means.
  • hydraulic pressure outputted from the hydraulic pressure source in the above hydraulic circuit is regulated to a suitable pressure via the hydraulic pressure regulating means and then guided to the change-over valve.
  • the state of the change-over valve By adjusting the state of the change-over valve, the above-described state of drive force to each of the left and right wheels is adjusted.
  • the change-over valve is constructed to feed hydraulic pressure to one of the left and right, hydraulic pressure input means, it is possible to avoid simultaneous feeding of hydraulic pressure to the left and right, hydraulic pressure input means.
  • the change-over valve is constructed of a 2-mode change-over valve which takes one of a communicating mode in which a predetermined hydraulic pressure from the hydraulic pressure regulating means is fed to one of the hydraulic pressure input means and another communicating mode in which the predetermined hydraulic pressure is fed to the other one of the hydraulic pressure input means.
  • the change-over valve may comprise a spool movable back and forth in an axial direction, a spring for biasing the spool in a desired direction, and a solenoid for driving the spool against the spring.
  • the spool is provided with a first valve element for opening or closing the line to one of the hydraulic pressure input means and a second valve element for opening or closing the line to the other hydraulic pressure input means. A positional relationship between the first valve element and the second valve element is set so that the first valve element and the second valve element are not opened at the same time.
  • the change-over valve may preferably be constructed of a 3-mode change-over valve which takes one of three modes consisting of a communicating mode in which a predetermined hydraulic pressure is fed from the hydraulic pressure regulating means to one of the hydraulic pressure input means, another communicating mode in which the predetermined hydraulic pressure is fed to the other one of the hydraulic pressure input means and a closing mode in which the predetermined hydraulic pressure is fed to neither of the hydraulic pressure input means.
  • the change-over valve takes the closing mode when the change-over valve is in a neutral position at which no drive force is applied.
  • no drive force is applied, neither of the left and right, hydraulic pressure input means are fed with any hydraulic pressure.
  • the 3-mode change-over valve comprises a spool movable back and forth in an axial direction, a pair of springs for biasing the spool from opposite ends thereof to the neutral position, a first solenoid for driving the spool so that the spool is biased toward one end thereof against the spring, and a second solenoid for driving the spool so that the spool is biased toward the other end against the spring.
  • the spool is provided with a first valve element for closing the line to one of the hydraulic pressure input means when the spool is at the neutral position but for opening the line to the one of the hydraulic pressure input means when the spool is at a position biased toward the one end thereof and with a second valve element for closing the line to the other one of the hydraulic pressure input means when the spool is at the neutral position but for opening the line to the other one of the hydraulic pressure input means when the spool is located at a position biased toward the other end thereof.
  • the hydraulic pressure regulating means and the change-over valve are accommodated within an oil compartment in which working oil is stored, whereby the hydraulic pressure regulating means and the change-over valve are submerged in the working oil.
  • a hydraulic multi-plate clutch is preferably used as the hydraulic torque transmission mechanism.
  • a hydraulic circuit construction according to the present invention for a vehicular left/right drive force adjusting apparatus has a pair of axles integrally rotatable with left and right wheels, respectively, and a drive force transmission control mechanism interposed between the wheels.
  • the drive force transmission control mechanism comprises a left-wheel-controlling, hydraulic torque transmission mechanism for transferring drive force to the left-wheel axle or from the left-wheel axle, a right-wheel-controlling, hydraulic torque transmission mechanism for transferring drive force to the right-wheel axle or from the right-wheel axle, and a hydraulic circuit for driving the hydraulic torque transmission mechanisms.
  • the hydraulic circuit comprises hydraulic pressure regulating means for regulating hydraulic pressure from hydraulic pressure source and outputting the hydraulic pressure so regulated, hydraulic pressure input means provided in association with the hydraulic torque transmission mechanism and adapted to be inputted with hydraulic pressure for the transmission of torque, a change-over valve interposed in lines extending from the hydraulic pressure regulating means to the respective hydraulic pressure input means, and control means for controlling the change-over valve.
  • Hydraulic pressure detection means are interposed in the lines extending from the change-over valve to the respective hydraulic pressure input means.
  • the control means is provided with trouble judgment means for judging any trouble in the hydraulic pressure circuit on the basis of information from the hydraulic pressure detection means.
  • the trouble judging means Based on information about hydraulic pressure in the hydraulic pressure lines as detected by the hydraulic pressure detection means, it is judged by the trouble judging means whether or not there is a trouble in the hydraulic circuit portion extending from the change-over valve to the respective hydraulic pressure input means. Further, on the basis of the results of such a judgment, it is possible to avoid feeding of an undesired hydraulic pressure so that, for example, simultaneous engagement or coupling of both the left and right, hydraulic torque transmission mechanisms, the simultaneous engagement or coupling being a potential cause for interlocking of the wheels, can be avoided.
  • a hydraulic multiplate clutch can also be used preferably as the hydraulic torque transmission mechanism.
  • a hydraulic circuit construction according to the present invention for a vehicular left/right drive force adjusting apparatus has a pair of axles integrally rotatable with left and right wheels, respectively, and a drive force transmission control mechanism interposed between the wheels.
  • the drive force transmission control mechanism comprises a left-wheel-controlling, hydraulic torque transmission mechanism for transferring drive force to the left-wheel axle or from the left-wheel axle, a right-wheel-controlling, hydraulic torque transmission mechanism for transferring drive force to the right-wheel axle or from the right-wheel axle, and a hydraulic circuit for driving the hydraulic torque transmission mechanisms.
  • the hydraulic circuit comprises hydraulic pressure regulating means for regulating hydraulic pressure from hydraulic pressure source and outputting the hydraulic pressure so regulated, hydraulic pressure input means provided in association with the hydraulic torque transmission mechanism and adapted to be inputted with hydraulic pressure for the transmission of torque, a change-over valve interposed in lines extending from the hydraulic pressure regulating means to the hydraulic pressure input means, and control means for controlling the hydraulic pressure regulating means.
  • Hydraulic pressure detection means is interposed in an output line from the hydraulic pressure regulating means.
  • the control means is provided with trouble judgment means for judging any trouble in the hydraulic pressure circuit on the basis of information from the hydraulic pressure detection means.
  • the trouble judging means Based on information about hydraulic pressure in the hydraulic pressure lines as detected by the hydraulic pressure detection means, it is judged by the trouble judging means whether or not there is a trouble in the hydraulic circuit portion extending from the hydraulic pressure control means to the change-over valve. Further, on the basis of the results of such a judgment, it is possible to avoid feeding of an undesired hydraulic pressure.
  • a hydraulic multi-plate clutch can also be used preferably as the hydraulic torque transmission mechanism.
  • a hydraulic circuit construction according to the present invention for a vehicular left/right drive force adjusting apparatus having input means adapted to be inputted with drive force, a pair of left and right output axles for outputting the drive force, which has been inputted to the input means, to left and right wheels, respectively, a differential mechanism arranged between the input means and the output axles, adapted to distribute the drive force to the respective output axles and permitting differential motion of the respective output axles.
  • the drive force transmission control mechanism comprises a left-wheel-side shift mechanism for shifting a rotational speed of the left-wheel-side output axle, a right-wheel-side shift mechanism for shifting a rotational speed of the right-wheel-side output axle, a left-wheel-controlling, hydraulic torque transmission mechanism interposed between the left-wheel-side shift mechanism and the input means or the right-wheel-side output axle and adapted to transfer drive force to the left-wheel-side output axle or from the left-wheel-side output axle, a right-wheel-controlling, hydraulic torque transmission mechanism interposed between the right-wheel-side shift mechanism and the input means or the left-wheel-side output axle and adapted to transfer drive force to the right-wheel-side output axle or from the right-wheel-side output axle, and a hydraulic circuit for driving the hydraulic torque transmission mechanisms.
  • the hydraulic circuit comprises hydraulic pressure regulating means for regulating hydraulic pressure from hydraulic pressure source and outputting the hydraulic pressure so regulated, hydraulic pressure input means provided in association with the left and right, hydraulic torque transmission mechanisms, respectively, and adapted to be inputted with hydraulic pressure for the transmission of torque, and a change-over valve interposed in lines extending from the hydraulic pressure regulating means to the hydraulic pressure input means and capable of feeding hydraulic pressure to one of the hydraulic pressure input means.
  • drive force of the input shaft is transmitted through the differential mechanism to the left and right output axles disposed in a pair.
  • Drive forces outputted to the respective output axles from the differential mechanism are adjusted to a desired distribution ratio by the drive force transmission control mechanism.
  • This adjustment is effected at the drive force transmission control mechanism.
  • the shift mechanisms By the shift mechanisms, a rotational difference is produced between a member on the side of each output axle and those on the side of the input means.
  • transmission of drive force is performed between these members so that the distribution of drive force to the left and right wheels can be adjusted.
  • hydraulic pressure outputted from the hydraulic pressure source in the above hydraulic circuit is regulated via the hydraulic pressure regulating means to a suitable pressure and then guided to the change-over valve.
  • the state of the change-over valve By adjusting the state of the change-over valve, the above-described state of drive force to each of the left and right wheels is adjusted.
  • the change-over valve is constructed to feed hydraulic pressure to one of the left and right, hydraulic pressure input means, it is possible to avoid simultaneous feeding of hydraulic pressure to the left and right, hydraulic pressure input means.
  • the change-over valve is constructed of a 2-mode change-over valve which takes one of a communicating mode in which a predetermined hydraulic pressure from the hydraulic pressure regulating means is fed to one of the hydraulic pressure input means and another communicating mode in which the predetermined hydraulic pressure is fed to the other one of the hydraulic pressure input means.
  • the above-described 2-mode change-over valve can comprise a spool movable back and forth in an axial direction, a spring for biasing the spool in a desired direction, and a solenoid for driving the spool against the spring.
  • the spool is provided with a first valve element for opening or closing the line to one of the hydraulic pressure input means and a second valve element for opening or closing the line to the other hydraulic pressure input means.
  • a positional relationship between the first valve element and the second valve element is set so that the first valve element and the second valve element are not opened at the same time.
  • the change-over valve can be constructed of a 3-mode change-over valve which takes one of three modes consisting of a communicating mode in which a predetermined hydraulic pressure is fed from the hydraulic pressure regulating means to one of the hydraulic pressure input means, another communicating mode in which the predetermined hydraulic pressure is fed to the other one of the hydraulic pressure input means and a closing mode in which the predetermined hydraulic pressure is fed to neither of the hydraulic pressure input means.
  • the above-described 3-mode change-over valve can comprise a spool movable back and forth in an axial direction, a pair of springs for biasing the spool from opposite ends thereof to the neutral position, a first solenoid for driving the spool so that the spool is biased toward one end thereof against the spring, and a second solenoid for driving the spool so that the spool is biased toward the other end against the spring.
  • the spool is provided with a first valve element for closing the line to one of the hydraulic pressure input means when the spool is at the neutral position but for opening the line to the one of the hydraulic pressure input means when the spool is at a position biased toward the one end thereof and with a second valve element for closing the line to the other one of the hydraulic pressure input means when the spool is at the neutral position but for opening the line to the other one of the hydraulic pressure input means when the spool is located at a position biased toward the other end thereof.
  • the hydraulic pressure regulating means and the change-over valve can be accommodated within an oil compartment in which working oil is stored, whereby the hydraulic pressure regulating means and the change-over valve are submerged in the working oil.
  • a hydraulic multi-plate clutch can also be used as the hydraulic torque transmission mechanism.
  • a hydraulic circuit construction according to the present invention for a vehicular left/right drive force adjusting apparatus having input means adapted to be inputted with drive force, a pair of left and right output axles for outputting the drive force, which has been inputted to the input means, to left and right wheels, respectively, a differential mechanism arranged between the input means and the output axles, adapted to distribute the drive force to the respective output axles and permitting differential motion of the respective output axles, and a drive force transmission control mechanism interposed between the input means and the respective output axles, characterized in that the drive force transmission control mechanism comprises a left-wheel-side shift mechanism for shifting a rotational speed of the left-wheel-side output axle, a right-wheel-side shift mechanism for shifting a rotational speed of the right-wheel-side output axle, a left-wheel-controlling, hydraulic torque transmission mechanism interposed between the left-wheel-side shift mechanism and the input means or the right-wheel-side output axle and adapted to transfer drive force to the left-wheel-side output axle
  • the hydraulic circuit comprises hydraulic pressure regulating means for regulating hydraulic pressure from hydraulic pressure source and outputting the hydraulic pressure so regulated, hydraulic pressure input means provided in association with the left and right, hydraulic torque transmission mechanisms and adapted to be inputted with hydraulic pressure for the transmission of torque, a change-over valve interposed in lines extending from the hydraulic pressure regulating means to the respective hydraulic pressure input means, and control means for controlling the change-over valve.
  • Hydraulic pressure detection means are interposed in the respective lines extending from the change-over valve to the hydraulic pressure input means.
  • the control means is provided with trouble judgment means for judging any trouble in the hydraulic pressure circuit on the basis of information from the hydraulic pressure detection means.
  • the trouble judging means Based on information about hydraulic pressure in the hydraulic pressure lines as detected by the hydraulic pressure detection means, it is judged by the trouble judging means whether or not there is a trouble in the hydraulic circuit portion extending from the change-over valve to the respective hydraulic pressure input means. Further, on the basis of the results of such a judgment, it is possible to avoid feeding of an undesired hydraulic pressure so that, for example, simultaneous engagement or coupling of both the left and right, hydraulic torque transmission mechanisms, the simultaneous engagement or coupling being a potential cause for interlocking of the wheels, can be avoided.
  • a hydraulic multi-plate clutch can preferably be used as the hydraulic torque transmission mechanism.
  • a hydraulic circuit construction according to the present invention for a vehicular left/right drive force adjusting apparatus having input means adapted to be inputted with drive force, a pair of left and right output axles for outputting the drive force, which has been inputted to the input means, to left and right wheels, respectively, a differential mechanism arranged between the input means and the output axles, adapted to distribute the drive force to the respective output axles and permitting differential motion of the respective output axles, and a drive force transmission control mechanism interposed between the input means and the respective output axles, characterized in that the drive force transmission control mechanism comprises a left-wheel-side shift mechanism for shifting a rotational speed of the left-wheel-side output axle, a right-wheel-side shift mechanism for shifting a rotational speed of the right-wheel-side output axle, a left-wheel-controlling, hydraulic torque transmission mechanism interposed between the left-wheel-side shift mechanism and the input means or the right-wheel-side output axle and adapted to transfer drive force to the left-wheel-side output axle
  • the hydraulic circuit comprises hydraulic pressure regulating means for regulating hydraulic pressure from hydraulic pressure source and outputting the hydraulic pressure so regulated, hydraulic pressure input means provided in association with the left and right, hydraulic torque transmission mechanism and adapted to be inputted with hydraulic pressure for the transmission of torque, a change-over valve interposed in lines extending from the hydraulic pressure regulating means to the hydraulic pressure input means, and control means for controlling the hydraulic pressure regulating means.
  • Hydraulic pressure detection means is interposed in an output line from the hydraulic pressure regulating means.
  • the control means is provided with trouble judgment means for judging any trouble in the hydraulic pressure circuit on the basis of information from the hydraulic pressure detection means.
  • the trouble judging means Based on information about hydraulic pressure in the hydraulic pressure lines as detected by the hydraulic pressure detection means, it is judged by the trouble judging means whether or not there is a trouble in the hydraulic circuit portion extending from the hydraulic pressure control means to the change-over valve. Further, on the basis of the results of such a judgment, it is possible to avoid feeding of an undesired hydraulic pressure.
  • a hydraulic multi-plate clutch is also used as the hydraulic torque transmission mechanism.
  • FIG. 1 is a schematic circuit diagram showing a hydraulic circuit construction according to one embodiment of this invention for a vehicular left/right drive force adjusting apparatus.
  • FIG. 2 through FIG. 4 are drawings all illustrating the construction of essential parts of the vehicular left/right drive force adjusting apparatus equipped with the hydraulic circuit construction of the one embodiment of this invention, in which FIG. 2 is a cross-sectional view taken in the direction of arrows A-A in FIG. 11, FIG. 3 is a cross-sectional view taken in the direction of arrows B-B in FIG. 11, and FIG. 4 is a cross-sectional view taken in the direction of arrows C-C in FIG. 11.
  • FIG. 2 is a cross-sectional view taken in the direction of arrows A-A in FIG. 11
  • FIG. 3 is a cross-sectional view taken in the direction of arrows B-B in FIG. 11
  • FIG. 4 is a cross-sectional view taken in the direction of arrows C-C in FIG. 11.
  • FIG. 2 is a
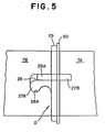
  • FIG. 5 is a fragmentary front view showing the construction of an axle connecting mechanism of the vehicular left/right drive force adjusting apparatus equipped with the hydraulic circuit construction according to the one embodiment of the present invention
  • FIG. 6 is an exploded perspective view showing the construction of an essential part of the axle connecting mechanism.
  • FIG. 7 through FIG. 10 are schematic front views all showing assembly steps of the axle connecting mechanism of the vehicular left/right drive force adjusting apparatus equipped with the hydraulic circuit construction according to the one embodiment of the present invention.
  • FIG. 11 is a transverse cross-sectional view showing as a revolved section a lower half part of the construction of an essential part of the vehicular left/right drive force adjusting apparatus equipped with the hydraulic circuit construction according to the one embodiment of the present invention.
  • FIG. 14 are schematic circuit diagrams showing various modifications of the hydraulic circuit construction according to the one embodiment of this invention for the vehicular left/right drive force adjusting apparatus.
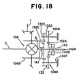
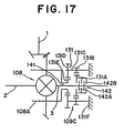
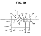
  • FIG. 15 through FIG. 23 are schematic fragmentary diagrams of vehicular left/right drive force adjusting apparatuses to each of which a hydraulic circuit construction according to the present invention can be applied.
  • FIG. 24 is a schematic circuit diagram showing a hydraulic circuit construction for a vehicular left/right drive force adjusting apparatus, which construction was contemplated in the course of the completion of the present invention.
  • the vehicular left/right drive force adjusting apparatus in this embodiment is adapted to perform adjustment of left and right drive forces for rear wheels in an automotive vehicle.
  • the apparatus is arranged on a side of rear wheels of a 4WD vehicle and can receive drive force, which has been outputted to the side of the rear wheels through a center differential (illustration omitted) at an input shaft 1 via a drive shaft, and can then distribute the drive force to the left wheel and the right wheel.
  • this apparatus is provided to connect the input shaft 1, to which rotational drive force distributed to the side of the rear wheels out of an engine output of an automotive vehicle is inputted, with the first and second output axles 2,3 which serve to output the drive force inputted from the input shaft 1.
  • the first output axle 2 is connected at a left end thereof with a drive system for a left wheel
  • the second output axle 3 is connected at a right end thereof to a drive system for a right wheel.
  • a differential mechanism S1 and a drive force transmission control mechanism S are interposed.
  • drive force to be transmitted to the first output axle 2 and the second output axle 3 can be distributed at a desired ratio while permitting a differential motion between the first output axle 2 and the second output axle 3.
  • the drive force transmission control mechanism S is provided with the shift mechanisms A and the multi-plate clutch mechanisms B as torque transmission mechanisms of the variable transmitted power amount control type.
  • These shift mechanisms A and multi-plate clutch mechanisms B are interposed between the first output axle 2 and the input shaft 1 and between the second output axle 3 and the input shaft 1, respectively, so that a rotational speed of the first output axle 2 or the second output axle 3 is increased by the shift mechanism A and then transmitted to the sheath axle 7 as a drive force transmitting auxiliary member.
  • the multi-plate clutch mechanism B is interposed between the sheath axle 7 and the differential case 13 on the side of the input axle 1.
  • drive force is returned from the sheath axle 7 on the side of a higher speed to the differential case 13 on the side of a lower speed because, as a general characteristic of clutch plates disposed in a face-to-face relationship, transmission of torque takes place from a faster side to a slower side.
  • the shift mechanism A described above is constructed of a so-called double planetary gear mechanism composed of two planetary gear mechanisms linearly connected together. Taking by way of example the shift mechanism A arranged on the second output axle 3, a description can be made as will be set out next.
  • a first sun gear 4A is fixed on the second output axle 3 by a spline and circlip 10.
  • the first sun gear 4A is meshed at an outer periphery thereof with the first planetary gear 5A.
  • the first planetary gear 5A is integrally formed with the second planetary gear 5B. Both the first planetary gear 5A and the second planetary gear 5B are formed as integral parts with the same number of teeth, that is, as a single planetary gear 5 in this embodiment.
  • first planetary gear 5A and second planetary gear 5B are rotatably supported via the pinion shaft 6A on the carrier 6 which is fixed on the casing 11 of the shift mechanism A, whereby the first planetary gear 5A and the second planetary gear 5B can undergo the same rotation about the pinion shaft 6A.
  • the second planetary gear 5B is rotatable in mesh with the second sun gear 4B.
  • the second sun gear 4B is mounted on the cylindrical sheath axle 7 rotatably supported on the second output axle 3 and is connected via the sheath axle 7 to the clutch plates 8A of the multi-plate clutch mechanism B.
  • the multi-plate clutch mechanism B is provided with the mutually opposing clutch plates 8A and clutch plates 8B which are accommodated in the differential case 13 inside a differential carrier 12.
  • the clutch plates 8B are stopped from rotation by a ridge 13a formed on an inner peripheral wall of the differential case 13. Since a bevel gear (ring gear) 9A constituting a differential 9 is fixed on the differential case 13, the other clutch plates 8B in the multi-plate clutch mechanism B are connected via the differential case 13 and the bevel gear 9A to the bevel gear (drive pinion) 9B which makes up the rear end of the input shaft 1.
  • the input shaft 1 is hence connected to the clutch plates 8B via the bevel gear 9A, the bevel gear 9B and the differential case 13.
  • a normal drive force transmission route which extends from the input shaft 1 to the first output axle 2 and the second output axle 3 via the bevel gear 9A, the bevel gear 9B, the differential case 13 and a differential mechanism 15
  • another drive force transmission route which extends from the first output axle 2 or the second output axle 3 to the side of the input shaft 1 via the shift mechanism A, the sheath axle 7, the multi-plate clutch mechanism B, the differential case 13, the bevel gear 9A and the bevel gear 9B.
  • the first gear 4A and the second sun gear 4B are formed with the same diameter but the first sun gear 4A is a profile shifted gear and has more teeth than the second sun gear 4B. Accordingly, a rotational speed of the second sun gear 4B is faster than that of the first sun gear 4A so that the shift mechanism A is constructed as a speed increasing mechanism.
  • the clutch plates 8A therefore have a higher rotational speed than the clutch plates 8B so that, when the multi-plate clutch mechanism B is brought into a desired state of engagement, a desired amount of torque is returned from the side of the second output axle 3 toward the side of the input shaft 1.
  • the shift mechanism A and the multi-plate clutch mechanism B on the side of the first output axle 2 are similarly installed, whereby the transmission of torque from the first output axle 2 to the side of the input shaft 1 can be controlled.
  • the differential mechanism S1 which permits differential rotation between the first output axle 2 and the second output axle 3 is constructed by a planetary gear mechanism, whereby the multi-plate clutch mechanism B and the differential mechanism S1 are provided in a pair within the same differential carrier 12.
  • the planetary gear mechanism as the differential mechanism S1 is provided with a ring gear 14, a planetary gear 15 and a sun gear 16.
  • the ring gear 14 is formed on an inner periphery of the differential case 13, the sun gear 16 is mounted on the second output axle 3, and a carrier 17 on which the planetary gear 15 is rotatably supported is mounted on the first output axle 2.
  • drive force inputted to the differential case 13 is inputted from the ring gear 14 to the planetary gear 15 and is then transmitted from the carrier 17 to the first output axle 2 and, further, is also inputted from the ring gear 14 to the sun gear 16 via the planetary gear 15 and then transmitted to the first output axle 2.
  • the planetary gear 15 is constructed in the double type that two pinions of an inner pinion and an outer pinion are meshed and integrated with each other. These inner pinion and outer pinion are both supported rotatably on the carrier 17, the outer pinion is rotatable in mesh with the ring gear 14, and the inner pinion is rotatable in mesh with the sun gear 16. They are set so that the direction of rotation on the side of the sun gear 16 conforms with that of rotation on the side of the ring gear 14.
  • differential mechanism S1 is disposed between the paired multi-plate clutch mechanisms B in the differential case 13
  • the differential mechanism S1 is constructed of a planetary gear mechanism and is hence compact in an axial direction so that the differential mechanism S1 and the multi-plate clutch mechanisms B are accommodated together within the conventional differential case 13.
  • the differential carrier 12 in which the differential case 13 is accommodated is therefore constructed of conventional parts.
  • the hollow cylindrical differential case 13 is arranged with small-diameter portions at opposite ends thereof being rotatably supported via bearings 18 in openings at opposite ends of the differential carrier 12.
  • the multi-plate clutch mechanism B is provided with a clutch portion B1 and a piston portion B2 for driving the clutch portion B1.
  • the clutch portion B1 has been constructed of clutch plates 8A and clutch plates 8B similar to those described above.
  • the clutch portion B1 is disposed within the differential case 13, while the piston portion B2 is arranged outside the differential case 13.
  • casings 11 of the shift mechanisms A are fitted inwardly, and small diameter portions 11A at basal ends of the casings are tightened and fixed by bolts 19, respectively.
  • a piston 20 which is provided with a sliding portion 20A extending along an inner wall of the small-diameter portion.
  • the piston 20 extends along the inner wall which in turn extends from the small-diameter portion 11A at the basal end of the casing 11 to a large-diameter portion 11B, and is formed as a stepped hollow cylinder equipped with the sliding portion 20A of small diameter and a sliding portion 20B of large diameter.
  • An annular vertical wall 20c located between the small-diameter sliding portion 20A and the large-diameter sliding portion 20B is constructed as a pressing wall. Between this pressing wall 20C and an inner wall 11C which extends from the basal end small-diameter portion 11A to the large-diameter portion 11B of the casing 11, a pressing operation compartment (pressing compartment) 20D is formed as hydraulic pressure input means.
  • an unillustrated hydraulic circuit is connected for feeding working oil thereto. Based on a control signal from a controller or the like, working oil of desired pressure is fed from the hydraulic pressure source to the pressurizing operation compartment 20D, so that the piston 20 is displaced over a desired distance.
  • the piston portion B2 of the multi-plate clutch mechanism B is formed in the casing 11 outside the differential case 13 as described above.
  • the hydraulic circuit is provided with a electric pump 70 as a pressure source, a relief valve 79 for limiting below predetermined limit pressure working oil pressurized by the electric pump 70 and fed out through a check valve 71, an accumulator 73 for storing the pressurized working oil, a proportional solenoid (proportional valve) 74 as a hydraulic pressure regulating member for regulating the pressure of the working oil from the accumulator 73 and outputting the working oil, an on-off solenoid 76 as a change-over valve for feeding the working oil, whose pressure has been regulated by the proportional solenoid 74, to one of the left and right, pressurizing operation compartments 20D,20D, and an oil reservoir 77 from temporarily storing oil discharged from various parts.
  • a electric pump 70 as a pressure source
  • a relief valve 79 for limiting below predetermined limit pressure working oil pressurized by the electric pump 70 and fed out through a check valve 71
  • an accumulator 73 for storing the pressurized working
  • a pressure switch 72 is disposed as a hydraulic pressure detection means.
  • a hydraulic pressure sensor 75 is arranged in a hydraulic pressure line between the proportional valve 74 and the change-over valve 76 as hydraulic pressure detection means.
  • a pressure switch 78R as hydraulic pressure detection means in a hydraulic pressure line between the above-described change-over valve 76 and the right-wheel pressurizing operation compartment 20D as well as a pressure switch 78L as hydraulic pressure detection means in a hydraulic pressure line between the above-described change-over valve 76 and the left-wheel pressurizing operation compartment 20D.
  • a controller 81 is also provided to control these hydraulic units.
  • the working oil pressurized by the electric pump 70 is guided to the proportional valve 74 by way of the check valve 71, the pressure switch 72 and the accumulator 73 and, further, to the pressurizing operation compartment 20D for one of the left and right clutch pistons via the change-over valve 76.
  • the proportional valve 74 is a solenoid valve for regulating the pressure of working oil in accordance with a current fed thereto, and is controlled by the controller 81 so that working oil of desired hydraulic pressure can be outputted while being feed-back controlled based on a detection signal from the hydraulic pressure sensor 75.
  • the pressure is regulated in proportion to a current so that, for example, the output hydraulic pressure becomes 0 when the feed current is 0 and the output hydraulic pressure becomes the maximum when the feed current is also the maximum.
  • any failure of the proportional valve 74 can be judged by the hydraulic pressure sensor 75.
  • the controller 81 is provided with a failure judgment unit (illustration omitted) which judges whether or not the proportional valve 74 is in failure while comparing a detection signal from the hydraulic pressure sensor 75 with that to the proportional valve 74.
  • control can still be effected to certain extent by adjusting hydraulic pressure by controlling an output from the electric pump 70.
  • the change-over valve 76 is a spool valve which, depending on the position of a spool 76A, communicates one of the oil compartment (pressurizing operation compartment) 20D for the left clutch and the oil compartment (pressurizing operation compartment) 20D for the right clutch with an output side of the proportional valve 74, and is driven by a solenoid 76B.
  • valve elements 76a and 76b Two valve elements, that is, a first valve element 76a and a second valve element 76b are formed on the spool 76A, and a space 76c defined between these valve elements 76a and 76b is normally maintained in communication with the output side of the proportional valve 74. Further, one of the lines extending to the left and right oil compartments 20D,20D can be communicated to the space 76c.
  • the spool 76A When the solenoid 76B is not operated, the spool 76A is caused to retreat by biasing force of a return spring 76C (in the drawing, the right-hand side is to be considered as a rear side) so that the spool takes a position at which the space is communicated to the right oil compartment 20D.
  • the solenoid 76B When the solenoid 76B is operated, the spool 76A is caused to advance against the return spring 76C so that the spool takes a position at which the space is communicated to the left oil compartment 20D.
  • the change-over valve 76 is designed to be controlled by the controller 81 so that the hydraulic pressure line is always communicated to only one of the left and right, pressurizing operation compartments 20D.
  • the pressure switch 72 is an ON-OFF switch which allows a signal to flow to the controller 81 when hydraulic pressure of at least a predetermined value is applied. It is therefore possible to check the state of an output from the electric pump 70.
  • the controller 81 is provided with the failure judgment unit (illustration omitted) which, depending on a detection signal from the pressure switch 72, judges whether the electric pump 70 is operating properly or is malfunctioned. When a failure (insufficient output) of the electric pump 70 is judged at the failure judging unit, a measure is taken such as controlling the proportional valve 74 accordingly or stopping the electric pump 70 so that distribution of any undesired torque can be avoided. In addition, when the electric pump 70 is operated excessively, the excess operation can be detected by means of the pressure switch 72. The proportional valve 74 is then controlled by the controller 81 to return any excess working oil to the oil reservoir 77. This makes it possible to avoid any unnecessary locking of the multi-plate clutch mechanisms B or any malfunction of the change-over valve 76.
  • the pressure switches 78R,78L are also designed to deliver a signal to the controller 81 when hydraulic pressure of at least a predetermined value is applied. It is hence possible to detect a failure of the change-over valve 76 or the like by checking if hydraulic pressure is applied to the hydraulic pressure line as controlled by the change-over valve 76. Namely, the controller 81 is provided with the failure judgment unit (illustration omitted) which, depending on a detection signal from the pressure switch 78R or 78L, judges whether the change-over switch 76 or the like is operating properly or is malfunctioned (for example, the hydraulic pressure line cannot be changed over).
  • a measure is taken such as throttling the proportional valve 74 or stopping the electric pump 70 so that distribution of any undesired torque can be avoided.
  • the hydraulic lines are completely sealed to avoid oil leakage or air mixing.
  • the spool 76A and the solenoid 76B are integrated to avoid oil leakage.
  • each hydraulic line must be worked out, for example, from a block or the like by drilling and each connected part thereof must be formed into a sealed structure, thereby inevitably leading to higher cost and greater weight.
  • FIG. 12 the construction illustrated in FIG. 12 can be contemplated, which is different from the above-described hydraulic circuit of FIG. 1 in that the hydraulic circuit has been partly modified and a measure has been incorporated against oil leakage and air mixing.
  • the hydraulic circuit shown in FIG. 12 has the construction that a part of the hydraulic circuit is submerged within an oil tank 82 as an oil compartment, thereby making it possible to avoid mixing of air in any intermediary part of the hydraulic circuit and also to permit leakage of oil from hydraulic pressure lines.
  • parts involving the potential problem of oil leakage or air mixing, specifically the proportional valve 74 and the change-over valve 76 are submerged in the working oil stored inside the oil tank 82.
  • the spool 76A and the solenoid 76B of the change-over valve 76 are provided as discrete members so that the solenoid 76B and the hydraulic circuit can be reduced in dimensions and the change-over valve 76 can be accommodated within the oil tank 82.
  • the oil tank 82 itself functions in a manner equivalent to the reservoir 77 in the hydraulic pressure system of the above embodiment, whereby the spool 76A can be driven while the working oil stored inside the oil tank 82 is fed suitably by the solenoid 76B.
  • an oil compartment 76D is formed on a side of an axial end of the spool 76A and a portion of the working oil is guided to the oil compartment 76D.
  • a valve 76F driven by the solenoid 76B is disposed in an oil line 76E which extends to the oil compartment 76D. By opening the valve 76F through the solenoid 76B, the working oil is supplied to the oil compartment 76D so that the spool 76A is driven rightwards as viewed in the drawing.
  • the spool 76A assumes a left-hand position as viewed in the drawing because of the return spring 76C.
  • valve bodies of the A/T type (of the type designed for hydraulic pressure systems for controlling automatic transmissions), said A/T type involving some oil leakage, in the hydraulic pressure lines inside the oil tank 82 can achieve a reduction in both size and weight.
  • This 3-mode change-over valve 110 can take three modes, that is, a communicating mode in which working oil whose pressure has been regulated by the proportional solenoid 74 is fed to one of the left and right, pressurizing operation compartments 20D,20D, another communicating mode in which the working oil is fed to the other pressurizing operation compartment, and a closing mode in which the working oil is not fed to any hydraulic pressure input means.
  • the pressure switch 72 is also disposed in the hydraulic pressure line which extends the location where the relief valve 79 is arranged and the location where the accumulator 73 is disposed.
  • the hydraulic pressure sensor 75 Arranged in the hydraulic pressure line between the proportional valve 74 and the 3-mode change-over valve 110 is the hydraulic pressure sensor 75.
  • the pressure switch 78R Disposed further are the pressure switch 78R in the hydraulic pressure line between the above-described 3-mode change-over valve 110 and the right-wheel pressurizing operation compartment 20D as well as the pressure switch 78L in the hydraulic pressure line between the above-described 3-mode change-over valve 110 and the left-wheel pressurizing operation compartment 20D.
  • the controller 81 is also provided to control these hydraulic units.
  • the working oil pressurized by the electric pump 70 is guided to the proportional valve 74 by way of the check valve 71, the pressure switch 72 and the accumulator 73 and, further, to the pressurizing operation compartment 20D for either the left or right clutch piston via the 3-mode change-over valve 110.
  • the working oil is blocked by the 3-mode change-over valve 110 so that it is fed to neither the left nor the right pressurizing operation compartment 20D.
  • the 3-mode change-over valve 110 is a spool valve which, depending on the position of a spool 110A, can take three modes, that is, a mode in which the output side of the proportional valve 74 is communicated to the oil compartment (pressurizing operation compartment) 20D of the left clutch, another mode in which the output side of the proportional valve 74 is communicated to the oil compartment (pressurizing operation compartment) 20D of the right clutch, and a further mode in which the output side of the proportional valve 74 is not communicated to any one of the left and right, pressurizing operation compartments 20D.
  • the 3-mode change-over valve is driven by a first solenoid 110B and a second solenoid 110C.
  • valve elements that is, a first valve element 110a and a second valve element 110b are formed on the spool 110A, and a space 110c defined between these valve elements 110a and 110b is normally maintained in communication with the output side of the proportional valve 74. Accordingly, the space 110c is communicated to one of the oil lines extending to the left and right oil compartments 20D,20D, respectively, or is not communicated to any one of the oil lines.
  • the spool 110A When the solenoid 110B is operated, for example, the spool 110A is driven leftward as viewed in the drawing through a shaft 110F so that the space is communicated to the oil line to the left oil compartment 20D.
  • the spool 110A When the solenoid 110C is operated, the spool 110A is driven rightward as viewed in the drawing through a shaft 110G so that the space is communicated to the oil line to the right oil compartment 20D.
  • the solenoids 110B,110C are operated under the control of the controller 81.
  • the controller 81 controls them so that one of the solenoids 110B,110C is operated or none of the solenoids 110B,110C is operated.
  • the 3-mode change-over valve 110 is designed to be communicated to only one of the hydraulic pressure lines to the left and right, pressurizing operation compartments 20D or not to be communicated to any one of the hydraulic pressure lines to the left and right, pressurizing operation compartments 20D.
  • a hydraulic sensor 54, the pressure switches 72,78R,78L, the failure judgment unit of the controller 81, and the like are arranged as in the embodiment (the embodiment of FIG. 1) to permit judgment of a failure of the proportional valve 74, detection of a malfunction of the 3-mode change-over valve 110 or the like.
  • the proportional valve 74 when the proportional valve 74 is in failure, for example, the failure can be coped, for example, by controlling an output of the electric pump 70.
  • the hydraulic lines are completely sealed to avoid oil leakage or air mixing.
  • the spool 110A and the solenoids 110B,110C are integrated to avoid oil leakage.
  • each hydraulic pressure line must be worked out, for example, from a block or the like by drilling and each connected part thereof must be formed into a sealed structure, thereby inevitably leading to higher cost and greater weight.
  • FIG. 14 can thus be contemplated, which is different from the hydraulic circuit of FIG. 13 in that the hydraulic circuit has been partly modified.
  • the hydraulic circuit shown in FIG. 14 corresponds to the hydraulic circuit of FIG. 12, and has the construction that a part of the hydraulic circuit is submerged within the oil tank 82, thereby making it possible to avoid mixing of air in any intermediary part of the hydraulic circuit.
  • the spool 110A and the solenoids 110B,110C of the change-over valve 76 are provided as discrete members so that the solenoids 110B,110C and the hydraulic circuit can be reduced in dimensions. It is also designed that the spool 110A is driven by working oil which is fed by the solenoid 110B or 110C.
  • Oil compartments 110H,110I are therefore formed on sides of opposite axial ends of the spool 110A and a portion of the working oil is guided to the oil compartments 110H,110I.
  • Valves 110L,110M driven by the solenoids 110B,110C are disposed in oil lines 110J,110K which extend to the oil compartments 110H,110I, respectively. By opening the valve 110L or 110M, the working oil is supplied to the oil compartment 110H or 110I so that the spool 110A is driven either rightwards or leftwards from a neutral position as viewed in the drawing.
  • valve bodies of the A/T type (of the type designed for hydraulic pressure systems for controlling automatic transmissions), said A/T type involving some oil leakage, in the hydraulic pressure lines inside the oil tank 82 can achieve a reduction in both size and weight.
  • a bearing 21 is fitted on the inner periphery of the large-diameter sliding portion 20B in the piston B2. Further, the sheath axle 7 is fitted on an inner periphery of the bearing 21. The sheath axle 7 is fixed on an inner ring of the bearing 21.
  • the piston B2 is disposed on the rotating part (sheath axle 7) via the bearing 21 outside the differential case 13.
  • the sheath axle 7 is therefore also driven axially over a predetermined distance by way of the bearing 21.
  • the sheath axle 7 is connected to the clutch plates 8A in the multi-plate clutch mechanism B.
  • the clutch plates 8A are also displaced so that the multi-plate clutch mechanism B is suitably controlled from a released state, in which the clutch plates 8A and 8B are separated from each other, to a semi-engaged state in which the clutch plates 8A and 8B are suitably engaged with each other while sliding against each other, and further to a fully-engaged state in which the clutch plates 8A and 8B are completely engaged with each other.
  • the sheath axle 7 is connected at a free end thereof to the second sun gear 4B via a spline mechanism so that the sheath axle 7 is normally rotated at a speed shifted by the shift mechanism A.
  • the piston 20, on the other hand, is constructed in a non-rotatable form so that it does not rotate, because the bearing 21 is interposed between the piston 20 and the sheath axle 7.
  • the piston 20 desirously does not rotate at all.
  • the piston 20 would however be frictionally induced to rotate together with the sheath axle 7 if the bearing 21 alone were interposed.
  • the piston B2 is therefore provided with a limit mechanism C which limits relative rotation between the piston 20 and the casing 11 as a piston retainer.
  • the limit mechanism C is composed of a pin 23 and a guide hole 20E of the piston 20.
  • the pin 23 axially extends at a right angle from the vertical inner wall 11C of the casing 11 toward the side of the piston 20 and is loosely inserted in the guide hole 20E.
  • rotation of the piston 20 is limited because the pin 23 is guided by the guide hole 20E.
  • Sealing structures 22 arranged between the piston 20 and the casing 11 are constructed as will be described next.
  • a lubricating operation compartment (operation compartment) 24 with lubricating oil (second fluid) stored therein is formed in such a way that the lubricating operation compartment is surrounded by the differential carrier 12 and the casing 11.
  • the piston 20 with the sliding portions 20A,20B formed thereon is disposed inside the lubricating operation compartment 24 on the side of the casing 11.
  • the sliding portion 20A is located in the small-diameter portion 11A at the basal end of the casing 11 while the sliding portion 20B is located in the large-diameter portion 11B of the casing 11.
  • pressurizing compartment 20D Formed between a stepped portion on an outer wall of the piston 20, said stepped portion being located between the sliding portion 20A and the sliding portion 20B, and a stepped portion on the inner wall 11C of the casing 11, said latter stepped portion being located between the small diameter portion 11A at the basal end and the large-diameter portion 11B, is the pressurizing compartment 20D which is divided from the lubricating operation compartment 24 and is fed with pressurized working oil.
  • the lubricating oil stored in the lubricating operation compartment 24 and the working oil stored in the pressurizing compartment 20D have different properties. It is hence necessary to prevent the lubricating oil from mixing in the working oil in the pressurizing compartment 20D or the working oil from mixing in the lubricating oil in the lubricating operation compartment 24.
  • the sealing structures 22 are interposed between an inner wall of the operation compartment 24 (namely, the casing 11) and the sliding portions 20A,20B of the piston, respectively.
  • Each sealing structure 22 is formed of lubricating operation compartment sealings (sealings for the second liquid) 22A,22D disposed on the side of the lubricating operation compartment (on the side of the differential case 13, that is, on the side of the shift mechanism A) and pressurizing compartment sealings (sealings for the pressurized working oil) 22B,22C arranged on the side of the pressurizing compartment 20D.
  • the lubricating operation compartment sealings 22A,22D and the pressurizing compartment sealings 22B,22C are arranged at an interval so that they do not interfere with each other within the ranges of their sliding motion.
  • the distances between the lubricating operation compartment sealings 22A,22D and the pressurizing compartment sealings 22B,22C are set at least as much as twice the stroke of the piston 20 so that, when the sealings 22A,22B,22C,22D slide on the inner wall of the casing 11, each oil scraped off from the inner wall does not penetrate the operation compartment on the side of the different oil.
  • the sealings 22A,22B,22C,22D are each formed of a D-ring fitted in a corresponding annular groove formed on the side of the piston 20.
  • the D-ring is resistant to deformation upon sliding.
  • the curved side of the D-ring is maintained in slidable contact with the inner wall 11C of the casing 11. The sealings are therefore prevented from self-rotation upon reciprocation of the piston 20.
  • grooves 25 are formed over the entire periphery, corresponding to positions between the lubricating operation compartment sealings 22A,22D and the pressurizing compartment sealings 22B,22C.
  • breeding passages 26 are formed which extend from the respective grooves 25 to the outside of the casing 11.
  • the grooves 25 are arranged between the sliding range of the lubricating operation compartment sealing 22A and that of the pressurizing compartment sealing 22B and between the sliding range of the lubricating operation compartment sealing 22D and that of the pressurizing compartment sealing 22C at positions not interfering with the respective sliding ranges.
  • the clutch portion B1 of the multi-plate clutch mechanism B is accommodated inside the differential case 13.
  • Left and right end portions 13A,13B of the differential case 13 are however constructed as support members upon pressurization of the clutch B1.
  • each multi-plate clutch mechanism B As the clutch portion B1 of each multi-plate clutch mechanism B is arranged inside the differential case 13, a clutch hub 8C connected to the sheath axle 7 is arranged more centrally than the clutch portion B1 so that the clutch portion B1 is disposed between the clutch hub 8C and the end portion 13A or 13B of the differential case 13.
  • the clutch hub 8C to be pressed by the piston 20 and a support member for bearing the pressing force are required.
  • the end portion 13A or 13B of the differential case 13 can function as a support member.
  • the multi-plate clutch mechanism B is brought into engagement by pulling action of the sheath axle 7 as described above.
  • the sheath axle 7 is constructed dividably into a piston-side member 7A and a clutch-side member 7B outside the differential case 13.
  • the piston-side member 7A and the clutch-side member 7B are connected together by a connecting mechanism D upon assembly.
  • the connecting mechanism D is constructed as shown in FIG. 1 and FIGS. 5 to 10.
  • the clutch-side member 7B is provided, at an end portion to be connected, with a hook 27 which is formed extending in the axial direction and, at a free end thereof, has a head portion 27A enlarged in a circumferential direction.
  • the clutch-side member 7B is provided, at an end portion to be connected, with an advancing channel 28 which is formed extending in the axial direction so that the advancing channel permits an axial advance of the hook 27 of the clutch-side member 7B.
  • a fitting portion 28A Formed at an inner end of the advancing channel 28 is a fitting portion 28A in which the head portion 27A of the hook 27 is fitted when rotated in the circumferential direction.
  • a ring 29 whose inner diameter is formed substantially equal to the outer diameter of the piston-side member 7A.
  • a stopper 29A of a desired size is provided extending inwardly from an inner periphery of the ring 29. The stopper 29A is received in a space which is formed between the advancing groove 28 and the hook 27 upon fitting engagement between the head portion 27A of the hook 27 and the fitting portion 28A of the advancing groove 28.
  • the stopper is therefore formed as a holding member which is adapted to hold the head portion 27A of the hook 27 and the fitting portion 28A of the advancing groove 28 in the fitted state.
  • the stopper 29A is formed so that it can be fitted and inserted in a retreating channel 27B formed in a basal portion of the piston-side member 7A, from which basal portion the hook 27 extends out, on a side where the head portion 27A is not formed.
  • the axial depth of the retreating channel 27B is dimensioned to conform with the axial length of the stopper 29A.
  • the width of the advancing groove 28 in the piston-side member 7A is set to conform with the sum of the width of the stopper 29A in the ring 29 and the width of the hook 27 in the piston-side member 7A.
  • a snap ring fitting slot 27C is formed over the entire circumference.
  • the ring 29 is fitted on the piston-side member 7A, and the stopper 29A is caused to enter the retreating channel 27B and to retreat fully. As a result, the free end of the stopper 29A is registered with the free edge of the connected end of the piston-side member 7A.
  • the hook 27 of the piston-side member 7A is caused to advance in the advancing channel 28 of the clutch-side member 7B and, when the hook has advanced fully, the piston-side member 7A and the clutch-side member 7B are rotated relative to each other so that, as depicted in FIG. 9, the head portion 27A of the hook 27 is fitted in the fitting portion 28A of the advancing channel 28.
  • a space is formed behind the head portion 27A, namely, between the head portion 27A and the advancing channel 28.
  • the ring 29 is moved toward the clutch-side member 7B to have the stopper 29A received in the space as depicted in FIG. 10.
  • the snap ring 30 is to be fitted in the snap ring fitting slot 27C. Since a rear end of the stopper 29A is located immediately ahead of the snap ring fitting slot 27C, the fitting work of the snap ring 30 is carried out readily.
  • the stopper 29A Since the stopper 29A is prevented by the snap ring 30 from retreating toward the piston-side member 7A, the stopper 29A serves as a lock member for holding the head portion 27A of the hook 27 and the fitting portion 28A of the advancing channel 28 in the fitted state.
  • the advancing channel 28 is filled by the hook 27 and the stopper 29A and this state is maintained by the snap ring 30. Accordingly, transmission of rotational force between the piston-side member 7A and the clutch-side member 7B is therefore effected through the hook 27 and the stopper 29A whereas transmission of drive force in the axial direction between the piston-side member 7A and the clutch-side member 7B is performed through the engagement between the head portion 27A of the hook 27 and the fitting portion 28A of the advancing channel 28.
  • the connecting mechanism D is designed to permit transmission of both rotational force and axial force.
  • the hook 27, the head portion 27A, the advancing channel 28 and the fitting portion 28A are each formed of a set of planes as illustrated in FIGS. 6 through 10. Besides, each of them can also be formed in a smoothly-curved configuration as shown in FIG. 5. In this case, the fitting between the head portion 27A and the fitting portion 28A can be achieved smoothly while being guided by their curved configurations.
  • the connecting mechanism D assembled as described above is arranged inside a bearing of the differential case 13.
  • the connecting mechanism D at the sheath axle 7 as a drive force transmitting auxiliary member and a piston drive force transmitting member is maintained in sliding contact with the bearing of the differential case 13 via a bushing 35, so that a peripheral wall of the connecting mechanism D is not brought into direct contact with the bearing.
  • shift mechanism A its outline has been described above. Its planetary gear mechanism will hereinafter be described in detail.
  • first sun gear 4A and the second sun gear 4B are meshed with the first planetary gear 5A and the second planetary gear 5B which are formed as an integral unit. Displacing force by the piston 20 is axially applied to the second sun gear 4B by way of the sheath axle 7.
  • first planetary gear 5A, the second planetary gear 5B, the first sun gear 4A and the second sun gear 4B are held by the two-piece planetary carrier 6 (61,62) via the bearing 30 so that axial force is supported by the carrier 6.
  • the two-piece planetary carriers 6 (61,62) are fixed to each other by bolts 31. Further, pinion shaft mounting holes 61A,62A are formed in the planetary carriers 6 (61,62) to fit both opposite end portions of the pinion shaft 6A therein.
  • a stopper ring 32 of a predetermined thickness in contact with the outer wall of the planetary carrier 62 is also provided.
  • This stopper ring 32 has a planar configuration as illustrated in FIG. 3.
  • Fitting slits 33 are formed at desired positions in a free end portion of the pinion shaft 6A. With the free end portion of the pinion shaft 6A extending outwardly from the planetary carrier 61 through the pinion shaft mounting holes 61A,62A, the stopper ring 32 is fitted at predetermined parts thereof on the free end portion.
  • the stopper ring 32 is provided with pinion shaft advance permitting portions 32A and pinion shaft lock portions 32B.
  • the pinion shaft advance permitting portions 32A permit axial movement of the pinion shaft 6A, while the pinion shaft lock portions 32B lock axial movement of the pinion shaft 32 by fitting engagement with the fitting slits 33.
  • the pinion shaft advance permitting portions 32A of the stopper ring 32 are formed as indentations formed by cutting off an inner periphery of the stopper ring 32, so that the inner periphery other than the pinion shaft advance permitting portions 32A does not permit insertion of the pinion shaft 6A.
  • the fitting slits 33 in the pinion shaft 6A are open radially and outwardly in the free end portion of the pinion shaft 6A and are formed to a depth about one third of the diameter of the pinion shaft 6A.
  • the diameter of the inner periphery of the stopper ring 32 is set a little greater than the bottom of the fitting slit 33 in the pinion shaft 6A so that an inner peripheral portion of the stopper ring 32 is fitted in the fitting slit 33 to axially lock the pinion shaft 6A.
  • bolt inserting holes 32C are formed as bolt attachment portions which permit attachment of the bolts 31 to the planetary carrier 6A while maintaining the fitted state of the stopper ring 32 and the fitting slit 33.
  • the pinion shaft 6A is first inserted and fitted from the side of the axial end of the output axle 2 or 3. At this time, the stopper ring 32 is brought into contact with the outer wall of the planetary carrier 62 and the pinion shaft advance permitting portions 32A are brought into registration with the pinion shaft mounting holes 61A,62A.
  • the pinion shaft 6A is inserted through the pinion shaft mounting holes 61A,62A and the pinion shaft advance permitting portions 32A so that the free end thereof extends outwardly from the outer wall of the planetary carrier 62. In this state, the pinion shaft 6A is rotated and adjusted so that the fitting slits 33 of the pinion shaft 6A are directed outwardly in the radial direction.
  • the stopper ring 32 is rotated to adjust its position so that the bolt inserting holes 62B of the planetary carrier 62 can be seen through the bolt inserting holes 32C.
  • the pinion shaft lock portions 32B formed of the inner peripheral portion of the stopper ring 32 are automatically fitted in the fitting slits 33 of the pinion shaft 6A, whereby axial movement of the pinion shaft 6A is locked.
  • the bolts 31 are then tightened through the bolt inserting holes 62B, so that the planetary carrier 6 (61,62) is tightened and fixed to complete the fixing of the pinion shaft 6A.
  • Each bolt 31 is formed so that, during its attachment, an upper end of its head portion projects from the out wall of the stopper ring 32. Even if the stopper ring 32 begins to rotate, the head portion of the bolt 31 stops the peripheral edge of the corresponding bolt inserting hole 32C of the stopper ring 32 so that the stopper ring is prevented from rotation.
  • a lubrication system for each pinion shaft 6A and the first and second planetary gears 5A,5B is constructed as will be described next.
  • an oil catch 41 is formed in the planetary carrier 62 at a portion thereof which becomes a top portion when the apparatus is mounted on a vehicle. Also formed are oil feeding holes 42 which communicate from the oil catch 41 to the corresponding pinion shaft mounting hole 62A.
  • a pinion-shaft-side oil feed hole 6B is formed extending axially through an axial central portion thereof and oil guide channels 6C are also provided extending from the pinion-shaft-side oil feed hole 6B to the outer periphery of the pinion shaft 6A.
  • the pinion-shaft-side oil feed hole 6B is communicated to the outer periphery of the pinion shaft 6A at an end portion thereof. This communication opening is in registration with an opening of the oil feeding hole 42 in the inner periphery of the mounting hole 62A in the planetary carrier 62, so that the pinion-shaft-side oil feed hole 6B and the oil feeding hole 42 are communicated with each other via the end portion of the pinion shaft 6A and the pinion shaft mounting hole 62A.
  • operation of the apparatus causes the first planetary gear 5A and the second planetary gear 5B to rotate about the corresponding output axles 2 or 3, whereby the lubricating oil inside the casing 11 is scraped up.
  • the lubricating oil so scraped up then drops into the oil catch 41 in the top of the planetary carrier 62 and is retained there.
  • the lubricating oil retained in the oil catch 41 as described above is fed under the action of gravity to the mounting hole 62A of the corresponding pinion shaft 6A through the oil feeding holes 42.
  • the lubricant oil so fed flows into the pinion-shaft-side oil feed hole 6B in the axially central portion of the pinion shaft 6A and is then guided through the oil guide channels 6C to rotatably supported portions of the planetary gears 5A,5B on the outer periphery of the pinion shaft 6A.
  • the first planetary gear 5A and the second planetary gear 5B in the shift mechanism A are formed with the same number of teeth as the single-piece pinion 5 as described above. However, these first and second planetary gears 5A,5B are generally formed with different numbers of teeth as already described above with reference to FIG. 11.
  • the shift mechanism A therefore becomes greater in the direction of its width, thereby making it impossible to satisfy the condition for the apparatus that it must be installed in a limited small space.
  • the apparatus cannot therefore be mounted on an actual vehicle.
  • the first planetary gear 5A and the second planetary gear 5B are integrally formed with the same number of teeth, and the first sun gear 4A and the second sun gear 4B rotatable in mesh with the first planetary gear 5A and the second planetary gear 5B are provided with teeth in different numbers by using profile shifted gears.
  • FIGS. 2 and 4 there are shown a level plug 11a, a magnet plug 11b, an air breeder 11c and a hydraulic pressure feeding port 11d.
  • the multi-plate clutch mechanism B on the side of the second output axle 3 is brought into a desired state of engagement so that torque is transmitted from the clutch plates 8A increased in speed by the shift mechanism A to the clutch plates 8B rotating at a normal speed and a desired amount of drive torque inputted to the second output axle 3 is hence returned to the input shaft 1.
  • torque is transferred to the first output axle 2.
  • the drive torque to be transmitted to the first output axle 2 therefore becomes greater by the desired amount than the drive torque to be transmitted to the second output axle 3, whereby the desired torque distribution can be achieved.
  • the distribution ratio is adjusted by the level of fluid pressure to be fed to the multi-plate clutch mechanism B. This is effected by adjusting the amount of torque to be returned, that is, by controlling the displacement of the piston 20 so that the degree of engagement of the multi-plate clutch mechanism B is adjusted.
  • torque distribution is adjusted by transferring a desired amount of torque of one of the axles to the other axle instead of adjusting the torque distribution by using energy loss such as a brake. It is therefore possible to distribute torque at a desired ratio without causing any substantial torque loss or energy loss.
  • the working oil is fed by the change-over valve 76 (or 110)to only one of the two hydraulic pressure lines connected to the left and right, pressurizing operation compartments 20D,20D, thereby eliminating the potential problem that fluid pressure may be fed simultaneously to the left and right, multi-plate clutch mechanisms B.
  • the working oil pressurized by the electric pump 70 is guided to the proportional valve 74 via the check valve 71, the pressure switch 72 and the accumulator 73.
  • the working oil is regulated to desired hydraulic pressure at the proportional valve 74 through the controller 81, and the working oil so regulated is delivered to the change-over valve 76 (110).
  • the working oil then flows from the change-over valve 76 (110) and then through one of the two hydraulic pressure lines connected to the left and right, pressurizing operation compartments 20D,20D, whereby the piston 20 is displaced.
  • the change-over valve 76 (110) fails, the failure can be detected by the pressure switch 78R or the pressure switch 78L.
  • the feeding of the working oil to the oil line from the change-over valve 76 (110) to the multi-plate clutch mechanism B is then stopped, for example, by regulating an output from the proportional valve 74 through the controller 81. It is therefore possible to avoid such an inconvenience that, upon failure of the change-over valve 76 (110), only one of the left and right, multi-plate clutch mechanism B is locked although such locking is not desired.
  • the electric pump 70 fails (including an insufficient output), undesired torque distribution can be avoided by a measure, for example, by controlling the proportional valve 74 accordingly or by stopping the electric pump 70. If the electric pump 70 fails (is operated excessively), this failure can be detected through the pressure switch 72. By controlling the proportional valve 74 through the controller 81, surplus working oil is returned to the oil reservoir 77. Since the working oil fed by the electric pump 70 is not fed to the change-over valve 76, it is possible to avoid unnecessary locking of the multi-plate clutch mechanism B or a malfunction of the change-over valve 76.
  • valve bodies of the A/T type which involves some oil leakage can be applied to the hydraulic circuit. This makes it possible to reduce the size and weight of the hydraulic system while assuring a high level of accuracy in the adjustment of hydraulic pressure.
  • Operation of the clutch B1 in the multi-plate clutch mechanism B is effected by driving the piston B2 arranged outside the differential case 13 and pressing the clutch B1 disposed in the differential case 13.
  • the vehicular left/right drive force adjusting apparatus can be made smaller in the widthwise direction.
  • the arrangement of the piston B2 outside the differential case 13 makes it possible to set the outer diameter of the piston 20 without being limited by the outer diameter of the differential case 13, so that the piston 20 can be provided with a large effective pressing area.
  • Engagement force required for the clutch B1 can therefore be obtained by a small stroke of the piston 20, so that a widthwise size reduction of the vehicular left/right drive force adjusting apparatus can be achieved.
  • the clutch hub 8C is pulled by the piston 20 via the sheath axle 7 so that the clutch plates 8A and the clutch plates 8B are pressed against each other.
  • the pressing of the clutch plates is effected because the clutch plates 8B are supported by the end portion 13A or 13B of the differential case 13. Accordingly, engagement of the multi-plate clutch mechanism B is performed while using the differential case 13 as a support member.
  • the multi-plate clutch mechanism B generally requires a reaction force member (support member) for supporting pressing force.
  • the differential case 13 can serve as a support member because the sheath axle 7 is designed to serve as a pulling member upon engagement of the multi-plate clutch mechanism B.
  • differential case 13 can be used as a support member, it is unnecessary to additionally provide a support member so that the vehicular left/right drive force adjusting apparatus can be designed smaller in the widthwise direction.
  • the piston 20 is driven.
  • the piston 20 is provided with the limit mechanism C.
  • the pin 23 is guided by the guide hole 20E and rotation of the piston 20 is limited.
  • the clutch B1 and the piston B2 in the multi-plate clutch mechanism B are connected via the sheath axle 7. This has made it possible to arrange the clutch B1 inside the differential case 13 and the piston B2 outside the differential case 13.
  • the installation of the clutch B1 is conducted by ounting the clutch B1, which is in a state assembled beforehand in the differential case 13, on the differential carrier 12.
  • the installation of the piston B2 is effected by assembling the piston B2 in the casing 11 of the shift mechanism A in advance.
  • the sheath axle 7 which connects the clutch B1 and the piston B2 together, in a form splittable into two parts, one being on the side of the differential case 13 and the other on the side of the shift mechanism A.
  • the sheath axle 7 is divided in the piston-side member 7A and the clutch-side member 7B, which are connected together by the connecting mechanism D.
  • the piston B2 can be installed on the side of the shift mechanism A while arranging the clutch B1 in the differential case 13. This has made it possible to assemble the mechanism of the present embodiment.
  • connection of the piston-side member 7A and the clutch-side member 7B of the sheath axle 7 by the connecting mechanism D can be achieved easily. Transmission of rotational force from the shift mechanism A as well as transmission of drive force along the axis of the piston B2 in the multi-plate clutch mechanism B can be performed without failure owing to the characteristics of the connecting mechanism D.
  • the planetary carrier 6 (61,62) in the shift mechanism A has to be designed splittable into two pieces because axial drive force is applied to the second sun gear 4B.
  • the planetary carrier 61 and the planetary carrier 62 can be readily put together by the stopper ring 32 in accordance with the procedures described above, thereby permitting efficient assembly of the shift mechanism A.
  • Lubrication between the first planetary gear 5A and second planetary gear 5B and the pinion shaft 6A in the shift mechanism A is effected without problem from the oil catch 41 and through the oil feeding hole 42, the pinion-shaft-side oil feed hole 6B and the oil guide channel 6C as described above.
  • the sealing mechanism 22 on the piston B2 operates as will be described next.
  • the lubricating operation compartment sealings 22A,22D and the pressurizing operation compartment sealings 22B,22C are arranged at an interval there-between to avoid any mutual interference within the ranges of their sliding motion, the interiors of the differential carrier 12 and the casing 11 as the lubricating operation compartment 24, which contains a prescribed amount of lubricating oil, and the pressurizing compartment 20D divided by the piston 20 and fed with pressurized working oil are maintained liquid tight without failure.
  • oil of relatively high viscosity (hypoid gear oil or the like) is stored as lubricating oil inside the lubricating operation compartment 24.
  • ATF automatic transmission fluid
  • power steering oil of relatively low viscosity or the like oil is used to provide the piston 20 with good operation responsibility. If mixing of these oils takes place, there is the potential problem that seizure may occur in the lubricating operation compartment 24 or the operation responsibility of the piston 20 in the pressurizing compartment 20D may be impaired.
  • the grooves 25 are formed in the inner wall of the lubricating operation compartment 24 over the entire periphery at the locations corresponding to the positions between the lubricating operation compartment sealings 22A,22D and the pressurizing compartment sealings 22B,22C, respectively, and the breeding passages 26 are provided extending to the respective grooves 25 formed in the lower part of the inner wall of the lubricating operation compartment 24.
  • Any lubricating oil or pressured working oil leaked out from the lubricating operation compartment 24 or the pressurizing compartment 20D is therefore retained in the corresponding groove 25 formed in the inner wall over the entire periphery thereof and prevented from penetrating into the lubricating operation compartment 24 or the pressurizing compartment 20D. Operation of each operation compartment can therefore be performed well.
  • the structures of the 2-mode change-over valve 76 and 3-mode change-over valve 110 are not limited to the illustrated structures.
  • any change-over valve can be used as long as it can take either one of a communicating mode in which desired hydraulic pressure is fed from the proportional valve (hydraulic pressure regulating means) 74 to one of the left and right pressurizing compartments (hydraulic pressure input means) 20D and another communicating mode in which the desired hydraulic pressure is fed to the other pressurizing compartment (hydraulic pressure input means) 20D.
  • any 3-mode change-over valve can be used insofar as it can take any one of three modes, that is, a communicating mode in which desired hydraulic pressure is fed from the proportional valve (hydraulic pressure regulating means) 74 to one of the left and right pressurizing compartments (hydraulic pressure input means) 20D, another communicating mode in which the desired hydraulic pressure is fed to the other pressurizing compartment (hydraulic pressure input means) 20D, and a closing mode in which no hydraulic pressure is fed to any one of the pressurizing compartments (hydraulic pressure input means) 20D.
  • a communicating mode in which desired hydraulic pressure is fed from the proportional valve (hydraulic pressure regulating means) 74 to one of the left and right pressurizing compartments (hydraulic pressure input means) 20D
  • another communicating mode in which the desired hydraulic pressure is fed to the other pressurizing compartment (hydraulic pressure input means) 20D
  • a closing mode in which no hydraulic pressure is fed to any one of the pressurizing compartments (hydraulic pressure input means) 20D.
  • change-over valve useful in the present invention is not limited to such 2-mode change-over valve 76 and 3-mode change-over valve 110. Any change-over valve can be used as long as it has at least the construction that hydraulic pressure can be fed to either one of the left and right pressurizing compartment (hydraulic pressure input means) 20D and no hydraulic pressure is fed to both the pressurizing compartments 20D at the same time.
  • the vehicular left/right drive force adjusting apparatus shown in FIG. 16, for example, is different from the above-described embodiment in the construction of a shift mechanism 120 of a drive force transmitting control mechanism 109A. Since a first sun gear 120A is formed smaller in diameter than a second sun gear 120E, the second sun gear 120E rotates slower than the first sun gear 120A. The shift mechanism 120 therefore serves as a speed-decreasing mechanism.
  • clutch plates 112A rotate at a lower rotational speed than clutch plates 112B so that, when a multi-plate clutch mechanism 112 on the side of the right wheel is engaged, torque in an amount corresponding to the state of the engagement is fed from the side of the input shaft 1 to the side of the right-wheel axle 3.
  • a shift mechanism 120 and, as a torque transmission mechanism of the variable transmitted power amount type, a multi-plate clutch mechanism 112, both mounted on the left-wheel axle 2, are constructed similarly.
  • the multi-plate clutch mechanism 112 on the side of the left-wheel axle 1 is caused to engage adequately in accordance with the amount to be distributed (distribution ratio).
  • the multi-plate clutch mechanism 112 on the side of the right-wheel axle 3 is caused to engage properly in accordance with the distribution ratio.
  • each multi-plate clutch mechanism 112 is of the hydraulically driven type.
  • the state of engagement of the multi-plate clutch mechanism 112 can therefore be controlled by adjusting the level of hydraulic pressure, whereby the amount of drive force to be fed from the input shaft 1 to the left-wheel axle 2 or the right-wheel axle 3 (in other words, the left-to-right distribution ratio of drive force) can be adjusted with an adequate level of accuracy.
  • this modification is also designed so that the left and right multi-plate clutch mechanisms 112 are not brought into full engagement at the same time. Namely, it is designed that, when one of the left and right multi-plate clutch mechanisms 112 is fully engaged, the other multi-plate clutch mechanism 112 is allowed to develop at least some slip.
  • numeral 111 corresponds to numeral 7 in the embodiment and designates a hollow axle (sheath axle).
  • the vehicular left/right drive force adjusting apparatus shown in FIG. 17 is different from the above-described embodiment in the construction of a shift mechanism 131 and a multi-plate clutch mechanism 142 in each drive force transmission control mechanism 109C.
  • a description will be made of the right-hand mechanism.
  • Designated at numeral 108 is a differential mechanism (rear differential).
  • the shift mechanisms 131 are arranged on left and right side walls of the differential case 108A on the side of the input shaft 1.
  • Each shift mechanism is constructed of two sets of planetary gear mechanisms connected in series, that is, a first sun gear 131A, a second sun gear 131E, a first planetary gear 131B, a second planetary gear 131D, a pinion shaft 131C, and a planetary carrier 131F.
  • a plate portion of the first sun gear 131A serves as a drive force transmitting auxiliary member 141.
  • the multi-plate clutch mechanism 142 Interposed between the drive force transmitting auxiliary member 141 and the right-wheel axle 3 is the multi-plate clutch mechanism 142 as a torque transmission mechanism of the variable transmitted power amount type.
  • the multi-plate clutch mechanism 142 is formed of clutch plates 142B on the side of the axle 3 and clutch plates 142B on the side of the drive force transmitting auxiliary member 141, said former clutch plates and said latter clutch plates being alternately juxtaposed. The state of their engagement is adjusted depending on hydraulic pressure fed from an unillustrated hydraulic pressure system.
  • a transmission path of drive force is established extending from the side of the axle 3 to a differential case 108A on the side of the input shaft 1 via the multi-plate clutch mechanism 142, the first sun gear 131A, the first planetary gear 131B, the second planetary gear 131D and the second sun gear 131E.
  • the shift mechanism 131 therefore serves as a speed-decreasing mechanism, so that the drive force transmitting auxiliary member 141 is made slower than the side of the input shaft 1.
  • the clutch plates 142A therefore rotate at a higher speed than the clutch plates 142B.
  • torque in an amount corresponding to the state of the engagement is therefore fed (returned) from the side of the right-wheel axle 3 to the side of the input shaft 1.
  • the shift mechanism 131 and the multi-plate clutch mechanism 142 which are both arranged on the left-wheel axle 2, are also constructed similarly.
  • the multi-plate clutch mechanism 142 on the side of the right-wheel axle 3 is caused to engage adequately in accordance with the amount to be distributed (distribution ratio).
  • the multi-plate clutch mechanism 142 on the side of the left-wheel axle 3 is caused to engage properly in accordance with the distribution ratio.
  • each multi-plate clutch mechanism 142 is of the hydraulically driven type, the state of engagement of the multi-plate clutch mechanism 142 can be controlled by adjusting the level of hydraulic pressure so that the amount of drive force to be fed from the input shaft 1 to the left-wheel axle 2 or the right-wheel axle 2 (in other words, the left-to-right distribution ratio of drive force) can be adjusted with an adequate level of accuracy.
  • This modification is also designed so that the left and right multi-plate clutch mechanisms 142 are not brought into full engagement at the same time. Namely, it is designed that, when one of the left and right multi-plate clutch mechanisms 142 is fully engaged, the other multi-plate clutch mechanism 142 is allowed to develop at least some slip.
  • a first sun gear 132A is formed smaller in diameter than a second sun gear 132E.
  • the second sun gear 132E therefore rotates at a lower speed than the first sun gear 132A, whereby the shift mechanism 132 serves as a speed-increasing mechanism so that the drive force transmitting auxiliary member 141 is increased in speed than the side of the input shaft 1.
  • the clutch plates 142A therefore rotate at a lower speed than the clutch plates 142B.
  • torque in an amount corresponding to the state of the engagement is therefore fed from the side of the input shaft 1 to the side of the right-wheel axle 3.
  • the shift mechanism 132 and the multi-plate clutch mechanism 142 are also constructed similarly.
  • the multi-plate clutch mechanism 142 on the side of the left-wheel axle 2 is caused to engage adequately in accordance with the amount to be distributed (distribution ratio).
  • the multi-plate clutch mechanism 142 on the side of the right-wheel axle 3 is caused to engage properly in accordance with the distribution ratio.
  • each multi-plate clutch mechanism 142 is of the hydraulically driven type, the state of engagement of the multi-plate clutch mechanism 142 can be controlled by adjusting the level of hydraulic pressure so that the amount of drive force to be fed from the input shaft 1 to the left-wheel axle 2 or the right-wheel axle 3 (in other words, the left-to-right distribution ratio of drive force) can be adjusted with an adequate level of accuracy.
  • This modification is also designed so that the left and right multi-plate clutch mechanisms 142 are not brought into full engagement at the same time. Namely, it is designed that, when one of the left and right multi-plate clutch mechanisms 142 is fully engaged, the other multi-plate clutch mechanism 142 is allowed to develop at least some slip.
  • each drive force transmission control mechanism 109E is provided with a shaft (countershaft) 151 in parallel with the axles 2,3.
  • a middle-diameter gear 152, a large-diameter gear 153 and a small-diameter gear 154 are mounted on the shaft 151.
  • One of the axles that is, the axle 2 is provided with a middle-diameter gear 159 which is rotatable in mesh with the middle-diameter gear 152, while the other axle 3 is provided with a small-diameter gear 155 meshed with the large-diameter gear 153 and also with a large-diameter gear 156 meshed with the small-diameter gear 154.
  • the combination of these gears 159,152,153,155 constructs a speed-increasing mechanism as a shift mechanism, while the combination of the gears 159,152,154,156 makes up a speed-reducing mechanism as another shift mechanism.
  • hydraulic multi-plate clutches 157,158 are interposed, respectively, as torque transmission mechanisms of the variable transmitted power amount type.
  • the multi-plate clutches 157,158 can also be mounted on the shaft 151.
  • the shaft 151 rotates at the same speed as the axle 2 but the small-diameter gear 155 on the axle 3 rotates at a higher speed than these shaft 151 and axle 2.
  • the small-diameter gear 155 rotates at a higher speed than the axle 3.
  • the large-diameter gear 156 on the axle 3 rotates at a lower speed than these shaft 151 and axle 2 but, during normal running in which no substantial differential motion takes place between the left wheel and the right wheel, rotates at a higher speed than the axle 3.
  • the state of engagement of the multi-plate clutch mechanism 157,158 can be controlled by adjusting the level of hydraulic pressure so that the amount of drive force to be fed from the input shaft 1 to the left-wheel axle 2 or the right-wheel axle 3 (in other words, the left-to-right distribution ratio of drive force) can be adjusted with an adequate level of accuracy.
  • This modification is also designed so that the two multi-plate clutch mechanisms 157,158 are not brought into full engagement at the same time. Namely, it is designed that, when one of the two multi-plate clutch mechanisms 157,158 is fully engaged, the other multi-plate clutch mechanism is allowed to develop at least some slip.
  • the input shaft 1 to which rotational drive force is inputted
  • the left-wheel axle 2 and right-wheel axle 3 adapted to output drive force inputted through the input shaft 1.
  • the vehicular left/right drive force adjusting apparatus is interposed.
  • a drive force transmission control mechanism 109F of the vehicular left/right drive force adjusting apparatus can distribute drive force at a desired ratio to the left-wheel axle 2 and the right-wheel axle 3 while permitting a differential motion between the left-wheel axle 2 and the right-wheel axle 3.
  • shift mechanisms 160 and multi-plate clutch mechanisms 112 are interposed, respectively.
  • a rotational speed of the left-wheel axle 2 or the right-wheel axle 3 is decreased by the corresponding shift mechanism 160 and is outputted to the hollow axle 111 as an output means (drive force transmitting auxiliary member) of the shift mechanism.
  • Each multi-plate clutch mechanism 112 is interposed between the hollow axle 111 and the differential case 108A on the side of the input shaft 1. By causing the multi-plate clutch mechanism 112 to engage, drive force is fed from the differential case 108A on the side of a higher speed to the hollow axle 111 on the side of a lower speed because, as a general characteristic of clutch plates disposed in a face-to-face relationship, transmission of torque takes place from a faster side to a slower side.
  • Each shift mechanism 160 described above is constructed of a single planetary gear mechanism. This will be described next, taking as an example the shift mechanism 160 mounted on the right-wheel axle 3.
  • a sun gear 160A is fixed on the right-wheel axle 3. This sun gear 160A is meshed at an outer periphery thereof with a planetary gear (planetary pinion) 160B.
  • a pinion shaft 160C on which the planetary gear 160B is rotatably supported is supported for rotation on the hollow axle 111, so that the hollow axle 111 can function as a carrier for the planetary gear mechanism.
  • the planetary gear 160B on the other hand, is maintained in meshing engagement with a ring gear 160D which is fixed on a case of the drive force transmission control mechanism 109F or the like to prevent rotation.
  • a revolution speed of the planetary gear 160B is lower than a corresponding rotational speed of the sun gear 160A so that the hollow axle (namely, an output portion of the shift mechanism 160) 111 rotates at a lower speed than the right-wheel axle 3.
  • the shift mechanism 160 therefore functions as a speed-decreasing mechanism.
  • the clutch plates 112A therefore rotate at a lower speed than the clutch plates 112B.
  • torque in an amount corresponding to the state of the engagement is fed from the side of the input shaft 1 to the side of the right-wheel axle 3.
  • the shift mechanism 160 and the multi-plate clutch mechanism 112, both mounted on the left-wheel axle 2, are constructed similarly.
  • the multi-plate clutch mechanism 112 on the side of the left-wheel axle 2 is caused to engage adequately in accordance with the amount to be distributed (distribution ratio).
  • the multi-plate clutch mechanism 112 on the side of the right-wheel axle 3 is caused to engage properly in accordance with the distribution ratio.
  • each multi-plate clutch mechanism 112 is of the hydraulically driven type, the state of engagement of the multi-plate clutch mechanism 112 can be controlled by adjusting the level of hydraulic pressure so that the amount of drive force to be fed from the input shaft 1 to the left-wheel axle 2 or the right-wheel axle 3 (in other words, the left-to-right distribution ratio of drive force) can be adjusted with an adequate level of accuracy.
  • This modification is also designed so that the left and right multi-plate clutch mechanisms 112 are not brought into full engagement at the same time. Namely, it is designed that, when one of the left and right multi-plate clutch mechanisms 112 is fully engaged, the other multi-plate clutch mechanism 112 is allowed to develop at least some slip.
  • the drive force transmission control mechanism 109G of the vehicular left/right drive force adjusting apparatus is provided with shift mechanisms 160 similar to those of the above-described apparatus (see FIG. 20). Each shift mechanism 160 is connected to the side of the input shaft 1 so that rotation on the side of the input shaft 1 is increased in speed and then outputted to the side of the axle 2 or 3.
  • couplings 161 such as friction clutches, for example, are interposed between output portions 160A of the shift mechanisms 160 and the axles 2,3, respectively.
  • friction clutches those capable of transmitting torque in one direction are arranged in a predetermined direction (in the torque transmitting direction thereof).
  • Each shift mechanism 160 is constructed of a single planetary gear mechanism. This will be described next, taking as an example the shift mechanism 160 mounted on the right-wheel axle 3.
  • the sun gear 160A is fixed on one side (input side) of the coupling 161.
  • This sun gear 160A is meshed at an outer periphery thereof with the planetary gear (planetary pinion) 160B.
  • the pinion shaft 160C on which the planetary gear 160B is rotatably supported is supported for rotation on a carrier 160E disposed as an extension from the differential case 108A.
  • the planetary gear 160B is maintained in meshing engagement with the ring gear 160D which is fixed on a case of a drive force transmission control mechanism 109G or the like to prevent rotation.
  • a revolution speed of the planetary gear 160B is lower than a corresponding rotational speed of the sun gear 160A so that the side of the sun gear 106A (namely, the output portion of the shift mechanism 160) rotates at a higher speed than the hollow axle 111.
  • the shift mechanism 160 therefore functions as a speed-increasing mechanism.
  • the shift mechanism 160 and the coupling 161, both mounted on the left-wheel axle 2 are constructed similarly.
  • the coupling 161 on the side of the left-wheel axle 2 is caused to engage adequately in accordance with the amount to be distributed (distribution ratio).
  • the coupling 161 on the side of the right-wheel axle 3 is caused to engage properly in accordance with the distribution ratio.
  • the amount of drive force to be fed from the input shaft 1 to the left-wheel axle 2 or the right-wheel axle 3 (in other words, the left-to-right distribution ratio of drive force) can be adjusted with an adequate level of accuracy.
  • This modification is also designed so that the left and right couplings 161 are not brought into full engagement at the same time. Namely, it is designed that, when one of the left and right coupling 161 is fully engaged, the other multi-plate clutch mechanism is allowed to develop at least some slip.
  • the vehicular left/right drive force adjusting apparatus illustrated in FIG. 22 is disposed on the side of the rear wheels which are non-drive wheels, in other words, the wheels not applied with any engine output in a FWD vehicle. Its drive force transmission control mechanism 190A is arranged between the rear wheel axles 2 and 3. The drive force transmission control mechanism 109A of FIG. 16 has been applied to the non-drive wheels.
  • a shift mechanism 191 is provided on the side of the right-wheel axle 3 and a shift mechanism 192 is disposed on the side of the left-wheel axle 2.
  • a hydraulic multi-plate clutch mechanism 193 as a torque transmission mechanism of the variable transmitted power amount type is interposed.
  • a hydraulic multi-plate clutch mechanism 194 controlled by the controller 18 as in the apparatus of the embodiment is interposed as a torque transmission mechanism of the variable transmitted power amount type.
  • designated at 193A, 193B, 194A, and 194B are clutch plates.
  • the shift mechanism 191 is constructed of a sun gear 191A mounted for integral rotation with the right-wheel axle 3, a planetary gear 191B meshed with the sun gear 191A, a planetary gear 191D mounted on a planetary shaft 191C on which the planetary gear 191B is supported for rotation, said planetary gear 191D being rotatable integrally with the planetary gear 191B, and a sun gear 193C meshed with the planetary gear 191D.
  • the sun gear 193C is formed greater in diameter than the sun gear 191A, while the planetary gear 191D is formed greater smaller in diameter than the planetary gear 191B.
  • the sun gear 193C therefore rotates at a lower speed than the sun gear 191A.
  • the shift mechanism 191 decreases rotation of the right-wheel axle 3 and outputs it as rotation of the sun gear 193C.
  • the left-wheel axle 2 and the right-wheel axle 3 are both the axles of the non-drive wheels, no drive force is fed thereto from the engine.
  • the left-wheel axle 2 gives rotational reaction force, which is received from the road surface, to the right-wheel axle 3.
  • the left wheel connected to the left-wheel axle 2 applies brake force to the road surface and, in return, receives rotational reaction force from the road surface.
  • the right wheel connected to the right-wheel axle 3, receives drive force from the side of the left-wheel axle 2 and applies it to the road surface. Since brake force is considered as negative drive force, the distribution of drive force between the left-wheel axle 2 and the right-wheel axle 3 can still be adjusted although the right and left wheels are non-drive wheels.
  • the shift mechanism 192 is constructed of a sun gear 192A mounted for integral rotation with the left-wheel axle 3, a planetary gear 192B meshed with the sun gear 192A, a planetary gear 192D mounted on a planetary shaft 192C on which the planetary gear 192B is supported for rotation, said planetary gear 192D being rotatable integrally with the planetary gear 192B, and a sun gear 194C meshed with the planetary gear 192D.
  • the sun gear 194C is formed greater in diameter than the sun gear 192A, while the planetary gear 192D is formed greater smaller in diameter than the planetary gear 192B.
  • the sun gear 194C therefore rotates at a lower speed than the sun gear 192A.
  • the shift mechanism 192 decreases rotation of the left-wheel axle 2 and outputs it as rotation of the sun gear 194C.
  • a hollow axle 195 to which one of clutch plates of the hydraulic multi-plate clutch mechanism 194, that is, the clutch plates 194B are attached is associated with the right-wheel axle 3 via a sun gear 195A rotatable integrally with the hollow axle 195, a planetary gear 191E meshed with the sun gear 195A and mounted on the planetary shaft 191C, the planetary shaft 191C, the planetary gear 191B and the sun gear 191A.
  • the sun gear 195A is formed with the same diameter with the sun gear 191A while the planetary gear 191E is formed with the same diameter as the planetary gear 191B.
  • the hollow axle 195 is therefore associated with the right-wheel axle 3 to normally rotate at the same speed as the right-wheel axle 3.
  • the clutch plate 194B on the side of the hollow axle 195 (i.e., the right-wheel axle 3) rotates faster than the clutch plate 194A on the side of the sun gear 194C so decreased in speed. Drive force is therefore transmitted from the side of the right-wheel axle 3 to the side of the left-wheel axle 2.
  • both the left-wheel axle 2 and the right-wheel axle 3 are also the axles of the non-drive wheels, and no drive force is hence fed thereto from the engine.
  • the right-wheel axle 3 gives rotational reaction force, which is received from the road surface, to the left-wheel axle 2.
  • the right wheel connected to the right-wheel axle 3 applies brake force to the road surface and, in return, receives rotational reaction force from the road surface.
  • the left wheel connected to the left-wheel axle 2 receives drive force from the side of the right-wheel axle 3 and applies it to the road surface. Accordingly, the distribution of drive force between the left-wheel axle 2 and the right-wheel axle 3 can still be adjusted although the right and left wheels are non-drive wheels.
  • the vehicular left/right drive force adjusting apparatus illustrated in FIG. 23 is also disposed on the side of the rear wheels which are non-drive wheels in a front wheel drive car. Its drive force transmission control mechanism 190B is arranged between the rear wheel axles 2 and 3. The mechanism 109E shown in FIG. 17 has been applied to the non-drive wheels.
  • a shift mechanism 196 is provided between the axles 2 and 3.
  • a hydraulic multi-plate clutch mechanism 197 as a torque transmission mechanism of the variable transmitted power amount type is interposed between the left-wheel axle 2 and a speed-increased output portion of the shift mechanism 196 and, further, a hydraulic multi-plate clutch mechanism 198 as a torque transmission mechanism of the variable transmitted power amount type is interposed between the left-wheel axle 2 and a speed-decreased output portion of the shift mechanism 196.
  • the shift mechanism 196 is constructed of a gear 114A mounted on the right-wheel axle 3, a shaft (countershaft) 196B arranged in parallel with the axles 2,3, a gear 196A mounted on the countershaft 196B and meshed with the gear 114A, a gear 197C provided on the side of the left-wheel axle 2 via the hydraulic multi-plate clutch mechanism 197, a gear 198C provided on the side of the left-wheel axle 2 via the hydraulic multi-plate clutch mechanism 198, a gear 196C mounted on the countershaft 196B and meshed with the gear 197C, and a gear 196D mounted on the countershaft 196B and meshed with the gear 198C.
  • the gear 197C is formed smaller in diameter than the gear 114A, the gear 198C is formed greater in diameter than the gear 14A, the gear 196C is formed greater in diameter than the gear 196A, and the gear 196D is formed smaller in diameter than the gear 196A.
  • the gear 197C is transmitted with rotational force through a route of the gear 114A, the gear 196A, the gear 196C and the gear 197C and rotates at a higher speed than the gear 114A.
  • the gear 197C therefore serves as the speed-increased output portion of the shift mechanism 196.
  • the gear 198C is transmitted with rotational force through a route of the gear 114A, the gear 196A, the gear 196D and the gear 198C and rotates at a lower speed than the gear 114A.
  • the gear 198C therefore serves as the speed-decreased output portion of the shift mechanism 196.
  • the left-wheel axle 2 and the right-wheel axle 3 are both the axles of the non-drive wheels, no drive force is fed thereto from the engine.
  • the axle 2 or 3 on the side that gives drive force receives rotational reaction force from the road surface and gives it to one of the axles, i.e., to the axle 3 or 2.
  • the left or right wheel connected to the axle 2 or 3 on the side that gives drive force applies brake force to the road surface and, in return, receives rotational reaction force from the road surface.
  • the right wheel or left wheel connected to the axle 3 or 2 on the side that receives drive force receives the rotational reaction force and transmit it as drive force to the road surface.
  • hydraulic multi-plate clutch mechanisms are primarily used as torque transmission mechanisms of the variable transmitted power amount type.
  • any clutch mechanisms can be used as long as they can vary and control the amount of torque to be transmitted and are of the hydraulic type.
  • a variety of torque transmission mechanism are considered useful.
  • the vehicular left/right drive force adjusting apparatus is applied to the rear wheels.
  • a left/right drive force adjusting apparatus can be applied to the front wheels.
  • the vehicular left/right drive force adjusting apparatus is applied to the drive system for the rear wheels of a 4WD vehicle.
  • Such a left/right drive force adjusting apparatus can also be applied to the drive system of the front wheels of a 4WD vehicle, the drive system of the rear wheels of a RWD vehicle, the drive system of the front wheels of a FWD vehicle, or the like. Further, in the apparatus of each of FIGS.
  • the vehicular left/right drive force adjusting apparatus is applied to the rear wheels as the non-drive wheels of the FWD vehicle.
  • Such a left/right drive force adjusting apparatus can also be applied to the front wheels, that is, the non-drive wheels of a RWD vehicle.
  • each hydraulic circuit construction according to the present invention for a vehicular left/right drive force adjusting apparatus is suitably employed in an apparatus which serves to perform adjustment such as distribution of drive force between the left and right wheels of a vehicle led by an automotive vehicle such as a 4WD automotive vehicle.
  • the left and right wheels described above can be either driven wheels or non-drive wheels (driven wheels). If the left and right wheels are drive wheels, the apparatus for conducting the above-described adjustment of drive force (left/right drive force adjusting apparatus) can be interposed at an intermediate part of a drive force transmission system extending from an engine to the left and right drive wheels so that the distribution of drive force to be transmitted from the engine to the left and right drive wheels can be adjusted.
  • the above-described left/right drive force adjusting apparatus is installed between the left and right non-drive wheels irrespective of the output of the engine, whereby torque is transferred from one of the left and right non-drive wheels to the other, negative drive force (namely, brake force) is exhibited at one of the non-drive wheels and positive drive force is shown at the other non-drive wheel.
  • left/right drive force adjusting apparatus require, as a prerequisite, adjustment of drive force distribution by hydraulic torque transmission mechanisms.
  • the hydraulic circuit construction can be applied to both apparatuses for adjusting drive force between left and right drive wheels as described above and apparatuses for adjusting drive force between left and right non-drive wheels as described above.
  • the hydraulic circuit construction is suited especially for the accurate micro-adjustment of the state of transmission of torque by a hydraulic torque transmission mechanism. It is extremely suited where a hydraulic multi-plate clutch is employed as each hydraulic torque transmission mechanism.
  • the present disclosure includes subject-matter which is claimed in the divisional application EP-A-0 736409.

Landscapes

  • Engineering & Computer Science (AREA)
  • Chemical & Material Sciences (AREA)
  • Combustion & Propulsion (AREA)
  • Transportation (AREA)
  • Mechanical Engineering (AREA)
  • Retarders (AREA)
  • Arrangement And Mounting Of Devices That Control Transmission Of Motive Force (AREA)
EP93906352A 1991-10-08 1992-10-07 Hydraulic circuit construction in system for adjusting right and left driving forces for vehicle Expired - Lifetime EP0562126B1 (en)

Priority Applications (1)

Application Number Priority Date Filing Date Title
EP96110746A EP0736409B1 (en) 1991-10-08 1992-10-07 Torque adjusting apparatus

Applications Claiming Priority (5)

Application Number Priority Date Filing Date Title
JP28932991 1991-10-08
JP289328/91 1991-10-08
JP28932891 1991-10-08
JP289329/91 1991-10-08
PCT/JP1992/001302 WO1993007017A1 (fr) 1991-10-08 1992-10-07 Installation d'un circuit hydraulique dans le systeme de reglage des forces motrices droite et gauche d'un vehicule a moteur

Related Child Applications (2)

Application Number Title Priority Date Filing Date
EP96110746A Division EP0736409B1 (en) 1991-10-08 1992-10-07 Torque adjusting apparatus
EP96110746.3 Division-Into 1996-07-03

Publications (3)

Publication Number Publication Date
EP0562126A1 EP0562126A1 (en) 1993-09-29
EP0562126A4 EP0562126A4 (enExample) 1994-03-23
EP0562126B1 true EP0562126B1 (en) 1997-07-16

Family

ID=26557559

Family Applications (2)

Application Number Title Priority Date Filing Date
EP93906352A Expired - Lifetime EP0562126B1 (en) 1991-10-08 1992-10-07 Hydraulic circuit construction in system for adjusting right and left driving forces for vehicle
EP96110746A Expired - Lifetime EP0736409B1 (en) 1991-10-08 1992-10-07 Torque adjusting apparatus

Family Applications After (1)

Application Number Title Priority Date Filing Date
EP96110746A Expired - Lifetime EP0736409B1 (en) 1991-10-08 1992-10-07 Torque adjusting apparatus

Country Status (5)

Country Link
US (1) US5454762A (enExample)
EP (2) EP0562126B1 (enExample)
KR (1) KR950007153B1 (enExample)
DE (2) DE69220921T2 (enExample)
WO (1) WO1993007017A1 (enExample)

Families Citing this family (16)

* Cited by examiner, † Cited by third party
Publication number Priority date Publication date Assignee Title
DE69230868T2 (de) * 1991-11-29 2000-10-05 Mitsubishi Jidosha Kogyo K.K., Tokio/Tokyo Kontrollsystem zur Antriebskraftverteilung für Fahrzeuge
JP2738225B2 (ja) * 1992-06-15 1998-04-08 三菱自動車工業株式会社 車両用左右駆動力調整装置
US5720360A (en) * 1996-01-26 1998-02-24 Figgie International Inc. Limited slip differential hydraulic drive system
JP2002122039A (ja) * 2000-10-12 2002-04-26 Toyota Motor Corp 内燃機関の制御装置
JP3912235B2 (ja) * 2002-09-10 2007-05-09 トヨタ自動車株式会社 車両の油圧制御装置
DE10329770B4 (de) * 2003-07-01 2006-04-06 Gkn Driveline International Gmbh Differentialgetriebe zur Regelung der Drehmomentverteilung
JP4389571B2 (ja) * 2003-12-08 2009-12-24 トヨタ自動車株式会社 車輪情報取得装置
US20050167228A1 (en) * 2004-01-29 2005-08-04 Baxter Ralph W.Jr. Hydraulic clutch actuator for limited slip differential assembly
US7578333B2 (en) * 2004-07-20 2009-08-25 Pregis Corporation Machine and methods for the manufacture of air-filled cushions
US7458911B2 (en) 2005-02-02 2008-12-02 Dana Automotive Systems Group, Llc Drive system for motor vehicle
DE102005053555B3 (de) * 2005-11-08 2007-08-02 Gkn Driveline International Gmbh Kugelrampenanordnung mit variabler Steigung der Kugelrillen
DE102006061516B4 (de) * 2006-12-18 2010-11-11 Getrag Driveline Systems Gmbh Hydraulikanordnung zur Ansteuerung zweier Aktuatoren
JP2010060050A (ja) * 2008-09-03 2010-03-18 Toyota Motor Corp 車両用自動変速機の制御装置
EP2452846A1 (en) 2010-11-12 2012-05-16 Aristotle University of Thessaloniki Differential device with controllable torque distribution
KR101558288B1 (ko) * 2013-07-10 2015-10-12 (주)케이엔알시스템 모바일 유압발생장치 및 이의 제어방법
CN109070787B (zh) 2018-04-11 2022-10-18 株式会社小松制作所 作业车辆

Citations (1)

* Cited by examiner, † Cited by third party
Publication number Priority date Publication date Assignee Title
GB2213443A (en) * 1988-01-11 1989-08-16 Honda Motor Co Ltd Apparatus for driving a pair of motor vechicle road wheels.

Family Cites Families (12)

* Cited by examiner, † Cited by third party
Publication number Priority date Publication date Assignee Title
US1377380A (en) * 1916-12-22 1921-05-10 Woodward Differential Gear Co Differential gearing
JPS56101443A (en) * 1980-01-16 1981-08-14 Fuji Heavy Ind Ltd Differential restricting device
JPS59112061U (ja) * 1983-01-19 1984-07-28 マックス株式会社 タイミングベルトの張力調整装置
SU1129087A1 (ru) * 1983-05-19 1984-12-15 Белорусский Ордена Трудового Красного Знамени Политехнический Институт Транспортное средство
DE3419149A1 (de) * 1984-05-23 1985-11-28 Herbert Karl 2057 Reinbek Naumann Regeleinrichtungen fuer achsen insbesondere fuer kraftfahrzeuge
JPS6235621A (ja) * 1985-08-09 1987-02-16 Nec Kyushu Ltd 縮小投影型露光方法
DE3600870C1 (de) * 1986-01-15 1987-06-11 Daimler Benz Ag Schaltvorrichtung fuer zwei Kupplungen zum Umschalten zwischen einachsigem Standardantrieb und zweiachsigem Allradantrieb bei einem Kraftfahrzeug mit zwei antreibbaren Fahrzeugachsen
SU1614953A1 (ru) * 1989-01-12 1990-12-23 Белорусский Политехнический Институт Дифференциальный привод колес пропашного трактора
US5133696A (en) * 1989-03-31 1992-07-28 Fuji Jukogyo Kabushiki Kaisha Differential for a power transmission system of a motor vehicle
JPH03525A (ja) * 1989-05-30 1991-01-07 Honda Motor Co Ltd 前後輪駆動車の駆動力配分制御装置
GB9014410D0 (en) * 1990-06-28 1990-08-22 Perry Forbes G D Torque-splitting differential drive apparatus
DE69230868T2 (de) * 1991-11-29 2000-10-05 Mitsubishi Jidosha Kogyo K.K., Tokio/Tokyo Kontrollsystem zur Antriebskraftverteilung für Fahrzeuge

Patent Citations (1)

* Cited by examiner, † Cited by third party
Publication number Priority date Publication date Assignee Title
GB2213443A (en) * 1988-01-11 1989-08-16 Honda Motor Co Ltd Apparatus for driving a pair of motor vechicle road wheels.

Non-Patent Citations (1)

* Cited by examiner, † Cited by third party
Title
J.P. De Groote "technologie de l'hydraulique", 1979 Paris, p.230,231. *

Also Published As

Publication number Publication date
KR950007153B1 (ko) 1995-06-30
KR930703163A (ko) 1993-11-29
EP0736409B1 (en) 2000-03-15
EP0736409A2 (en) 1996-10-09
WO1993007017A1 (fr) 1993-04-15
DE69230808T2 (de) 2000-11-30
DE69220921T2 (de) 1997-11-20
EP0562126A4 (enExample) 1994-03-23
EP0562126A1 (en) 1993-09-29
DE69220921D1 (de) 1997-08-21
DE69230808D1 (de) 2000-04-20
US5454762A (en) 1995-10-03
EP0736409A3 (en) 1997-01-02

Similar Documents

Publication Publication Date Title
EP0562126B1 (en) Hydraulic circuit construction in system for adjusting right and left driving forces for vehicle
US9568091B2 (en) Active transfer case with splash recovery clutch lubrication system
US7281617B2 (en) Active torque coupling with hydraulically-actuated rotary clutch actuator
US3848691A (en) Full time four wheel drive
EP3130501B1 (en) Axle assembly having a clutch collar actuator mechanism
US10330189B2 (en) Active transfer case with splash recovery clutch lubrication system
US8668615B2 (en) Drive assembly with hydraulic actuating mechanism
EP0599050A1 (en) Lubricant pumping in tandem drive axles
US4461373A (en) Drive axle assembly
US10710453B2 (en) Pumpless transfer case for disconnect axles
US20030131684A1 (en) Hydraulic fluid feeder
CA2002870C (en) Hydro-planetary power division system
EP4047242B1 (en) Wheel hub for mounting a wheel on an axle of a work vehicle
JP2921279B2 (ja) 車両用左右トルク配分装置の油圧回路構造
JP2921280B2 (ja) 車両用左右トルク配分装置の油圧回路構造
JP2921277B2 (ja) 車両用左右トルク配分装置の油圧回路構造
JP2921278B2 (ja) 車両用左右トルク配分装置の油圧回路構造
US7059987B2 (en) Hydraulic port separator in an automatic transmission
EP0084733A1 (en) Drive axle fluid system
JP3010837B2 (ja) 車両用左右駆動力配分装置
JP3010838B2 (ja) 車両用左右駆動力配分装置
JP2571237Y2 (ja) 軸連結機構
JP2844988B2 (ja) ピストンのシール構造
JP2539883Y2 (ja) 車両用左右駆動力配分装置
JPH0527413U (ja) プラネタリギヤ潤滑構造

Legal Events

Date Code Title Description
PUAI Public reference made under article 153(3) epc to a published international application that has entered the european phase

Free format text: ORIGINAL CODE: 0009012

AK Designated contracting states

Kind code of ref document: A1

Designated state(s): DE FR GB

17P Request for examination filed

Effective date: 19931002

A4 Supplementary search report drawn up and despatched

Effective date: 19940202

AK Designated contracting states

Kind code of ref document: A4

Designated state(s): DE FR GB

17Q First examination report despatched

Effective date: 19950321

GRAG Despatch of communication of intention to grant

Free format text: ORIGINAL CODE: EPIDOS AGRA

GRAH Despatch of communication of intention to grant a patent

Free format text: ORIGINAL CODE: EPIDOS IGRA

GRAH Despatch of communication of intention to grant a patent

Free format text: ORIGINAL CODE: EPIDOS IGRA

GRAA (expected) grant

Free format text: ORIGINAL CODE: 0009210

DX Miscellaneous (deleted)
AK Designated contracting states

Kind code of ref document: B1

Designated state(s): DE FR GB

REF Corresponds to:

Ref document number: 69220921

Country of ref document: DE

Date of ref document: 19970821

ET Fr: translation filed
PLBE No opposition filed within time limit

Free format text: ORIGINAL CODE: 0009261

STAA Information on the status of an ep patent application or granted ep patent

Free format text: STATUS: NO OPPOSITION FILED WITHIN TIME LIMIT

26N No opposition filed
REG Reference to a national code

Ref country code: GB

Ref legal event code: IF02

REG Reference to a national code

Ref country code: FR

Ref legal event code: CA

REG Reference to a national code

Ref country code: FR

Ref legal event code: CA

PGFP Annual fee paid to national office [announced via postgrant information from national office to epo]

Ref country code: DE

Payment date: 20100929

Year of fee payment: 19

PGFP Annual fee paid to national office [announced via postgrant information from national office to epo]

Ref country code: GB

Payment date: 20101006

Year of fee payment: 19

PGFP Annual fee paid to national office [announced via postgrant information from national office to epo]

Ref country code: FR

Payment date: 20111103

Year of fee payment: 20

REG Reference to a national code

Ref country code: DE

Ref legal event code: R071

Ref document number: 69220921

Country of ref document: DE

REG Reference to a national code

Ref country code: DE

Ref legal event code: R071

Ref document number: 69220921

Country of ref document: DE

REG Reference to a national code

Ref country code: GB

Ref legal event code: PE20

Expiry date: 20121006

PG25 Lapsed in a contracting state [announced via postgrant information from national office to epo]

Ref country code: GB

Free format text: LAPSE BECAUSE OF EXPIRATION OF PROTECTION

Effective date: 20121006