EP0560229A2 - Wärmeaustauschelement und Wärmetauschereinheit - Google Patents

Wärmeaustauschelement und Wärmetauschereinheit Download PDF

Info

Publication number
EP0560229A2
EP0560229A2 EP93103590A EP93103590A EP0560229A2 EP 0560229 A2 EP0560229 A2 EP 0560229A2 EP 93103590 A EP93103590 A EP 93103590A EP 93103590 A EP93103590 A EP 93103590A EP 0560229 A2 EP0560229 A2 EP 0560229A2
Authority
EP
European Patent Office
Prior art keywords
heat exchange
exchange element
element according
deformation
tube
Prior art date
Legal status (The legal status is an assumption and is not a legal conclusion. Google has not performed a legal analysis and makes no representation as to the accuracy of the status listed.)
Withdrawn
Application number
EP93103590A
Other languages
German (de)
English (en)
French (fr)
Other versions
EP0560229A3 (enExample
Inventor
Volker Müller
Klaus Bofinger
Current Assignee (The listed assignees may be inaccurate. Google has not performed a legal analysis and makes no representation or warranty as to the accuracy of the list.)
Zl Cryo-Technik Industriegastechnische Anlagen GmbH
Original Assignee
Zl Cryo-Technik Industriegastechnische Anlagen GmbH
Priority date (The priority date is an assumption and is not a legal conclusion. Google has not performed a legal analysis and makes no representation as to the accuracy of the date listed.)
Filing date
Publication date
Application filed by Zl Cryo-Technik Industriegastechnische Anlagen GmbH filed Critical Zl Cryo-Technik Industriegastechnische Anlagen GmbH
Publication of EP0560229A2 publication Critical patent/EP0560229A2/de
Publication of EP0560229A3 publication Critical patent/EP0560229A3/xx
Withdrawn legal-status Critical Current

Links

Images

Classifications

    • FMECHANICAL ENGINEERING; LIGHTING; HEATING; WEAPONS; BLASTING
    • F28HEAT EXCHANGE IN GENERAL
    • F28FDETAILS OF HEAT-EXCHANGE AND HEAT-TRANSFER APPARATUS, OF GENERAL APPLICATION
    • F28F1/00Tubular elements; Assemblies of tubular elements
    • F28F1/10Tubular elements and assemblies thereof with means for increasing heat-transfer area, e.g. with fins, with projections, with recesses
    • F28F1/12Tubular elements and assemblies thereof with means for increasing heat-transfer area, e.g. with fins, with projections, with recesses the means being only outside the tubular element
    • F28F1/14Tubular elements and assemblies thereof with means for increasing heat-transfer area, e.g. with fins, with projections, with recesses the means being only outside the tubular element and extending longitudinally
    • FMECHANICAL ENGINEERING; LIGHTING; HEATING; WEAPONS; BLASTING
    • F28HEAT EXCHANGE IN GENERAL
    • F28FDETAILS OF HEAT-EXCHANGE AND HEAT-TRANSFER APPARATUS, OF GENERAL APPLICATION
    • F28F19/00Preventing the formation of deposits or corrosion, e.g. by using filters or scrapers
    • F28F19/02Preventing the formation of deposits or corrosion, e.g. by using filters or scrapers by using coatings, e.g. vitreous or enamel coatings
    • F28F19/06Preventing the formation of deposits or corrosion, e.g. by using filters or scrapers by using coatings, e.g. vitreous or enamel coatings of metal

Definitions

  • the invention relates to a heat exchange element which can be fixed on a pipe through which media flows, with a connection body which can be placed on outer jacket surfaces of the pipe with thermal contact areas and with heat exchanger ribs projecting from the connection body.
  • the invention relates to a heat exchanger unit which comprises a tube through which media flows and a heat exchange element described above which is fixed thereon.
  • Such heat exchange elements are known for example from DE-OS 30 40 801.
  • This heat exchange elements consist of two halves, each having thermal contact surfaces and also locking elements with which these two halves can be assembled and fixed in such a position that the thermal contact surfaces rest non-positively on the outer surface of the tube.
  • the invention is therefore based on the object of improving a heat exchange element and a heat exchanger unit of the generic type in such a way that the heat exchange element can be produced in a simple manner and can also be permanently and reliably fixed on the tube in a simple manner.
  • connection body has a deformation element which can be brought from an undeformed to a deformed state, that the deformation element in the undeformed state holds the thermal contact surfaces relative to a counter bearing such that the Pipe is movable relative to these, and that the deformation element in the deformed state holds the thermal contact surfaces against the outer jacket surfaces of the pipe and thereby fixes the pipe between the thermal contact surfaces and the counter bearing.
  • the deformation element can be produced in a simple manner and that the thermal contact surfaces can also be firmly applied to the outer jacket surfaces of the tube by the deformation element. It can be easily and
  • Such a heat exchange element can preferably be used for cryogenic evaporators, in particular high-pressure evaporators.
  • a particularly good thermal contact between the tube and the heat exchange element can be produced if the connecting body has at least one contact surface that positively spans the tube over a partial circumference, so that a contact surface forms the counter bearing.
  • connection body has at least one half-shell-shaped thermal contact surface. However, it is even better if the connection body has two half-shell-shaped thermal contact surfaces.
  • thermal contact surfaces could be arranged directly on the heat exchanger fins. In this case, however, the heat exchanger fins themselves would have to be acted upon by a holding element in the direction of the tube. For this reason, it is advantageous if the thermal contact surfaces are arranged on a carrier for at least some of the heat exchanger fins. Thus, the heat exchanger fins sit on the carrier, which in turn carries the thermal contact surface and is in thermal contact with the tube via this.
  • a particularly efficient heat exchange is possible if the carrier extends essentially over the same axial length as the heat exchanger fins.
  • the solution according to the invention can be realized in a particularly simple constructional manner if the connecting body has two opposite thermal contact surfaces, so that the tube can be inserted between these contact surfaces in the undeformed state of the connecting body and then these contact surfaces can be brought into contact with the tube by deformation of the deformation element .
  • thermal contact surfaces have the shape of axially divided half-cylinder jacket surfaces, the cross section of which is more expedient as a cross-section of the outer surface of the tube is adapted so that the thermal contact surfaces can be created essentially over the entire surface of the outer surface of the tube.
  • the deformation element could be, for example, a web deformable in its shape, preferably by a kink. However, it is particularly advantageous if the deformation element has two legs which are spaced apart from one another in the undeformed state and which can be moved towards one another in order to achieve the deformed state.
  • the legs are preferably connected to one another via a base.
  • one of the legs is connected to the carrier with its end opposite the base.
  • a further, particularly advantageous exemplary embodiment provides if each of the legs is connected with its end opposite the base to one of the carriers, so that the deforming element acts on two carriers in the direction of one another in the deformed state.
  • a structurally particularly advantageous solution provides that the deformation element is integrally formed on the carrier.
  • connection body is an integral part of the pipe, in which case the connection body, but better still the entire heat exchange element, is preferably produced as a continuously cast profile, preferably from aluminum continuous casting.
  • connection body is provided with an engagement surface for a deformation tool.
  • Such an attack surface could, for example, sit directly on the deformation element itself.
  • the contact surface is seated on the carrier.
  • a particularly preferred positioning of the contact surface provides that it sits at the foot of one of the heat exchanger fins.
  • a particularly preferred variant of the solution according to the invention provides that the deformation element forms the foot of one of the heat exchanger ribs, so that this is not an additional element, but - in other words - the foot of the heat exchanger ribs is designed as a deformation element.
  • the carrier is designed to be deformation-free, that is to say it merely transfers the force to the deformation element and deforms it in a suitable manner.
  • the heat exchange element is designed as a one-piece element with a longitudinal opening for the tube and as a fully enclosing element as a one-piece part.
  • a particularly advantageous solution of a heat exchange element according to the invention provides that the heat exchanger ribs have an outer skin made of aluminum and that the outer skin carries a layer of anodized aluminum on its air-circulating surface.
  • ice adheres far less to the layer of anodized aluminum than, for example, to raw or untreated aluminum, so that this also contributes to reducing ice formation.
  • Providing a layer of anodized aluminum is also particularly advantageous in terms of weather resistance in the environment of aggressive industrial gases, since the anodized aluminum is far less susceptible to the weather and is attacked to a very small extent by aggressive industrial gases.
  • the layer is made of colored anodized aluminum.
  • this significantly improves the appearance of the heat exchange element according to the invention in an evaporator in which the heat exchange elements flow around air and are therefore arranged in a visible manner.
  • the coloring of the anodized aluminum enables the heat exchange element to be adapted to the surroundings, so that this is far less noticeable and annoying.
  • a solution according to the invention is particularly preferred when the anodized aluminum is darkly colored, because the dark coloring of the anodized aluminum additionally enables better absorption of heat radiation, thus better heating of the heat exchange element and thus as a whole therefore an additional suppression of the icing of the same.
  • the anodized aluminum is colored with dark colors, such as dark red, dark blue, dark brown or black.
  • a solution of a heat exchange element according to the invention that can be produced particularly cost-effectively provides that the heat exchanger fins are made of all-aluminum, that is to say not only have an outer skin made of aluminum, but are made entirely of aluminum. In principle, however, it would also be possible to merely coat the outer skin of a carrier material with aluminum.
  • the heat exchange element is produced as a one-piece part from aluminum and is provided on the surface, preferably on its entire surface, with a layer of anodized aluminum, which can still be designed according to the features described above.
  • the object of the invention is also achieved by a heat exchanger unit in which the tube carries a heat exchange element according to the features described above, in which the deformation element is in the deformed state.
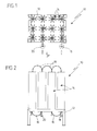
  • An embodiment of a heat exchanger shown as a whole in FIGS. 1 and 2 and designated by 10, in particular an evaporator for cryogenic liquids, comprises a frame 12 above which a plurality of heat exchanger units 14 rise, which are connected to one another via connecting lines 16 and 18 that the heat exchanger units 14 can be flowed through in succession between an inlet 18 and an outlet 20.
  • each of these heat exchanger units 14 has a heat exchange element, designated as a whole by 22, which in turn is seated with thermal contact surfaces 24 on an outer circumferential surface 26 of a tube 28, through which the cryogenic medium flows, for example.
  • the heat exchange element 22 preferably extends in the direction of a longitudinal axis 30 of the tube 28 over substantially the entire length thereof, the tube 28 in turn extending between the connecting lines 16 and 18.
  • the thermal contact surfaces 24 are as large as possible and are subjected to a contact pressure.
  • the tube 28 is preferably fixed non-positively and positively in a longitudinal opening 32 of the heat exchange element 22, the tube 28 being essentially enclosed over its entire circumference by the thermal contact surfaces 24.
  • the heat exchange element 22 comprises a connection body 34, which carries a multiplicity of heat exchange fins 36, the heat exchange fins 36 in each case being seated on a base 38 integrally formed on the connection body 34 .
  • the connecting body 34 in turn comprises two supports 40a and 40b designed as half-shells, each of which has thermal contact surfaces 24a and 24b as half-shells.
  • the two supports 40 are connected to one another by two deformation elements 44a and 44b, the deformation elements 44a and 44b being shown in the undeformed state in FIGS. 4 and 5.
  • Each of these deformation elements 44 comprises two legs 46a and 46b, both of which are connected to one another via a base 48, in the undeformed state of the deformation element 44 run at a distance from one another and thus enclose a space 50 between them.
  • the ends of the legs 46a and 46b facing away from the base 48 are each integrally formed on the supports 40a and 40b.
  • the two deformation elements 44a and 44b are arranged on opposite sides of the longitudinal axis 30 and lie symmetrically to a plane of symmetry 52 which extends through the longitudinal axis 30.
  • the intermediate space 50 extends in each of the deformation elements 44 up to the longitudinal opening 32.
  • inner edges 54a and 54b are formed which are each spaced apart from one another in the undeformed state.
  • the thermal contact surface 24a extends from each of the inner edges 54a and the thermal contact surface 24b extends from each of the inner edges 54b. Both inner edges 54a lie in a parting plane 56a and both inner edges 54b in a parting plane 56b.
  • the thermal contact surface 24a preferably has the shape of a circular cylindrical outer surface 42a starting from a central plane running through the cylinder axis, the separating plane 56a forming the central plane, so that a cylinder axis 58a belonging to the cylindrical outer surface 42a is centered in the separating plane 56a between the inner edges 54a.
  • the tube 28 can thus be inserted with play concentrically to the longitudinal axis 30 into the longitudinal opening 32 between the jacket surfaces 42a and 42b adapted to the outer jacket surface 26 of the tube 28.
  • the heat exchange element 22 is fixed on the inserted tube 28 by deforming the legs 46 of the deformation elements 44, namely by compressing the legs 46 against one another, so that the space 50 in the region of the inner edges 54a and 54b approaches zero and consequently the parting planes 56a and 56b essentially coincide to one level.
  • the thermal contact surfaces 42a and 42b which are designed to match the outer circumferential surface 26 of the tube 28, lie over the entire surface of the outer circumferential surface 26 of the tube 28, essentially over the entire circumference, as shown in FIG. 3.
  • contact surfaces 60a and 60b are provided on both supports. These engagement surfaces 60a and 60b are supported by reinforcing ribs 62a and 62b, which are each molded onto one of the feet 38 of the heat exchanger ribs 36, wherein the feet 38 "each have molded-on reinforcing ribs 62 which come closest to the deformation elements 44a.
  • each of the supports 40a and 40b carries three feet, namely a foot 38 'which extends essentially perpendicularly from the parting plane 56 and two feet 38''which extend at an angle of approximately 45 ° to this foot 38' the two deformation elements 44a and 44b are each integrated in a foot 38 '"which lies in the plane of symmetry 52.
  • the reinforcing ribs 62 are therefore molded onto the feet 38 ′′, in each case on a side of the same facing the foot 38 ′.
  • the engagement surfaces 60 are preferably shaped like a trough in order to allow a secure engagement of a deformation tool, designated as a whole by 70 and shown in FIG. 6.
  • This deformation tool 70 comprises a pair of axially spaced axes 72 and 74, on each of which a pair of thrust washers 76a and 76b or 78a and 78b is seated.
  • the thrust washers 76 and 78 are freely rotatably mounted on the axles 72 and 74 and are at a distance A such that their outer edges 80 can be rolled on the contact surfaces 60.
  • the pressure disks 76a and 76b run on the engagement surfaces 60b and the pressure disks 78a and 78b on the engagement surfaces 60a.
  • the distance between the two axes 72 and 74 is selected such that the pressure disks 76 and 80 transfer the deformation elements 44 from their undeformed state to their deformed state, the pressure disks 76 and 78 initially acting on the two supports 40a and 40b via their outer edges 80 and move them in the direction of one another, a deformation taking place in the region of the legs 46 of the respective deformation element 44.
  • they are mounted, for example, on a base plate 82 on which a tensile force 84 directed parallel to the longitudinal axis 30 acts in order to move the deformation tool 70 in the direction of the longitudinal axis 30.
  • a particularly advantageous embodiment of a deformation tool according to the invention not only has the two sets 76 and 78 of thrust washers, but also additional sets 86 and 88, these thrust washers 86 and 88 being seated in the same way on axes 90 and 92 projecting from the base plate 82.
  • the deformed state of the deformation elements 44 is preferably achieved in two stages, the pressure disks 86 and 88 acting in a first stage and the pressure disks 76 and 78 in a second stage, which then finally bring the connecting body 34 into the completely deformed state of the deformation elements .
  • the carriers 40a and 40b of the connecting body 34 are preferably made free of deformation forms, so that the force transmitted to this does not lead to any deformation of the carrier 40 itself, but only to the deformation of the legs 46 of the deformation elements 44.
  • the heat exchanger fins 36 are preferably provided on their areas projecting from the connecting body 34 with surfaces 134 around which air flows, for example in a direction of flow 136, the air heating the surface 134 to the heat exchanger fins 36 emits which they introduce via the connector body 34 into the tube 28, so that the cryogenic medium flowing through, preferably the nitrogen, is evaporated therein.
  • These surfaces 134 carry a layer 136 of anodized aluminum, the layer of anodized aluminum preferably being colored black.
  • This layer 136 of anodized aluminum drastically reduces the icing of the heat exchanger fins 132, namely that the ice on the layer 36 adheres less and that the heat absorption is increased due to the black coloring of the layer 136, so that a larger entry of heat into the heat exchanger fins 36.
  • the layer 136 also has the advantage that the heat exchanger fins 36 are better protected against weathering and aggressive industrial gases.
  • the heat exchange element 22 according to the invention is preferably produced in one piece from aluminum and is mounted on the tube 28 after the surface 134 has been provided with the layer 136, this mounting being carried out either by shrinking on or deforming the connecting body 34.

Landscapes

  • Engineering & Computer Science (AREA)
  • Physics & Mathematics (AREA)
  • Thermal Sciences (AREA)
  • Mechanical Engineering (AREA)
  • General Engineering & Computer Science (AREA)
  • Geometry (AREA)
  • Heat-Exchange Devices With Radiators And Conduit Assemblies (AREA)
EP93103590A 1992-03-10 1993-03-05 Wärmeaustauschelement und Wärmetauschereinheit Withdrawn EP0560229A2 (de)

Applications Claiming Priority (2)

Application Number Priority Date Filing Date Title
DE19924207597 DE4207597A1 (de) 1992-03-10 1992-03-10 Waermeaustauschelement und waermetauschereinheit
DE4207597 1992-03-10

Publications (2)

Publication Number Publication Date
EP0560229A2 true EP0560229A2 (de) 1993-09-15
EP0560229A3 EP0560229A3 (enExample) 1994-01-19

Family

ID=6453697

Family Applications (1)

Application Number Title Priority Date Filing Date
EP93103590A Withdrawn EP0560229A2 (de) 1992-03-10 1993-03-05 Wärmeaustauschelement und Wärmetauschereinheit

Country Status (2)

Country Link
EP (1) EP0560229A2 (enExample)
DE (1) DE4207597A1 (enExample)

Families Citing this family (2)

* Cited by examiner, † Cited by third party
Publication number Priority date Publication date Assignee Title
DE102017214261A1 (de) * 2017-08-16 2019-02-21 Technische Universität Dresden Wärmeübertrager
DE102018129788B3 (de) 2018-11-26 2019-10-24 Helmholtz-Zentrum Dresden - Rossendorf E.V. Wärmeübertrager mit konvexen Aussparungen der Rippenflächen und integrierten Materialaufdickungen

Family Cites Families (5)

* Cited by examiner, † Cited by third party
Publication number Priority date Publication date Assignee Title
DE1142886B (de) * 1962-03-13 1963-01-31 Friedrich Lohmann Waermetauscherrohr mit angepressten Rippenschalen
US3877128A (en) * 1969-01-21 1975-04-15 Airco Inc Method of producing a finned tube heat exchanger
US3672446A (en) * 1969-01-21 1972-06-27 Airco Inc Ambient air vaporizer
GB1588120A (en) * 1977-12-06 1981-04-15 Judson P N Condenseres
CH647592A5 (de) * 1980-07-10 1985-01-31 Cryomec Ag Waermeuebertragungselement, insbesondere zur erstellung eines waermeaustauschers fuer cryogene anwendungszwecke.

Also Published As

Publication number Publication date
EP0560229A3 (enExample) 1994-01-19
DE4207597A1 (de) 1993-09-23

Similar Documents

Publication Publication Date Title
EP0415265B1 (de) Vorrichtung zur Lagerung und zum Transport von Rohren
DE3040801C2 (de) Element zur Erstellung eines Wärmeaustauschers insbesondere für cryogene Anwendungszwecke
EP1467599B1 (de) Vorrichtung zur Aufnahme von Keramik-Heizelementen und Verfahren zur Herstellung einer solchen
DE602005001971T2 (de) Fahrradlenkrohr mit ineinandergreifendem Verbindungsstück in der Klammer der Lenkstange und Verfahren dazu
DE102017127261A1 (de) Verbindungsstruktur
DE1925754A1 (de) Klemmvorrichtung fuer die Befestigung an insbesondere rohrfoermigen Gegenstaenden
DE4137038C1 (en) Radiator case for front body of motor vehicle - has distance pieces, one elastic, to clamp flat tube heat exchanger between frame and collectors
DE2302769A1 (de) Wasserkasten vorzugsweise aus kunststoff insbesondere fuer rohrbuendel-waermetauscher
DE20121112U1 (de) Sammelkasten für einen Wärmeaustauscher, insbesondere an Kraftfahrzeugen
DE2854924C3 (de) Rohrschelle für wärmeisolierte Rohrleitungen
DE3742125C2 (enExample)
EP0560229A2 (de) Wärmeaustauschelement und Wärmetauschereinheit
DE2030859A1 (de) Rohrkupplung
DE19851016A1 (de) Lenkstange
EP2167895A1 (de) Wärmetauscher
EP1716065A1 (de) Laufradblock
DE2303699A1 (de) Fluessigkeitsgekuehltes auslassventil fuer eine brennkraftmaschine und herstellungsverfahren
DE2412735A1 (de) Heizkoerper, insbesondere fuer warmwasserheizungen, und verfahren zur herstellung des heizkoerpers
EP1355105B1 (de) Drucktank
DE10156898A1 (de) Halteelement und Verfahren zum Herstellen eines Halteelementes sowie Verwendung von Strangpress-Elementen
DE19859381C2 (de) Verstärkungseinsatz für Kunststoffprofile
DD281318A7 (de) Lager fuer vorzugsweise doppelwandige behaelter kryogener medien
DE3038460A1 (de) Kombinierter vorlaufverteiler und ruecklaufsammler, insbesondere fuer warmwasser-fussbodenheizung
EP0007496A1 (de) Verfahren zur Herstellung eines wärmegedämmten Metallprofils
DE69722687T2 (de) Verfahren zur Herstellung eines Wärmeaustauschers

Legal Events

Date Code Title Description
PUAI Public reference made under article 153(3) epc to a published international application that has entered the european phase

Free format text: ORIGINAL CODE: 0009012

AK Designated contracting states

Kind code of ref document: A2

Designated state(s): DE ES FR IT

PUAL Search report despatched

Free format text: ORIGINAL CODE: 0009013

AK Designated contracting states

Kind code of ref document: A3

Designated state(s): DE ES FR IT

18D Application deemed to be withdrawn

Effective date: 19940720