EP0441102A1 - Punched cardboard element for keeping and showing sweets and the like - Google Patents

Punched cardboard element for keeping and showing sweets and the like Download PDF

Info

Publication number
EP0441102A1
EP0441102A1 EP90830092A EP90830092A EP0441102A1 EP 0441102 A1 EP0441102 A1 EP 0441102A1 EP 90830092 A EP90830092 A EP 90830092A EP 90830092 A EP90830092 A EP 90830092A EP 0441102 A1 EP0441102 A1 EP 0441102A1
Authority
EP
European Patent Office
Prior art keywords
sheet
punched
flaps
element according
holes
Prior art date
Legal status (The legal status is an assumption and is not a legal conclusion. Google has not performed a legal analysis and makes no representation as to the accuracy of the status listed.)
Granted
Application number
EP90830092A
Other languages
German (de)
French (fr)
Other versions
EP0441102B1 (en
Inventor
Pio Gabriele Benedicenti
Current Assignee (The listed assignees may be inaccurate. Google has not performed a legal analysis and makes no representation or warranty as to the accuracy of the list.)
CARTOTECNICA CHIERESE SpA
Original Assignee
CARTOTECNICA CHIERESE SpA
Priority date (The priority date is an assumption and is not a legal conclusion. Google has not performed a legal analysis and makes no representation as to the accuracy of the date listed.)
Filing date
Publication date
Application filed by CARTOTECNICA CHIERESE SpA filed Critical CARTOTECNICA CHIERESE SpA
Priority to AT90830092T priority Critical patent/ATE97088T1/en
Publication of EP0441102A1 publication Critical patent/EP0441102A1/en
Application granted granted Critical
Publication of EP0441102B1 publication Critical patent/EP0441102B1/en
Anticipated expiration legal-status Critical
Expired - Lifetime legal-status Critical Current

Links

Images

Classifications

    • BPERFORMING OPERATIONS; TRANSPORTING
    • B65CONVEYING; PACKING; STORING; HANDLING THIN OR FILAMENTARY MATERIAL
    • B65DCONTAINERS FOR STORAGE OR TRANSPORT OF ARTICLES OR MATERIALS, e.g. BAGS, BARRELS, BOTTLES, BOXES, CANS, CARTONS, CRATES, DRUMS, JARS, TANKS, HOPPERS, FORWARDING CONTAINERS; ACCESSORIES, CLOSURES, OR FITTINGS THEREFOR; PACKAGING ELEMENTS; PACKAGES
    • B65D5/00Rigid or semi-rigid containers of polygonal cross-section, e.g. boxes, cartons or trays, formed by folding or erecting one or more blanks made of paper
    • B65D5/42Details of containers or of foldable or erectable container blanks
    • B65D5/44Integral, inserted or attached portions forming internal or external fittings
    • B65D5/50Internal supporting or protecting elements for contents
    • B65D5/5028Elements formed separately from the container body
    • B65D5/5035Paper elements
    • B65D5/5038Tray-like elements formed by folding a blank and presenting openings or recesses
    • BPERFORMING OPERATIONS; TRANSPORTING
    • B65CONVEYING; PACKING; STORING; HANDLING THIN OR FILAMENTARY MATERIAL
    • B65DCONTAINERS FOR STORAGE OR TRANSPORT OF ARTICLES OR MATERIALS, e.g. BAGS, BARRELS, BOTTLES, BOXES, CANS, CARTONS, CRATES, DRUMS, JARS, TANKS, HOPPERS, FORWARDING CONTAINERS; ACCESSORIES, CLOSURES, OR FITTINGS THEREFOR; PACKAGING ELEMENTS; PACKAGES
    • B65D85/00Containers, packaging elements or packages, specially adapted for particular articles or materials
    • B65D85/60Containers, packaging elements or packages, specially adapted for particular articles or materials for sweets or like confectionery products

Definitions

  • the present invention relates to an element for holding and presenting confectionery products, particularly chocolates and the like, which is adapted to define a plurality of seats for the products.
  • thermoforming elements are made by the thermoforming of sheets of plastics material for insertion in boxes of punched card.
  • a plurality of cells arranged in an ordered array are therefore thermoformed in the sheets, and serve both to keep the products in position and to prevent direct contact between the products and the bottom of the box which, as a result of any pressures or knocks, could damage the products contained.
  • thermoformed plastics elements As well as requiring special equipment which is somewhat different from that normally used in the paper and cardboard sector, the production of these thermoformed plastics elements considerably increases the environmental impact of the box as regards solid waste. In fact, the thermoformed sheet is not biodegradable and may produce noxious gases if it is burnt.
  • the object of the present invention is to provide an element of the type specified at the beginning of the description which does not have the aforesaid disadvantages and which is also completely biodegradable.
  • the element comprises a flat sheet of card or similar material having a plurality of annular punched lines and, within the punched lines, slits which define a plurality of holes in the sheet when the flaps defined between the slits and the punched lines are bent, the holes having at least two opposite side walls for retaining the products.
  • the card element can fulfil the same function as a thermoformed cellular element of known type, providing considerable advantages in terms of cost and environmental impact.
  • an element for holding and presenting confectionery products is generally indicated 10 and comprises a flat punched sheet of card 12 with straight punched lines 12a and a plurality of annular punched lines 12b.
  • These punched lines which define lines of bending, are of the so-called half-cut type, that is, they are formed by cutting through half the thickness of the sheet 12.
  • the punched sheet 12 has a first rectangular portion A bounded by the straight punched lines 12a which are adapted to define lateral gluing flaps 14, and a second portion B which is joined to the first in correspondence with a straight punched line 15 broken by substantially U-shaped slits 16.
  • the second portion B of the punched sheet 12 also has straight punched lines 12a adapted to define lateral gluing flaps 17 for cooperating with the lateral flaps 14 in known manner.
  • the annular punched lines 12b are substantially rectangular with rounded corners and are arranged in an ordered array in the first portion A of the punched sheet 12.
  • Slits 18 are provided within each annular punched line 12b and comprise I-shaped central portions 18a whose stems are parallel to and equidistant from the longer sides of the respective rectangular punched lines 12b, and four connecting portions 18b between the tips of the ends of the I-shaped central portions 18a and the rounded corners V of the punched lines 12b.
  • the slits 18 and the annular punched line 12b thus define two resilient flaps 20 of card in the form of isosceles trapezia and two support flaps 22 having portions which are also in the form of isosceles trapezia and the shorter bases of which extend to form rectangular portions, indicated 22a in the drawings.
  • the second portion B of the punched card sheet 12 has a plurality of rectangular holes 24 arranged in positions such that, when the element 10 is assembled, they correspond to the longer sides of the rectangular punched lines 12b to which the support flaps 22 are articulated. Adjacent rectangular holes 24 are joined by shorter central portions so are generally to define substantially double-T-shaped holes 25.
  • the second portion B of the punched sheet 12 is bent underneath the first portion A along the straight punched line 12a joining the first and second portions and along the punched line 15.
  • the slits 16 define support portions 27 which project downwardly so as to keep the first portion A of the sheet 12 at a constant distance from a support plane, for example, the bottom of a box.
  • the support flaps 22 and the resilient flaps 20 are bent so as to form a plurality of holes 28 in the first portion A of the punched sheet 12 defining, with the bent flaps 20 and 22, a plurality of seats S for substantially parallelepipedal products.
  • the support flaps 22 When the support flaps 22 are bent, their rectangular ends 22a are fitted into respective retangular holes 24 so as to project below the plane of the second portion B of the punched sheet 12 ( Figures 2 and 3) and have the function of forming a support on the bottom of the box.
  • the rectangular end portions 22a of the support flaps 22 are therefore situated in the plane defined by the bent and glued flaps 14 and the support portions 27 so as to keep the frames C defined by the holes 28 in the punched sheet 12 at a predetermined distance from the lower support plane constituted, for example, by the bottom of a box.
  • the resilient flaps 20 "float” and, by virtue of the resilient force biassing them towards a configuration in which they are coplanar with the frames C, help to keep the products in position by eliminating the clearance between the products and the seats S.
  • the support flaps 22, on the other hand, are kept apart by virtue of their engagement in the holes 24 in the punched sheet 12.
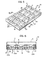
  • the embodiment shown in Figures 5-7 in which the same reference numerals are retained for similar elements, includes a third portion D of the punched sheet 12 which, in the assembled configuration, is adapted to constitute the bottom of the box.
  • the element 10 for holding and presenting the products can be used as the base of a box which can be completed by a suitable lid E, shown in broken outline in Figure 6.
  • a finished box can be produced by the superposition of two elements 10, in which one glued lateral flap 21 can be used as a hinge.
  • both the base and the lid of the box have cells for the improved restraint and protection of the products.
  • the variant shown in Figures 10-13 may be used to advantage.
  • the first portion A of the punched sheet 12 has annular punched lines 30 which are substantially square with curved sides 30a connected by rounded corners 30b.
  • annular punched lines 30 which are substantially square with curved sides 30a connected by rounded corners 30b.
  • two slits 32 arranged along the diagonals of the punched outline and a central square hole 33 define four, substantially-triangular support flaps 34 which, when the element 10 is assembled, are adapted to be inserted in corresponding holes 35 provided in the second portion B below the first portion A of the punched element 12 and arranged in correspondence with the curved sides 30a of the punched line 30.
  • the flaps 34 form curved vertical walls which are adapted to fit the rounded products perfectly.
  • the free appendages of the flaps 34 below the portion B of the punched sheet 12 act as feet and as supports for the upper frame wall C.
  • the element 10 of the variant of Figures 10-13 can be inserted in the bottom of a box or can be used as the base of a box if a third portion of the punched sheet is included, as described in connection with the variants shown in Figures 5-7 or 8-9.
  • the variant shown in Figures 14-18 although substantially similar to the solution shown in Figures 1-3, differs therefrom in that the punched element 12 does not have a second portion which can be bent but is assembled with an auxiliary sheet 40 which is glued or heat-sealed in correspondence with bent edges 42 and in correspondence with bent lateral flaps 43 of the punched sheet 12.
  • the auxiliary sheet 40 also has a plurality of rectangular holes 44 for cooperating with support flaps 22 defined by the annular punched lines 12b and by the shaped slits 18.
  • FIG. 19 and 20 has a punched sheet 12 substantially corresponding to that shown in Figure 17.
  • a flat corrugated pad M of the type used, for example, as a resilient element between the products and the lid of a box is interposed between the sheet and the bottom of the box F, shown in broken outline in Figure 16.
  • the holding and presentation element shown in Figures 21-23 is substantially similar to that shown in Figures 1-4 but differs therefrom in the different shapes of the slits 18 which define tongues 50 bent relative to the flaps 20 and 22 and heat-sealed to the lower portion B of the punched element 12.
  • the holes in the flat portion, in to which the support flaps fit, are therefore no longer necessary and only aligned central holes 53 are provided for enabling the insertion of suitable locating devices for keeping the upper frame wall C of the punched sheet 12 in position during the heat-sealing.

Landscapes

  • Engineering & Computer Science (AREA)
  • Mechanical Engineering (AREA)
  • Cartons (AREA)
  • Packages (AREA)
  • Food-Manufacturing Devices (AREA)
  • Punching Or Piercing (AREA)
  • Packaging Frangible Articles (AREA)

Abstract

An element (10) for holding and presenting confectionery products and the like, for insertion in the bottom of a box, is constituted by a sheet of card (12) defining a plurality of annular punched lines. Within each punched line, there are slits defining flaps (20, 22) which can be bent to hold the products.

Description

  • The present invention relates to an element for holding and presenting confectionery products, particularly chocolates and the like, which is adapted to define a plurality of seats for the products.
  • Currently, such elements are made by the thermoforming of sheets of plastics material for insertion in boxes of punched card. A plurality of cells arranged in an ordered array are therefore thermoformed in the sheets, and serve both to keep the products in position and to prevent direct contact between the products and the bottom of the box which, as a result of any pressures or knocks, could damage the products contained.
  • As well as requiring special equipment which is somewhat different from that normally used in the paper and cardboard sector, the production of these thermoformed plastics elements considerably increases the environmental impact of the box as regards solid waste. In fact, the thermoformed sheet is not biodegradable and may produce noxious gases if it is burnt.
  • The object of the present invention is to provide an element of the type specified at the beginning of the description which does not have the aforesaid disadvantages and which is also completely biodegradable.
  • According to the invention, this object is achieved by virtue of the fact that the element comprises a flat sheet of card or similar material having a plurality of annular punched lines and, within the punched lines, slits which define a plurality of holes in the sheet when the flaps defined between the slits and the punched lines are bent, the holes having at least two opposite side walls for retaining the products.
  • By virtue of these characteristics, the card element can fulfil the same function as a thermoformed cellular element of known type, providing considerable advantages in terms of cost and environmental impact.
  • Further advantages and characteristics of the holding and presentation element according to the invention will become clear from the detailed description which follows, given purely by way of non-limiting example, with reference to the appended drawings, in which:
    • Figure 1 is a perspective view of a holding and presentation element according to the invention,
    • Figure 2 is a perspective view of the element of Figure 1 from below,
    • Figure 3 is a section taken on the line III-III of Figure 1,
    • Figure 4 is a view of a flat punched element from which the element of Figure 1 is made,
    • Figure 5 is a perspective view of a first embodiment of the element of Figure 1,
    • Figure 6 is a section taken on the line VI-VI of Figure 5,
    • Figure 7 is a plan view of the punched sheet from which the element of Figure 5 is made,
    • Figure 8 is a perspective view of a variant of the embodiment of Figure 5,
    • Figure 9 is a cross-section of the element of Figure 8 in a closed configuration,
    • Figure 10 is a perspective view of a third embodiment of the element according to the invention,
    • Figure 11 is a perspective view of an element of Figure 8 from below,
    • Figure 12 is a section taken on the line XII-XII of Figure 10,
    • Figure 13 is a plan view of the punched sheet from which the element of Figure 10 is made,
    • Figure 14 is a perspective view of a fourth embodiment of the element according to the invention,
    • Figure 15 is a perspective view of the element of Figure 14 from below,
    • Figure 16 is a section taken on the line XVI-XVI of Figure 14,
    • Figure 17 is a view of an upper, flat punched element from which the element of Figure 14 is made,
    • Figure 18 is a view of a lower, flat punched element from which the element of Figure 14 is made,
    • Figure 19 is an exploded perspective view of a fifth embodiment of the element according to the invention,
    • Figure 20 is a section taken on the line XX-XX of Figure 19,
    • Figure 21 is a perspective view of a sixth embodiment of an element according to the invention,
    • Figure 22 is a perspective view of the element of Figure 21 from below, and
    • Figure 23 is a section taken on the line XXIII-XXIII of Figure 17.
  • With reference to the drawings, an element for holding and presenting confectionery products is generally indicated 10 and comprises a flat punched sheet of card 12 with straight punched lines 12a and a plurality of annular punched lines 12b. These punched lines, which define lines of bending, are of the so-called half-cut type, that is, they are formed by cutting through half the thickness of the sheet 12.
  • With particular reference to the embodiment shown in Figures 1-4, the punched sheet 12 has a first rectangular portion A bounded by the straight punched lines 12a which are adapted to define lateral gluing flaps 14, and a second portion B which is joined to the first in correspondence with a straight punched line 15 broken by substantially U-shaped slits 16. The second portion B of the punched sheet 12 also has straight punched lines 12a adapted to define lateral gluing flaps 17 for cooperating with the lateral flaps 14 in known manner.
  • The annular punched lines 12b are substantially rectangular with rounded corners and are arranged in an ordered array in the first portion A of the punched sheet 12. Slits 18 are provided within each annular punched line 12b and comprise I-shaped central portions 18a whose stems are parallel to and equidistant from the longer sides of the respective rectangular punched lines 12b, and four connecting portions 18b between the tips of the ends of the I-shaped central portions 18a and the rounded corners V of the punched lines 12b. The slits 18 and the annular punched line 12b thus define two resilient flaps 20 of card in the form of isosceles trapezia and two support flaps 22 having portions which are also in the form of isosceles trapezia and the shorter bases of which extend to form rectangular portions, indicated 22a in the drawings.
  • The second portion B of the punched card sheet 12 has a plurality of rectangular holes 24 arranged in positions such that, when the element 10 is assembled, they correspond to the longer sides of the rectangular punched lines 12b to which the support flaps 22 are articulated. Adjacent rectangular holes 24 are joined by shorter central portions so are generally to define substantially double-T-shaped holes 25.
  • When the element 10 is assembled, the second portion B of the punched sheet 12 is bent underneath the first portion A along the straight punched line 12a joining the first and second portions and along the punched line 15. During this bending, the slits 16 define support portions 27 which project downwardly so as to keep the first portion A of the sheet 12 at a constant distance from a support plane, for example, the bottom of a box. After the second portion B has been bent relative to the first portion A and the lateral flaps 14 and 17 have been glued together, the support flaps 22 and the resilient flaps 20 are bent so as to form a plurality of holes 28 in the first portion A of the punched sheet 12 defining, with the bent flaps 20 and 22, a plurality of seats S for substantially parallelepipedal products. When the support flaps 22 are bent, their rectangular ends 22a are fitted into respective retangular holes 24 so as to project below the plane of the second portion B of the punched sheet 12 (Figures 2 and 3) and have the function of forming a support on the bottom of the box. The rectangular end portions 22a of the support flaps 22 are therefore situated in the plane defined by the bent and glued flaps 14 and the support portions 27 so as to keep the frames C defined by the holes 28 in the punched sheet 12 at a predetermined distance from the lower support plane constituted, for example, by the bottom of a box.
  • The resilient flaps 20 "float" and, by virtue of the resilient force biassing them towards a configuration in which they are coplanar with the frames C, help to keep the products in position by eliminating the clearance between the products and the seats S. The support flaps 22, on the other hand, are kept apart by virtue of their engagement in the holes 24 in the punched sheet 12.
  • The embodiment shown in Figures 5-7, in which the same reference numerals are retained for similar elements, includes a third portion D of the punched sheet 12 which, in the assembled configuration, is adapted to constitute the bottom of the box. In this embodiment, therefore, the element 10 for holding and presenting the products can be used as the base of a box which can be completed by a suitable lid E, shown in broken outline in Figure 6.
  • Alternatively, a finished box can be produced by the superposition of two elements 10, in which one glued lateral flap 21 can be used as a hinge. In this variant, shown in Figures 8 and 9, both the base and the lid of the box have cells for the improved restraint and protection of the products.
  • For confectionery products of rounded shape, the variant shown in Figures 10-13 may be used to advantage. In this variant, the first portion A of the punched sheet 12 has annular punched lines 30 which are substantially square with curved sides 30a connected by rounded corners 30b. Within each punched line 30, two slits 32 arranged along the diagonals of the punched outline and a central square hole 33 define four, substantially-triangular support flaps 34 which, when the element 10 is assembled, are adapted to be inserted in corresponding holes 35 provided in the second portion B below the first portion A of the punched element 12 and arranged in correspondence with the curved sides 30a of the punched line 30. The curved lines of bending in correspondence with the punched sides 30a give the upper frame wall C of the element 10 a wavy appearance, as shown in Figure 10. Moreover, in their opened-out configuration, the flaps 34 form curved vertical walls which are adapted to fit the rounded products perfectly. The free appendages of the flaps 34 below the portion B of the punched sheet 12 act as feet and as supports for the upper frame wall C. To advantage, the element 10 of the variant of Figures 10-13 can be inserted in the bottom of a box or can be used as the base of a box if a third portion of the punched sheet is included, as described in connection with the variants shown in Figures 5-7 or 8-9.
  • The variant shown in Figures 14-18, although substantially similar to the solution shown in Figures 1-3, differs therefrom in that the punched element 12 does not have a second portion which can be bent but is assembled with an auxiliary sheet 40 which is glued or heat-sealed in correspondence with bent edges 42 and in correspondence with bent lateral flaps 43 of the punched sheet 12. The auxiliary sheet 40 also has a plurality of rectangular holes 44 for cooperating with support flaps 22 defined by the annular punched lines 12b and by the shaped slits 18.
  • The variant shown in Figures 19 and 20 has a punched sheet 12 substantially corresponding to that shown in Figure 17. A flat corrugated pad M of the type used, for example, as a resilient element between the products and the lid of a box is interposed between the sheet and the bottom of the box F, shown in broken outline in Figure 16.
  • The holding and presentation element shown in Figures 21-23 is substantially similar to that shown in Figures 1-4 but differs therefrom in the different shapes of the slits 18 which define tongues 50 bent relative to the flaps 20 and 22 and heat-sealed to the lower portion B of the punched element 12. The holes in the flat portion, in to which the support flaps fit, are therefore no longer necessary and only aligned central holes 53 are provided for enabling the insertion of suitable locating devices for keeping the upper frame wall C of the punched sheet 12 in position during the heat-sealing.
  • Naturally, it is possible to heat-seal only two opposite flaps to the portion B whilst the other two flaps can be left free or, according to a further variant, can be fitted into holes in the portion B in exactly the same way as that shown in Figures 2 and 3. A firmer element is thus produced since the heat-sealed flaps keep the upper frame wall C of the element 10 joined to the lower base wall B for the products whilst the flaps fitted into the corresponding holes act as lower supports on the bottom of the box.
  • The above description shows clearly the advantages of the holding and presentation element according to the invention which, by virtue of its particular characteristics, can be used not only as an accessory for a box but as an integral and structural part of the box itself.

Claims (11)

1. An element for holding and presenting confectionery products, particularly chocolates and the like, which is adapted to define a plurality of seats for the products, characterised in that it comprises a flat sheet (12) of card or similar material having a plurality of annular punched lines (12b, 30) and, within the punches lines (12b, 30), slits (18, 32) which define a plurality of holes (28) in the sheet (12) when the flaps (20, 22, 34) defined between the slits (18, 32) and the punched lines (12b, 30) are bent, the holes having at least two opposite side walls (20, 22, 34) for retaining the products.
2. An element according to Claim 1, characterised in that each annular punched line (112b) is substantially rectangular and in that the slits (18) within each annular punched line (12b) have an I-shaped central portion (18a) arranged with its stem equidistant from and parallel to the longer sides of the punched line (12b) and four connecting portions (18b) between the tips of the ends of the I-shaped central portion (18a) and the corners (V) of the punched line (12b), whereby there are defined two resilient trapezoidal flaps (20) in correspondence with the shorter sides of the punched line (12b) and two support flaps (22) each having a trapezoidal portion adjacent the punched line (12b) and a rectangular portion (22a) connected to the trapezoidal portion.
3. An element according to Claim 1 or Claim 2, characterised in that the flat sheet (12) is associated with the bottom of a box (F) with the interposition of a sheet (M) of shock-absorbing material 4.
4. An element according to Claim 2, characterised in that an auxiliary sheet (12, B) is arranged beneath the sheet (12,A) and has a plurality of holes (24) with dimensions substantially corresponding to the lengths of the rectangular portions (22a) of the support flaps (22) and in which these portions are inserted in order to keep the support flaps (22) in an opened-out position.
5. An element according to Claim 4, characterised in that the auxiliary sheet (12, B) is glued or heat-sealed to bent side flaps (43) of the flat sheet (12, A) at a predetermined distance therefrom.
6. An element according to Claim 4, characterised in that the auxiliary sheet (12, B) is integral with the flat sheet (12, A) and is articulated thereto in correspondence with two substantially straight, parallel punched lines (12a, 15) for enabling the auxiliary sheet (12, B) to be bent beneath the main sheet (12, A) to insert the support flaps (22) in the holes (24) of the auxiliary sheet (12, B).
7. An element according to Claim 6, characterised in that the flat sheet (12, A) has an integral base sheet (12, D) which is adapted to be bent beneath the auxiliary sheet (12, B) and against which the support flaps (22) bear in the assembled condition of the element (10).
8. An element according to Claim 7, characterised in that it has a lateral flap (21) glued or heat-sealed to a similar element (10) so as to define a hinge between a base and a lid, both provided with seats for products.
9. An element according to Claim 1, characterised in that each annular punched line (30) is substantially square with curved sides (30a) connected by rounded corners (30b), and in that the slits (32) within each punched line (30) are arranged diagonally so as to define substantially triangular flaps (34).
10. An element according to Claim 9, characterised in that an auxiliary sheet (12, B) is arranged beneath the flat sheet (12, A) and has a plurality of holes (35) which are arranged substantially in correspondence with the sides (30a) of the annular punched lines (30) and in which the free corners of the flaps (34) are intended to be inserted to keep them in the opened-out position.
11. An element according to Claim 1, characterised in that, for each annular punched line (12b), at least two opposite flaps (20, 22) are glued to an auxiliary sheet (12, B) beneath the flat sheet (12, A).
EP90830092A 1990-01-10 1990-03-13 Punched cardboard element for keeping and showing sweets and the like Expired - Lifetime EP0441102B1 (en)

Priority Applications (1)

Application Number Priority Date Filing Date Title
AT90830092T ATE97088T1 (en) 1990-01-10 1990-03-13 CUT-OUT CARDBOARD PLATE FOR HOLDING AND DISPLAYING CANDY AND SIMILAR PRODUCTS.

Applications Claiming Priority (2)

Application Number Priority Date Filing Date Title
IT6701290 1990-01-10
IT67012A IT1239850B (en) 1990-01-10 1990-01-10 DIE CARDBOARD ELEMENT FOR HOLDING AND PRESENTING DESSERIES AND SIMILAR PRODUCTS

Publications (2)

Publication Number Publication Date
EP0441102A1 true EP0441102A1 (en) 1991-08-14
EP0441102B1 EP0441102B1 (en) 1993-11-10

Family

ID=11298882

Family Applications (1)

Application Number Title Priority Date Filing Date
EP90830092A Expired - Lifetime EP0441102B1 (en) 1990-01-10 1990-03-13 Punched cardboard element for keeping and showing sweets and the like

Country Status (5)

Country Link
EP (1) EP0441102B1 (en)
AT (1) ATE97088T1 (en)
DE (1) DE69004564T2 (en)
ES (1) ES2046767T3 (en)
IT (1) IT1239850B (en)

Cited By (32)

* Cited by examiner, † Cited by third party
Publication number Priority date Publication date Assignee Title
EP0472998A1 (en) * 1990-08-16 1992-03-04 Jacobs Suchard AG Packing for confectionary
FR2687648A1 (en) * 1992-02-21 1993-08-27 Legrand Sa Packaging grid for engaging devices
EP0558461A1 (en) * 1992-02-25 1993-09-01 SAFFAPACK S.r.l. Cellular container
EP0564414A1 (en) * 1992-03-16 1993-10-06 SAFFAPACK S.r.l. Box, in particular for sweets such as chocolates
EP0633203A1 (en) * 1993-07-06 1995-01-11 Manfred Scholz Packaging insert for packaging chocolates or the like
EP0937657A1 (en) * 1998-02-24 1999-08-25 BARTOLINI SAS di Bartolini Adriano & C. Product combining a sweet speciality and a disposable game involving questions on works of art
WO2001038198A1 (en) 1999-11-19 2001-05-31 Susanne Pfaffenbichler Packaging for fragile or crushable goods
EP1136370A1 (en) 2000-03-21 2001-09-26 Societe Des Produits Nestle S.A. Display package for food items
RU2225820C1 (en) * 2002-07-12 2004-03-20 Общество с ограниченной ответственностью "Основание-2" Correxy
RU2236369C2 (en) * 2002-10-02 2004-09-20 Общество с ограниченной ответственностью "Основание-2" Correxy
FR2860505A1 (en) * 2003-10-03 2005-04-08 Knauf Snc Packaging for fresh food product, has case and covering whose dimensions are chosen for providing free height between lower surface of cavity of base of case and top surface of cell of covering
RU2255885C1 (en) * 2003-12-30 2005-07-10 Общество с ограниченной ответственностью "Основание-2" Apron
RU2256592C2 (en) * 2003-07-07 2005-07-20 Общество с ограниченной ответственностью "Основание-2" Correx
EP1602280A1 (en) * 2004-08-10 2005-12-07 CARTOTECNICA ESSE-BI S.r.l. Baking tin and manufacturing method thereof
FR2902410A1 (en) * 2006-06-16 2007-12-21 Smurfit Kappa France Sas Soc P Plate/boat type packaging for e.g. fresh dairy product, has bottom with slots that are positioned on another bottom to receive object when packaging is formatted, where each opening of latter bottom receives projection from spaces
WO2011035923A1 (en) * 2009-09-24 2011-03-31 Seda S.P.A. Blank and packaging produced therefrom
RU2495808C1 (en) * 2012-08-07 2013-10-20 Виктор Михайлович Коршунов Box for confectionary items and method of its packaging
EP2746186A1 (en) * 2012-12-24 2014-06-25 Soremartec S.A. Wrapped confectionery products positioning and retaining device and flat blanks assembly for formimg said device
GB2520989A (en) * 2013-12-06 2015-06-10 Mondelez Uk R & D Ltd Packaging
JP2016043974A (en) * 2014-08-25 2016-04-04 王子ホールディングス株式会社 Paper holder
US20180178950A1 (en) * 2016-12-27 2018-06-28 Steve Kohn Device for moving and storing potted plants and other objects having a base
CN108455079A (en) * 2018-03-21 2018-08-28 郑州甲乙贝包装设计有限公司 A kind of fruit packaging cushion pad
CN109051169A (en) * 2018-08-08 2018-12-21 珠海格力电器股份有限公司 packaging structure and packaging assembly
EP3683158A1 (en) * 2019-01-15 2020-07-22 Multi Packaging Solutions UK Limited Carrier
EP3699110A1 (en) * 2019-02-21 2020-08-26 A & R Carton GmbH Carrier made of foldable flat material for preferably small-size products
GB2589053A (en) * 2019-07-24 2021-05-26 Concept Packaging Services Ltd Improvements in and relating to fitments
WO2023010611A1 (en) * 2021-07-31 2023-02-09 深圳市裕同包装科技股份有限公司 Packaging box and paperboard structure
US11884462B2 (en) 2019-11-25 2024-01-30 Multi Packaging Solutions Uk Limited Tray
EP4321448A1 (en) * 2022-08-08 2024-02-14 Van Genechten Packaging N.V. Packaging with carton inlays
US12116182B2 (en) 2021-07-31 2024-10-15 ShenZhen YUTO Packaging Technology Co., Ltd Packaging box and paperboard structure
WO2025021479A3 (en) * 2023-07-26 2025-05-01 Mayr-Melnhof Karton Ag Packaging insert, packaging, set for producing a packaging insert, and method and device for producing a packaging insert
DE202024104761U1 (en) * 2024-08-22 2025-08-25 Mayr-Melnhof Karton Ag Packaging insert, packaging and cutting for the production of a packaging insert

Citations (5)

* Cited by examiner, † Cited by third party
Publication number Priority date Publication date Assignee Title
DE738917C (en) * 1938-12-14 1943-09-04 Lothar Alexander Fritz Hilbric Box for ampoules and like
FR1016194A (en) * 1950-04-12 1952-11-04 Packaging
GB1264412A (en) * 1969-06-04 1972-02-23
DE8907594U1 (en) * 1989-06-21 1989-11-02 Hermann Schött GmbH Offsetdruckerei, 4050 Mönchengladbach Packaging insert
DE8907593U1 (en) * 1989-06-21 1989-11-02 Hermann Schött GmbH Offsetdruckerei, 4050 Mönchengladbach Packaging insert

Patent Citations (5)

* Cited by examiner, † Cited by third party
Publication number Priority date Publication date Assignee Title
DE738917C (en) * 1938-12-14 1943-09-04 Lothar Alexander Fritz Hilbric Box for ampoules and like
FR1016194A (en) * 1950-04-12 1952-11-04 Packaging
GB1264412A (en) * 1969-06-04 1972-02-23
DE8907594U1 (en) * 1989-06-21 1989-11-02 Hermann Schött GmbH Offsetdruckerei, 4050 Mönchengladbach Packaging insert
DE8907593U1 (en) * 1989-06-21 1989-11-02 Hermann Schött GmbH Offsetdruckerei, 4050 Mönchengladbach Packaging insert

Cited By (37)

* Cited by examiner, † Cited by third party
Publication number Priority date Publication date Assignee Title
EP0472998A1 (en) * 1990-08-16 1992-03-04 Jacobs Suchard AG Packing for confectionary
FR2687648A1 (en) * 1992-02-21 1993-08-27 Legrand Sa Packaging grid for engaging devices
EP0558461A1 (en) * 1992-02-25 1993-09-01 SAFFAPACK S.r.l. Cellular container
EP0564414A1 (en) * 1992-03-16 1993-10-06 SAFFAPACK S.r.l. Box, in particular for sweets such as chocolates
EP0633203A1 (en) * 1993-07-06 1995-01-11 Manfred Scholz Packaging insert for packaging chocolates or the like
EP0937657A1 (en) * 1998-02-24 1999-08-25 BARTOLINI SAS di Bartolini Adriano & C. Product combining a sweet speciality and a disposable game involving questions on works of art
WO2001038198A1 (en) 1999-11-19 2001-05-31 Susanne Pfaffenbichler Packaging for fragile or crushable goods
EP1136370A1 (en) 2000-03-21 2001-09-26 Societe Des Produits Nestle S.A. Display package for food items
RU2225820C1 (en) * 2002-07-12 2004-03-20 Общество с ограниченной ответственностью "Основание-2" Correxy
RU2236369C2 (en) * 2002-10-02 2004-09-20 Общество с ограниченной ответственностью "Основание-2" Correxy
RU2256592C2 (en) * 2003-07-07 2005-07-20 Общество с ограниченной ответственностью "Основание-2" Correx
FR2860505A1 (en) * 2003-10-03 2005-04-08 Knauf Snc Packaging for fresh food product, has case and covering whose dimensions are chosen for providing free height between lower surface of cavity of base of case and top surface of cell of covering
RU2255885C1 (en) * 2003-12-30 2005-07-10 Общество с ограниченной ответственностью "Основание-2" Apron
EP1602280A1 (en) * 2004-08-10 2005-12-07 CARTOTECNICA ESSE-BI S.r.l. Baking tin and manufacturing method thereof
FR2902410A1 (en) * 2006-06-16 2007-12-21 Smurfit Kappa France Sas Soc P Plate/boat type packaging for e.g. fresh dairy product, has bottom with slots that are positioned on another bottom to receive object when packaging is formatted, where each opening of latter bottom receives projection from spaces
WO2011035923A1 (en) * 2009-09-24 2011-03-31 Seda S.P.A. Blank and packaging produced therefrom
RU2495808C1 (en) * 2012-08-07 2013-10-20 Виктор Михайлович Коршунов Box for confectionary items and method of its packaging
ITTO20121146A1 (en) * 2012-12-24 2014-06-25 Soremartec Sa POSITIONING AND RETENTION DEVICE FOR SWEETENED PRODUCTS AND TOGETHER WITH LOCKED PLANS FOR THE REALIZATION OF SUCH A DEVICE
EP2746186A1 (en) * 2012-12-24 2014-06-25 Soremartec S.A. Wrapped confectionery products positioning and retaining device and flat blanks assembly for formimg said device
GB2520989A (en) * 2013-12-06 2015-06-10 Mondelez Uk R & D Ltd Packaging
JP2016043974A (en) * 2014-08-25 2016-04-04 王子ホールディングス株式会社 Paper holder
US20180178950A1 (en) * 2016-12-27 2018-06-28 Steve Kohn Device for moving and storing potted plants and other objects having a base
US10934052B2 (en) * 2016-12-27 2021-03-02 Steve Kohn Device for moving and storing potted plants and other objects having a base
CN108455079A (en) * 2018-03-21 2018-08-28 郑州甲乙贝包装设计有限公司 A kind of fruit packaging cushion pad
CN109051169A (en) * 2018-08-08 2018-12-21 珠海格力电器股份有限公司 packaging structure and packaging assembly
US11542081B2 (en) 2019-01-15 2023-01-03 Multi Packaging Solutions Uk Limited Carrier
EP3683158A1 (en) * 2019-01-15 2020-07-22 Multi Packaging Solutions UK Limited Carrier
GB2580609A (en) * 2019-01-15 2020-07-29 Multi Packaging Solutions Uk Ltd Carrier
EP3699110A1 (en) * 2019-02-21 2020-08-26 A & R Carton GmbH Carrier made of foldable flat material for preferably small-size products
GB2589053A (en) * 2019-07-24 2021-05-26 Concept Packaging Services Ltd Improvements in and relating to fitments
GB2589053B (en) * 2019-07-24 2023-08-30 Concept Packaging Services Ltd Improvements in and relating to fitments
US11884462B2 (en) 2019-11-25 2024-01-30 Multi Packaging Solutions Uk Limited Tray
WO2023010611A1 (en) * 2021-07-31 2023-02-09 深圳市裕同包装科技股份有限公司 Packaging box and paperboard structure
US12116182B2 (en) 2021-07-31 2024-10-15 ShenZhen YUTO Packaging Technology Co., Ltd Packaging box and paperboard structure
EP4321448A1 (en) * 2022-08-08 2024-02-14 Van Genechten Packaging N.V. Packaging with carton inlays
WO2025021479A3 (en) * 2023-07-26 2025-05-01 Mayr-Melnhof Karton Ag Packaging insert, packaging, set for producing a packaging insert, and method and device for producing a packaging insert
DE202024104761U1 (en) * 2024-08-22 2025-08-25 Mayr-Melnhof Karton Ag Packaging insert, packaging and cutting for the production of a packaging insert

Also Published As

Publication number Publication date
DE69004564D1 (en) 1993-12-16
IT9067012A1 (en) 1991-07-11
IT9067012A0 (en) 1990-01-10
EP0441102B1 (en) 1993-11-10
ES2046767T3 (en) 1994-02-01
IT1239850B (en) 1993-11-15
DE69004564T2 (en) 1994-06-01
ATE97088T1 (en) 1993-11-15

Similar Documents

Publication Publication Date Title
EP0441102A1 (en) Punched cardboard element for keeping and showing sweets and the like
US4953705A (en) Package having detent-engaged cushioning lining
US4113096A (en) Packing box for china
US5669493A (en) Carton for cigarette packs
WO1995003223A1 (en) Packaging container blank
EP0119043A2 (en) Packaging boxes or cartons
JPH0350061Y2 (en)
EP0087306A2 (en) Packaging boxes or cartons
JPH061335A (en) Packing holding panel and packing device
EP0036785A1 (en) Packaging containers
JP3881728B2 (en) Partition packaging box
JP3083439U (en) Packaging box
JP2001031175A (en) Packaging structure
US5076435A (en) Packaging for food
JPH08104317A (en) Packaging box being equipped with double structure
JP3008254U (en) Packaging container
JPS6219580Y2 (en)
JP3037809U (en) Product protection buffer box
JPH0423830Y2 (en)
JPH0669119U (en) Wrapping paper box with divider
JPS5937461Y2 (en) Connection box for disconnection
JPH066265U (en) Cushioning material for packing
JP3164316U (en) Cushioning material, package and package
JPH0639723U (en) Assembled interior fittings for bottle storage boxes
JP2002037343A (en) Cushion material

Legal Events

Date Code Title Description
PUAI Public reference made under article 153(3) epc to a published international application that has entered the european phase

Free format text: ORIGINAL CODE: 0009012

AK Designated contracting states

Kind code of ref document: A1

Designated state(s): AT BE CH DE DK ES FR GB GR IT LI LU NL SE

17P Request for examination filed

Effective date: 19911011

17Q First examination report despatched

Effective date: 19930205

GRAA (expected) grant

Free format text: ORIGINAL CODE: 0009210

AK Designated contracting states

Kind code of ref document: B1

Designated state(s): AT BE CH DE DK ES FR GB GR IT LI LU NL SE

PG25 Lapsed in a contracting state [announced via postgrant information from national office to epo]

Ref country code: GR

Free format text: LAPSE BECAUSE OF FAILURE TO SUBMIT A TRANSLATION OF THE DESCRIPTION OR TO PAY THE FEE WITHIN THE PRESCRIBED TIME-LIMIT

Effective date: 19931110

Ref country code: AT

Effective date: 19931110

REF Corresponds to:

Ref document number: 97088

Country of ref document: AT

Date of ref document: 19931115

Kind code of ref document: T

ITF It: translation for a ep patent filed
REF Corresponds to:

Ref document number: 69004564

Country of ref document: DE

Date of ref document: 19931216

REG Reference to a national code

Ref country code: ES

Ref legal event code: FG2A

Ref document number: 2046767

Country of ref document: ES

Kind code of ref document: T3

ET Fr: translation filed
PG25 Lapsed in a contracting state [announced via postgrant information from national office to epo]

Ref country code: DK

Effective date: 19940313

PG25 Lapsed in a contracting state [announced via postgrant information from national office to epo]

Ref country code: SE

Free format text: LAPSE BECAUSE OF NON-PAYMENT OF DUE FEES

Effective date: 19940314

Ref country code: ES

Free format text: LAPSE BECAUSE OF EXPIRATION OF PROTECTION

Effective date: 19940314

PG25 Lapsed in a contracting state [announced via postgrant information from national office to epo]

Ref country code: LU

Free format text: LAPSE BECAUSE OF NON-PAYMENT OF DUE FEES

Effective date: 19940331

Ref country code: BE

Effective date: 19940331

PLBE No opposition filed within time limit

Free format text: ORIGINAL CODE: 0009261

STAA Information on the status of an ep patent application or granted ep patent

Free format text: STATUS: NO OPPOSITION FILED WITHIN TIME LIMIT

BERE Be: lapsed

Owner name: CARTOTECNICA CHIERESE S.P.A.

Effective date: 19940331

PG25 Lapsed in a contracting state [announced via postgrant information from national office to epo]

Ref country code: NL

Effective date: 19941001

26N No opposition filed
NLV4 Nl: lapsed or anulled due to non-payment of the annual fee
EUG Se: european patent has lapsed

Ref document number: 90830092.4

Effective date: 19941010

PGFP Annual fee paid to national office [announced via postgrant information from national office to epo]

Ref country code: GB

Payment date: 19990216

Year of fee payment: 10

PGFP Annual fee paid to national office [announced via postgrant information from national office to epo]

Ref country code: CH

Payment date: 19990224

Year of fee payment: 10

PGFP Annual fee paid to national office [announced via postgrant information from national office to epo]

Ref country code: DE

Payment date: 19990226

Year of fee payment: 10

PGFP Annual fee paid to national office [announced via postgrant information from national office to epo]

Ref country code: FR

Payment date: 19990330

Year of fee payment: 10

REG Reference to a national code

Ref country code: ES

Ref legal event code: FD2A

Effective date: 19990601

PG25 Lapsed in a contracting state [announced via postgrant information from national office to epo]

Ref country code: GB

Free format text: LAPSE BECAUSE OF NON-PAYMENT OF DUE FEES

Effective date: 20000313

PG25 Lapsed in a contracting state [announced via postgrant information from national office to epo]

Ref country code: LI

Free format text: LAPSE BECAUSE OF NON-PAYMENT OF DUE FEES

Effective date: 20000331

Ref country code: CH

Free format text: LAPSE BECAUSE OF NON-PAYMENT OF DUE FEES

Effective date: 20000331

GBPC Gb: european patent ceased through non-payment of renewal fee

Effective date: 20000313

REG Reference to a national code

Ref country code: CH

Ref legal event code: PL

PG25 Lapsed in a contracting state [announced via postgrant information from national office to epo]

Ref country code: FR

Free format text: LAPSE BECAUSE OF NON-PAYMENT OF DUE FEES

Effective date: 20001130

REG Reference to a national code

Ref country code: FR

Ref legal event code: ST

PG25 Lapsed in a contracting state [announced via postgrant information from national office to epo]

Ref country code: DE

Free format text: LAPSE BECAUSE OF NON-PAYMENT OF DUE FEES

Effective date: 20010103

PG25 Lapsed in a contracting state [announced via postgrant information from national office to epo]

Ref country code: IT

Free format text: LAPSE BECAUSE OF NON-PAYMENT OF DUE FEES;WARNING: LAPSES OF ITALIAN PATENTS WITH EFFECTIVE DATE BEFORE 2007 MAY HAVE OCCURRED AT ANY TIME BEFORE 2007. THE CORRECT EFFECTIVE DATE MAY BE DIFFERENT FROM THE ONE RECORDED.

Effective date: 20050313