EP0401544B1 - Taste für eine Tastatur - Google Patents
Taste für eine Tastatur Download PDFInfo
- Publication number
- EP0401544B1 EP0401544B1 EP19900108967 EP90108967A EP0401544B1 EP 0401544 B1 EP0401544 B1 EP 0401544B1 EP 19900108967 EP19900108967 EP 19900108967 EP 90108967 A EP90108967 A EP 90108967A EP 0401544 B1 EP0401544 B1 EP 0401544B1
- Authority
- EP
- European Patent Office
- Prior art keywords
- key
- base
- head
- keyboard
- key base
- Prior art date
- Legal status (The legal status is an assumption and is not a legal conclusion. Google has not performed a legal analysis and makes no representation as to the accuracy of the status listed.)
- Expired - Lifetime
Links
- 238000013016 damping Methods 0.000 claims description 7
- 238000004519 manufacturing process Methods 0.000 description 5
- 230000000694 effects Effects 0.000 description 3
- 230000000994 depressogenic effect Effects 0.000 description 2
- 239000000243 solution Substances 0.000 description 2
- 230000006835 compression Effects 0.000 description 1
- 238000007906 compression Methods 0.000 description 1
- 239000004020 conductor Substances 0.000 description 1
- 239000013013 elastic material Substances 0.000 description 1
- 238000005516 engineering process Methods 0.000 description 1
- 230000001771 impaired effect Effects 0.000 description 1
- 230000006698 induction Effects 0.000 description 1
- 230000001939 inductive effect Effects 0.000 description 1
- 238000001746 injection moulding Methods 0.000 description 1
- 238000011031 large-scale manufacturing process Methods 0.000 description 1
- 239000000725 suspension Substances 0.000 description 1
- 229910000859 α-Fe Inorganic materials 0.000 description 1
Images
Classifications
-
- H—ELECTRICITY
- H01—ELECTRIC ELEMENTS
- H01H—ELECTRIC SWITCHES; RELAYS; SELECTORS; EMERGENCY PROTECTIVE DEVICES
- H01H3/00—Mechanisms for operating contacts
- H01H3/60—Mechanical arrangements for preventing or damping vibration or shock
-
- H—ELECTRICITY
- H01—ELECTRIC ELEMENTS
- H01H—ELECTRIC SWITCHES; RELAYS; SELECTORS; EMERGENCY PROTECTIVE DEVICES
- H01H13/00—Switches having rectilinearly-movable operating part or parts adapted for pushing or pulling in one direction only, e.g. push-button switch
- H01H13/70—Switches having rectilinearly-movable operating part or parts adapted for pushing or pulling in one direction only, e.g. push-button switch having a plurality of operating members associated with different sets of contacts, e.g. keyboard
-
- H—ELECTRICITY
- H01—ELECTRIC ELEMENTS
- H01H—ELECTRIC SWITCHES; RELAYS; SELECTORS; EMERGENCY PROTECTIVE DEVICES
- H01H2221/00—Actuators
- H01H2221/062—Damping vibrations
-
- H—ELECTRICITY
- H01—ELECTRIC ELEMENTS
- H01H—ELECTRIC SWITCHES; RELAYS; SELECTORS; EMERGENCY PROTECTIVE DEVICES
- H01H2239/00—Miscellaneous
- H01H2239/024—Miscellaneous with inductive switch
Definitions
- the invention relates to a key for a keyboard according to the preamble of claim 1 with a key base attachable to a printed circuit board of the keyboard, a key head resiliently guided in the key base and the stops limiting the key travel.
- Keyboards in particular those which represent autonomous units, so to speak auxiliary components of data processing systems, are expected to be inexpensive, function without a doubt and with a high level of security, can be integrated into existing device configurations and are designed to be user-friendly.
- a decisive factor in this connection is the level of the operating noise, which, which would be desirable, cannot be reduced by rationalization measures, but rather increases.
- the reason for this is in particular the fact that the keys of such a keyboard open immediately are attached to a circuit board, which forms a resonance body in connection with the keyboard housing.
- the keys are only formed in two parts, ie the bell-shaped key head, which strikes the key base when the key is depressed, has no damping effect, but rather represents a resonance body itself.
- a key for an input keyboard is known, the shaft of which is slotted and has a radially molded nose on a resilient shaft section formed by the slitting.
- the nose which is provided with surfaces beveled in the axial direction of the shaft, interacts with an annular stop surface formed on the key base.
- the object of the present invention was to find an effective sound attenuation for keyboards of the type mentioned, which is easy to implement in terms of production technology.
- the damping means are formed directly on one of the key elements (key head or key base) that are moved against one another when the key is pressed, and thus no additional components or assembly operations required are. It is also worth mentioning that the damping and stop means, with a corresponding structural design, perform an alignment function on the key head by intercepting the key head "over a large area” and offering a large stop surface and thus counteracting the wear of the guide means.
- the keyboard 1 shown in FIG. 1, for example, is a so-called inductive keyboard, i. H.
- the signals are generated inductively when the buttons are pressed.
- the keyboard 1 consists of a trough-shaped bottom part 2 and a front frame 3, which longitudinal and transverse webs - one is designated by 4 - are assigned, by means of which various key fields, depending on use, for example, a function key field , a numeric and a letter keypad, can be delimited.
- the base part 2 and the front frame 3 are connected to one another by a plurality of alignment and locking elements, of which a locking hook formed on the base part is designated by 5 in FIG.
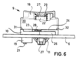
- the circuit board 6 is the carrier of the keys 9, the respective plate-shaped key base 10 being latched to the circuit board 6 by means of suitable latching hooks 11 formed on the key base 10.
- the locking hooks 11 engage behind, as FIGURES 4 and 5 show, the printed circuit board 6.
- a suitable anti-rotation device is provided.
- a pin 12 (FIG. 4) formed on the key base 10 engages in an opening 13 in the printed circuit board 6.
- FIGURE 2 shows a section of the circuit board 6, in which each key 9 is assigned three holes 13, 14 and 15. With 16 intersecting, on both sides of the circuit board 6 attached conductor tracks are designated, which together with the bore 14 form an induction coil.
- a bore 17 formed in the key base 10 is, when the key base 10 is mounted on the printed circuit board 6, aligned with the bore 14 and serves for the passage of a ferrite core 19 fastened in the key head 18.
- FIG. 3 also shows an opening 20, the geometric axis of which is also shown the axis of the pin 12 coincides.
- the opening 20 serves as a guide for a finger 21 formed on the key head 18 and is provided together with the finger 21 as an anti-rotation device for the key head 18.
- guide sleeve 22 With 22 a molded on the key base 10 guide sleeve is designated, 23 and 24 are 10 saved, resilient arms in the key base.
- the recesses in the key base are labeled 25 and 26.
- the guide sleeve 22 serves to guide the key head 18 by means of a shaft 27 integrally formed on the key head 18 and to hold a compression spring 28 which serves to reset the key head 18 after a key has been pressed.
- the stop position of the key head 18 when the key 9 is not actuated becomes what is not shown. but is also not essential to the invention, of at least one nose formed on the shaft 27, which cooperates with a free countersink fitted in the guide sleeve 22, certainly.
- the key head 18 is struck either by a collar 29 formed on the key head 18 interacting with the guide sleeve 22 or by the corner regions of the deep-drawn walls of the key head 18 - one wall being designated 30 - on corner regions 31, 32, 33 formed on the key base 10 and 34 hit.
- the keystroke is distributed over a larger area, on the other hand, the ability of the key head 18 to vibrate is largely reduced.
- the guidance of the key head 18 is relieved by aligning the key head 18 and canceling the play-related tilting moment, which in turn reduces wear.
- the intended damping takes effect, i. H. the walls 30 of the key head 18 come into operative connection with the resilient arms 23 and 24 formed on the key base 10, during the deformation of which over a stroke s part of the actuation energy is consumed, before the final stop position is reached.
- resilient arms for example rotationally symmetrical, can be formed on all four sides of the key base.
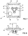
- FIGURES 7 and 8 Another variant of the key base 10 is shown in FIGURES 7 and 8, with resilient arms 36, 37, 38 and 39 being formed in pairs on two sides of a key base 35 by injection molding.
- the arms 36, 37, 38 and 39 are formed such that they each with their free, resilient end are directed against raised edge regions 40 and 41 of the key base 35.
- a "large-area” interception of the key head 18 is achieved and it is avoided that the key head hits the end stop in a punctiform manner. This measure further reduces the noise when the keys are struck.
Landscapes
- Input From Keyboards Or The Like (AREA)
- Push-Button Switches (AREA)
Applications Claiming Priority (2)
| Application Number | Priority Date | Filing Date | Title |
|---|---|---|---|
| DE19893918229 DE3918229C1 (enExample) | 1989-06-03 | 1989-06-03 | |
| DE3918229 | 1989-06-03 |
Publications (3)
| Publication Number | Publication Date |
|---|---|
| EP0401544A2 EP0401544A2 (de) | 1990-12-12 |
| EP0401544A3 EP0401544A3 (de) | 1992-02-12 |
| EP0401544B1 true EP0401544B1 (de) | 1995-04-19 |
Family
ID=6382054
Family Applications (1)
| Application Number | Title | Priority Date | Filing Date |
|---|---|---|---|
| EP19900108967 Expired - Lifetime EP0401544B1 (de) | 1989-06-03 | 1990-05-12 | Taste für eine Tastatur |
Country Status (2)
| Country | Link |
|---|---|
| EP (1) | EP0401544B1 (enExample) |
| DE (1) | DE3918229C1 (enExample) |
Cited By (1)
| Publication number | Priority date | Publication date | Assignee | Title |
|---|---|---|---|---|
| US6205650B1 (en) | 1995-06-13 | 2001-03-27 | Mec A/S | Method of producing and electrical switch |
Families Citing this family (5)
| Publication number | Priority date | Publication date | Assignee | Title |
|---|---|---|---|---|
| EP0478991A3 (en) * | 1990-10-01 | 1992-10-21 | Siemens Aktiengesellschaft | Holder for keys of a keyboard for electrical apparatus |
| DE19757907A1 (de) * | 1997-12-24 | 1999-07-01 | Marquardt Gmbh | Elektrischer Schalter |
| DE10110646A1 (de) * | 2001-03-06 | 2002-09-12 | Valeo Schalter & Sensoren Gmbh | Schalter, insbesondere Schalter für Kraftfahrzeuge |
| DE102012019718B4 (de) * | 2012-10-08 | 2015-03-05 | Kehrel AG | Multifunktions-Bedienvorrichtung zur Bedienung eines Kraftfahrzeugs |
| GB202319454D0 (en) * | 2023-12-18 | 2024-01-31 | Exefix Ltd | Load distributing fixing device |
Family Cites Families (4)
| Publication number | Priority date | Publication date | Assignee | Title |
|---|---|---|---|---|
| DE2729790A1 (de) * | 1977-07-01 | 1979-01-18 | Licentia Gmbh | Schaltteil mit einem als daempfer wirkenden anschlag |
| DE8015685U1 (de) * | 1980-06-13 | 1980-10-09 | Philips Patentverwaltung Gmbh, 2000 Hamburg | Drucktaste |
| JPS6075929U (ja) * | 1983-10-31 | 1985-05-28 | 株式会社ジエルコ | 押しボタンスイツチ |
| DE8705193U1 (de) * | 1987-04-07 | 1987-05-27 | Mannesmann Kienzle GmbH, 7730 Villingen-Schwenningen | Taste für eine Werteingabetastatur |
-
1989
- 1989-06-03 DE DE19893918229 patent/DE3918229C1/de not_active Expired - Lifetime
-
1990
- 1990-05-12 EP EP19900108967 patent/EP0401544B1/de not_active Expired - Lifetime
Cited By (1)
| Publication number | Priority date | Publication date | Assignee | Title |
|---|---|---|---|---|
| US6205650B1 (en) | 1995-06-13 | 2001-03-27 | Mec A/S | Method of producing and electrical switch |
Also Published As
| Publication number | Publication date |
|---|---|
| DE3918229C1 (enExample) | 1990-07-26 |
| EP0401544A2 (de) | 1990-12-12 |
| EP0401544A3 (de) | 1992-02-12 |
Similar Documents
| Publication | Publication Date | Title |
|---|---|---|
| EP0295437B1 (de) | Drucktasteneinrichtung | |
| EP2979289B1 (de) | Tastenstössel für ein tastenmodul einer taste für eine tastatur, tastenmodul einer taste für eine tastatur und verfahren zum herstellen eines tastenmoduls für eine taste für eine tastatur | |
| WO2001024209A1 (de) | Wippenschalter für jeweils einen zweistufigen betätigungshub | |
| DE69710147T2 (de) | Betätigungsgriff zum Öffnen eines Schlosses einer Kraftfahrzeugöffnung | |
| DE102017106406A1 (de) | Tastenmodul | |
| EP0401544B1 (de) | Taste für eine Tastatur | |
| DE19634051C1 (de) | Schalteranordnung mit mindestens einer Drucktaste | |
| DE3112328A1 (de) | Druckschalter mit einer kappenfoermigen drucktaste | |
| EP0344625B1 (de) | Elektrischer Tastschalter | |
| DE102014111932A1 (de) | Eingabevorrichtung | |
| DE19940386C2 (de) | Drucktaste | |
| EP1467390B1 (de) | Tastenblock zum Einsetzen in eine Bedienfläche eines Haushaltsgerätes | |
| EP0178452A2 (de) | Drucktaste | |
| DD297933A5 (de) | Tastenelement mit daempfungsfedern | |
| WO2015074813A1 (de) | Tastenknopf, tastenschalter, tastenrahmen und leiterplatte für eine dateneingabevorrichtung, dateneingabevorrichtung und verfahren zur reduzierung eines schaltweges eines tastenschalters einer dateneingabevorrichtung | |
| EP0285928B1 (de) | Taste für eine Werteingabetastatur | |
| EP0944104A1 (de) | Grosse, mehrere kleine Tastenfelder abdeckende Drucktaste für ein Keyboard | |
| EP1482527B1 (de) | Tastenblock | |
| EP0478991A2 (de) | Halterung für Tasten einer Tastatur von elektrischen Geräten | |
| DE9010425U1 (de) | Einrichtung zum Übertragen einer Linearbewegung mit Hilfe eines Tastelements | |
| EP1715497B1 (de) | Bedienvorrichtung mit einer Schaltmatte | |
| EP2487699B1 (de) | Kurzhubtaster | |
| DE3941841C2 (enExample) | ||
| DE3153299C2 (de) | Elektrischer Schalter, insbesondere für Kraftfahrzeuge | |
| DE3021857C2 (de) | Drucktaste |
Legal Events
| Date | Code | Title | Description |
|---|---|---|---|
| PUAI | Public reference made under article 153(3) epc to a published international application that has entered the european phase |
Free format text: ORIGINAL CODE: 0009012 |
|
| AK | Designated contracting states |
Kind code of ref document: A2 Designated state(s): CH FR GB IT LI NL SE |
|
| PUAL | Search report despatched |
Free format text: ORIGINAL CODE: 0009013 |
|
| AK | Designated contracting states |
Kind code of ref document: A3 Designated state(s): CH FR GB IT LI NL SE |
|
| 17P | Request for examination filed |
Effective date: 19920728 |
|
| RAP1 | Party data changed (applicant data changed or rights of an application transferred) |
Owner name: DIGITAL-KIENZLE COMPUTERSYSTEME GMBH & CO. KG |
|
| 17Q | First examination report despatched |
Effective date: 19940317 |
|
| GRAA | (expected) grant |
Free format text: ORIGINAL CODE: 0009210 |
|
| AK | Designated contracting states |
Kind code of ref document: B1 Designated state(s): CH FR GB IT LI NL SE |
|
| ITF | It: translation for a ep patent filed | ||
| PGFP | Annual fee paid to national office [announced via postgrant information from national office to epo] |
Ref country code: GB Payment date: 19950510 Year of fee payment: 6 |
|
| PGFP | Annual fee paid to national office [announced via postgrant information from national office to epo] |
Ref country code: FR Payment date: 19950517 Year of fee payment: 6 |
|
| PGFP | Annual fee paid to national office [announced via postgrant information from national office to epo] |
Ref country code: SE Payment date: 19950522 Year of fee payment: 6 |
|
| GBT | Gb: translation of ep patent filed (gb section 77(6)(a)/1977) |
Effective date: 19950420 |
|
| PGFP | Annual fee paid to national office [announced via postgrant information from national office to epo] |
Ref country code: NL Payment date: 19950531 Year of fee payment: 6 |
|
| ET | Fr: translation filed | ||
| PGFP | Annual fee paid to national office [announced via postgrant information from national office to epo] |
Ref country code: CH Payment date: 19950623 Year of fee payment: 6 |
|
| PLBE | No opposition filed within time limit |
Free format text: ORIGINAL CODE: 0009261 |
|
| STAA | Information on the status of an ep patent application or granted ep patent |
Free format text: STATUS: NO OPPOSITION FILED WITHIN TIME LIMIT |
|
| 26N | No opposition filed | ||
| PG25 | Lapsed in a contracting state [announced via postgrant information from national office to epo] |
Ref country code: GB Effective date: 19960512 |
|
| PG25 | Lapsed in a contracting state [announced via postgrant information from national office to epo] |
Ref country code: SE Effective date: 19960513 |
|
| PG25 | Lapsed in a contracting state [announced via postgrant information from national office to epo] |
Ref country code: LI Effective date: 19960531 Ref country code: CH Effective date: 19960531 |
|
| PG25 | Lapsed in a contracting state [announced via postgrant information from national office to epo] |
Ref country code: NL Effective date: 19961201 |
|
| GBPC | Gb: european patent ceased through non-payment of renewal fee |
Effective date: 19960512 |
|
| REG | Reference to a national code |
Ref country code: CH Ref legal event code: PL |
|
| PG25 | Lapsed in a contracting state [announced via postgrant information from national office to epo] |
Ref country code: FR Effective date: 19970131 |
|
| EUG | Se: european patent has lapsed |
Ref document number: 90108967.2 |
|
| NLV4 | Nl: lapsed or anulled due to non-payment of the annual fee |
Effective date: 19961201 |
|
| REG | Reference to a national code |
Ref country code: FR Ref legal event code: ST |
|
| PG25 | Lapsed in a contracting state [announced via postgrant information from national office to epo] |
Ref country code: IT Free format text: LAPSE BECAUSE OF NON-PAYMENT OF DUE FEES Effective date: 20050512 |